Технологія виробництва прокату діаметром 90 мм на рейкобалковому стані 800 ПАТ 'ЄВРАЗ-ДМЗ ім. Петровського'

  • Вид работы:
    Дипломная (ВКР)
  • Предмет:
    Другое
  • Язык:
    Украинский
    ,
    Формат файла:
    MS Word
    574,87 Кб
  • Опубликовано:
    2015-03-16
Вы можете узнать стоимость помощи в написании студенческой работы.
Помощь в написании работы, которую точно примут!

Технологія виробництва прокату діаметром 90 мм на рейкобалковому стані 800 ПАТ 'ЄВРАЗ-ДМЗ ім. Петровського'

Реферат

Пояснювальна записка до дипломного проекту: 56 с., 6 рис., 13 табл., 2 додатки, 22 джерела.

Об'єкт розробки - технологія виробництва прокату на рейкобалковому стані 800 ПАТ «ЄВРАЗ - ДМЗ ім. Петровського»

Мета роботи - розрахунок технології виробництва круглого прокату діаметром 90 мм.

Метод дослідження -аналітичний з використанням відомих з літератури методик.

Розроблено режими обтиснень і калібровку валків для прокатки на рейкобалковому стані 800 круглого прокату діаметром 90 мм. Визначено температурно-швидкісні, енергосилові параметри, продуктивність стану. Виконано розрахунки на міцність та деформацію технологічного устаткування.

Результати роботи можуть бути використані при розробці технології прокатки круглого прокату діаметром 90 мм на рейкобалковому стані 800.

ЗАГОТОВКА, ПРОКАТКА, КАЛІБР, ШВИДКІСТЬ, ТЕМПЕРАТУРА, РЕЖИМ, ЕНЕРГОСИЛОВІ ПАРАМЕТРИ, СИЛА, МОМЕНТ, ПОТУЖНІСТЬ

The abstract

The explanatory note to the degree project contains: pages 56, fig. 6, tables 13, cont. 2, sources 22.of development - technology of the rolling on rail beaming rolling machine 800 Public join-stock company «EVRAZ - DMZ after name Petrovskiy».

The purpose of job - calculation of the technological of the round stocking up by diameter 90 mms on rail beaming rolling machine 800.method of the study - analytical with use the known methods from literature.

The designed modes to deformation, calibration shafts for rolling on rail beaming rolling machine 800 the round stocking up by diameter 90 mms. Are determined temperature, high-speed, energy force parameters of deformation, productivity rolling machine, the accounts on durability and deformation of the process equipment are executed.

The results of the work can be used for designed of technologies rolling preparations the round stocking up by diameter 90 mms on rail beaming rolling machine 800.

PREPARATIONS, ROLLING, CALIBRE, SPEED, TEMPERATURE, MODE, ENERGY FORCE PARAMETERS, ROLLING EFFORT, MOMENT, CAPACITY

Зміст

Перелік умовних позначок, символів, одиниць, скорочень і термінів

Вступ

. Аналітична частина

.1 Аналіз сортаменту цеху

.2 Аналіз устаткування та технології виробництва продукції цеху

.3 Шляхи вдосконалення устаткування та технологічного процесу, мета ВКРБ

2. Основна частина

.1 Обґрунтування раціональної технології та устаткування для виробництва прокату круглого діаметром 90 мм

.2 Розрахунок параметрів запропонованої технології виробництва прокату круглого діаметром 90 мм

.2.1 Розрахунок режиму деформації при виробництві прокату круглого діаметром 90 мм

.2.2 Розрахунок калібровки інструменту для виробництва прокату круглого діаметром 90 мм

.2.3 Розрахунок енергосилових параметрів прокатки круглої заготовки

.2.4 Розрахунок на міцність прокатного валка

.2.5 Розрахунок годинної продуктивності стану

. Охорона праці

.1 Аналіз умов праці

.2 Виробнича санітарія та гігієна праці

.3 Техніка безпеки

.4 Пожежна профілактика

Висновки

Перелік посилань

Додатки

Перелік умовних позначок, символів, одиниць, скорочень і термінів

ПРБ - планово - розподільче бюро.

ПРО - виробничий відділ.

СПМ - сортоправильна машина.

ВТК - відділ технічного контролю.

ТУ - технічні умови.

ККЦ - киснево - конверторний цех.

ПЦ-1 - прокатний цех №1.

ПЦ-2 - прокатний цех №2.

ДСТУ - державний стандарт України.

ГОСТ - міждержавний стандарт.

об./хв. - оберти на хвилину.

ПАТ - публічне акціонерне товариство.

ПУЕ - правила будови електроустановок.

ГДР - гранично припустимий рівень.

ГДК - гранично припустима концентрація.

ЗІЗ - засоби індивідуального захисту.

інд. - індивідуальний.

ПК - пост керування.

АБК - адміністративно-побутовий комбінат.


Вступ

Дніпропетровський металургійний завод ім. Петровського відноситься до заводів з повним металургійним циклом і виконує повний комплекс робіт, починаючи з виплавки чавуну і закінчуючи випуском готової прокатної продукції.

Зараз завод має у своєму складі чотири основних цехи: доменний, киснево-конверторний, прокатний цех №1 (блюмінг 1050, рейкобалковий стан 800), прокатний цех №2 (середньосортний стан 550).

Прокатний цех №1 включає обтискний стан блюмінг 1050 і рейкобалковий стан 800 які розташовані в цеху в одному технологічному потоці і працюють з одного нагрівання злитків. Цех складається з таких відділень (дільниць): відділення підготовки злитків (стриперне); дільниця нагрівальних колодязів; дільниця прокатних станів (обтискний стан блюмінг 1050 та рейкобалковий стан 800); машинне відділення головного приводу; дільниця різання, охолодження та обробки заготовок та сортового прокату; склад готової продукції.

Перспективи вдосконалення сучасної технології виробництва прокату полягають в зменшенні витрат ресурсів, зниженні собівартості прокатної продукції та розширенні сортаменту станів. Цей напрямок є актуальним та пов'язаний зі створенням нових та удосконаленням діючих технологій прокатки різноманітних профілів, що забезпечуватимуть підвищення технологічних та економічних показників виробництва.

Одним з важливіших напрямків технічного прогресу є розширення сортаменту діючих прокатних станів шляхом розробки та удосконалення технологій прокатки нових високотехнологічних профілів, що користуються попитом на ринку металопродукції. В дипломному проекті розглядається удосконалення технології виробництва круглої заготовки діаметром 90 мм для куль рудорозмельних млинів в умовах рейкобалкового стану 800 прокатного цеху №1 ПАТ «ЄВРАЗ - ДМЗ ім. Петровського».

. Аналітична частина

 

1.1 Аналіз сортаменту цеху

Прокатний цех №1 включає обтискний стан блюмінг 1050 і рейкобалковий стан 800 які розташовані в цеху в одному технологічному потоці і працюють з одного нагрівання злитків. На рейкобалковому стані 800 прокатується сортовий прокат. Причому в залежності від призначення він підрозділяється на: профілі загального чи масового призначення та профілі спеціального призначення. До профілів першої групи можна віднести трубну і квадратну заготівки; швелери; двотаврові балки. До другої групи відносяться рейки залізничні; рейки трамвайні й ін. Сортамент стану 800 наведений у таблиці 1.1.

валок прокатка заготовка калібровка

Таблиця 1.1 - Сортамент рейкобалкового стану 800

№ п/п

Найменування профілю згідно нормативної документації

Марка сталі

НТД на сталь

НТД на профіль

НТД на технічні вимоги до профілю

1

Заготовка квадратна перерізом 125мм, 130мм, 150мм, 170мм

Згідно замовленню

ДСТУ 2651 (ГОСТ 380) ГОСТ 19281

ТУ У 14-2-1230-99

2

Заготовка прямокутна




3

Рейки кранові КР-70, КР-80, КР-100, КР-120, КР-140

63

ГОСТ 4121

ГОСТ 4121

ГОСТ 4121

4

Заготовка трубна

Згідно замовленню

ДСТУ 2651 (ГОСТ 380)  ГОСТ 1050  ГОСТ 19281 ГОСТ 4543  ГСТУ 3-009-2000

ГСТУ 3-009-2000

ГСТУ 3-009-2000

5

Рейки рудничні Р-34

Н50,Т60, Т80, ПТ70

ТУ У 27.1-00190319-1326-2004

6

Рейки трамвайні жолобчаті безшієчні РТЖБ-58

К75

ТУ У 27.1-05393056-257-2004

7

Швелери гарячекатані з паралельними полками №№ 20П, 22П, 24П

Згідно замов-ленню

ДСТУ 2651 (ГОСТ 380)  ГОСТ 19281

ГОСТ 8240

ГОСТ 535 ГОСТ 19281

8

Балка №22С

Згідно замов-ленню

ДСТУ 2651 (ГОСТ 380)  ГОСТ 19281

ГОСТ 19425

ГОСТ 535 ГОСТ 19281

9

Профілі гарячекатані для крепі гірничих виробок СВП-33

5пс 5сп

ДСТУ 2651 (ГОСТ 380)

ГОСТ 18662

ДСТУ 4484 (ГОСТ 535) ГОСТ 18662

10

Прокат гарячекатаний спеціальний для футеровки барабанних млинів

75Г2ФЮ, 75Г2Ф, 75Г2

ТУ У 322-233-235-95



.2 Аналіз устаткування та технології виробництва продукції цеху

Прокатний цех №1 є одним з основних цехів заводу. Його площа складає 112263 м2. Цех забезпечується металом з киснево-конвертерного цеху за допомогою залізничного транспорту. Цех складається з таких відділень (дільниць): відділення підготовки злитків (стриперне); дільниця нагрівальних колодязів; дільниця прокатних станів (обтискний стан блюмінг 1050 та рейкобалковий стан 800); машинне відділення головного приводу; дільниця порізки, охолодження та обробки заготівок та сортового прокату; склад готової продукції.

Блюмінг 1050 є одноклітьовим обтискним станом, призначеним для прокатки зливків з різних марок стали масою до 8 т на блюмси різного перетину ( у залежності від профілів, що прокочуються на рейкобалковому стані 800). Робоча кліть реверсивна дуо, станини робочої кліті - сталеві, литі. Привод валків здійснюється від електродвигуна через шестеренну кліть і універсальні шпинделі. Натискний пристрій електричний. Натискні гвинти приводяться в обертання від двох вертикальних електродвигунів типу ПВ 125-8К потужністю 200 кВт кожний з числом обертів 750 об./хв. через циліндричний редуктор. Швидкість переміщення (опускання) верхнього валка дорівнює 135 мм/с. Зрівноважування верхнього валка - гідравлічне. З передньої сторони робоча кліть блюмінга обладнана маніпулятором, у лівій лінійці якого вмонтований 4-х крюковий кантувач. Положення зливка (розкату) що до калібрів валків із задньої сторони кліті фіксується станинним ребристим роликом. Перевалка валків блюмінга виробляється після прокатки 65-70 тис. т злитків. Характеристику блюмінга наведено у таблиці 1.5. Розташування устаткування блюмінгу наведене на рисунку 1.1.

Рисунок 1.1 - Схема розташування устаткування блюмінга 1050: 1 - головний двигун блюмінга, 2 - з’єднувальна муфта, 3 - шестеренна кліть, 4 - шпиндель, 5 - робоча кліть блюмінгу, 6 - кантувач, 7 - лінійки, 8 - рольганг блюмінгу, 9 - розкатний жолоб, 10 - парогідравлічні ножиці, 11 - розкатне поле стану 800.

Таблиця 1.2 - Характеристика блюмінга

Параметр

Значення

Матеріал станин

сталь 35Л

Діаметр робочих валків, мм

1095

Довжина бочки валків, мм

2600

Діаметр шийки валків, мм

600

Довжина шийки, мм

580

Матеріал валків

сталь 50ХН

Швидкість опускання верхнього валка, мм/с

135

Діаметр валків шестеренної кліті, мм

1187

Довжина валків шестеренної кліті, мм

1150

Потужність головного приводу, кВт

10000

Кількість обертів, об./хв.

0-63-100


Після прокатки на блюмінгу розкат по транспортному рольгангу подаються на парогідравлічні ножиці з горизонтальним різанням.

Рейкобалковий стан 800 складається з трьох реверсивних робочих клітей дуо, розташованих в одну лінію. Технічну характеристику стану наведено в таблиці 1.3, загальний вигляд стану 800 наведений на рис. 1.2.

Рисунок 1.2 - Стан 800

Таблиця 1.3 - Технічна характеристика рейкобалкового стану 800

Параметр

Значення

Матеріал станин

сталь 45Л

Максимальний діаметр робочих валків, мм

840

Довжина бочки валків, мм

2135

Матеріал валків

чавун СШХН-47

Швидкість опускання верхнього валка, мм/с

2

Діаметр валків шестеренної кліті, мм

780

Потужність приводу заготовочної і чорнової клітей, кВт

6200

Кількість обертів приводу заготовочної і чорнової клітей, об./хв.

0-80-160

Потужність приводу чистової кліті, кВт

4000

Кількість обертів приводу чистової кліті, об./хв.

0-90-180

Годинна продуктивність, т

100-200


Через корінну муфту, шестеренну кліть і трефові шпинделі приводиться в дію дві робочих кліті (заготовочна і чорнова) двигуном постійного струму. Чистова кліть має у своєму розпорядженні окремий двигун. Усі кліті рейкобалкового стану однієї конструкції: станини закритого типу, литі. Опорами валків служать подушки з текстолітовими вкладишами. Натискний пристрій - гвинтовий з електричним приводом. Пристрій верхнього валка, що врівноважує, пружинного типу. Рейкобалкові стани, як правило, працюють з верхнім “тиском”, тобто верхній валок має більший діаметр, чим нижній на 2 - 10 мм.

Розкатне поле стану з передньої і задньої сторін робочих клітей обладнано рольгангами, що подовжені підвісними жолобами. Стан обладнаний гідравлічними кантувачами і шлеперами.

Виробництво профілів прокату на рейкобалковому стані 800 здійснюється за двома технологічними потоками - правим і лівим.

Лівий технологічний потік призначений для виробництва трубної, квадратної та прямокутної заготовки. В потоці встановлено маятникову пилу та механізовані холодильники трубної і квадратної заготовки. Діаметр диску пили 1650 мм, кількість обертів - 1035 за хвилину, колова швидкість 36,5 м/с. Довжина механізованого холодильника трубної заготовки 57400 мм, ширина 11000 мм. Квадратна і прямокутна заготовки передаються на двохсекційний холодильник довжиною 52100 мм і загальною шириною 11010 мм.

Правий технологічний потік призначено для виробництва товарної квадратної заготовки, трамвайних, рудничних та кранових рейок, двотаврових балок, швелерів. Обрізка передніх і задніх кінців готових розкатів, а так само їх різання виконується маятниковими пилками гарячого різання. В потоці встановлено три маятникові пили, перша з котрих розташована на відстані 78160 мм від осі стану 800, відстань між першою та другою пилами 9130 мм, між другою та третьою 8120 мм. Діаметр дисків 1750-2000 мм, кількість обертів на хвилину -1000. Холодильники для сортового прокату складаються з трьох секцій довжиною 37000 мм кожна, ширина однієї секції - 11800 мм, двох інших - 11450 мм кожна.

Злитки киснево-конвертерної сталі після розливання і визначеного відстою у своєму цеху на візках (роликах) надходять у південне стриперне відділення ПЦ-1. Виробництво прокату здійснюється зі злитків спокійної, напівспокійної і киплячої марок сталі, різного призначення. Маса (вага) злитків в основному дорівнює 7,5 т.

Посад злитків у нагрівальні колодязі і видача їх у прокат (на перекидач прийомного рольганга блюмінга) здійснюються за допомогою кліщових кранів. Нагріті до температури 1160-1180°С злитки кліщовими кранами видаються з нагрівальних колодязів і встановлюються в перекидач прийомного рольганга блюмінга.

Прокатка злитків на блюмінгу виробляється відповідно до затверджених головним інженером заводу таблиць режимів обтиснень. Прокатка на блюмінгу злитків з киплячої, напівспокійної (розширені донизу) і спокійної сталі виконується, в основному, за 11-13 пропусків з максимальним одиничним (за пропуск) обтисненням не більш 140 мм. Температура кінця прокатки на блюмінгу для всього сортаменту повинна бути не нижче 1060°С.

Після прокатки на блюмінгу розкат по транспортному рольгангу подається на парогідравлічні ножиці з горизонтальним різанням. Температура розкату при різанні на парогідравлічних ножицях повинна бути не нижче 1050°С. Величина головної обрезі , що видаляється, на розкатах з різних марок стали повинна забезпечити: на спокійній сталі - повне видалення усадочної раковини і грубих поверхневих дефектів (тріщина, дрантя, пльона і т.д.) головної частини розкату; на напівспокійної стали - задовільну якість макроструктури (відсутність слідів усадочних дефектів по місцеві різа), відсутність розпатланого кінця і грубих дефектів на поверхні головної частини розкату; на киплячій сталі - повне видалення рослості злитка і грубих поверхневих дефектів. Донна обрізь на злитках спокійного металу віддаляється на розкатах, що йдуть на праву сторону стану 800 для прокатки готових профілів (рейки, швелери, балка й ін.), а також у випадку наявності застудженого, розпатланого кінця або кінця з вкоченим на одну зі сторін літником. Донна обрізь на блюмсових розкатах з киплячого і напівспокійного металу повинна забезпечувати повне видалення утяжки і відсутність грубих поверхневих дефектів. Обрізана заготовка надходить на стан 800.

У чорновий і чистовий клітях (права сторона стану) прокочують кранові рейки, фасонні профілі, спеціальні профілі, квадратну заготовку перетином 130´130 мм, 125´125 мм і 100´100 мм. Прокатка профілів виконується за 5, 7 і 9 проходів.

У заготовочній кліті (ліва сторона стану) прокочують трубну, прямокутну та квадратну заготовку перетином від 125´125 мм до 170´170 мм.

Температура початку і кінця прокатки металу на стані 800 у залежності від сортаменту повинна відповідати нормам таблиці 1.4.

Таблиця 1.4 - Температура прокатки

Найменування сортаменту

Температура прокатки, °С


початок

кінець

Кранові рейки

1070

900-980

Трубна заготівка

1070

950

Квадратна заготівка

1050

950

Балки, швелери і рейки Р-34

1070

850


Обрізка передніх і задніх кінців готових розкатів, а так само їх розкрій виконується маятниковими пилками гарячого різання. Різання розкатів на пилках з температурою поверхні нижче 750ºС не допускається. Різ повинний бути прямим, косина не повинна перевищувати 3-10 мм, а косина різу не повинна перевищувати граничного відхилення по довжині. Величина головної і донної обрізки на кранових рейках складає 350-500 мм, для швелерів і балок - 300-900 мм, для заготовки - 70-100 мм. Прокат ріжеться по довжині відповідно до замовлень. Припустимі відхилення по довжині мірної штанги [2]: при довжині штанг до 4 метрів +30 мм; при довжині штанги понад 4, до 6 метрів +50 мм; при довжині штанги понад 6 метрів +100 мм.

Уся прокатна продукція клеймується в гарячому стані в потоці рейкобалкового стану 800, після порізки на пилках, механізованими клеймувальними установками. Клеймо повинне містити: марку сталі, виготовлювача, номер плавки і т.д.

Після різання і таврування розкат надходить на холодильники. Охолодження штаб проводиться до температури нижче 100°С, це виключить скривлення та короблення після їхнього виправлення і подальшого охолодження в технологічному потоці.

Огляд прокату виконується на холодильниках та при видаванні на склад. Якість поверхні прокатної продукції перевіряють візуальним оглядом без застосування збільшувальних приладів.

Дефекти заготовки, що мають глибину залягання чи площину, що перевищують припустимі норми, повинні бути видалені вогневим способом або видаляються наждаковими машинками чи пневматичними зубилами.

Прийнята продукція пакується в пачки з кількістю штаб, передбаченою контрактом і передається в інший крановий проліт. Тут продукція складається в штабелі і, по прибуттю вагонів, вантажиться мостовими кранами відповідно до замовлення.

.3 Шляхи вдосконалення устаткування та технологічного процесу, мета ВКРБ

Технологія виробництва готової продукції прокатного цеху №1 в цілому відповідає сучасним вимогам. Але, внаслідок наявності застарілого обладнання, діюча технологія має деякі недоліки.

До переваг технології відносяться:

-    швидкий перехід із профілю на профіль;

-        легкість у настроюванні стану;

         реверс, що дозволяє регулювати, у залежності від ситуації, швидкість прокатки.

До недоліків можна віднести:

-    велику енергоємність;

-        обмеження довжини розкату розмірами розкатного поля стану 800;

         привід заготовочної та чорнової клітей стану 800 від одного електродвигуна;

         передача трубної заготівки з холодильника на склад за допомогою залізничного транспорту.

Останні три фактори мають вплив на продуктивність стану 800 при виробництві прокатної продукції.

Слідством обмежень по довжині розкату є неможливість прокатки квадратної заготівки з перерізом менше 120×120 мм, а також необхідність різання блюмсового розкату на дві та більше частин при виробництві швелерів, балок та рейок.

Привід від одного двигуна не дозволяє вести одночасно прокатку двох штаб в чорновій та заготовочній клітях. Зробити незалежний електропривод для кожної кліті неможливо без докорінної перебудови цеху.

При передаванні трубної заготівки з холодильника за допомогою залізничного транспорту мають місце додаткові затрати часу при навантажуванні та розвантажуванні залізничних вагонів, а також при пересуванні потягу територією заводу.

Обладнання ділянки холодильників трубної заготовки пристроєм для передавання готового прокату в проліт складу трубної заготівки (шлепером або візком) дозволить уникнути вищевказаних недоліків, а також затрат дизельного палива при транспортуванні заготівки залізничним транспортом.

Всі вищевикладені заходи потребують значних капіталовкладень та реконструкції технологічного обладнання ПЦ-1, тому основним напрямком удосконалення діючої технології, в теперішніх умовах, є зниження її матеріало- та енергоємності та збільшення продуктивності за рахунок пошуків внутрішніх резервів, а також розширення сортаменту стану шляхом освоєння технології виробництва профілів, які користуються попитом на ринку металопродукції як в Україні, так і за її межами. Одним з таких профілів є прокат круглий діаметром 90 мм, що використовується в якості заготовки для куль і стержнів для рудорозмельних млинів.

2. Основна частина

.1 Обґрунтування раціональної технології та устаткування для виробництва прокату круглого діаметром 90 мм

Для виробництва прокату сталевого гарячекатаного круглого діаметром 90 мм для заготовок куль рудорозмельних млинів використовується сталь марок 60Г, 65Г чи 70Г.

Стриперування, нагрів і прокатка злитків сталі марок 60Г, 65Г и 70Г здійснюється у відповідності до вимог [2] для міцних сталей.

Прокатка злитків на блюмінгу здійснюється за режимами обтиснень, які забезпечують отримання блюма перетином 180±6×195±6 мм з номінальною масою 1 погонного метра 285 кг. Величина головної обрізки на ПГН блюмінгу складає 3200 мм, донної - 230 мм. У зв’язку з тим, що розкат готового профілю за довжиною неможливо розмістити на розкочувальному полі стану 800 блюм на ПГН ріжеться на 2 частини. Прокатка на стані 800 прокату сталевого гарячекатаного круглого діаметром 90 мм здійснюється послідовно з двох половин блюмсового розкату.

За діючою технологією, кругла заготовка діаметром 100 мм прокатується в чорновій та чистовій клітях стану 800 за сім проходів.

В чорновій кліті розкат прокатується за три проходи в ящикових калібрах з кантуванням після кожного проходу. В чистовій кліті прокатка виконується за чотири проходи (три в овальних калібрах і один в чистовому круглому калібрі) з кантуванням після кожного проходу крім останнього (рис. 2.1).

Рисунок 2.1 - Діюча схема прокатки круглої заготовки діаметром 100мм

Як видно з викладеного вище, діюча схема прокатки круглої заготовки передбачає сім проходів в калібрах двох клітей, що призводить к значним витратам часу на прокатку кожної штаби і, відповідно, до низької продуктивності.

Одночасно, в прокатному цеху №1 є досвід прокатки трубної заготовки діаметрами 120 мм і 130 мм по лівому технологічному потоку через заготовочну кліть за три - п’ять проходів.

Раціонально змінити калібрування при виробництві круглої заготовки діаметром 90 мм по правому технологічному потоку стану 800, скоротивши кількість проходів з семи до п’яти (рис. 2.2) і виключивши зі схеми чорнову кліть.

Рисунок 2.2 - Проектна схема прокатки круглої заготовки діаметром 100 мм

Проектна схема калібрування має наступний вигляд: в ящикових калібрах виконується два проходи з наступним кантуванням, потім здійснюються два проходи в овальних калібрах після чого розкат передається до чистового круглого калібру.

Таким чином зменшується час перебування розкату в кліті і зі схеми прокатки виключається чорнова кліть, що дозволяє підвищити продуктивність при виробництві круглої заготовки діаметром 90 мм. Чорнова кліть має електродвигун, спільний із заготовочною, тому її виключення із схеми прокатки дозволить одночасно з чистовою кліттю вести прокатку в заготовочній кліті, що також сприятиме підвищенню продуктивності.

2.2 Розрахунок параметрів запропонованої технології виробництва прокату круглого діаметром 90 мм

2.2.1 Розрахунок режиму деформації при виробництві прокату круглого діаметром 90 мм

Кругла заготовка діаметром 90 мм прокочується з блюмсового розкату перерізом 180×195 мм зі сталі марки 70Г. Прокатка ведеться в чистовій кліті стану 800 за п¢ять проходів.

Перший по ходу прокатки - перший прямокутний калібр, другий - другий прямокутний калібр, третій - підготовчий овал, четвертий - передчистовий овал, п’ятий - чистовий круглий калібр.

Розрахунок режиму деформації починаємо з чистового круглого калібру.

Діаметр профілю в холодному стані приймаємо з урахуванням неповного мінусового допуску:

,    (2.2)

де d - неповний мінусовий допуск, мм.

Діаметр профілю в гарячому стані збільшується за рахунок температурного розширення металу та розраховується за формулою:

,    (2.3)

де 1,018 - коефіцієнт температурного розширення металу.

Обтиснення визначаємо за формулою

,     (2.4)

де DD - діаметр валку по дну калібру,

a3 - кут захоплення.

Коефіцієнт обтиснення:

       (2.5)

Поширення визначимо за формулою А.П.Чекмарьова

      (2.6)

де bср - ширина штаби, мм;

H, h - товщина штаби до і після проходу, мм;

КО - коефіцієнт обмеження поширення;К - діаметр валка по дну калібру, мм.

За формулами (2.2) та (2.3) визначаємо розміри штаби в чистовому круглому калібрі.

dХ = 90 - 1,0 = 89 мм, dГ = 1,018 · 89 = 90,6 мм.

Приймаємо розміри профілю в гарячому стані dГ = 91 мм.

Чистовий круглий калібр.

Вертикальний діаметр круглого калібру приймаємо рівним діаметру гарячого профілю dВЕРТ = dГ = 91 мм.

Горизонтальний діаметр круглого калібру

dГОР мм  (2.7)

У круглому калібрі застосовують кути захоплення в межах aкр=12¸22° [5, рис. 62]. Приймаємо aкр = 22°(0,384 рад). З урахуванням переточування валків кліті D = 800 мм на 15% одержимо:

мм,           (2.8)

де D = 800 мм - номінальний діаметр валків заготовочної кліті стану 800,

s = 6 мм - зазор між валками.

Визначаємо обтиснення за формулою (2.4):

Δh5 = 595 · (1 - 0,9272) = 45 мм; .

Поширення визначаємо за формулою (2.6):

мм.

Передчистовий овальний калібр.

Ширина штаби в передчистовому калібрі

мм  (2.9)

Висота штаби в передчистовому калібрі

мм    (2.10)

У передчистовому овалі приймаємо кут захоплення a2 =25°.

Діаметр валка по дну калібру встановлюємо за формулою (2.8)

мм

Визначаємо обтиснення за формулою (2.4):

мм;

Поширення визначаємо за формулою (2.6):

мм

Підготовчий овальний калібр.

Ширина штаби у підготовчому овальному калібрі

мм           (2.11)

Висота штаби у підготовчому овальному калібрі

мм          (2.12)

У підготовчому овалі приймаємо кут захоплення a3 =25°.

Діаметр валка по дну калібру встановлюємо за формулою (2.8)

мм

Визначаємо обтиснення за формулою (2.4):

мм;

Поширення визначаємо за формулою (2.6):

мм

Другий прямокутний калібр.

Ширина штаби, в другому прямокутному калібрі, з урахуванням кантування на 90° перед задачею в підготовчий овальний калібр, буде дорівнювати

мм         (2.13)

Висота штаби

мм       (2.14)

У другому прямокутному калібрі приймаємо кут захоплення a2 = 25°. Діаметр валка по дну калібру встановлюємо за формулою (2.8)

мм

Визначаємо обтиснення за формулою (2.3):

мм;

Поширення визначаємо за формулою (2.5):

мм

Перший прямокутний калібр.

Ширина штаби, в першому прямокутному калібрі, з урахуванням кантування на 90° перед задачею в другий прямокутний калібр, буде дорівнювати

мм          (2.15)

Висота штаби

мм        (2.16)

Обтиснення в другому прямокутному калібрі визначаємо за формулою:

мм           (2.17)

Поширення

мм          (2.18)

Діаметр валка по дну калібру встановлюємо за формулою (2.8)

мм

Кут захоплення

 , a1 = 0,404 рад. = 23,2° (2.19)

Розрахунки режимів деформації круглої заготовки діаметром 100 мм зведено у таблиці 2.3.

Таблиця 2.3 - Режими деформації круглої заготовки діаметром 90 мм

№ проходу

Кут захоплення, a, рад.

Товщина смуги, h, мм

Ширина смуги, b, мм

Поширення, Δb, мм

Обтиснення, Δh, мм

Коефіцієнт обтиснення, η

Заготовка

-

195

180

-

-

1

0,404

151,8

181

1

43,2

1,285

Кантовка

2

0,436

128,2

167,2

15,4

52,5

1,410

Кантовка

3

0,436

113,2

145,4

17,2

54

1,477

Кантовка

4

0,436

89,4

136

22,8

56

1,626

Кантовка

5

0,384

91

92

2,6

45

1,495


2.4 Розрахунок калібровки інструменту для виробництва прокату круглого діаметром 90 мм

Для побудови калібрів простої форми (рис. 2.3) необхідно встановити наступні розміри: НК та ВК - висоту та ширину калібру; НВР та ВВР - глибину та ширину врізу ручаїв; r та r1 - радіуси закруглень по дну калібру та по буртах; R - радіус окреслення ручаїв; s - зазор між буртами ручаїв [5]. Розрахунок калібровки для прокатки круглої заготовки полягає у визначенні розмірів чистового круглого калібру, передчистового овалу, підготовчого прямокутного калібру.

Рисунок 2.3 - Побудова калібрів для прокатки круглої заготовки: 1 - прямокутний ящиковий калібр, 2 - плаский овальний калібр, 3 - круглий калібр

Знаходимо розміри калібрів, починаючи з поперечної площі заготовки перед прокаткою, яка розраховується за формулою:

мм2      (2.20)

Перший та другий прямокутні калібри.

Розраховуємо розмір калібру по дну ручаю:

,   (2.21)

Ширина калібру розраховується за формулою:

        (2.22)

Висота калібру НК встановлюється відповідно з товщиною вихідної штаби h0 та прийнятим обтисненням :

        (2.23)

Висота калібру буде рівною товщині штаби після прокатки.

Радіуси закруглень дорівнюють:

,     (2.24)

   (2.25)

Встановлюємо глибину Нвр та ширину Ввр врізу ручаїв за формулами:

,        (2.26)

,       (2.27)

Встановлюємо площу перерізу розкату за формулою:

,   (2.28)

Знаходимо розміри першого та другого прямокутного калібру за формулами (2.21) - (2.28). Випуск бічних стінок калібру рівний φ=5°.

Перший прямокутний калібр.

мм; мм

мм; мм

Зазор між валками s1 = 8 мм приймаємо конструктивно.

мм; мм

 мм2

Другий прямокутний калібр.

мм; мм

мм;

Зазор між валками s2 = 8 мм приймаємо конструктивно.

мм;

 мм2.

Підготовчий та передчистовий овальний калібр.

Ширина врізу ручаю встановлюється за співвідношенням [5]:

    (2.29)

Ширина пласкої горизонтальної дільниці калібру

      (2.30)

Радіус бокових стінок калібру

  (2.31)

Радіус закруглення бурта

        (2.32)

Площа калібру [5]

          (2.33)

Знаходимо розміри підготовчого овального калібру за формулами (2.29) - (2.33). Ширина підготовчого овального калібру мм. Висота підготовчого овального калібру мм. Зазор між валками s3 = 8 мм приймаємо конструктивно.

мм

мм; мм; мм

мм2

Знаходимо розміри передчистового овального калібру за формулами (2.29) - (2.33). Ширина передчистового овального калібру мм. Висота передчистового овального калібру мм. Зазор між валками s4 = 8 мм приймаємо конструктивно.

мм

мм; мм; мм

мм2

Чистовий круглий калібр.

Ширина чистового круглого калібру мм. Висота чистового круглого калібру мм. Зазор між валками s5 = 6 мм приймаємо конструктивно.

Ширина врізу ручаю

 ,         (2.34)

де aB - кут випуску.

Згідно [5] =0,2.

Радіус закруглення бурта

      (2.35)

Площа калібру [5]

       (2.36)

Знаходимо розміри калібру за формулами (2.34) - (2.36).

мм

 мм;

мм2

Розміри калібрів наведені у таблиці 2.4.

Таблиця 2.4 - Розміри калібрів

№ проходу

Розміри заготовки

Ширина калібру по дну ручаю, BД, мм

Ширина калібру, BК, мм

Глибина врізу ручаю, Нвр, мм

Ширина врізу ручаю, Bвр, мм

Радіуси закруглень калібру, мм

Радіуси закруглень по буртах, мм


висота, h, мм

ширина, b, мм

площа, F,мм2







0

195

180

34398

-

-

-

-

-

-

1

151,8

181

26926

176

190

72

189

15

15

2

128,2

167,2

21006

149

160

60

159

13

13

3

113,2

145,4

13704

32

145,4

-

145

57

34

4

89,4

136

10440

47

136

-

135,6

45

27

5

91

91

6501

-

92

-

62

-

8


.5 Розрахунок енергосилових параметрів прокатки круглої заготовки діаметром 90 мм

Зусилля, що діє на валок у процесі прокатки, можна визначити за формулою

,      (2.37)

де РК.СР - середній контактний тиск.

Середній контактний тиск визначається в залежності від границі текучості матеріалу, що деформується, s*т і коефіцієнта напруженого стану ns:

        (2.38)

Для сталі 65Г s*т =86×106 Н/м2.

При прокатці злитків і заготівок у ящикових та інших простих калібрах при ld/hср<1 приймаємо:

   (2.39)

де ld і hср - довжина осередку деформації і середня висота смуги у зоні деформації.

.        (2.40)

Середня довжина осередку деформації:

,     (2.41)

де R К.СР. - середній контактний радіус валків.

Площа контактної поверхні досить точно визначається за формулами В.Г. Дрозда, що отримані аналітичним методом:

-        для круглого калібру ;   (2.42)

         для овального калібру ;          (2.43)

         для прямокутного калібру .   (2.44)

У практичних розрахунках крутячий момент визначають як:

.       (2.45)

де y - коефіцієнт плеча моменту, що приблизно приймають для гарячої прокатки заготовок квадратного перетину 0,5 , круглих профілів 0,6.

Потужність прокатки, що споживається:

,      (2.46)

де w - кутова швидкість валків, 1/с.

 с-1           (2.47)

Встановлюємо середню довжину осередку деформації за формулою (2.41).

мм; мм

мм; мм

мм

Встановлюємо коефіцієнт напруженого стану ns за формулами (2.39) і (2.40).

мм;   ;

мм;   ;

мм;  ;

мм;  ;

мм;   .

За формулою (2.38) визначаємо середній контактний тиск.

 Н/м2

 Н/м2

 Н/м2

 Н/м2

 Н/м2

Визначаємо площу контактної поверхні за формулами (2.42) - (2.44)

м2; м2

м2

м2

м2

За формулою (2.37) визначаємо зусилля прокатки:

МН; МН;

МН; МН;

МН.

За формулою (2.45) визначаємо момент прокатки

МН×м;

МН×м

МН×м;

 МН×м

 МН×м

За формулою (2.46) визначаємо потужність прокатки

МВт;  МВт;

МВт;  МВт;

МВт

Результати розрахунків енергосилових параметрів прокатки круглої заготовки діаметром 90 мм наведені у таблиці 2.5.

Таблиця 2.5 - Результати розрахунків енергосилових параметрів

Номер калібру

Температура штаби,t, ºС

Середній контактний тиск, Рк.ср., МН/м2

Площа контактної поверхні, F, м2

Зусилля прокатки, Р, МН

Коефіцієнт плеча моменту, ψ

Момент прокатки, Мпр., МНм

Потужність прокатки, Nпр., МВт

0

1070

-

-

-

-

-

-

1

1066

102,3

0,013

1,33

0,5

0,14

1,18

2

1055

92,6

0,014

1,296

0,5

0,16

1,34

3

1044

87,8

0,018

1,58

0,6

0,24

2,02

4

1032

80

0,017

1,36

0,6

0,21

1,76

5

1019

83,1

0,008

0,665

0,6

0,09

0,76


.2.4 Розрахунок на міцність прокатного валка

Валок можна розглядати як балку, що лежить на двох опорах, піддану вигину під дією тиску металу на валки і крутінню від прикладеного моменту привода. У результаті спільної дії згинаючого і обертаючого моментів у небезпечних перетинах валка виникають напруги, величини яких не повинні перевищувати припустимі. Припустимі напруження у валках для кращого використання прокатного стану в більшості випадків приймаються високими, виходячи з п'ятикратного запасу потужності:

;   (2.48)

де  - межа потужності матеріалу валків; = 5 - коефіцієнт запасу міцності.

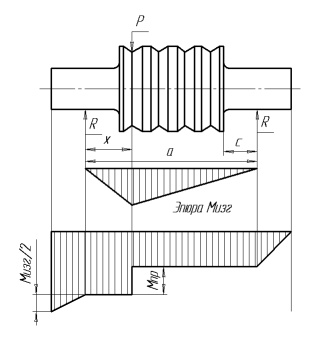
Розрахункова схема навантаження сортового валка приведена на рис. 2.4.

Рисунок 2.4 - Розрахункова схема навантаження та епюри моментів

Тому що при прокатці в різних калібрах величина тиску, діаметр бочки, і відстань від осі натискного гвинта є перемінними, то необхідно робити розрахунок напружень у бочці і шийці валка в кожнім калібрі. При розрахунку бочки валка напруги від крутіння звичайно не підраховуються, тому що величина їх, у порівнянні з величиною напружень від вигину, набагато менше.

Розрахунок бочки валка виробляється тільки на вигин.

При прокатці в калібрі опорні реакції рівні:

       (2.49)

  (2.50)

де х - координата прикладання сили;

 - відстань між опорними реакціями.

Вигинаючий момент в центральному перерізі калібру:

         (2.51)

Напруження вигину в даному калібрі:

  (2.52)

де  - діаметр валка по середині ручаю.

Шийка валка розраховується на вигин та крутіння.

Вигинаючий момент для правої шийки:

       (2.53)

Вигинаючий момент для лівої шийки:

       (2.54)

Напруження від вигину:

      (2.55)

Крутячий момент для приведеної шийки:

 ,    (2.56)

де  - момент прокатки,

 - момент тертя в шийках валків.

,         (2.57)

де

Напруження від крутіння:

      (2.58)

Результуючі напруження для шийки по III теорії міцності (чавунних валків):

   (2.59)

Вихідні дані: максимальний тиск металу на валки  Н; максимальний момент прокатки  Н×м;  Па; діаметр бочки по середині ручаю  м; довжина шийки валка  м; діаметр шийки  м.

Для розрахунку валків на міцність використовуються формули (2.49).....(2.59):

Н = 1,4 МН

Н = 0,18 МН

Н×м = 450 кН×м

Па = 8,2 МПа

згинаючий момент для правої шийки:

Н×м = 41 кН×м

згинаючий момент для лівої шийки:

Н×м = 322 кН×м

Н×м = 0,966 кН×м

Н×м = 25 кН×м

Па =33 МПа

Па = 1,3 МПа

 МПа

Як видно з розрахунків дійсні напруження не перевершують допустимих, тобто міцність валка забезпечена.

Продуктивність прокатного стану (агрегату) визначається кількістю металу, що прокочується в одиницю часу, - годину, зміну, добу, місяць, рік.

Технічно можлива годинна продуктивність визначається за формулою:

П = т/год.,     (2.60)

де 3600 - кількість секунд в годині;

G - маса заготівки, т;

Т - такт (ритм) прокатки, с.

На практиці технічно можлива продуктивність ніколи повністю не реалізується, тому що в процесі роботи неминучі різні дрібні збої, пов’язані з настройкою валків та привалкової арматури, зачищенням поверхні валків, випадковими затримками розкату і т. ін. Тому визначають практично можливу часову продуктивність, для чого до формули (2.104) вводять коефіцієнт використання стану kв.

В залежності від типу стану, досконалості його конструкції та організації технологічного процесу коефіцієнт використання приймають в границях від 0,75 до 0,95 [5].

Відрізняють продуктивність стану по всаду та годній продукції. Продуктивність по всаду визначають, наприклад, при прокатці злитків на блюмінгах та слябінгах. Частіше встановлюють продуктивність стану по годній продукції. Для цього використовують коефіцієнт витрати металу kв.м, який є відношенням ваги заготівки до ваги готових виробів [5].

Продуктивність стана по годній продукції визначається за формулою:

П = , т/год.        (2.105)

Масу заготівки визначаємо за формулою:

,  (2.106)

де GМ - маса 1 м заготовки, т;

l - довжина заготовки, м.

Такт прокатки визначаємо за формулою:

,    (2.107)

де t1, t2, t3 - загальний час прокатки в першому, другому та третьому проходах відповідно, с.

За формулою (2.106) визначаємо масу вихідної заготовки. Вага 1 м блюмсового розкату перетином 180×195 мм складає 0,285 т. Довжина розкату перед першим проходом - 10 м (див. табл. 2.5). Тоді маса заготовки становить:

т.

Такт прокатки визначаємо за формулою (2.107). Згідно з таблицею 2.6 t1=13 с, t2=t3=t4=t5 = 33 с. Тоді такт прокатки дорівнює

с.

Технічно можливу продуктивність стану 800 при виробництві круглої заготовки діаметром 100 мм визначаємо за формулою (2.104):

П =  т/год.

Коефіцієнт використання стану з урахуванням особливостей стану 800 приймаємо kв=0,75, коефіцієнт витрати металу при виробництві круглого прокату діаметром 90 мм за даними ПАТ «ЄВРАЗ - ДМЗ ім. Петровського» дорівнює 1,205 т/т. Тоді продуктивність стану по годній продукції визначаємо за формулою (2.105):

П = т/год.

3. Охорона праці

Законодавство України про охорону праці базується на основах нормативно-правових актів, що відповідають Конституції України. Статті 43, 45, 46, 49, 50, 53, 56 і 64 Конституції України гарантують право громадян України на працю, відпочинок, охорону здоров'я, медичну допомогу і страхування [8]. Державна політика в області охорони роботи закріплена законом України «Про охорону праці» (стаття 4) і базується на пріоритеті життя і здоров'я працівників відповідно виробничій діяльності підприємства, повної відповідальності власника для створення безпечних і нешкідливих умов роботи [9]. «Проектування виробничих об'єктів, розробка нових технологій, засобів виробництва, засобів колективного й індивідуального захисту працюючих, повинні створюватися з урахуванням вимог до охорони праці» (стаття 154). Відповідно до Статті 155 [9] «Жодне підприємство, цех, ділянка виробництва не повинні бути прийняті і введені в експлуатацію, якщо на них не створені безпечні і нешкідливі умови праці». З упровадженням нових досягнень науки і техніки виробничий травматизм постійно знижується. У результаті широкої автоматизації і механізації ліквідована більшість небезпечних і важких операцій і професій, значно зменшилася, але і змінилася професійна захворюваність. Підвищена продуктивність праці знизила витрати м'язової енергії, але підвищила нервово-психічне навантаження на оператора стану.

.1 Аналіз умов праці

Дипломну роботу присвячено удосконаленню технологічного процесу виробництва круглого прокату діаметром 90 мм в умовах стану 800 прокатного цеху №1 ПАТ «ЄВРАЗ - ДМЗ ім. Петровського». Технологічні процеси та устаткування в дипломному проекті відповідають вимогам ГОСТ 12.2.002-75 [10]. У даному розділі дипломного проекту розглянуто основні шкідливі і небезпечні чинники в ПЦ-1, узагальнені питання пожежної профілактики.

Відповідно до ГОСТ 12.1.005-88 [11] робота у прокатному цеху №1 відноситься до важкої третьої категорії робіт і загальних енерговитрат організму робітника 350 кКал/год.

Особливість технологічного процесу у ПЦ-1 є у тому, що на робітників діють такі шкідливі та небезпечні фактори, як висока температура, шум, запилення, загазованість, теплове випромінювання та ін. [12] (табл. 3.1, 3.2). Характеристика мікроклімату виробничого приміщення наведена у таблиці 3.3.

Таблиця 3.1 - Аналіз шкідливих та небезпечних факторів у цеху

Значення

Шум, дБ

Вібрація, дБ(А)

Запи-лення, /м3

Загазованість, мл/м3,у т. ч.





СО

NО2

Н2S

SО2

в умовах цеху

90

-

2,09

-

0,08

-

6,0

ГДК

-

-

4,0

-

5,0

-

10,0

ГДР

85

-

-

-

-

-

-

клас небезпеки за ГОСТ121,005-88 за ГОСТ 121.007-76

ІІІ

-

ІІІ

-

ІV

-

ІІ


Таблиця 3.2 - Виробничий шум

Частота, Гц

63

125

250

500

1000

2000

4000

8000

Фактичні рівні звукового тиску, дБ

97

83

98

87

83

75

73

70

Припустимі рівні звукового тиску, дБ

95

87

82

78

75

73

71

69


Таблиця 3.3 - Характеристика мікроклімату виробничого приміщення [13]

Значення

Температура, 0С

Відносна вологість, %

Швидкість руху повітря, м/с

Інтенсивність теплового випромінювання, кКал/год.

Освітлення, лк

В умовах цеху

35

50

0,8

300

180

Нормативні значення мікроклімату за ГОСТ12.1.005-88 та СН2527-88

28

60

0,6

200

200

Світлова обстановка у виробничому приміщенні ì на робочому місці характеризується наступними параметрами: світловим потоком, освітленістю, силою світла і яскравістю джерела світла [16]. Світлове випромінювання впливає на весь організм, на загальне нервово-хімічне становище, може викликати зміну частоти пульсу і інтенсивності процесів обміну речовин. Головним є вплив освітлення на органи зору.

.2 Виробнича санітарія та гігієна праці

Основними джерелами тепла є нагрівальні пристрої, а саме: рекуперативні та регенеративні нагрівальні колодязі. Також нагріті зливки та їх розкати під час прокатки на блюмінгу 1050 та стані 800. Джерелами тепла є передаточні рольганги станів під час транспортування гарячого металу та холодильники стана 800 під час охолодження готового прокату.

Основну небезпеку при прокатці металу на рейко-балковому стані 800 представляють удари і зачіпання розкатом, особливо коли розкат виходить з калібрів валків неправильно і відхиляється в сторону. Для запобігання подібних випадків стежать за правильним виконанням калібрування валків і налаштуванням стана, не допускаючи прокатки в калібрах розкату з необрізаними кінцями. Винятки ударів і зачіпань розкатом досягають огорожею рольгангів і пристроєм перехідних містків. Робочі місця вальцювальників для захисту від тепловипромінювання обдуває припливною вентиляцією або крильчатими вентиляторами.

На ділянці стану небезпечними місцями є площі під кранами, біля працюючого устаткування, газонебезпечні місця, площі на висоті, каналізаційні люки, обертаючі та рухливі частини механізмів. Для відгородження небезпечних місць застосовуються бар'єри та відповідний колір офарблення. Обертаючі та рухливі частини механізмів зачиняють кожухами, сіткою та іншими загородженнями.

Над стелажами охолодження металу обладнані витяжні ліхтарі. По краях стелажів і в проміжках між окремими секціями споруджені проходи з містками для переходу через рольганги. Для пересування людей при розташуванні їх у двох прольотах над стелажами зроблені перехідні містки. Ходіння поперек стелажів забороняється.

.3 Техніка безпеки

Інструктажі з охорони праці за характером і часом проведення поділяються на: вступний; первинний на робочому місці; повторний; цільовий та позаплановий. Вступний інструктаж проводить інженер з охорони праці або особа, на яку наказом по організації покладено ці обов'язки. Решту інструктажів проводить керівник робіт з кожним працівником індивідуально (або з групою осіб, які обслуговують однотипне обладнання та в межах загального робочого місця).

Первинний інструктаж містить: загальні відомості про організацію; характерні особливості виробництва; загальні правила поведінки працівників на території організації, в виробничих і допоміжних приміщеннях; основні шкідливі і небезпечні виробничі фактори, характерні для даного виробництва; методи і засоби попередження нещасних випадків та професійних захворювань; засоби індивідуального захисту, плакати, знаки безпеки, сигналізація.

Інші інструктажі містять: загальні відомості про технологічний процес і обладнанні на даному робочому місці, на виробничій ділянці, в цеху; шкідливі і небезпечні виробничі фактори; безпечна організація робочого місця; порядок підготовки до роботи; безпечні прийоми і методи роботи; засоби індивідуального захисту на робочому місці та правила користування ними; безпечне пересування на території цеху, ділянки; небезпечні зони машини, механізму, приладу; засоби безпеки обладнання.

Запис про проведення інструктажу роблять у журналі реєстрації інструктажів з охорони праці та в документі про прийом на роботу або на контрольному листі з обов'язковим підписом того, хто отримав інструктаж.

Для створення безпечних умов робіт з електричними установками існує ряд захисних пристосувань: огородження і блокування; засоби, ізолюючі робітника від землі; застережливі написи і плакати; сигналізація. Як огородження застосовують грати, суцільні щити, ящики. Засобами, що використовуються для ізолювання робітника від землі, є ізолюючі підставки, гумові килимки, гумові калоші та боти, гумові рукавички.

Щоб забезпечити можливо більш повну безпеку обслуговуючого персоналу в цеху передбачені: автоматичне і ручне дистанційне керування технологічним процесом; автоматична зупинка агрегату; герметизація апаратів і комунікацій і розміщення їх на відкритому повітрі або в приміщеннях з гарною природною вентиляцією; теплова ізоляція апаратів і комунікацій; огорожа рухомих частин машин і механізмів.

В гарячих цехах широко застосовуються засоби індивідуального захисту: спецодяг з незаймистих тканин, спецвзуття без шнурків, різні запобіжні пристосування (окуляри, захисні каски, маски, щитки для електрозварювачів, вачеги для захисту рук). Спецодяг служить для захисту працюючого від несприятливих впливів виробничого середовища і небезпек виробництва [17].

.4 Пожежна профілактика

Прокатне виробництво на рейкобалковому стані зв'язано з обробкою неспалених речовин. Згідно НПБ105-95 [19] цех відноситься до категорії «Г» пожежної небезпеки, тому що виробництво зв'язане з обробкою неспалених речовин і матеріалів у гарячому і розпеченому стані, процес обробки яких супроводжується виділенням променистої теплоти, іскор і полум'я. Ступінь вогнестійкості споруд цеху згідно СНіП 2.09.02-85 [20].

Основними факторами пожежної небезпеки в цеху є мережа кабельного господарства, велика кількість електроустаткування, наявність мережі олійних трубопроводів, застосування пальних газів у печі.

У цеху маються евакуаційні виходи для швидкої евакуації людей. У будинку цеху маються 5 воріт і 5 дверей, що досить з розрахунку - 50 осіб на вихід.

До первинних засобів пожежогасіння відносяться: вогнегасники, пожежний інвентар (покривала з теплоізоляційної непальної полотнини, грубошерстої тканини чи повсті; шухляди з піском; бочки з водою; пожежні відра; совкові лопати) і пожежний інструмент (багри, ломи, сокири, лопати і т.д.). Відповідно до діючих норм [21], для виявлення займання в олійних підвалах передбачена станція автоматичної пожежної сигналізації з тепловими датчиками.

З метою попередження пожежі проектом передбачаються наступні профілактичні заходи: вчасно проводити профілактичні огляди устаткування, апаратури й електромережі, своєчасне усунення всіх порушень, передбачити закриття мережі маслопроводів, електродвигуни, світильники, проводку очищати від пилу не рідше чотирьох разів на місяць, пожежні крани не рідше, ніж кожні сім місяців, піддавати технічному обслуговуванню. Цех відноситься до 3-й категорії захисту від блискавки [22]. Пропоновані рішення не вимагають додаткових засобів первинного пожежогасіння. У таблиці 3.4 наведено перелік необхідних первинних засобів пожежогасіння для прокатного цеху.

Пожежний щит (стенд) повинний мати: вогнегасник - 3 шт.; шухляда з піском - 1 шт.; покривало 2×2 м - 1 шт.; багри - 3 шт.; лопати - 2 шт.; ломи - 2 шт.; сокири - 2 шт. Для доступу на дах будинку використаються пожежні драбини, закріплені на стінках. Системи автоматичного гасіння пожежі та сигналізації діючими нормативами не передбачаються.

Таблиця 3.4 - Перелік необхідних первинних засобів пожежегасіння ПЦ-1

Найменування приміщення

Один. виміру, м2

Пінні вогнегасники ОВП

Вуглекислотні вогнегасники

Ящики з піском 0,5м3 із лопатами




ОУ-2

ОУ-5 чи ОУ-8

УП-1м, УП-2м


виробниче приміщення

2200

2

-

1

-

1

машинна зала

600

1

2

1

3

1

пости керування

-

-

-

1

3

1

електромостовий кран (на кабіну)

-

1

-

1

-

-

вентиляційна установка (3 уст.)

-

1

1

-

-

-


Висновки

. Виконано аналіз роботи устаткування і технологічного процесу виробництва прокатної продукції на рейкобалковому стані 800 заводу імені Петровського.

. Розроблено технологію виробництва круглого прокату діаметром 90 мм, виконаний розрахунок режиму деформації, калібровки валків, енергосилових параметрів та середньогодинної продуктивності стану.

. Розрахунок прокатного валка робочої кліті стану 800 показав, що запропоновані режими деформації не виходять за межі припустимих і устаткування відповідної кліті не буде виходити з ладу.

. У розділі «Охорона праці» проведений аналіз шкідливого впливу умов технологічного процесу на працівників та розглянуто заходи по попередженню нещасних випадків на виробництві.

Перелік посилань

1.    Краткое описание завода - Днепропетровск, 1995. - 37 с.

2.      Технологическая инструкция по производству блюмсов, заготовки и фасонных профилей в прокатном цехе №1: ТИ-233-П.03.С-19-2006; Утв. директором техническим 08.08.2005; Срок действия с 01.01.2006 по 01.01.2011 / ОАО «ДМЗ им. Петровского». - Днепропетровск, 2006. - 258с.

.        ДСТУ 2651:2005/ГОСТ 380-2005 / Сталь вуглецева звичайної якості. Марки. Чинний від 2006-11-01. - К.: Держспоживстандарт України, 2006. - 8 с.

4.      ТУ У 27.1-31632138-1386:2011. Прокат сталевий гарячекатаний круглий для помольних тіл. Технічні умови. Чинні від 2011-09-06. - Д.: 2011. - 17с.

.        Грудев А.П. Технология прокатного производства: учебник для вузов / А.П. Грудев, Л.Ф. Машкин, М.И. Ханин - М.: «Арт-Бизнес-Центр», Металлургия, 1994. - 656 с.

.        Грудев А.П. Теория прокатки: учебник для вузов / А.П. Грудев - М.: Металлургия, 1988. - 240 с.

.        Гончаров Ю.В. Расчеты по механическому оборудованию прокатных цехов: учебное пособие по курсу «Механическое оборудование прокатных цехов» для студентов специальности «Обработка металлов давлением» / Ю.В. Гончаров; отв. за выпуск М.И. Ханин; ДМетИ. - Днепропетровск, 1973. - 87 с.

8.      Конституція України. Вісник Верховної Ради, № 4, 1998 р.

.        Законодательство Украины об охране труда (в 4-х томах). - Киев, 1995.

.        ГОСТ 12.2.002-75 / Система стандартов безопасности труда. Процессы производственные. Общие правила безопасности. Введен с 1975-07-17. - М.: Изд-во стандартов 1975. - 6 с.

.        ГОСТ 12.1.005-88 / Система стандартов безопасности труда. Воздух рабочей зоны. Общие санитарно-гигиенические требования. - Введен с 1989-01-01. - М.: Издательство стандартов, 1988. - 75 с.

.        ГОСТ 12.1.007-76 / Система стандартов безопасности труда. Вредные вещества. Классификация и общие требования безопасности. Введен с 1977-01-01. - М.: Изд-во стандартов, 1976. - 5 с.

.        СанПиН 2.2.4.548-96. Гигиенические требования к микроклимату производственных помещений

.        ГОСТ 12.1.003-83 / Система стандартов безопасности труда. Шум. Общие требования безопасности. Введен с 1983-07-01. - М.: Изд-во стандартов, 1983. - 10 с.

.        Правила устройства электроустановок (ПУЭ).Х.: Изд-во «Форт»,2009.- 709с.

.        ДБН В.2.5-28-2006 / Інженерне обладнання будинків і споруд. Природне в штучне освітлення. - Чинні з 2006-10-01. - К.: Мінбуд України, 2006 - 77 с.

.        Типовые отраслевые нормы бесплатной выдачи рабочим и служащим специальной одежды, специальной обуви и других средств индивидуальной защиты. Часть 1,2, М.: Профиздат, 1988 г.

.        СНиП 2.09.04-87. Административные и бытовые здания. М.: Стройиздат. - 2000, 15 с.

.        НПБ105-95. Общесоюзные нормы технологического проектирования.

.        СНиП 2.09.02. - 85 Производственные здания. М.: Стройиздат, 1987, 24 с.

.        ППБО-136-86 Правила пожарной безопасности для предприятий черной металлургии

.        Инструкция по проектированию и устройству молниезащиты зданий и сооружений (СН 205-77) М.: Стройиздат, 1978, 35 с.

Додаток А

Формат

Зона

Поз.

Позначення

Найменування

Кіл.

Примітка

 





Документація



 





Складальне креслення



 

А1



6.05040104.092716.01.СК

Кліть заготовочна

1


 





Складальні одиниці



 



1


Станина ліва

1


 



2


Станина права

1


 



3


Натискний пристрій

1


 



4


Подушка верхня

2


 



5


Подушка нижня

2


 



6


Установка накладок

1


 



7


Гвинт

2


 



8


Підставка

2


 



9


Гайка

2


 



10


Стяжка

4


 



11


Пробка

2


 



12


Болт М24х60

12


 



13


Планка притискна

4


 



14


Пружина

4


 



15


Гайка М42

8


 



16


Болт

8


 



17


Клин

8


 



18


Гайка М90

8


 



19


Шайба

8


 






6.05040104.092716.02.СК

 







 

Зм..

Арк

№ докум

Підп.

Дата


 

Розроб.

Шевченко Д.М.



Стан 800 Кліть заготовочна

Літер.

Лист

Листів

 

Керівн.

Краєв М.В.







1

1






МОН України НМетАУ каф. ОМТ гр. МЕ 907-09-2т

 

Н.кон.

Кузьміна О.М.





 

Затв.

Фролов Я.В.





 


Похожие работы на - Технологія виробництва прокату діаметром 90 мм на рейкобалковому стані 800 ПАТ 'ЄВРАЗ-ДМЗ ім. Петровського'

 

Не нашли материал для своей работы?
Поможем написать уникальную работу
Без плагиата!
Без нейросетей!