Технологічний процес зміцнювальної наплавки муфтового кінця бурильної труби
Зміст
бурильний амбразивний
зношування наплавлення
Вступ
.
Призначення і аналіз умов роботи бурильної колони
.1
Призначення та складові елементи бурильної колони
.2
Умови роботи бурильної колони
.3
Причини і характер руйнування бурильної колони. Характеристика умов
експлуатації замків бурильних труб
.4
Механізм абразивного зношування замків бурильних труб
.5
Втомне руйнування
.6
Вплив бурового розчину
.
Аналіз можливих методів зміцнення замків бурильних труб
.
Технологічний процес зміцнювального наплавлення муфтового кінця бурильної труби
.
Експлуатація бурильних труб з приварними замками, наплавленими зносостійкими
поясками
Висновок
Перелік
використаних джерел
Вступ
Основною причиною виходу з ладу
нафтогазопромислового обладнання являється абразивне зношування. Абразивний
знос деталей і обладнання являється менш контрольованим у порівнянні,
наприклад, зі зносом спряжених деталей при граничному терті, де введення
спеціальних масел та присадок, або реалізація вибіркового переносу, дозволяє
значно підвищити довговічність деталі. Конструктивна доробка деталей, працюючих
в умовах абразивного зношування, в плані підвищення зносостійкості і
довговічності, не рідко пов’язана зі збільшенням матеріалоємності і майже
вичерпана.
Можливі два шляхи отримання більш
надійних і довговічних комплектуючих виробів: виготовлення більш
відповідальніших деталей із зносостійкого сплаву або нанесення твердосплавних
покрить на поверхню деталей в місцях найбільшого зносу. Другий шлях більш
перспективніший, так як дозволяє основну частину деталі виготовляти з недорогих
сталей. Тому розробка методів поверхневого зміцнення, що володіють високою
технологічністю, являється найважливішою задачею в проблемі підвищення
надійності і довговічності різних видів обладнання.
1. Призначення і аналіз умов роботи
бурильної колони
.1 Призначення та
складові елементи бурильної колони
Бурильна колона -
це зв'язувальна ланка між буровим обладнанням, розміщеним на поверхні, і
породоруйнуючим інструментом.
Бурильна колона
призначена для:
1.
передачі обертання від ротора до
долота;
2.
сприйняття реактивного моменту
вибійного двигуна;
3.
підводу до вибою промивальної
рідини;
4.
створення осьового навантаження на
долото;
5.
підйому і спуску долота і вибійного
двигуна;
6.
монтажу окремих секцій струмопідводу
при бурінні електробуром;
7.
проведення допоміжних робіт
(проробка, розширення і промивання свердловини, дослідження пластів, ловильні
роботи тощо).
Бурильна колона
складається з ведучої труби, бурильних труб, обважнених бурильних труб, замків,
перевідників і з'єднуючих муфт.
1.2 Умови роботи
бурильної колони
При роторному
способі бурильна колона передає обертання від ротора до долота і знаходиться в
складному напруженому стані. При цьому на бурильну колону діють:
1.
осьова сила розтягу від дії сил власної ваги і перепаду тиску на долоті, яка
максимальна у верхньому перерізі;
2.
осьова сила стиску, яка виникає від осьового навантаження в нижньому перерізі;
3.
крутний момент, який призводить до появи в бурильній колоні дотичних напружень,
максимальні значення якого у верхньому перерізі;
4.
знакозмінні напруження, які виникають від обертання зігнутої колони і
викликають втому з'єднань елементів бурильної колони;
5.
напруження, що виникають від поперечного і поздовж нього згину бурильної
колони;
6.
динамічні навантаження, які виникають у процесі роботи долота на вибої;
7.
інерційні навантаження, які виникають при спуско-підіймальних операцій та інше.
При бурінні з
вибійними двигунами умови роботи бурильної колони суттєво відрізняються від
описаних вище. Це зумовлено в основному тим, що колона бурильних труб не
обертається. Тому на бурильну колону діють розтягуючі і стискуючі навантаження,
обумовлені вагою колони і вибійного двигуна, перепадом тиску на долоті та у
вибійному двигуні і реакцією вибою від осьового навантаження на долото.
Реактивний момент
вибійного двигуна та згинаючі навантаження, що виникають у нижній частині
бурильної колони при втраті нею поздовжньої стійкості, незначні і в практичних
розрахунках не-враховуються.
Таким чином, при
роторному способі буріння умови роботи бурильної колони складніші і тому
імовірність аварій з бурильною колоною при роторному бурінні значно вища.
1.3 Причини і
характер руйнування бурильної колони. Характеристика умов експлуатації замків
бурильних труб
Аварії з бурильною
колоною - явище досить часте в бурінні свердловин. Характерна їх особливість в
тому, що вони відбуваються раптово і порушують технологію і режим проводки
свердловин. Аварійний стан наступає як в період буріння (під час
безпосереднього поглиблення або розширення свердловини), так і при
спуско-підйомних операціях. Особливо важкими є аварії, пов'язані з порушенням
цілісності колони при підйомі її з свердловини. Тяжкість аварії залежить від
глибини польоту частини колони, що обірвалася.
Більш легкими
вважаються аварії, викликані поломками деталей бурильної колони в процесі
поглиблення свердловин. Бурильна колона безпосередньо спирається на забій і при
порушеннях цілісності падіння і надмірних деформацій труб не відбувається. При
достатній кваліфікації бурової бригади вдається швидко приєднати труби, що
залишилися, за допомогою мітчика або дзвону і підняти їх на поверхню. При такій
аварії зламана деталь бракується. Решта труб після гідравлічного пресування на
буровій і ультразвуковій дефектоскопії може працювати далі.
Тяжкість аварії
зростає із-за прилипання частини колони, що обірвалася, до стінок свердловини у
зв'язку з припиненням циркуляції бурового розчину. Це явище в практиці буріння
одержало назву прихвату. Вірогідність прихвату зростає із збільшенням часу
нерухомості цієї частини бурильної колони.
Аналіз аварійності
в бурінні показує, що близько 60% всіх аварій пов'язане з руйнуваннями
бурильної колони. Хоча за останні роки значно підвищився рівень ремонту і
експлуатації труб, загальна кількість аварій з бурильною колоною знижується
повільно. Очевидно це пов'язано з щорічним зростанням глибин буріння свердловин
і відповідним збільшенням статичних і динамічних навантажень.
Всі аварії з
бурильними трубами залежно від причин, що їх викликали можна підрозділити на
дві групи: аварії, пов'язані з абразивним зносом труб, і аварії через
руйнування деталей бурильної колони.
Замки бурильних
труб призначені для згвинчування колони бурильних труб. У міру поглиблення
долота в породу, колону бурильних труб нарощують шляхом того, що нагвинчують
чергову свічку. Для заміни зношеного долота необхідно підняти колону і
розібрати її. Ці операції супроводжуються багатократним згвинчуванням і
розгвинчуванням різьбових з'єднань замків бурильних труб. При цьому замкові різьблення
у присутності глинистого розчину піддається складному комплексному зношуванню,
пластичній деформації, а інколи руйнується.
Основна схема
зношування - ковзання двох металевих поверхонь, на які потрапляють тверді
частки породи, що захоплюються із забою свердловини промивальною рідиною.
Багатократне згвинчування і розгвинчування супроводиться тертям різьбових
з'єднань труби і муфти при значній силовій дії у присутності рідини, що містить
абразив. У зв'язку з цим на поверхнях тертя різьбових з'єднань замків
відбувається зношування одночасно декількох видів, що значно ускладнює
виявлення провідного вигляду зношування, визначення критерію оцінки
зносостійкості матеріалів замків бурильних труб і пошук шляхів підвищення їх
зносостійкості і довговічності.
Систематизація
результатів спостережень і аналіз поверхонь тертя замків бурильних труб
дозволяють в числі основних причин відмов цих різьбових з'єднань рахувати
зношування, ускладнене специфічною схемою навантаження і присутністю на
поверхнях тертя рідини і твердих абразивних часток. Зміна умов роботи різьбових
з'єднань замків бурильних труб відбивається на характері зношування і зрештою
на терміні служби цих деталей.
Присутність
абразиву в зоні тертя зумовлює можливість абразивного зношування, а високий
контактний тиск - поява задирів і схоплювання з подальшим розривом точкових
зв'язків при розгвинчуванні і формуванням специфічного макрорельєфу на
взаємодіючих поверхнях. Схоплювання при високому рівні силової дії може
досягати таких розмірів, що розгвинчування різьбового з'єднання стає
неможливим.
Досить поширена
причина скорочення часу роботи замків бурильних труб - місцеве зношування, або
так званий "розмив" замкових різьб в результаті виходу промивальної
рідини, що містить абразив, через зазори різьбового з'єднання, причому розмив
може бути орієнтований або по твірній конуса, або по гвинтовій лінії.
Зношування
різьблення наводить до зміни її первинного профілю, а це у свою чергу змінює
характер взаємодії поверхонь тертя і силову дію, що обумовлює розвиток зношування,
зокрема питому роботу тертя і коефіцієнт тертя. Знос різьбового з'єднання і
пов'язана з цим зміна профілю різьблення кратно підвищують питому роботу тертя
і зрештою викликають заїдання і схоплювання різьбового з'єднання при
згвинчуванні.
Разом із
зношуванням різьбових з'єднань замків бурильних труб відбувається викришування,
якому передує розвиток втомних тріщин. Крім того, необхідно враховувати, що
зношування замків бурильних труб відбувається по зовнішніх і внутрішніх
поверхнях при терті замків об стінку свердловини і під впливом потоку
промивальної рідини, що містить тверді абразивні частинки.
Спрацювання
зовнішньої поверхні бурильного замка може бути рівномірним по колу або
одностороннє, а по твірній - замок має бочкоподібну форму, тобто значення
спрацювання у торців замка вища, ніж у замковій різьбі.
Поверхня
спрацьованих замків бурильних труб має вигляд шліфованої поверхні з наявністю
подряпин: борозд, глибиною до 0,1-0,2 мм. при ширині 0,3-1,2 мм. в основному і
радіальному напруженнях.
У відповідності з
умовами роботи, замок піддається наступним видам спрацювання: абразивне
спрацювання закріпленим абразивом, абразивне спрацювання переміщаючими
абразивними частинками, спрацювання пари тертя "метал замка - метал
обсадної колони" в присутності абразивних частинок і бурового розчину,
гідроабразивне спрацювання потоком промивальної рідини.
Вибір зносостійких
сталей для виготовлення замків бурильних труб ускладнений необхідністю
поєднання комплексу високих механічних властивостей, що одночасно забезпечують
високий опір зношуванню різних видів, виключають поломку і зім'яття. Ці вимоги
можуть бути задоволені при порівняно високих міцнісних характеристик сталі.
Вибір сталі 40ХН для виготовлення замків бурильних труб не можна вважати
найкращим. На особливу увагу заслуговує режим термічної обробки замків
бурильних труб.
Експериментальні
дані про зв'язок зносостійкості з іншими механічними характеристиками сталі
показують, що для збільшення зносостійкості в умовах тертя ковзання по абразиву
і металу необхідно підвищувати показники твердості і міцності до такого рівня,
при якому можна виключити руйнування, пов'язані з втомою або крихкістю.
Якщо за умовами
роботи не виявлятиметься руйнування, режим термічної обробки або метод
поверхневого зміцнення слід призначати таким, аби забезпечити максимальне
використання міцнісних характеристик сталі, оскільки при розглянутих видах
зношування вищим характеристикам міцності відповідає вища зносостійкість.
Необхідно
відзначити, що абразивне зношування устаткування і інструменту вельми поширене,
а умови його прояву всілякі. Окрім розглянутих, абразивному зношуванню
піддаються деталі багаточисельного бурильного устаткування: турбобурів,
роторів, лебідок, вертлюгів, бурових насосів і ін.
При всій
відмінності машин і умов їх роботи, при яких виявляється абразивне зношування,
ознаки, механізм, основні закономірності і критерії зносостійкості будуть
однакові, якщо цей вид зношування є таким, що переважає. Отже, при різних
конструктивних особливостях, що впливають на характер навантаження і роботу
деталей, схильних до дії абразиву, в характері їх зношування виявлятиметься
певна спільність. Ця спільність обумовлена механізмом абразивного зношування,
формуванням продуктів зношування в умовах мікроріжучої або багато разів
деформуючої дії твердої абразивної частки на поверхню тертя [2].
.4 Механізм
абразивного зношування замків бурильних труб
У механізмі
зовнішньої дії твердої абразивної частки на поверхню зношування при ковзанні
можна виділити два етапи (Рисунок 1.3, а і б).
Перший етап
характеризується дією абразивної частки на поверхню зношування і завершується
її впровадженням в метал поверхневого шару, при цьому твердість і міцність
абразивної частки мають бути вищою за твердість металу зношуваної поверхні. На
другому етапі абразивна частка, упровадившись в метал на певну глибину,
здійснює поступальне переміщення по поверхні зношування, здійснюючи при цьому
складне полідеформаційне руйнування шляхом пластичної деформації, мікрорізання,
пружного відтиснення і т, д.
Кінець кінцем особливості
цієї взаємодії і зумовлюють природу, механізм зношування поверхневого шару
металу в зоні стирання.
При абразивному
зношуванні статичне вантаження ускладнене динамічним характером додатка питомих
контактних навантажень із змінною інтенсивністю.
Зовнішня дія
одиничної абразивної частки на поверхню зношування неминуче супроводжується її
деформацією і подальшим формуванням осередків руйнування з відділенням часток
зносу.

Залежно від
поєднання різних чинників деформація може бути пружною або пластичною.
Абразивне
зношування характеризується безперервним, а у ряді випадків і значним зніманням
металу з поверхні тертя, тому з врахуванням кінцевих результатів дії абразивної
частки слід мати на увазі головним чином пластичну деформацію.
Якщо розглядати рух
абразивної частки у вигляді індентора з можливістю мікроріжучої дії на поверхню
зношування, то в його околиці можна передбачити дві зони: зону стискування і
зону розтягування; в межах цих зон діє напруження зім'яття, відриву і зрушення
(зрізу).
Розвиток цих
процесів поступово переходить в кінцеву фазу-зону формування і відділення продуктів
зношування.
У свою чергу форма
часток зносу залежатиме від властивостей структури металу: це стружковидні
частки, частки викришування і частинки у вигляді об'ємів металу, що утворилися
при процесах переміщення.
Всі ці варіанти
формування часток зносу можуть завершуватися на останній стадії окремо або
спільно, враховуючи виняткову складність природи їх розвитку в умовах тертя
ковзання.
Необхідно особливо
відзначити роль розмірів, форми і геометрії абразивної частки і її окремих
поверхонь, які в умовах тертя ковзання взаємодіють з металом.
Абразивні частки
мають, як правило, складну форму. На поверхні однієї абразивної частки можуть
бути ділянки з різними можливостями і характером дії на зношувану поверхню. Це
ускладнює механізм деформації в зоні руху абразивної частки по поверхні тертя.
Спроби
розрахунковими методами оцінити міру пластичної деформації на контакті мають
декілька різних підходів, але користуватися ними на інженерному рівні складно,
а головне, вони не забезпечують тієї достовірності, яку можна брати за основу
при розрахунку зносостійкості машин і інструменту.
В той же час
можливість розвитку деформаційних процесів на контакті при абразивному
зношуванні не підлягає сумніву [3].
.5 Втомне
руйнування
Нерідко
зустрічаються поломки, викликані концентраторами напружень. Підрізи при
механічній обробці, щербини від ударів по зовнішній поверхні і навіть подряпини
приводять до втомного руйнування деталей бурильної колони при постійній
корозійній дії бурового розчину і циклічних напружень. Але найчастіше поломки
труб відбуваються унаслідок циклічного перенавантаження, тобто коли діючі
змінні напруження перевищують межу корозійної втоми деталей.
Всі
корозійно-втомні поломки бурильних колон можна розділити на три основні групи:
руйнування труб по дрібній (трубній) різьбі, руйнування замкових різьбових
з'єднань і поломки по гладкій частині замків.
В результаті втоми
ресурс працездатності замка значно скорочується. Інтенсивність процесів втоми
головним чином залежить від вигляду величин діючих напружень, конструктивних
особливостей замків і корозійної агресивності середовища, в якому вони
працюють.
.6 Вплив бурового
розчину
При бурінні
свердловин застосовуються бурильні розчини. Для регулювання властивостей
бурових розчинів використовують численні добавки. Всі хімічні реагенти, що
застосовуються для обробки глинистих розчинів, можна розділити за способом дії
на міцність і корозійну стійкість підземного бурового обладнання на дві групи -
електроліти і поверхнево активні речовини.
Всі поширені
електроліти у водних розчинах впливають на електрохімічну корозію металів
підземного бурового обладнання. Найбільш сильну корозію слід очікувати в
присутності розчинів сполук хлору, які інтенсифікують окисні процеси заліза.
Поверхнево активні
речовини адсорбуючись на ділянках поверхні твердих тіл, знижують поверхневу
енергію деформування, особливо при дефектах поверхні типу мікротріщин,
надривів, піттингу, викликають пониження твердості тіла і сприяють його
руйнуванню.
Отже, можна вказати
найбільш небезпечні елементи, що містяться в звичайних бурових розчинах. Це
перш за все розчинені у воді гази (кисень, водень і ін.), а також депасиватори
окисних плівок - аніони хлору. Наявність в розчині поверхнево-активних речовин,
вищих жирних спиртів і інших також призводить до істотного зниження
корозійно-втомної міцності деталей бурильної колони [4].
2. Аналіз можливих методів зміцнення
замків бурильних труб
Зносостійке наплавлення під шаром
флюсу.
Найбільш прискорений для
зносостійкого наплавлення замків бурильних труб, який дозволяє нарощувати
великі шари матеріалу з низькими витратами. Для захисту від окиснення
розплавленого матеріалу шва в зварювальну дугу подається флюс, який
розплавляючись розкислює метал шва і захищає його від корозії. Електрична дуга
горить під шаром флюсу в газовому захисному просторі, який виділяється парами
та газами в зоні дуги. Даний спосіб є досить продуктивним, легко
автоматизується, потребує незначних витрат, легко піддається наладці.
До недоліків можна віднести відносно
поганий захист від окислення матеріалу шва і неможливості візуального контролю
якості наплавки в процесі роботи, а також неможливість зварювання швів складної
конфігурації.
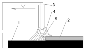
Рисунок 1.4 - Схема зносостійкого
наплавлення під шаром флюсу: 1-деталь; 2-плавкий електрод; 3-електрична дуга;
4-флюс; 5-шлак;
Зносостійке наплавлення в середовищі
захисного газу.
Цей метод аналогічний до
попереднього, але менше забруднює матеріал шва продуктами розкислення, а також
дозволяє проводити візуальне спостереження за процесом наплавлення.
Для реалізації цього методу
необхідне використання спеціальних наплавлювальних головок, які дозволяють
подавати захисний газ в зону горіння дуги. В якості захисних газів
використовуються інертні гази і вуглекислий газ.
Рисунок 1.5 - Схема зносостійкого
наплавлення в середовищі захисних газів: 1 - деталь; 2 - наплавлений шар; 3 -
присадковий матеріал; 4 - газовий захист; 5 - електрична дуга.
Недоліком даного методу є його
висока собівартість відновлення деталей, за рахунок використання захисних
газів, а також складність виведення обладнання на робочі режими.
Зносостійке наплавлення порошковою
самозахисною стрічкою.
Цей метод поєднує в собі переваги
всіх попередніх методів. Тобто наплавлення ведеться відкритою дугою , що
дозволяє змінювати режими наплавлення в процесі наплавлення. Це дозволяє
отримати більш якісний поверхневий шар. Матеріал шва захищає від окиснення
флюсом, який міститься в порошковій стрічці. Крім того в стрічці міститься
основний легуючий матеріал.
Технологія отримання порошкової
стрічки досить проста і не потребує значних капіталовкладень, а отже її
вартість істотно не впливає на собівартість виробу. Екологія досягається за
рахунок меншої витрати флюсу і присадного матеріалу.
Рисунок 1.6 - Схема зносостійкого
наплавлення порошковою стрічкою: 1 - порошкова стрічка; 2 - мундштук; 3 - ванна
розплавленого металу; 4 - деталь; 5 - подаючі ролики; 6 - шлакова кірка; 7 -
наплавлений метал.
Цей метод дозволяє легко
автоматизувати процес наплавлення і проводити його в декілька шарів. При
багатошаровому наплавленні, можна отримати шари значної товщини. Забезпечуючи
хороше зчеплення наплавленого шару з основним матеріалом.
Для живлення електричної дуги застосовують
зварювальні випрямляючі або генератори постійного струму. Це дозволяє отримати
шари більш високої якості.
Зносостійке плазмове наплавлення.
Цей метод є найбільш ефективний, але
й найбільш невигідним з економічної точки зору.
При зносостійкому плазмовому
наплавленні, завдяки наявності дуги прямої полярності, на поверхні утворюється
ванночка розплавленого металу, після кристалізації якого утворюється щільний
міцно сплавлений з основним металом шар. В порівнянні з ручним електродуговим
наплавленням, плазмове наплавка забезпечує більш високу продуктивність і
корінне покращення якості металу наплавленої поверхні.
Рисунок 1.7 - Схема зносостійкого
плазмового наплавлення з вдуванням порошку в дугу: 1 - введення плазмоутворюючого
газу; 2 - вольфрамовий електрод; 3 - стабілізуюче сопло; 4 - введення
транспортуючого газу з присадковим порошком; 5 - фокусуючи сопло; 6 - введення
захисного газу; 7 - захисне сопло; 8 - газова лінза; 9 - деталь, яка
наплавляється; 10 - джерело живлення дуги прямої полярності; 11 - джерело
живлення дуги; 12 - баластні реостати.
3. Технологічний процес
зміцнювального наплавлення муфтового кінця бурильної труби
Технологічний процес зміцнювального
наплавлення муфтового кінця бурильної труби складається з таких основних
операцій:
Контрольна
Вхідний контроль наплавочних
матеріалів (при отриманні нової партії наплавочних матеріалів).
При наявності слідів порушення
герметизації упаковки наплавочних матеріалів, перед наплавкою просушити їх в
сушильній вакуумній шафі СНВС 4.5 на протязі 6 годин при температурі 100-120°С.
Наплавочна
Для наплавлення використовується
джерело живлення ВДУ-506. Виконується за допомогою наплавочної головки УМП3
порошковою самозахисною стрічкою СП-ТБ-2-6 типу 230Т5Р4Х3ГС та двома
порошковими дротами ПП-Нп-50Х3СТ, трубонарізного верстату 1Н983 в шпинделі
якого кріпиться труба біля муфти і радіальних роликів, на яких опирається
ніпельна частина труби.
Проводиться наплавка трьох поясків,
з перекриттям шва 5-10 мм.
Режими зварювання:
- зварювальний струм - 300-340 А;
- напруга на дузі - 25-30 В;
площа поперечного перерізу
порошкової стрічки - 24 мм2.
діаметр порошкових дротів -
3,0 мм.
Шліфувальна
Виконується за допомогою
стаціонарного шліфувального приспосіблення шліфувальним кругом моделі 14A
200x16x32 Vкр = 40-50 м/с
Дана технологічна операція
призначена для шліфування зони перекриття швів.
Зняття невеликих напливів (бризг),
на бокових поверхнях замка, проводимо з допомогою пневмошліфмашини ИП-2020
шліфувальним кругом моделі 63С 63Ч20Ч20 Vкр = 40-50 м/с
Контрольна
Кінцевий контроль здійснюють після
наплавки, виявляючи зовнішні і внутрішні дефекти наплавленого шару. Зовнішні
дефекти типу, підрізів, шлакових включень, раковин і непроварів визначають
візуально.
Для визначення внутрішніх дефектів
використовують ультразвукову дефектоскопію ультразвуковим дефектоскоп USM GO
Для контролю наплавленого шару
заміряють його твердість на окремо наплавлених зразках твердоміром DynaPocket.
Твердість повинна бути в границях НV 800-850.
Дану операцію виконує представник
випробувальної лабораторії неруйнівного контролю підприємства.
4. Експлуатація бурильних труб з
приварними замками, наплавленими зносостійкими поясками
Підготовка до експлуатації.
При підготовці замка до експлуатації
необхідно:
) видалити запобіжні деталі;
) очистити різьбу;
) змастити різьбу.
З метою підвищення довговічності і
попередження заїдання різьби необхідно проводити проробку різьб нових замків
шляхом трьох-п’ятикратного згвинчування-розгвинчування з малою частотою
обертання (2-4 об/хв), поперемінно наносячи нову змазку.
При підготовці до експлуатації нових
замків вибірково провіряють параметри замкової різьби: 2-3% від отриманої
партії.
Порядок експлуатації.
З метою рівномірного зносу замкових
різьб необхідно періодично, через кожні десять-двадцять довбань піднімати
інструмент і розгвинчувати свічки по середніх з’єднаннях.
Під час роботи необхідно уникати
ударів різьби ніпеля замка об ротор і інші металічні предмети.
Забороняється:
) при згвинчування замка
заштовхувати ніпель в муфту;
) обертати бурильну свічку після
виходу різьби зі спряження, а також звільняти ніпель із муфти до повного із
роз’єднання;
Під час експлуатації замків (з
трубами) на буровій ведуть облік їх роботи записом в паспорті комплекту.
Перевірка технічного стану.
В терміни, встановлені проектом
проводки свердловини або графіками профілактичних робіт на бурових необхідно:
) заміряти діаметр зовнішньої
поверхні замків;
) визначити знос замкових з’єднань
шляхом заміру числа обертів ніпеля до повного закріплення різьбового з'єднання
або відстані між торцем ніпеля і муфти в момент початку згвинчування.
Стан замків оцінюється по трьом
класам. Замок бракується, якщо величина зносу або дефекту перевищує значення,
допустиме для ІІІ класу.
Класифікацію замків по зносу бокової
поверхні проводять у відповідності до таблиці 2.8.
Таблиця 2.8 - Класифікацію замків по
зносу бокової поверхні
|
Зовнішній діаметр замка при рівномірному зносі
по класам, мм, не менше
|
Зовнішній діаметр замка при нерівномірному
зносі по класам, мм, не менше
|
|
І
|
ІІ
|
ІІІ
|
І
|
ІІ
|
ІІІ
|
|
162
|
157
|
152
|
162
|
158
|
155
|
Критерії переводу замків із класу в
клас в залежності від стану різьби приведені в таблиці 2.9.
Таблиця 2.9 - Критерії переводу
замків із класу в клас в залежності від стану різьби
|
Позначення замкової різьби
|
Число ниток на довжині різьби 25,4 мм
|
Число оборотів при згвинчуванні ніпеля з
муфтою по класам, не менше
|
Відстань між упорним уступом ніпеля і упорним
уступом муфти в момент посадки по класам, не менше
|
|
|
І
|
ІІ
|
ІІІ
|
І
|
ІІ
|
ІІІ
|
|
З-133
|
4
|
5,0
|
4,3
|
3,3
|
31,8
|
27
|
21
|
Замкова різьба бракується у випадку
пошкодження одного і більше витків, а також при виявленні виривів і
викришувань, які можуть призвести до заїдання різьби.
Необхідно контролювати стан опорного
уступу і упорного торця муфти замків. Допускаються вириви і викришування
металу, якщо їх ширина складає не більше 1/3 ширини торця або уступу, а
протяжність - не більше 1/8 довжини кола. При більших пошкодженнях замок
бракується.
Після закінчення буріння на буровій
необхідно промити внутрішню поверхню труби і замків гарячою водою з добавленими
миючими засобами і відправити їх на трубну базу, де необхідно провести
дефектоскопію. Замки з виявленими дефектами повинні бути відбракованими.
Різьба, упорні торці і уступи
приварних замків мають бути покритими змазкою і захищеними від пошкоджень
металічними запобіжними кінцями і ніпелями.
Висновок
На основі аналізу умов роботи,
методів зміцнення та підвищення зносостійкості був розроблений оптимальний
технологічний процес зміцнювальної наплавки муфтового кінця бурильної труби.
Бурова труба - це масивна деталь, в
якій зношується робоча поверхня - муфтова частина. Дану поверхню, згідно
розробленого технологічного процесу необхідно наплавляти із врахуванням
особливостей електродугової багатоелектродної безвольфрамової наплавки,
кільцевими поясками порошковою стрічкою та двома самозахисними порошковими
дротами марки. Дана технологія наплавлення дозволяє отримати наплавлений шар
металу твердістю HRC 62-65, що й ставилось за мету при проведенні зміцнювальних
робіт. В результаті довговічність труби збільшується в 2-2,5 рази.
Перелік використаних джерел
1. Коцкулич
Я.С., Кочкодан Я.М. Буріння нафтових і газових свердловин: Підручник. - Коломия
ВПТ "Вік", - 2009 - 504 с.
. В.Н.
Виноградов, Г.М. Сорокин. Износостойкость сталей и сплавов. М: " Нефть и
газ" 2006. - 417 с.
. В.Н.
Виноградов, Г.М. Сорокин. Абразивное изнашивание. - М.: Машиностроение, 2011. -
224с.
. ГОСТ
26101-84 Проволока порошковая наплавочная Технические условия. 1986 р.
. Замок
приварний з наплавленими зносостійкими поясками для бурильних труб. Інструкція
по експлуатації. 2012 р.
. Иностроительных
заводов и цехов. Справочник под ред. Е.С. Ямпольского. т. 3. М: Машиностроение,
2009.
. ГОСТ
12.3.003-75. Работы электросварочные. Общие требования безопасности. М., 1975.
9 с.