Расчет зажимных механизмов
Министерство
образования и науки Российской Федерации
Федеральное
государственное автономное образовательное учреждение высшего профессионального
образования
«Российский
государственный профессионально-педагогический университет»
Машиностроительный
институт
Кафедра
технологии машиностроения и методики профессионального обучения
контрольнАЯ работА
по дисциплине «Технологическая
оснастка и инструментальное обеспечение автоматизированного производства»
Выполнил: Кротов А.Л.
Екатеринбург
2014
1.
Выбор схемы базирования и расчет требуемых сил зажима заготовки
Расчета силы зажима
Задание: Выберите схему
базирования и рассчитайте требуемую силу зажима заготовки в приспособлении на
операции зенкерования Æ 22Н9 мм. Производство
серийное. Материал заготовки: Сталь 45 ГОСТ 1050-88 sв=700МПа.
Элементы режима резания на
операции:
Подача оборотная S0
= 0,1 мм/об;
Скорость резания V
= 35 м/мин;
Глубина резания t
= 3 мм;
Инструмент - зенкер;
Инструментальный материал -
быстрорежущая сталь марки Р6М5.
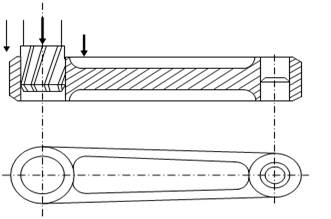
Рисунок 1.1 Эскиз заготовки
детали «Шатун» на операции зенкерования Æ 22Н9
1.1 Анализ
исходных данных и выбор схемы базирования
Выберем полную схему
базирования на три плоскости (рис.1.2). Эта схема позволяет наладить станок на
получение двух размеров, координирующих обрабатываемое отверстие относительно
других поверхностей детали ( на размеры 140 мм и 20 мм см. рис.1.1).Схема
обеспечит получение размеров 20 мм и 140 мм без погрешности базирования. При
этом заготовка базируется на предварительно обработанные поверхности. Зажим
осуществляется в приспособлении на плоскость с центрированием по установочному
пальцу и упором на боковую поверхность.
Рисунок 1.2 Схема базирования
заготовки
.2 Схема резания и направление
сил резания
На схеме резания (рис.1.3)
изображены инструмент, заготовка и движения резания (главное и подачи).
Рисунок 1.3 Схема резания
Со стороны зенкера на заготовку
действует осевая сила Ро и три силы Рz
, образующие момент. Момент силы резания стремиться повернуть шатун вокруг
обрабатываемого отверстия, но установочный палец препятствует провороту. А
осевая сила Ро прижимает заготовку к опоре, т.е. с одной стороны
помогает ее удерживать, а с другой - старается оторвать ее от стола N
= Po.
Направление сил зажима
Направим силу зажима W
на плоскость шатуна ( рис.1.4). Точку приложения силы W
выберем на расстоянии 40 мм от края шатуна.
Рисунок 1.4 Действие сил зажима
Расчет сил и моментов сил
резания
Определим осевую силу Р0
и вращающий момент Мкр по эмпирическим формулам [ 2 с.277] для
зенкерования:
Рo
=
10´Ср´tx´SY´Кр
,Н(1)
Мкр = 10´СМ´
Dq
´
tx
´
SY´Кр,
Нм(2)
где q
,x и y
- показатели степени,
Ср и См -
константы, зависящие от условий резания.
Их численные значения,
выбранные из таблицы [2 с. 279 т.29] для обработки заготовки из стали 45
быстрорежущим зенкером, представлены в таблице 1.2.
Таблица 1.2 - Коэффициенты и
показатели степени в формулах
|
Крутящего
момента
|
Осевой
силы
|
|
См
|
q
|
х
|
y
|
СР
|
х
|
y
|
|
0,09
|
1
|
0,9
|
0,8
|
67
|
1,2
|
0,65
|
Кр в формулах (1) и
(2) - коэффициент, учитывающий фактические условия обработки. При сверлении он
зависит от временного сопротивления sв
материала заготовки [ 2, с.264 , табл.9].
Кр = (sв/750)0,75
Кр = (700/750)
0,75 = 0,95
Подставим эти значения в
формулы (1) и (2)
Рo
=
10 ´
67 ´
31,2 ´ 0,10,65 ´
0,95 = 532,8 Н
Мкр = 10 ´
0,09 ´
241 ´ 30,9´
0,10,8 ´ 0,95 = 8,71 Нм
Расчет коэффициента запаса сил
резания
При расчете сил зажима
заготовки силы и моменты сил резания увеличивают в несколько раз, вводя в
формулы коэффициент запаса К. Это повышает надежность закрепления заготовки.
Коэффициент определяют по формуле [ 2 с.85]:
К = К0´К1´К2´К3´К4´К5´К6(3)
Где К0 - коэффициент
гарантированного запаса, К0 = 1,5.
К1 - коэффициент,
повышающий силы резания при черновой обработке. Примем К1 =1;
К3 - коэффициент,
который учитывает увеличение сил при прерывистом резании К3 = 1;
К4 - характеризует
непостоянство силы закрепления в механизмах с ручным приводом. Примем К4 =
1,3 .
К5 - учитывает
непостоянство силы закрепления при неудобном расположении рукоятки. При
отсутствии рукоятки примем К5 = 1;
К6 - коэффициент,
который отличен от единицы, если на заготовку действуют неучтенные вращающие
моменты. Здесь К6 = 1.
Подставим значения
коэффициентов в формулу (3):
К = 1,5´1,2´1´1,3´1´1´1=
2,34 примем К = 2,5.
Расчет требуемых сил зажима
заготовки
Найдем величину сил зажима из
условия, что заготовка сохраняет неподвижное состояние под действием сил
зажима, резания и реакций опор во время обработки.
Рисунок 1.5 Расчетная схема
Изобразим графическую модель
равновесия заготовки (расчетную схему рис 1.5). Для этого мысленно освободим
заготовку от всех элементов схемы, заменив их действие силами и реакциями
связей.
Поскольку от действия крутящего
момента шатун удерживает установочный палец, то силу зажима будем определять из
условия, что осевая сила Ро = N
не оторвет заготовку от основания. SFiz
= 0
Сила войдёт в это уравнение с
коэффициентом запаса К = 2,5.
Спроектируем все силы,
действующие на заготовку на ось Z:
SFiz
= 0 K∙P0
- W = 0
ОтсюдаW
= K∙P0
= 2,5 ∙ 532,8 = 1332 Н
Заключение. Чтобы обеспечить
неподвижность заготовки на операции, ее нужно зажать с усилием W
= 1332 Н .
2. СИЛОВОЙ РАСЧЕТ
КОМБИНИРОВАВНЫХ ЗАЖИМНЫХ МЕХАНИЗМОВ ПРИСПОСОБЛЕНИЙ С РУЧНЫМ ПРИВОДОМ
Задание: Заготовка корпусной
детали крепится к столу фрезерного станка двумя планками с помощью винтового
зажима. Зажим выполняют, поворачивая гайку с буртиком с помощью гаечного ключа,
длина рукоятки которого (L)
приблизительно составляет 12…15 диаметров резьбы болта (d). Усилие руки
рабочего на рукоятке гаечного ключа составляет Q
= (25...150)Н. Болт имеет резьбу d
= М24. Длины плеч зажимной планки равны L1
= 25 мм и L2
= 40 мм, общее число зацеплений заготовки Z
= 2.
Определить, позволяет ли ручной
зажим закрепить деталь с силой W*
= 20кН
Рисунок 2.1 Схема зажима
заготовки
Последовательность расчета
Для того чтобы решить, можно ли
зажать заготовку с силой W*
= 20 кН с помощью ручного зажима, определим минимально необходимое усилие на
рукоятке Q гаечного ключа и
сравним его с допустимым усилием для ручных зажимов (Q=25…150Н).
2.1 Анализ исходных данных
В схеме данного варианта
использован комбинированный (рис.2.2 в) рычажно-винтовой зажим. Он состоит из
двух элементарных механизмов. Первый - рычажный механизм (рис.2.2 а),
реализован планкой (поз.2, рис.2.1) и ее опорой (поз.4). Второй -
винтовой(рис.2.2 б), включает корпус (поз.4, рис.2.1) и болт (поз.3). Заготовка
установлена на стол станка (поз.1,рис.2.1).

а)Рычажный механизм б)
Винтовой механизм
в) Комбинированный
рычажно-винтовой зажим
Рисунок 2.2 Силы действующие на
комбинированный зажим
Заготовка крепится к столу
двумя планками (Z = 2) с
силой W*, значит усилие
зажима одной планкой составит:
W
= W*/2
Для одной планки W
= W*/2 = 20/2 = 10 кН.
2.2 Силовой расчет рычажного
зажима
Определим силу R,
с которой должна действовать гайка на планку, из условия равновесия планки. Для
этого освободим мысленно планку от детали и винтового зажима и заменим их
действие на планку силами реакцией заготовки W¢
= W = 10000 Н и
усилием винтового зажима R.
На рис.2.3 представлена расчетная схема планки.
Рисунок 2.3 Расчетная схема
планки
Из условия равновесия планки
следует, что сумма моментов сил R
и W¢ относительно оси
опоры планки (точки 0) равна нулю:
SMо(Fi)
= 0
W
´ L2
- R ´
L1
= 0
Решая уравнение относительно
силы R, получим
R
= W´L2/
L1
= 10000´40/25 = 16000 Н.
Таким образом, винтовой зажим
должен обеспечить силу давления на планку (рычаг) равную R
= 16000 Н, чтобы зажимать заготовку с силой W
= 10000Н одной планкой.
2.3 Силовой расчет винтового
зажима
На винт винтового зажима со
стороны планки действует сила R',
равная по модулю и противоположно направленная силе R:
R
= R' = 16000 Н.
С другой стороны на винт
действует момент силы Q
(усилие от руки), приложенной на плече, равном длине рукоятки гаечного ключа L,
то есть M = Q´L.
Зависимость между силами Q
и R для винтового
зажима с подвижной гайкой записывается формулой.
В этой формуле сила винтового зажима
обозначена буквой W, а применительно к данной задаче
(то есть к комбинированному зажиму), букву W в формуле
необходимо заменить на символ «R», поскольку символ «W» уже
использован для обозначения другой силы.
Зная усилие R, можно
определить какой должна быть сила Q , чтобы
обеспечить требуемую силу R:
где rср - средний
радиус резьбы винта, мм; rср = dср/2
dср = 22,057
мм,
rср = 22,057/2
= 11,0285 мм;
a
- угол подъёма резьбы болта М24,
a = arctg
P/ pdср
где Р - шаг резьбы М24 Р=3 мм
a = arctg
3/ 3,14´22,057
= 2°40';
j - угол трения в резьбе, примем
j
= 3°;
Подставим численные значения в
формулу:
В результате получили:
Для того, чтобы зажать заготовку
силой W = 20000 Н
двумя рычажно-винтовыми зажимами данных размеров, необходимо завинчивать винты
с минимальным усилием Q = 48,64 Н на рукоятке гаечного
ключа.
Требуемое усилие не превышает
допустимого усилия Q = 25…150 Н для ручных зажимов, что
удовлетворяет условию задачи.
зажим зенкерование станочный привод
СПИСОК РЕКОМЕНДУЕМОЙ ЛИТЕРАТУРЫ
1. Блюменштейн В.Ю. Клепцов А.А.
Проектирование технологической оснастки. Учеб. для вузов. [Гриф УМО]. М.: Лань,
2011. - 224 с.
. Справочник технолога-машиностроителя. В
2-х т.Т. 2/ Под ред.А.Г. Косиловой и Р.К.Мещерякова.-4-е изд., перераб. И доп.
- М.: Машиностроение, 1986. 496 с.,ил.
. Тарабарин О. И. Абызов А. П. Ступко В.
Б. Проектирование технологической оснастки в машиностроении. - М.: Лань, 2013.
- 304 с.
. Белоусов А.П. Проектирование станочных
приспособлений: Учеб пособ. для машиностроит. техникумов. - 3-е изд., перераб.
и доп. - М.: Высш. шк., 1981. - 240с.
. Коровин А.К. Приспособления для механосборочного
производства: Уч. пособие. - Екатеринбург: Изд-во Урал, гос.
проф.-пед. ун-та, 2001. - 144 с.
. Корсаков В.С. Основы конструирования
приспособлений: Учеб. для вузов. 2-е изд., перераб. и доп. - М.:
Машиностроение, 1983. - 277 с.
. Терликова Т.Ф., Мельников А.С. Основы
конструирования приспособлений: Учеб. пособие для вузов. - М.: Машиностроение,
1990 - 120с.
. Ершова Л.И. Култышева И.А Методические
рекомендации и задания к практическим занятиям по дисциплине «Приспособления
для механосборочного производства». - Екатеринбург: Изд-во Урал. гос.
проф.-пед. ун.-та, 2000. - 25 с.
. Схиртладзе А.Г., Новиков В.Ю. Станочные
приспособления: Учеб. пособие: - М.: Высш. шк. 2006. - 110 с.