Арифметико-логические устройства ЭВМ
Введение
схема вычислительный алгоритм
Электронные вычислительные машины (ЭВМ) являются универсальными
техническими средствами автоматизации вычислительных работ, т.е. они способны
решать любые задачи, связанные с преобразованием информации. Однако подготовка
задач к решению на ЭВМ была и остается до настоящего времени достаточно
трудоемким процессом, требующим от пользователей во многих случаях специальных
знаний и навыков. Арифметико-логическое устройство (АЛУ) выполняет
арифметические и логические операции над числовыми данными. Основной частью АЛУ
является операционный автомат, в состав которого входят сумматоры, счетчики,
регистры, логические преобразователи и др. АЛУ каждый раз перенастраивается на
выполнение очередной операции. Результаты выполнения отдельных операций
сохраняются для последующего использования на одном из регистров АЛУ или
записываются в память.
Данные
могут быть представлены в прямом и обратном кодах. Обратный код - метод
вычислительной математики <#"792099.files/image001.gif">
Рисунок 1 - Структурная схема арифметико-логического устройства
Структурная схема АЛУ и его связь с другими блоками машины показаны в
приложении 1. В состав АЛУ входят регистры Рг1 - Рг7, в которых обрабатывается
информация, поступающая из оперативной или пассивной памяти N1, N2, ...NS; логические
схемы, реализующие обработку слов по микрокомандам, поступающим из устройства
управления.
Закон переработки информации задает микропрограмма, которая записывается
в виде последовательности микрокоманд A1,A2, ..., Аn-1,An. При этом различают
два вида микрокоманд: внешние, то есть такие микрокоманды, которые поступают в
АЛУ от внешних источников и вызывают в нем те или иные преобразования
информации (на рис. 1 микрокоманды A1,A2,..., Аn), и внутренние, которые
генерируются в АЛУ и воздействуют на микропрограммное устройство, изменяя
естественный порядок следования микрокоманд. Например, АЛУ может генерировать
признаки в зависимости от результата вычислений: признак переполнения, признак
отрицательного числа, признак равенства 0 всех разрядов числа др. На рис. 1 эти
микрокоманды обозначены р1, p2,..., рm.
Результаты вычислений из АЛУ передаются по кодовым шинам записи у1, у2,
...,уs, в ОЗУ. Функции регистров, входящих в АЛУ:
· Рг1 - сумматор (или сумматоры) - основной регистр АЛУ, в
котором образуется результат вычислений;
· Рг2, РгЗ - регистры слагаемых, сомножителей, делимого или
делителя (в зависимости от выполняемой операции);
· Рг4 - адресный регистр (или адресные регистры), предназначен
для запоминания (иногда и формирования) адреса операндов и результата;
· Ргб - k индексных регистров, содержимое которых используется
для формирования адресов;
· Рг7 - i вспомогательных регистров, которые по желанию
программиста могут быть аккумуляторами, индексными регистрами или
использоваться для запоминания промежуточных результатов.
Часть операционных регистров является программно-доступной, то есть они
могут быть адресованы в команде для выполнения операций с их содержимым. К ним
относятся: сумматор, индексные регистры, некоторые вспомогательные регистры.
Остальные регистры программно-недоступные, так как они не могут быть
адресованы в программе. Операционные устройства можно классифицировать по виду
обрабатываемой информации, по способу обработки информации и логической
структуре.
АЛУ может оперировать четырьмя типами информационных объектов: булевскими
(1 бит), цифровыми (4 бита), байтными (8 бит) и адресными (16 бит). В АЛУ
выполняется 51 различная операция пересылки или преобразования этих данных. Так
как используется 11 режимов адресации (7 для данных и 4 для адресов), то путем
комбинирования "операция/ режим адресации" базовое число команд 111
расширяется до 255 из 256 возможных при однобайтном коде операции.
. Классификация АЛУ
По способу действия над операндами АЛУ делятся на последовательные и
параллельные. В последовательных АЛУ операнды представляются в последовательном
коде, а операции производятся последовательно во времени над их отдельными
разрядами. В параллельных АЛУ операнды представляются параллельным кодом и
операции совершаются параллельно во времени над всеми разрядами операндов.
По способу представления чисел различают АЛУ:
1. для чисел с фиксированной точкой;
2. для чисел с плавающей точкой;
3. для
десятичных чисел.
По характеру использования элементов и узлов АЛУ делятся на блочные и
многофункциональные. В блочном АЛУ операции над числами с фиксированной и
плавающей точкой, десятичными числами и алфавитно-цифровыми полями выполняются
в отдельных блоках, при этом повышается скорость работы, так как блоки могут
параллельно выполнять соответствующие операции, но значительно возрастают
затраты оборудования. В многофункциональных АЛУ операции для всех форм
представления чисел выполняются одними и теми же схемами, которые коммутируются
нужным образом в зависимости от требуемого режима работы.
По своим функциям АЛУ является операционным блоком, выполняющим
микрооперации, обеспечивающие приём из других устройств (например, памяти)
операндов, их преобразование и выдачу результатов преобразования в другие
устройства. Арифметико-логическое устройство управляется управляющим блоком,
генерирующим управляющие сигналы, инициирующие выполнение в АЛУ определённых
микроопераций. Генерируемая управляющим блоком последовательность сигналов
определяется кодом операции команды и оповещающими сигналами.
3. Средства представления АЛУ
Поскольку ЭВМ в целом и АЛУ можно отнести к классу многоуровневых систем,
их представление может осуществляться на различных уровнях детализации: начиная
от уровня электронных компонентов логических элементов и кончая уровнем всего
устройства в целом. Кроме того, представление АЛУ (ЭВМ) может быть
ориентировано на описание структуры устройства, его функционирования и его
технической реализации. Поэтому для различных целей и уровней представления АЛУ
должны существовать различные средства, формальные и языковые. (Помимо этого,
несколько самостоятельной, но тесно связанной с ними областью являются описания
процессов проектирования цифровых устройств.)
Начало систематической разработки средсгв представления ЗВМ принято
относить к 60м годам, когда стали появляться языки для описания аппаратных
средств ЭВМ. Нетрудно заметить, что появление этих языков последовало за
разработкой языков программирования. Но понятно, что средства представления ЗВМ
существовали и на более ранних периодах развития вычислительной техники и
заимствовались для этой цели как из математических, так и из инженерных
(электротехнических, радиотехнических, связных) дисциплин.
Из математических дисциплин были заимствованы аппарат булевых функций и
алгоритмические представления процессов вычислений. Из инженерных дисциплин
были использованы представления в виде электрических схем, блок-схем.
На первых порах, когда вычислительные машины были относительно просты, а
проектирование их велось исключительно вручную, таких представлений было
достаточно. Однако с усложнением самих ЭВМ, увеличением числа уровней иерархии
в них, развитием методов их проектирования и теоретических разработок
понадобились более пригодные для машинного использования формализованные методы
описания ЭВМ. В результате были созданы различные формальные модели и языковые
средства, ориентированные на различные уровни представления и целевое
назначение. В большинстве случаев эти средства не были узкоспециализированными
и значительная часть из них пригодна для использования на различных уровнях и
для разных целей.
При представлении ЭВМ использую различные языки описания. Эти языки можно
разделить на три группы, соответствующие различным аспектам описания
вычислительных средств: языки структурного описания, языки функционального
описания и языки графического описания.
Языки первой группы описывают, главным образом, соединения между
элементами (узлами) структуры. Достаточно часто сами элементы структуры
рассматриваются при этом как «черные ящики», имеющие входы и выходы. Причем в
развитых языках этой группы обычно заложена возможность многоуровневого
иерархического описания структуры, когда на более высоких уровнях элементами
структуры являются подструктуры, описание которых построено раньше. Примерами
языков этой группы могут служить языки СТРУКТУРА,SDL, HSLи
другие.
Языки функционального описания описывают распространение сигнала, функцию
элемента или блока, алгоритм функционирования, смену состояния. Если
структурные описания отображают статические связи на уровне структуры, то
функциональные описания представляют динамику работы устройств,
последовательность развертывающихся в них процессов. В отличие от языков
структурного описания, легко интегрирующих иерархическую структуру, описание
функционирования на разных уровнях влечет за собой значительные различия в
используемых моделях, а следовательно, и в языках представления.
На наиболее высоком уровне (системном или архитектурном) используется
вероятностное описание взаимодействия различных устройств, например, модели
теории массового обслуживания, сети Петри. Такому уровню соответствуют языки
описания имитационных моделей типа GPSS, СИМСКРИТ, СИМУЛА и другие.
Следующим является уровень программ и машинных команд, которому
соответствуют языки программирования и языки машинных команд.
Еще более низким уровнем функционального описания является уровень
микрооперации и микропрограмм, на котором функционирование описывается в
терминах переходов регистров и триггеров из одного состояния в другое.
Иногда для представления АЛУ и других дискретных устройств используют
языки, позволяющие описывать и структуру и функционирование одновременно,
например язык ДИСТАЛ. Можно составлять такие описания и на алгоритмических
языках тип APL и даже типа Паскаль и Си, однако
такие описания могут быть не наглядными и громоздкими.
Наконец, для описания технической реализации вычислительных устройств
используются графические языки. С помощью этих языков могут описываться маски и
топология интегральных схем, изображаться фотошаблоны для изготовления печатных
плат, задаваться конфигурации радиокомпонентов и микросхем, изображаться
очертания печатных плат, размещение на них элементов, строиться символические
изображения элементов и т. д. Следует учитывать, что собственно графических
языков немного, это, например, языки СIF и SMF. Более частым вариантом является
построение и обработка файлов графических изображений с помощью специальных
программных пакетов или графических программных средств, предусмотренных в той
или иной системе автоматизированного проектирования.
4.Словесное описание алгоритма умножения
В данном курсовом проекте разрабатывается вычислительное устройство для
умножения двоичных чисел, начиная со старших разрядов множителя со сдвигом
частного произведения вправо. Этот метод получил наибольшее применение в ЭВМ,
т.к. позволяет использовать регистры одинарной длины.
Умножение чисел сводится к последовательности сложения и сдвигов. И
произведение вычисляется, как результат суммирования частичных произведений.
Умножение наиболее просто организовывается в прямом коде. В этом случае знак
результата определяется как сумма знаковых разрядов. Далее производится
умножение модулей множитель, и к результату присоединяется знак.
В зависимости от направления продвижения по разрядам множителя выделяют
два способа перемножения: старшими или младшими разрядами вперед. Далее в
зависимости от подвижности множимого после умножения на каждый разряд выделяют
умножение при неподвижном множимом и со сдвигом множимого.
Комбинируя данные способы, можно получить 4 варианта машинной реализации
умножения: младшими разрядами вперед со сдвигом множимого влево, младшими
разрядами вперед при неподвижном множимом, старшими разрядами вперед со сдвигом
множимого вправо, старшими разрядами вперед при неподвижном множимом.
Рассмотрим вариант умножения при неподвижном множимом старшими разрядами
вперед. При этом способе умножения содержимое регистров множителя и суммы
частичных произведений должно сдвигаться вправо после умножения на каждый
очередной разряд множителя, начиная со старшего.
Рисунок 2. - Схема умножения чисел старшими разрядами вперед при
неподвижном множимом.
Если цифра множителя равна единице, то к содержимому регистра суммы
частичных произведений добавляется множимое и производится сдвиг на один разряд
вправо, если нулю - сдвиг регистра суммы частичных произведений. После n циклов в регистре суммы частичных
произведений будет находиться 2n-разрядное
произведение.
Пример умножения старшими разрядами вперед при неподвижном множимом:
x1×x2 = x, где
x1=11012=1310, x2=10112=1110.
|
*
|
1
|
1
|
0
|
1
|
|
|
|
|
|
|
|
1
|
0
|
1
|
1
|
|
1
|
1
|
0
|
1
|
|
|
|
|
|
0
|
0
|
0
|
0
|
|
|
|
+
|
|
|
1
|
1
|
0
|
1
|
|
|
|
|
|
1
|
0
|
1
|
|
1
|
0
|
0
|
0
|
1
|
1
|
1
|
1
|
Таким образом, x=100011112=14310
Варианты со сдвигом множимого более быстродействующие, однако требует
двойной разрядности регистра множимого, что усложняет реализацию. Способы
умножения при неподвижном множимом менее производительны, но проще в
реализации.
.Блок-схема алгоритма выполнения операции
Пусть операнды имеют вид:
где
ПК - прямой код.
Операция
умножения чисел с фиксированной запятой, заданных в прямом коде, со старших
разрядов множителя выполняется по следующей формуле:
Рассмотрим
алгоритм решения задачи. Пусть имеется два числа:
[X]пк=
1101;
[Y]пк=
1011;
Алгоритм
решения задачи имеет вид:
Модули
исходных чисел имеют вид:
|X|
= 1 1 0 1;
|Y|
= 1 0 1 1,
где
y1=1, y2=0, y3=1, y4=1.
Пошаговая
операция вычисление произведения двух чисел в соответствии с приведенной
формулой выглядит следующим образом:
0= 1
01101000
= 0
00000000
= 1
00011010
= 1
00001101
|Z|
= |Z| + |X|•2
Алгоритм
вычислений представлен в приложении 1.
Каждой
переменной, представленной в алгоритме, в схеме должен соответствовать элемент
хранения. Разрядность модуля произведения равна сумме разрядностей
сомножителей. Умножение двоичного числа на 2-i обеспечивается сдвигом этого
числа вправо на соответствующее количество разрядов. Переход к анализу
очередного разряда множителя (i = i + 1) может быть обеспечен сдвигом регистра
множителя на один разряд в сторону старших разрядов.
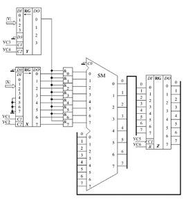
6.Определение набора управляющих сигналов
В соответствии с разработанной блок схемой, определим состав оборудования
и управляющие сигналы, необходимого для реализации АЛУ заданного типа для n = 4
(таблица 1).
Таблица 1. Состав оборудования, необходимого для реализации АЛУ
|
Схема
|
Разрядность
|
Функции
|
Управляющий сигнал
|
|
Регистр модуля множимого RGX .
|
8
|
Загрузка . Сдвиг в сторону младших разрядов
|
УС1 УС2
|
|
Регистр модуля множителя RGY
|
4
|
Загрузка. Сдвиг в сторону старших разрядов.
|
УС3 УС4
|
|
Регистр модуля результата RGZ
|
8
|
Загрузка. Установка в "0".
|
УС5 УС6
|
|
АЛУ
|
8
|
Комбинационный сумматор
|
-
|
|
Комбинационные схемы
|
|
Получение на входе АЛУ сигналов "0" или RGX в
зависимости от значения yi
|
|
. Структурная схема устройства
Структурная
схема - это совокупность элементарных звеньев объекта и связей между ними, один
из видов графической модели
<#"792099.files/image014.gif">
Такт
3. Загрузка RGZ:
|Z|=|Z|+
y
Такт
4. Сдвиг RGX на 1 разряд вправо:
Сдвиг
RGY на 1 разряд влево: i=i+1.
Устройство
управления проверяет условие окончания операции: i > n. Такты (5,6), (7,8),
(9,10) ... . Повтор действий тактов (3,4) с анализом других значений yi.
В такте 10 в регистре RGZ формируется модуль произведения. Такт 10 используется
лишь для определения условия окончания операции умножения.
9.Схемное решение устройства управления
Устройство управления схемного типа состоит из:
· датчика сигналов, вырабатывающего последовательность
импульсов, равномерно распределенную во времени по своим шинам;
· дешифратора кода операций, который дешифрирует код операции
команды, присутствующей в данный момент в регистре команд, и возбуждает одну
шину, соответствующую данной операции; этот сигнал используется блоком
управления операциями для выработки нужной последовательности управляющих
сигналов.
Микропрограммное устройство управления представлено в приложении 4.
Преобразователь адреса микрокоманды преобразует код операции команды,
присутствующей в данный момент в регистре команд, в начальный адрес
микропрограммы, реализующей данную операцию, а также определяет адрес следующей
микрокоманды выполняемой микропрограммы по значению адресной части текущей
микрокоманды.
. Микропрограмма выполнения команды умножения
Микропрограмма выполнения операции умножения представлена в таблице 2.
Таблица 2. Микропрограмма выполнения команды умножения
|
Адресс МК
|
УС1
|
УС2
|
УС3
|
УС4
|
УС5
|
УС6
|
Сигнал записи в РК
|
Адрес следующей МК
|
|
100
|
1
|
0
|
1
|
0
|
0
|
1
|
0
|
101
|
|
101
|
0
|
0
|
0
|
0
|
0
|
0
|
0
|
102
|
|
102
|
0
|
1
|
0
|
0
|
0
|
0
|
0
|
103
|
|
103
|
0
|
0
|
0
|
0
|
1
|
0
|
0
|
104
|
|
104
|
0
|
1
|
0
|
1
|
0
|
0
|
1
|
Х
|
Заключение
В ходе курсового проекта был разработано вычислительное устройство для
выполнения умножения двоичных чисел с фиксированной запятой, без знака,
представленных в прямом коде. Был разработан алгоритм выполнения операции,
построена структурная схема АЛУ, временная диаграмма управляющих сигналов, а
также составлена функциональная схема устройства управления.
Все пункты курсового задания были выполнены.
Список использованных источников
1. Базарова С.Б-М., Чемерисюк А.С., Тулохонов Э.А.,
Гомбоев Е.Ш., Варфоломеев А.В. Выполнение арифметических операций в АЛУ для
чисел с фиксированной запятой. Часть I: Практическое пособие - ВСГТУ. -
Улан-Удэ 2006.-77 с
2. Каган Б.М. Электронные вычислительные машины и
системы: Учеб.пособие. - М.: Энергоатомиздат, 1995. - 547с.
. Луцик Ю.А. Арифметические и логические основы
вычислительной техники: Учеб. пособие по курсу «Арифметические и логические
основы вычислительной техники» для студентов специальности «Вычислительные
машины, системы и сети» всех форм обучения. - Мн.: БГУИР, 2004. - 121с.
4. Проектирование цифровых систем на комплектах
микропрограммируемых БИС / Под ред. Колесникова И.Г. - М.: Радио и связь, 1984.
- 537с.
5. Савельев А.Я. Прикладная теория цифровых автоматов. -
М.: Высшая школа, 1987. - 272 с.
6. Спиридонов В.В. Проектирование структур АЛУ: Учебное
пособие. - СПб.: СЗПИ, 192.72 с.
Приложение

Блок-схема алгоритма выполнения операции умножения
Временная
диаграмма управляющих сигналов.
Функциональная
схема устройства управления.