Дефектоскопия в процессе производства и эксплуатации изделий

  • Вид работы:
    Курсовая работа (т)
  • Предмет:
    Другое
  • Язык:
    Русский
    ,
    Формат файла:
    MS Word
    1,82 Мб
  • Опубликовано:
    2014-12-02
Вы можете узнать стоимость помощи в написании студенческой работы.
Помощь в написании работы, которую точно примут!

Дефектоскопия в процессе производства и эксплуатации изделий

Введение

Дефектоскопия <#"788251.files/image001.gif">

Рис. 1 - Классификация ультразвуковых методов контроля.

К методам прохождения относятся следующие:

1.      Теневой метод, основанный на уменьшении амплитуды прошедшей волны под влиянием дефекта.

2.      Временной теневой метод, основанный на запаздывании импульса, вызванном огибанием дефекта.

.        Зеркально-теневой метод, основанный на ослаблении сигнала, отраженного от противоположной поверхности изделия (донного сигнала).

.        Велосиметрический метод, основанный на изменении скорости упругих волн при наличии дефекта.

В методах отражения применяют, как правило, импульсное излучение. К этой подгруппе относятся следующие методы дефектоскопии.

1.      Эхо-метод. Регистрирует эхо-сигналы от дефектов

2.      Зеркальный эхо-метод основан на зеркальном отражении импульсов от дефектов, ориентированных вертикально к поверхности, с которой ведётся контроль.

.        Реверберационный метод предназначен для контроля слоистых конструкций типа металл-пластик. Он основан на анализе длительности реверберации ультразвуковых импульсов в одном из слоёв.

На использование стоячих волн основаны следующие методы:

1.      Локальный метод свободных колебаний. Он основан на анализе спектра возбуждённых в части контролируемого объекта с помощью ударов молоточка-вибратора.

2.      Интегральный метод свободных колебаний. Механическим ударом возбуждаются вибрации во всём изделии или в значительной его части.

.        Локальный резонансный метод. Применяется в толщинометрии.

.        Интегральный резонансный метод. Применяют для определения модулей упругости материала по резонансным частотам продольных, изгибных или крутильных колебаний изделий простой геометрической формы.

К методам вынужденных колебаний относят акустико-топографический, акустико-эмиссионный метод.

Ультразвуковая дефектоскопия.

Ультразвуковая дефектоскопия - один из методов неразрушающего контроля. Свойство ультразвука распространяться в однородной среде направленно и без существенных затуханий, а на границе раздела двух сред (например, металл - воздух) почти полностью отражаться позволило применить ультразвуковые колебания для выявления дефектов (раковины, трещины, расслоения и т.п.) в металлических деталях без их разрушения.

При помощи ультразвука можно проверять детали больших размеров, так как глубина проникновения ультразвука в металле достигает 8-10 м. Кроме того, ультразвуком можно обнаружить очень мелкие дефекты (до 10-6мм).

Ультразвуковые дефектоскопы позволяют выявлять не только образовавшиеся дефекты, но и определять момент повышенной усталости металла.

Существует несколько методов ультразвуковой дефектоскопии, основными из которых являются теневой, импульсный, резонансный, метод структурного анализа, ультразвуковой визуализации.

Теневой метод основан на ослаблении проходящих ультразвуковых волн при наличии внутри детали дефектов, создающих ультразвуковую тень. При этом методе используется два преобразователя. Один из них излучает ультразвуковые колебания, другой принимает их. Теневой метод малочувствителен, дефект можно обнаружить если вызываемое им изменение сигнала составляет не менее 15(20%). Существенный недостаток теневого метода в том, что он не позволяет определить на какой глубине находится дефект.

Импульсный метод ультразвуковой дефектоскопии основан на явлении отражения ультразвуковых волн. Импульсный метод позволяет исследовать изделия при одностороннем доступе к ним. Метод обладает повышенной чувствительностью, отражение даже 1% ультразвуковой энергии будет замечено. Преимущество импульсного метода состоит еще и в том, что он позволяет определить на какой глубине находится дефект.

Глава 1. Технологический процесс и условия его осуществления

Как видно, существует огромное количество методов ультразвуковой дефектоскопии, но одиним из наиболее распространённых методов является эхо-импульстный метод ультразвукового неразрушающего контроля. Это объясняется тем, что этот метод - в отличие от других - применим при одностороннем доступе к исследуемому объекту, и при этом позволяет определить размеры дефекта, его координаты, характер.

В эхо-импульсном методе ультразвуковой дефектоскопии (УЗД) используются те же принципы, что и в радио - и акустической локации.

Современный эхо-метод УЗД основан на излучении в контролируемое изделие коротких импульсов упругих колебаний (длительностью 0,5 - 10 мксек) и регистрации интенсивности (амплитуды) и времени прихода эхо-сигналов, отраженных от дефектов отражателей.

Импульсный эхо-метод позволяет решать следующие задачи дефектоскопии:

·   Обнаружение и определение координат дефектов, представляющих собой нарушения сплошности и расположенных как на поверхности, так и внутри металлических и неметаллических изделиях и в сварных соединениях.

·        Определение размеров дефектов и изделий.

·        Обнаружение зон крупнозернистости в металлических изделиях и заготовках.

Аппаратура, реализующая данный метод, позволяет определить характер дефектов, идентифицировать их по размерам, формам, ориентации.

 

.1 Характеристики


К основным характеристикам метода относятся: чувствительность, максимальная глубина прозвучивания, минимальная глубина ("мертвая" зона), разрешающая способность, точность измерения расстояния, производительность контроля.

Под чувствительностью понимают минимальный размер дефекта, находящийся на максимальной глубине и четко регистрируемый прибором. Количественно ее определяют порогом чувствительности. Для эхо-метода - это минимальная площадь искусственного дефекта типа плоскодонного отверстия, который обнаруживается при контроле. Ее можно определить по отражателям другого типа, выполняя пересчет на площадь плоскодонного отверстия по формулам акустического тракта. Порог чувствительности ограничивается двумя главными факторами: чувствительностью аппаратуры и уровнем помех. В зависимости от структуры материала будет и изменяться порог чувствительности.

Максимальная глубина прозвучивания определяется максимальным расстоянием от дефекта (отражателя) заданного размера, на котором он уверенно выявляется. Она ограничивается условием, чтобы сигнал от дефекта был больше минимального сигнала, регистрируемого прибором и уровня помех. Она также определяется параметрами аппаратуры. В технических характеристиках прибора в качестве максимальной глубины прозвучивания указывают максимальную длительность развертки дефектоскопа. Достижение максимальной глубины прозвучивания ограничивается теми же факторами, которые препятствуют повышению чувствительности.

Минимальная глубина или "мертвая" зона - минимальное расстояние от преобразователя или от поверхности изделия до дефекта, на котором он четко выявляется не сливаясь с зондирующим импульсом или импульсом от поверхности ввода ультразвука.

Разрешающая способность - минимальное расстояние между двумя одинаковыми дефектами, при котором они регистрируются раздельно. Различают лучевую и фронтальную разрешающую способности метода.

Лучевая разрешающая способность - минимальное расстояние в лучевом направлении, при котором сигналы от дефектов видны на экране как два раздельных импульса.

Фронтальная разрешающая способность по перемещению - минимальное расстояние между дефектами в направлении перпендикулярном лучевому.

Точность измерения расстояния до дефекта определяется погрешностью в % от измеряемой величины.

Производительность контроля определяется шагом и скоростью сканирования (перемещения) преобразователя. При оценке времени контроля учитывается и время на исследование дефекта.

1.2 Ультразвуковой эхо-импульсный дефектоскоп


Ультразвуковой эхо-дефектоскоп - это прибор, предназначенный для обнаружения несплошностей и неоднородностей в изделии, определения их координат, размеров и характера путем излучения импульсов ультразвуковых колебаний, приема и регистрации отраженных от неоднородностей эхо-сигналов. Рассмотрим его составляющие.

На рисунке 4 приведена принципиальная схема импульсного ультразвукового дефектоскопа. Генератор радиоимпульсов 3 возбуждает, пьезопластину передающей искательной головки 1. Ультразвуковые колебания распространяются в контролируемой детали, отражаются от ее противоположной стенки ("донный сигнал") и попадают на пьезопластину приемной искательной головки 2. Отраженные ультразвуковые колебания возбуждают колебания пьезопластины приемной искательной головки 2. При этом на гранях пьезопластины возникает переменное напряжение, которое детектируется и усиливается в усилителе 4, а затем поступает на вертикальные отклоняющие пластины электронно-лучевой трубки (ЭЛТ) 5 осциллографа. Одновременно генератор горизонтальной развертки 6 подает пилообразное напряжение на горизонтальные отклоняющие пластины ЭЛТ 5.

Рис. 4 - Блок схема импульсного ультразвукового дефектоскопа

Генератор радиоимпульсов 3 возбуждает пьезопластину передающей искательной головки 1 короткими импульсами, между которыми получаются продолжительные паузы. Это позволяет четко различать на экране ЭЛТ 5 сигнал начального (зондирующего) импульса I, сигнал от дефекта III и донный сигнал II. При отсутствии дефекта в контролируемом участке детали на экране осциллографа импульс III будет отсутствовать. Перемещая передающую и приемную искательные головки по поверхности контролируемой детали, обнаруживают дефекты и определяют их местоположение. В некоторых конструкциях ультразвуковых дефектоскопов имеется только одна совмещенная искательная головка, которая используется как для передачи, так и для приема ультразвуковых колебаний. Места прилегания искательных головок к контролируемой детали смазывается тонким слоем трансформаторного масла или вазелина для обеспечения непрерывного акустического контакта искательных головок с поверхностью контролируемого изделия. Так работает Импульсный эхо-дефектоскоп 86ИМ-3 (Рис.5.)

Ультразвуковая дефектоскопия основана на технике сравнения. Используя соответствующие контрольные стандарты, принципы распространения звуковой волны и общепринятые процедуры проведения измерений, оператор распознает эхосигналы, относящиеся к геометрии изделия или указывающие на дефект. Эхосигналы, полученные в тестовом образце, сопоставляются с эхосигналами в калибровочном образце для определения их соответствия стандарту.

Рис.5. Импульсный эхо-дефектоскоп 86ИМ-3.

Условия выявления дефектов при эхо-импульсном методе.

Для обеспечения надежного выявления дефектов необходимо выполнение двух условий:

. Сигнал от дефекта должен превосходить минимальный сигнал, регистрируемый регистратором прибора:

       (2.2.1)

. Сигнал от дефекта должен быть больше сигнала помех:

       (2.2.2)

 

1.3 Определение образа выявленного дефекта


Целью неразрушающего контроля является не только обнаружение дефектов, но и распознавание их образа для оценки потенциальной опасности дефекта. Методы визуального представления дефектов эффективны, когда размеры объектов (дефекта в целом или его фрагментов) существенно превышают длину волны УЗК, Кроме того, эти методы требуют применения довольно сложной аппаратуры. Вот некоторые из методов определения образа дефекта.

Обегание дефекта волнами. Падающая волна возбуждает волны различного типа, распространяющиеся вдоль поверхности дефекта. Например, когда на округлый дефект (цилиндр) падает поперечная волна Т (рисунок 3), возникают головные продольные волны L, головные поперечные и квазирэлеевские волны. Последние две волны практически неотличимы по скорости и показаны как волна R. Скорость распространения этих волн зависит от диаметра цилиндра и расстояния от его поверхности.

Рис. 3 - Обегание дефекта волнами.

Волны L и R порождают боковые поперечные волны и быстро затухают. Боковые поперечные волны могут быть обнаружены различными способами и использованы для оценки формы и размера дефекта.

Условная ширина ∆Хд и протяженность ∆Lд дефекта определяются расстояниями между такими крайними положениями преобразователя, в которых амплитуда эхо-сигнала от дефекта уменьшается до определенного уровня.

Условная высота ∆Hд дефекта определяется как разность показаний глубиномера в положениях преобразователя, расстояние между которыми равно условной ширине дефекта. Условные размеры дефектов измеряются двумя способами. При первом способе крайними положениями преобразователя считают такие, в которых, амплитуда эхо-сигнала от выявленного дефекта уменьшается до значения, составляющего определенную часть (обычно 1/2) от максимальной. При втором способе крайними положениями преобразователя считают такие, в которых амплитуда эхо-сигнала достигает величины, соответствующей минимальному регистрируемому дефектоскопом значению.

.4 Условия формирования вредных факторов

Ультразвук - это механические колебания упругой среды высокой частоты, превышающей верхнюю границу слышимости - 20 кГц. Ультразвук характеризуется ультразвуковым давлением, интенсивностью и частотой колебаний. Источники - установки для очистки, обработки материалов, сварки, пайки, дефектоскопии и др.

По своей физической природе ультразвук представляет собой упругие волны и в этом он не отличается от звука. Частотная граница между звуковыми и ультразвуковыми волнами поэтому условна; она определяется субъективными свойствами человеческого слуха и соответствует усреднённой верхней границе слышимого звука. Однако благодаря более высоким частотам и, следовательно, малым длинам волн имеет место ряд особенностей распространения ультразвука. Так, для ультразвуковых частот длины волн в воздухе составляют 3,4*10-3-3,4*10-5 см, в воде 1,5*10-2-1,5*10-4 см и в стали 5*10-2- 5 • 10-4 см. Ультразвук в газах и, в частности, в воздухе распространяется с большим затуханием. Жидкости и твёрдые тела (в особенности монокристаллы) представляют собой, как правило, хорошие проводники ультразвука, затухание в которых значительно меньше. Так, например, в воде затухание ультразвука при прочих равных условиях примерно в 1000 раз меньше, чем в воздухе.

При работе дефектоскопа генератор радиоимпульсов возбуждает, пьезопластину передающей искательной головки. Ультразвуковые колебания распространяются в контролируемой детали, отражаются от ее противоположной стенки ("донный сигнал") и попадают на пьезопластину приемной искательной головки. При этом отраженные ультразвуковые колебания могут распространяться и в окружающей атмосфере. Совокупность уплотнений и разрежений, сопровождающая распространение ультразвуковой волны, представляет собой своеобразную решётку, дифракцию световых волн.

Длительное воздействие ультразвука приводит к функциональным изменениям центральной и периферической нервной системы, слухового и вестибулярного аппарата, также его воздействие приводит к перегреву тканей тела, слабости, усталости, головным болям, болям в ушах.

Глава 2. Выявление опасностей на данном участке

Участок плана расположения оборудования в цехе алюминиевого литья.

При поточном производстве в литейных цехах, как правило, предусматривают параллельный двухсменный режим работы; для больших печей и участков, где не допускается перерыв в технологическом процессе, а также в отдельных случаях для уникального оборудования трехсменный режим работы.

Рис.6. Участок плана расположения оборудования в цехе алюминиевого литья: 1 - станки для черновой обработки поршней; 2 - опасность воздействия ультразвука и поражения током; 3 - стеллажи для складирования отливок; 4 - пятипозиционная карусельно-кокильная машина; 5 - установки для неразрушающего контроля мелких отливок; 6 - пластинчатый конвейер; 7 - место расположения работника; 8 - контейнер для отливок с дефектами: 9 - контейнер для отливок без дефектов; 10 - место расположения огнетушителя. Общая площадь участка = 4000м2 .

По плану расположения оборудования в цехе видно, что установка для неразрушающего контроля (дефектоскоп) расположена в непосредственной близости от карусельно кокильной машины, в то время как другое оборудование (печи, станки, установки и т. д.) находятся других помещениях цеха, что максимально снижает их вредное воздействие на человека.

Опасность для здоровья человека, работающего в литейном цехе, очевидна: тепловое излучение, шум, не качественное освещение, транспортировка грузов и, конечно, опасность поражения током.

.1 Тепловое излучение

Перед окраской кокили подогревают до 100-120оС, что улучшает внешний вид отливок, способствует устранению газовых раковин и повышает стойкость кокилей. Излишне высокая температура нагрева отливок нежелательна, так как при этом снижается скорость затвердевания отливок и длительность службы кокиля.

Нагрев уменьшает перепад температур между отливкой и формой и расширение формы за счет прогрева ее металлом отливки. В результате этого в отливке уменьшаются растягивающие напряжения вызывающие появление трещин. Однако одного только подогрева формы недостаточно, чтобы устранить возможность возникновения трещин. Необходимо своевременное извлечение отливки из формы. Удалять отливку из кокиля следует раньше того момента, когда температура ее сравняется с температурой кокиля, а усадочные напряжения достигнут наибольшей величины. Обычно отливку извлекают в тот момент, когда она окрепнет настолько, что ее можно перемещать без разрушения (450-500°С). К этому моменту литниковая система еще не приобретает достаточной прочности и разрушается при легких ударах. Длительность выдержки отливки в форме определяется скоростью затвердевания и зависит от температуры металла, температуры формы и скорости заливки. Алюминиевые сплавы в зависимости от состава и сложности конфигурации отливок заливают в кокили при 680-750оС.Так, выделение теплоты при разливке металла составляет около 3000 МДж/т. Высоких значений достигает интенсивность теплового потока на ряде рабочих мест.

Организм человека обладает терморегуляцией, благодаря которой поддерживается постоянная температура тела. Терморегуляция осуществляется химическим и физическим путем. Химическая терморегуляция достигается за счет изменения обмена веществ в организме: усиление обмена веществ сопровождается возрастанием образования теплоты в организме. Физическая терморегуляция идет за счет радиационного теплообмена, конвекции, потоотделения, теплопередачи и нагрева выдыхаемого воздуха.

Движение воздуха увеличивает отдачу теплоты организмом. В теплую погоду, в жарких помещениях это улучшает тепловое самочувствие, а в зимнее время при низких температурах оказывает неблагоприятное влияние. Для легкой работы оптимальное значение температуры воздуха лежит в пределах 20-25оС при относительной влажности 40-60% и скорости движения воздуха 2 м/с. При влажности 99-100% выключается механизм потоотделения и при температуре +30°С и выше быстро наступает перегрев организма

На тепловой баланс организма существенно влияет физическая нагрузка человека. С увеличением нагрузки величина тепловыделения возрастает от 85 до 500 Дж/с. Под воздействием высоких температур воздуха, интенсивного теплового излучения и при значительных физических нагрузках возможен перегрев организма. Он сопровождается повышением температуры тела, учащенным пульсом и дыханием, головокружением. При сильной степени перегрева может наступить тепловой удар с расстройством координации движений, потерей сознания. Постоянно повторяющееся тепловое воздействие приводит к ослаблению иммунитета организма, нарушению функции сердечно-сосудистой системы, водно-солевого обмена. Холодовой дискомфорт вызывает в организме человека терморегуляторные сдвиги, направленные на ограничение и увеличение теплообразования. Длительное воздействие низких температур вызывает стойкий сосудистый спазм поверхностных тканей, изменение артериального давления, снижение кожной чувствительности.

2.2 Шум

Шум, представляет собой колебания материальных частиц газа, жидкости или твердого тела. Производственные процессы часто сопровождаются значительным шумом, вибрацией и сотрясениями, которые отрицательно влияют на здоровье и могут вызвать профессиональные заболевания.

Слуховой аппарат человека обладает неодинаковой чувствительностью к звукам различной частоты, а именно - наибольшей чувствительностью на средних и высоких частотах (800-4000 Гц) и наименьшей - на низких (20-100 Гц). Поэтому для физиологической оценки шума используют кривые равной громкости, полученные по результатам изучения свойств органа слуха оценивать звуки различной частоты по субъективному ощущению громкости, т.е. судить о том, какой из них сильнее или слабее.

Уровни громкости измеряются в фонах. На частоте 1000Гц уровни громкости приняты равными уровням звукового давления. Всякое возрастание шума над порогом слышимости увеличивает мускульное напряжение, значит повышает расход мышечной энергии. Под влиянием шума притупляется острота зрения, изменяются ритмы дыхания и сердечной деятельности, наступает понижение трудоспособности, ослабленность внимания. Кроме того, шум вызывает повышенные раздражимость и нервозность. Длительность воздействия шума приводит к глухоте, особенно с превышением уровня 85-90 дБ и в первую очередь снижается чувствительность на высоких частотах.

2.3 Производственное освещение

Назначение производственного освещения - создание наилучших условий для органов зрения работающего. Поэтому к системе производственного освещения предъявляются особые требования:

1.Освещенность на рабочем месте должна соответствовать характеру зрительной работы, который определяется следующими тремя параметрами:

объект различения - наименьший размер рассматриваемого предмета, отдельная его часть или дефект, который необходимо различить в процессе работы (например, при работе с приборами - толщина линии градуировки шкалы; при чертежных работах - толщина самой тонкой линии на чертеже);

фон - поверхность, прилегающая непосредственно к объекту различения, на которой он рассматривается; характеризуется коэффициентом отражения, зависящим от цвета и фактуры поверхности, значения которого находятся в пределах 0,02-0,95; при коэффициенте отражения поверхности более 0,4 фон считается светлым; 0,2-0,4 - средним и менее 0,2 - темным;

контраст объекта с фоном характеризуется соотношением яркостей рассматриваемого объекта (точка, линия, знак, пятно, трещина, риска, раковина или другие элементы, которые требуется различать в процессе работы) и фона.

. Необходимо обеспечить достаточно равномерное распределение яркости на рабочей поверхности, а также в пределах окружающего пространства. Если в поле зрения находятся поверхности, значительно отличающиеся между собой по яркости, то при переводе взгляда с ярко освещенной на слабо освещенную поверхность глаз вынужден переадаптироваться, что ведет к утомлению зрения.

Для повышения равномерности естественного освещения больших цехов (литейных, механосборочных) осуществляется комбинированное освещение. Светлая окраска потолка, стен и производственного оборудования способствует созданию равномерного распределения яркостей в поле зрения.

. На рабочей поверхности должны отсутствовать резкие тени. Наличие резких теней создает неравномерное распределение поверхностей с различной яркостью в поле зрения, искажает размеры и формы объектов различения, в результате повышается утомляемость, снижается производительность труда. Особенно вредны движущиеся тени, которые могут привести к травмам. Тени необходимо смягчать, применяя, например, светильники со светорассеивающими молочными стеклами.

В механических цехах, лабораториях, в помещениях точной сборки, технологических и конструкторских отделах необходимо предусматривать на окнах солнцезащитные устройства (жалюзи, козырьки, светорассеивающие стеклопластики), предотвращающие проникновение прямых солнечных лучей, которые создают на рабочих местах резкие тени.

4. В поле зрения должна отсутствовать прямая и отраженная блескость. Блескость - повышенная яркость светящихся поверхностей, вызывающая нарушение зрительных функций (ослепленность), т. е. ухудшение видимости объектов.

5. Величина освещенности должна быть постоянной во времени. Колебания освещенности, вызванные резким изменением напряжения в сети, имеют большую амплитуду, каждый раз вызывая переадаптацию глаза, приводят к значительному утомлению. Пульсация освещенности связана также с особенностью работы газоразрядных ламп.

. Следует выбирать оптимальную направленность светового потока, что позволяет в одних случаях рассмотреть внутренние поверхности деталей, в других - различить рельефность элементов рабочей поверхности.

7. Следует выбирать необходимый спектральный состав света. Это требование особенно существенно для обеспечения правильной цветопередачи, а в отдельных случаях для усиления цветовых контрастов.

Правильную цветопередачу обеспечивают естественное освещение и искусственные источники света со спектральной характеристикой, близкой к солнечной. Для создания цветовых контрастов применяют монохроматический свет, усиливающий одни цвета и ослабляющий другие.

. Все элементы осветительных установок - светильники, групповые щитки, понижающие трансформаторы, осветительные сети - должны быть достаточно долговечными, электро-безопасными, а также не должны быть причиной возникновения пожара или взрыва. Обеспечение указанных условии достигается применением зануления или заземления ограничением напряжения для питания местных и переносных светильников до 42 В и ниже (36, 24, 12 В), выбором оборудования, соответствующего условиям среды в помещениях, и защитой элементов осветительных сетей от механических повреждений при эксплуатации. Кроме того, необходимо уменьшить до минимума теплоту, выделяемую осветительной установкой, и шум.

. Установка должна быть удобной и простой в эксплуатации, отвечать требованиям эстетики

.4 Опасность при транспортировке отливок

При транспортировке отливок на них и на транспортное средство действуют ударно-вибрационные нагрузки, нарушающие крепление груза и техническое состояние средства. Помимо этого, причинами травматизма при транспортировании могут быть неудовлетворительная подготовка транспортного средства и водителей, нарушения правил транспортирования.

Травмы при не правильной транспортировке могут быть самыми разнообразными от ушибов рук и ног, до переломов и летальных исходов.

.5 Опасность поражения током

В общем производственном травматизме особое место занимает электротравматизм. Среди несчастных случаев со смертельным исходом электротравмы составляют 20-40%, занимая одно из первых мест.

Электрический ток, протекая через тело человека, производит термическое, электролитическое и биологическое воздействие. Термическое воздействие характеризуется нагревом кожи, тканей вплоть до ожогов. Электролитическое воздействие заключается в электролитическом разложений жидкостей, в том числе и крови. Биологическое действие электрического тока проявляется в нарушении биологических процессов, протекающих в организме человека, и сопровождается разрушением и возбуждением тканей и судорожным сокращением мышц.

Различают два вида поражения организма электрическим током: электрические травмы и электрические удары.

Электрические травмы - это местные поражения тканей и органов. К ним относятся электрические ожоги, электрический знаки и электрометаллизация кожи, механические повреждения в результате непроизвольных судорожных сокращений мышц при протекании тока (разрывы кожи, кровеносных сосудов и нервов, вывихи суставов, переломы костей).

Электрический удар представляет собой возбуждение живых тканей организма проходящим через него электрическим током, сопровождающимся непроизвольным сокращением мышц.

Поражение человека электрическим током может произойти при прикосновениях: к токоведущим частям, находящимся под напряжением; отключенным токоведущим частям, на которых остался заряд или появилось напряжение в результате случайного включения; к металлическим нетоковедущим частям электроустановок после перехода на них напряжения с токоведущих частей. Кроме того, возможно электропоражение напряжением шага при нахождении человека в зоне растекания тока замыкания на землю, электрической дугой в электроустановках с напряжением более 1000В; при приближении к частям, находящемся под напряжением, на недопустимо малое расстояние, зависящее от значения высокого напряжения.

2.6 Критерии балльной оценки факторов рабочей среды

Таблица 1.

Профессия

Фактор рабочей среды и условия труда

Значение показателя

Продолжительность действия фактора, мин

Оценка удельной тяжести фактора рабочей среды Хф

Оператор 86ИМ-3

Температура воздуха РМ в теплый период года, оС

21…22

480

2


Освещенность РМ на уровне санитарных норм: размер объекта различения, мм  разряд зрительной работы

- < 1 3

480 -

 2 2


Превышение допустимого уровня звука (ультразвук), дБ

6-10

420

3,5


РМ стационарное, поза несвободная - до 20% времени в наклонном положении до 300

-

-

3


Работа в две смены

-

-

2

8

-

2


Длительность сосредоточенного наблюдения % от продолжительности рабочей смены

70

-

3


Длительность повторяющихся операций, с

>100

-

1


Промышленный шум, превышение ПДУ, дБ

5…10

480

4


Интенсивность теплового излучения, Вт/м2

≤140

480

1


Интегральная балльная оценка тяжести труда :


х фi = xi tудi = xi (ti /480) (Если какой-либо из факторов действует менее 8 ч)

Глава 3. Мероприятия по улучшению условий труда

.1 Обеспечение безопастности при тепловом излучении

В литейных и термических цехах большое число единиц оборудования выделяет теплоту. Часть ее отдается наружу, а часть нагревает воздух помещения.

Все производственные помещения по удельному тепловыделению делят на холодные, где явное тепловыделение не превышает 23,26 Вт/м3, и горячие, где тепловыделение превышает 23,26 Вт/м3.

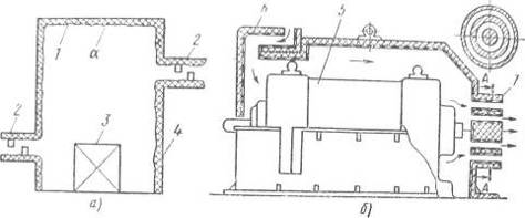
Для защиты работающих от теплового воздействия используют различные мероприятия: теплоизоляцию поверхностей, излучающих теплоту; теплоизоляцию и охлаждение рабочих мест; вентиляцию производственного помещения; кондиционирование воздуха (рис. 8); распыление воды на рабочих местах; спецодежду и индивидуальные защитные приспособления (экраны, очки и т. п.); рациональную организацию режима труда и отдыха, а также устраивают специальные места, комнаты отдыха; сокращают время нахождения нагретого металла, шлака в производственном помещении.

Рис.8 Схема центрального кондиционера.

Температура нагретых поверхностей ограждений на рабочих местах не должна превышать 45°С, а для оборудования, внутри которого температура равна или ниже 100°С, температура на поверхности не должна превышать 35°С. Если же по техническим причинам невозможно достичь указанных температур, то должны быть предусмотрены перечисленные выше мероприятия по защите работающих от перегрева.

Наиболее распространенный метод защиты от теплового излучения - экранирование. Экраны используют разной конструкции: однослойные, многослойные, прозрачные и непрозрачные, с воздушной и водяной прослойкой.

Отражательные экраны выполняют из материала, хорошо отражающего лучи обратно к источнику, и лишь некоторая доля их поглощается экраном. Такие экраны используют для защиты открытых рабочих мест от действия внешнего излучения. В качестве материала экрана может использоваться полированный алюминиевый лист. Эффективность защитного действия отражательных экранов достигает 85-95%.

Теплопоглотительные экраны выполняют из материалов с низкой теплопроводностью (асбеста, вермикулита и др.)- Такие экраны навешивают на стенки печей, оставляя воздушную прослойку 25-30 мм между экраном и стенкой. Эффективность защитного действия экрана 55-70%.

Теплоотводящие водяные экраны представляют собой сварные плиты толщиной 5 мм и более, в которых циркулирует вода. Такие экраны устанавливают на расстоянии 50 мм от печей.

Улучшение микроклимата на рабочих местах достигается путем высокодисперсного распыления воды с помощью пневматических форсунок. Температура воздуха при применении форсунок снижается на 5°С, влажность повышается на 10%, а температура одежды рабочего снижается на 10-12°С.

При невозможности защиты рабочего места от теплоизлучения используют индивидуальные средства теплозащиты: теплозащитные маски, фартуки, нарукавники из алюминизированной ткани.

Для защиты лица от твердых частиц, искр, брызг жидкости и расплавленного металла, ультрафиолетового и инфракрасного излучений, слепящей яркости видимых излучений используют защитные щитки (ГОСТ 12.4.023-84*): наголовный щиток с сетчатым корпусом (НСП); наголовный щиток с непрозрачным корпусом (НН); универсальный щиток с непрозрачным корпусом (ЦН). Защита глаз от воздействия ультрафиолетового, инфракрасного излучений, брызг жидкости и расплавленного металла, разъедающих газов, яркости видимого излучения достигается при использовании защитных очков: двойных закрытых защитных (ЗПД); двойных герметичных защитных (ГД) и др.

3.2 Обеспечение безопастности при шуме

Для уменьшения уровней шума применяются технические, строительно-акустические и организационные мероприятия, а также средства индивидуальной защиты (ГОСТ 12.4.051-87 - Средства индивидуальной защиты органа слуха).

К этим мерам относятся :

.Подавление шума в источниках

а)замена ударных взаимодействий деталей безударными;

б)замена возвратно-поступательных движений вращательными;

в)создание форм деталей, плавно обтекаемых воздухом;

г)замена подшипников качения подшипниками скольжения;

д)заменять прямозубые шестерни на косозубые, шевронные;

ж)повышать класс точности обработки деталей, шестерен;

з)применять принудительное смазывание трущихся поверхностей;

и)применение "малошумящих" материалов (капроновые, текстолитовые - менее шумные);

к)статическая и динамическая балансировка деталей;

л)применение глушителей шума, звукоизолирующих кожухов (Рис.9.).

Рис.9. Звукоизолирующий кожух: а - схема кожуха; б - конструкция кожуха электродвигателя; 1 - звукопоглощающий материал; 2 - глушитель шума; 3 - источник шума; 4 - стенка; 5 - электродвигатель; 6, 7 - каналы с глушителями для входа и выхода воздуха

. Предупреждение распространения шума - звукоизоляция и звукопоглощение.

При звукоизоляции уменьшается уровень шума, который распространяется за счет колебания преграды. Для звукоизоляции применяются плотные, жесткие, массивные перегородки. При этом ослабление зависит от массы перегородки, а не от ее материала. Большее ослабление достигается при слоистых перегородках, с воздушными промежутками между слоями.

При звукопоглощении звук ослабляется за счет поглощения звуковой энергии в порах материала перегородки (войлок, вата, пемза). Наряду с пористыми материалами для звукопоглощения применяются специальные мастики, которыми покрываются перегородки и отдельные части машин.

.Строительные и организационные меры :

а)увеличение расстояния от источника шума - концентрация цехов с большим уровнем шума и удаление их от других производственных помещений. Так как интенсивность шума в помещениях зависит не только от прямого, но и от отраженного звука, который может быть уменьшен за счет увеличения площади звукопоглощения помещения, т.е. необходимо применять :

б)покрытие внутренних поверхностей помещения звукопоглощающими облицовками;

в)размещение в помещениях штучных звукопоглощателей (объемные тела, заполненные звукопоглощающим материалом и подвешенные к потолку);

г)закрытие машин звукоизоляционными кожухами;

д)устройство экранов (с покрытием их звукоизолирующими материалами) между машиной и рабочим местом (Рис.10.);

Рис.10. Экранирование источников шума: а - схема экрана; б - расположение экранов в вычислительных центрах; в- экранирование источников механического шума;1 - шумное оборудование; 2 -экран со звукопоглощающей облицовкой; 3 - рабочее место; 4 -дисковая пила.

е)устройство звукоизолированных машин;

ж)рациональный режим труда и отдыха;

з)сокращение времени нахождения в шумовых условиях;

и)контроль уровней шума на рабочих местах.

В качестве звукопоглощающего материала применяют ультратонкое стекловолокно, капроновое волокно, минеральную вату, древесноволокнистые и минераловатные плиты, пористый поливинилхлорид и др. Толщина облицовок составляет 20-200 мм. В низких помещениях облицовывают только потолок, т.к.стены в них практически не влияют на отражение звука, а в высоких и вытянутых помещениях - облицовывают как стены, так и потолок. При некоторых производственных процессах, например, как клепка, обрубка, штамповка, зачистка трудно или невозможно эффективно снизить шум.

Индивидуальные средства защиты от шума.

наушники, закрывающие ушную раковину (Рис.11.);

Рис.11. Наушники.

вкладыши, перекрывающие наружный слуховой канал (пробка);

шлемы, закрывающие часть головы и ушную раковину.

Наушники по способу крепления на голове подразделяются на:

·   независимые (с оголовьем);

·        встроенные в головной убор (каски, шлемы, косынки) или другое защитное устройство (респиратор, очки, щитки и т.п.).

·        вкладыши (мягкие тампоны из ультратонкого волокна, материала или из эбонита, резины) делятся на: многократного пользования и однократного.

Наушники и вкладыши делятся по ГОСТ 12.4.051-75 на группы А, Б, В по их эффективности в дБ в октавных полосах частот.

На предприятиях зоны звука выше 85 дБ(шкала А шумометра - замер без фильтров, частотная характеристика этой шкалы близка к характеристике слуха человека) должны обозначаться знаками безопасности и работающие в этих зонах должны быть обеспечены средствами индивидуальной защиты. Запрещается даже кратковременное пребывание в зонах со звуковым давлением более 135 дБ в любой полосе частот. В технических условиях на машины и паспорта должны быть указаны значения шумовых характеристик машин, измерение шума проводится в соответствии с ГОСТ 12.1.003-76.

.3 Обеспечение безопастности при производственном освещении

Из плана оборудования в цехе ясно, что в помещении, где размещен дефектоскоп, нет естественного освещения, а используется только искусственное.

Искусственное освещение создается искусственными источниками света: лампами накаливания или газоразрядными лампами. Искусственное освещение применяется при недостаточном естественном освещении или его отсутствии (в темное время суток). По назначению искусственное освещение разделяется: на: рабочее, аварийное, охранное и дежурное.

Совмещенное освещение - это такое освещение, при котором недостаточное по нормам естественное освещение дополняется искусственным.

Рабочее освещение предназначено для обеспечения нормальной работы в обычных условиях, аварийное - в случае внезапного отключения рабочего освещения. Дежурное и охранное освещение применяют в нерабочее время.

Искусственное освещение бывает общим, местным и комбинированным.

При общем освещении светильники размещают в верхней зоне равномерно (равномерное освещение) или применительно к расположению оборудования и рабочих мест (локализованное освещение).

Местное освещение устанавливается непосредственно на рабочих местах для освещения рабочей поверхности. В производстве не применяется только местное освещение. При необходимости дополнительного освещения рабочего места применяется комбинированное освещение, когда основную часть требуемой освещенности создает общее освещение, а дополнительную - местное.

Освещенность на рабочем месте должна соответствовать характеру зрительной работы. В качестве источников света при искусственном освещении применяют газоразрядные лампы и лампы накаливания.

Газоразрядные лампы предпочтительнее для применения в системах искусственного освещения. Они имеют высокую световую отдачу (до 100 лм/Вт) и большой срок службы (10 000...14 000 ч). Световой поток от газоразрядных ламп по спектральному составу близок к естественному освещению и поэтому более благоприятен для зрения.

Однако газоразрядные лампы имеют существенные недостатки, к числу которых относится пульсация светового потока. При рассмотрении быстро движущихся или вращающихся деталей в пульсирующем световом потоке возникает стробоскопический эффект, который проявляется в искажении зрительного восприятия объектов (вместо одного предмета видны изображения нескольких, искажаются направление и скорость движения). Это явление ведет к увеличению опасности производственного травматизма и делает невозможным выполнение некоторых производственных операций.

Применяемые для освещения производственных помещений лампы накаливания (Рис.7.) относятся к тепловым источникам света, в которых свечение возникает путем нагревания нити накала до высоких температур. Они просты и надежны в эксплуатации. Недостатками их являются низкая световая отдача (не более 20 лм/Вт), ограниченный срок службы (до 1000 ч), преобладание излучения в желто-красной части спектра, что искажает цветовое восприятие.

Рис.7. Защитный угол светильника с лампой накаливания

Лампы накаливания применяют в тех случаях, когда по условиям технологии, среды или требованиям оформления интерьера использование газоразрядных источников света невозможно или нецелесообразно.

Рис. 12. Схемы размещения света в помещении: а) равномерное; б) шахматное; в) прямоугольное; г) рядами.

3.4 Обеспечение безопастности при ультразвуке

Согласно ГОСТ 12.1.001-75 установлены допустимые уровни звукового давления на рабочих местах: (ГОСТ 12.1.001-75.Ультразвук.).

Для полос частот со среднегеометрической частотой 12500 ГЦ уровень звукового давления - 75 дБ; для 16000 Гц - 85, для 20000 и свыше - 110 дБ.

Вредное воздействие ультразвука снижается за счет :

уменьшения вредного излучения в источнике (повышение рабочих частот ультразвука, исключение паразитного излучения звуковой энергии);

локализации действия ультразвука (размещения установок в кабинах, заключение их в кожухи, экраны из стекла);

Эти меры обеспечивают защиту от ультразвука через воздух. Защита от давления ультразвука при контактном облучении состоит в полном исключении непосредственного прикосновения работающих с инструментом, жидкостью и изделиями. Загрузку и выгрузку изделий производят при выключенном источнике ультразвука, или при помощи щипцов с удлиненными и виброизолированными ручками.

организационно-профилактическими мероприятиями (ограничение возраста - 16 лет, медицинские осмотры, обучение и инструктаж, режим труда и отдыха);

применение средств индивидуальной защиты (резиновые перчатки).

Применяются специальные держатели, манипуляторы для дистанционного управления, т.к. ультразвук воздействует на человека (руки) через твердые и жидкие среды.

Многие из средств и мер по борьбе с шумом применимы к ультразвуку, в том числе и индивидуальные защитные средства. На пример шлемы, закрывающие часть головы и ушную раковину Рис. 13;

Рис.13.

Контроль уровней звукового давления (ультразвука) проводится после установки оборудования, его ремонта и периодически, не реже 1 раза в год, в 5 см от уха работающего в его основной рабочей позе. Временная характеристика прибора переключается в положение "быстро".

Предприятие-изготовитель должен указывать в документации ультразвуковую характеристику оборудования - уровни звукового давления в контактных точках на высоте 1,5 м от пола, на расстоянии 0,5 м от контура машины и не менее 2 м от окружающих поверхностей. Измерения проводятся не менее чем в четырех контрольных точках, расстояние между которыми не должно превышать 1 м.

.5 Обеспечение электробезопасности

В литейных и термических цехах электрическую сеть выполняют изолированными проводами или кабелями. Проводка осуществляется на изоляторах или в металлических трубках бронированными или трубчатыми проводами. Проводку через конструктивные элементы здания выполняют с помощью изоляционных трубок в сетях с напряжением до 1000 В, а в сетях высокого напряжения - проходными изоляторами. В особо сырых или пыльных помещениях электрическую сеть напряжением до 1000 В выполняют из кабеля с резиновой изоляцией, который прокладывают в каналах, закрываемых съемными покрытиями. Расстояние между силовыми кабелями должно быть не менее 250 мм, а между кабелем и трубопроводом с горючей жидкостью не менее 1м.

Защитные средства хранят в специально оборудованных шкафах. Изолирующие штанги используют при работах под напряжением с разъединителями высокого напряжения при наложении переносного заземления. Изолирующие клещи применяют при замене предохранителей. На рис. 14 показаны электротехнические защитные средства:

Рис. 14

Ограждающие защитные средства используют для. временного ограждения токоведущих частей. К ним относятся щиты и клети, устанавливаемые около токоведущих частей, изолирующие накладки, переносное заземление. Переносное заземление подсоединяется к заземляющему контуру и накладывается на фазы отключенной электрической сети. Плакаты различают разрешающие, предупреждающие и запрещающие: «Работать здесь!», «Стой! Напряжение», «Не включать, работают люди».

Электрические сети и электрооборудование (электрические печи, электроприводы литейного и термического оборудования) при неправильной эксплуатации могут явиться причиной пожара. Пожарная безопасность электрооборудования достигается соблюдением требований Правил устройства электроустановок. Все электроустановки должны иметь устройства защиты от токов короткого замыкания. А в помещениях со взрывопожароопасным производством площадью более 500 м устанавливают пожарную сигнализацию.

.6 Обеспечение безопасности при транспортировке отливок

Для транспортирования грузов должны использоваться исправные транспортные средства, прошедшие техническое обслуживание;

транспортное средство должно иметь государственный знак;

машины для транспортирования горюче-смазочных жидкостей должны оснащаться огнетушителями, заземляющими цепями и надписями «Огнеопасно»;

перед выпуском транспортного средства на линию необходимо проверять его состояние, укладку и крепление груза.

Безопасность эксплуатации конвейеров достигается соблюдением требований ГОСТ 12.2.022-80. Движущиеся части конвейера (приводные, натяжные, отклоняющие барабаны, натяжные устройства, опорные ролики в зонах рабочих мест, ременные и другие передачи), к которым возможен доступ работающих, должны быть ограждены. Все движущиеся части, находящиеся на высоте 2,5 м от пола, должны иметь ограждения.

В зоне возможного нахождения людей необходимо ограждать канаты и блоки, грузонатяжные устройства, загрузочные устройства для насыпки грузов. Приемные устройства в местах сброса грузов с конвейера, нижние выступающие части конвейеров, участки трасс конвейеров, на которых запрещен проход людей, ограждают перилами высотой 1 м. Для исключения травм при работе на подвесных конвейерах при ручной загрузке (разгрузке) скорость движения подвесок должна быть не более 0,25 м/с, а на ленточных конвейерах - не более 0 5 м/с при массе груза до 5 кг и 0,3 м/с при массе наибольшего груза более 5 кг.

Конвейерные линии должны быть оснащены блокирующими устройствами, обеспечивающими выключение их в случае нарушения технологического процесса, отказа технологического оборудования, выхода параметров энергоносителей за допустимые пределы.

Похожие работы на - Дефектоскопия в процессе производства и эксплуатации изделий

 

Не нашли материал для своей работы?
Поможем написать уникальную работу
Без плагиата!
Без нейросетей!