|
Интервал,
м
|
Коэффициент
аномальности Ка
|

|
|
|
0-11
|
0.71
|
0.78
|
0.81
|
|
11-113
|
0.82
|
0.9
|
0.94
|
|
113-263
|
0.91
|
1
|
1.04
|
|
263-353
|
0.93
|
1.02
|
1.07
|
|
353-443
|
0.86
|
0.95
|
0.99
|
|
443-593
|
0.89
|
0.98
|
1.02
|
|
593-708
|
0.9
|
0.99
|
1.03
|
|
708-810
|
0.9
|
0.99
|
1.03
|
|
810-1118
|
0.9
|
0.99
|
1.03
|
|
1118-1206
|
0.93
|
0.97
|
0.99
|
|
1118-1383
|
0.95
|
0.99
|
1.02
|
|
1383-1425
|
0.95
|
0.99
|
1.02
|
|
1425-1445
|
0.95
|
0.99
|
1.02
|
|
1445-1585
|
0.95
|
0.99
|
1.02
|
|
1585-1645
|
0.95
|
0.99
|
1.02
|
|
1645-1668
|
0.95
|
0.99
|
1.02
|
|
1668-1675
|
0.95
|
0.99
|
1.02
|
|
1675-1691
|
0.95
|
0.99
|
1.02
|
Для того чтобы наглядно определить распределение
давлений по стволу скважины, а также выявить интервалы несовместимые по
условиям бурения, количество обсадных колонн и глубины их спуска, строится
график совмещенных давлений.
Глубина спуска обсадных колонн принимается на
10-20 м выше окончания зоны крепления (зоны совместимых условий), но не выше
глубины начала следующей зоны совместимых условий.
Направление диаметром 425 мм спускается на
глубину 60 м для перекрытия рыхлых четвертичных пород, закрепления устья
скважины, подачи промывочной жидкости в циркуляционную систему. Цементируется
до устья скважины.
Кондуктор диаметром 340 спускается на глубину
574 м в нижнюю часть ангарской свиты для перекрытия поглощающих горизонтов в
литвинцевской и ангарской свитах, ликвидации поглощения в траппах, перекрытия
соленосных отложений ангарской свит, а также с целью перекрытия вечномерзлых
пород, склонных к растеплению и интенсивному кавернообразованию. Кондуктор
оборудуется ПВО с целью предотвращения возможных нефтегазопроявлений при
бурении под техническую колонну и цементируется до устья.
Промежуточная обсадная (техническая) 245
предохраняет скважину от потерь бурового раствора в пластах неглубокого
залегания. При бурении в зонах с пластовым давлением, превышающим норму, или
содержащих отложения, склонные к осыпям и обвалам, а также в зонах поглощения
бурового раствора может потребоваться установка обсадной колонны для
минимизации риска перед более глубоким бурением. Для этого служит промежуточная
обсадная колонна. Цементируется до устья.
Эксплуатационная колонна диаметром 177,8 (178
мм) предназначена для транспортировки нефти на поверхность или закачивания
жидкости в пласт для поддержания пластового давления. Это ее основное
назначение. Цементируется до 500 м. веще башмака (до 900 м.)
. Расчет гидравлической программы
Современная технология бурения скважин
предполагает систематическое использование циркулирующих промывочных агентов
для транспортирования разрушенной горной породы на дневную поверхность,
обеспечения необходимого противодавления на проходимые скважиной горные породы,
подачи энергии к долоту и забойному двигателю, ликвидации пластовых флюидопроявлений,
а также для задавливания открыто фонтанирующих скважин и т.д.
Чтобы правильно выбрать технологические
характеристики гидравлического оборудования и определить для каждого
конкретного случая необходимые параметры циркуляционного потока в скважине для
безаварийной ее проводки или ликвидации аварии, необходимо рассмотреть основы
теории и расчетные зависимости применительно к гидродинамическим процессам в
бурящихся скважинах.
На точность гидравлического расчета процесса
промывки скважины большое влияние оказывает достоверность исходной информации.
Однако некоторые исходные данные к расчету в силу ряда причин могут быть
определены приближенно. К таким данным относятся диаметр не обсаженного ствола
скважины, реологические свойства промывочной жидкости, шероховатость стенок
труб и скважины и т.д. Поэтому при расчете следует пользоваться оценками,
позволяющими удовлетворить всем технологическим и геологическим условиям
бурения. Так, оценкой снизу для гидродинамического давления в кольцевом
пространстве скважины исходя из условий создания противодавления на
продуктивные пласты является гидростатическое давление столба промывочной
жидкости. Для оценки сверху распределения давлений, исходя из условия
недопущения гидроразрыва (поглощения) пластов, и при определении давления в
насосе целесообразно применять расчетные соотношения и исходные данные, дающие
несколько завышенные значения перепада (потерь) давления в различных элементах
циркуляционной системы.
Задачи: Определить расход бурового раствора,
количество насосов, диаметры втулок, давления и сопротивления во всех звеньях
циркуляционной системы.
Исходные данные
. Глубина бурения скважины L, 1691 м
. Глубина залегания кровли пласта с максимальным
градиентом пластового давления Lk, 1675 м
. Пластовое давление в пласте с максимальным
градиентом пластового давления рпл, 16.27 МПа
. Давление гидроразрыва (поглощения) рr,
24.64 МПа
. Плотность разбуриваемых пород р, 2500 кг/м3
. Реологические свойства жидкости:
динамическое напряжение сдвига τ0,
12 Па
пластическая вязкость η,
0.022 Па
с
. Диаметр скважины dс, 0.214 м
8. Механическая скорость бурении
м, 0.015 м/с
Элементы бурильной колонны
УБТ:
длина l, 60 м
наружный диаметр dH,
0.170 м
внутренний диаметр dв,
0.071 м
ТБПВ:
длина l, 1620 м
наружный диаметр dн,
0.127 м
внутренний диаметр dВ,
0.1086 м
наружный диаметр замкового
соединения dм, 0.170 м
. Скорость витания частицы и потока
Определим число Архимеда Аr:
Где, dч - диаметр
частицы, м
рч - плотность частицы,
кг/м3
Определим Аrкр
предварительно вычислив число Хедстрема Не и критическое число Рейнольдса Reкр
по формуле:
12(0,01)2 1100/0,0222
= 2727
=30(1+7.84) = 2,65 · 102кр
= 18(Reкр +He/3) = 18(265+2727/3)= 21132
Так как Ar = 3.1·104 >
Arкр =21132, то скорость витания вычисляем по формуле:
в =Re*ή/ dч
*рж=1.83* (3.1·104)0,5*0.022/0.01*1100 = 0.64
м/с
При роторном бурении вынос породы
осуществляется при вращающейся колонне труб, поэтому частичка шлама имеет не
только вертикальную составляющую скорости обтекания, но и горизонтальную. При
этом экспериментально установлено, что условия выноса шлама улучшаются.
При выборе расхода промывочного
агента, необходимого для выноса шлама из кольцевого пространства, требуется
задать скорость потока, превышающую скорость витания, т.е. чтобы скорость
частицы Vч была больше нуля. На основании практических данных эту скорость
принимают равной 20 - 30 % скорости витания:
ч = (0,2 -
0,3)VВ=0,25*0.64 = 0.16 м/с
Определяем скорость потока:
п= Vч
+ Vв=0.16 + 0.64 = 0.8 м/с
Расход промывочной жидкости
. Поскольку применяется роторный
способ бурения, примем в фор- муле
коэффициент α равным 0,4
м/с. Исходя из условий всасывания, коэффициент наполнения возьмем равным 1.
2. Определяем расход промывочной жидкости из
условия выноса шлама при минимальном наружном диаметре труб бурильной колонны dн=0,127
м и заданной скорости потока vп = 0,81 м/с по формуле:
(0,2142 - 0,1272)
0,8 =0,0186 м3/с.
. Определяем расход промывочной
жидкости из условия очистки забоя скважины:
Выбор диаметра цилиндровых втулок
насоса.
По наибольшему значению Q=0,0186 м3/с
выбираем диаметр втулок буровых насосов. На практике часто из двух
установленных насосов используют один, а другой находится в резерве. Однако
если гидравлическая часть насосов будет надежной, то для подвода большей
гидравлической мощности к долоту, обеспечивая Q≥0,0186 м3/с,
целесообразно применять оба насоса. В данном примере расчеты проведены при
работе одного насоса.
Принимаем диаметр втулок 140 мм и
определяем подачу одного(n=1) насоса при коэффициенте наполнения m=1 по
формуле:
Найденная подача приемлема, так как
она не меньше подач, полученных выше по формулам. Тогда минимальная скорость
жидкости в кольцевом канале за ТБПВ
Плотность промывочной жидкости,
применяемой при разбуривании заданного интервала, следует определять, исходя из
следующих двух условий создания противодавления, препятствующего притоку в
скважину пластовых жидкостей и газов; предотвращения гидроразрыва наиболее
слабых пластов.
Исходя из условия создания
противодавления, препятствующего притоку в скважину пластового флюида,
плотность промывочной жидкости определится по формуле:
В дальнейших расчетах примем р =
1029 кг/м3
Рассчитанную по формуле плотность
необходимо
проверить на соответствие второму условию, из которого следует, что давление
промывочной жидкости в затрубном пространстве против каждого пласта
должно быть меньше давления,
необходимого для гидроразрыва данного пласта. Второе условие записывается
следующим образом:
Где,
содержание жидкости в
шламожидкостном потоке без учета относительных скоростей
РГ - давление
гидроразрыва (поглощения) пласта
- потери давления при движении
промывочной жидкости в затрубном пространстве на пути от подошвы
рассматриваемого пласта до устья скважины, Па
rш - плотность шлама, кг/м2
LП - глубина залегания
подошвы рассматриваемого пласта от устья, м
uм - механическая скорость бурения,
м/с.
Поскольку значения
и j зависят от расхода
промывочной жидкости, то проверить второе условие можно только после
установления подачи насосов.
=0.0223/0.785*0.015*0.2142+0.0223
= 0.976
Расчет потерь давления в элементах
циркуляционной системы.
Общие потери давления Dр
при движении промывочной жидкости в элементах циркуляционной системы
определяются из выражения
Где,
- потери давления на трение по
длине в трубах и кольцевом пространстве, Па
Dрмт
Dрмк -
потери давления в местных сопротивлениях в трубах и кольцевом пространстве, Па
Dр0
- потери давления в наземной обвязке, Па
Dрд
- потери давления в промывочных отверстиях долота, Па
Dрг
- разность между гидростатическими давлениями столбов жидкости в кольцевом
пространстве и трубах, Па
Для определения величины Σ
вычисляем
линейные и местные потери давления в затрубном пространстве до глубины
залегания подошвы слабого пласта. Определяем критическое значения числа
Рейнольдса
промывочной жидкости Reкр,
при котором происходит переход от структурного режима к турбулентному для
течения в кольцевом канале:
За ТБПВ
За УБТ
Вычисляем действительные числа
Рейнольдса при течении жидкости в кольцевом пространстве по формуле:
=
=4*1029*0.0233/3.14(0.214+0.127)*0.022=4071
За УБТ
3615
Так как полученные значения
, то
движение жидкости везде в кольцевом канале происходит при ламинарном режиме.
Определим числа Сен-Венана по формуле:
За ТБПВ
= 3.14*12*
*(0.214-0.127) 2(0.214+0.127)/4*0.022*0.0233
= 47
За УБТ
Определяем коэффициент bКП по графику:
Рисунок 1
За ТБПВ bКП = 0.3, за
УБТ bКП = 0.1
Рассчитываем потери давления по
длине канала:
За ТБПВ
= 4*12*1620/0.3*(0.214-0.127) = 0.73
МПа
За УБТ
Местные потери давления от замков в
кольцевом пространстве определяются из выражения:
Где,
1т - расстояние между замками, мм - наружный диаметр
замкового соединения, м- длина колонны, м
Суммируя
значение
получим :

Определяем
ρ
крпо формуле:
Так
как полученное значение ρ
кр
больше
принятого ρ=1029
кг/м3,
то условие недопущения гидроразрыва пластов выполняется.
Вычисляем
потери давления внутри бурильных труб. Для этого определяем значение
критических чисел Рейнольдса в бурильной колонне по формуле для течения
жидкости:
в
ТБПВ
у
УБТ
Вычислим
действительные числа Рейнольдса жидкости в трубах и в замковых соединениях,
составляющих бурильную колонну по формуле:
в
ТБПВ
у
УБТ
В
бурильной колонне везде действительные числа
>
, следовательно, потери давления
определяются по формуле Дерси - Вейсбаха. Рассчитываем значение коэффициентов
гидравлического сопротивления
по формуле:
Где,
k - шероховатость, примем для стенок трубного и обсаженных участков затрубного
пространства равной З х 10-4 м
в
ТБПВ
у
УБТ
Вычислим
потери давления внутри ТБПВ и УБТ бурильной колонны у УБТ по формуле:
в
ТБПВ
у
УБТ
Местными
потерями давления в приваренных концах ТБПВ пренебрегаем.
Для
секции бурильной колонны, состоящей из труб, имеющих внутреннюю высадку,
вычисляются потери давления в местных сопротивлениях внутри труб по формуле:
Где,
x -
коэффициент сопротивления
= 2
= 1.14
Площадь
поперечного сечения кольцевого канала между трубами и стенкой скважины:
= 3,14(0.2142-0.1272)/4
= 0.023 м2
∆РМТ=
1.14*1029*0.02332*1620/ 2*0.0232*12 = 0.08 МПа
Потери
давления в наземной обвязке находятся по формуле:
Где,
коэффициенты
гидравлических сопротивлений различных элементов обвязки, определяемые из
таблицы:
Перепад
Dрг
вычисляется по формуле:
.
При
промывке без углубления, когда плотность раствора на входе и выходе скважины
сравняется, DрГ
станет равным нулю.
DрГ =
(1-0.976)*(2500-1029)*9.81*1691 = 0.6 МПа
Вычислим
сумму потерь давления во всех элементах циркуляционной системы за исключением
потерь давления в долоте по формуле:
Все
потери
Определение
потерь давления в долоте. Выбор гидромониторных насадок.
Рассчитаем
резерв давления на долоте по формуле:
Где,
b - коэффициент, учитывающий рабочее давление нагнетания насосов.
-(
)=0,75* 23,3
*106-4.7 *106=12.27 МПа
Определим
возможность гидромониторного эффекта, вычислим скорость течения жидкости в
насадках долота по формуле:
Где,
m-
коэффициент расхода, значение которого следует принимать равным 0,95
Так
как
и перепад
давления
, то бурение
данного интервала возможно с использованием гидромониторных долот.
Приняв
, вычислим
перепад давления в долоте по формуле:
Таким
образом, расчетное рабочее давление в насосе составит
Определим
утечку Qу по эмпирической формуле:
.
МПа: Qу=0,0004.
Убеждаемся, что разность Q-Qу = 0,0233-0,0004=0,0229 М3/с
удовлетворяет условиям выноса шлама и очистки забоя, поскольку 0.0229 >
0.014
Находим
площадь промывочных отверстий по формуле:
Выбираем
три насадки внутренним диаметром 11 мм.
Средняя
скорость истечения бурового раствора из долотных насадок
.
Бурение многолетних мерзлых пород
Многолетней
мерзлотой (или многолетнемёрзлыми горными породами) называют горные породы,
промёрзшие на значительную глубину и не оттаивающие в течение длительного
времени - от нескольких десятков лет до многих тысячелетий. Мерзлота
формируется на суше (в горах и на равнинах), на шельфе арктических морей
(Баренцево, Карское и др.) и под ледниками. Возможность промерзания горных
пород под ледниками определяется температурой воздуха и мощностью ледника (в
толще льда температура повышается с глубиной на 2-2,5 °С на каждые 100 м).
Верхний
слой земной коры, являющийся ареалом распространения многолетней мерзлоты,
называют криолитозоной. Нижней границей криолитозоны служит изотерма 0 °С. Температура
верхних горизонтов мерзлоты в начале и конце тёплого сезона года переходит
через 0°С. В ходе циклических процессов промерзания и оттаивания в её кровле
формируется сезонно-талый слой. Если горные породы протаивают глубже этого слоя
и не промерзают в зимнее время, то кровля многолетней мерзлоты понижается и
возникают талики различного размера и глубины.
Главные
характеристики мерзлоты - распространение, мощность, льдистость и температура,
криогенные образования (формы рельефа). Их распределение в пространстве
подчиняется основным географическим закономерностям: широтной зональности,
высотной поясности и секторности.
Многолетняя
мерзлота занимает площадь ок. 10 млн. км2, или более 60% территории
России. Южная граница распространения мерзлоты проходит с северо-запада на
юго-восток от Кольского п-ова к устью р. Мезень и далее почти по Северному
полярному кругу до Урала. В Западной Сибири граница имеет субширотное
простирание: вдоль широтного отрезка р. Обь, к истокам р. Таз и далее до р.
Енисей к устью р. Подкаменная Тунгуска, где она резко поворачивает на юг. К
востоку от Енисея мерзлота распространена почти повсюду, исключая юг п-ова
Камчатка, о. Сахалин и Приморье.
В
верхней части геологического разреза многих северных районов страны залегает
толща многолетнемёрзлых пород; мощность этой толщи иногда достигает 500 м и
более. Самый глубокий предел многолетней мерзлоты отмечается в верховьях реки
Вилюй в Якутии. Рекордная глубина залегания многолетней мерзлоты - 1370 метров
- зафиксирована в феврале 1982 года.
В
состав её могут входить как хорошо связанные прочные породы (известняки,
песчаники и т.п.), так и породы несвязанные (пески, галечники и т.п.),
единственным цементирующим материалом для которых является лёд.
При
бурении в толще многолетнемёрзлых пород возникают следующие осложнения:
* Интенсивное кавернообразование (Кк>1,5)
в интервалах залегания ММП и низкотемпературных талых пород (НТП), осыпи,
обвалы пород, приводящие к прихвату, слому бурильного инструмента; размыв,
провалы фундамента под буровой установкой в результате протаивания мёрзлых
пород, прилегающих к поверхности.
* Протаивание, размыв ММП и МТП за
направлением, кондуктором, проникновение БР в затрубное пространство, в том
числе соседних близкорасположенных скважин при бурении с поглощением БР с
частичной или полной потерей его циркуляции в стволе, грифонообразовании.
* Недопуск обсадных колонн до
проектной глубины, неподъём цемента за направлением, кондуктором,
разгерметизация резьбовых соединений, смятие обсадных колонн, насосно-компрессорных
труб в случае обратного промерзания при длительных простоях, консервации
скважин.
* Примерзание спускаемых обсадных
колонн к стенке скважины в интервале залегания ММП в зимний период.
* Выбросы БР, воды, газа из-за наличия
зажатых между мёрзлых вод и пропластов гидратов.
Эксплуатационная колонна в интервалах залегания
ММП должна состоять из труб, выдерживающих давления, которые возникают при
обратном промерзании затрубных и межтрубных пространств. При использовании труб
меньшей прочности должны осуществляться специальные мероприятия (управляемое
замораживание затрубного пространства, периодические прогревы и др.),
предотвращающие смятие колонн и нарушение резьбовых соединений при обратном
промерзании.
Основным способом предотвращения осложнений при
бурении в ММП является сохранение отрицательной температуры стенок скважины.
Для этой цели применяют различные буровые среды: от охлаждённого воздуха и
буровых растворов до устойчивой пены. При использовании буровых растворов на
водной основе приходится также решать проблему предупреждения замерзания
раствора при длительном прекращении промывки.
После разбуривания всей толщи ММП ствол скважины
закрепляют обсадной колонной, башмак которой устанавливают на 50 метров ниже
глубины промерзания. При цементировании следует подбирать цементы с низкой
температурой гидратации, низкой теплопроводностью и высокой скоростью выделения
тепла при гидратации. В газовых и газоконденсатных скважинах кольцевое
пространство между кондуктором и стенками ствола скважины рекомендуется
герметизировать с помощью пакера, устанавливаемого в 10-20 м от башмака. Это
позволяет предотвратить прорыв в заколонное пространство и образование грифонов
вокруг устья скважин, что часто наблюдается при растеплении мёрзлых пород.
Учитывая, что зона ММП, как правило, состоит из
рыхлых и неустойчивых пород, большое значение имеет продолжительность бурения
под кондуктор, которая должна составлять не более 3 суток. За это время при
применении качественного глинистого раствора с температурой не выше 50 оС
осложнений, как правило, не бывает, и спуск колонны происходит нормально. Если
же продолжительность бурения по каким-либо причинам увеличивается до 4-5 суток
и более, то возникают обвалы и необходимость в многократных проработках.
В мерзлых породах различают три
вида криогенной текстуры: массивную в которой кристаллы льда заполняют поровое
пространство, слоистую, когда лед в виде ориентированных в одном направлении
линз и прослоек участвует в формировании мерзлой породы, и сетчатую, когда
линзы и жилы льда ориентированы беспорядочно.
В составе мерзлой породы может
находиться незамерзающая поровая вода с различной степенью минерализации.
Количество этой воды зависит от температуры и вещественного состава. Считают,
что тонкодисперсные мерзлые глины могут содержать незамерзшую воду даже при
температуре минус 100°С.
Одной из основных характеристик ММП, от которой
зависит степень осложненности условий при сооружении скважин, является их
льдистость. Льдистость - отношение веса льда к весу сухой породы. Льдистой уменьшается
с глубиной, для верхней части разреза в ряде случаев доходит до 60%. Известны
случаи вскрытия скважиной пластовых залежей льда мощностью до 20 м. При высокой
льдистости в случае протаивания породы часть порового пространства
освобождается, что способствует обрушению стенок скважины. С другой стороны при
низкой льдистости теплоемкость пород невелика, и поэтому при тепловом
воздействии они разрушаются быстрее. Наиболее полно мерзлую породу
характеризует избыточная льдистость, т.е. содержание льда в объеме, превышающем
пористость. Если избыточная льдистость близка к нулю, то частицы пород плотно
прилегают друг к другу, и несущую способность обеспечивает скелет породы.
Протаивание в этом случае почти не приводит к осложнениям при бурении.
При бурении в интервалах
распространения ММП в результате совместного физико-химического воздействия и
эрозии на стенки скважины сцементированные льдом песчано-глинистые отложения
разрушаются и легко размываются потоком БР. Это приводит к интенсивному
кавернообразованию и связанным с ним обвалам и осыпям горных пород.
Наиболее интенсивно разрушаются
породы с низким показателем льдистости и слабоуплотненные породы. Теплоемкость
таких пород невысокая, и поэтому их разрушение происходит существенно быстрее,
чем пород с высокой льдистостью.
Среди мерзлых пород встречаются
пропластки талых пород, многие из которых склонны к поглощениям БР, при
давлениях, незначительно превышающих гидростатическое давление столба воды в
скважине. Поглощения в такие пласты бывают весьма интенсивные и требуют
специальных мероприятий для их предупреждения или ликвидации.
В интервале распространения ММП
трудно обеспечить цементирование и крепление ствола вследствие создания
застойных зон БР в больших кавернах, откуда его невозможно вытеснить тампонажным
раствором. Цементирование зачастую одностороннее, а цементное кольцо
несплошное. Это порождает благоприятные условия для межпластовых перетоков и
образования грифонов, для смятия колонн при обратном промерзании пород в случае
длительных «простоев» скважины.
Температура ММП колеблется в пределах от 0 до
-10 оС. При низких температурах протаивание ММП, естественно,
меньше, и кавернообразование в них меньше при прочих равных условиях. В то же
время при низких температурах значительно быстрее проходит процесс обратного
промерзания талых пород. В результате в стволе скважины при длительных
остановках образуются ледяные пробки, а если в скважине находится колонна
бурильных труб, то она примерзает к стенкам ствола, т.е. происходит прихват.
Вместе с тем следует учесть, что промерзание пород происходит в 3-5 раз
медленнее, чем их протаивание.
При охлаждении льда, находящегося в замкнутом
объеме, на 10С давление повышается на 13,43 МПа. Следовательно, чем
ниже температура ММП, тем большие усилия действуют на колонну обсадных труб при
обратном промерзании пород. Это может привести к смятию и поломке колонн.
Любые горные породы, находящиеся на
соответствующей глубине, могут быть многолетнемерзлыми, но только несвязные,
или со слабыми минеральными связями (пески, супеси), легко разрушаются при
бурении с образованием каверн. Глинистые породы, а тем более породы с
минеральными связями, имеющие отрицательную температуру, в процессе бурения
остаются устойчивыми, ствол скважины сохраняет номинальный диаметр, а осложнения
маловероятны.
Из-за наличия в открытом стволе
скважины бурового раствора, а в ММП - поровой жидкости с определенной степенью
минерализации наступает процесс самопроизвольного выравнивания концентраций под
действием осмотического давления. В результате этого может происходить
разрушение мерзлой породы. Если БР будет иметь повышенную по сравнению с
поровой водой концентрацию какой-нибудь растворенной соли, то на границе лед -
жидкость начнутся фазовые превращения, связанные с понижением температуры
плавления льда, т.е. начнется процесс его разрушения. Так как устойчивость
стенки скважины зависит в основном ото льда, как цементирующего породу
вещества, то в этих условиях устойчивость ММП, слагающих стенку скважины, будет
потеряна, что может явиться причиной осыпей, обвалов, образования каверн и
шламовых пробок, посадок и затяжек при СПО, остановок спускаемых в скважину
обсадных колонн, поглощений.
Если степени минерализации БР и
поровой воды ММП одинаковы, то система скважина - порода будет находиться в
изотоническом равновесии, и разрушение ММП под физико-химическим воздействием
маловероятно.
С увеличением степени
минерализации БР возникают условия, при которых поровая вода с меньшей
минерализацией будет перемещаться из породы в скважину. Из-за потерь иммобилизованной
воды механическая прочность льда будет уменьшаться, лед может разрушиться, что
приведет к образованию каверны в стволе бурящейся скважины. Этот процесс
интенсифицируется эрозионным воздействием циркулирующего бурового раствора.
Отмечается, что с увеличением
концентрации соли в омывающей лед жидкости разрушение льда интенсифицируется.
На процесс разрушения льда оказывает влияние также длительность воздействия
соленого БР.
Следовательно, чтобы свести к
минимуму отрицательное влияние физико-химических процессов на состояние ствола
бурящейся в ММП скважины, необходимо, в первую очередь, обеспечить равновесную
концентрацию на стенке скважины компонентов БР и внутрипоровой жидкости в ММП.
Для исключения физикохимических процессов
необходимо обеспечить одинаковую минерализацию БР и поровой воды ММП. Однако
добиться этого трудно, поэтому чаще используются растворы, создающие на стенках
скважины малопроницаемую пленку. Так, например, при замене промывки скважины
соленой водой на глинистый раствор высокой вязкости с той же концентрации соли,
интенсивность разрушения льда снижается в несколько раз.
Для предупреждения
кавернообразования, разрушения устьевой зоны, осыпей и обвалов при бурении
скважин в ММП, БР должен отвечать следующим основным требованиям:
v обладать низким показателем
фильтрации;
v содержать количество солей,
равновесное с жидкостью в ММП;
v обладать способностью создавать
на поверхности льда в ММП плотную, непроницаемую пленку;
v обладать низкой эрозионной
способностью;
v иметь низкую удельную теплоемкость;
v образовывать фильтрат, не
создающий с жидкостью породы истинных растворов;
v быть гидрофобным к поверхности
льда.
Бурящаяся скважина вступает с
окружающими мерзлыми породами не только в физико-химическое взаимодействие.
Чаще наиболее мощным фактором, влияющим на устойчивость стенок ствола скважины
в ММП, является тепловое воздействие скважинного флюида на состояние мерзлой
породы.
Имеющий обычно положительную
температуру БР расплавляет лед в примыкающих к скважине ММП, в результате чего
связность частиц породы друг с другом нарушается, стенка скважины теряет
устойчивость и разрушаются. Чем выше температура БР, тем интенсивнее процесс
кавернообразования, осыпи, обвалы, поглощения при проходке ММП.
Однако даже при использовании
таких систем, требующих значительного усложнения техники и технологии буровых
работ, процесс кавернообразования наблюдается при положительных температурах в
циркуляционном потоке, особенно при разбуривании песчаников, сцементированных
льдом. Поэтому, наряду с применением систем, не растворяющих лед, для
предотвращения разрушения прискважинной зоны ММП необходимо регулировать в
определенных пределах температуру используемого при бурении промывочного
агента.
Бурение в ММП возможно с использованием в
качестве очистного агента:
·
бурового
раствора с отрицательной температурой;
·
охлажденного
воздуха, аэрированных жидкостей, пен;
·
бурового
раствора с положительной температурой, но с применением специальных технологий.
В первом случае могут быть использованы растворы
как на углеводородной, так и водной основе. В качестве противоморозных добавок
в водные растворы вводятся электролиты: NaCl, KCl, CaCl2, Na2Br4O7,
Na2CO3, Na2NO3. С повышением их
концентрации температура замерзания раствора, естественно, снижается и может
быть доведена до -16 С. Однако при этом возрастает скорость растворения льда.
Для получения требуемых свойств в раствор вводятся: глинопорошок, гипан, КМЦ,
ПДА. Введение противоморозных добавок существенно снижает стабильность
растворов, в результате происходит их разделение на твердую и жидкую фазы.
Кроме того, в летнее время охлаждение раствора до отрицательных температур
затруднено.
Наиболее благоприятны с точки
зрения недопущения разрушения ММП: пены, воздух, эмульсии и растворы на
нефтяной основе. Такого рода БР незначительно отфильтровывают жидкость в поры
породы, нейтральны по отношению ко льду, обладают пониженной теплоемкостью.
Аэрированные жидкости и пены имеют ряд
существенных преимуществ как промывочные агенты. При их применении
гидростатическое давление в скважине мало, что приводит к возрастанию
механической скорости бурения, повышает износостойкость долот. Введение в
газожидкостную смесь ПАВ: ПАА, КМЦ, гипана, сульфонола, глинопорошка,
смазывающих, противоморозных, ингибирующих добавок позволяет получить буровые
растворы с требуемыми свойствами и регулировать их в широких пределах. При
замерзании аэрированных растворов и пен в кольцевом и межколонном пространствах
разрушения колонн обсадных труб не происходит, так как растворы сохраняют
ячеистую структуру, а примерзший буровой инструмент достаточно легко
извлекается из скважины. При цементировании пена легко вытесняется из
заколонного пространства, что повышает качество крепления скважин.
Сжатый воздух не замерзает при
бурении в мерзлых породах, не отфильтровывает жидкость в поры мерзлоты,
обладает низкой удельной теплоемкостью.
Необходимые для очистки
скважины массовые расходы воздуха обычно в 15-25 раз, а теплоемкость в 4 раза
меньше, чем для БР. Энтальпия воздуха при одной и той же начальной температуре
в 60-100 раз меньше энтальпии промывочной жидкости. Это существенно уменьшает
опасность осложнений, связанных с протаиванием мерзлых пород. Воздух
значительно эффективнее солевого раствора, который, хотя и не замерзает в
скважине, легко может нарушить естественное агрегатное состояние мерзлых пород.
Сжатый воздух, снижая опасность
и остроту осложнений, связанных с протаиванием пород, не устраняет эти
осложнения полностью. На выходе из компрессора он имеет повышенную температуру
(70-80 °С), в результате чего отмечались случаи протаивания мерзлоты и
возникали осложнения.
Газожидкостные системы (ГЖС),
используемые при бурении как промывочные агенты, делятся на аэрированные
жидкости и пены.
Аэрацией называется процесс насыщения жидкости
воздухом, реже другими газами. При этом газообразная фаза рассматривается как
дисперсная, а жидкая - как непрерывная дисперсионная среда.
Объемное соотношение газообразной VГ
и жидкой VЖ фаз называется степенью аэрации a
= VГ/VЖ. Для АПЖ a < 60, для пен a
= 60 - 300.
Химический способ приготовления ГЖС обеспечивает
вспенивание (аэрацию) жидкости при обработке ее ПАВ-пенообразователями и
перемешивании. Оптимальные добавки ПАВ - пенообразователей составляют 0,1-0,4 %
к объему жидкой фазы.
Основным отличительным свойством аэрированных
промывочных жидкостей (АПЖ) и пен является их низкая плотность. При атмосферном
давлении плотность АПЖ может составлять 100 - 1000 кг/м3, пен - 50 -
100 кг/м3.
Пены - это многофазные
дисперсные системы, где дисперсионной средой служит жидкость, а дисперсной
фазой - газ, который составляет до 99% объема системы. Пузырьки газа разделены
тонкими пленками воды. В аэрированных жидкостях концентрация газа значительно
ниже, его пузырьки, имеющие сферическую форму, не контактируют между собой.
Существенные технологические преимущества систем жидкость - газ обусловливаются
следующим. Присутствие газовой фазы способствует снижению в широком диапазоне
гидростатического давления столба БР, обеспечивает лучшие условия удаления из
скважины шлама и т.д.
В настоящее время быстро
распространяется применение пен, в результате чего резко сокращается число
осложнений, особенно прихватов бурового инструмента при бурении скважин. Пены
обладают высокой несущей и выносной способностью при малой скорости восходящего
потока в затрубном пространстве - почти в 10 раз меньшей, чем при бурении
скважин с продувкой сжатым воздухом. Схема растоложения технических средств для
использования пен приведена на рисунке 2.
Успех проходки зон поглощений с
пеной определяется кольматирующим эффектом, в десятки раз меньшим по сравнению
с водой давлением столба пены на пласт. При использовании пен для проходки
поглощающих пород расход глины сокращается в 5-6 раз, многократно снижается и
расход воды, что имеет важное значение для районов Крайнего Севера, особенно в
зимних условиях. Гидрофобность сухих пен позволяет использовать их для бурения
в глинистых породах, способных к обрушению при взаимодействии с водой.
Применение пен обеспечивает минимальное загрязнение окружающей среды.
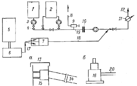
Рис. 2 - Схема расположения
технических средств для использования пен: 1-обычный компрессор; 2-дожимной
компрессор; 3-обратный клапан; 4-задвижка; 5-емкость для бурового раствора;
6-насос для подачи глинестого раствора; 7-дозируюший насос; 8-линия для сброса
воздуха; 9-регулирующий штуцер; 10-диаграмма дифференциального манометра;
11-манометр; 12-стояк; 13-уплотнительная головка; 14, 20-линия для сброса пен;
15-напровление или кондуктор; 16-устьевое оборудование; 17-напровление движения
бурового раствора и поверхностно активных веществ; 19-напровление движения
воздуха.
В последние годы в
отечественной и зарубежной практике бурения скважин на нефть и газ для
получения пен все чаще используется азот. Газ инертен, не горюч, содержание его
в атмосфере 78 %. На буровые азот доставляют в сжиженном виде в специальных
контейнерах. При его вводе в БР образуется пена. Содержание азота в растворе
изменяют от 50 до 95 % в зависимости от решаемой технологической задачи. Для
придания стабильности в состав пен вводят ПАВ. При вводе азота до 65 % БР имеет
низкую вязкость, при 85 % и более пена с трудом закачивается в скважину
насосом, при увеличении содержания азота выше 96 % образуется туман. Такие
системы позволяют успешно проходить зоны поглощений в трещиноватых и пористых
породах, предотвращают обрушение пород и сокращают время на вызов притока из
продуктивных пластов.
В целом применение в качестве очистных агентов
жидкостей с отрицательной температурой, аэрированных жидкостей и пен
практически не всегда возможно при бурении основной части ствола глубокой
скважины, а замена раствора после проходки ММП приводит к существенному
удорожанию работ. В связи с этим в подавляющем большинстве случаев бурение
скважин на нефть и газ в ММП осуществляется с промывкой буровым растром с
положительной температурой.
БР с малым содержанием твердой
фазы. Они обязательно содержат флокулирующий реагент. В раствор с малым
содержанием твердой фазы не рекомендуется вводить химические
реагенты-пептизаторы. В отличие от них малоглинистые растворы содержат, кроме
глины и воды, реагенты-стабилизаторы, которые вводятся для контроля за
водоотдачей. Эти растворы характеризуются быстрым изменением плотности,
вязкости и других свойств в результате перехода в раствор частиц выбуренной
породы. К малоглинистым растворам относят растворы с содержанием глины не более
5%.
Использование растворов,
содержащих только техническую воду и глину, в настоящее время нерационально.
Такая система может быть рекомендована только для получения пресных промывочных
жидкостей с применением высококачественного бентонитового порошка и в тех
случаях, когда возникает необходимость контролировать вязкость и статическое
напряжение сдвига.
Среди мерзлых пород встречаются
пропластки талых пород, многие из которых склонны к поглощениям БР, при
давлениях, незначительно превышающих гидростатическое давление столба воды в
скважине. Поглощения в такие пласты бывают весьма интенсивные и требуют
специальных мероприятий для их предупреждения или ликвидации.
Температура ММП колеблется в пределах от 0 до
-10 С. При низких температурах протаивание ММП, естественно, меньше, и
кавернообразование в них меньше при прочих равных условиях. В то же время при
низких температурах значительно быстрее проходит процесс обратного промерзания
талых пород. В результате в стволе скважины при длительных остановках
образуются ледяные пробки, а если в скважине находится колонна бурильных труб,
то она примерзает к стенкам ствола, т.е. происходит прихват. Вместе с тем
следует учесть, что промерзание пород происходит в 3-5 раз медленнее, чем их
протаивание.
При охлаждении льда, находящегося в замкнутом
объеме, на 1 С давление повышается на 13,43 МПа. Следовательно, чем ниже
температура ММП, тем большие усилия действуют на колонну обсадных труб при
обратном промерзании пород. Это может привести к смятию и поломке колонн.
Любые горные породы, находящиеся на
соответствующей глубине, могут быть многолетнемерзлыми, но только несвязные,
или со слабыми минеральными связями (пески, супеси), легко разрушаются при бурении
с образованием каверн. Глинистые породы, а тем более породы с минеральными
связями, имеющие отрицательную температуру, в процессе бурения остаются
устойчивыми, ствол скважины сохраняет номинальный диаметр, а осложнения
маловероятны.
Для уменьшения времени контакта раствора с
породой используются так называемые удлиненные направления, перекрывающие
интервалы неустойчивых ММП сразу же после их вскрытия. Длина этих направлений
доходит до 200-300 м. Башмак их устанавливается в устойчивых глинистых породах.
Этот метод хотя и усложняет конструкцию скважины, но существенно уменьшает
кавернообразование.
Кроме нарушения устойчивости стенок скважины в
ММП возможны и другие осложнения. К их числу относятся:
· низкое качество цементирования;
· провалы приустьевых площадок;
· разрыв и смятие колонн обсадных
труб.
Низкое качество цементирования связано с тем,
что в скважине образуются каверны большого размера. Цементный раствор при
тампонировании не вытесняет полностью БР, а движется в виде «языка». В
результате часть кольцевого пространства оказывается незацементированным, что в
дальнейшем при бурении и эксплуатации скважины может привести к тяжелым
последствиям (проседание колонн обсадных труб, заколонные проявления, провалы
приустьевых площадок). Кроме того, на контакте ММП и цементного раствора может
произойти его замерзание до начала схватывания, а при дальнейшем растеплении -
нарушение герметичности колонн. Во избежание этих явлений необходимо исключить
кавернообразование теми методами, которые указывались ранее, а также:
· затворять цемент при повышенной
температуре воды;
· повысить температуру внутри колонны
обсадных труб в период ОЗЦ путем циркуляции нагретой жидкости, или другими
методами;
· применять тампонажные смеси,
выделяющие при схватывании тепло, достаточное для поддержания необходимой
температуры;
· использовать тампонажные смеси,
схватывающие при отрицательных температурах.
Неустойчивость приустьевых площадок проявляется
в виде провалов вокруг устья скважины и перекоса оснований буровых установок.
Первое явление связано с размывом направлений или кондукторов и образованием в
результате этого каверн большого размера. Следовательно, для предотвращения
провалов необходима установка башмаков колонн в глинистых породах и
качественное цементирование. Снизить вероятность размыва направления можно за
счет снижения гидравлических потерь в кольцевом пространстве. Для этого вывод
восходящего потока бурового раствора из кольцевого пространства обеспечивается
на уровне дневной поверхности, а подача его в систему очистки осуществляется с
помощью шламового насоса.
Перекос оснований буровых происходит в
результате значительных нагрузок на грунт. Это приводит к растрескиванию ММП,
по образовавшимся трещинам начинает циркулировать вода, происходит протаивание
грунта, а затем проседание основания. Для предотвращения этого явления
необходимо уменьшить удельную нагрузку на грунт путем увеличения площади
основания.
Разрыв и смятие колонн обсадных труб происходит
при обратном промерзании пород. Как показывает практика, при температуре ММП
до-2 С и наличии двух колонн обсадных труб (кондуктор, эксплуатационная
колонна), эти осложнения маловероятны. При более низких температурах необходимо
использовать трубы с большей толщиной стенки и более высокой группой прочности
материала.
Месторождение находится в зоне распространения
многолетнемерзлых пород. В среднем толщина этой зоны составляет 450-480 м
Климат района работ арктический: суровая продолжительная зима, короткое
прохладное лето. Среднегодовая температура воздуха отрицательная - (-10,
-11°C).
Бурение производится с БУ
3900/225 ЭКБМ с применением системы верхнего привода, направляющим долотом Ø555
МЦВ
с расширителем РШБ-915 МС и утяжеленной бурильной трубой УБТ-240. Бурение
осуществляется с промывкой вязкоупругим буровым раствором, обработанным
полиакриломидными реагентами, что обеспечит устойчивость ММП благодаря
возможности связывания свободной воды и качественный вынос разбуренной горной
породы. Углубление шурфа осуществляется на длину термокейса с учетом спуска его
верхней части ниже уровня поверхности земли на 1,2 м. Спуск термокейса
осуществляется на допускном патрубке (из бурильной трубы) расчетной длины.
Перед началом цементирования термокейс центрируется. Цементирование
производится способом прямой заливки цементно-песчанной смесью с добавлением
ускорителей схватывания цементного раствора. Рецептура ЦПС подбирается
лабораторным путем в условиях буровой.
Рис. 3 - Термокейс
После ОЗЦ (определяется по
затвердеванию проб ЦПС) устье скважины оборудуется шурфовой шахтой, согласно
указанных размеров.
Фактические технические параметры
термоизолирующей трубы (термокейса).
Технические параметры.
• Термокейс (рис. 3) предназначен для
предотвращения растепления устьевой части скважины в процессе бурения и
последующей эксплуатации скважины.
• Термокейс представляет собой
изолированную нефтепроводную трубу с внутренним диаметром 516 мм, длинной 21,17
м с внешней оболочкой из трубы 880 мм.
• Внешнее пространство сверху и снизу
изолировано при помощи сварки кольцевыми накладками, внутренняя полость
заполнена пенополиуританом.
• Термокейс спущен в скважину диаметром
1050 мм, зацементирован на всю длину.
• Сверху на термокейс установлен короб,
изготовленный из железного листа толщиной 8 мм, короб с термокейсом обварен
сплошным сварным швом
• Верхняя часть термокейса развальцована,
для свободного прохождения долота и бурильного инструмента.
• Территория вокруг термокейса засыпана
песком и спланирована с уклоном к центру термокейса.
• Термокейс и короб пригодны для
дальнейшей эксплуатации.
До начала бурения шурфа, устье
оборудуется шахтой размерами 1,5 м ×
2,0 м ×
1,2 м стенки шахты крепятся листовым железом δ=8
мм или бетонируются. Внутри шахты устанавливается ВШН-150 для откачки бурового
раствора при бурении шурфа и буровых сточных вод в процессе строительства
скважины.
Список использованных источников
1. Заливин В.Г. Осложнение и
ликвидация аварий при бурении нефтяных и газовых скважин "Причины
возникновения, предупреждение и ликвидация осложнений при строительстве
нефтегазовых скважин " Иркутск 2011 г.
. Заливин В.Г. Осложнение и
ликвидация аварий при бурении нефтяных и газовых скважин "Учебное пособие
по курсовому проектированию" Иркутск 2007 г.
. Заливин В.Г. Осложнение и
ликвидация аварий при бурении нефтяных и газовых скважин. "Методические
рекомендации по выполнению практических занятий" Иркутск 2007 г.
. Басарыгин Ю.М., Булатов
А.И., Проселков Ю.М. "Осложнения и аварии при бурении нефтяных и газовых
скважин". 2000г.
. Ганджумян Р.А., Калинин
А.Г., Сердюк Н.И. "Расчеты в бурение". Москва 2007 г.