Расчёт одноступенчатого конического редуктора
Аннотация
В данном курсовом проекте представлен расчёт одноступенчатого конического
зубчатого редуктора. Проводится выбор электродвигателя, исходя из мощности на
выход валу двигателя, частоты вращения выходного вала и рассчитанного
коэффициента полезного действия ( КПД ), выбор материала зубчатых колёс,
определяется допускаемые контактные напряжения и изгибные, определяются
основные параметры передачи, предварительные диаметры валов, выбор подшипников,
рассчитывается на прочность и выносливость выходной вал редуктора и шпоночные
соединения, определяется ресурс подшипников.
The
summary
In the given course project the account of the single-stage
cylindrical toothed reduction gearbox is represented. The choice of the
electric motor is carried out , proceeding from a potency on an output to the
shaft of a drive, frequency of rotation of the target shaft and designed
efficiency , choice of a material of toothed sprockets, is determined supposed
contact voltages and flexural, the main parameters of transfer, preliminary
diameters of shaft, choice of bearings are determined, the target shaft of the
reduction gearbox and шпоночные of junction settles up on
strength and endurance, the resource of bearings is determined.
Введение
Редуктором называют механизм, состоящий из зубчатых или червячных
передач, выполненный в виде отдельного агрегата и служащий для передачи
мощности от двигателя к рабочей машине.
Назначение редуктора - понижение угловой скорости и повышение вращающего
момента ведомого вала по сравнению с валом ведущим. Конические редукторы
применяют для передачи движения между валами, оси которых пересекаются.
Редуктор состоит из корпуса, в котором помещают элементы передачи -
зубчатые колеса, валы, подшипники и т.д. В отдельных случаях в корпусе
редуктора размещают также устройства для смазки зацеплений и подшипников.
В данном курсовом проекте необходимо: произвести кинематический расчёт
передачи, выбрать материал зубчатых колес и определить допускаемые контактные и
изгибные напряжения, определить основные параметры передачи, исходя из критерия
контактной выносливости, рассчитать геометрию передачи, определить окружную
скорость в зацеплении, найти усилия, действующие в зацепление и проверить
передачу на контактную и изгибную выносливость, определить ориентировочный
диаметр валов, ориентировочно наметить диаметры вала для установки на валах
подшипников качения, выполнить эскизную компоновку выходного вала, рассчитать
на прочность и выносливость выходной вал редуктора, определить ресурс выбранных
ранее подшипников, произвести расчёт на прочность шпоночных соединений с валом.
Графическая честь представляет собой сборочный чертёж конического редуктора
со спецификацией деталей и рабочие чертежи указанных в задании деталей.
1.
Кинематический расчёт
Исходные данные к проекту:
Схема 6; Вариант 3;
Вид передачи: прямозубая;
Мощность на выходном валу редуктора: N2= 15 000 Вт;
Частоту вращения тихоходного вала:
n2=
230 об/мин;
Срок службы передачи:= 3 000 часов.
Рис. 1. Кинематическая схема привода с коническим одноступенчатым
редуктором: 1 - электродвигатель; 2 - упругая муфта; 3 - ведущий вал; 4 -
ведомый вал.
.1 Определение КПД редуктора
Общий КПД редуктора равен, произведению КПД последовательно соединенных
подвижных звеньев, определяется по формуле:
η = η12 η2 η3.; η = 0,992 · 0,98 · 0,98 = 0,94,
где η 1 =0,99 - КПД одной пары подшипников;
η 2 =0,98 - КПД конических зубчатых
колес;
η3 =0,98 - КПД муфты.
.2 Определение требуемой мощности электродвигателя
N1 = , N1 =
= 15936 Вт,
где
N2 - мощность на тихоходном валу, Вт;
.3
Выбор электродвигателя
Принят
асинхронный электродвигатель4A200M8У3, номинальные параметры, которого равны:
n1 = 730 мин -1
- частота вращения вала;
NЭД = 18,5 кВт -
номинальная мощность электродвигателя;
2,0 -
коэффициент перегрузки;
.4
Определение передаточного числа редуктора
где
n1 - частота вращения ведущего (быстроходного) вала,
мин -1;
n2 - частота
вращения ведомого (тихоходного) вала, мин -1.
u = = 3,17.
Ближайшее
значение по ГОСТ 2185-81 u =3,15.
1.5
Вращающий момент на быстроходном (ведущем) валу редуктора
T1 = 9,55 ∙
, T1 = 9,55 · = 208 Нм.
Вращающий
момент на тихоходом (ведомом) валу:
,
= 3,17 ·
208 · 0,94 = 623 Нм.
.6
Угловая скорость ведущего вала:
,
· 730 = 76
.
Угловая
скорость ведомого вала
,
· 230 = 24
2.
Выбор материала зубчатых колёс редуктора
Так как в задании нет особых требований в отношении габаритов передачи,
приняты материалы со средними механическими характеристиками (см. гл.3, табл.
3.3[8]):
для шестерни : сталь : 45
термическая обработка : улучшение
твердость, HB : 260
- для колеса : сталь : 45
термическая обработка : улучшение
твердость, HB : 230
.1 Пределы контактной и изгибной выносливости зубьев шестерни:
= 2 ∙
НВı + 70 = 2 · 260 + 70 = 590 МПа;
= 1,8 ∙
НВı = 1,8 · 260 = 468 МПа.
колеса:
= 2 ∙
НВ₂ + 70 = 2 · 230 + 70 = 530 МПа;
= 1,8 ∙
НВ₂ = 1,8 · 230 = 414МПа.
.2
Определение коэффициента долговечности, при расчете на контактную выносливость
Расчетное
число циклов напряжений, при заданном сроке службы:
60 · 730
· 3 000 = 131 · 106 циклов;
60 · 230
· 3 000 = 41 · 106 циклов, где
3 000
часов - заданное число часов работы привода.
ZHL = 1 -
коэффициент долговечности, учитывающий влияние срока и режима нагрузки
передачи, так как
, где
= 20 ·
106 - базовое число циклов напряжений, при термической обработке -улучшение.
.3
Допускаемые контактные напряжения
для
материалов шестерни:
· 1 = 536
МПа. .
для
материалов колес:
· 1 = 482
Где
SH min = 1,1- минимальный коэффициент запаса прочности,
зависящий от вида термической обработке материала.
Для прямозубых колес в качестве расчетного допустимого контактное
напряжение принято наименьшее из допускаемых напряжений:
[σн]= 482 МПа.
.4 Допускаемые изгибные напряжения
для материала шестерни:
∙ 1
∙ 1 = 267 МПа;
для
материала колеса:
∙ 1
∙ 1 = 237 МПа
Где
SFmin = 1,75 - минимальный коэффициент запаса прочности,
зависящий от способа изготовления заготовки колеса. (для зубчатых колёс,
изготовленных из поковок);
YN = 1 -
коэффициент долговечности, при длительно работающей передаче;
Yα = 1 - коэффициент, учитывающий влияние двухстороннего приложения
нагрузки (при одностороннем приложении нагрузки).
В
качестве расчетного допустимого изгибного напряжение принято наименьшее из
допускаемых напряжений:
237 МПа.
3.
Определение внешнего делительного диаметра колеса по критерию контактной
выносливости
.1 Определение внешнего делительного диаметра колеса по критерию
контактной выносливости:
,
где
Kd =165 - вспомогательный коэффициент;
0,85 -
коэффициент формы зуба (п.4.5. [8], таблица 4.14);
1,08 -
коэффициента, учитывающего неравномерность распределения нагрузки по длине
контактных линий, связанную с деформацией валов и самих зубьев колес, зависящего
от
и схемы расположения колёс относительно опор.
(таблица 4.3. [8])
-
коэффициент ширины венца зубчатого колеса относительно диаметра:
0,166 ∙ = 0,55.
de2*=165 ∙
= 365 мм
По
ГОСТ 12289-76 (табл. 4.13 [8])
355 мм.
Значение
b = b1 = b2 = 55 мм - ширины венцов зубчатых колёс, определяется
в зависимости от внешнего делительного диаметра
и
передаточного числа u, по ГОСТ 12289-76.
.2
Определение числа зубьев колеса (по эмпирической формуле (4.37) [8]).
Где
С = 18 - числовой коэффициент, зависящий от вида упрочнения зубьев (по таблице
4.14 [8]).
Z2* =18 ∙
∙ = 76,0;
Принято
Z2= 76.
.3
Определение числа зубьев шестерни
Z1= = = 23,9;
Принято
24.
.4
Определение фактического передаточного числа.
;
= 3,17
Отклонение
от ранее принятого значения нет
4.
Геометрический расчет зубчатых колёс редуктора
Рис. 2. Основные геометрические параметры конической передачи
.1 Углы делительных конусов
колеса:
3,17 = 72,47º = 72º 28´;
шестерни:
90 − 72,47 = 17,53º = 17º 32´.
.2
Внешнее, конусное расстояние:
, Re =
= 186,14 мм.
.3Среднее,
конусное расстояние
,
Rm = 186,14 − 0,5 · 55 = 158,64 мм.
4.4
Внешний, окружной модуль:
;
= 4,67 мм.
Внешний
окружной модуль для конических колёс с прямыми зубьями округляют до
стандартного значения (ГОСТ 9563-60),принят
4,50 мм.
.5
Средний окружной модуль
;
mnm= = 3,84 мм.
.6
Внешние делительные диаметры
;
4,50 · 24 = 108,00 мм,
4,50 · 76
= 342,00 мм.
.7
Внешние диаметры вершин зубьев
+ 2 ·
me · cosδ
= 108,00
+ 2 · 4,50 · cos17,53 = 116,58 мм,
= 342,00
+ 2 · 4,50 · cos72,47 = 344,71 мм.
.8
Средние, делительные диаметры
;
d1 = = 92,04 мм,
d2 = = 291,47
мм,
где
= 0° угол наклона линии зубьев.
.9. Окружная скорость в зацеплении
;
υ = = 3,52 м/с.
При такой скорости, для колес прямозубых, принята 8-я степень точности.
5.
Определение сил, действующих в зацеплении
.1 Окружная сила
Ft1 = Ft2 =
Ft = = = 4274 ≈ 4280 Н.
.2
Осевая сила на шестерне, равная радиальной силе на колесе
Fа1 = Fr2 = Ft·tgα·sinδı= 4280·0,364·0,301=469≈470 Н.
.3 Радиальная сила на шестерне, равная осевой силе на колесе
Fr1 = Fa2 = Ft·tgα·соsδı=4280·0,364·0,954=1486≈1490
Н.
подшипник
вал зацепление колесо
6.
Проверка на контактную выносливость и изгибную прочность зубьев
.1 Проверочный расчёт передачи на контактную выносливость.
Расчетное напряжение, из условия обеспечения контактной выносливости
зубьев
Где
- коэффициент нагрузки, при проверке на контактную
выносливость:
,
где
1,00 - коэффициент, учитывающий неравномерность
распределения нагрузки между зубьями (п. 4.3. [8]);
1,08 -
коэффициент, учитывающий неравномерность распределения нагрузки по длине
контактных линий, связанную с деформацией валов и самих зубьев колес (по Табл.
4.3. [8]);
1,08 -
коэффициент, учитывающий динамическую нагрузку, возникающую в зацеплении (по
Табл. 4.6. [8]);
1,00 ·
1,08 · 1,08 = 1,17.
σН = = 495 МПа > 482 МПа.
Перегрузка
составляет:
;
· 100% = 2,7 %
Фактические
контактные напряжения могут превышать допускаемые не более чем на 5÷8 %. Недогрузка по контактным напряжениям не может
превышать 10¸12 %.
.2
Проверочный расчёт передачи на изгибную выносливость
Расчетного
напряжения, из условия обеспечения изгибной выносливости зубьев:
Где
- коэффициент нагрузки при проверке на изгибную
выносливость.
где
1,00 - коэффициент, учитывающий неравномерность
распределения нагрузки между зубьями, зависящий от степени точности
изготовления (п. 4.3. [8]);
1,04 -
коэффициент, учитывающий неравномерность распределения нагрузки по ширине венца
(по Табл. 4.4. [8]);
1,20 -
коэффициент, учитывающий динамическую нагрузку, возникающую в зацеплении (по
Табл. 4.7. [8]);
1,00 ·
1,04 · 1,20 = 1,25.
коэффициент
формы зуба, определяется в зависимости от эквивалентного числа зубьев
, для прямозубой конической передачи, определяется по
формуле:
;
= 25;
= 252.
По
таблице 4.12 [8]
3,8,
3,50.
0,85 -
коэффициент вида зубьев.
= 88 МПа
< 237 МПа;
= 96 МПа
< 237 МПа.
Таблица 1. Основные параметры проектируемой зубчатой
передачи конического редуктора
|
Результаты вычислений:
|
|
Параметры
|
Значения
|
|
Тип двигателя
|
4A200M8У3
|
|
Мощность двигателя
Рном,(кВт)
|
18,5
|
|
Вращающий момент на ведущем
валу Т1 , Н·м
|
208
|
|
Вращающий момент на ведомом
валу Т2 , Н·м
|
623
|
|
Частота вращения вала
ведущего п1 , мин-1
|
730
|
|
Частота вращения вала
ведомого п2 , мин-1
|
230
|
|
Угловая скорость вала
ведущего ω1 , с-1
|
76
|
|
Угловая скорость вала
ведомого ω2 , с-1
|
24
|
|
Фактическое передаточное
число иф
|
3,17
|
|
Внешний окружной модуль me,
мм
|
4,50
|
|
Средний окружной модуль mnm,
мм
|
3,84
|
|
Передача (форма зуба)
|
прямозубая
|
|
Угол наклона линии зуба β
|
0º
|
|
Окружная скорость в
зацеплении υ, м/c
|
3,52
|
|
Степень точности передачи
|
8
|
|
Параметры
|
шестерня [1]
|
колесо [2]
|
|
Силы в зацеплении, Н
|
|
|
|
окружная Ft, Н
|
4280
|
4280
|
|
осевая Fa,Н
|
470
|
1490
|
|
радиальная Fr, Н
|
1490
|
470
|
|
Материал
|
45
|
45
|
|
Твёрдость, HB
|
260
|
230
|
|
Число зубьев
|
24
|
76
|
|
Углы дел. конусов
|
17º 32´
|
72º 28´
|
|
Конусное расстояние, мм
|
Среднее
|
Внешнее
|
|
158,64
|
186,14
|
|
Диаметр, мм
|
|
|
|
внешний делительный dе
|
108,00
|
342,00
|
|
внешний вершин зубьев dае
|
116,58
|
344,71
|
|
средний делительный d
|
92,04
|
291,47
|
|
Ширина венца b, мм
|
55
|
55
|
|
Напряжения, МПа
|
|
|
Допускаемое [σн]
|
482
|
|
Расчетное σн
|
495
|
|
Допускаемое [σF]
|
237
|
|
Расчетное σF
|
88
|
96
|
7.
Предварительный расчет валов
Назначение предварительных размеров отдельных участков ведущего вала.
= 35 мм
где
= 25 МПа - допускаемое касательное напряжение.
= 55 мм;
= 50 мм;
= 82 мм;
= 54 мм;
= 56 мм;
= 60 мм;
= 65 мм;
= 60 мм.
Рис. 3. Компоновка быстроходного вала
Т. к. диаметр ведущего вала был увеличен для согласования с валом
двигателя, то поверочный расчет ведущего вала проводить нет необходимости.
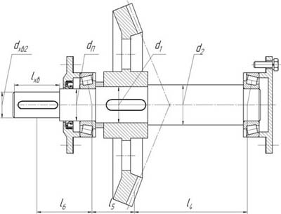
Назначение предварительных размеров отдельных участков ведомого вала.
= 50 мм.
= 50 мм;
= 82 мм;
= 60 мм;
= 65 мм;
= 70 мм.
Рис. 4. Компоновка тихоходного вала
Диаметры участков валов назначены исходя из конструктивных соображений.
8. Определение
реакций опор ведушего вала
Определение
консольной силы
:
,
FМ1=125 = 1805 ≈ 1800 Н.
-
дополнительная поперечная нагрузка от несоосности соединительной муфты.
Расстояния
между точками приложения активных и реактивных сил.
l1 = 54 мм;
l2 = 133 мм;
l3 = 88 мм.
Рис. Расчетная схема ведущего вала
Вертикальная плоскость XOY:
;
= = -1932
Н;
;
= = -442
Н;
Проверка
правильности определения опорных реакций для ХОY:
-1932 +
1490 - -442 = 0.
Горизонтальная
плоскость XOZ:
;
= = 7209
Н;
;
= = 4729
Н;
Проверка
правильности определения опорных реакций для ХОZ:
= 7209 -
4280 - 4729 + 1800 = 0.
9.
Построение эпюр изгибающих моментов ведущего вала методом сечения
Моменты на плоскости XOY:
Участок
0 < х1 <
:
,
|х1= 0 = −470
· 92,04 · 0,5 · 10-3 = − 22 Нм;
|х1= 54 =
− 470 · 92,04 · 0,5 · 10-3 +
+
1490 · 54 · 10-3 = − 59 Нм.
Участок
0 < х2 <
:
Мх2
= 0 Нм;
Моменты
на плоскости XOZ:
Участок
0 < х1 <
:
;
Мх1|х1=
0 = 0;
Мх1|х1=
54= 4280 · 54 · 10-3= 231 Нм.
Участок
0 < х2 <
:
;
Мх2|х2=
0 = 0;
Мх2|х2=
88 = − 1800 · 88 · 10-3 = 158 Нм.
Суммарный изгибающий момент:
M∑ ( N ) =
0 Нм;
M∑ ( B )
== 158 Нм;
M∑ ( A ) =
= 238 Нм;
M∑ (О ) =
= 22 Нм;
Рис. Эпюра изгибающих моментов ведущего вала
Мmax= 238 Нм - наибольший изгибающий
момент.
10.
Проверочный расчет ведущего вала
Проверка опасного сечения на прочность по напряжениям изгиба и кручения
Таблица 2. Механическая характеристика материала ведущего вала
|
Марка стали
|
Диаметр заготовки, мм, не
более
|
Твёрдость НВ, не ниже
|
Механические
характеристики, МПа
|
Коэффициенты
|
|
|
|
     
|
|
|
|
|
|
|
|
45
|
любой
|
180
|
600
|
320
|
280
|
250
|
150
|
0,05
|
0
|
Напряжение изгиба:
· 2,0 = 22,1 МПа,
где
Мmax - максимальный изгибающий момент,
2,0 -
коэффициент перегрузки,
- осевой
момент сопротивления;
= 60 мм - диаметр вала в опасном сечении.
Напряжение
кручения:
;
∙ 2,0 = 9,7 МПа.
-
полярный момент сопротивления.
;
∙ 2,0 = 5,5 МПа.
Эквивалентное
напряжение:
;
= 33,2 МПа.
Расчетный
запас прочности:
;
= 9,7 ≥
,
где
- предел текучести материала вала,
-
допускаемый запас статической прочности.
Проверка
опасного сечения вала на усталостную прочность (выносливость)
Коэффициенты
концентрации напряжений для заданного сечения:
;
=
+ 1,05 − 1
= 2,40;
;
=
+ 1,05 − 1
= 1,96,
где
1,90,
1,55 −
эффективные коэффициенты концентраций напряжений для данного сечения вала в
зависимости от его формы по таблице 10.6 [3];
0,81 −
коэффициент влияния абсолютных размеров поперечного сечения на предел
выносливости по таблице 10.3 [3];
1,05 −
коэффициент влияния шероховатости, по таблице 10.7 [3];
1 −
коэффициент влияния поверхностного уплотнения, поверхность вала не упрочняется.
Амплитуда
нормальных напряжений:
;
= 11,0 МПа.
Амплитуда
и среднее напряжение цикла касательных напряжений:
;
= 4,8 МПа.
Коэффициент
влияния асимметрии цикла для рассматриваемого сечения вала:
;
= = 0,03
где
0,05 − коэффициент чувствительности материала к
асимметрии цикла напряжений по таблице 10.2 [3].
Пределы
выносливости вала в рассматриваемом сечении:
;
= = 104 МПа;
;
= 76 МПа;
где
предел выносливости для материала вала при
симметричном цикле изгиба;
предел
выносливости для материала вала при кручении.
Расчетный
запас выносливости по нормальным напряжениям изгиба:
;
= 9.
Расчетный
запас выносливости по касательным напряжениям кручения:
;
= = 15.
Расчетный
коэффициент запаса прочности:
; S = =
8,1 >
,
где
- допускаемый запас усталостной прочности.
Условие
усталостной прочности выполняется.
11.
Определение реакции опор ведомого вал
Определение
консольной силы
:
,
FМ2=125 = 3120 ≈ 3120 Н.
-
дополнительная поперечная нагрузка от несоосности соединительной муфты.
Расстояния
между точками приложения активных и реактивных сил:
l4= 55 мм;
l5= 143 мм;
l6= 108 мм.
Рис. Расчетная схема ведомого вала
Вертикальная плоскость XOY:
;
= = 1227
Н;
;
= = -757
Н;
Проверка
правильности определения опорных реакций для ХОY
= - -757
+ 470 - 1227 = 0.
Горизонтальная
плоскость XOZ:
;
= = -
3633 Н;
;
= = 4793
Н;
Проверка
правильности определения опорных реакций для ХОZ:
= 4793 -
4280 - 3633 + 3120 = 0.
12.
Построение эпюр
изгибающих моментов ведомого вала методом сечения
Моменты на плоскости XOY:
Участок 0 ≤ х1 ≤ l4 :
Мх1|х1=0
= 0;
Мх1|х1=
55 = - 757 · 55 · 10-3 = - 42 Нм.
Участок
:
Мх2|х2=0
= 0;
Мх2|х2=
143 = - 1227 · 160 · 10-3 = - 175 Нм.
Участок
:
0 Нм.
Моменты
на плоскости XOZ:
Участок
:
Мх1|х1=0
= 0;
Мх1|х1=
55 = - 4793 · 55 · 10-3 = - 264 Нм.
Участок
:
·
(55 + х2) + Ft · x2;
Мх2|х2=0
= - 4793 · (55 + 0) · 10-3 = - 264Нм;
Мх2|х2=55
=- 4793 · (55 + 143) · 10-3+
+4280
· 143 · 10-3= - 337 Нм.
Участок
:
Мх3|х3=108
= - 3120 · 108 · 10-3= - 337 Нм.
Суммарный
изгибающий момент:
= 267
Нм;
= 317
Нм;
= 337
Нм;
Рис. 5. Эпюра изгибающих моментов ведомого вала
Мmax= 337 Нм - наибольший изгибающий
момент.
13.
Проверочный расчет ведомого вала
Проверка опасного сечения на прочность по напряжениям изгиба и кручения
Таблица 3, Механическая характеристика материала ведомого вала
|
Марка стали
|
Диаметр заготовки, мм, не
более
|
Твёрдость НВ, не ниже
|
Механические
характеристики, МПа
|
Коэффициенты
|
|
|
|
     
|
|
|
|
|
|
|
|
45
|
любой
|
180
|
600
|
320
|
280
|
250
|
150
|
0,05
|
0
|
Напряжение изгиба:
· 2,0 = 31 МПа,
где
Мmax - максимальный изгибающий момент,
2,0 -
коэффициент перегрузки,
=0,1∙603
= 21600 мм³ - осевой момент сопротивления ;
-
диаметр вала в опасном сечении.
Напряжение
кручения:
;
∙ 2,0 = 29 МПа.
=0,2∙603
= 43200 мм³ - полярный момент сопротивления.
Напряжение
растяжения (сжатия):
;
∙ 2,0 = 18 МПа.
Эквивалентное
напряжение:
;
= 70 МПа.
Расчетный
запас прочности:
;
= 4,6 ≥
,
где
- предел текучести материала вала,
-
допускаемый запас статической прочности.
Проверка
опасного сечения вала на усталостную прочность (выносливость)
Коэффициенты
концентрации напряжений для заданного сечения:
;
=
+ 1,05 − 1
= 2,40;
;
=
+ 1,05 − 1
= 1,96,
где
1,90,
1,55 −
эффективные коэффициенты концентраций напряжений для данного сечения вала в
зависимости от его формы по таблице 10.6 [3];
0,81 −
коэффициент влияния абсолютных размеров поперечного сечения на предел
выносливости по таблице 10.3 [3];
1,05 −
коэффициент влияния шероховатости, по таблице 10.7 [3];
1 −
коэффициент влияния поверхностного уплотнения, поверхность вала не упрочняется.
Амплитуда
нормальных напряжений:
;
= 16 МПа.
Амплитуда
и среднее напряжение цикла касательных напряжений:
;
= 14 МПа.
Коэффициент
влияния асимметрии цикла для рассматриваемого сечения вала:
;
= = 0,03
где
0,05 − коэффициент чувствительности материала к
асимметрии цикла напряжений по таблице 10.2 [3].
Пределы
выносливости вала в рассматриваемом сечении:
;
= = 104 МПа;
;
= 76 МПа;
где
предел выносливости для материала вала при
симметричном цикле изгиба;
предел
выносливости для материала вала при кручении.
Расчетный
запас выносливости по нормальным напряжениям изгиба:
;
= 7.
Расчетный
запас выносливости по касательным напряжениям кручения:
;
= = 5.
Расчетный
коэффициент запаса прочности:
; S = =
4,1 >
,
где
- допускаемый запас усталостной прочности.
Условие
усталостной прочности выполняется.
14.
Проверка прочности шпоночных соединений
Рис. Шпонка призматическая
Проверка шпоночных соединений по критерию сопротивления смятия боковых
поверхностей шпонки:
Где
Т - передаваемый момент, Нм;
d - диаметр
вала, мм;
-
расчетная длина шпонки (см. рис. 6.);
МПа
допускаемое напряжение смятия (при стальной ступице).
Расчетное
сопротивление смятия, на ведущем валу, под муфту:
σСМ = = = 30 МПа.
Расчетное
сопротивление смятия, на ведомом валу, под колесо:
σСМ = = = 47 МПа.
Для
данного элемента приняты две шпонки, расположенные под углом 180º друг к другу.
Расчетное
сопротивление смятия, на хвостовике ведомого вала:
σСМ = = = 89 МПа.
Таблица 4. Параметры принятых призматических шпонок (ГОСТ 2360-78).
Размеры в мм
|
d
|
Диаметр вала d
|
Сечение шпонки
|
Фаска
|
Глубина паза
|
|
Свыше
|
До
|
b
|
h
|
|
Вала t1
|
Ступицы t2
|
|
65
|
65
|
75
|
20
|
18
|
0,4-0,6
|
11
|
7,4
|
|
50
|
50
|
58
|
16
|
14
|
0,25-0,4
|
9
|
5,4
|
15.
Проверка долговечности подшипников
Ведущий вал
Определение суммарных реакций в подшипниках
= = 7463
Н;
= = 4749
Н.
Для
опор А и В приняты роликовые радиально-упорные подшипники 7212:
Fа1 = Fx
=470 Н - осевая сила;
С
= 78000 Н - динамическая грузоподъемность;
е = 0,35 - параметр осевого нагружения;
Y =
1,71 - коэффициент осевой нагрузки;
Схема установки подшипников - врастяжку.
Осевые составляющие опорных реакций:
0,83 ·
0,35 · 7463 = 2174 Н;
0,83 ·
0,35 · 4749 = 1384 Н.
Расчетные осевые силы, нагружающие подшипники:
Fa(А)=
Fх + Fb = 470+1384=1854Н;
Fa(B)=Fb = 1384 Н.
= = 0,25
< e, значит Х(А)= 1, Y(А)= 0.
= = 0,29
< e, значит Х(В)= 1, Y(В)= 0,
где
V = 1,0 − коэффициент вращения (вращающееся
внутреннее кольцо подшипника );
Эквивалентные
динамические нагрузки на опоры А и В:
( 1,0 · 1
· 7463 + 0 ∙ 1854 ) · 1,3 · 1,0 = 9702 Н,
( 1,0· 1
· 4749 + 0 · 1384 ) · 1,3 · 1,0 = 6174 Н,
где Х - коэффициент радиальной нагрузки;
КТ = 1,0 - температурный коэффициент (рабочая температура подшипников
менее 100ºС);
КТ = 1,3 − коэффициент безопасности (зубчатые передачи, редукторы
всех типов).
P = mах{PА ; PВ}= mах{ 9702 ; 6174 }= 9702 Н.
Расчетный срок службы подшипника:
,
где
а23 = 0,65 - коэффициент, характеризующий совместное влияние на ресурс
подшипника качества металла колец, тел качения и условий эксплуатации ( для
конических)
р
= 3,33 - показатель степени ( для роликовых конических подшипников)
Lh=0,65 ∙
∙ = 15 341 часов > 3 000 часов.
Ведомый
вал Определение суммарных реакций в подшипниках
= = 4852
Н;
= = 3835
Н.
Для
опор С и D приняты роликовые радиально-упорные подшипники 7212:
С = 78000 Н , е = 0,35, Y = 1,71, схема установки подшипников - враспор.
Осевые составляющие опорных реакций:
0,83 ·
0,35 · 4852 = 1414 Н;
0,83 ·
0,35 · 3835 = 1117 Н.
Расчетные осевые силы, нагружающие подшипники:
Fa(C ) = Fa = 1414 Н;
Fa(D ) = Fa + Fх = 1490+1414=2904 Н.
= 0,29
< e, значит Х(С)= 1, Y(С)= 0.
= 0,76
> e, значит Х(D)= 0,4, Y(D)=
1,71.
Приведенные
динамические нагрузки на опоры C и D:
( 1,0 · 1
· 4852 + 0 ∙ 1414 ) · 1,3 · 1,0 = 6308 Н,
( 1,0 ∙
0,4 · 3835 + 1,71 · 2904 ) ∙ 1,3 ∙ 1,0 = 8449 Н.
P = mах{PC ; PD}= mах{
6308 ; 8449 }= 8449 Н.
Расчетный
срок службы подшипника
, Lh=0,65
∙ ∙ = 77 176 часов > 3 000 часов.
Расчетный
срок службы подшипников удовлетворяют заданному значению ресурса работы
редуктора.
16.
Расчёт основных размеров корпуса редуктора
Толщина стенки корпуса редуктора:
δ = 0,05 ∙ Re + 1 ≥ 8, δ = 0,05 ∙ 186,14 + 1 = 10,3 ≈
11 мм, принято δ = 11 мм.
Толщина стенки крышки редуктора:
δ1 = 0,04 ∙ Re + 1 ≥ 8, δ1 = 0,04 ∙ 186,14 + 1 = 8,4 мм,
принято δ1 = 9 мм.
Толщина верхнего фланца корпуса:
b =
1,5 · δ, b = 1,5 · 9 = 17 мм.
Толщина нижнего фланца крышки:
b1 =
1,5· δ1,
b1 = 1,5 · 11 = 14 мм.
Толщина нижнего пояса корпуса:= 2,35 ∙ δ, p = 2,35 ∙ 11 = 26 мм.
Толщина рёбер основания корпуса:= (0,85...1) ∙ δ, m
= 0,9 ∙ 11 = 10 мм.
Толщина рёбер крышки:= (0,85...1) ∙ δ1 ,
m1 = 0,9 ∙ 9 = 8 мм.
Диаметр фундаментных болтов:
d1 =
0,072 · Re + 12, d1 = 0,072 · 186,14 + 12 = 26 мм.
Диаметр болтов у подшипников:
d2 =
(0,7…0,75) · d1, d2 = 0,7 · 26 = 20 мм.
Диаметр болтов, соединяющие фланцы:
d3 =
(0,5…0,6) · d1, d3 = 0,5 · 26 = 14 мм.
Расстояние от зубчатого колеса до стенки корпуса должно составлять не
менее
А = 1,2 · δ, А = 1,2 · 11 = 13 мм.
Список
литературы
1. В.И.
Анурьев. Справочник конструктора-машиностроителя. В 3-х тт. - М.:
Машиностроение, 1979.
. И.А.
Биргер. Расчёт на прочность деталей машин. - М.: Машиностроение, 1979.
. П.Ф.
Дунаев. Конструирование узлов и деталей машин. - М.: Высшая школа, 2000.
. В.Н.
Кудрявцев. Курсовое проектирование деталей машин. - Л.: Машиностроение, 1983.
. Подшипники
качения. Справочник. Под. ред. Нарышкина В.Н. - М.: Машиностроение, 1984.
. Г.Н.
Попова, С.Ю. Алексеев. Машиностроительное черчение. Справочник. Л.:
Машиностроение, 1986.
. Детали
машин. Атлас конструкций. Под. ред. Д.Н. Решетова. - М.: Машиностроение, 1983.
. Д.В.
Чернилевский. Детали машин. Проектирование приводов технологического
оборудования. М.: Машиностроение, 2003.