Разработка технологической документации на изготовление женского жакета
Реферат
Ключевые слова: техническое описание, режим
обработки, модель, влажно-тепловая обработка, эскиз, жакет, схема сборки,
сборочные схемы, технологическая последовательность.
Цель работы: разработка технологической
документации на изделие, выбор и обоснование методов обработки, экономическая
оценка выбранных методов обработки, изготовление швейного изделия.
В результате работы разработана технологическая
документация на изделие, выбраны и обоснованы методы обработки, проведена
экономическая оценка выбранных методов обработки.
Введение
Жакет, в переводе с французского, это модель
пиджака с укороченной длиной. Это верхняя одежда, которая подходит для женщин
любого возраста. Трудно сегодня представить женщину, у которой в гардеробе не
будет жакета. Его можно скомбинировать абсолютно с любым другим предметом
гардероба. Жакеты на сегодняшний день приветствуются на модных вечеринках и как
офисный наряд. Популярность его можно объяснить извечной потребностью слабого
пола чувствовать себя увереннее.
С течением времени постоянно происходит
изменение во внешнем виде жакета (цвет, фасон, аксессуары). Но популярность его
не понижается. Модные жакеты имеют многообразие выбора, они удобны и
универсальны.
Главное направление нового сезона -
женственность. Жакетов это тоже касается. Дизайнеры не стали выдумывать ничего
радикально нового, обратив свои взгляды в прошлое. Основными мотивами стали
рафинированная женственность пятидесятых и строгий минимализм конца девяностых.
Из девяностых были позаимствованы жакеты удлиненные, в виде смокингов и
двубортные. Пятидесятые же оставили моду на короткие варианты, прямые или
приталенные, с басками. Пастельные цвета жакетов подарят легкость и свежесть.
Также актуальны пестрые принты, особенно тропические.
Мода касается не только фасонов и расцветок, но
и то, как вещь можно носить - так, жакет модно накидывать на плечи, а не
надевать полностью. Может быть, это не очень удобно, зато интересно.
Целью данной работы является разработка
технологической документации на изделие, выбор и обоснование методов обработки,
экономическая оценка выбранных методов обработки, изготовление швейного
изделия.
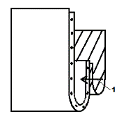
1. Характеристика модели
Рисунок 1 - Эскиз женского жакета
Техническое описание модели.
Жакет женский для женщин младшей возрастной
группы, из полиэстера, полуприлегающего силуэта, базового покроя, однобортный,
с центральной застежкой на три крючка с петлями.
На полочке обработаны вытачки, выходящие из
плечевых швов, и боковые прорезные карманы в рамку.
Спинка со средним швом и рельефами, выходящими
из проймы.
Рукава втачные двухшовные. Локтевые швы внизу
заканчиваются вытачными шлицами, отделанными тремя пуговицами.
Воротник шалевый с тупыми концами.
Жакет с притачной по низу подкладкой.
Борта, воротник, низ и шлицы отделаны в чистый
край.
Жакет рекомендуется изготовлять размеров 88-100,
ростов 158-164, I и II
полнотных групп.
2. Особенности обработки изделия. Выбор
технологических режимов.
.1 Анализ предлагаемых материалов
Изготовление высококачественной одежды во многом
определяется правильным подбором материалов. Необходимо, чтобы подкладочные
материалы соответствовали материалам верха.
Для изготовления женского жакета в качестве
основной ткани выбран полиэстер. Данный материал, выработанный из синтетических
волокон. Изделия, произведенные из полиэстера, не нуждаются в специфических
методах ухода. Материал обладает превосходной воздухопроницаемостью, быстро
сохнет и даже производит охлаждающий эффект. Преимущество полиэстера в том, что
при нагреве материал закрепляет форму. Это преимущество используется при
создании складок.
Полиэстер не восприимчив к воздействию
ультрафиолета, не подвергается повреждению молью и прочими вредителями,
устойчив к пятнам. Изделия из данного материала служат довольно долго, при
этом, не теряя яркости красок. Полиэстер обладает антистатическим эффектом,
поэтому является частью многих изделий. Он обладает рядом положительных
свойств: обладает стойкостью к смятию, быстро сохнет после стирки, изделия из
полиэстера не садятся и не растягиваются. [1]
В качестве подкладочного материала выбрана
капроновая ткань. Она отличается гладкостью, блеском, высокой прочностью,
устойчива к истиранию, легко стирается и быстро сохнет. [2]
прорезной карман женский жакет
Таблица 1 - Характеристика машинных строчек и
швов, применяемых при изготовлении изделий
|
Назначение
шва
|
Конструкция
шва
|
Эскиз
шва и его код
|
Вид
стежка, эскиз
|
Режимы
обработки
|
Применение
в изделии
|
|
|
|
|
Ширина
шва, мм
|
Номер
ниток
|
Номер
иглы
|
Кол-во
стежков в 10 мм
|
|
|
Соединительный
|
Стачной
вразутюжку
|
1.01.01/301
|
Челночный,
прямолинейный, стачивающий
|
10
|
36лл
|
90
|
4-5
|
Стачивание
среднего шва спинки, локтевых и передних швов рукава, плечевых швов
|
|
Соединительный
|
Стачной
взаутюжку
|
1.01.01/301
|
Челночный,
прямолинейный, стачивающий
|
10
|
36лл
|
90
|
4-5
|
Соединение
всех деталей подкладки
|
|
Краевой
|
Шов
вподгибку с подкладкой
|
1.01.01/301
|
Челночный,
прямолинейный, стачивающий
|
10
|
36лл
|
90
|
4-5
|
Притачивание
подкладки к низу рукава и низу изделия
|
|
Краевой
|
Обтачной
«в кант»
|
1.09.01/301
|
Челночный,
прямолинейный, стачивающий
|
10
|
36лл
|
90
|
4-5
|
Обработка
борта и воротника
|
|
Соединительный
|
Обтачной
в рамку простой
|
1.10.01/301
|
Челночный,
прямолинейный, стачивающий
|
7
|
36лл
|
90
|
4-5
|
Обработка
кармана
|
Таблица 2 - Параметры образования клеевых
соединений
|
Назначение
клеевого соединения
|
Вид
клеевого прокладочного материала
|
Вид
клеевого вещества
|
Режимы
соединений
|
|
|
|
Температура,
°С
|
Время,
с
|
Давление,
г/см²
|
|
1
|
2
|
3
|
4
|
5
|
6
|
|
Дублирование
деталей клеевыми прокладками
|
«Рашел»
- изделие с трикотажной основой и утком примерно: 75% вискозы 25% синтетики
|
Полиамид,
15 меш
|
121-132
|
12-16
|
200-400
|
Таблица 3 - Параметры влажно-тепловой обработки
изделия
|
Наименование
материала
|
Температура,
°С
|
Усилие
прессования или масса утюга кПа (кг)
|
Время
обработки, с
|
Увлажнение,
%
|
|
пресс
|
утюг
|
|
пресс
|
утюг
|
|
|
1
|
2
|
3
|
4
|
5
|
6
|
7
|
|
Полиэфирная
ткань
|
150
|
160
|
30
|
10-15
|
30-40
|
20
|
|
Подкладочная
капроновая ткань
|
−
|
150-160
|
2-10
|
−
|
30
|
10-20
|
3. Нормативно-техническая документация на
проектируемое изделие
Таблица 4 - Нормативно-техническая документация
на проектируемое изделие
|
Решаемый
технологический вопрос
|
Нормативная
документация
|
Краткое
содержание НТД
|
|
1.
Классификация стежков, строчек и швов
|
ГОСТ
12807-88
|
Устанавливает
классификацию и условное обозначение стежков, строчек и швов, применяемых для
соединения швейных изделий.
|
|
2.
Классификация стежков, строчек и швов
|
Инструкция
«Технические требования к соединениям деталей швейных изделий».
|
Представлена
классификация и условные обозначения стежков, строчек и швов, применяемых для
соединения швейных изделий.
|
|
3.
Выбор режимов ВТО
|
«Оптимальные
параметры ВТО при изготовлении одежды»
|
Представлены
сведения о влажно-тепловой обработке изделий в швейной промышленности.
|
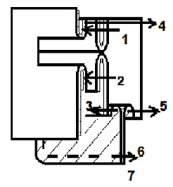
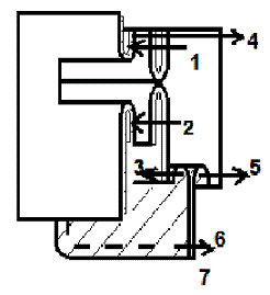
4. Выбор и обоснование методов обработки
Рисунок 2 - Схема сборки изделия


Рисунок 3 - Сборочные схемы узлов



Рисунок 4 - Сборочные схемы узлов
На стадии дублирования выполняется дублирование
полочки, подборта, частично спинки и рельефа, листочек, обтачки горловины
спинки, частично рукава. Клеевая прокладка располагается с изнаночной стороны
изделия на 1-2 мм от срезов.
На стадии обработки полочки стачиваются плечевые
вытачки. Намелка месторасположения вытачки осуществляется с изнаночной стороны
детали по вспомогательному лекалу с помощью мела. После намелки выполняется ее
стачивание от широкого конца вытачки к узкому, ставя закрепки. Затем вытачка
заутюживается на сторону борта.
После обработки вытачки выполняется обработка
прорезного кармана в рамку. На полочке намечается место расположения кармана с
помощью вспомогательного лекала тремя линиями: одной долевой и тремя
поперечными. На лицевую сторону полочки накладываются лицевой стороной вниз
обтачки так, чтобы их срезы располагались встык к намеченной линии кармана.
Боковые стороны обтачек должны заходить за концы кармана на одинаковые
расстояния. Обтачки притачиваются шириной шва 7 мм. Начало и конец строчки
закрепляются. Линии строчек должны быть параллельны и заканчиваться на одном
уровне. Швы притачивания обтачек разутюживаются. Полочка разрезается по линии
кармана с изнаночной стороны между двумя строчками от середины, не доходя до
концов строчек на 8-10 мм, далее ткань разрезается в обе стороны наискосок к
концам строчек, не доходя до них на 1 мм. Обтачки вывертываются наизнанку,
огибая швы и образуя из них рамку, приутюживаются. С изнаночной стороны
прокладывается подзор так, чтобы его середина совпадала с намеченной линией
кармана. Подзор притачивается к верхней обтачке шириной шва 10 мм. Маленькие треугольники
на концах прореза выворачиваются на изнаночную сторону и настрачиваются на
концы обтачек и подзор точно от концов одного к концам другого шва. Одна часть
мешковины притачивается к припуску шва нижней обтачки, а другая часть - к
припуску шва подзора шириной шва 7 мм. Мешковины кармана уравниваются и
стачиваются.
Затем стачиваются части подборта шириной шва 10
мм. Линии членения не должны располагаться на видимой части подборта и
находиться на расстоянии не менее 25 мм от крючка. Припуски шва стачивания
частей подборта разутюживаются.
На стадии обработки спинки стачиваются средние
срезы шириной шва 10 мм. Припуски шва стачивания разутюживаются. После
обработки среднего шва спинки стачиваются рельефы шириной шва 10 мм. Швы
стачивания также разутюживаются.
На стадии обработки рукавов низ рукава
обрабатывается вытачной шлицей. Ее обрабатывают одновременно со стачиванием
локтевых срезов.
Стачиваются локтевые срезы, срезы шлицы и срезы
припуска подгиба низа шириной шва 10 мм. Припуски шва стачивания надсекаются в
углах шлицы на нижней части рукава. Припуски локтевого шва и шва стачивания
припуска подгиба низа разутюживаются, шлица заутюживается в сторону верхней
части рукава. Заутюживается припуск на подгиб низа. Затем стачиваются передние
швы рукава шириной шва 10 мм, припуски стачивания разутюживаются.
На стадии обработки подкладки стачиваются
плечевые, боковые срезы, у рукавов - локтевые и передние шириной шва 10 мм. Швы
стачивания разутюживаются. В переднем шве одного рукава оставляется
технологическое отверстие длиной 15-20 см, в среднем шве оставляется второе
технологическое отверстие длиной 25-30 см.
На стадии монтажа изделия стачиваются боковые и
плечевые срезы шириной шва 10 мм. Швы стачивания разутюживаются. Обтачка
горловины спинки притачивается к подборту, нижний воротник втачивается в
горловину. Обтачивается борт подбортом и верхний воротник нижним шириной шва 10
мм, оставляя отверстия длиной 2-3 мм под крючки. Крючки закрепляют вручную.
Втачивается рукав, по окату рукава делается
посадка. Притачиваются плечевые накладки.
Обработка края борта выполняется в чистый край.
Припуски шва обтачивания борта подбортом и верхнего воротника нижним
настрачиваются на подборт. Строчка выполняется с лицевой стороны детали на
расстоянии 1-2 мм от строчки обтачивания. Выметывается край борта, формируя
кант. Приутюживается или прессуется край борта. Строчка выметывания удаляется.
Подкладка притачивается к внутреннему срезу
подборта, в области груди делается посадка. Затем подкладка притачивается к
обтачке горловины спинки. Подкладки притачивается к припуску на подгиб низа
изделия. Рукава из основного материала выворачиваются на изнаночную сторону,
притачивается подкладка к припуску на подгиб низа рукава.
Выворачивается левый рукав подкладкой вверх.
Дотачивается средний срез подкладки через отверстие в переднем шве подкладки
рукава. Застрачивается отверстие в переднем шве подкладки рукава накладным швом
с двумя закрытыми срезами. Левый рукав выворачивается на лицевую сторону.
Приутюживаются швы притачивания подкладки к внутреннему срезу подборта и низу
изделия.
При окончательной отделке пришиваются крючки и
пуговицы, чистится изделие и выполняется влажно-тепловая обработка.
. Экономическая оценка выбранных методов
обработки
Таблица 5 - Технологическая последовательность
прорезного кармана в рамку по разным вариантам обработки
|
Наименование
изделия: жакет женский
|
|
Наименование
узла: прорезной карман в рамку
|
|
Варианты
обработки
|
|
1.
С применением специального и полуавтоматического оборудования
|
2.
С применением универсального оборудования
|
|
|
|
|
Номер
и содержание неделимой операции
|
Специальность
|
Оборудование,
приспособление
|
Номер
и содержание неделимой операции
|
Специальность
|
Оборудование,
приспособление
|
|
1.
Настрачивание подзора на подкладку кармана
|
СМ
|
MF-7723 «Juki»
|
1.
Намелка на обтачке линии ее притачивания
|
Р
|
Мел,
линейка
|
|
2.
Притачивание обтачки кармана, формируя сгибы обтачки и разрезая вход в
карман. Под строчку притачивания обтачки подкладывают подкладку кармана
|
ПА
|
APW- 896S 12ZLOK «Juki»
|
2.
Намелка на полочке месторасположения кармана тремя линиями
|
Р
|
Мел,
лекало
|
|
|
|
3.
Притачивание верхней обтачки к полочке
|
М
|
5410
«Juki»
|
|
|
|
4.
Притачивание нижней обтачки к полочке
|
М
|
5410
«Juki»
|
|
3.
Надсекание входа в карман на концах
|
Р
|
Ножницы
№6
|
5.
Разрезание входа в карман
|
Р
|
Ножницы
№6
|
|
4.
Вывертывание обтачек кармана
|
Р
|
−
|
6.
Вывертывание и выпрямление обтачек кармана
|
Р
|
−
|
|
5.
Настрачивание закрепочных строчек на концах кармана
|
ПА
|
LK-1900A «Juki»
|
7.
Притачивание подзора к полочке
|
М
|
5410
«Juki»
|
|
|
|
8.
Притачивание подкладки кармана к обтачке
|
М
|
5410
«Juki»
|
|
6.
Настрачивание продольного среза нижней обтачки на подкладку кармана
|
СМ
|
MF- 7723 «Juki»
|
|
|
|
|
|
|
9.
Притачивание подкладки кармана к подзору
|
М
|
5410
«Juki»
|
|
7.
Притачивание подзора в шов притачивания верхней обтачки
|
М
|
DLU- 5990 «Juki»
|
10.
Настрачивание закрепочных строчек на концах кармана, захватывая уголки,
одновременно стачивая подкладки кармана
|
М
|
5410
«Juki»
|
|
8.
Стачивание подкладок кармана
|
СМ
|
MO-6716S-FF-40H «Juki»
|
|
|
|
|
9.
Приутюживание кармана
|
У
|
032.30
«Macpi»
|
11.
Приутюживание кармана
|
У
|
032.30
«Macpi»
|
1 2 3 4 5 6
7
Рисунок 5 - Схема переходов для первого варианта
обработки
1 2 3 4
Рисунок 6 - Схема переходов для второго варианта
обработки
Таблица 6 - Анализ вариантов обработки
|
Вариант
обработки
|
Количество
неделимых операций
|
В
том числе
|
|
|
машинных
|
спец.
машин
|
прессовых
|
автоматизированных
|
ручных
|
утюжильных
|
|
1
|
9
|
1
|
3
|
−
|
2
|
2
|
1
|
|
2
|
11
|
6
|
−
|
−
|
−
|
4
|
1
|
Таблица 7 - Оценка методов обработки
|
Показания
эффективности обработки
|
Вариант
1
|
Вариант
2
|
|
1.Степень
механизации, %
|
77,8
|
63,6
|
|
2.
Количество неделимых операций
|
9
|
11
|
|
3.
Количество переходов
|
7
|
4
|
Степень механизации труда рассчитывается по
формуле (1):
nмех
Смех = 100% (1)
n
где nмех
- количество механизированных операций по сборочной схеме;
n - общее количество
операций по сборочной схеме. [3]
Обработку прорезного кармана в рамку эффективней
проводить с применением полуавтоматического и специального оборудования, чем с
применением универсального оборудования, поскольку при данном способе выше
степень механизации, технологичность, точность и качество обработки, а
трудоемкость ниже.
6. Выбор типа оборудования
Таблица 8 - Оборудование для ниточного соединения
|
Оборудование,
заводизготовитель
|
Тип
стежка
|
Обрабатываемые
материалы
|
Средства
автоматики, спецприспособления, дополнительные устройства
|
Назначение
|
|
DLN-5410N
1 «Juki»
Универсальная одноигольная швейная машина челночного стежка
|
301
|
Бельевые
и костюмные ткани
|
Автоматическое
позиционирование иглы, выполнение закрепки, обрезка ниток, подъем лапки [5]
|
Стачивание
среднего шва спинки, локтевых и передних швов рукава, плечевых швов
|
|
550-16
Дюркопп Одноигольная машина челночного стежка для втачивания рукава в пройму
|
301
|
Костюмные,
плательные и пальтовые ткани
|
Нижний
ленточный транспортер, дифференциальный верхний ленточный транспортер,
автоматическая обрезка нити, подъем лапки и закрепка, программируемое
управление посадки [6]
|
Втачивание
рукава в пройму
|
|
MH-486-5 «Juki»
Одноигольная швейная машина с двойным сметыванием, с нижним и различным
верхним перемещением ткани и автоматической обрезки нити
|
401
|
Подкладочные
ткани
|
Механизм
распределения нити, регулируемый предохранитель иглы, предотвращающий пропуск
стежков, механизм зажима нити, механизм высвобождения нити и механизм
протягивания игольной нити[7]
|
Обработка
подкладки
|
Таблица 9 - Оборудование для влажно-тепловой
обработки и дублирования
|
Оборудование
|
Марка
(тип), предприятие-изготовитель
|
Назначение
|
|
Электропаровой
универсальный утюг
|
032.30
«Macpi»
|
Разутюживание
припусков швов, приутюживание карманов, сутюживание посадки
|
|
Универсальный
пресс
|
BRI-2000Е «Brisay»
|
Дублирование
деталей изделия
|
|
Утюжильный
стол
|
156
«Macpi»
|
Разутюживание
припусков швов, приутюживание карманов, сутюживание посадки
|
|
Паровоздушный
манекен
|
311
«Macpi»
|
Окончательная
влажно-тепловая обработка
|
7. Разработка технологической последовательности
изготовления проектируемого изделия
Таблица 10 − Технологическая
последовательность обработки проектируемого изделия
|
Номер
и содержание неделимых операций
|
Оборудование,
инструменты, приспособления, завод-изготовитель
|
|
Заготовка
|
|
Дублирование
|
|
1.
Дублирование полочки
|
BRI-2000Е «Brisay»
|
|
2.
Дублирование спинки
|
BRI-2000Е «Brisay»
|
|
3.
Дублирование подборта
|
BRI-2000Е «Brisay»
|
|
4.
Дублирование рельефа
|
BRI-2000Е «Brisay»
|
|
5.
Дублирование обтачек кармана
|
|
6.
Дублирование обтачек горловины спинки
|
BRI-2000Е «Brisay»
|
|
7.
Дублирование низа рукава
|
BRI-2000Е «Brisay»
|
|
Обработка
полочки
|
|
8.
Намелка месторасположения вытачки на полочке
|
Мел
|
|
9.
Стачивание вытачки
|
DLN-5410N
1 «Juki»
|
|
10.
Заутюживание вытачки
|
032.30
«Macpi»
|
|
11.
Намелка на полочке месторасположения кармана тремя линиями
|
Мел
|
|
12.
Заутюживание обтачки вдоль пополам
|
032.30
«Macpi»
|
|
13.
Притачивание верхней обтачки к полочке
|
DLN-5410N
1 «Juki»
|
|
14.
Притачивание нижней обтачки к полочке
|
DLN-5410N
1 «Juki»
|
|
15.
Разрезание входа в карман
|
Ножницы
№6
|
|
16.
Вывертывание и выпрямление обтачек кармана
|
−
|
|
17.
Притачивание подзора к полочке
|
DLN-5410N
1 «Juki»
|
|
18.
Притачивание подкладки кармана к обтачке
|
DLN-5410N
1 «Juki»
|
|
19.
Притачивание подкладки кармана к подзору
|
DLN-5410N
1 «Juki»
|
|
20.
Настрачивание закрепочных строчек на концах кармана, захватывая уголки
одновременно стачивая подкладки кармана
|
DLN-5410N
1 «Juki»
|
|
21.
Приутюживание кармана
|
032.30
«Macpi»
|
|
Обработка
спинка
|
|
22.
Стачивание средних срезов спинки
|
DLN-5410N
1 «Juki»
|
|
23.
Разутюживание припусков стачивания средних срезов спинки
|
032.30
«Macpi»
|
|
24.
Стачивание рельефов спинки
|
DLN-5410N
1 «Juki»
|
|
25.
Разутюживание припусков стачивания рельефов
|
032.30
«Macpi»
|
|
Обработка
подборта
|
|
27.
Стачивание частей подборта
|
DLN-5410N
1 «Juki»
|
|
28.
Разутюживание припусков стачивания частей подборта
|
032.30
«Macpi»
|
|
29.
Стачивание средних срезов подборта
|
DLN-5410N
1 «Juki»
|
|
30.
Разутюживание припусков стачивания средних срезов подборта
|
032.30
«Macpi»
|
|
31.
Притачивание обтачки горловины спинки к подборту
|
DLN-5410N
1 «Juki»
|
|
Обработка
рукавов
|
|
32.
Стачивание локтевых срезов и припусков шлицы
|
DLN-5410N
1 «Juki»
|
|
33.
Надсекание припусков локтевых швов в области шлицы со стороны верхней
половинки
|
Ножницы
№6
|
|
34.
Разутюживание припусков локтевых швов и заутюживание припусков на шлицу
|
032.30
«Macpi»
|
|
35.
Заутюживание припуска на подгиб низа рукава
|
032.30
«Macpi»
|
|
36.
Стачивание передних срезов рукавов, оттягивая срезы
|
DLN-5410N
1 «Juki»
|
|
37.
Разутюживание припусков передних швов
|
032.30
«Macpi»
|
|
38.
Вывертывание рукавов на лицевую сторону
|
−
|
|
39.
Приутюживание рукавов на лицевую сторону
|
032.30
«Macpi»
|
|
Обработка
подкладки
|
|
40.
Стачивание средних срезов спинки, оставляя технологическое отверстие длиной
25-30 см
|
DLN-5410N
1 «Juki»
|
|
41.
Стачивание плечевых срезов полочки и спинки
|
DLN-5410N
1 «Juki»
|
|
42.
Стачивание боковых срезов полочки и спинки
|
DLN-5410N
1 «Juki»
|
|
43.
Стачивание локтевых срезов рукавов
|
DLN-5410N
1 «Juki»
|
|
44.
Стачивание передних срезов рукавов, оставляя технологическое отверстие длиной
15-20 см
|
DLN-5410N
1 «Juki»
|
|
45.
Втачивание рукава в пройму
|
DLN-5410N
1 «Juki»
|
|
46.
Приутюживание подкладки
|
032.30
«Macpi»
|
|
Монтаж
|
|
47.
Стачивание боковых срезов полочки и спинки
|
DLN-5410N
1 «Juki»
|
|
48.
Разутюживание припусков стачивания боковых срезов полочки и спинки
|
032.30
«Macpi»
|
|
49.
Намелка линии подгиба низа
|
Мел
|
|
50.
Стачивание плечевых срезов полочки и спинки
|
DLN-5410N
1 «Juki»
|
|
511.
Разутюживание припусков стачивания плечевых срезов полочки и спинки
|
032.30
«Macpi»
|
|
522.
Втачивание нижнего воротника в горловину
|
DLN-5410N
1 «Juki»
|
|
53.
Разутюживание припусков втачивания нижнего воротника в горловину
|
032.30
«Macpi»
|
|
54.
Обтачивание борта подбортом и верхнего воротника нижним, оставляя расстояния
длиной 0,2-0,3 см для крючков
|
DLN-5410N
1 «Juki»
|
|
55.
Подрезание припуска шва обтачивания в углах воротника
|
Ножницы
№6
|
|
56.
Вывертывание подборта и воротника
|
−
|
|
57.
Приутюживание края борта и воротника, формируя кант, заутюживание низа,
одновременно формируя нижний угол борта
|
032.30
«Macpi»
|
|
58.
Втачивание рукавов в пройму
|
550-16
Дюркопп
|
|
59.
Сутюживание посадки по окату рукава
|
032.30
«Macpi»
|
|
60.
Притачивание плечевой накладки, вкладывая долевик
|
DLN-5410N
1 «Juki»
|
|
61.
Притачивание подкладки к внутреннему срезу подборта и к обтачке горловины
спинки
|
DLN-5410N
1 «Juki»
|
|
62.
Стачивание припусков шва втачивания верхнего и нижнего воротников в области
горловины спинки
|
DLN-5410N
1 «Juki»
|
|
63.
Притачивание подкладки к припуску на подгиб низа изделия
|
DLN-5410N
1 «Juki»
|
|
64.
Прикрепление припуска на подгиб низа к припускам вертикальных швов
|
−
|
|
65.
Вывертывание рукавов из основного материала на изнаночную сторону
|
−
|
|
66.
Притачивание подкладки к припуску на подгиб низа рукава
|
DLN-5410N
1 «Juki»
|
|
67.
Прикрепление припуска на подгиб низа рукава к припускам локтевых и передних
швов
|
−
|
|
68.
Стачивание припусков локтевых швов рукава из основного материала и
подкладочного материала
|
DLN-5410N
1 «Juki»
|
|
69.
Вывертывание изделия на лицевую сторону через отверстие в среднем шве
подкладки спинки
|
−
|
|
70.
Притачивание долевика к припускам шва втачивания правого рукава подкладки и
стачивания припусков шва втачивания рукава из основного и подкладочного
материалов в нижней части проймы длиной строчки 4-5 см
|
DLN-5410N
1 «Juki»
|
|
71.
Вывертывание левого рукава подкладкой вверх
|
−
|
|
72.
Дотачивание среднего шва подкладки спинки через отверстие в переднем шве
подкладки рукава
|
DLN-5410N
1 «Juki»
|
|
73.
Разметывание левой проймы через отверстие в переднем шве подкладки рукава
|
−
|
|
74.
Застрачивание отверстия в переднем шве подкладки рукава накладным швом с
двумя закрытыми срезами
|
DLN-5410N
1 «Juki»
|
|
75.
Вывертывание левого рукава на лицевую сторону
|
−
|
|
76.
Приутюживание шва притачивания подкладки к внутреннему срезу подборта и низу
изделия
|
032.30
«Macpi»
|
|
77.
Пришивание пуговиц
|
−
|
|
78.
Пришивание крючков
|
−
|
|
79.
Окончательное ВТО изделия
|
311
«Macpi»
|
Заключение
В данном курсовом проекте решен ряд вопросов,
касающийся методов обработки женского жакета:
. Проведен анализ предлагаемых материалов с
позиции их свойств, влияющих на выбор режимов обработки .
. С учетом выбора материалов выбраны режимы
ниточных соединений, режимы дублирования деталей и влажно-тепловой обработки.
. Изучена нормативно-техническая документация на
все виды швейных изделий, устанавливающая обязательные или рекомендуемые нормы,
используемые при изготовлении продукции.
. На проектируемое изделие составлена подробная
схема сборки. Выбранные методы обработки представлены в виде сборочных схем.
. На предложенный узел спроектировано два
альтернативных метода обработки с применением различного оборудования,
приспособления малой механизации. Проведена оценка вариантов обработки
прорезного кармана в рамку, рассчитана степень механизации для каждого
варианта. Вариант обработки кармана с применением полуавтоматического и
специального оборудования имеет степень механизации 77,8%, а вариант обработки
кармана с применением универсального оборудования - 63,6%.
. Приведена сводка оборудования для выполнения
ниточных, клеевых соединений и ВТО.
. На основе выбранных методов обработки
разработана технологическая последовательность изготовления женского жакета.
Список литературы
1.
Борисова Е. Н. Методические указания к содержанию и оформлению курсового
проекта по технологии швейных изделий для студентов 4 курса спец. 28.08 и
29.09. - Кострома: КГТУ, 1996. - 26с.
.
Кузьмичев В. Е. Оборудование для влажно-тепловой обработки одежды: учебник для
студ. учреждений сред. профессионального образования / В. Е. Кузьмичев, Н. Г.
Папина. - М.: Издательский центр «Академия», 2011. - 192с.
.
ГОСТ 12807-88
.
Инструкция «Технические требования к соединениям деталей швейных изделий».
.
«Оптимальные параметры ВТО при изготовлении одежды»