Особенности электроимпульсного бурения горных пород
Содержание
Введение
Электроимпульсное бурение
Измерения в процессе бурения
Заключение
Список литературы
Введение
Потребность в развитии новой техники, новых высокоэффективных
технологических процессов и оборудования, средств механизации и автоматизации,
без которых стал немыслим технический прогресс в горной промышленности, привело
к исследованию и разработке целого ряда новых методов разрушения твердых тел,
основанных на различных физических принципах. Одним из самых перспективных
оказался электроимпульсный (ЭИ) метод разрушения материалов, сущность которого
заключается в разрушающем действии электрических импульсных разрядов в твердых
непроводящих и полупроводящих телах.
Но не стоит забывать, что бурение скважин для добычи нефти и
газа из пластов является весьма дорогостоящим. Поэтому, для увеличения
вероятности попадания скважины в коллектор, содержащий углеводороды, перед
бурением используют сейсмические и, в меньшей степени, электромагнитные
методики для изучения подземного пространства изучается настолько, насколько
возможно. Но также во время бурения большой интерес представляет наличие
геологической информации для лучшего планирования и управления буровыми
работами, для осуществления добычи из предполагаемых или идентифицированных
углеводородных коллекторов.
Одновременное бурение и каротаж возможен, с помощью,
установки, содержащее устройство электроимпульсного бурения и, по меньшей мере,
один приемник акустических сигналов и один приемник электромагнитных сигналов,
создаваемых устройством.
электроимпульсное бурение горная порода
Электроимпульсное
бурение
В электроимпульсном бурении используют мощные электрические
импульсы для разрушения пласта вместо чисто механической обработки,
используемой в традиционной технологии бурения. Используют два электрода,
разделенных изоляционным материалом, при этом один электрод заряжается до
высокого электрического потенциала, а другой электрод заземлен. При достаточно
высокой зарядке мощный искровой разряд должен создаваться при закорачивании
электродов током, проходящим путь наименьшего сопротивления от заряженного
электрода до заземленного электрода. Буровое долото для электроимпульсного
бурения содержит, по меньшей мере, два типа электродов в различных
конфигурациях и может также содержать один или несколько дополнительных
электродов, которые во время работы должны получать потенциал между упомянутыми
электродами, так называемые, плавающие электроды.
После зарядки первого электрода в надлежащих условиях
искровой разряд должен создаваться между первым электродом и одним из третьих
электродов, далее со следующим из третьих электродов, пока искровой разряд не
дойдет к заземленному второму электроду. Искровые разряды создают волну сжатия
в рабочей текучей среде, направленную на материал, подлежащий выбуриванию. В
рабочей текучей среде образуются плазменные каналы, результатом чего являются
волны сжатия, в свою очередь имеющие достаточную энергию для разрушения
материала, подлежащего выбуриванию. Посредством сложного переключения соединений
линий формирования импульса между блоком электропитания и выбранными первыми
электродами в буровом долоте можно получить фокусирование волны сжатия для
регулирования и направления бурения. Электропитание высокого напряжения можно
подавать в линию формирования импульса на забое скважины или с поверхности.
Используют частоту 1-100 импульсов в секунду, обычно 5-25
импульсов в секунду, продолжительностью 1-50 микросекунд, и время накачки менее
100 - 150 наносекунд, с высоким напряжением в пределах 10-50 кВ и полезным
эффектом 1-100 МВт. Напряжение ограничено величиной около 50 кВ для исключения
трудновыполнимых требований к изоляции. Можно бурить стволы с диаметром до 100
мм. Также возможно бурение в "сухом" стволе скважины, но предпочтительно
использование бурового раствора низкой электропроводности. Образование
плазменного канала, с течением времени, поворачиваться на 360° вокруг передней
грани бурового долота, при этом материал впереди всего бурового долота
разрушается и нет необходимости вращения самого бурового долота с электродами.
Генератор импульсов может генерировать импульс высокого напряжения в форме
волны вблизи критического задемпфированного ответа от цепи, образованной при
выработке плазменного канала.
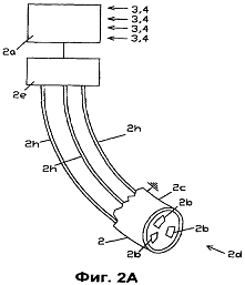
Такое устройство для электроимпульсного бурения показано на
фигурах 2А и 2В.

На фигуре 2А показано устройство 2, для электроимпульсного
бурения, содержащее три зарядных электрода 2b для зарядки высокого напряжения и
последующей разрядки, расположенных в разделенных угловых секторах по
окружности и, по меньшей мере, один заземляющий электрод 2с, соединенный с
землей, при этом зарядные электроды расположены в передней бурильной грани 2d
бурового долота с изоляцией между электродами и с индивидуальным с возможностью
включения соединением зарядных электродов с источником 2е высокого напряжения
регулируемого действия. На чертеже показаны три зарядных электрода 2b,
расположенных с разделением в секторах в 120° по окружности бурильной грани 2d.
Этого достаточно для возможности фокусирования электроимпульсного бурения в
любом направлении посредством переменной зарядки зарядных электродов 2b для
отклонения электроимпульсного бура на необходимый угол. Вместе с тем, для
увеличения диаметра ствола скважины и площади передней бурильной грани и
возможностей наведения предпочтительно использовать четыре или более зарядных
электрода, расположенных по окружности на передней грани бурового долота, как
показано на фигуре 2В. Буровое долото для электроимпульсного бурения,
показанное на фигуре 2В, содержит восемь зарядных электродов 2b и два
концентричных заземляющих электрода 2с. Передняя бурильная грань бурового
долота также содержит изоляцию 2f между электродами 2b и отверстия 2g для
циркуляции бурового раствора. Электроды соединены линиями 2h образования
импульса с блоком 2е электропитания, который, в свою очередь, соединен с блоком
2а приема и обработки данных от приемников электромагнитных и акустических
сигналов, создаваемых устройством для электроимпульсного бурения, как показано
на фигуре 2А. Блок 2е электропитания может осуществлять зарядку, обеспечивающую
создание плазменного канала только в пласте или на его поверхности, и зарядку,
обеспечивающую создание плазменного канала только в буровом растворе впереди
бурового долота, и регулируется для прицельного фокусирования действия бурения.
Упомянутое фокусирование достигается посредством выбора
заряжающихся электродов, или секций, или групп заряжающихся электродов, чтобы
фокусировать действие бурения под углом в необходимом направлении, чтобы
электроимпульсный бур не осуществлял бурения с одинаковой производительностью
по всей передней бурильной грани.
Измерения в
процессе бурения
Измерения в процессе бурения (ИПБ) означают сбор данных давления,
температуры и траектории бурения в трех измерениях во время бурения или
связанные бурением. Измерения во время бурения для картирования самого пласта
обычно называют каротажом в процессе бурения (КПБ), который включает в себя
измерение таких параметров, как удельное сопротивление, пористость, скорость
звука и гамма-излучение.
Приемники акустических и электромагнитных сигналов,
создаваемых устройством для электроимпульсного бурения, являются приемниками
любого известного типа и размещения, годные для приема упомянутых сигналов.
Приемники акустических сигналов приспособлен измерять три
вектора перемещения и одну составляющую давления и расположены в одном или
нескольких положениях, выбранных из следующих положений: на морском дне, на
земной поверхности, в воде над морским дном, в одном или нескольких отдельных
стволах скважин, в стволе скважины, в котором используется устройство для
электроимпульсного бурения. Таким образом можно определить составляющие сдвига
и давления акустических волн. Целесообразно использовать, пьезоэлектрические
приемники с измерением по трем осям, гидрофоны и сейсмографы.
Приемники электромагнитных сигналов могут быть расположены в
одном или нескольких положениях, выбранных из следующих положений: на морском
дне, на земной поверхности, в воде над морским дном, в одном или нескольких
отдельных стволах скважин, в стволе скважины, в котором используется устройство
для электроимпульсного бурения.
Термином "приемник электромагнитных сигналов"
обозначены приемники напряженности электрического поля, электромагнитные
приемники и приемники напряженности магнитного поля. Приемники напряженности
электрического поля содержат, например, антенны с электродами различного типа,
такими как серебро-серебро-хлорид, электроды с графитовым наполнением,
оптоволоконные датчики, симметричные вибраторные антенны и антенны с
диэлектрическими пластинами. Электромагнитные приемники содержат, например,
кольцевые антенны и катушки с ферромагнитным сердечником или без него и
магнетометры с индукционной катушкой. Приемники напряженности магнитного поля
можно разделить на две основные группы: магнитометры для Н<1 мТ (миллитесла)
и измерители магнитной индукции для Н>1 мТ (миллитесла). Магнитометры можно
разделить на две подгруппы: векторные, например индукционные, феррозондовые,
квантовые, магниторезистивные и оптоволоконные магнитометры, и скалярные,
например магнитометры с оптической накачкой и протонной точностью. Измерителями
магнитной индукции, например, являются флюксметры с магнитосопротивлением
эффекта Холла, магнитодиодные и магнитотранзисторные. Приемники предпочтительно
располагать парами и тройками для измерения всех составляющих электромагнитного
поля. Наиболее предпочтительными являются дипольные электроды
серебро-серебро-хлорид или катушки с ферромагнитным сердечником для измерения
напряженности и электрического и магнитного поля на поверхности,
соответственно, по причине простоты в изготовлении, низкой стоимости и хорошего
качества измерений. В стволе скважины кольцевые антенны, такие как рамочные
антенны или круговые антенны являются наиболее предпочтительными для
электромагнитных измерений по совпадающим причинам. Вышеупомянутые приемники
предпочтительно размещать вместе группами для выполнения нескольких типов
измерений с одного места, что упрощает анализ измеренных данных. Дополнительно,
многие группы приемников предпочтительно располагать, в частности, на морском
дне, для создания нескольких комплектов измерений и хорошей точности установки.
Приемники создают предпочтительно электрические, акустические, радио,
электромагнитные или оптические сигналы, которые передаются в форме
необработанных данных или обработанных данных по кабелю или другому средству на
площадку на поверхности, предпочтительно с возможностью считывания и обработки
в режиме реального времени. В стволе скважины, где используют устройство для
электроимпульсного бурения, приемники предпочтительно располагают парами,
например, вблизи друг друга вдоль бурильной колонны и, кроме того, диаметрально
противоположно вокруг бурильной колонны, для более простой идентификации и
удаления нежелательных сигналов и определения положения отраженных сигналов или
сигналов, представляющих интерес. Измерительные устройства измеряют цепочки данных
во времени с частотой измерения, адаптированной к частоте генерируемых волн.
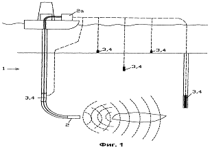
Волны сжатия, создаваемые буровым долотом, используют в
качестве сейсмических импульсов, которые может принимать сеть блоков
сейсмоприемников, установленных на поверхности вблизи ствола скважины.
Сейсмические данные годографа можно обрабатывать в режиме реального времени и
постоянное представление положения ствола скважины и отклонений от нормали
можно проецировать с использованием выделенного блока. Отклонения затем можно использовать
для коррекции и направления устройства бурения посредством генерирования
управляющих сигналов с поверхности. В патенте имеется только короткое описание
анализа сейсмического годографа для определения положения, ничего не сказано о
выполнении картирования параметров пласта на основании принятых сейсмических
или других данных.
Заключение
Сравнение предложенного электроимпульсного породоразрушающего
устройства и прототипа показывают, что предложенное устройство в несколько раз
дешевле и позволяет эффективно вести разрушение горных пород и искусственных
блоков с использованием не только электроизоляционных промывочных жидкостей, но
и воды.
Список
литературы
1. Воробьев
А.А. Разрушение горных пород электрическими импульсными разрядами. - Томск: Изд-во
ТГУ, 1961. - 150 с.
2. Воробьев
А.А., Воробьев Г.А. Электрический пробой и разрушение твердых диэлектриков. -
М.: Высшая школа, 1966. - 224 с.
. Импульсный
пробой и разрушение твердых диэлектриков и горных пород/А.А. Воробьев, Г.А.
Воробьев, Е.К. Завадовская и др. - Томск: Изд-во ТГУ, 1971. - 225 с.
. В.И.
Брылин. Бурение скважин специального назначения: Учебное пособие. - Томск:
Изд-во ТПУ, 2006. - 255 с. (С.119-142).