Совершенствование работ пункта технического обслуживания автомобилей в транспортном подразделении при ООО 'ЮГРЭ'

  • Вид работы:
    Дипломная (ВКР)
  • Предмет:
    Транспорт, грузоперевозки
  • Язык:
    Русский
    ,
    Формат файла:
    MS Word
    264,33 Кб
  • Опубликовано:
    2014-03-20
Вы можете узнать стоимость помощи в написании студенческой работы.
Помощь в написании работы, которую точно примут!

Совершенствование работ пункта технического обслуживания автомобилей в транспортном подразделении при ООО 'ЮГРЭ'

ВВЕДЕНИЕ

 

В процессе эксплуатации техническое состояние тракторов и автомобилей непрерывно изменяется, вследствие чего ухудшаются технико-экономические показатели работы этих машин: снижается мощность, увеличивается расход топлива и масел, растет число простоев из-за отдельных поломок (отказов).

Основные причины ухудшения технического состояния тракторов или автомобилей - нарушение начальных регулировок автомашины, ослабление креплений в соединениях в результате изнашивания деталей.

Правильная и своевременная регулировка механизмов машины исключительно важна. Так, уменьшение угла опережения впрыска топлива на 2° или увеличение его на 5°... 6° против нормального для дизеля снижает мощность на 2,2 кВт и увеличивает расход топлива на 27г/кВт-ч. Соответствующая регулировка зазора в клапанах предупреждает снижение мощности на 1,5...3 кВт и перерасход топлива на 19.. .22 г /кВт-ч.

Нарушение связи между подшипниками и шейками коленчатого вала двигателя, зубьями конических шестерен, осевого зазора в конических и радиального в шариковых и роликовых подшипниках, а также нарушение (увеличение) зазоров в гладких соединениях (детали шатунно-поршневой группы, плунжерные пары, пальцы и проушины звеньев гусеницы и др.) приводят к падению полезной мощности, перерасходу топлива и к снижению коэффициента полезного действия трактора или автомобиля.

Ослабление крепления соединений вызывает дополнительную вибрацию и динамические нагрузки на детали, а также нарушение соосности между отдельными агрегатами. Например, нарушение соосности в тракторах между коленчатым валом двигателя и первичным валом коробки передач, валом заднего моста и ведущими шестернями сопровождается повышенным нагревом и быстрым разрушением деталей этих соединений.

Условия, значительно влияющие на изнашивание деталей и узлов трактора и автомобиля, - это температура окружающей среды, качество применяемого топлива и смазочных материалов, состав почвы, равномерность нагрузки в процессе работы, своевременность и качество выполнения технического обслуживания.

Пуск непрогретого двигателя и работа при пониженной температуре увеличивают изнашивание всех соединений в несколько раз. Поэтому двигатели перед пуском необходимо прогревать, а полную нагрузку можно давать только после прогрева до нормальной температуры.

В холодное время года необходимо применять топливо и смазочные материалы пониженной вязкости и с соответствующими присадками, рекомендуемыми техническими условиями.

Применение топлива и смазочных материалов, несоответствующих предусмотренными техническими условиями для АТС данной марки, или нарушение температурного режима неизбежно вызывает повышенное изнашивание деталей. Работа двигателя при пониженной температуре влечет за собой изнашивание деталей шатунно-поршневой группы в десятки раз больше, чем при работе в нормальных условиях. Износ деталей двигателя при работе на топливе с содержанием серы до 0,8% и температуре охлаждающей жидкости 35°С в 4 раза выше, чем при работе на этом же топливе, но при температуре охлаждающей жидкости 70°С.

Чтобы избежать повышения износа деталей, применяют топливо с соответствующими присадками, а двигатель утепляют различными устройствами. Исключительно важно предъявлять высокие требования к чистоте топлива и смазочных материалов, т.е. освобождать их от механических примесей, которые повышают износ деталей в несколько раз.

Запыленность воздуха также вызывает ускоренный износ поршневой группы двигателя и других деталей. Поэтому в местах с повышенной запыленностью необходимо очень тщательно следить за исправностью воздухоочистителя, фильтров и уплотнений.

Частые перегрузки АТС при работе вызывают повышенный осповидный износ и усталостное разрушение.

Частые разборка и сборка сопряжении без необходимости и обезличивание деталей при технических обслуживаниях и текущих ремонтах также повышают износ и снижают долговечность узлов и агрегатов машин. Поэтому столь актуальной стала сегодня проблема своевременности проведения работ по техническому обслуживанию и повышению качества данного вида работ.

В последние годы наблюдается тенденция к усложнению конструкции автомобилей, в результате установки дополнительных агрегатов, механизмов и устройств, благоприятно влияющая на производительность, комфортабельность, экономичность и другие свойства, однако одновременно вызывающая увеличение трудовых затрат на ТО и Р.

Качество и своевременность выполнения ТО автомобилей существенно влияют на надежность, долговечность, топливную экономичность и безопасность движения.

Важными элементами решения проблемы управления техническим состоянием автомобилей являются совершенствование технологических процессов производства ТО и Р автомобилей, включающие технологические приемы, оборудование постов и рабочих мест, а также применение средств механизации и автоматизации процессов.

Исходя из вышесказанного, тема «Совершенствование работ пункта технического обслуживания автомобилей в транспортном подразделении при ООО «ЮГРЭ» пгт. Горноправдинска» актуальна.

Топливно-транспортный цех ООО «ЮГРЭ» недостаточно оснащен необходимыми механизмами и оборудованием. Имеющегося в наличии оборудования недостаточно для качественного проведения всех видов ТО, влияющих на безопасность движения. В связи с усложнением конструкции автомобилей и при отсутствии специалистов профессионального уровня, появилась потребность в решении вопросов организационного и технологического взаимодействия со специализированными сервисными предприятиями.

Таким образом, целью настоящей работы является разработка мероприятий по обеспечению работоспособности автомобилей на малых АТП.

Для достижения цели были поставлены и решались задачи:

)        Изучение организации системы ТО и ремонта в ТТЦ ООО «ЮГРЭ»;

)        Обоснование необходимости организации обслуживания спецтехники в ССП;

)        Разработка вопросов организационного и технического взаимодействия с ССП г. Тобольска по проведению ТО и ТР;

)        Рассмотреть возможность оснащения ТТЦ необходимым оборудованием.

Объектом работы является топливно-транспортный цех ООО «ЮГРЭ».

Субъект работы - организация работ по проведению ТО и ТР автотранспортных средств.

Основные положения, выносимые на защиту

.        Работы по ТО и ТР автомобилей трудоемки. Для их выполнения требуются специальные помещения, оборудование, обученный персонал. Затраты на все эти мероприятия высоки.

.        Производство каждого вида ТО и ремонта АТС в АТП осуществляется в соответствии с функциональной схемой производственного процесса АТП. В Тобольском ССП разработаны технологические схемы проведения всех видов ТО и ТР.

.        Основным вопросом организационного и технологического взаимодействия со специализированными сервисными предприятиями является качественное и быстрое выполнение необходимых по перечню и сопутствующих работ, в создании договорных отношений по оплате объема выполненных работ после выпуска автомобилей.

.        Ввиду слабой оснащенности технологическим оборудованием, для проведения работ по техническому обслуживанию и ремонту в полном объеме, отсутствия производственных площадей, при наличии слабой сменной программы, а именно отсутствия возможности выполнения трудоемких работ по ТО-2 и ремонту агрегатов, возникает необходимость в разработке рекомендаций по организации работ по ТО и ТР с сервисными предприятиями.

5.      Экономия денежных средств за счет выноса технических воздействий по ТО-2 в специализированные сервисные предприятия, за счет сокращения численности производственных рабочих, оборудования и производственных площадей.

.        Приобретение оборудования для оснащения ТТЦ.

ГЛАВА 1. ОБОСНОВАНИЕ НЕОБХОДИМОСТИ ОБСЛУЖИВАНИЯ СПЕЦТЕХНИКИ ТОПЛИВНО-ТРАНСПОРТНОГО ЦЕХА ОБЩЕСТВА С ОГРАНИЧЕННОЙ ОТВЕТСТВЕННОСТЬЮ «ЮГАНСКАЯ ГЕОЛОГОРАЗВЕДОЧНАЯ ЭКСПЕДИЦИЯ»

.1 Общая характеристика предприятия

Топливно-транспортный цех является структурным подразделением ООО “ЮГРЭ”. ОАО «ЮГРЭ» состоит из 8 структурных подразделений, расположенных на территории ХМАО, Новосибирской области.

Полное официальное наименование:

Общество с ограниченной ответственностью “Юганская Геологоразведочная Экспедиция”. Сокращенное наименование - ООО «ЮГРЭ».

Топливно-транспортный цех предназначен для обеспечения перевозок грузов к местам проведения работ, а также для организованной перевозки людей, направляющихся на работу в вахтовые поселки. Учредителем является ООО “ЮГРЭ”.

1.2 Цель и виды деятельности общества с ограниченной ответственностью «Юганская Геологоразведочная Экспедиция»

Основной задачей предприятия является бурение скважин с целью определения наличия нефти или газа и их промышленной добычи. Состав предприятия включает в себя основные и вспомогательные службы.

Для выполнения основной задачи по проведению геологоразведочных работ в состав предприятия входят:

геологический отдел (ГО);

отдел геофизики (ГФО);

производственно-технический отдел (ПТО);

районная инженерно-техническая служба бурения (РИТС бурения);

районная инженерно-техническая служба испытания (РИТС испытания);

вышкомонтажный цех (ВМЦ);

ремонтно-строительный цех (РСЦ);

топливно-транспортный цех (ТТЦ).

Геологический отдел и отдел геофизики являются основными службами и занимаются исследованиями и расчетами возможных мест залегания нефти и газа.

РИТС бурения, РИТС испытания и вышкомонтажный цех занимаются непосредственно работами по бурению, обустройству и испытаниям скважин.

Производственно-технический отдел обеспечивает все службы необходимыми материалами, учитывая сроки и объемы завоза.

Ремонтно-строительный цех выполняет ремонтные, монтажные, строительные работы на производственных, вспомогательных объектах и зданиях жилищно-коммунального хозяйства.

Топливно-транспортный цех занимается перевозкой грузов непосредственно к местам проведения работ, также перевозит сами буровые установки к месту их назначения.

Предприятие имеет численность около 1500 человек.

 

1.3 Обоснование необходимости организации обслуживания спецтехники топливно-транспортного цеха общества с ограниченной ответственностью «Юганская Геологоразведочная Экспедиция» в специализированном сервисном предприятии


Одной из важнейших проблем, стоящих перед автомобильным транспортом является повышение эксплуатационной надежности автомобилей, и снижение затрат на их содержание. Решение этой проблемы, с одной стороны, обеспечивается автомобильной промышленностью за счет выпуска автомобилей с большей надежностью и технологичностью, с другой стороны - совершенствованием методов технической эксплуатации автомобилей; повышением производительности труда, снижением трудоемкости работ по ТО и Р автомобилей; увеличением их межремонтных пробегов. Это требует создания необходимой производственной базы для поддержания подвижного состава в исправном состоянии, широкого применения средств механизации и автоматизации производственных процессов.

Требования к надежности транспортных средств повышаются в связи с ростом скоростей, усложнению конструкции автомобилей, а также мощности, грузоподъемности и интенсивности движения.

Важными элементами решения проблемы управления техническим состоянием автомобилей являются совершенствование технологических процессов производства ТО и ремонта автомобилей, включающее технологические приемы, оборудование постов и рабочих мест, а также широкое применение средств механизации и автоматизации процессов.

Существенное значение для решения проблемы управления техническим состоянием автомобиля имеет планово-предупредительная система ТО и ТР подвижного состава, регламентирующая режимы и другие нормативы по содержанию автомобиля в технически исправном состоянии.

Исходными данными в топливно-транспортном цехе ООО «ЮГРЭ» для планирования выполнения собственной программы по ТО-1 и ТО-2 является периодичность проведения ТО с учетом специфики работы АТП, среднесуточный пробег автомобиля, режим работы предприятия, продолжительность смены, данные план-графика ТО АТС за предыдущий месяц. Эти данные заносятся в план-график ТО АТС, на основе которых составляется оперативный план по ТО на каждый месяц года.

Специфика работы предприятия связана с наличием в парке трех групп автомобилей, различающихся по среднесуточному пробегу. К первой относятся легковой транспорт, который имеет большой среднесуточный и среднемесячный пробеги, что определяет их приоритетность в планировании постановки на ТО. Ко второй и третьей группе относятся автомобили, выполняющие перевозки на небольшие расстояния, их среднесуточный и среднемесячный пробеги меньше пробега автомобилей первой группы.

Перечень технических воздействий в транспортном цехе ограничивается технической возможностью организации (отсутствие капиталовложений) и экономической целесообразностью.

В связи с недостаточной производственной базой (нехватка некоторых видов оборудования и оснащения), не проводятся текущие ремонты, работы выполняются рабочими с участием водителей АТС. В объем работ по ТР входит снятие агрегатов и узлов с автомобиля без их разборки.

В связи с усложнением конструкции автомобилей (инжекторные ДВС), отсутствием специалистов профессионального уровня и при большой производственной программе топливно-транспортного участка, относительно сложные виды ТО-2 и ремонт агрегатов и узлов автомобиля освобождаются от сложных работ, что позволяет сосредоточить определенный интерес к автоцентрам, которые оснащаются современным технологическим оборудованием.

ВЫВОДЫ ПО ГЛАВЕ 1

Основной задачей предприятия является бурение скважин с целью определения наличия нефти или газа и их промышленной добычи.

Топливно-транспортный цех занимается перевозкой грузов непосредственно к местам проведения работ, также перевозит сами буровые установки к месту их назначения.

Одной из важнейших проблем, стоящих перед автомобильным транспортом является повышение эксплуатационной надежности автомобилей, и снижение затрат на их содержание.

Для решения проблемы управления техническим состоянием автомобиля существенное значение имеет планово-предупредительная система ТО и ТР подвижного состава, регламентирующая режимы и другие нормативы по содержанию автомобиля в технически исправном состоянии.

Перечень технических воздействий в транспортном цехе ограничивается технической возможностью организации (отсутствие капиталовложений) и экономической целесообразностью.

В связи с усложнением конструкции автомобилей (инжекторные ДВС), отсутствием специалистов профессионального уровня и при большой производственной программе топливно-транспортного участка, есть необходимость взаимодействовать со специализированными сервисными предприятиями, которые оснащаются современным технологическим оборудованием.

ГЛАВА 2. ОРГАНИЗАЦИЯ СИСТЕМЫ ТО И РЕМОНТА ТОПЛИВНО-ТРАНСПОРТНОГО ЦЕХА ОБЩЕСТВА С ОГРАНИЧЕННОЙ ОТВЕТСТВЕННОСТЬЮ «ЮГАНСКАЯ ГЕОЛОГОРАЗВЕДОЧНАЯ ЭКСПЕДИЦИЯ»

.1 Технологический расчет топливно-транспортного цеха общества с ограниченной ответственностью «Юганская Геологоразведочная Экспедиция»

Производственная программа транспортного участка по ТО характеризуется числом ТО, планируемых на определенный период времени (год, сутки).

Сезонное ТО, проводится два раза в год, как правило, совмещается с ТО-2 или ТО-1 и как отдельный вид планируемого обслуживания при определении производственной программы не учитывается. Для ТР, выполняемого по потребности, число воздействий не определяется. Планирование простоев автомобилей и объемов работ в ТР производится исходя из соответствующих удельных нормативов на 1000 км пробега.

Так как план транспортного участка по основным показателям устанавливается на календарный год, то и производственная программа по каждому виду ТО рассчитывается на год. Программа служит основой для определения годовых объемов работ транспортного участка и необходимого штата рабочих.

Годовую программу производства ТО и Р можно рассчитать различными методами: аналитическим, т.е. с использованием системы уравнений и учетом времени на списание подвижного состава; с использованием расчетных таблиц и номограмм, построенных на основе расчетных уравнений. Однако все они базируются на так называемом цикловом методе расчета, который используется в практике транспортного цеха. При этом под циклом понимается пробег или период времени с начала эксплуатации нового или капитально отремонтированного автомобиля до его КР.

Цикловой метод расчета производственной программы предусматривает выбор и корректирование периодичности ТО-1, ТО-2 и пробега до КР для подвижного состава транспортного цеха, расчет числа ТО и КР на 1 автомобиль за цикл, т.е. на пробег до КР, расчет коэффициента перехода от цикла к году и на его основе пересчет полученных значений числа ТО и КР за цикл на 1 автомобиль и весь парк (или группу однотипных автомобилей) за год.

При разнотипном парке расчет программы ведется по группам одномарочного подвижного состава, в которые включаются модели и модификации, близкие по нормативам периодичности и трудоемкости ТО и ТР. В отдельных случаях при надлежащем обосновании расчет программы может производиться по средневзвешенным значениям исходных показателей.

Учитывая, что ТО автопоездов обычно производится без расцепки тягача и прицепа, расчет производственной программы для автопоездов как для целой единицы подвижного состава аналогично расчету для одиночных автомобилей.

Основной задачей автотранспортного участка является:

выполнение плана транспортных услуг;

рациональное использование подвижного состава;

своевременное обеспечение заказчика автотранспортом;

контроль проведения предрейсовых, межрейсовых, послерейсовых мед освидетельствований и проверок знаний водительского состава;

участие в работе по укреплению трудовой и транспортной дисциплины;

своевременное прохождение инструктажей по ТБ;

своевременное обеспечение запасными частями.

Штат топливно-транспортного цеха ООО «ЮГРЭ»

.        Начальник транспортного участка- 1 человек;

.        Главный инженер - 1 человек;

.        Инженер по специальному транспорту - 1 человек;

. Механик  - 3 человека;

. Диспетчер - 2 человека;

. Водители - 150 человек;

. Автослесарь - 26 человек.

Площадь ремонтных цехов составляет 3 000 кв. м.

2.2 Исходные данные для планирования работ по обслуживанию автомобилей

Подвижной состав автомобилей топливно-транспортного цеха ООО «ЮГРЭ» на 1 января 2008 года.

Таблица 2.1

Структура подвижного состава ТТЦ ООО «ЮГРЭ» на 1.01.2008 год

Марка автомобиля

Количество

Процент к итогу, %

I. Бортовые автомобили КамАЗ

14

10,2

II. Тягачи Шкода КамАЗ МАЗ Мерседес-Бенц ЗИЛ

 4 12 11 2 7

 2,9 8,8 8,0 1,5 5,1

Всего тягачей

36

26,3

III. Самосвалы КамАЗ-5511 КрАЗ ЗИЛ-4502

 59 1 8

 43,1 0,7 5,8

Всего самосвалов

68

49,6

IV. Цистерны ЗИЛ МАЗ КамАЗ

 6 7 6

 4,4 5,1 4,4

Всего цистерн

19

13,9

Итого

137

100


Таблица 2.2 Технико-экономические показатели работы ТТЦ

Наименование показателя

Единицы

2007 г

Средне-списочное количество автомобилей

Шт.

125

Средняя грузоподъемность

Т

10,9

Общая грузоподъемность

Т

1360

Автомобиле-дни в предприятии

А-дн.

45625

Автомобиле-дни в работе

А-дн.

15969

Автомобиле-плано-дни в предприятии

А-дн.

497313

Автомобиле-плано-дни в работе

А-дн.

174059

Автомобиле-часы на линии

А-час

121362,5

Автомобиле-часы в движении

А-час

104612,9

Автомобиле-дни нахождения в исправном состоянии

А-дн.

38143

Автомобиле-дни простоя в ТО и ТР

А-дн.

7482

Автомобиле-часы в движении с грузом

А-час

63341

Автомобиле-часы простоя под погрузкой разгрузкой

А-час

16749,6

Коэффициент использования пробега


0,605

Коэффициент использования грузоподъемности


1,284

Коэффициент технической готовности


0,836

Коэффициент выпуска автомобилей на линию


0,35

Среднее время в наряде за сутки

Час

7,6

Средне-техническая скорость

Км/час

29,1

Средне-техническая эксплуатационная скорость

Км/час

25,1

Среднее расстояние перевозки

Км

70

Средне-суточный пробег

Км

190,8

Количество ездок с грузом


26512

Общий пробег

Км

3046327

Пробег с грузом

Км

1844504

Объем перевозок

Т

370538,6

Грузооборот

т/км

25780055

Возможный грузооборот

т/км

20105094

Производительность на 1 списочную Автотонну

 Т

 272,5

Автотонну

т/км

18961



2.3 Планирование технического обслуживания автомобильного парка

Для составления плана технического обслуживания автомобильного парка изучим производственную программу по эксплуатации автомобилей в ТТЦ в 2008 году.

Таблица 2.3 Производственная программа по эксплуатации подвижного состава на 2008 год

Наименование показателя

Расчетная формула

АТК

1

2

3

I. Производственная база 1. Среднесписочнное количество автомобилей (Асс), шт

Асс = P / (W ´ q)  Где P - грузооборот, ткм W - выработка на одну списочную автотонну, ткм q - средняя грузоподъемность, т. q = 10,88

Асс=125

2. Автомобиле-дни пребывания в предприятии (АДп)

АДп = Асс ´ Дк  Дк - кол-во календарных дней в периоде Дк = 365 дней

АДn = 45625

3. Автомобиле-тонно-дни пребывания в предприятии (АТДп)

АТДп = Асс ´ Дк ´ q

АТДn = 497313

4. Автомобиле-дни в работе (АДр)

АДр = Асс ´ Дк ´ aв  aв - к-т выпуска автомобилей на линию aв = 0,35

АДр = 15969

Технико - эксплуатационные показатели

5. Автомобиле-тонно-дни в работе (АТДр)

АТДр = Асс ´ Дк ´ aв ´ q

АТДр = 174059

6. Автомобиле-дни нахождения в исправном состоянии (АДи)

АДи = Асс ´ aт ´ Дк  aт - к-т технической готовности aт = 0,836

АДи = 38143

7. Автомобиле-дни простоя на техн. Обслуживании и ремонте (АДТО и Р)

АДТО и Р = АДп -АДи

АДТО и Р = 7482

8. Автомобиле-часы работы на линии (АЧр)

АЧр = Асс ´ Дк ´ aв ´ Тн Тн - ср. время в наряде, час. Тн = 7,6

АЧр = 121362,5

9. Автомобиле-часы в движении (АЧдв)

АЧдв = АЧр - АЧп-р  АЧп-р - автомобиле-часы простоя под погрузкой - разгрузкой

АЧп-р = 104612,9

10. Автомобиле-часы в движении с грузом (АЧгдв)

АЧгдв = (АЧп - АЧп-р) ´ b

АЧгдв = 63341

11. Автомобиле-часы простоя под погрузкой - разгрузкой (АЧп-р)

АЧп-р = Nег ´ tег  Nег - кол-во ездок с грузом tег - время ездки с грузом

АЧп-р = 16749,6

12. Общая грузоподъемность автомобилей (Gа)

Gа = Асс ´ q

Gа = 1360

II. Технико-эксплуатационные показатели 1. К-т технич. Готовности автомобилей

aг = АДи / АДп

aг = 0,836

2. К-т выпуска автомобилей на линию

aв = АДр / АДп

aв = 0,35

3. Ср. время нахождения автомобиля в наряде за сутки (Тн), час

Тн = АЧр / АДр

Тн = 7,6

4. Ср. технич. Скорость (Vт), км/ч

Vт = aо / АЧдв  aо - общий пробег, км

Vт = 29,1

5. Ср. эксплуатац. Скорость (Vэ), км/ч

Vэ = aо / АЧр

Vэ = 25,10105

6. Ср. суточный пробег

aсс = aо / АДр

aсс = 190,76

7. К-т использования пробега (b)

b = aгр / aо  aгр - пробег с грузом, км

b = 0,60548

8. К-т использования грузоподъемности (g)

g = Рпл / (aгр ´ q)  Рпл - грузооброт, ткм

g = 1,2846

9. Ср. грузоподъемн. Автомобиля (q), т

q = G / Асс  G - общая грузоподъемность, т

q = 10,88

10. Ср. расстояние перевозки (lср)

lср = Р / Q  Q - объем перевозок, т

lср = 69,574

III. Производительность подвижного состава 1. Выработка на 1 списочную автотонну (U), тонн (W), ткм

U = Q / G W = Р / G

  U = 272.5 W = 18961.5

IV. Производств. Программа 1. Общий пробег (aо), км

aо = АЧр ´ Vэ

aо = 3046327

2. Пробег с грузом (aгр), км

aгр = aо ´ b = Асс ´ Дк ´ aв ´ Тн ´ ´ Vэ ´ b

aгр = 1844504

3. Кол-во ездок с грузом (Nег)

Nег = Q / (q ´ g)

Nег = 26511,64

4. Грузооборот (Р), ткм

Р = G ´ W = Асс ´ Дк ´ Тн ´ aв ´ Vэ ´ b ´ q ´ g

Р = 25780055

5. Грузооборот возможн. (Рвоз), ткм

Рвоз = aгр ´ q = Асс ´ Дк ´ aв ´ Тн ´ ´ Vэ ´ b ´ q

Рвоз = 20105094

6. Объем перевозок грузов (Q), т

Q = Р / lср = Nег ´ q ´ g

Q = 370538.6


Для удобства выполнения расчетов сгруппируем весь парк подвижного состава в три технологически совместные группы автомобилей по признаку:

единства технологии выполнения работ по ТО и ТР;

примерного равенства трудоемкости выполнения работ по ТО и ТР в

данной группе.

Таблица 2.4 Исходные данные для корректировки нормируемой периодичности ТО и ТР

Число марок автомобилей

11

Число марок автомобилей, работающих с прицепами

4

Продолжительность работы предприятия в течение года (дни)

305

Продолжительность смены для зон ТО и ТР (час)

8.2

Количество технологически совместимых групп

3

Природно-климатическая зона

6(очень холодная)

Окружающая среда

Не агрессивна


2.4 Корректирование нормируемой периодичности ТО и КР

Норма пробега до КР LK для данных условий эксплуатации устанавливается по каждой группе подвижного состава по формуле:

Lk = L ki* K1 * К2 * К3 , км                                                (2.1)

где L ki - нормативный пробег транспортных средств до КР, км;

K1 - коэффициент, учитывающий категорию условий эксплуатации;

К2 - коэффициент, корректирования от модификации подвижного состава;

К3 - природно-климатические условия.

Таблица 2.5 Нормативные пробеги

Наименование марки и модели автомобиля

Нормативные пробеги (км) до


ТО-1

ТО-2

КР

КРАЗ 6510

3000

12000

250 000

3000

12000

125 000

КАМАЗ 53213

4000

16000

300 000

ЗИЛ 431410

4000

16000

300 000

САРЗ 3280

3500

14000

250 000

ПАЗ 3205

3500

14000

320 000

ВАЗ 2131

4000

16000

125 000

УАЗ 3303

4000

16000

150 000

ГАЗ 31029

4000

16000

300 000


Таблица 2.6 Коэффициенты корректирования пробегов до ТО и КР

Технологически совместимые группы

К1,

К2

К3


до ТО

до КР

до КР

до ТО

до КР

III

 0,8

 0,8

 1,0

 0,8

 0,7

V






II







Норма пробега транспортного средства до ТО-1 и ТО-2 определяется из выражения:

LTOi = LToiнор * К1 * К3 , км                                            (2.2)

где LToiнор - нормативный пробег транспортного средства до I -того технического обслуживания, км.

Таблица 2.7

Нормативные пробеги в соответствии с условиями эксплуатации

Наименование марки и модели автомобиля

Нормативные пробеги (км) до


ТО-1

ТО-2

КР

КРАЗ 6510

1920

7680

119000

УРАЛ 5557001

1790

8000

70000

КАМАЗ 53213

2560

10240

168000

ЗИЛ 431410

2560

10240

168000

САРЗ 3280

2240

8960

140000

ПАЗ 3205

2240

8960

179200

ВАЗ 2131

2140

8960

70000

УАЗ 3303

2240

8960

84000

ГАЗ 31029

2560

10240

168000


2.5 Расчет производственной программы технических осмотров и текущих ремонтов

В результате расчета производственной программы определяется количество технических обслуживании, капитальных ремонтов и диагностических воздействий за год и сутки. Производственная программа по ТО и КР рассчитывается за цикл эксплуатации, т.е. пробег транспортного средства до КР, с последующим пересчетом программы на год и сутки. Производственная программа по диагностическим воздействиям определяется в зависимости от программы по ТО-1 и ТО-2 за год. Для текущего ремонта, выполняемого по потребности, количество ТР не определяется. Планирование простоев подвижного состава и объемов работ в ТР производится исходя из соответствующих удельных нормативов на 1 000 км пробега. Расчет количества ТО и КР на один автомобиль за цикл.

Nкр = Lк / Lк = 1                                                                           (2.3)

где Nкр - число капитальных ремонтов за цикл.

Nто-2 = Lк / Lто-2 - Nкр                                                      (2.4)

где Nто-2 - число ТО-2 за цикл.

Nто-1 = Lко / Lто-1 - ( Nкр + Nто-1 )                                  (2.5)

где Nто-1 - число ТО-1 за цикл.

Lк, L1, L2 - соответственно пробеги до КР, ТО-1, ТО-2, км;

Lсс - среднесуточный пробег, км.

Таблица 2.8 Цикловая программа ТО и КР по каждой группе

Наименование марки и модели автомобиля

Количество технических воздействий


ЕО

ТО-1

ТО-2

КР

КРАЗ 6510

1216

48

15

1

УРАЛ 5557001

1040

30

9

1

КАМАЗ 53213

1088

48

15

1

ЗИЛ 431410

1664

48

15

1

САРЗ 3280

1792

48

15

1

ПАЗ 3205

2240

60

19

1

ВАЗ 2131

1008

24

7

1

УАЗ 3303

1008

27

8

1

ГАЗ 31029/3102

1664

48

15

1


Рассчитаем количество технических обслуживаний и ремонтов автомобильного парка.

Так как пробег транспортного средства за год отличается от пробега транспортного средства за цикл, используя коэффициент перехода от цикла к году, для определения количества ТО и КР за год необходимо сделать соответствующий пересчет полученных значений Nk, N1, N2, NEO используя коэффициент перехода от цикла к году hг:

hг = Lг / Lкр = Дрг * lcc *a т / Дэц * lсс                             (2.6)

где L г - годовой пробег одного автомобиля, км;

Д раб. г- число рабочих дней в году;

Д эц - число дней в цикле

Дэц = Lк / lсс                                                                        (2.7)

Предварительно определяем коэффициент технической готовности aт. Применительно к ремонтному циклу aт автомобиля (парка) определяют из соотношения:

aт = Дэц / ( Дэц + Дрц )                                                      (2.8)

где Д эц - число дней нахождения автомобиля за цикл в технически исправном состоянии;

Д рц - число дней простоя автомобиля на ТО-2 и КР за цикл.

Учитывая, что продолжительность простоя автомобиля на ТО и ТР в нормативах Положения предусматривается общей удельной нормой на 1 000 км пробега, которая корректируется коэффициентом К4, число дней простоя автомобиля в ремонте за цикл Д рц выражается в следующем виде:

Дрц = Дкр + Дто и р * Lк / 1000 * К4                                (2.9)

где Д к - простой автомобиля в КР, дни;

Д то, тр - удельный простой автомобиля на ТО и ТР в днях на 1 000 км пробега.

Для автопоездов дни простоя в КР ДК принимаются, как для одиночных грузовых автомобилей, так как нормы простоя автомобилей превышают нормы простоя прицепов и полуприцепов.

Удельный простой на ТО и ТР для автомобилей, работающих с прицепами, принимается, как для одиночных грузовых автомобилей, так как прицеп отделяется от автомобиля и ремонтируется отдельно. Для автомобилей - тягачей, работающих с полуприцепами, простой принимается с учетом времени простоя полуприцепов в ТР (ТО-2 автомобиля - тягача и полуприцепа в основном производится одновременно без расцепки).

На основании рассчитанного значения ат определяют возможный годовой пробег автомобиля:

Lг = Драб.г * aт*lсс                                                             (2.10)

где Д раб. г -количество дней работы предприятия в году;

l cc -среднесуточный пробег автомобиля, км.

Полученное выражение дает возможность, в свою очередь, определить коэффициент перехода от цикла к году hг, представляющий собой отношение пробега автомобиля за год к пробегу за цикл:

hг = Lг /Lк                                                                                     (2.11)

Таблица 2.9 Годовые пробеги по каждой группе транспортных средств

Наименование марки и модели автомобиля

Kтг

Коэффициент перевода цикловой программы в годовую

Годовые пробеги автомобилей

КРАЗ 6510

0,935

0,111

27450

УРАЛ 5557001

0,944

0,277

20148

КАМАЗ 53213

0,907

0,254

41488

ЗИЛ 431410

0,936

0,172

28552

САРЗ 3280

0,955

0,163

23301

ПАЗ 3205

0,957

0,130

23351

ВАЗ 2131

0,951

0,432

29012

УАЗ 3303

0,961

0,291

23456

ГАЗ 31029/3102

0,937

0,237

28578


Количество ТО и КР транспортного средства за год

Nкг = Nк * hг                                                                       (2.12)г = N1 * hг                                                                  (2.13)г = N2 * hг                                                                           (2.14)еог = Nео * hг                                                                      (2.15)

Где Nкг, N1г, N2г, Nеог - соответственно количество КР, ТО-2, ТО-1 и ЕО одного автомобиля в год.

Таблица 2.10

Годовая программа ТО и КР на один автомобиль (по каждой марке)

Наименование марки и модели автомобиля

Количество технических воздействий


ЕО

ТО-1

ТО-2

КР

КРАЗ 6510

281

8,3

2,6

0,1

УРАЛ 5557001

288

8,3

2,5

0,3

КАМАЗ 53213

277

12,2

3,8

0,3

ЗИЛ 431410

286

8,2

2,6

0,2

САРЗ 3280

291

7,8

2,4

0,2

ПАЗ 3205

292

7,8

2,5

0,1

ВАЗ 2131

290

10,4

3,0

0,4

УАЗ 3303

293

7,9

2,3

0,3

ГАЗ 31029/3102

290

10,3

3,0

0,1


Количество ТО и КР на весь парк в год составит

S Nкг = Nкг * Асс                                                                (2.16)

S N 1г = N 1г * Асс                                                              (2.17)

S N2г = N2г * Асс                                                                (2.18)

S Nеог = Nеог * Асс                                                             (2.19)

где S Nкг , S N 1г, S N2г, S Nеог - соответственно суммарное количество КР, ТО-2, ТО-1 и ЕО на весь парк транспортных средств в год.

Результаты расчета годовой программы на весь парк подвижного состава представлены в таблице 2.11.

Таблица 2.11 Годовая программа ТО и КР по каждой марке автомобиля

Наименование марки и модели автомобиля

Количество технических воздействий


ЕО

ТО-1

ТО-2

КР

1

2

3

4

5

КРАЗ 6510

562

16,6

5,2

0,2

УРАЛ 5557001

288

8

3

0,3

КАМАЗ 53213

277

12,2

3,8

0,3

ЗИЛ 431410

571

16

5

0,4

САРЗ 3280

582

15,6

4,8

0,4

ПАЗ 3205

292

7,8

2,5

0,1

ВАЗ 2131

1160

41,6

12,0

1,6

УАЗ 3303

879

23

6

0,9

ГАЗ 31029/3102

1160

41,2

12,0

0,4

ИТОГО

5771

182

54,3

4,6


Количество Д-1 на весь парк транспортных средств за год Nгд-1 определяется из выражения:

Nгд-1 = Nг1д-1 + Nг2д-1 + Nгтрд-1                                             (2.20)

где Nгд-1 - годовое количество Д-1г1д-1 - годовое число Д-1 при ТО-1г2д-1 - годовое число Д-1 после ТО-2гтрд-1 - годовое число Д-1 перед ТР, с целью уточнения неисправностей по агрегатам обеспечивающим БД.

поскольку:

следовательно:

Nгд-1 = 1.1 * Nгто-1 + Nгто-2                                             (2.24)гд-2 = Nг2д-2 + Nгтрд-2 + Nгвд-2                                              (2.25)

где Nгд-2 - годовое количество Д-2г2д-2 - годовое число Д-2 перед ТО-2гтрд-2 - программа Д-2 для уточнения неисправностей перед ТРгвд-2 - программа Д-2 с целью выборочного контроля качества ТО и ТР ОТК.

Поскольку:

Nг2д-2 = Nгто-2                                                                   (2.26)гтрд-2 = 0.2 * Nгто-2                                                                  (2.27)гвд-2 = 0.1 * Nгто-2                                                             (2.28)

следовательно:

Nгд-2 = 1.3 * Nгто-2                                                            (2.29)

Расчет суточной программы ТО и диагностирования:

Nсто-i = Nгто-i / Дрг                                                            (2.30)

где Nсто-i - суточная программа i-того вида обслуживаниягто-i - годовая программа i-того вида обслуживания

Дрг - количество дней работы АТП в году ,

Дрг = 305 дн.

Результаты расчета годовой программы по диагностике (Д-1 и Д-2) по группам и на весь парк подвижного состава ТТЦ ООО «ЮГРЭ» представлены в таблице 2.12.

Таблица 2.12 Годовая программа работ по диагностированию

Наименование марки и модели автомобиля

Виды диагностирования


Д-1

Д-2

КРАЗ 6510

28,6

6,9

УРАЛ 5557001

14,2

3,9

КАМАЗ 53213

20,5

4,8

ЗИЛ 431410

27,4

6,5

САРЗ 3280

26,1

6,0

ПАЗ 3205

12,5

2,6

ВАЗ 2131

69,9

15,6

УАЗ 3303

38,2

7,8

ГАЗ 31029/3102

69,7

15,6

ИТОГО

307,1

69,7


Суточная программа парка автомобилей по ТО и диагностике определяется из следующего выражения:

N ic= S N iг/Д iраб.г                                                             (2.31)

где S N iг - годовое количество ТО и диагностических воздействий по каждому виду в отдельности SNEOr, SN1г, SN2г, SNq-1г 2SNq-2г;

Дiраб. г - количество рабочих дней в году производственной зоны, для которой определяется суточная программа.

Суточная программа по диагностированию:

Д-1 = 307,1/253 =1,2

Д-2 = 69,7/253 = 0,27

Таблица 2.13

Суточная программа ТО и КР по каждой марке автомобиля

Наименование марки и модели автомобиля

Количество технических воздействий


ЕО

ТО-1

ТО-2

КР

КРАЗ 6510

2

0,05

0,02

0

УРАЛ 5557001

1

0,03

0,01

0

КАМАЗ 53213

1

0,04

0,013

0

ЗИЛ 431410

2

0,05

0,02

0

САРЗ 3280

2

0,05

0,013

0

ПАЗ 3205

1

0,025

0,005

0

ВАЗ 2131

4

0,13

0,04

0

УАЗ 3303

3

0,08

0,02

0

ГАЗ 31029/3102

4

0,136

0,04

0

ИТОГО

20

0,591

0,181

0


Суточная программа по каждому виду обслуживанию (ЕО,ТО-1 и ТО-2) является критерием для выбора метода ТО (поточный или универсальные посты).

Применение поточной организации обслуживания при ЕО становится целесообразным при минимальной суточной программе 100 обслуживаемых однотипных автомобилей, ТО-1 при 12-15 автомобилей и ТО-2 при суточной программе 5-6 и более автомобилей. Транспортный участок ООО «ЮГРА» содержит разнотипный парк автомобилей, который состоит из грузовых, легковых, грузопассажирских, а также автобусов

При меньшей суточной программе применяется метод на универсальных постах.

Использование поточной организации обслуживания при ЕО становится целесообразным при минимальной суточной программе 100 автомобилей.

На основании суточной программы видим, что работы проводятся по ЕО,ТО-1, ТО-2, ТР, Д-1,Д-2 на отдельных универсальных постах.

2.6 Расчет годовых объемов работ топливно-транспортного цеха

Годовой объем работ транспортного цеха определяется в чел - ч. и состоит из объемов работ по техническому обслуживанию (ЕО, ТО-1, ТО-2)„ диагностике (Д-1, Д-2), текущему ремонту (ТР) и самообслуживанию предприятия.

В самообслуживание предприятия входят работы по обустройству территории, работы, связанные с производственно-хозяйственной деятельностью, погрузо-разгрузочные работы и работы, связанные с изготовлением специнструмента и оснастки для технологического оборудования.

Расчетную трудоемкость ЕО, реализуемую путем ручной обработки tEO, при поточном методе производства можно определить из следующего выражения:

tео = tнео * К2 * К5 * Км, чел-час                                               (2.32)

где tнEO - нормативное значение трудоемкости ЕО для данного типа подвижного состава, чел-ч;

К2, Км - соответственно коэффициенты учитывающие тип и модификацию подвижного состава, снижение трудоемкости за счет механизации работ ЕО;

Значение Км в зависимости от удельного веса механизированной части работ обслуживаемого автомобиля может быть принято от 0,36 до 0,75.

Принимаем Км = (0,36 - 0,75) = 0,5

Таблица 2.14 Нормативные трудоемкости

Наименование марки и модели автомобиля

Нормативы на 1000 км


Трудоемкости (чел-ч)


ЕО

ТО-1

ТО-2

ТР

КРАЗ 6510

0,65

3,0

18,0

6,2

УРАЛ 5557001

0,57

4,0

16,7

6,2

КАМАЗ 53213

0,50

3,4

14,5

8,5

ЗИЛ 431410

0,50

3,4

14,5

8,5

САРЗ 3280

0,70

5,5

18,0

5,5

ПАЗ 3205

0,70

5,5

18,0

5,3

ВАЗ 2131

0,30

2,3

9,2

2,8

УАЗ 3303

0,50

3,2

11,3

3,9

ГАЗ 31029/3102

0,35

2,5

10,5

3,0


В общем виде скорректированная нормативная трудоемкости ТО-1 и ТО-2 определяется из выражения:

tто-i = tнто-i * К2 * К5, чел - ч                                           (2.33)

где tнто -трудоемкость ТО-1 (ТО-2) для данного типа подвижного состава, чел-ч;

К2 - коэффициент, учитывающий тип и модификацию подвижного состава;

К5 - коэффициент, учитывающий число технологически совместимых групп.

Удельная нормативная трудоемкость текущего ремонта:

tтр = tнтр * К1 * К2 * К3 * К4 * К5, чел - ч                     (2.34)

где tTPH - удельная трудоемкость для данного типа подвижного состава;

К1 К2, К4 - соответственно коэффициенты, учитывающие категорию условий эксплуатации, природно-климатические условия, число совместимых групп, условия хранения подвижного состава.

Таблица 2.15 Коэффициенты корректирования трудоемкостей и простоев в ТО и ремонте

Наименование марки и модели автомобиля

К1

К2

К3

К4

К5


Трудоем ТР

Трудоем ТО и ТР

Трудоем ТР

Трудоем ТР

Простои ТО и ТР

Трудоем ТО и ТР

КРАЗ 6510

1,2

1,15

1,3

1,0

1,0

1,2

УРАЛ 5557001

1,2

1,15

1,3

1,0

1,0

1,2

КАМАЗ 53213

1,2

1,15

1,3

1,0

1,0

1,2

ЗИЛ 431410

1,2

1,00

1,3

1,0

1,0

1,2

САРЗ 3280

1,2

1,00

1,3

1,0

1,0

1,2

ПАЗ 3205

1,2

1,00

1,3

1,0

1,0

1,2

ВАЗ 2131

1,2

1,00

1,3

0,7

0,7

1,2

УАЗ 3303

1,2

1,00

1,3

0,7

0,7

1,2

ГАЗ 31029/3102

1,2

1,00

1,3

0,8

0,7

1,2


Таблица 2.16 Нормативные трудоемкости после корректировки

Наименование марки и модели автомобиля

Трудоемкости (чел-ч)


ЕО

ТО-1

ТО-2

ТР

КРАЗ 6510

0,90

4,14

24,84

13,3

УРАЛ 5557001

0,78

5,52

23,04

13,3

КАМАЗ 53213

0,69

4,69

20,0

18,3

ЗИЛ 431410

0,6

4,08

17,4

18,3

САРЗ 3280

0,84

6,60

21,6

11,8

ПАЗ 3205

0,84

6,60

21,6

11,4

ВАЗ 2131

0,36

2,76

11,0

6,0

УАЗ 3303

0,6

3,84

13,6

8,4

ГАЗ 31029/3102

0,42

3,00

12,6

6,5


При диагностике Д-1, выполняемой на отдельных постах (выделенная диагностика), ее трудоемкость tq-1 с выполнением регулировочных работ составляет примерно 25% от нормативной скорректированной трудоемкости ТО-1 автомобиля (автопоезда) t1:

tq-1 = 0,25 * t1, чел-ч                                                           (2.35)

При этом 10% составляют диагностические работы Д-1 и 15% -регулировочные работы, выполняемые на постах Д-1 после обнаружения неисправностей в результате диагностирования Д-1.

Поскольку регулировочные работы фактически являются работами, входящими в объем ТО-1, расчетную трудоемкость ТО-1 t1 при организации Д-1 на отдельных постах следует уменьшить на 15%

t1/ = 0,75 * t1                                                                        (2.36)

В случаях совмещения диагностики Д-1, общая трудоемкость этих работ t увеличивается на 10% за счет включения в t1+q1 технологии дополнительных операций по проверке тормозов, переднего моста, систем зажигания и питания на стендах:

t1+q1 = 1,10* t1                                                                   (2.37)

Диагностика Д-2 в основном выполняется на отдельных постах. При этом трудоемкость Д-2 tg.2 в зависимости от типа подвижного состава составляет от 10 до 20% от нормативной скорректированной трудоемкости ТО-2 t

Tг.2 = (0,1 - 0,2) *t2, чел- час                                             (2.38)

Значения 0,1- t2 принимается для автобусов и грузовых автомобилей большой грузоподъемности. При определении tг2 для автопоездов трудоемкость t2 принимается только для автомобиля-тягача.

За счет перенесения на посты Д-2 работ по проверке и регулировке систем питания, зажигания, электрооборудования и др., а также выделения работ по Д-1 трудоемкость ТО-2 соответственно необходимо скорректировать:

t2= (0,9- 0,8) • t2 - tg-1 чел-час                                           (2.39)

По "Положению" совместно с ТО-2 рекомендуется выполнять технологически связанные с ним, часто повторяющиеся операции сопутствующего ТР, не превышающие 20% трудоемкости ТО-2.

С учетом этого трудоемкость ТО-2 с операциями ТР t2+Tp составит

t2+TP = 1,2 • t2', чел-час                                                     (2.40)

Удельная трудоемкость ТР tip должна быть снижена на 10 - 15% за счет реализации ее на ТО в виде сопутствующих ремонтов:

tтp'= ( 0,90 - 0,85) • tтp, чел-ч/1000 км,                                       ( 2.41)

Годовой объем по ТО, диагностике и текущему ремонту Tiг определяется в чел-час раздельно по каждому типу подвижного состава:

По ЕО

Теог = S Neoг *teo;                                                              (2.42)

По выделенной диагностике Д-1

Tq.lr = SNq.lr*tq.i;                                                                (2.43)

ТО-1

Tir = SNlr*t1;                                                                        (2.44)

При совмещении диагностики Д-1 с ТО-1 по ТО-1 с Д-1

T1+q.lr = S NIr * t1+q-1;                                                      (2.45)

по Д-2

Tq.2r = S Nq.2r * tq.2;                                                          (2.46)

по ТО-2 с ТР

T2+Tpr = SN2*t2+Tp;                                                         (2.47)

по ТРтр = tтр * Lг * Aсс / 1000                                                    (2.48)

где Теог, Тq-1г, T1г ,Т1+q-1г , Т2+трГ, Ттрг- годовой объем работ соответственно ЕО, Д-1,ТО-1, ТО-1 с Д-1,Д-2, ТО-2 с ТР, ТР чел-ч;

teo, tq-1, tl tl+q-1, tq-2, t2 - трудоемкость соответственно ЕО, Д-1, ТО-1,С Д-1,

tтр- удельная трудоемкость ТР, чел-ч/1000 км

Lr - годовой пробег автомобиля данной модели, км.

Таблица 2.17 Годовая трудоемкость работ по ТО и ТР (чел.-час)

Наименование марки и модели автомобиля

Виды работ по ТО и ремонту


ЕО

ТО-1

ТО-2

ТР

КРАЗ 6510

506

69

133

730

УРАЛ 5557001

225

44

69

268

КАМАЗ 53213

190

56

73

759

ЗИЛ 431410

343

65

87

1045

САРЗ 3280

488

101

101

550

ПАЗ 3205

245

49

43

266

ВАЗ 2131

417

115

132

696

УАЗ 3303

527

88

82

591

ГАЗ 31029/3102

487

123

151

743

ИТОГО

3428

710

871

5648


Таблица 2.18 План проведения технических обслуживаний и текущих ремонтов подвижного состава

Наименование показателя

Расчетная формула

АТК

I. Пробег автомобилей

I. Пробег автомобилей 1. Общий пробег, км

aо = АЧр ´ Vэ = АДр ´ aсс

aо = 3046327

2. Среднесуточный пробег, км

aсс = aо / АДр = Тн ´ Vэ

aсс = 190,76

II. Периодичность технических воздействий

1. Периодичность ежедневных обслуживаний (ЕО), км

aЕО = aсс = Тн ´ Vэ

aЕО = 190,76

2. Периодичность технических обслуживаний - 1 (ТО-1), км

aТО-1 = aТО-1н ´ k1 ´ k3  aТО-1 - нормативный пробег до ТО-1

aТО-1 = 1827,43

3. Периодичность техн. обслуживания - 2 (ТО-2), км

aТО-2 = aТО-2н ´ k1 ´ k3  aТО-2 - нормативный пробег до ТО-2

aТО-2 = 6426,85

4. Пробег до капитального ремонта (aкр), км

aкр = aкрн ´ k1 ´ k2´ k3  aкр - нормативный пробег до КР

aкр = 761581,35

III. Количество технических воздействий

1. К-во капит. ремонтов (Nкр)

1. К-во капит. ремонтов (Nкр)

1. К-во капит. ремонтов (Nкр)

2. К-во техн. обслуживаний ТО-2 (NТО-2)

2. К-во техн. обслуживаний ТО-2 (NТО-2)

2. К-во техн. обслуживаний ТО-2 (NТО-2)

3. К-во техн. обслуживаний ТО-1 (NТО-2)

3. К-во техн. обслуживаний ТО-1 (NТО-2)

3. К-во техн. обслуживаний ТО-1 (NТО-2)

4. К-во ежедневных обслуживаний ЕО (NЕО)

4. К-во ежедневных обслуживаний ЕО (NЕО)

4. К-во ежедневных обслуживаний ЕО (NЕО)

5. К-во диагностирования -1 (Д-1)

5. К-во диагностирования -1 (Д-1)

5. К-во диагностирования -1 (Д-1)

6. К-во диагностирования -2 (Д-2)

6. К-во диагностирования -2 (Д-2)

6. К-во диагностирования -2 (Д-2)

Таблица 2.19

Трудоемкость работ и количество постов технического обслуживания

Наименование показателя

Расчетная формула

АТК

Трудоемкость технического воздействия

1. Нормативная а) трудоемкость ЕО,ч-ч

tЕО = tЕОн ´ k2 ´ k5

tЕО = 0,815

б) трудоемкость ТО-1, ч-ч в) трудоемкость ТО-2, ч-ч г) трудоемкость ТР, ч-ч

tто-1 = tто-1н ´ k2 ´ k5 tто-2 = tто-2н ´ k2 ´ k5 tтр = tтрн ´ k1 ´ k2´ k3 ´ k4´ k5 k1 - к-т, зависящий от условий эксплуатации автомобиля k1 - к-т, зависящий от природно-климатических условий

tто-1 = 3,229 tто-2 = 13,405 tтр = 99,318

2. Общая трудоемкость по ТО-ТР а) трудоемкость вспомогательных работ б) трудоемкость ТО-1, ч-ч в) трудоемкость ТО-2, ч-ч г) трудоемкость ТР, ч-ч д) общая трудоемкость по ТО и ТР е) трудоемкость вспомогательных работ  ж) Всего трудоемкость

ТЕО = NЕО ´ tЕО  Тто-1 = Nто-1 ´ tто-1  Тто-2 = Nто-2 ´ tто-2  Ттр = (Nтр ´ lо) / 1000 Тто-тр = Тто-1 + Тто-2 + Ттр  принято 20% от общей трудоемкости Т = ТЕО + Тто-1 + Тто-2 + Ттр + Твсп

ТЕО = 13019  Тто-1 = 5383  Тто-2 = 6354 Ттр = 49628 Тто-тр = 61365 12273  Т = 86657

Потребность в постах 1. Для выполнения ТО-1      2. Для выполнения ТО-1 3. Для выполнения ТР

 П то-1 = Тто-1 / (Фрп ´ Кп ´ Рп) Фрп - фонд рабочего времени поста; Фрп = 2006 Кп - к-т использования поста; Кп = 0,95 Рп - кол-во рабочих на посту; Рп = 2 ¸ 2,5 П то-2 = Тто-2 / (Фрп ´ Кп ´ Рп) П тр = Ттр / (Фрп ´ Кп ´ Рп)

 П то-1 = 1,4       П то-2 = 1,7 П тр = 12,6

Итого


15,65 » 16


Таким образом, предприятию для выполнения плановых технических обслуживаний и текущих ремонтов необходимо иметь 16 постов.

В состав работ по самообслуживанию предприятия (вспомогательные работы) входят: поддержание зданий и сооружений в исправном состоянии, содержание инженерных сетей и коммуникаций, изготовление нестандартного оборудования, ремонт и обслуживание производственного оборудования и инвентаря, транспортные, уборочные и другие работы.

Годовой объем работ по самообслуживанию предприятий принимается в процентном отношении от суммарной трудоемкости работ по техническому обслуживанию, диагностике и текущему ремонту всего подвижного состава

ТСЗМ = (Теог + T1+q.lr + Т2+ТрГ + Tq_2r + Ттрг) • Кс, чел - час,    (2.49)

где Кс - объем работ в процентах по самообслуживанию предприятия

Тсзм = 10657*0,1 = 1065,7 чел-ч

Таблица 2.20 Распределение работ по видам в процентах

Электротехнические работы

25

Механические

10

Слесарные

16

Кузнечные

2

Жестяницкие

4

Медницкие

1

Трубопроводные (слесарные)

22

Ремонтно-строительные и деревоотделочные

16

Сварочные

4

Итого

100


Трудоемкость работ ТО и ТР распределяется по месту их выполнения по технологическим и организационным признакам.

Работы по ТО и ТР выполняются на постах и вспомогательных производственных участках (цехах). К постовым относятся работы по ТО и ТР, выполняемые непосредственно на автомобиле (моечные, уборочные, смазочные, крепежные, диагностические и другие, а также работы по устранению неисправностей).

К вспомогательным относятся работы по проверке и ремонту узлов, механизмов и агрегатов, снятых с автомобиля, выполняемых на вспомогательных участках (агрегатном, механическом, электротехническом, топливном и др).

При выполнении ТО-2 на универсальных постах, при распределении работ: 10% в цехах, 65% на постах зоны ТО-2 и 25% (смазочные и регулировочные работы) на постах линииТО-1, которые в период работы зоны ТО-2 свободны.

При выполнении ТО-2 на поточной линии: 10% в цехах и 90% на постах линии ТО-2.

Из расчетов, при распределении трудоемкости работ по ТО и ТР по производственным зонам и участкам, видим, что на данном предприятии при небольшом количестве автомобилей, выполнять ТО-2 необходимо на универсальных постах.

Результаты расчетов приведены в таблице 2.21.

2.7 Расчет количества рабочих

Главный элемент в процессе (производства) труда - рабочая сила. Это совокупность духовных и физических способностей человека к труду. Поэтому можно утверждать, что рабочая сила - главный фактор производства.

Для выполнения производственной деятельности автотранспортная фирма АТК имеет следующие категории работающих: рабочие (водители, ремонтные и вспомогательные рабочие), аппарат управления.

Преобладающее место в структуре категорий работающих занимаю рабочие и в их числе водители. К рабочим относятся лица, непосредственно участвующие в создании продукции, а также лица, обеспечивающие производственный процесс.

Водители - ведущая профессия рабочих на автомобильном транспорте. Поэтому одной из важнейших задач является правильная организация труда водителей, так как от их работы во многом зависит выполнение плана перевозок.

Подготовка кадров для автомобильного транспорта тесно связана с методами определения численности всех категорий работников. Численность рассчитывается исходя из планируемых уровней объема продукции и производительности труда. Количество рабочих, занятых на нормируемых работах, определяется на основе данных о затратах и бюджетах рабочего времени.

Рассчитаем потребность в ремонтных рабочих.

При расчете численности производственных рабочих определяют технологически необходимое количество и штатное количество рабочих. Этот расчет необходим для корректировки численности производственного персонала с учетом больничных, командировок и других уважительных причин отсутствия на рабочем месте. Поэтому штатное количество рабочих несколько больше технологически необходимого числа рабочих

Технологически необходимое количество рабочих рассчитывают по формуле:

Рт = Тi / Фм                                                                          (2.1)

где Ti- годовой объем работ по зонам технического обслуживания;

Фм - годовой фонд времени рабочего места или технологически необходимого рабочего при односменной работе, ч;

Фм =(Дкг-Дв-Дп)*7-Дпп *1 ,час,                                         (2.2)

где Дкг - количество календарных дней в году;

Дв - количество выходных дней в году;

Дп - количество предпраздничных дней в году;

- продолжительность рабочего дня, ч;

Дпп - количество субботних и предпраздничных дней в году;

- час сокращения рабочего дня перед выходными днями.

Штатное количество производственных рабочих определяется из следующего соотношения:

Рш = Тi / ФР                                                                         (2.3)

где ФР - годовой фонд времени штатного рабочего, час. Годовой фонд времени штатного рабочего определяется:

ФР = (Дкг - Дв - Дп - Дотп) • 7 - Дпп • 1 , час,                   (2.4)

где Дотп - количество дней отпуска в году;

Дв = 104 - количество выходных дней в году;

Дп = 11 - количество праздничных дней в году;

Дпп = 62 - количество субботних и предпраздничных дней в году;

Фм = (365-104-11)*7-62*1 = 1688 час,

Рт=10657/1688=5,9

ФР =(365-104-11-24)-7-62 -1 = 1520час.

Рр=6,4

Таблица 2.22 Потребность в ремонтных и вспомогательных рабочих

Наименование показателя

Расчетная формула

АТК

Потребность в ремонтных рабочих

1. Трудоемкость ремонтных работ (без ЕО и работ, выполненных водителями)

Ч-Чрр = Трр - ЧЧто-2

Ч-Чрр = 57573

2. Фонд рабочего времени 1 рабочего

Ф(р-р) = [Дк - (Двых + Дпр + Дот + Дго + Дпрог)] ´ Трд Двых ,Дпр - праздничные, выходные дни Дот -очередной отпуск Дго - выполнение государственных обязанностей. Дпрог - прогулы Трд - продолжительность рабочего дня

Ф(р-р) = 1736

3. К-т перевыполнения норм выработки

Квн = 1,15 ¸ 1,20

1,2

4. Потребность в ремонтных рабочих, чел

Nр-р = (Ч - Чрр) / (Фрр ´ Квн)

Nр-р = 27,6

5. Трудоемкость вспомогательных работ

принято 20 % от общей трудоемкости

12273

6. Потребность во вспомогательных рабочих

Nвр = (Ч - Чвр) / (Фрр ´ Квн)

Nвр = 5,9

7. Общая потребность в ремонтно-вспомогательных рабочих

Nр-в = Nр-р + Nвр

Nр-в = 33,5


Для выполнения всех плановых технических обслуживаний и текущих ремонтов требуется 34 ремонтных и ремонтно-вспомогательных рабочих.

Таблица 2.23 Потребность в трудовых ресурсах

Наименование подразделения

Годовая трудоемкость работ

Фонд рабочего времени

Кол-во технологически необходимых рабочих

Фонд времени штатного рабочего

Расчетное количество рабочих с учетом технологически совместимых производств

1

2

3

4

5

6

Зона ЕО

3428

2070

2,5

1860

Работы по ЕО выполняются водителем

ТО-1сД-1

1017,1

2070

0,5

1840

4,1

ТО-2

871

2070

0,4

1840


Д-2

69,7

2070

0,03

1840


ТР

5648

2070

2,7

1840


Агрегатный

1016,6

2070

0,4

1840

0,2 1,0

Слесарно-механический

564,8

2070

0,3

1840

0,2

Топливной аппаратуры

225,9

1830

0,1

1820

0,2

Электротехнический

282,4

2070

0,1

1840

0,2 0,20,2

Аккумуляторный

112,9

1830

0,06

1840

0,2

Шиномонтажный и вулканизаторный

56,48

2070

0,02

1820

0,03

Кузнечно-рессорный

169,4

2070

0,08

1820

0,2

Медницкий

112,9


0,05



Сварочный

56,48


0,02



Деревообрабат.

56,48

2070

0,02

1820

0,06

Обойный

56,48

2070

0,02

1820


Малярный

56,48

1830

0,03

1610

0,03

Итого

10657


3,6


5,9


Таблица 2.24 Сводная таблица по труду

Наименование категорий работников

Среднесписочное количество работников, чел

Производительность труда, тыс. руб.

1. Водители - всего

125

62,069

2. Ремонтно-вспомогательные рабочие, в том числе 2.1 ремонтные рабочие 2.2 вспомогательные рабочие

33,5 27,6 5,9

231601 281110 1315023

3. Аппарат управления

60

129311

Итого

232,5

33370


Нормативная численность водителей рассчитывается по формуле:

Nвнор = (АЧр + 23/60 ´ АЧр) / Фрв

АЧр - автомобили-часы работы на линии

Фрв - годовой фонд рабочего времени одного водителя

Nвнор = (121362,5 + 23/60 ´ 121362,5) / 1736 = 96,7 (чел)

Численность производственных рабочих, то есть рабочих зон и участков, непосредственно выполняющих работы по ТО и ТР подвижного состава, рассчитаем по формуле:

Руд = Руд(эт) ´ П ki

Руд - число производственных рабочих на 1 млн. км пробега

Руд(эт) - число производственных рабочих на 1 млн. км пробега для эталонных условий- корректирующие коэффициенты, учитывающие влияние различных факторов.

Руд = 10,44 чел

Нормативное число производственных рабочих:

Рнор = 10,44 ´ 3046327 = 32 чел.

2.8 Расчет площадей зон ТО, диагностики и ТР

Площади АТП по своему функциональному назначению подразделяются на три основные группы: производственно-складские, хранения подвижного состава и вспомогательные.

В состав производственно-складских помещений входят зоны ТО и ТР, производственные участки ТР, склады, а также технические помещения энергетических и санитарно-технических служб и устройств (компрессорные, трансформаторные, насосные, вентиляционные камеры).

В состав площадей зон хранения (стоянки) подвижного состава входят площади стоянок (открытых или закрытых) с учетом площади, занимаемой оборудованием для прогрева автомобилей (для открытых стоянок), рамп и дополнительных поэтажных проездов (для закрытых многоэтажных стоянок).

В АТК условия хранения подвижного состава можно охарактеризовать как открытое хранение без подогрева; доля автомобилей с независимым выездом - 100 %, угол расстановки на стоянке - 90о.

В состав вспомогательных площадей предприятия входят: санитарно-бытовые помещения, пункты общественного питания, здравоохранения, управления, культурного обслуживания.

Абсолютные значения показателей определяются произведением соответствующего приведенного удельного показателя на годовой пробег парка или списочное число автомобилей.

Предприятие недостаточно оснащено механизмами и технологическим оборудованием. Имеющегося в наличии оборудования недостаточно для качественного и полноценного проведения всех видов технического обслуживания и диагностики спецтехники топливно-транспортного цеха ООО «ЮГРЭ»

Таблица 2.25 Необходимое технологическое оборудование

Оборудование

Марка

Количество

Площадь, кв.м.

1.Домкрат гаражный гидравлический

444-М

2

0,04

2. Подъемник электромеханический 4-стоечный с оптическим прибором для контроля и регулировки установки управляемых колес

П-133

1

24,3

3. Прибор для проверки электрооборудования и приборов зажигания (непосредственно на автомобиле)

Э-214

1

0,38

4. Прибор для проверки силы света и установки фар

К-303

1

0,3

5. Комплект принадлежностей для аккумуляторных батарей

Э-401

1

-

6. Установка для централизованного смазывания и заправки автомобилей

3141

1

0,141

7. Солидолонагнетатель передвижной

3154-М

1

0,170

8. Бак для раздачи масла (передвижной)

133-М

1

0,170

9. Барабан с самонаматывающимся шлангом с пистолетом для раздачи масла

349-Н

1

0,28

10. Бак для заправки тормозной жидкости

326

1

0,3

11. Приемник телескопический для отработанного масла (передвижной)

С-506

1

0,4

12. Установка компрессорная (стационарная)

К-2

1

0,78

13. Барабан с самонаматывающимся шлангом для воздуха

352-М

1

0,3

14. Тележка слесаря-сборщика

Т54005

2

0,4

15. Установка для мойки деталей с пароподогревом

196

1

0,4

16. Настольный сверлильный станок

2М-112

1

0,273

17. Станок для обработки тормозных барабанов и тормозных колодок

ТО-161

1

0,6

11. Приемник телескопический для отработанного масла (передвижной)

С-506

1

0,4

12. Установка компрессорная (стационарная)

К-2

1

0,78

13. Барабан с самонаматывающимся шлангом для воздуха

352-М

1

0,3

14. Тележка слесаря-сборщика

Т54005

2

0,4

Шиномонтажный и вулканизационный участок

21. Стенд для монтажа и демонтажа шин грузовых автомобилей

Ш-501

1

0,82

22. Станок для шероховки камер

ТА-225

1

0,26

23. Аппарат электровулканизационный

6131

1

0,04

24. Станок для статической и динамической балансировки колес легковых автомобилей (со снятием с автомобиля)

191

1

0,2

25. Верстак для ремонта шин или камер

ОШ-1457

1

0,85

26. Ванна для проверки камер

Р-908

1

1,2

27. Вешалка для камер

Ш-Б11

1

-

ИТОГО:


7

3,37

Участок ремонта топливной аппаратуры

28. Прибор для проверки бензонасосов и карбюраторов

577-Б

1

0,12

29. Набор инструментов слесаря-электрика и слесаря по топливной аппаратуре. Комплект инструментов для регулировки карбюраторов

И-102

1

-

30. Стеллаж полочный

31-07

1

0,04

31. Индикатор окиси углерода или газоанализатор

И-СО

1

-

32. Прибор для определения технического состояния цилиндро-поршневой группы

К-69М

1

-

33. Компрессометр для карбюраторных двигателей.

179

1

-

ИТОГО:


6

0,16

Участок ремонта и заряда аккумуляторных батарей

34. Установка ускоренного заряда аккумуляторных батарей

НБ-22А

1

0,38

35. Нагрузочная вилка для проверки аккумуляторной батареи

ЛЭ-2

1

-

36. Комплект оборудования приборов и приспособлений для ремонта стартерных аккумуляторных батарей

КИ-387

1

-

37. Ванна для промывки деталей аккумуляторных батарей

М-301

1

0,6

38. Тележка

6031.069 тип 12

1

-

ИТОГО:


5

0,98

Участок диагностики

39. Стенд для проверки электрооборудования (контрольно-испытательный)

Э-211

1

0,45

40. Прибор для проверки якорей генераторов и стартеров

Э-236

1

0,12

41. Стенд для проверки приборов системы зажигания

СПЗ-8М

1

0,38

42. Комплект инструментов для ремонта электрооборудования автомобилей

И-111

1

-

ИТОГО:


4

0,95

Кузовной и окрасочный участок

43. Преобразователь сварочный

ПСО-300Д

1

-

 

44. Трансформатор сварочный

СТШ-300

1

0,42

 

45. Сушилка универсальная передвижная скоростная инфракрасного излучения

203

2

0,1

 

46. Стол для электросварочных работ

ОКС-7523

1

0,87

 

47. Верстак для кузовных и жестяницких работ (с набором инструментов)

«Клесто1»

1

0,9

 

43. Преобразователь сварочный

ПСО-300Д

1

-

 

ИТОГО:


6

2,29

 

ВСЕГО:


53

39,884

 


Площади производственных участков рассчитывают по площади, занимаемой оборудованием и коэффициенту плотности его расстановки:

Ру = f0б*Kn,                                                                         (2.10)

где Ру - площадь участка, кв.м;

Кп - коэффициент плотности расстановки оборудования;

foe - площадь цеха, занимаемая оборудованием, кв.м.

Таблица 2.26 Расчет удельных нормативных технико-экономических показателей для ТТЦ

Наименование показателей

Эталонное значение удельных технико-экономических показателей

Корректирующие коэффициенты

Расчетная формула

Принятое значение удельных технико-экономических показателей



k1

k2

k3

k4

k5

k6

k7



Число производственных рабочих на 1 млн. км пробега (Руд), чел

3,88

1,13

2,00

1,12

1,06

-

1,00

1,00

(эт) 7 Руд=Руд´П ki i=1

10,44

Площадь производственно-складских помещений на 1 автомобиль (Sуд.пр), м2

16,0

1,22

2,43

1,20

0,85

-

1,00

1,00

(эт) 7 Sуд.пр= Sуд.пр´П ki i=1

48,38

Площадь вспомогательных помещений на 1 автомобиль (Sуд.всп), м2

8,1

1,32

1,35

1,04

0,90

-

1,00

1,00

(эт) 7 Sуд.всп=Sуд.всп´П ki i=1

13,51

Площадь стоянки на 1 место хранения (Sуд.ст), м2

34,0

-

1,60

1,52

-

1,351,00

-

-

(эт) 7 Sуд.ст= Sуд.ст´П ki i=1

111,63

Площадь территории на 1 автомобиль (Sуд.т), м2

106,0

1,23

1,79

1,39

0,95

1,211,00

1,00

1,00

(эт) 7 Sуд.т= Sуд.т´П ki i=1

372,9


Площадь производственно-складских помещений:

Sпр = Sуд.пр ´ N, м2

N - списочное число автомобилей

Sпр = 48,38 ´ 125 ´ 1,18 = 7136,05 (м2)

,18 - коэффициент, учитывающий наличие вентиляционных камер, расположенных на антресолях.

Площадь вспомогательных помещений:

Sвсп = Sуд.всп ´ N, м2

Sвсп = 13,51 ´ 125 = 1688,75 (м2)

Площадь стоянки:

Sст = Sуд.ст ´ N = 111,63 ´ 125 = 13953,75 (м2)

Площадь территории:

Sт = Sуд.т ´ N, м2

Sт = 327,90 ´ 125 = 46612,5 (м2).

Таблица 2.27

Нормативные и фактические размеры производственных площадей

Наименование показателей

Фактические значения

Нормативные значения

Площадь производственно-складских помещений, м2

3000

7136,1

Площадь вспомогательных помещений, м2

250

1688,75

Площадь стоянки, м2

10336

13953,75

Площадь территории, м2

38522

46612,5


Площадь территории предприятия, площади производственно-складских, вспомогательных помещений и стоянки гораздо ниже нормативных.

2.9 Разработка рекомендаций по организации работ по ТО и ремонту техники с учетом использования услуг специализированных сервисных предприятий

Ввиду слабой оснащенности технологическим оборудованием, для проведения работ по техническому обслуживанию и ремонту в полном объеме, отсутствия производственных площадей, при наличии слабой сменной программы, а именно отсутствия возможности выполнения трудоемких работ по ТО-2 и ремонту агрегатов, возникает необходимость в разработке рекомендаций по организации работ по ТО и Р с сервисными предприятиями.

Для организации работ по ТО-2 и ремонту агрегатов транспортного участка следует:

выбрать те предприятия, в которых для этой формы организации хорошо подготовлены необходимые условия (обеспеченность исполнителями соответствующей квалификации, средствами механизации, оборотным фондом узлов и др.);

выбрать схему исполнителей (сервисных производств), в которых будет непосредственно выполняться необходимый перечень профилактических работ для топливно-транспортного цеха ООО «ЮГРЭ»;

выбрать схему сервисных исполнителей в соответствии с маркой обслуживаемого автомобиля.

Первым необходимым требованием, предъявляемым к специализированным сервисным предприятиям по выполнению работ по ТО-2 и ремонту агрегатов для транспортного цеха, является наличие лицензии на данный вид деятельности согласно постановлению правительства Российской Федерации.

Оказание сервисных услуг для транспортного цеха должно сопровождаться заключением договора, в котором письменно оговаривается сроки выполнения заказа, цена оказываемой услуги и срок гарантии выполненной работы.

Географическое положение ООО «ЮГРЭ» позволяет пользоваться сервисными предприятиями, имеет выбор потенциальных исполнителей на оказание трудоемких работ, влияющих на безопасность движения.

ВЫВОДЫ ПО ГЛАВЕ 2

1.      Производственная программа транспортного участка по ТО характеризуется числом ТО, планируемых на определенный период времени (год, сутки). Так как план транспортного участка по основным показателям устанавливается на календарный год, то и производственная программа по каждому виду ТО рассчитывается на год. Программа служит основой для определения годовых объемов работ транспортного участка и необходимого штата рабочих.

.        Годовую программу производства ТО и Р можно рассчитать различными методами: аналитическим, т.е. с использованием системы уравнений и учетом времени на списание подвижного состава; с использованием расчетных таблиц и номограмм, построенных на основе расчетных уравнений. Однако все они базируются на так называемом цикловом методе расчета, который используется в практике транспортного цеха. При этом под циклом понимается пробег или период времени с начала эксплуатации нового или капитально отремонтированного автомобиля до его КР.

.        Цикловой метод расчета производственной программы предусматривает выбор и корректирование периодичности ТО-1, ТО-2 и пробега до КР для подвижного состава транспортного цеха, расчет числа ТО и КР на 1 автомобиль за цикл, т.е. на пробег до КР, расчет коэффициента перехода от цикла к году и на его основе пересчет полученных значений числа ТО и КР за цикл на 1 автомобиль и весь парк (или группу однотипных автомобилей) за год.

5.      Суточная программа по каждому виду обслуживанию (ЕО,ТО-1 и ТО-2) является критерием для выбора метода ТО (поточный или универсальные посты). Применение поточной организации обслуживания при ЕО становится целесообразным при минимальной суточной программе 100 обслуживаемых однотипных автомобилей, ТО-1 при 12-15 автомобилей и ТО-2 при суточной программе 5-6 и более автомобилей. Транспортный участок ООО «ЮГРА» содержит разнотипный парк автомобилей, который состоит из грузовых, легковых, грузопассажирских, а также автобусов

.        Использование поточной организации обслуживания при ЕО становится целесообразным при минимальной суточной программе 100 автомобилей.

7.      предприятию для выполнения плановых технических обслуживаний и текущих ремонтов необходимо иметь 16 постов.

.        Для выполнения всех плановых технических обслуживаний и текущих ремонтов требуется 34 ремонтных и ремонтно-вспомогательных рабочих.

9.      Площадь производственно-складских помещений составляет 3000 кв. м при нормативе 7136,1 кв. м.

.        Предприятие недостаточно оснащено механизмами и технологическим оборудованием. Имеющегося в наличии оборудования недостаточно для качественного и полноценного проведения всех видов технического обслуживания и диагностики спецтехники топливно-транспортного цеха ООО «ЮГРЭ»

.        Ввиду слабой оснащенности технологическим оборудованием, для проведения работ по техническому обслуживанию и ремонту в полном объеме, отсутствия производственных площадей, при наличии слабой сменной программы, а именно отсутствия возможности выполнения трудоемких работ по ТО-2 и ремонту агрегатов, возникает необходимость в разработке рекомендаций по организации работ по ТО и Р с сервисными предприятиями.

.        Географическое положение ООО «ЮГРЭ» позволяет пользоваться сервисными предприятиями, имеет выбор потенциальных исполнителей на оказание трудоемких работ, влияющих на безопасность движения.

автомобильный парк специализированный сервисный

ГЛАВА 3. РАЗРАБОТКА ВОПРОСОВ ОРГАНИЗАЦИОННОГО И ТЕХНИЧЕСКОГО ВЗАИМОДЕЙСТВИЯ СО СПЕЦИАЛИЗИРОВАННЫМИ СЕРВИСНЫМИ ПРЕДПРИЯТИЯМИ

3.1 Существующие методы организации процессов ТО и ТР на комплексных и сервисных предприятиях

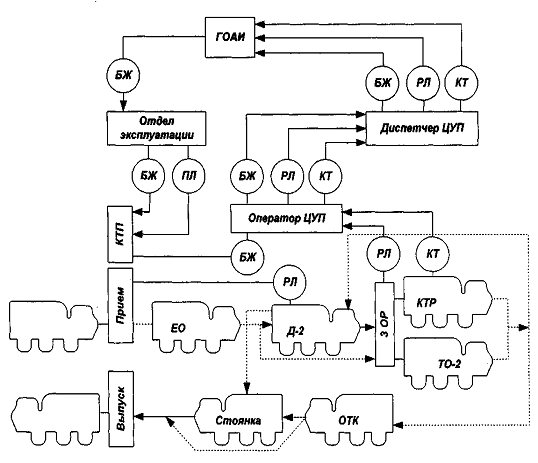
Производство каждого вида ТО и ремонта АТС в АТП осуществляется в соответствии с функциональной схемой производственного процесса АТП (рис. 3.1). Согласно схеме, все возвращающиеся с линии автомобили проходят контрольно-технический пункт (КТП), на котором их осматривает дежурный механик.

Рис 3.1 Функциональная схема обслуживания и ремонта АТС на АТП

Возможны две формы организации приема и выпуска автомобилей на линию:

Операции выполняет механик-контролер ОТК;

Прием и выпуск осуществляют механики колонн (отрядов).

Дежурный механик принимает автомобили с линии и направляет исправные автомобили в зоны ЕО и хранения.

Подлежащие очередному ТО и неисправные автомобили дежурный механик по указанию диспетчера ОУП направляет на соответствующие посты диагностики, обслуживания или в зону ожидания, если посты заняты. При этом дежурный механик на основании осмотра автомобиля оформляет ремонтный листок и передает его в ОУП. Реже ремонтные листки заполняет техник-оператор ОУП на основании информации, переданной механиком КТП по линии связи.

Перед выпуском автомобиля на линию водитель должен провести осмотр автомобиля, убедится в его исправности и выполнить операции по ЕО. При выезде с территории АТП он предъявляет путевой лист, наличие которого является разрешением на выезд.

При обнаружении неисправности в процессе выпуска подвижного состава на линию дежурный механик выписывает ремонтный листок, передает его в ОУП, а автомобиль направляется в зону ремонта или ожидания. Функциональная схема ТО и ремонта на АТО может претерпевать ряд изменений в связи с наличием различных нецентрализованных и централизованных производств, а также их территориальным разобщением.

Рассмотрим подробнее организацию производства каждого вида технических воздействий при системе централизованного управления производством.

3.2 Организация производства технического обслуживания в ССП

Ежедневное обслуживание. Проводят после возвращения автомобиля с линии и перед выпуском его на линию. При этом необходимость проведения уборочно-моечных работ определяет дежурный механик КТП во время приемки автомобилей с линии. Контрольно-осмотровые работы выполняют механик КТП и водитель; уборочно-моечные работы - или бригада мойщиков в зоне ЕО. Операции ЕО водитель производит в подготовительно-заключительное время, предусмотренное его режимом работы.

Выполненные работы по ЕО проверяют водитель автомобиля или перегонщик, которые несут всю ответственность за чистоту и внешний вид автомобиля. Выборочный контроль проводится работниками ОТК.

Техническое обслуживание № 1 осуществляется в соответствии со схемой, представленной на рис. 3.2.

Рис 3.2 Схема организации технологического процесса ТО-1: ПО - план- отчет; БЖ - бортовой журнал; ПЛ ТО-1 - путевой лист со штампом «ТО-1».

На основании ПГ техник по учету и планированию ТО и ремонта группы обработки и анализа информации заполняет бланк ПО, в который, исходя из фактического пробега, вносятся автомобили, подлежащие техническому обслуживанию № 1. ПО не позднее, чем за сутки, передается в отдел эксплуатации и в зону ТО-1. Водитель автомобиля, запланированного на ТО-1, перед выходом на линию получает путевой лист с отметкой о постановке на ТО-1. После возвращения с линии контрольный механик осматривает автомобиль и на основании отметки в путевом листе направляет автомобиль в зону ежедневного обслуживания. После этого водитель сдает автомобиль в зону ожидания ремонта или в зону ТО-1 при наличии в ней свободных мест. БЖ автомобиля водитель передает в ОУП технику-оператору. Автомобиль на ТО-1 ставят воители-перегонщики по указанию мастера зоны ТО-1 или диспетчера ОУП.

Техническое обслуживание выполняет специальная бригада комплекса ТОД. Диагностические работы (Д-1) целесообразно совмещать с работами ТО-1, а средства диагностики размещать на постах линии ТО-1 в соответствии с их специализацией. Это позволит значительно сократить время простоя автомобиля и повысить качество технического обслуживания.

Если при выполнении ТО-1 выявляются неисправности, устранение которых предусмотрено в качестве сопутствующих ремонтов, автомобиль направляют в зону текущего ремонта. Информация, необходимая для заполнения ремонтного листка, передается бригадиром зоны ТО-1 в ОУП или на КТП по линии связи.

Качество выполнения ТО-1 контролируется бригадиром зоны ТО-1 и мастером ОТК как по окончании работ, так и во время их выполнения. Возможен вариант, когда проверка качества работ ТО-1 осуществляется механиком КТП. В этом случае механик КТП сообщает по связи бригадиру зоны ТО-1 (диспетчеру ОУП) о результатах проверки, которые он вносит в ПО, и указывает фамилию механика КТП, производившего проверку.

После окончания работ бригадир зоны ТО-1 оформляет ПО, подписывает его и передает в ОУП для внесения соответствующих записей в ПО, БЖ и отчет ОУП. Нормировщик группы обработки и анализа информации заполняет графы 5-8 на обороте ПО, подсчитывая тем самым заработную плату членам бригады ТО-1 за каждый день. Величину начисленной бригаде заработной платы вносят в отчет ОУП.

Обработанные ПО хранят в группе обработки и анализа информации. Экземпляр БЖ, который должен находиться на автомобиле, после внесения всех необходимых записей из группы обработки и анализа информации передают в отдел эксплуатации или в группу организации выпуска службы линейной технической эксплуатации подвижного состава, что является основанием для выписки путевого листа. Водитель, придя на работу, получает путевой лист и БЖ и выезжает на линию.

Техническое обслуживание № 2 осуществляется по схеме, приведенной на рис. 3.3

За два - три дня до плановой постановки автомобиля на ТО-2 техник по учету ТО и ремонта группы обработки и анализа информации вносит их в очередной ПО в строку «На Д-2». Эти автомобили после возвращения с линии должна пройти плановое диагностирование Д-2. Водители таких автомобилей получают перед выпуском на линию путевые листы с отметкой Д-2.

По возвращении с линии автомобиля, запланированного на Д-2, механик КТП (колонны) совместно с водителем осматривает его, оформляют РЛ, заносят в него перечень всех работ, выполненных по данному автомобилю, и направляют его в зону ЕО.

После проведения ЕО водитель автомобиля либо водитель-перегонщик ставит автомобиль на пост Д-2, где мастер-диагност корректирует перечень работ, указанных в РЛ, и дополняет этот перечень работами, выполненными в результате диагностирования. После этого РЛ, подписанный бригадиром зоны Д-2, передают в ОУП.

Автомобили с большими объемами текущих ремонтов или неисправностями, угрожающими безопасности движения, направляют сразу в зону ожидания ремонта, а затем на посты комплекса ТР, остальные - в зону хранения на стоянку.

Для неисправных автомобилей диспетчер ОУП организует немедленное выполнения текущего ремонта в комплексе ТР, для исправных обеспечивает подготовку производства (наличие к моменту постановки на ТО-2 машино-мест, рабочей силы, запасных частей и материалов), обеспечивающую качественное проведение ТО-2, предупредительных и сопутствующих ремонтов.

Автомобили, прошедшие Д-2, через 2-3 дня накануне плановой даты постановки их на ТО-2 вносятся техником по учету ТО и ремонта ГОАИ в очередной ПО в строку на «ТО-2». Водители этих автомобилей получают путевой лист с отметкой ТО-2.

По возвращении с линии механик КТП осматривает автомобили и направляет их на ЕО, после прохождения которого (при наличии свободных мест) они направляются в зону ТО-2 или в зону ожидания ремонта.

Диспетчер ОУП организует выполнение ТО-2, сопутствующих и предупредительных ремонтов, проведение которых совпадает с ТО-2.

Контроль за соблюдением качества и объема ТО-2 осуществляет бригадир ОТК (как в процессе выполнения работ, так и по их окончании) или механик КТП. Во втором случае после окончания работ бригадир ТО-2 дает указания водителю-перегонщику доставить автомобиль на КТП. Механик КТП проверяет автомобиль, докладывает по связи о результатах проверки диспетчеру ОУП и сообщает свою фамилию, которую диспетчер записывает на обороте РЛ, подтверждая тем самым факт проверки.

Наиболее достоверная информация о качестве выполнения ТО-2 может быть получена при использовании диагностики. Если производительность диагностического комплекса АТП достаточна, то все автомобили после ТО-2 проходят диагностику. Информацию о качестве ТО-2 оператор-диагност сообщает в АУП по связи.

Экземпляр БЖ, который должен находится на автомобиле после внесения всех записей, отражающих выполнение ТО-2, передается в отдел эксплуатации, что является основанием для выписки путевого листа.

3.3 Организация производства текущего ремонта

Организация производственного процесса текущего ремонта осуществляется в соответствии со схемой, приведенной на рис. 3.4.

Рис 3.4 Схема организации технологического процесса ТР: КТ - контрольный талон

При возникновении потребности в проведении текущего ремонта автомобиля водитель записывает в РЛ с очередным номером внешнее проявление дефекта (заявку на ремонт) и при заезде в парк сообщает об этом механику КТП, принимающему автомобиль с линии. При этом водитель может записать в РЛ все неисправности по мере их обнаружения.

Определение (уточнение) дефекта (неисправности) автомобиля и причины его возникновения производится следующим образом.

Простые дефекты определяет (уточняет) дежурный механик КТП с помощью простейших средств диагностики и классификаторов ремонтно-регулировочных работ.

При невозможности однозначного определения неисправности переходят к экспертизе с помощью средств диагностики или с помощью экспертов, которых назначают приказом по АТП.

При необходимости выяснения причины возникновения дефекта и в связи с этим уточнения требуемого объекта ремонтных работ механик КТП ставит цветным карандашом знак вопроса в графе строки, в которой записано внешнее проявление неясного дефекта, записывает фамилию эксперта, к которому направляется автомобиль, подчеркивает цветным карандашом в заголовке графы слово «эксперт» и направляет автомобиль эксперту или на пост диагностики.

При определении неисправности эксперт записывает в ремонтном листке перечень работ, которые необходимо выполнить при ремонте данного агрегата или системы, в соответствующей графе ремонтного листка свой шифр (табельный номер) и расписывается.

При невозможности конкретизации неисправности и ее причины при проведении экспертизы эксперт расписывается в строке РЛ где записан неясный дефект. Это означает, что весь объем работ по выявлению неисправности без разборки агрегата был проведен, после чего он обводит цветным карандашом порядковый номер строки с неясным дефектом. Это служит указанием, что неисправность, ее причины и истинный объем работ должны быть определены при разборке агрегата.

Наиболее целесообразным считается следующий порядок постановки автомобилей на текущий ремонт.

Дежурный механик КТП, оформляя РЛ, указывает в нем дату и время его заполнения, фамилию водителя, гаражный номер автомобиля и пробег с начала эксплуатации. Затем направляет автомобиль в зону ЕО и далее в зону ожидания ремонта.

Приемщик зоны ожидания ремонта принимает автомобиль, проверяет его комплектность по БЖ и ставит штамп «ЗОР» на РЛ, указав на штампе номер автомобиле-места в ЗОР, где находится автомобиль.

Водитель ставит автомобиль в ЗОР, а БЖ и РЛ передает в ОУП.

Диспетчер (техник-оператор) ОУП, получив РЛ и БЖ:

возвращает корешок РЛ водителю;

записывает в РЛ дату и время его получения;

подтверждает эту запись своим шифром и подписью;

записывает в «Оперативный сменный (суточный) план диспетчера отдела управления» поступление автомобиля на ремонт и открывает заказ. Номер заказа переносится диспетчером в РЛ.

После получения подтверждения о начале обслуживания или ремонта автомобиля диспетчер отдела управления записывает дату и время начала ремонта в РЛ и подтверждает эту запись своим шифром и подписью.

После разборки агрегата, узла и определения неясного дефекта и причины его возникновения диспетчер записывает в РЛ шифр дефекта и причину его возникновения, а также уточненную заявку на ремонт, если эти сведения не были раньше записаны механиком или экспертом.

После уточнения заявки диспетчер дает распоряжение о выполнении работ по ремонту и записывает их перечень на обратной стороне РЛ в раздел «Фактически выполненные работы»; здесь же указываются:

шифр производственного подразделения, где проводят данные работы;

количество операций, которые следует выполнить;

фамилии, шифры исполнителей работ;

По мере выполнения работ их порядковые номера обводят кружочком цветным карандашом.

Сведения о выполнении работ и выписке со склада запасных частей и материалов диспетчер ОУП записывает в раздел «Выданные запасные части и материалы», отмечая при этом в соответствующих графах номер требования и количество.

При выдаче со склада отремонтированных деталей, узлов и агрегатов (ДУА) в РЛ после их наименования записывается через тире буква «Р».

При необходимости выполнения ремонта в комплексе ремонтных участков организация работ аналогична описанной выше, только учет выполненных работ, материальных и трудовых затрат осуществляется по КТ. После выполнения всех работ по данному автомобилю диспетчер ОУП ставит дату и время окончания ремонта, свой шифр и подписывает РЛ.

В зависимости от действующей в данном автотранспортном предприятии организационной схемы приемки и выпуска автомобиля на линию лицо, принимающее автомобиль после ремонта, проставляет свой шифр и расписывается в РЛ, подтверждая исправность автомобиля и разрешение выпуска его на линию.

Автомобили из ремонта могут принимать мастер ОТК непосредственно в производственной зоне комплекса ТР, контрольный механик на КТП или оператор-диагност в зоне диагностики.

БЖ, сданный ранее водителем в ЦУП, после внесения в него всех записей, отражающих выполнение текущего ремонта, передают в отдел эксплуатации, что является основанием для выписки путевого листа и выпуск на линию отремонтированного автомобиля.

3.4 Организационное и техническое взаимодействие транспортного цеха с сервисными предприятиями

Основной задачей транспортного участка является поддержание подвижного состава в технически исправном состоянии и подготовка его к выпуску на линию в течение всего срока службы.

Подвижной состав транспортного участка подразделяется на три технологически совместимых группы автомобилей, поэтому разработка вопросов по ремонту агрегатов и ТО-2 автомобилей со специализированными сервисными предприятиями приходится на одно СТО.

Основным назначением ТО-2 автомобилей является снижение интенсивности изнашивания деталей, выявление и предупреждение отказов и неисправностей путем своевременного выполнения контрольно-диагностических, крепежных, регулировочных, смазочных и других работ. ТО должно обеспечивать безотказную работу подвижного состава в пределах установленных периодичностей по воздействиям, включенным в обязательный перечень операций.

Для планирования ТО, подвижного состава транспортного цеха, ведется план-график по пробегу. При таком методе планирования обеспечивается более точное соблюдение периодичности ТО.

В транспортном участке ООО «ЮГРА», разрабатывается карта-схема основных сервисных предприятий по выполнению трудоемких работ ТО-2, ремонту агрегатов и узлов для подвижного состава транспортного цеха.

Для проведения ТО-2 автомобиля в ССП, механик или начальник транспортного участка, предварительно по телефону в устной форме оговаривают сроки и порядок выполнения работ по ТО-2, а также перечень работ предъявляемый с нашей стороны.

Перед уточненной датой постановки автомобиля на ТО-2 в ССП, механик непосредственно с водителем уточняют перечень выполнения необходимых работ на данном автомобиле, на основании которых выписывается счет-фактура на оплату работы, выполненной заказчиком. После выполненной сервисным предприятием предъявленного объема работ по ТО-2, оплата производится по безналичному расчету, механику на основании доверенности и копии платежного поручения выдается акт для отчета в бухгалтерию.

При ремонте таких сложных агрегатов как ДВС, КПП на специализированных сервисных предприятиях, обязательно заключается договор на ремонт данного агрегата. При заключении договора обеими сторонами оговариваются сроки выполнения и самое главное срок гарантии отремонтированного агрегата.

Основным вопросом организационного и технологического взаимодействия со специализированными сервисными предприятиями является качественное и быстрое выполнение необходимых по перечню и сопутствующих работ, в создании договорных отношений по оплате объема выполненных работ после выпуска автомобилей.

3.5 Организация технологического процесса ТО-2

Техническое обслуживание № 2 осуществляется по схеме приведенной на рис. 3.5.

Рис 3.5 Организация технологического процесса ТО-2 при взаимодействии с ССП

За два-три дня до плановой даты постановки автомобиля на ТО-2 механик транспортного цеха после возвращения с линии запланированного автомобиля вместе с водителем проводят осмотр транспортного средства в целях составления необходимого перечня выполняемых работ на специализированном сервисном предприятии. Этот перечень работ заполняется механиком в специальных графах данного раздела БЖ, который используется для наблюдения за технической эксплуатацией каждого автомобиля и качеством работы закрепленного или подменного за ним водителя

На основании имеющегося необходимого перечня работ начальник или механик транспортного цеха выписывают счет-фактуру в ССП на оплату определенного перечня выполняемых работ данного автомобиля и уточненной датой постановки автомобиля на ТО-2.

После приема автомобиля с линии, планируемого на отправку в ССП для проведения ТО-2 и его осмотра, механик направляет автомобиль на стоянку. Диспетчер, на основании полученной информации выписывает путевой лист с отметкой «Д-2» и местонахождение ССП.

После возвращения автомобиля с сервисного предприятия, водитель докладывает о результатах выполняемых работ и в отсутствии или наличии сопутствующих работ, что является основанием для внесения всех записей в бортовой журнал, отражающих выполнение ТО-2 и выписки путевого листа.

3.6.   Организация технологического процесса ТР

ТР автомобилей производится индивидуальным и агрегатным методами. При индивидуальном методе ремонта агрегаты, снятые автомобиля, не обезличиваются, их ремонтируют, а затем устанавливают на тот же автомобиль. При такой организации ремонтных работ автомобиль продолжительное время простаивает.

В целях сокращения простоя подвижного состава ТР, в транспортном цехе, осуществляется преимущественно агрегатным методом, при котором неисправные или требующие ремонта агрегаты заменяют на исправные, взятые из оборотного фонда. В объем работ ТР, в транспортном цехе, входят постовые работы (снять - поставить).

Организация производственного процесса текущего ремонта осуществляется в соответствии со схемой, приведенной на рис 3.6.

Рис. 3.6 Схема документооборота

При возникновении потребности в проведении текущего ремонта автомобиля водитель при заезде в парк сообщает об этом механику.

Простые дефекты определяет (уточняет) механик и водитель с помощью простейших средств диагностики и классификаторов ремонтно-регулировочных работ. При невозможности однозначного определения неисправности механик дает распоряжение о снятии агрегата с автомобиля. Автомобиль поступает на пост ТР, для снятия агрегата и в получении отремонтированного со склада.

В целях сокращения простоя подвижного состава транспортного цеха, на предприятии организованна схема ремонта деталей, узлов и агрегатов со специализированными сервисными предприятиями.

При выдаче со склада отремонтированных деталей, узлов и агрегатов механик записывает в бортовой журнал в раздел «Выданные запасные части и материалы», отмечая при этом в соответствующих графах номер автомобиля, наименование узла или агрегата и дату окончания выполненных работ.

Автомобиль из ремонта принимает механик, либо непосредственно начальник транспортного цеха, тем самым подтверждается выполнение текущего ремонта, и передают диспетчеру, что является основанием для выписки путевого листа и выпуска на линию отремонтированного автомобиля.

В процессе работы узлы и агрегаты автомобиля постепенно изнашиваются, в результате чего изменяются его эксплуатационные качества:

увеличиваются зазоры между сопряженными деталями, повышается расход эксплуатационных материалов (топлива, масла, воды и т.п.), ухудшаются ходовые качества, влияющие на безопасность движения.

Техническим обслуживанием удается уменьшить интенсивность износов и продлить срок службы узлов и агрегатов автомобиля.

Для поддержания подвижного состава в исправном состоянии в топливно-транспортном цехе ООО «ЮГРЭ» разработана схема взаимодействия основных исполнителей работ и документооборота при выполнении ТО-2 и ремонта агрегатов и узлов автомобилей, которая представлена для проведения ТО-2 автомобиля в специализированном сервисном предприятии, механик или начальник транспортного цеха при оформлении заказ-наряда оговаривают сроки выполнения необходимого перечня работ по ТО-2 и сопутствующих ремонтов, делается калькуляция перечня операций и на основании этих услуг выписывается в бухгалтерии счет - фактуры. После оплаты по безналичному расчету на расчетный счет специализированного сервисного предприятия, механик с доверенностью и копией платежного поручения в установленный срок пребывает на КТП ССП, где получает контрольный талон, разрешающий въезд автомобиля на территорию предприятия. В контрольном талоне фиксируется марка, модель автомобиля, государственный номер, дата и время прибытия автомобиля. С момента выдачи талона клиенту, ответственность за сохранность транспортного средства несет предприятие, на котором выполняется необходимый вид услуг. При выпуске автомобиля с территории предприятия водитель сдает контрольный талон на КТП, с этого момента ответственность за сохранность транспортного средства снимается с предприятия.

После прохождения КТП, водитель ставит автомобиль на рабочий пост, где непосредственно будут выполняться работы по необходимому перечню операций. Гарантия качества выполненных работ и качества использованных исполнителем запасных частей и материалов обеспечивает пробег автомобиля до следующего регламентного ТО.

По нашему желанию можно выполнить ТО с использованием своих запасных частей и материалов, их стоимость не включается в стоимость проведения ТО, но гарантийного качества на эти запасные части и материалы исполнитель не дает, а особенно связанных с механизмами и системами ОВД. В этом случае исполнитель не несет ответственности установленной Законом «О защите прав потребителей».

После проведения всех необходимых работ, выполненных в соответствии с наряд - заказом, механик удостоверяет подписью в наряд - заказе отсутствие претензии и на основании этого выписывается акт выполненных работ, что является отчетным документом в бухгалтерии своего предприятия.

За неисполнение либо ненадлежащее исполнение обязательств по договору об оказании услуг (выполнение работ) по техническому обслуживанию и ремонту автотранспортных средств исполнитель несет ответственность, предусмотренную федеральным законом и договором.

3.7.   Технологические процессы технического обслуживания

 

Ежедневное техническое обслуживание подвижного состава состоит из уборочно-моечных, контрольно-осмотровых, смазочных и заправочных работ.

К уборочно-моечным работам относятся уборка кузова (кабины) и платформы, мoйкa, сушкa автомобиля (прицепа, полуприцепа), санитарная обработка специального подвижного состава, чистка и обтирка зеркала заднего вида, фар, подфарников, указателей поворота, задних фонарей и стоп-сигнала, переднего и боковых стекол кабины номерных знаков

К контрольно-осмотровым работам относятся внешней осмотр автомобиля (прицепа, полуприцепа) с целью выявления наружных повреждений. Внешним осмотром проверяются состояние дверей кабины, платформы, стекол, зеркал заднего вида, противосолнечных козырьков оперения, номерных знаков,, механизмов дверей, запорного механизма' опрокидывающейся кабины, запоров бортов платформы, капота, крышки багажника, заднего борта автомобиля, самосвала и механизма его запора, рамы, рессор, колес, опорно-сцепного (буксирного) устройства, опорных катков полуприцепа, надежность сцепки прицепного состава, правильность и целостность опломбирования спидометра и таксометра, действие приборов освещения и световой сигнализации, звукового сигнала, стеклоочистителей, смывателей ветрового стекла и фар, системы отопления и обогрева стекол (при низких температурах), системы вентиляции.

Следует проверять также состояние и герметичность гидроусилителя рулевого управления, люфт рулевого колеса, состояние ограничителей максимальных углов поворота управляемых колес, привода тормозов и механизма выключения сцепления, систем питания, смазки и охлаждения двигателя, гидросистемы механизма подъема платформы автомобиля-самосвала, натяжение приводных ремней. Работу спидометра, таксометра и других контрольно-измерительных приборов, двигателя, сцепления, рулевого управления, тормозов необходимо проверять на ходу автомобиля. При остановке двигателя на слух проверить работу фильтра центробежной очистки масла по характерному гулу.

Специфические контрольно-осмотровые работы по автобусам заключаются в осмотре состояния пола, подножек, поручней, сидений, стекол окон и дверей салона автобуса, проверке исправности механизма открывания крышек потолочных вентиляционных люков, герметичности пневматической подвески, проверке действия механизмов открывания дверей, у автобусов с гидромеханической коробкой передач частоты вращения коленчатого вала двигателя на холостом ходу (при необходимости нужно отрегулировать ее таким образом, чтобы незаторможеный автобус оставался неподвижным на ровном месте при включенной передаче и отпущенной педали акселератора).

Следует проверить также действие сигнализации из салона к водителю, исправность приборов освещения в салоне и подножек, габаритных фонарей, наличие маршрутных указателей, исправность системы вентиляции, отопления салона (при низких температурах), громкоговорящего устройства, состояние основания кузова, пневматических баллонов, подвески, накопительных касс и компостеров. Необходимо убрать салон, очистить обивку подушек и спинок сидений.

При ТО-1 необходимо провести следующие контрольные (диагностические), крепежные и регулировочные работы (подвижной состав поступает после мойки и уборки). Провести общие контрольно-осмотровые работы ЕО. проверить крепление двигателя и узлов систем питания и выпуска отработавших газов, действие оттяжной пружины и свободный ход педали, герметичность системы гидропривода выключения сцепления. Проверить крепление кронштейна и составных частей силового цилиндра пневмоусилителя, крепление и работу коробки передач, раздаточной коробки и делителя на неподвижном автомобиле, крепление гидромеханической коробки передач к основанию автобуса, масляного поддона и состояние масляных трубопроводов двигателя, наконечников электрических проводов, правильность регулировки механизма управления периферийными золотниками.

Проверить люфт в шарнирах и шлицевых соединениях карданной передачи, состояние и крепление промежуточной опоры и опорных пластин игольчатых подшипников, фланцев карданных валов, герметичность соединений ведущих мостов, крепление картера редуктора, флянцев полуосей и крышек колесных передач.

Проверить, крепление и шплинтовку гаек шаровых пальцев, сошки, рычагов поворотных цапф, состояние шкворней и стопорных шайб и гаек люфт рулевого колеса и шарниров рулевых тяг, затяжку гаек , клиньев карданного, вала рулевого управления, люфт подшипников ступиц колес.

Проверить визуально внешнее состояние компрессора, его работу на слух и по манометру создаваемое им давление, состояние и герметичность трубопроводов и приборов тормозной системы, эффективность действия тормозов на стенде, шплинтовку пальцев штоков тормозных камер пневматического привода тормозов, ход штоков тормозных камер, свободный и рабочий ход педали тормоза, проверить исправность тормозного крана пневматического привода тормозов, состояние и герметичность главного цилиндра усилителя, колесных цилиндров и их соединений с трубопроводами, исправность привода и действие стояночного тормоза.

Проверить состояние рамы, узлов, и деталей подвески, буксирного (опорно-сцепного) устройства, состояние и действие механизма подъема опорных катков полуприцепа, крепление стремянок и пальцев рессор, крепление колес, герметичность пневматической подвески, состояние шин и давление в них воздуха. Удалить посторонние предметы, застрявшие в протекторе и между сдвоенными колесами.

Проверить кабину, платформу (кузов) и оперение автомобиля, состояние и действие запорного механизма, упора ограничителя и страхового устройства опрокидывающейся кабины, действие замков, петель и ручек дверей кабины, крепление платформы к раме автомобиля, запасного колеса, крыльев, подножек, брызговиков. Осмотреть поверхности кабины и платформы, при необходимости очистить их от коррозии и нанести защитное покрытие.

Проверить состояние приборов системы, питания, их крепление и герметичность соединений. У дизельных автомобилей проверить действие привода управления подачей топлива. При необходимости отрегулировать содержание окиси углерода в отработавших газах карбюраторных двигателей.

Входят углубленная проверка состояния всех агрегатов механизмов, узлов и приборов машин и устранение выявленных неисправностей. В перечень работ ТО-2 полностью входит перечень работ ТО-1 Для более тщательной проверки аккумуляторные батареи, приборы системы питания и электрооборудования, колеса снимают с автомобиля, контролирую и регулируют в производственных отделениях предприятия, на стендах и установках. Перед ТО-1 и ТО-2 автомобили проходят диагностирование и выявленные неисправности устраняют текущим ремонтом, выполняемым в зависимости от его объема и характера или до ТО, или совместно с ТО. ТО-1 проводят в межсменное время, а ТО-2 чаще в сменное время, для чего предусматривается время простоя автомобилей.

Перечни основных операций ТО-1 и ТО-2 указаны в Положении и инструкциях заводов-изготовителей. Эти перечни уточняются автотранспортными предприятиями в конкретных условиях в порядке их корректирования.

ВЫВОДЫ ПО ГЛАВЕ 3

.        Производство каждого вида ТО и ремонта АТС в АТП осуществляется в соответствии с функциональной схемой производственного процесса АТП.

.        Перед выпуском автомобиля на линию водитель должен провести осмотр автомобиля, убедится в его исправности и выполнить операции по ЕО. При обнаружении неисправности в процессе выпуска подвижного состава на линию дежурный механик выписывает ремонтный листок, передает его в ОУП, а автомобиль направляется в зону ремонта или ожидания.

3.      Основным вопросом организационного и технологического взаимодействия со специализированными сервисными предприятиями является качественное и быстрое выполнение необходимых по перечню и сопутствующих работ, в создании договорных отношений по оплате объема выполненных работ после выпуска автомобилей.

4.      ТР автомобилей производится индивидуальным и агрегатным методами. При индивидуальном методе ремонта агрегаты, снятые автомобиля, не обезличиваются, их ремонтируют, а затем устанавливают на тот же автомобиль. При такой организации ремонтных работ автомобиль продолжительное время простаивает. В целях сокращения простоя подвижного состава ТР, в транспортном цехе, осуществляется преимущественно агрегатным методом, при котором неисправные или требующие ремонта агрегаты заменяют на исправные, взятые из оборотного фонда. В объем работ ТР, в транспортном цехе, входят постовые работы (снять - поставить).

5.      В целях сокращения простоя подвижного состава транспортного цеха, на предприятии организованна схема ремонта деталей, узлов и агрегатов со специализированными сервисными предприятиями.

6.      Для поддержания подвижного состава в исправном состоянии в топливно-транспортном цехе ООО «ЮГРЭ» разработана схема взаимодействия основных исполнителей работ и документооборота при выполнении ТО-2 и ремонта агрегатов и узлов автомобилей.

ГЛАВА 4. ЭКОНОМИЧЕСКАЯ ЧАСТЬ

Целью дипломного проекта является вынос технических воздействий по ТО-2 и Р в специализированные сервисные предприятия, расположенные в г. Тобольск и предлагающие услуги по ТО и ремонту.

Ввиду слабой оснащенности технологическим оборудованием, отсутствием необходимых производственных площадей, при наличии недостаточной сменной программы, что характерно для топливно-транспортного цеха ООО «ЮГРЭ», а именно отсутствие возможности выполнения трудоемких работ по ТО-2 и ремонту агрегатов, возникает необходимость в разработке рекомендаций по организации работ по ТО-2 и Р на сервисных предприятиях.

Экономическая часть дипломного проекта содержит сравнительный анализ материальных затрат при проведении ТО-2 и ремонта в ТТЦ ООО «ЮГРЭ», в случае его оснащения необходимым технологическим оборудованием, увеличением штата производственных рабочих и затрат при производстве работ по ТО-2 и ремонту в сервисных предприятиях, имеющих необходимое технологическое оборудование, производственные площади и ремонтных рабочих.

4.1 Расчет материальных затрат на оснащение постов ТО-2 и ТР в топливно-транспортном цехе ООО «ЮГРЭ»

Фонд оплаты труда производственных рабочих состоит из основной, дополнительной заработной платы, премий и единовременных поощрительных выплат.

Фонд основной заработной платы включает все виды оплаты труда за фактически отработанное время; оплата по сдельным расценкам или тарифным ставкам, надбавки, доплаты и премии.

По данным предприятия ТТЦ ООО «ЮГРА» согласно штатного расписания рабочих повременщиков транспортного цеха оплата труда производится согласно утвержденного оклада.

ОЗП= руб.                                                      (4.1)

где  - оклад рабочего, руб.;

 - коэффициент, учитывающий премии;

 - районный коэффициент.

ОЗП = 35001,41,5 = 7350 руб.,

Для обслуживания подвижного состава транспортного цеха необходимо 6 ремонтных рабочих.

Основная заработная плата ремонтных рабочих за год составляет 529200 рублей.

ОЗП = 7350612 = 529200 рублей.

Фонд дополнительной заработной платы включает оплату отпусков, оплату часов выполнения государственных и общественных обязанностей, доплату подросткам до среднего заработка. Он определяется в процентах от фонда основной заработной платы, то есть

ДЗП = 8% от ОЗП                                                                (4.2)

ДЗП = 0,08529200 = 42336 руб.,

Премия составляет 30% от основной заработной платы.

П = 30% от ОЗП                                                                   (4.3)

П = 0,3529200 = 158760 руб.,

Единовременные поощрительные выплаты составляют 2 % от ОЗП

ЕПВ = 2% от ОЗП                                                                (4.4)

ЕПВ = 0,02529200 = 10584 руб.,

Общий фонд заработной платы производственных рабочих

ОФЗП = ОЗП + ДЗП + П + ЕПВ                                         (4.5)

ОФЗП = 529200 + 42336 + 158760 + 10584 = 740880 руб.,

Отчисления на социальные нужды составляют 26% от ОФЗП.

Осн = 26% от ОФЗП                                                            (4.6)

Осн = 0,26740880 = 192628,8 руб.,

Таблица 4.1 Оборудование для постов ТО и ТР

Оборудование

Марка

Количество

Стоимость, руб.

1

2

3

4

1. Подъемник электромеханический 4-стоечный с оптическим прибором для контроля и регулировки установки управляемых колес

П-133

1

182000

2. Домкрат гаражный гидравлический*

444-М

2

18100

3. Прибор для проверки электрооборудования и приборов зажигания (непосредственно на автомобиле)*

Э-214

1

32300

4. Прибор для проверки силы света и установки фар

К-303

1

12000

5. Комплект принадлежностей для аккумуляторных батарей

Э-401

1

48700

6. Установка для централизованного смазывания и заправки автомобилей*

3141

1

23000

7. Солидолонагнетатель передвижной*

3154-М

1

17200

8. приемник телескопический для отработанного масла (передвижной)*

С-506

1

18100

9. Барабан с самонаматывающимся шлангом с пистолетом для раздачи масла*

349-Н

1

14100

10. Бак для заправки тормозной жидкости*

326

1

9720

11. Бак для раздачи масла (передвижной)*

133-М

1

16400

12. Установка компрессорная (стационарная)*

К-2

1

32300

13. Барабан с самонаматывающимся шлангом для воздуха*

352-М

1

7100

14. Тележка слесаря-сборщика*

Т54005

2

6800

15. Установка для мойки деталей с пароподогревом

196

1

17000

16. Стенд для разборки и сборки редукторов задних мостов

Р-277 (НАМИ)

1

19200

17. Станок для обработки тормозных барабанов и тормозных колодок

ТО-161

1

39100

18. Пресс гидравлический с усилием 10тс с ручным приводом

2153-2М

1

27800

19. Настольный сверлильный станок*

2М-112

1

17400

20. Верстак слесарный*

070-03

4

4800

ИТОГО:


25

563120

Шиномонтажный и вулканизационный участок

21. Стенд для монтажа и демонтажа шин грузовых автомобилей

Ш-501

1

34000

22. Станок для шероховки камер

ТА-225

1

6100

23. Аппарат электровулканизационный

6131

1

5200

24. Станок для статической и динамической балансировки колес легковых автомобилей (со снятием с автомобиля)

191

1

37000

25. Верстак для ремонта шин или камер

ОШ-1457

1

6200

26. Ванна для проверки камер

Р-908

1

3050

27. Вешалка для камер

Ш-Б11

1

1300

ИТОГО:


7

92850

Участок ремонта топливной аппаратуры

28. Прибор для проверки бензонасосов и карбюраторов

577-Б

1

27000

29. Набор инструментов слесаря-электрика и слесаря по топливной аппаратуре. Комплект инструментов для регулировки карбюраторов

И-102

1

28070

30. Стеллаж полочный

31-07

1

2300

31. Индикатор окиси углерода или газоанализатор

И-СО

1

11200

32. Прибор для определения технического состояния цилиндро-поршневой группы

К-69М

1

14300

33. Компрессометр для карбюраторных двигателей.

179

1

3800

ИТОГО:


6

86670

Участок ремонта и заряда аккумуляторных батарей

34. Установка ускоренного заряда аккумуляторных батарей*

НБ-22А

1

17100

35. Нагрузочная вилка для проверки аккумуляторной батареи*

ЛЭ-2

1

1100

36. Комплект оборудования приборов и приспособлений для ремонта стартерных аккумуляторных батарей

КИ-387

1

34700

37. Ванна для промывки деталей аккумуляторных батарей

М-301

1

2300

38. Тележка

6031.069 тип 12

1

1450

ИТОГО:


5

56650

Участок диагностики

39. Стенд для проверки электрооборудования (контрольно-испытательный)*

Э-211

1

38300

Э-236

1

14700

41. Стенд для проверки приборов системы зажигания*

СПЗ-8М

1

11100

42. Комплект инструментов для ремонта электрооборудования автомобилей

И-111

1

18000

43. Стенд для проверки тормозов

К-208М

1

29000

ИТОГО:


5

111100

Кузовной и окрасочный участок

44. Преобразователь сварочный

ПСО-300Д

1

2000

45. Трансформатор сварочный*

СТШ-300

1

12000

46. Сушилка универсальная передвижная скоростная инфракрасного излучения

203

2

14200

47. Стол для электросварочных работ*

ОКС-7523

1

7400

48. Верстак для кузовных и жестяницких работ (с набором инструментов)

«Клесто1»

1

13100

ИТОГО:


6

48700

ВСЕГО:


54

760890

* - имеющееся технологическое оборудование в ТТЦ

Стоимость имеющегося технологического оборудования в ТТЦ составляет 336820 руб.

Стоимость необходимого оборудования для полноценного проведения работ по ТО и ТР составляет 1012590 руб.

Стоимость монтажа недостающего технологического оборудования составляет 15% от стоимости монтируемого оборудования.

Стоимость монтируемого оборудования составляет 675770 руб., следовательно стоимость монтажа будет равна 101365,5 руб.

Таблица 4.2 Смета затрат

Наименование статей и расходов

Сумма, руб.

1. Основной фонд заработной платы необходимых производственных рабочих

740880

2. Отчисления от ОФЗП на социальные нужды

263753,2

3. Стоимость технологического оборудования для постов ТО и ТР

675770

4. Стоимость монтажа технологического оборудования для постов ТО и ТР

101365,5

ИТОГО:

1781768,7


4.3 Расчет стоимости проведения ТО-2 и ТР в ССП

По результатам расчета производственной программы при годовом обслуживании подвижного состава по ТО-2, количество Nто-2 составляет:

II группа Nто-2 = 24

III группа Nто-2 = 15

V группа Nто-2 = 2

Целью дипломного проекта является вынос технических воздействий по ТО-2 в специализированные сервисные предприятия, за счет сокращения численности производственных рабочих в целях экономии денежных средств.

По данным ССП г. Тобольска стоимость проведения ТО-2 составляет:

II группа Nто-2 = 400024 = 96000 руб.

III группа Nто-2 = 600015 = 90000 руб.

V группа Nто-2 = 82002 = 16400 руб.

Общая стоимость Nто-2 = 202400 руб.

Годовая трудоемкость текущего ремонта составляет Ттр = 5648 чел-час

Трудоемкость разборочно-сборочных составляет 25% от Ттр.

Ремонт снятых узлов и агрегатов ССП = 4228 чел-час

Разборочно-сборочные работы = 1420 чел-час (проводятся в ТТЦ ООО «ЮГРЭ»)

Стоимость ремонтных работ в ССП составляет 220 руб/час

= 4228220 = 93016 руб.

Таблица 4.3 Смета затрат

Наименование статей и расходов

Сумма, руб.

1

2

1. ОФЗП штатных производственных рабочих

246960

2. Отчисления от ОФЗП на социальные нужды

87917,7

3. Услуги ССП по ТО-2

202400

4. Услуги ССП по ремонту узлов и агрегатов

930160

ИТОГО:

1467437,7


Таблица 4.4 Экономические показатели проекта

Наименование статей и расходов

Затраты, руб.


При проведении ТО-2 и ремонта спецтехники на транспортном участке

При проведении ТО-2 и ремонта спецтехники в специализированном сервисном производстве

1

2

3

1. Основной фонд заработной платы производственных рабочих

740880

246960

2. Отчисления от ОФЗП на социальные нужды

263753,2

87917,7

3. Стоимость необходимого технологического оборудования для полноценного проведения ТО-2 и ремонта

675770

-

4. Стоимость монтажа приобретенного технологического оборудования для проведения работ на транспортном участке

101365,5


5. Стоимость услуг ССП по ТО-2

-

202400

6. Стоимость услуг ССП по ремонту узлов и агрегатов

-

930160

ИТОГО:

1781768,7

1467437,7

Экономический эффект проекта за год составляет

,7-1467437,7 = 314331 руб.

На эту сумму закупаем оборудование для оснащения ТТЦ.

Таблица 4.5 Перечень закупаемого оборудования для ТТЦ

Оборудование

Марка

Количество

Стоимость, руб.

1

2

3

4

1. Подъемник электромеханический 4-стоечный с оптическим прибором для контроля и регулировки установки управляемых колес

П-133

1

182000

2. Стенд для монтажа и демонтажа шин грузовых автомобилей

Ш-501

1

34000

3. Станок для шероховки камер

ТА-225

1

6100

4. Аппарат электровулканизационный

6131

1

5200

5. Станок для статической и динамической балансировки колес легковых автомобилей (со снятием с автомобиля)

191

1

37000

6. Верстак для ремонта шин или камер

ОШ-1457

1

6200

7. Ванна для проверки камер

Р-908

1

3050

8. Вешалка для камер

Ш-Б11

1

1300

9. Стенд для проверки тормозов

К-208М

1

29000

ИТОГО:


7

303850


Таким образом все шиномонтажные работы будут проводиться в ТТЦ своими силами уже через 1 год. Кроме того, оборудуется участок для проверки тормозов.

ВЫВОДЫ ПО ГЛАВЕ 4

.        Для обслуживания подвижного состава транспортного цеха необходимо 6 ремонтных рабочих. Заработная плата составляет 740880 руб. В ССП заработная плата рабочих 246960 руб.

.        Стоимость имеющегося технологического оборудования в ТТЦ составляет 336820 руб. Стоимость необходимого оборудования для полноценного проведения работ по ТО и ТР составляет 1012590 руб. При обращении в ССП затрат на оборудование нет.

.        Экономический эффект проекта за год составляет 1781768,7-1467437,7 = 314331 руб.

.        На сэкономленные средства приобретаем оборудование для шиномонтажных работ, проверки тормозов и контроля и регулировки установки управляемых колес.

ГЛАВА 5. БЕЗОПАСНОСТЬ ЖИЗНЕДЕЯТЕЛЬНОСТИ

В настоящее время в нашей стране очень актуален вопрос безопасности жизнедеятельности человека, включающий такие разделы как охрана труда на производстве и в быту и охрана окружающей среды.

Обеспечение безопасности жизнедеятельности представляет собой комплекс мероприятий законодательного, технического, санитарно -гигиенического и организационного порядка, направленного на обеспечение безопасных методов и условий труда на основе использования достижений передовой техники и технологии.

В последние годы классифицированы отдельные источники негативного воздействия транспортных объектов на окружающую среду, установлены причинно - следственные связи для управления уровнем экологической безопасности транспортного комплекса. Можно считать методически завершенным этап разработки расчетных методик оценки удельных выбросов одиночных транспортных средств и погонных выбросов транспортных потоков на участках дорожной сети, загрязнения придорожной полосы токсичными веществами, формирования парка машин региона с использованием экологических критериев.

5.1 Техника безопасности на предприятии автотранспорта

Условия труда на предприятиях автомобильного транспорта это совокупность факторов производственной среды, оказывающих влияние на здоровье и работоспособность человека в процессе труда. Эти факторы различны по своей природе, формам проявления, характеру действия на человека. Среди них особую группу представляют опасные и вредные производственные факторы. Их знание помогает предотвратить производственный травматизм и заболевания, создать более благоприятные условия труда, обеспечив тем самым безопасность.

К основным требованиям безопасности рабочих зон ТО и ремонта можно отнести следующее:

Помещения для стоянки автомобилей, зоны обслуживания, мастерские и цеха должны содержаться в чистоте и хорошо вентилироваться. Автомобиль на стоянке и для ремонта устанавливается так, чтобы были свободны проходы и доступ ко всем агрегатам. Все проезды и проходы освобождаются, а движение автомобилей на территории организовывается по определенной схеме исключающей встречное движение и возможность наезда на людей. Движение автомобиля и работа двигателя должны быть минимальными.

При установке автомобиля на пост обслуживания он надежно затормаживается его ручным тормозом или подкладываются упоры noд колеса. Весьма опасна работа под автомобилем с вывешенными колесами. Поэтому поднятую часть автомобиля устанавливают на специальные металлические подпорки. Нельзя производить работы под автомобилем если он поднят только домкратом. Транспортировка снятых с автомобиля агрегатов осуществляется на специальных тележках.

Монтажно-демонтажные работы выполняются исправным инструментом определенного назначения.

Гаечные ключи должны точно соответствовать размерам гаек и болтов и не иметь выработки зева и трещин. Во избежание несчастных случаев сдваивание гаечных ключей или применение рычага для удлинения плеча недопустимо.

Тяжелые работы по снятию и установке агрегатов выполняются с применением специальных подъемных приспособлений, захватов и съемников; обвязывание при этом агрегатов веревкой не приемлемо. Для выполнения слесарных работ используют только исправный инструмент.

При заточке инструмента на точильных станках пользуются предохранительными очками. При работе с электрическими приборами следует обращать внимание на заземление и целостность электрического шнура. Также при работе с приборами находящимися под высоким напряжением возникает необходимость в резиновых перчатках и резиновом коврике под ногами.

Во время работы с аккумуляторными батареями нельзя курить и применять открытый огонь. Для защиты от ожогов кислотой и вредного влияния свинца работают в аккумуляторной мастерской в защитных очках, резиновых перчатках, в резиновом переднике, галошах или резиновых сапогах.

При работе в кузнечно-прессовочном цехе наковальня для ручной ковки укрепляется на деревянной подставке, усиленной железным обручем и установлена так чтобы ее рабочая поверхность была горизонтальной. Клещи для удержания поковок выбирают по размеру так, чтобы при захвате поковок зазор между рукоятками клещей был не менее 45 миллиметров и оснащены зажимными кольцами. Стенды комплектуются винтами для крепления полос с переносными щитами.

В цехе ремонта кузовов автомобилей при выполнении работ по правке детали из листовой стали очищают от ржавчины металлической щеткой детали, подлежащие правке; устанавливаются на специальные оправки. При изготовлении деталей и заплат из листовой стали острые углы и края и заусеницы зачищают. Резать на механических ножницах и гнуть на гибочных станках разрешается металл, толщина которого не превышает допустимую величину для данного оборудования. При вырезке заготовок и обрезке деталей больших размеров на механических ножницах и другом оборудовании применяют поддерживающее устройство, откидные крышки, роликовые подставки.

Во время сварочных работ сварочный трансформатор, ацетиленовый генератор, баллоны со сжиженным или сжатым газом размещаются вне помещений, в которых производятся сварочные работы.

Временные места проведения сварочных работ в зонах обслуживания и ремонта специальной техники определяются письменным разрешением работника ответственного за пожарную безопасность объекта, обеспечиваются средствами пожаротушения и ограждены негорючими ширмами или щитами. При проведении сварочных работ на открытом воздухе над сварочными постами сооружают навесы из негорючих материалов. При отсутствии навесов сварочные работы во время дождя или снегопада должны быть прекращены. Так же, в холодное время года при сварочных работах на улице баллоны с углекислым газом в целях предотвращения замерзания устанавливаются в специально утепленных помещениях.

Использование редукторов и баллонов с кислородом, на штуцерах которых обнаружены хотя бы следы масла, а так же замасленные шланги невозможно во избежание взрыва.

При выполнении шиномонтажных работ проверяют чистоту шин от грязи и пыли. Станки для шероховки поврежденных мест оборудуются местной вытяжной вентиляцией для отсоса пыли, надежно заземляются и имеют ограждение привода абразивного круга.

Перед снятием колеса автомобиля вывешиваются на специальном подъемнике и под вывешенную часть подкладывается упор. Перед демонтажем шин с диска колеса полностью выпускают воздух. Демонтаж шин выполняют на специальном стенде или с помощью специального стенда. Монтаж демонтаж шин в пути осуществляют с помощью специального инструмента.

Накачка шин производится в два этапа : в начале до давления 0,05 МПа с проверкой замочного замка, а затем до давления, предписываемого соответствующей инструкцией.

На участке накачивания шин, подкачивание снятых с автомобиля шин, производится только в специально отведенных для этих целей местах с использованием предохранительных устройств, препятствующих вылету колес.

При работах в лакокрасочных цехах запас лакокрасочных материалов хранится в закрытой таре и не должен превышать суточной нормы потребности. При работе с пульверизатором воздушные шланги надежно соединяются. Во избежание излишнего туманообразования и в целях уменьшения загрязнения рабочей зоны аэрозолем, парами красок лаков при пульверизационной окраске краскораспылитель держат перпендикулярно к окрашиваемой поверхности на расстояние не более 350 миллиметров от нее. Переливание лакокрасочных материалов из одной тары в другую производится на металлических поддонах с бортами не ниже 50 миллиметров.

Электроокрасочная камера ограждается, дверцы сблокированы с высоковольтным оборудованием. Рукоятки малярных инструментов по окончанию смены очищаются влажным способом.

Рабочие, имеющие дело с этилированным бензином обеспечиваются спецодеждой и резиновыми перчатками. При ремонтных работах все детали, соприкасающиеся с этилированным бензином, опускаются в керосин на 15 - 20 минут, после чего промывают чистой водой.

Помещения, где производится обслуживание или ремонт автомобилей, работающих на этилированном бензине, оборудуется надежной проточно-вытяжной вентиляцией, бачками и ваннами с керосином, а также умывальником с теплой водой и мылом.

Антифриз, содержащий этиленгликоль, в случае попадания в организм вызывает тяжелые отравления, иногда со смертельным исходом. При отравлении этой жидкостью принимаются срочные меры к очищению желудка. После работы с антифризом моют руки теплой водой с мылом.

Работники производственных цехов, занятые обслуживанием и ремонтом автомобилей и специальной техники снабжаются необходимой специальной одеждой, которая обеспечивает сохранение здоровья на производстве. Спецодежда должна всегда оставаться в рабочем помещении предприятия, приходить в этой одежде в жилые помещения запрещается.

Гардеробные, предназначенные для хранения уличной одежды и спецодежды, разделяются перегородками.

В таблице 5.1 приведен перечень необходимой спецодежды для работников участков ТО и ремонта.

Таблица 5.1 Спецодежда для работников зон ТО и ремонта техники на местах работы

Наименование спецодежды

Количество, ед.

Срок использования, мес.

1. Костюм для работы при пониженных температурах.

1

24

2. Костюм хлопчатобумажный

1

12

3. Костюм противогнусовый

1

24

4. Валенки с галошами

1

12

5. Сетка противогнусовая

1

24

6. Рукавицы хлопчатобумажные

2

2

7. Сапоги кирзовые

1

12

8. Каска строительная

1

12


5.2 Охрана окружающей среды

Основными процессами при воздействии промышленности и транспорта на окружающую среду является:

Горение, термогазодинамические процессы двигателей;

Испарение, потери топлива, эксплуатационных жидкостей лакокрасочных и других материалов при создании, обслуживании и ремонте транспортной техники;

Износ деталей, узлов машин элементов транспортных средств, дорожной одежды ( выброс частиц конструкционных материалов, продуктов износа шин, дорожного покрытия, фрикционных материалов;

Пластическая деформация, механическая, электромеханическая обработка материалов, очистка материалов на этапах жизненных циклов объектов транспорта;

Виброакустическое излучение движущихся объектов транспорта и частей машин, а также электромагнитное излучение электрических машин и электронных устройств, используемых для управления в технологических процессах реализации жизненных циклов объектов транспорта и управления движением, другие виды энергетического загрязнения;

Ландшафтные загрязнения;

Проблема защиты окружающей среды и рационального использования природных ресурсов является наиболее актуальной среди глобальных проблем человечества. Автомобилизация является сложной системой, которая тесно взаимосвязана с окружающей средой. В атмосферу автомобильными двигателями ежегодно выбрасывается 20 -27 млн. т. монооксида углерода; 2,0 - 2,5 млн. т. углеводородов; 6 - 3 млн. т. оксида азота; до 190 т. соединений серы; до 100 тыс. т. сажи; 13 тыс. т. соединений тяжелых металлов; 200 - 300 млн. т. диоксида углеводорода.

При этом объем выбросов вредных веществ АТС составляет 4,4 - 5,2 млн. т. в год. Объем выбросов полиароматических углеводородов составляет порядка 0,03 Для обеспечения требуемых условий воздушной среды в помещениях хранения, постов технического обслуживания подвижного состава используется общеобменная приточно-вытяжная вентиляция с механическим побуждением с учетом режима работы предприятия и количества вредных выделений. Систему общеобменной вентиляции предусматривают из верхней и нижней зоны одинаково с учетом вытяжки из смотровых канав, а подачу приточного воздуха - рассредоточенно в рабочую зону и смотровые канавы, а также в приямки, соединяющие осмотровые канавы и в тоннели предусмотренные для выхода из смотровых канав.

В помещениях связанных с работой двигателей автомобилей, предусматриваются местные отсосы.

Количество удаляемого воздуха от работающих двигателей в зависимости от их мощности принимают:

до 90 кВт 350 мЗ/ч

свыше 90 кВт 500 мЗ/ч

до 175 кВт 650 мЗ/ч

свыше 175 кВт 800 мЗ/ч

Очистку от пыли воздуха в системах с искусственным побуждением следует проектировать так, чтобы содержание пыли в подаваемом воздухе не превышало:

% ПДК в воздухе рабочей зоны

% ПДК в воздухе рабочей зоны с частицами пыли размером более 10 мкм - при подаче воздуха в зону дыхания работающих.

Содержание ВВ в воздухе кабины ТС, а также в производственных помещениях не должно превышать ПДК приведенного в таблице 5.2.

Однако выбросы вредных веществ с отработавшими газами являются не единственным фактором негативного воздействия автомобилизации на окружающую среду. Также бывают жидкие токсичные выбросы, газообразные и твердые вещества, шум, тепловое и электромагнитное излучение в процессе эксплуатации, модернизации и обслуживания транспортного средства, активное загрязнение продуктами производственной деятельности автотранспортного комплекса.

Таблица 5.2 Предельно допустимые концентрации вредных веществ в воздухе рабочих зон

Вредные вещества

ПДК р. з.,мг/мЗ

1

2

1 . Углерода оксида СО

1,5-2

2. Азота оксида в пересчете на NO

5

3. Углеводороды суммарные СН

300

4. Акролеин

0,2


Шум это любой нежелательный звук или совокупность звуков, оказывающих не благоприятное воздействие на организм человека.

В транспортном комплексе источниками шума являются процессы механического, аэродинамического, электромагнитного, гидродинамического происхождения, прежде всего шум от корпусных деталей, систем газообмена, охлаждения двигателя, агрегатов трансмиссии, а также аэродинамический шум и шум шин транспортных средств.

Составление акустического баланса двигателя или любого другого объекта транспорта дает возможность определить наиболее составляющие шума, указать причины возникновения, изучить процесс формирования, найти наиболее рациональные пути его подавления.

Вибрация - движение точки или механической системы под воздействием каких - либо внешних сил, при котором происходят колебания характеризующих ее скалярных величин. Основные источники вибрации: технологическое оборудование ударного действия, энергетические установки, транспортные средства.

Устройства, генерирующие, передающие и использующие электрическую энергию в транспортном комплексе, создают в окружающей среде электромагнитные поля. Измерителями электромагнитного поля являются напряженность электрической составляющей и плотность потока энергии.

Большей частью автопарка, рассматриваемого в дипломном проекте, являются автомобили с дизельными двигателями. В таблице 5.3 рассматривается состав отработавших газов дизельных двигателей.

Таблица 5.3 Состав отработавших газов двигателей

Вещество

Объемная доля %

1

2

О2

2,0-18,

СО2

1-12

№О

0,5 - 10

N2

76-78

NOx

0,1-1,0

СО

0,01-0,05

СхНу

0,01-0,05 -

Альдегиды

0 - 0,05

Сажа

До 20000

Бензапирин, мкг/мЗ

10


Вредные и токсичные вещества, содержащиеся в отработавших газах двигателей, в зависимости от механизма их образования можно разделить на группы:

а) углеродосодержащие вещества - продукты полного и не полного сгорания топлива (СО2, СО);

б) вещества, механизм образования которых непосредственно не связан с процессом сгорания топлива (оксиды азота - по термическому механизму);

в) вещества, выброс которых связан с примесями, содержащимися в топливе (соединения серы, свинца, других тяжелых соединений);

Мероприятиями по снижению токсичности автомобильных двигателей может служить повсеместная установка в систему выхлопа автомобиля катализатора, выполняющего функции фильтра в системе. Также эффективным устройством по снижению токсичности является принудительный наддув воздуха в камеру сгорания двигателя, при большем давлении воздуха топливо быстрее воспламеняется и сгорает. Следующим мероприятием по снижению токсичности может служить ужесточение контроля за содержанием токсичных веществ двигателя путем ежедневной проверки автомобилей на предприятии специальным прибором.

Для уменьшения загазованности воздуха в гаражах и выбросов вредных веществ в атмосферу отработавшие газы системой вытяжной вентиляции направлять в пылегазоочистительные установки.

Отработавшие масла доставляются с мест ремонта в специальных резервуарах для последующей отправки на регенерацию.

На предприятии предусмотрен комплекс очистных сооружений. Спуск хозяйственных вод производится в канализацию. Производственные отходы сбрасываются на свалку только после предварительной очистки. Дождевые стоки отводятся с территории по водостокам в городской коллектор ливневой канализации. Производственные отходы своевременно собираются.

5.3 Прогнозирование чрезвычайных ситуаций и их предотвращение

Чрезвычайные ситуации подразделяются на:

чрезвычайные ситуации техногенного характера;

чрезвычайные ситуации природного характера;

чрезвычайные ситуации экологического характера;

К техногенным относятся ЧС, происхождение которых связано с производственно-хозяйственной деятельностью человека на объектах техносферы. Базовая классификация ЧС техногенного характера строится по типам и видам чрезвычайных событий:

транспортные аварии (катастрофы);

аварии с выбросом;

внезапное обрушение зданий;

аварии электроэнергетических установок;

аварии на очистных сооружениях;

К природным ЧС относятся до 30 видов опасных природных явлений, развитие которых приводит к возникновению катастроф и стихийных бедствий. К этим ЧС относятся: природные пожары, землетрясения, оползни, наводнения, ураганы, бури, шквалы, смерчи.

Для Уватского района, где находится рассматриваемое предприятие характерны следующие ЧС:

Природные ЧС: наводнения, пожары.

Техногенные ЧС: прорыв нефтепроводов, транспортные аварии.

К транспортным авариям можно отнести взрыв автомобиля по причине

возгорания.

На предприятии предусматривается ряд мер по предупреждению и быстрой ликвидации ЧС:

Создание отдела по ЧС, в состав которого входит аварийная бригада, оснащенная необходимым оборудованием и средствами;

В отделе ЧС разрабатывается план управления предприятием при ЧС и планы ее ликвидации;

При разработке плана мероприятий составляется логический прогноз возможных ЧС, которые позволяют быстро ликвидировать их и приступить к восстановлению разрушений;

Существуют и находятся в постоянной готовности локальные системы оповещения о ЧС;

Производится финансирование мероприятий по защите работников организации от ЧС за счет собственных средств;

Предоставляется в установленном порядке информация в области защиты населения и территории от ЧС, а также оповещения работников организации об угрозе возникновения или о возникновении ЧС.

Наиболее вероятной ситуацией является пожар, с последующим взрывом автомобилей.

Помещение производственного корпуса с постами ТО и ТР относится к категории В. В помещениях находится пожарная сигнализация. Установлено место для курения. Проводится инструктаж сотрудников по мерам пожарной безопасности. Для борьбы с пожарами используются огнетушители. Особое требование предъявляется к устройству и размещению кабельных путей.

В качестве защиты здания и оборудования от повреждений, связанных с поражением молнией, применяется стержневой молниеотвод.

Выводы

В представленном разделе дипломного проекта были рассмотрены следующие темы:

. Обеспечение безопасности работающих на постах ТО и ремонта техники;

. Анализ экологичности проекта;

. Прогнозирование чрезвычайных ситуаций и их предотвращение;

Из всего выше рассмотренного можно сделать такие выводы как то, что состав автомобильного парка, организация перевозки грузов, техническое обслуживание или ремонт машин - любая другая деятельность инженера приводит к воздействию на окружающую среду. Следовательно, принимая решения, следует понимать об их последствии для природы. Помнить это - означает обеспечить будущее человека и Земли.

 

ЗАКЛЮЧЕНИЕ


Топливно-транспортный цех ООО «ЮГРЭ» недостаточно оснащен необходимыми механизмами и оборудованием. Имеющегося в наличии технологического оборудования недостаточно для качественного проведения всех видов ТО, влияющих на безопасность движения. В связи с усложнением конструкции автомобилей и при отсутствии специалистов высокого профессионального уровня, появилась потребность в решении вопросов организационного и технологического взаимодействия со специализированными сервисными предприятиями.

Важными элементами решения проблемы управления техническим состоянием автомобилей являются совершенствование технологических процессов производства ТО и Р автомобилей, включающие технологические приемы, оборудование постов и рабочих мест, а также применение средств механизации и автоматизации процессов.

Таким образом, целью настоящей работы являются разработка мероприятий по обеспечению работоспособности автомобилей на малых АТП.

В данном дипломном проекте приведена наиболее рациональная организация ТО и ремонта, при которой обеспечиваются минимальные простои автомобилей по техническим причинам при минимальных затратах труда, запасных частей и материалов.

Метод организации ТО и ремонта выбран в соответствии с конкретными условиями работы ТТЦ ООО «ЮГРЭ». В связи с разнотипностью парка автомобилей ТО и текущий ремонт организован методом универсальных постов.

Экономическая часть дипломного проекта содержит расчет по экономии денежных средств в связи с проведением ТО-2 автомобилей топливно-транспортного цеха ООО «ЮГРЭ» в ССП.

СПИСОК ЛИТЕРАТУРЫ

1.     Автомобильные эксплуатационные материалы / Стуканов В.А., Учеб. пособие, лабораторный практикум - М.: ФОРУМ: ИНФРА,2003

2.      Арзамасов Б.Н., Макарова В.И. Материаловедение. 6-е изд. М.; Изд-во МГТУ им. Н.Э. Баумана, 2004

.        Вахламов В.К. Техника автомобильного транспорта: подвижной состав и эксплуатационные свойства. / Учеб. пособие для студ. высш. учеб. заведений/ М.:Изд. центр «Академия», 2004

.        Гаврилов К. Л. Первое в России практическое руководство по регламентным работам, диагностики и ремонту легковых и грузовых автомобилей иностранного и отечественного производства. М.: Майор, 2003

.        Гаврилов К. Л. Практическое руководство по ремонту и диагностике двигателей легковых и грузовых автомобилей иностранного и отечественного производства. М.: Майор, 2004

.        Голованенко С.Л. Справочник инженера экономиста автомобильного транспорта. - Киев: Техника. 1991.-351 с.

.        Данилов О.Ф. Технологическое проектирование (реконструкция) автотранспортных предприятий: Учебно-методическое пособие. - Тюмень: ТюмГНГУ. 1996. - 245 с.

.        Инструкция по эксплуатации автомобиля КрАЗ-260. - Кременчуг. 1995.- 158с.

.        Колесник П.Д., Шейнин В.А. Техническое обслуживание и ремонт автомобилей: Учебник для ВУЗов. - М.: Транспорт. 1985. - 325 с.

.        Краткий автомобильный справочник. - М.: Транспорт. 1984. - 220 с.

.        Крамаренко Г.В., Барашков И.В. Техническое обслуживание автомобилей: Учебник для автотранспортных техникумов. - М.: Транспорт, 1982.

.        Кузнецов Ю.М. Охрана труда на предприятиях автомобильного транспорта: Справочник. - М.: Транспорт. 1986. - 272 с.

.        Лицензирование и сертификация на автотранспорте. 2-е изд., - М.: Машиностроение, 2004

.        Назаров В.П. Правила оформления дипломных и курсовых проектов, работ: Методические указания для студентов специальности 15.05 -"Автомобили и автомобильное хозяйство" дневной, вечерней и заочной форм обучения. - Тюмень: ТюмГНГУ. 1999. - 28 с.

.        Напольский Г.М. Технологическое проектирование автотранспортных предприятия и станций технического обслуживания: Учебное пособие для ВУЗов. - М.: Транспорт. 1985. - 231 с.

.        Положение по техническому обслуживанию и ремонту подвижного состава автомобильного транспорта. М.- Транспорт. 1983.- 34с

17.   Проектирование предприятий автомобильного транспорта: учеб. для студентов специальности "Техническая эксплуатация автомобилей"/ Болбас М.М., Капустин Н.М., Савич А.С. и др.; Под ред. Болбаса М.М. - Мн.: Адукацыя і выхаванне, 2004.

18.   Салов А.И. Охрана труда на предприятиях автомобильного транспорта. - М.: Транспорт. 1970. - 284 с.

19.    Суханов Б.Н., Борзых И.О., Бедарев Ю.Ф. Техническое обслуживание автомобилей: Пособие по дипломному проектированию. - М.: Транспорт. 1991. - 159 с. 89

.        Техническая эксплуатация автомобилей: Учебник для вузов/Под ред. Г.В.Крамаренко. - 2-е изд., перераб. и доп.- М.:Транспорт, 1983.-488 с.

.        Техническая эксплуатация автомобилей: Учебник для вузов/Под ред. Е.С.Кузнецова.- 3-еизд., перераб. и доп.- М. транспорт, 1991.-413с.

.        Туревский И. С. Техническое обслуживание автомобилей. ФОРУМ: ИНФРА-М, 2005

.        Туревский И. С. Экономика и управление автотранспортным предприятием / Учеб. Пособие, М.: Высшая школа, 2005

Похожие работы на - Совершенствование работ пункта технического обслуживания автомобилей в транспортном подразделении при ООО 'ЮГРЭ'

 

Не нашли материал для своей работы?
Поможем написать уникальную работу
Без плагиата!
Без нейросетей!