Конструкции триангелей тележек грузовых вагонов
Введение
Железнодорожный транспорт в России - одна из
крупнейших железнодорожных сетей в мире. Эксплуатационная протяжённость сети
железных дорог общего пользования составляет 86 тыс км (2010),
электрифицировано43,033 км (3 кВ пост. - 19,000 км, 25 кВ 50 Гц - 41,033 км).По
протяжённости электрифицированных дорог Россия занимает 1-е место в мире.
Характерной особенностью железнодорожного транспорта в России является высокая
доля электрифицированных дорог.
Сформулированы основные направления повышения
технического уровня грузовых вагонов. Предстоит решить следующие технические
задачи:
Увеличение срока службы основных деталей и узлов
вагонов в 1,5-2 раза;
Обеспечение межремонтных сроков службы трущихся
деталей и узлов с 400-500 тыс. км до 1 млн. км;
Сокращение частоты поступления вагонов в текущий
внеплановый ремонт с 3,5 до 0,3 раза в год.
Триангель является одним из основных элементов
рычажной передачи тормозного оборудования вагона. От его технического состояния
в значительной, мере зависит эффективность процессов торможения вагона, а
значит и обеспечение безопасности движения. Кроме того техническое состояние
триангеля и других элементов рычажной передачи существенно влияет на
техническое состояние колесных пар. Так при неправильной регулировке рычажной
передачи, при износе трущихся пар колодок и других факторах могут происходить
кратковременные и длительные воздействия сил трения от тормозной колодки на
колесо, превосходящие силы сцепления колеса с рельсом, что может привести,
соответственно, к кратковременным (мгновенным) или длительным заклиниваниям
колесной пары и её движению по рельсам юзом, следствием чего на поверхности
катания колеса могут появиться специфические дефекты - навары, ползуны и другие
повреждения.
С целью поддержания всей рычажной передачи
тормоза, и триангелей в частности, в технически исправном состоянии при всех
периодических ремонтах, рычажная передача разбирается и отправляется для
осмотра, испытаний и ремонта в специализированные отделения вагонных депо и
ВРЗ.
В данном курсовом проекте излагаются основные
понятия конструкции триангелей тележек грузовых вагонов, сведения об износах и
повреждениях основных элементов триангеля и методы ремонта триангелей в
условиях вагонных депо и вагоноремонтных заводов.
1. Конструкция и технические характеристики
Триангель тележки грузового вагона
изготавливается из стали 09Г2СД ГОСТ 19282-73 или ст. 3 ГОСТ 380-71 и имеет
конструкцию, представленную на рисунке 1.
Рисунок 1
Чек 1 ГОСТ 1203-75 100.40.014 или чека 2 ГОСТ
1203-75 100.40.014-01;
колодка тормозная
подвеска 100.40.051-0;
втулка 100.40.028-2 или Т258.00.01;
триангель;
наконечник триангеля левый 100.40.011-1;
наконечник триангеля правый 100.40.009-1;
башмак неповоротный ГОСТ 3269-78 100.40.016-2;
закладка триангеля 100.40.008-2 или
100.40.008-3;
шплинт 6,3х63 ГОСТ 397-79;
гайка 100.40.012-0 или 100.40.012-1 или гайка по
ГОСТ 5918-73: М30-6Н.5 или 2М30-6Н.5 или гайка по ГОСТ 5932-73: М30-6Н.5 или
2М30-6Н.5
Триангель работает в сложных условиях: он с
помощью подвесок и валиков укреплен на кронштейнах боковых рам тележки модели
18-100, Боковые рамы являются необрессореными элементами тележки и поэтому все
возмущающие силовые факторы, действующие на боковые рамы передаются и на
триангели.
С другой стороны от тормозного цилиндра на
триангель передается тормозное усилие, принимаемое в работах равным Р=10000
кгс.
Триангель можно рассчитывать как статически
неопределимую стержневую систему, образованную осевыми линиями элементов
конструкции.
2. Характерные неисправности и
требования в эксплуатации
Многолетний опыт эксплуатации триангелей
позволяет с достаточной объективностью указать наиболее повреждаемые зоны,
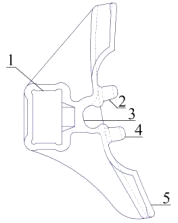
которые представлены на рисунок 2.
Рисунок 2 - Износы и повреждения триангелей
Одним из наиболее часто встречаемых дефектов
является износ резьбовой части 1 на конце цапфы. Эти износы и деформации резьбы
появляются в результате недостаточной затяжки гайкой башмака в горизонтальном
направлении. Ослабление затяжки башмака может происходить также при срезании
шплинта и самоотворачивания гайки при смещениях башмака с колодкой в
вертикальной плоскости.
При всех видах периодических ремонтов часто
встречаются износы посадочной поверхности цапфы и упорного буртика 2. Эти
износы происходят от постоянного взаимного трения с соответствующим посадочным
отверстием башмака.
Иногда, встречаются также дефекты по сварным
швам приварки вставки к триангелю 3 и по сварному шву приварки струны к вставке
4.
Достаточно большую частоту имеют дефекты в зоне
распорки. Появляются трещины в зоне приварки, распорки к швеллеру 5. В
результате взаимодействия с валиком, которым триангель крепится к вертикальным
рычагам, происходит износ отверстия 6. Износ этого отверстия неравномерный,
происходит овализация отверстия с максимальным диаметром в горизонтальной
плоскости.
Свободный конец распорки от взаимодействия со
струной получает износ 7. Зазор в этой зоне не допускается, т.к. этот зазор
приводит к увеличению силового воздействия на триангель и дальнейшему интенсивному
его разрушению.
Рисунок 3
На рисунке 3 представлены износы башмака. Он
изготавливается отливкой из сталей 15л; 20л; 25л ГОСТ 977-75. Износ 1
прямоугольного отверстия образуется от взаимодействия с цапфой триангеля. Этот
износ допускается восстанавливать при глубине не более 5 мм на сторону. Износ 2
- выработка паза для ушка колодки. Износ 3 - износ углубления для подвески,
который образуется при постоянном покачивании башмака с колодкой относительно
подвески.
Цифрой 4 обозначены разрушения скоб для
удержания чеки. Эти скобы изготавливаются из полосовой стали Ст.З толщиной не
менее 8 мм и привариваются ручной сваркой.
Износы 5 - износы концевых выступов башмака в
местах прилегания колодки, которые устраняются при глубине не более 10 мм.
Изношенные поверхности деталей триангеля
допускается восстанавливать наплавкой с последующей механической обработкой;
подвески тормозных башмаков, имеющие диаметр
поперечного сечения в местах наибольшего износа менее 22 мм, а по усиленному
сечению в углах гиба менее 26 мм, а также подвески, у которых при
дефектоскопировании обнаружены трещины, ремонтировать и ставить на вагон не
разрешается;
изношенную и поврежденную резьбу цапф триангеля
допускается восстанавливать наплавкой с последующей ее нарезкой,
восстановленную резьбу необходимо контролировать резьбовыми калибрами;
каждая подвеска тормозного башмака подлежит
дефектоскопированию в соответствии с руководящими документами по неразрушающему
контролю деталей вагонов;
на проушине изогнутой ветви прошедшей контроль
подвески должно быть нанесено клеймо;
при постановке нового клейма ранее поставленное
клеймо необходимо зачистить, при этом маркировка и клеймо завода- изготовителя
на проушине прямой ветви должны быть сохранены; дефектоскопирование подвесок,
подлежащих ремонту, необходимо производить после их ремонта;
каждый триангель до сборки его с башмаками
должен быть испытан в соответствии с методикой испытаний на растяжение деталей
грузовых и пассажирских вагонов, при этом на узкой стороне распорки
выдержавшего
испытание триангеля, ближе к струне, должно быть
нанесено клеймо; при постановке нового клейма ранее поставленное клеймо
необходимо зачеканить или зачистить шлифовальным инструментом, при этом
маркировка и клеймо завода-изготовителя должны быть сохранены.
3. Плановые виды обслуживаний и
ремонта, и условия их проведения
Для грузовых вагонов установлены следующие виды
ремонта:
капитальный ремонт (КР) вагонов для
восстановления ресурса вагонов наиболее близкого к полному.
деповской ремонт (ДР) вагонов для восстановления
их работоспособности с заменой или ремонтом отдельных узлов и деталей.
Виды технического обслуживания и ремонта вагонов
и их периодичность устанавливают в зависимости от пробега, км, или предельно
допустимых сроков эксплуатации между ремонтами. Так, например, крытые грузовые
вагоны, изготовленные после 1984 г., проходят КР через 13 лет после постройки и
через 12 лет - после очередного КР; их подвергают ДР через 3 года после
постройки и через 2 года после ДР и КР или пробега 100 тыс. км.
4. Технология ремонта
.1 Демонтаж триангеля с тележки
триангель вагон ремонт демонтаж
Триангель с тележки демонтируется на позиции её
разборки, рисунок 6,при этом необходимо:
демонтировать с тележки вертикальные рычаги и
затяжку вертикальных рычагов, для чего извлечь валики (оси) 1, 2 и 11,
предварительно удалив из них шплинты и сняв с них шайбы;
удалить шплинты 8 правой и левой подвесок, снять
шайбы 9;
удалить фиксаторы 3 из предохранительных скоб 4
(для скобы конструкции ПКБ ЦВ) или сжать свободные концы фиксатора 12, вывести
его из паза скобы 13 (для предохранителя конструкции ОАО «РИТМ»);
извлечь оси 10 из кронштейна боковой рамы
тележки и снять скобы 4 или скобы 13;
снять триангель в сборе с башмаками и подвесками
с тележки;
удалить замки 5 со скоб 6 по равномерному износу
колодки;
снять скобы 6 с распорок триангелей 7.
Триангель в сборе с башмаками и подвесками
перемещается в отделение (на позицию) его ремонта (разборки).
Последовательность демонтажа триангеля с тележки
обусловлена технологическим процессом конкретного ремонтного предприятия.
Рисунок 4 - Предохранитель валика подвески
тормозного башмака (ОАО «РИТМ»): 1 - валик; 2 - валик; 3 - фиксатор
предохранительной скобы; 4 - предохранительная скоба валика подвески; 5 - замок
устройства по равномерному износу колодок; 6 - скоба устройства по равномерному
износу колодок; 7 - распорка триангеля; 8 - шплинт 8х50 или шплинт 8х45 ГОСТ
397-79; 9 - шайба 100.40.048-0 или шайба 32.02 ГОСТ 9649-78; 10 - ось
100.40.013-1; 11 - валик; 12 - фиксатор предохранителя валика подвески; 13 -
скоба предохранителя валика подвески

4.2 Разборка
Триангель закрепить на специальном
приспособлении для его разборки и разобрать, рисунок 5:
извлечь чеки 1, снять колодки 2;
вывести подвески 4 из зацепления с башмаками 10
и снять их;
удалить шплинты 12, отвернуть гайки 13, снять
правый 9 и левый 8 наконечники, башмаки 10 и закладки 11.
удалить втулки 5 из подвесок 4.
Все детали и узлы после разборки должны быть
очищены от загрязнений с применением, при необходимости, металлической щетки.
Последовательность разборки триангеля
обусловлена технологическим процессом конкретного ремонтного предприятия,
поэтому может отличаться от приведенной в настоящем Руководстве.
4.3 Испытание триангеля
Перед сборкой триангель без закладок, башмаков и
наконечников необходимо испытать на растяжение в соответствии с Методикой
испытаний на растяжение деталей грузовых и пассажирских вагонов 656-2000 ПКБ
ЦВ.
Установить триангель без закладок, башмаков и
наконечников на испытательный стенд, при этом прямоугольные части цапф должны
разместиться на упорах.
В отверстие распорки установить валик диаметром
40 мм.
На распорке и струне, ближе к распорке, набить
керны на расстоянии 50-60 мм один от другого, рисунок 6.
Измерить расстояние между кернами
штангенциркулем ШЦ-II-150-0,05 ГОСТ 166.
С целью уменьшения погрешности измерения концы
штангенциркуля рекомендуется заточить под углом, соответствующим углу заточки
кернера, используемого для нанесения кернов перед испытанием триангеля.
Рисунок 6
Триангель нагрузить усилием 117,6 кН (12 тс). В
нагруженном состоянии струну и швеллер триангеля обстучать слесарным молотком с
массой головки 0,8 кг ГОСТ 2310.
Триангель в нагруженном состоянии осмотреть с применением
лупы 4-х кратного увеличения, проверить наличие трещин и других повреждений.
Снизить действующее на триангель усилие до
6,8-7,8 кН (0,7-0,8 тс) и затем вторично увеличить нагрузку до 117,6 кН (12
тс), повторно обстучать триангель и осмотреть.
Триангель разгрузить, снизив нагрузку до нуля.
Измерить расстояние между кернами
штангенциркулем ШЦ-II-150-0,05 ГОСТ 166 (определить остаточную деформацию,
которая рассчитывается как разность показаний измерения расстояния между
кернами до и после нагрузки триангеля).
Триангель считается выдержавшим испытание на
растяжение и
пригодным для дальнейшей эксплуатации, если при
визуальном осмотре дефекты не обнаружены, а остаточная деформация составляет не
более 0,5 мм. При большей остаточной деформации необходимо установить
неисправности, вызвавшие увеличенную деформацию. После устранения
неисправностей триангель должен быть испытан вновь.
При удовлетворительных результатах испытания на
узкой стороне распорки триангеля, ближе к струне, необходимо нанести клеймо
ремонтного предприятия в соответствии с требованиями Методики № 656-2000 ПКБ
ЦВ.
4.4 Сборка
Установить на триангель, рисунок 7, закладки 11,
башмаки 10, наконечники 8 и 9, закрутить гайки 13 и установить шплинты 12.
Установить на триангель шаблон измерения длины Т
542.05.000 в соответствии с Т 542.00.000 РЭ, рисунок 9. Сдвинуть концевые губки
шаблона до соприкосновения с наконечниками триангеля. Затем раздвинуть
подвижные указатели расстояния между тормозными башмаками до упора их в
тормозные башмаки.
Проконтролировать основные размеры: длину
триангеля по наконечникам, которая должна быть не менее 1836 мм и не более 1863
мм, расстояние между тормозными башмаками, которое должно быть не менее 1514 мм
и не более 1520 мм. При этом разница между показаниями шкал двух сторон шаблона
не должна превышать 3 мм.
Триангель, не отвечающий этим требованиям,
должен быть переформирован.
Рисунок 7
После проверки основных размеров необходимо:
в отверстия подвески 4 установить новые втулки 5
(при деповском ремонте вагонов допускается повторное использование втулок, не
имеющих трещин и потертостей) и вставить подвеску в паз башмака 10;
вставить колодки 2 в башмаки 10;
установить чеки 1.
Новые подвески, не имеющие маркировки и клейма,
а также имеющие
нечеткую маркировку и клеймо
завода-изготовителя, устанавливать на триангель запрещается.
В процессе сборки необходимо:
проконтролировать установку тормозных башмаков -
тормозные башмаки должны быть установлены так, чтобы при не закрепленной гайке
они не качались на цапфе, допускается устранять зазор между нажимной плоскостью
цапфы и плоскостью отверстия башмака постановкой между ними стальной прокладки
размером 80х80 мм и толщиной, которая определяется размером зазора в соединении
и условием, что прокладка должна устанавливаться с натягом;
контролировать крутящий момент при закручивании
гайки на цапфе триангеля - он не должен превышать 23 кгс·м;
шплинты ставить только новые - повторное
использование шплинтов запрещено;
шплинты ставить головками вверх, шплинт должен
проходить через прорези гайки - для регулировки совмещения отверстия цапфы и
прорези гайки допускается устанавливать под гайку шайбу 32 по ГОСТ 9649;
обе ветви шплинта разводить между собой на угол
не менее 90о;
резьбовые поверхности цапф триангеля и гаек
смазать индустриальным маслом ГОСТ 20799;
проконтролировать отсутствие зазоров между
башмаком, закладкой и наконечником - они должны быть жестко закреплены гайкой.
Последовательность сборки триангеля обусловлена
технологическим процессом конкретного ремонтного предприятия, поэтому может
отличаться от приведенной в настоящем Руководстве.
4.5 Монтаж триангеля на тележку
На распорку триангеля 7 установить скобу по
равномерному износу тормозных колодок 6. Ветви скобы сжать замком 5.
Скоба должна быть выполнена из прутка диаметром
16 мм и иметь внутренний охватывающий размер (226+2) мм.
Скобы и замки должны устанавливаться только
годные: не имеющие изломов и трещин. При деповском ремонте допускается износ
(потертость) скобы не более 1,5 мм, при капитальном - скобы должны
устанавливаться только новые.
Триангель в сборе с башмаками и подвесками
разместить на тележке.
Закрепить триангель на кронштейнах боковых рам
тележки, рисунок 1:
соединить подвески триангеля с кронштейнами
осями 10, предварительно установив между головками подвески и кронштейном
предохранительные скобы 4 (вариант ПКБ ЦВ ОАО «РЖД») или 13 (вариант ОАО
«РИТМ»);
установить на оси 10 шайбы 9 и шплинты 8;
установить фиксаторы 3 на предохранительные
скобы 4 (вариант ПКБ ЦВ ОАО «РЖД») или сжать свободные концы фиксатора 12 и
ввести их в паз скобы 13 (вариант ОАО «РИТМ»).
При сборке тормозной рычажной передачи тележек
необходимо:
валики устанавливать при капитальном ремонте
новые или отремонтированные, при деповском ремонте вагонов допускается
постановка валиков, имеющих износ не более 1 мм;
шплинты ставить только новые и разводить обе
ветви шплинта под углом между ними не менее 90º, повторное
использование шплинтов запрещено;
все шарнирные соединения тормозной рычажной
передачи должны быть смазаны маслом осевым по ГОСТ 610.
5. Виды инструктажей по охране труда
. Вводный инструктаж.
. Первичный инструктаж.
. Повторный инструктаж.
. Внеочередной инструктаж.
. Целевой инструктаж.
Вводный инструктаж.
Вводный инструктаж по безопасности труда
проводят со всеми вновь принимаемыми на работу независимо от их образования,
стажа работы по данной профессии или должности, с временными рамками,
командированными, учащимися и студентами, прибывшими на производственное
обучение или практику.
Вводный инструктаж на предприятии проводит
инженер по охране труда или лицо, на которое приказом по предприятию возложены
эти обязанности.
Вводный инструктаж проводят в кабинете охраны
труда или специально оборудованном помещении с использованием технических средств
обучения и наглядных пособий (плакатов, макетов, диафильмов, видеофильмов и
т.п.).
О проведении вводного инструктажа делается
запись в журнале регистрации вводного инструктажа с обязательной подписью
инструктируемого, а также в документе о приеме на работу (форма Т-1) или
контрольном листе.
После прохождения вводного инструктажа работник
проходит инструктаж по противопожарной безопасности. Текст инструктажа
утверждается главным инженером предприятия.
О проведении инструктажа делается запись в журнале
с обязательными росписями инструктирующего и инструктируемого.
Данные о прохождении вводного противопожарного
инструктажа заносятся в приказ.
Первичный инструктаж.
После прохождения вводного инструктажа работник
обязан пройти Первичный инструктаж непосредственно на рабочем месте.
Первичный инструктаж на рабочем месте до начала
производственной деятельности проводят:
со всеми работниками, вновь принятыми на
предприятие и переводимыми из одного подразделения в другое;
с работниками, выполняемыми новую для них
работу, командированными, временными работниками;
со строителями, выполняемыми
строительно-монтажные работы на территории действующего предприятия;
со студентами и учащимися, прибывшими на
производственное обучение или практику перед выполнением новых видов работ.
Примечание. Лица, которые не связаны с
обслуживанием, испытанием, наладкой и применением сырья и материалов, первичный
инструктаж не проходят. Перечень профессий и должностей работников,
освобожденных от первичного инструктажа на рабочем месте, утверждает
руководитель предприятия по согласованию с профсоюзным комитетом и службой
охраны труда.
Первичный инструктаж на рабочем месте проводят
по программам, разработанным и утвержденным руководителями производственных и
структурных подразделений предприятия, учебного заведения для отдельных
профессий или видов работ с учетом требований стандартов ССБТ, соответствующих
правил, норм и инструкций по охране труда, производственных инструкций и другой
методической и технической документации.
Первичный инструктаж на рабочем месте проводят с
каждым работником индивидуально с практическим показом безопасных приемов и
методов труда.
Первичный инструктаж возможен с группой лиц,
обслуживающих однотипное оборудование и в пределах общего рабочего места.
Работники комплексных бригад должны проходить
инструктаж по всем видам работ, выполняемым ими.
Проведение первичного инструктажа возлагается на
непосредственного руководителя работ (руководителя подразделения, бригадира,
мастера) или опытного специалиста.
Результаты первичного инструктажа заносятся в
журнал регистрации инструктажей на рабочем месте.
Все работники, в том числе выпускники
профтехучилищ, после первичного инструктажа на рабочем месте должны в течение
первых 2-14 смен (в зависимости от характера работы, квалификации работника)
пройти стажировку на рабочем месте под руководством лиц, назначенных приказом
(распоряжением) по предприятию.
Ученики и практиканты прикрепляются к
квалифицированным специалистам на все время практики.
Примечание. Руководитель цеха, участка по
согласованию с инженером по охране труда и профсоюзным комитетом может
освобождать от стажировки работника, имеющего стаж работы по специальности не
менее 3 лет, переходящего из одного цеха в другой, если характер его работы и
тип оборудования, на котором он работал ранее, не меняется.
Рабочие допускаются к самостоятельной работе
после стажировки, проверки теоретических знаний и приобретенных навыков
безопасных методов, способов работы их непосредственным руководством.
Список лиц, разрешающих допускать к
самостоятельной работе, утверждает руководитель предприятия, учреждения,
организации.
Повторный инструктаж.
В процессе трудовой деятельности работники
проходят повторный инструктаж.
Повторный инструктаж проходят все работники
независимо от квалификации, образования, стажа, характера выполняемых работ, не
реже одного раза в квартал.
Повторный инструктаж проводят индивидуально или
с группой работников, обслуживающих однотипное оборудование и в пределах общего
рабочего места по программе первичного инструктажа на рабочем месте в полном
объеме.
Проведение повторного инструктажа осуществляется
оформлением в журнале регистрации инструктажа на рабочем месте.
Внеплановый инструктаж.
Внеочередной инструктаж проводят:
при введении в действие новых или переработанных
стандартов, правил, инструкций по охране труда, а также изменений к ним;
при изменении технологического процесса, замене
или модернизации оборудования, приспособлений и инструмента, исходного сырья,
материалов и других факторов, влияющих на безопасность труда;
при нарушении работающими и учащимися требований
безопасности труда, которые могут привести или привели к травме, аварии,
взрыву, или пожару, отравлению;
по требованию органов надзора;
при перерывах в работе - для работ, к которым
предъявляют дополнительные (повышенные) требования безопасности труда более чем
на 30 календарных дней, а для остальных работ - 60 дней.
Внеочередной инструктаж проводят индивидуально
или с группой работников одной профессии. Объем и содержание инструктажа
определяют в каждом конкретном случае в зависимости от причин и обстоятельств
вызвавших его проведения.
Внеочередной инструктаж отмечается в журнале
регистрации инструктажа на рабочем месте с указанием его проведения.
Целевой инструктаж.
Целевой инструктаж проводится при выполнении
разовых работ, не связанных с обязанностями по специальности (погрузка,
выгрузка, уборка территории, разовые работы вне предприятия, цеха и т. п.);
ликвидации последствий аварии, стихийных бедствий, производственных работ, на
которое оформляется наряд-допуск, разрешение и др. документы; проведении
экскурсии на предприятии.
Целевой инструктаж проводится руководителями
подразделений и фиксируется в журнале инструктажей и в необходимых случаях в
наряде-допуске.
Целевой инструктаж с работниками, проводящими
работы по наряду-допуску, разрешению и т. п., фиксируется в наряде-допуске или
другой документации, разрешающие производство работ
Перед допуском к самостоятельной работе работник
должен получить под роспись должностную инструкцию, ознакомиться с её
содержанием и выполнять все требования изложенные в ней.
Кроме этого для выполнения каждого вида работ,
каждого технологического процесса на предприятии имеются инструкции по охране
труда и безопасному производству работ. Эти инструкции согласовываются с
профсоюзным комитетом, утверждаются главным инженером, разрабатываются
руководителем подразделения и согласовываются с отделом охраны труда. При
изменении технологических процессов, замены оборудования и т.д. эти инструкции
перерабатываются и заново утверждаются.
Срок действия инструкций - 5 лет.
Содержание этих инструкций:
вводная (общая часть);
требования безопасности перед работой;
требования безопасности во время работы;
требования безопасности в экстренных случаях;
требования безопасности по окончании работ.
Нарушение требований должностной инструкций по
охране труда и безопасному производству работ влечет за собой дисциплинарную,
административную и уголовную ответственность.
6. Охрана труда и техника
безопасности
Железнодорожный транспорт как среда, в которой
формируются факторы повышенной опасности и вредности, создает для работников на
их рабочих местах комплексы негативных воздействий, определяя их сочетанное
влияние на человека.
Объекты железнодорожного транспорта потребляют
большое количество кислот, щелочей и других химикатов, которые отработав, могут
попасть в стоки, а затем, после недостаточной очистки, - в сбросы, далее в
реку, откуда возвращаются в производственную и бытовую среду. Такими
загрязняющими объектами являются промывочно-пропарочные пункты обработки
вагонов, шпалопропиточные заводы, локомотивные и вагонные депо. Загрязнение
водных объектов негативно сказывается на здоровье населения железнодорожных
поселков, примыкающих к указанным объектам.
Загрязнение рабочих зон происходит распыляемыми
сыпучими грузами. При погрузке и выгрузке они попадают в организм работников,
осуществляющих грузовые операции, при транспортировании - в организм путевых
рабочих, нанося таким образом ущерб здоровью и сокращая продолжительность жизни
людей.
Правила техники безопасности на железнодорожных
путях.
. На железнодорожных путях следует быть
осторожными;
. Железнодорожные пути следует переходить под
прямым углом, не наступая на головки рельс, предварительно нужно посмотреть
влево и вправо чтобы не было движущегося локомотива;
. Стрелочные переводы нужно обходить;
. Если пути заняты вагонами, переходить следует
на расстоянии 5 метров от последнего вагона;
. Между расцепленными вагонами расстояние должно
быть 10 метров, переходить по середине;
. Проходя по междупутью нужно идти по середине с
особой бдительностью смотреть под ноги;
. В ночное время нужно чтобы глаза привыкли к
темноте;
. На электрифицированных участках железных дорог
запрещается подниматься на крышу вагона;
. При обнаружении обрыва контактного провода
следует оградить место обрыва любыми подручными средствами и сообщить любому
работнику железной дороги (нарядчик, диспетчер);
. При обрыве высоковольтного контактного провода
под напряжением к нему нельзя подходить ближе 2 метров;
. Когда оборванный провод касается земли
образуется зона шагового напряжения радиусом около 10 метров (Шаговое
напряжение - касание двух точек (провод - ноги));
. Выходить из зоны шагового напряжения, следует,
шаркающими шагами не отрывая ступню от ступни и ступни от земли;
. Особую осторожность и бдительность во время
снегопадов и тумана, так как ухудшается видимость.
. Если железнодорожные пути заняты грузовым
поездом - переходить следует через тормозную площадку или технические
обустройства станции.
Перед началом работы рабочее место должно быть
приведено в полный порядок, а все механизмы проверены на холостом ходу. В
процессе работы необходимо пользоваться только исправным инструментом. При
выполнении работ с использованием переносных ламп они должны быть в исправном
состоянии и иметь напряжение не более 36 В. При рубке ручным или пневматическим
инструментом или при работе на станках исполнитель должен быть в защитных
очках. Нарушения в технике безопасности должны устранять или уменьшать до
допустимого уровня воздействия на работников при техническом обслуживании и
ремонте вагонов опасных и вредных факторов.
Все работники, связанные с обслуживанием и
ремонтом вагонов, должны проходить предварительное и периодическое медицинское
освидетельствование. К работе по техническому обслуживанию и ремонту вагонов
допускаются лица, имеющие право на выполнение этих работ и талон по технике
безопасности. Работники, связанные с обслуживанием электрооборудования, в том
числе сварочных агрегатов, электроинструмента, должны пройти обучение правилам
технической эксплуатации электроустройства потребителей и сдать экзамен на
допуск.
При проведении работ по техническому
обслуживанию и ремонту вагонов необходимо, кроме настоящих правил,
руководствоваться утвержденными нормами и нормативно-техническими документами.
При проведении работ в депо по ремонту вагонов стационарным методом характерны
особые условия охраны труда. В сборочном цехе, при подъемке вагона должны быть
исправны и испытаны подъемные средства. На ставнюги должны подкладываться
деревянные прокладки из твердых пород дерева толщиной не менее 20 мм.
При токарных, фрезерных работах исполнители
должны быть в защитных очках. Слесарные работы должны проводиться в рукавицах и
только исправным инструментом. При сварочных работах агрегат должен быть
закреплен к контуру заземлений, который проходит по всему периметру здания. Он
должен иметь сопротивление не более 4 Ом и регулярно проверяться. В
газосварочном отделении должна быть приточно-вытяжная вентиляция. Продукты
газосварки должны храниться в отдельном помещении. Рабочие связанные с электрооборудованием,
должны использовать инструмент работы в резиновых электрозащитных перчатках.
Помещение или здание, где проводятся работы,
должно быть достаточно освещено. На каждом участке должен быть разработан
стандарт на основе «Положения об организации обучения и проверки знаний по
охране труда на железнодорожном транспорте УСР-325» утвержденного 4 мая 1996
года МПС с учетом особенностей некоторых подразделений депо, который
устанавливает единые требования и нормы по обучению и проверка знаний по охране
труда у работников вагонного депо. Большое внимание в вагонном депо должно
уделяться «Технике безопасности и производственной санитарии». При проведении
каких-либо новых работ или переводе на другое рабочее место, работник обязан
пройти инструктаж по технике безопасности.
7. Организация производственного
подразделения
Рисунок 8 - 1 - разборка (демонтаж), 2 -
тоннель, 3 - моечная машина, 4 - конвеер, 5 - дефектоскопы, 6 - монтаж, 7 -
тумбочки, 8 - стенд ремонта и испытания триангеля, 9 - письменный стол, 10 -
кран балка, 11 - ремонт пружин, 12 - ремонт боковых рам и надресорных балок
Список литературы
1.
Инструкция по ремонту тормозного оборудования вагонов ЦВ-ЦЛ-945.
.
Руководство по ремонту Р 001 ПКБ ЦВ-2009 РК.