Ремонт раздаточной коробки КамАз 4310
МИНИСТЕРСТВО
ОБРАЗОВАНИЯ И НАУКИ
РЕСПУБЛИКИ
КАЗАХСТАН
Восточно-Казахстанский
Государственный Технический Университет им. Д. Серикбаева
КУРСОВОЙ
ПРОЕКТ
Тема:
"Ремонт раздаточной коробки КамАз 4310"
Выполнил:
учащийся группы
10-кт-1(б)
Горбылев Г.Ю.
Проверил: Лучков
В.А
г.
Усть-Каменогорск 2013
Содержание
Введение
1. Общая
часть
.1 Назначение, техническая
характеристика, устройство и работа агрегата (узла)
1.2 Разборка или сборка
ремонтируемого агрегата. Составление схемы разборки (сборки)
.3 Очистка и мойка деталей.
Выбор способа очистки ремонтируемого узла и детали
.4 Дефектовка и сортировка.
Разборка технологической документации (карты контроля-сортировки, ведомость
дефектации) на дефектовку и сортировку ремонтируемого агрегата (узла)
2. Технологическая
часть
2.1 Методы
ремонтов. Составление технологического процесса на ремонт одной детали узла.
Составления маршрутной карты ремонта
.2 Выбор
оборудования, приспособлений и инструмента, применяемых при восстановлении или
изготовления детали по операционным картам
.3 Описание
конструкции и принцип действия приспособления с необходимыми расчетами
.4 Выбор
режимов обработки и технологическое нормирование работ для одной операции
восстановления или изготовления детали по операционным картам
.5 Испытание
и сдача агрегата (узла)
Заключение
Список литературы
Введение
При поступлении автомобилей в капитальный ремонт
большое количество их деталей в результате износа, усталости материала,
механических и коррозионных повреждений теряет работоспособность. Однако лишь
некоторые из этих деталей, наиболее простые и недорогие в изготовлении,
утрачивают работоспособность полностью и требуют замены. Большинство деталей
имеет остаточный ресурс и может быть использовано повторно по проведения
сравнительно небольшого объема работ по их в становлению.
Стоимость восстановления деталей значительно
ниже стоимости их изготовления. Затраты на восстановление деталей, даже в
условиях современных авторемонтных предприятий, составляют в зависимости от
конструктивных особенное и степени изношенности деталей от 10 до 50% от
стоимости новых деталей. При этом чем сложнее деталь и, следовательно, чем
дороже она в изготовлении, тем ниже затраты на ее восстановление.
Экономическая эффективность восстановления
деталей по сравнению с их изготовлением объясняется рядом причин. При
восстановлении деталей значительно сокращаются расходы на материалы и полностью
исключаются затраты, связанные с получением заготовок. По данным проф. М.А.
Масино, расходы на материалы и получение заготовок при изготовлении деталей на
автостроительных предприятиях составляют 70-75%, от их себестоимости, а при
восстановлении деталей они колеблются в пределах 1-12% в зависимости от способа
восстановления.
При восстановлении деталей сокращаются также
расходы, связанные с обработкой деталей, так как при этом обрабатываются не все
поверхности деталей, а лишь те, которые имеют дефекты.
Восстановление деталей является одним из
основных источников повышения экономической эффективности авторемонтного
производства. Известно, что основной статьей расходов, из которых складывается
себестоимость капитального ремонта автомобилей, являются расходы на
приобретение запасных частей. Эти расходы в настоящее время составляют 40-60%
от себестоимости капитального ремонта автомобиля.
Их можно значительно сократить за счет
расширения восстановления деталей.
Значение восстановления деталей состоит также в
том, что оно позволяет уменьшить потребности народного хозяйства в производстве
новых запасных частей. Целью данного курсового проекта является разработка
технологического процесса восстановления вала первичного раздаточной коробки
автомобиля КамАЗ с применением прогрессивных форм и методов организации
авторемонтного производства, что обеспечит повышение качества и снижение затрат
при КР.
1. Общая
часть
.1 Назначение, техническая характеристика,
устройство и работа агрегата (узла). Технические условия ремонта
На автомобиле КамАЗ-4310
установлена механическая двухступенчатая раздаточная коробка с несимметричным
межосевым дифференциалом, с электропневматическим приводом управления
переключением передач и пневматическим приводом управления блокировкой
дифференциала.
Раздаточная коробка установлена
на раме и крепится на четырех резиновых подушках.
Раздаточная коробка выполнена
по трехвальной схеме. Внутри картера на подшипниках размещен первичный вал с
ведущей шестерней и шестерней отбора мощности. В верхней части картера имеется
люк, закрытый крышкой, для установки специальной коробки для отбора мощности.
Эта коробка позволяет отбирать мощность от первичного вала до 44,1 кВт (60 л.
с.) на ходу автомобиля. Включение осуществляется при остановке автомобиля. В
расточку заднего торца картера установлена односкоростная коробка отбора
мощности 6 на лебедку.
В редукторную часть коробки
входят также промежуточный вал с промежуточной шестерней и шестерней понижающей
передачи, вал привода переднего моста с шестерней повышающей передачи и
дифференциал с валом 10 привода задних мостов. Шестерня 8 понижающей передачи и
шестерня повышающей передачи установлены на роликоподшипниках с алюминиевыми
сепараторами. На валу привода задних (среднего и заднего) мостов установлен
несимметричный цилиндрический межосевой дифференциал. Дифференциал, как и в
раздаточной коробке автомобиля Урал-4320, состоит из солнечной шестерни,
четырех сателлитов, эпициклической (коронной) шестерни, смонтированных в
разъемном корпусе дифференциала.
При разблокированном
дифференциале обеспечивается распределение крутящих моментов между передним и
задними (средним и задним) ведущими мостами в отношении 1: 2, обеспечивается
постоянная и равномерная тяга по всем ведущим мостам и устраняются
дополнительные (циркуляционные) нагрузки в трансмиссии. При движении в тяжелых
дорожных условиях дифференциал должен быть заблокирован. В этом случае
обеспечиваются максимальные тяговые возможности автомобиля по всем ведущим
мостам.
Положение, показаное на
ричунке, соответствует нейтральному положению в раздаточной коробке при
разблокированном дифференциале.
Раздаточная коробка автомобиля КамАЗ-4310:
- первичный вал с фланцем; 2 -ведущая шестерня;
3-крышка верхнего люка; 4 - шестерня отбора мощности; 5 - муфта включения
коробки отбора мощности (только на КамА34310); 6 - коробка отбора мощности
(только на КамАЗ-4310); 7 - маслосборник; 8 - шестерня понижающей передачи; 9 -
штуцер; 10 - вал привода задних мостов; 11 - зацняя обойма дифференциала; 12 -
эпициклическая (коронная) шестерня дифференциала; 13-ведущая шестерня
межосевого дифференциала; 14 - солнечная шестерня; 15 - передняя часть корпуса
дифференциала; 16 - картер раздаточной коробки; 17 - шестерня повышающей
передачи; 18 - передняя крышка картера раздаточной коробки; 19 - пробка; 20 -
муфта включения высшей передачи; 21 - муфга блокировки дифференциала; 22 -
ведущая шестерня привода электрического спидометра; 23-вал привода переднего
моста; 24 - вилка муфты блокировки дифференциала; 25 - диафрагменная
пневматическая камера; 26 - шток; 27 - диафрагма; 28 - выключатель; 29 -
промежуточный вал; 30 - муфта включения низшей передачи; 31 - промежуточная
шестерня
Блокировка и разблокировка
межосевого дифференциала осуществляется дистанционно при помощи диафрагменных
пневматических камер. Между корпусом и крышкой камеры установлена
резинотканевая диафрагма. К диафрагме возвратной пружиной поджимается шток, на
котором укреплена вилка, связанная с муфтой блокировки дифференциала . Для
блокировки необходимо переместить на панели приборов рычаг крана включения
блокировки межосевого дифференциала. При этом сжатый воздух поступает в полость
между крышкой корпуса камеры и диафрагмой, шток с вилкой перемещает муфту
направо, соединяя вал привода переднего моста с передней частью корпуса
(водилом) дифференциала. В результате дифференциал блокируется, валы привода
ведущих мостов оказываются жестко связанными и вращаются с одинаковой частотой.
Переключение передач в
раздаточной коробке также осуществляется дистанционно с помощью диафрагменных
пневматических камер.
Для включения в раздаточной
коробке повышающей передачи с передаточным числом 0,917 необходимо муфту
смещением вправо ввести в зацепление с зубчатым венцом у торца шестерни
повышающей передачи. В этом случае крутящий момент от первичного вала, ведущую
шестерню через промежуточную шестерню, шестерню повышающей передачи, муфту
передается на переднюю часть корпуса (водило) дифференциала и распределяется
между валами привода ведущих мостов.
Для включения понижающей
передачи с передаточным числом 1,692 необходимо муфту сместить вправо. При этом
соединятся шестерни. Крутящий момент от первичного вала, ведущей шестерни,
через промежуточную шестерню и муфту будет передаваться на шестерню понижающей
передачи, далее через ведущую шестерню дифференциала на переднюю часть корпуса
дифференциала и затем через дифференциальный механизм распределяется между
валами привода ведущих мостов.
Воздух в камеры переключения
передач в раздаточной коробке подается через электропневмоклапаны, управляемые
из кабины водителя трехпозиционным переключателем. Для исключения
одновременного включения двух передач в раздаточной коробке имеется механизм
блокировки шарикового типа.
Смазка раздаточной коробки
осуществляется разбрызгиванием. Для повышения надежности смазки шарикового
подшипника ступицы шестерни понижающей передачи во внутренней полости картера
коробки выполнен маслосборник, соединенный каналами, через которые масло
стекает в полость подшипника.
1.2 Разборка раздаточной коробки Камаз 4310
Рис. 1 Раздаточная коробка автомобиля КамАЗ
Раздаточная коробка: 1 фланец первичного вала: 2
- первичный вал; 3, 4, 8, 13. 16, 17, 29, 40 - подшипники; 5 - ведущее зубчатое
колесо; 6 - крышка верхнего люка; 7 - зубчатое колесо отбора мощности; 9- муфта
включения коробки отбора мощности; 10 - коробка отбора мощности; 11 -
маслосборник; 12 - зубчатое колесо низшей передачи; 14 - крышка подшипника; 15
- сателлит; 18 - вал привода задних мостов; 19 - задняя обойма дифференциала;
20 - коренное зубчатое колесо; 21 - зубчатое колесо низшей передачи
дифференциала; 22 - солнечное зубчатое колесо; 23 - передняя обойма; 24- картер
раздаточной коробки; 25- зубчатое колесо высшей передачи: 26 - крышка картера
раздаточной коробки; 27 - магнитная пробка; 28, 30. 41 - муфты; 31 - ведущее
зубчатое колесо привода преобразователя электрического спидометра: 32 - вал
привода переднего моста; 33 - вилка; 34 - пружина: 35 - шток; 36 - мембрана: 37
выключатель; 38 - стопорный болт; 39 - промежуточный вал; 42 - зубчатое колесо
постоянного зацепления
К ведущему зубчатому колесу 5 первичного вала
приварено зубчатое колесо 7 отбора мощности. Зубчатое
колесо 12 низшей передачи и зубчатое колесо 25 высшей передачи установлены на
роликах.
Дифференциал
планетарного типа с четырьмя сателлитами 15, солнечным 22 и коренным 20
зубчатыми колесами, коренное зубчатое колесо 20 соединено с валом 18 привода
задних мостов. Момент вращения солнечного зубчатого колеса передается на вал 32
привода переднего моста. При работающем (разблокированном) дифференциале
обеспечивается постоянная и равномерная тяга всех мостов, и устраняются
дополнительные нагрузки в трансмиссии. В зависимости от дорожных условий
дифференциал может быть выключен (заблокирован), и тогда валы привода переднего
и задних мостов вращаются как одно целое.
Рис.2 Коробка раздаточная
1 - гайка крепления фланца первичного вала;
2,19,29 - шайба; 3 - фланец; 4-шпонка; 5,25,27,40,47,51,52,57,72,73,74,75,85 -
болты с шайбами ;6-крышка переднего подшипника первичного вала;
7,12,16,23,42,45,49,59,70,77 -прокладки; 8 - опорная шайба; 9 -
шарикоподшибник; 10-кольцо наружное роликоподшипника; 11 - стакан передних
подшипников; 13 - первычный вал; 14 -кольцо наружное; 15,48,60 - кольцо
упорное; 17 - крышка верхнего люка; 18 -шпипька; 20,28-гайки;
21-предохранительный клапан; 24 - коробка отбора мощности; 26-механизм включения
коробки отбора мощности; 30-фланец привода заднего моста; 31-манжета; 32 -
крышка подшипника; 33,38,54,83,65 -уплотнительные прокладки; 34 - маслоотгонная
шайба; 35 - установочное кольцо; З6-подшипник; 37 - крышка заднего подшипника
промежуточного вала; 43 - кольцо наружное задних подшипников промежуточного
вала; 44 - картерраздаточнойкоробки; 46,58,71 - крышка; 50
картерприводяпереднегомоста; 53,84 - механизмы переключения передач; 55,62 -
регулировочные прокладки; 56,76-пробка; 61-промежуточный вал; 62,67 -шплинт; 63
- стопорные болты; 64 - вияка; 66-корпус; 68 - стопорныйболт; 69 -вилка; 78 -
коническая пробка; 79 - шзрйк; 80-штифт; 81 дифференциал
. Раскернить гайку 28, отвернуть ее и
снять вместе с шайбой 29. Снять фланец 30 привода заднего моста. Молоток, ключ
торцовый 46 мм, упор, отвертка
. Вывернуть и снять болты 74 с пружинными
шайбам. Снять крышку 32 подшипника, маслоотгонную шайбу 34 и уплотнительную
прокладку 33. Ключ гаечный 17 мм
. Вывернуть и снять болты 73 с пружинными
шайбами. Снять установочное кольцо 35 и съемником (Рис. 3) снять подшипник 36
(см. Рис.2). Снять крышку 37 заднего подшипника с уплотнительной прокладкой 38.
Ключ гаечный 17 мм, отвертка, специальные пассатижи, съемник
Рис.3 Снятие подшипника шестерни привода заднего
моста
. Вывернуть из корпуса 66 механизма
блокировки штоков управления две пробки 76 и снять их с прокладками 77. Ключ
торцовый 36 мм
. Вывернуть и снять болты 75 крепления
корпуса механизма блокировки с шайбами. Снять корпус 66 с уплотнительной
прокладкой 65, вывернуть конические пробки 78, вынуть из корпуса замковое
устройство : два шарика 79 и штифт 80. Ключ шестигранный 8 мм, ключ торцовый 17
мм
. Вывернуть болты 47 крепления крышки
картера раздаточной коробки с шайбами. Снять крышку 46 с валами и прокладкой
45. Ключ гаечный 19 мм, отвертка.
. Повернуть картер на 90°. Вывернуть болты 25 с
шайбами. Впрессовать коробку 24 отбора мощности, снять прокладку 23. Оправка,
молоток, ключ гаечный 17 мм, отвертка
. Вывернуть и снять болты 72 с шайбами,
снять крышку 71 бокового люка картера с прокладкой 70. Ключ торцовый 13 мм,
отвертка
. Вынуть шплинт 67, вывернуть стопорный
болт 68 вилки включения коробки отбора мощности. Вывернуть болты 27 с шайбами,
снять механизм 26 включения коробки 24 отбора мощности с прокладкой. Снять
вилку 69
Со штока механизма 26 включения коробки отбора
мощности и муфту 22
С вала коробки отбора мощности. Ключ гаечный 17
мм, отвертка, плоскогубцы
. Повернуть картер на 90°.
. Вывернуть из верхней крышки клапан 21
предохранительный.
. Отвернуть гайки 20, снять шайбы 19, крышку 17
верхнего люка с прокладкой 16. Вывернуть шпильки 18. Ключ гаечный 19 мм,
отвертка
. Вынуть шплинты 62, вывернуть стопорные
винты 63 вилок переключения передач.
Плоскогубцы, ключ торцовый 10 мм
. Вывернуть болты 52, 65 с шайбами, снять
механизмы 53 и 64 переключения с регулировочными 55, 82 и уплотнительными 54,
83 прокладками. Снять вилки 64 переключения передач со штоков. Ключ гаечный 17
мм, отвертка, молоток, оправка
. Вывернуть болты 51 с шайбами, снять
картер 50 привода переднего моста с прокладкой 49. Ключ гаечный 17 мм,
отвертка, съемник.
. Раскернить и отвернуть гайку I
крепления фланца первичного вала, снять шайбу 2 и фланец 3. Ключ торцовый 46
мм, молоток
. Вывернуть болты 5 с шайбами и снять
крышку 6 переднего подшипника первичного вала с прокладкой 7. Ключ гаечный 17
мм, отвертка
. Снять опорную шайбу 8 и спрессовать
шарикоподшипник 9. Оправка, молоток, отвертка
. Впрессовать стакан II передних подшипников из крышки,
снять прокладку 12 и впрессовать кольцо 10 наружное роликоподшипника. Выколотка
бронзовая, молоток, отвертка
. Вывернуть болты 57 с шайбами и снять крышку 58
переднего подшипника промежуточного вала с прокладкой 59. Ключ гаечный 17 мм,
отвертка
. Вынуть из выточек подшипников
промежуточного вала и дифференциала кольца 60 и 48 упорные. Отвертка,
специальные пассатижи
. Выпрессовать валы 13, 61 и дифференциал
81 из крышки картера раздаточной коробки. Молоток, оправка
. Снять с вала упорное кольцо 6 . Специальные
пассатижи.
. Съемником (Рис.4) снять внутреннее кольцо 5
(см. Рис. 5) заднего подшипника в сборе. Съемник, специальные пассатижи.
Рис.4 Снятие внутреннего кольца роликоподшибника
шестерни низшей передачи привода заднего моста
Рис 5 Вал первичный раздаточной коробки: 1 -
внутреннее кольцо переднего подшипника; 2 - шестерня; 3 - вал первичный
раздаточной коробки; 4 - сегментная шпонка; 5 - внутреннее кольцо роликового
подшипника; 6 - кольцо упорное.
. Спрессовать с вала шестерню 2 и снять шпонку
4. Молоток, отвертка, пресс
. Установить промежуточный вал на верстак,
раскернить и отвернуть гайки I , 13 (Рис. 6), снять шайбы 2, 12. Молоток,
зубило, ключ торцовый 46 мм
Рис. 6. Вал промежуточный раздаточной коробки
1,13 - гайки; 2,10,12 - шайбы; 3,7 - подшипники; 4- шестерня; 5- каретка; 6-
промежуточный вал раздаточной коробки; 8- шестерня первой передачи
промежуточного вала; 9- распорная втулка; II- внутреннее кольцо подшипника.
. Съемником (Рис. 7) снять с вала 6 (см.
Рис. 6) подшипник 3, и внутреннее кольцо подшипника II (Рис.6.) Оправка,
молоток, съемники
Рис.7 Снятие внутреннего кольца заднего подшибника
промежуточного вала
. Снять шайбы 10 и шестерню 8 первой
передачи промежуточного вала с подшипниками 7 и распорной втулкой 9. Оправка,
молоток
. Снять с вала шестерню 4 постоянного зацепления
с кареткой 5. Оправка, молоток
. Снять с шестерни 4 каретку 5 включения.
. Установить дифференциал на верстак. Зажать в
тисках, раскернить и отвернуть гайку I (Рис.8).Тиски, молоток, зубило,
специальный ключ 90-95 мм
Рис8. Дифференциал раздаточной коробки: 1 -
гайка; 2- шарикоподшипник; 3 - шлицевая втулка; 4 - каретка;5
-роликоподшипники; 6- шестерня повышающей передачи; 7 - опорная шайба; 8,15 -
болты; 9- передняя обойма; 10,13,18- втулки; 11 - шестерня привода переднего
моста; 12- саттелиты; 14- задняя обойма дифференциала; 16 - штифт; 17 -
шестерня привода заднего моста; 19 - шестерня понижающей передачи; 20 -
внутреннее кольцо; 21 - упорное кольцо.
. Съемником (Рис. 9) снять с передней
обоймы 9 (см. Рис. 8) шарикоподшипник 2. Съемник
Рис.9. Снятие подшипника обоймы дифференциала
. Снять каретку 4 и щлицевую втулку 3.
. Снять шестерню 6 повышающей передачи с
роликоподшипниками 5, опорную шайбу 7, втулку 10. Молоток, оправка, отвертка
. Вывернуть болты 8. Ключ гаечный 17 мм
. Снять упорное кольцо 21, съемником (Рис. 4)
снять внутреннее кольцо 20 (Рис. 8) роликоподшипника. Съемник, специальные
пассатижи
. Выпрессовать шестерню 19 понижающей передачи с
втулкой 18 при помощи двух технологических болтов, ввернутых в отверстия
передней обоймы. Болты технологические, молоток, оправка, ключ гаечный 17 мм
. Снять шестерню 17 привода заднего моста.
. Вывернуть болты 15. Снять заднюю обойму 14
дифференциала. Ключ гаечный 17 мм, молоток, оправка
. Снять четыре сателлита 12 с втулками 13 и
шестерню II привода переднего моста.Оправка, молоток
. Установить коробку отбора мощности в тисках.
Раскернить и отвернуть гайку 12 (Рис. 10), снять шайбу II. Ключ торцовый 46 им,
молоток, зубило, тиски
Рис.10 Коробка отбора мощности 1 - вал; 2 -
стакан; 3 - шарикоподшипник; 4 - распорная втулка; 5,11- шайбы; 6 - прокладка;
7- крышка; 8 - винт; 9 - манжета; 10 - фланец; 12 - гайка
. Снять фланец 10 коробки с манжетой 9. Оправка,
молоток
. Вывернуть винты 8, снять крышку 7 стакана
подшипников с прокладкой 6. Отвертка
. Выпрессовать вал I из стакана 2 с подшипниками
в сборе. Оправка, пресс
. Съемником (рис. 11) снять с вала I (Рис. 10)
два шарикоподшипника 3 и распорную втулку 4. Съемник
. Установить картер привода переднего
моста в сборе с валом привода на верстак, зажать в тисках. Верстак слесарный,
тиски
. Раскернить и отвернуть гайку 29 (Рис. 12),
снять шайбу 28. Молоток, зубило, торцовый ключ 46 мм
Рис. 11 Снятие подшипников вала привода коробки
отбора мощности
Рис. 12 Картер привода переднего моста в сборе с
валом: 1,12 - болты; 2 - крышка механизма управления блокировкой дифференциала
в сборе; 3 - диафрагма;4 - шток вилки; 5 - пружина возвратная; 6 - картер; 7 -
шарик-заглушка; 8,16, 23 - прокладки; 9 - крышка люка; 10,25 - болты с шайбами;
11 - шплинт; 13 - вилка блокировки дифференциала; 14 - червяк привода
спидометра ; 15 - штуцер; 17 - шестерня привода спидометра; 18 - муфта
блокировки; 19 - вал; 20 - подшипник шариковый; 21 - кольцо упорное; 22 - шайба
маслоотгонная; 24 - крышка подшипника; 26 -манжета; 27 - фланец; 28 - шайба; 29
- гайка
51. Снять фланец 27 с вала 19 привода переднего
моста. Оправка, молоток
. Вывернуть болты 25 с шайбами. Снять крышку 24
подшипника, маслоотгонную шайбу 22 и уплотнительную прокладку 23. Ключ гаечный
17 мм, отвертка
. Вывернуть болты 10 с шайбами, снять крышку 9
люка с прокладкой 8. Ключ гаечный 12 мм
. Вынуть шплинт II, вывернуть болт крепления
вилки 13 блокировки дифференциала. Ключ торцовый 10 мм, плоскогубцы
. Вывернуть болты I, снять крышку 2
механизма блокировки дифференциала 3 с диафрагмой. Ключ торцовый 10 мм
. Вынуть шток 4 с пружиной 5 из картера 6 и
вилки 13 блокировки. Молоток, выколотка бронзовая
. Снять вилку 13 блокировки дифференциала из
паза муфты блокировки. Снимите муфту 18.
. Снять упорное кольцо 21 из паза подшипника 20.
Выпрессовать вал 19 из подшипника и червяк 14 привода спидометра. Отвертка,
молоток, оправка, специальные пассатижи
. Выпрессовать съемником (Рис. 13) из картера 6
(Рис. 12) подшипника20 штуцер 15 и шестерню 17 привода спидометра. Картер снять
с тисков. Оправка, молоток, съемник
Рис. 13 Снятие подшипника вала привода переднего
моста
60. Вывернуть болты I (Рис.14) из механизма
переключения передач. Ключ гаечный 10 мм

. Снять крышку 2, диафрагму 3. Отвернуть стакан
4 возвратных пружин
. Снять пружину 5. Плоскогубцы
. Сиять упорное кольцо 7. Вынуть из штока 12
стержень 8 вместе с пру жинами 10 и шайбами 9, отвернуть гайки II. При
отрегулированных ходах штоков регулировочные гайки II можно не отворачивать.
Отвертка, плоскогубцы, ключ гаечный 12 мм, специальные пассатижи
. Вынуть штоки 12 из картера 6.
. Разобрать механизм включения повышающей
передачи. См. Операции 60-63.
. Промыть детали в промывочной жидкости и
проверить их техническое состояние.
1.3 Очистка и мойка деталей. Выбор способа
очистки ремонтируемого узла и детали
Разобранные детали перед осмотром и контролем
подвергают очистке для удаления различных видов отложений, основными из которых
являются: асфальтосмолистые, масляно-грязевые, накипь, нагар, старые
лакокрасочные покрытия и др. Все эти виды загрязнений на поверхностях
автомобиля возникают в процессе эксплуатации.
Асфальтосмолистые и масляно-грязевые отложения
на деталях образуются в результате окисления масел с последующим их
коксованием. Такие отложения имеют место на деталях двигателей, коробок
передач, мостов, раздаточных коробок и др.
Асфальтосмолистые и масляно-грязевые отложения
удаляются с помощью моющих средств.
Для удаления асфальтосмолистых и
масляно-грязевых отложений на авторемонтных предприятиях широко используют
растворители: дизельное топливо, керосин, бензин, уайт-спирит. Их применяют для
очистки элементов масляных фильтров, каналов коленчатых валов, топливной
аппаратуры и др.
Накипь образуется на стенках водяных рубашек и
головки блока, в радиаторе, трубопроводах и др. Источником образования накипи
является вода, содержащая соли магния и кальция.
Для очистки от коррозии детали подвергают
механической, химической или абразивно-жидкостной обработке.
Механическую обработку выполняют металлическими
щетками или металлическим песком, подаваемым сжатым воздухом, при обработке
массивных деталей. Мелкие детали (пружины и др.) очищают от коррозии в
галтовочных барабанах с чугунной крошкой.
Химический метод очистки от коррозии заключается
в травлении пораженных участков водными растворами серной, соляной, фосфорной,
азотной или других кислот с последующей промывкой чистой водой.
Очистку деталей от старых лакокрасочных покрытий
проводят при подготовке поверхности к повторной окраске. Выбор способа очистки
зависит от многих факторов: марки старого покрытия, материала детали и др.
Наибольшее распространение находит способ обработки деталей из черных металлов
в ванне с водным раствором каустической соды с концентрацией 50-100 г/л при
температуре 85°С. По окончании обработки детали промывают в воде при
температуре 50-60°С и нейтрализуют 10% водным раствором ортофосфорной кислоты.
Снимают старые лакокрасочные покрытия и с
помощью смывов (СП-6, АФТ-1, СИ и др. ) и растворителей (№ 646, 647 и др.).
В отдельных случаях лакокрасочные покрытия удаляют
механическим способом с помощью металлических щеток различных конструкций.
Работа выполняется вручную или с использованием механизированного инструмента.
К механическому способу снятия старых
лакокрасочных покрытий относят металлопескоструйную очистку. Для выполнения
перечисленных выше способов очистки и мойки деталей применяются различные типы
моечно-очистных машин: погружные, струйные, комбинированные и специальные.
Для узла раздаточная коробка детали ведущий вал
выбираем способы:
асфальтосмолистые и масляно-грязевые отложения
на деталях образуются в результате окисления масел с последующим их
коксованием. Такие отложения имеют место на деталях двигателей, коробок
передач, мостов, раздаточных коробок и др. Асфальтосмолистые и масляно-грязевые
отложения удаляются с помощью моющих средств. Для удаления асфальтосмолистых и
масляно-грязевых отложений я использовал растворители: дизельное топливо,
керосин, бензин, уайт-спирит.
Щеткой или скребком удалить все отложения и
очистить отверстия и шлицы от возможных загрязнений; затем промыть (керосином,
растворителем и т.п.), чтобы устранить и растворить все остатки масла.
Обдуть детали струей сжатого воздуха и аккуратно
протереть их. Особенно тщательно продуть подшипники, направляя струю сжатого
воздуха так, чтобы не возникло быстрого вращения колец.
Детали такие как зубчатые колеса и валы, очищаем
при помощью растворителей и ветоши.
Картер коробки промыть от остатков смазочного
материала жидкостью, состоящей из смеси 90% керосина или дизельного топлива с
бензолом, ацетоном или дихлорэтаном, смесью из 90% уайтспирита с 10%
дихлорэтана или диацетона, смесью масла АУ с зимним дизельным топливом, смесью
дизельного топлива и 10% ацетона или дихлорэтана, смесью 50% масла М8В и 50%
уайтспирита.
Детали очищают от углеродистых отложений с
помощью смеси, состоящей из 60% технического трикреазола и 40% мылонафта.
Детали с маслянистыми загрязнениями моют жидкостью, состоящей из одной части
растворителя (30% этилацетата и 70% керосина), одной части мылонафта и 0,002%
от массы полисилоксановой жидкости, а также нагретым до 80...90°С 7...10%-ным
раствором каустической соды.
.4 Дефектовка и сортировка. Разборка
технологической документации (карты контроля-сортировки, ведомость дефектации)
на дефектовку и сортировку ремонтируемого агрегата (узла)
Детали после мойки и обезжиривания поступают в
дефектовочное отделение, где определяют их техническое состояние. В результате
их признают либо годными для дальнейшей эксплуатации, либо требующими ремонта,
либо непригодными. Последние направляют в лом или используют в качестве
заготовок для изготовления других деталей. Для деталей, требующих ремонта,
определяют на основании установленных поломок и износов метод и объем ремонта.
Допускаемые износы определяют по техническим условиям на выбраковку, которые
содержат также описание выбраковочных дефектов; указания о поверхностях,
требующих замера; величину допускаемых биений, несоосности, овальности. Детали
дефектуют с помощью следующих основных методов. Визуальный
метод дает возможность выявлять дефекты, видимые невооруженным глазом, -
поломки, трещины, разрывы сварочных швов, изгибы, скручивание, значительный
износ, коррозию. При этом методе применяют линейки, штангенциркули, микрометры,
лупы.
Чтобы
лучше обнаружить поверхностные дефекты, предварительно тщательно очищают
поверхность и травят ее 10...20%-ным раствором серной кислоты.
Магнитный
метод основан на том, что силовые линии магнитного поля, проходя через деталь,
рассеиваются при встрече с внутренними дефектами (трещинами, раковинами, посторонними
включениями). В результате на поверхности деталей под этими дефектами
изменяется направление линий магнитного поля. Чтобы обнаружить эти изменения,
на поверхность деталей наносят магнитную суспензию, магнитный порошок из
которой осаждается по направлению измененных линий магнитного поля и показывает
тем самым скрытые дефекты.
Рисунок 1.4- Схемы действия ультразвуковых
дефектоскопов
а - теневой метод - дефект не обнаружен, б -
теневой метод - дефект обнаружен; 1 - ультразвуковой генератор, 2,6 - щупы, 3 -
детали, 4 - дефекты, 5 - регистрирующий прибор, 7 - ультразвуковые волны
Дефектовку деталей краской применяют в полевых
условиях или в стационарных для крупных деталей типа рам, картеров, крупных
поковок. Сущность метода заключается в том, что обезжиренную бензином
исследуемую поверхность детали окрашивают ярко-красной жидкостью, обладающей
хорошей смачиваемостью и проникающей в мельчайшие дефекты.
Красящую жидкость изготовляют, добавляя
анилиновую краску в смесь, состоящую из керосина и бензина. Жидкость в течение
10... 15 мин проникает во все поверхностные дефекты. Затем ее смывают с детали,
а деталь окрашивают белой нитроэмалью, которая впитывает красящую жидкость,
проникшую в дефекты детали. Жидкость выступает на белом фоне детали и указывает
на форму и величину дефектов.
Подобный метод контроля позволяет обнаруживать
дефекты размером до 5...30 мкм. Если нет краски, можно пользоваться керосином и
меловой обмазкой.
Ультразвуковой метод основан на том, что ультразвуковые
колебания при прохождении через металл отражаются от имеющихся в нем дефектов.
Универсальные ультразвуковые дефектоскопы
способны просвечивать детали на глубину до 2600 мм с помощью плоских щупов и до
1300 мм - призматических щупов; минимальная глубина 7 мм.
На герметичность (водо- и газонепроницаемость)
детали и сборочные единицы контролируют путем гидравлических испытаний на
стендах.
Геометрические параметры поверхностей деталей
контролируют с помощью инструментов типа поверочных плит, линеек, угольников,
индикаторов.
Дефектовка термически и термохимически
обработанных деталей заключается в проверке твердости изношенных поверхностей и
ее сравнении с первоначальной.
Таблица 1 Карта контроля - сортировки корпуса
раздаточной коробки.
Таблица 2 - Карта контроля - сортировки вал
первичный раздаточной коробки
Таблица 3 - Карта контроля - сортировки вал
вторичный раздаточной коробки
раздаточный коробка ремонтируемый
дефектовка
Таблица 4 - Карта контроля - сортировки
промежуточный вал раздаточной коробки камаз 4310
2. Технологическая часть
.1 Методы ремонтов. Составление технологического
процесса на ремонт одной детали (узла). Составление маршрутной карты ремонта
В процессе эксплуатации оборудования могут
изнашиваться как отдельные детали его валы, втулки, шестерни, и т.п. так и
повреждаться аппараты в целом (загрязнение, разгерметизация, эрозионный и
коррозионный износ поверхностей). Износ деталей может происходить под
механическим, тепловым и химическим воздействием.
Механический износ деталей - неизбежный
естественный процесс. Борьба с ним заключается в обеспечении условий,
уменьшающих скорость износа. Так, механический износ вследствие трения
уменьшают за счет своевременной смазки. Механический износ проявляется и в
пластической деформации деталей. Например, валы подвергаются кручению и изгибу.
Шпонки под нагрузкой пластически деформируются. Механический износ может
происходить за счет эрозионного воздействия сыпучего материалы или жидкости при
транспортировке.
Коррозионный износ происходит при химическом
взаимодействии материала детали с окружающей средой. Следствия этого:
уменьшение размера детали, коррозионное растрескивание сварных соединений. Для
уменьшения коррозии используют методы нанесения защитных покрытий, внесение в
перерабатываемую среду ингибиторов коррозии.
Температурное разрушение деталей и их деформация
является следствием ползучести металлов. Так, для углеродистых сталей
ползучесть проявляется при температуре выше 375°С, для легированных выше 420
°С. Чтобы избежать ползучести, наиболее ответственные детали оборудования
охлаждают.
Изношенные детали восстанавливают следующими
способами:
сварка дуговая ручная и автоматическая под
флюсом и в углекислом газе; сваркой восстанавливают станины и корпусные детали;
наплавка - процесс увеличения размеров
изношенных деталей электродуговым способом с последующей обработкой детали на
заданные размеры; наплавку используют для восстановления валов, червячных
роторов, втулок и т.п.;
металлизация - процесс нанесения расплавленного
металла с помощью сжатого воздуха; такое напыление осуществляется послойно до
10 мм;
электрохимическое покрытие - это процессы
хромирования, никелирования, цинкования до 3 мм;
пластические деформации - правка, раздача,
обжатие и т.п.
Правка применяется для устранения изгиба,
коробления и т.п. Обжатие и раздача применяются для изменения размеров деталей
(втулок, пальцев)
Технологический процесс на восстановление
первичного вала раздаточной коробки КамАз 4310.
Для восстановления посадочной поверхности
шарикового и роликового подшипника необходимо применить хромирование,
предварительно подготовив поверхность. Восстановление производится в три
операции.
Слесарная операция подразумевает установку
детали в тиски и зачистку поверхности до однородного профиля при помощи
мелкозернистой шлифовальной шкурки ГОСТ 5009-82. Затем необходимо изолировать
поверхность не подлежайшую хромированию при помощи спец. материала для
изоляции.
Гальваническая операция подразумевает несколько
этапов. Первый этап это травление поверхности для хромирования с помощью
выдерживания детали в ванне с раствором азотной и плавиковой кислоты при помощи
кислотостойких клещей в течение 30 секунд. Второй этап заключается в самом
хромирование. Вал необходимо поместить в ванну с водным раствором хромового
ангидрида CrO3 с добавлением H2SO4 установив его на проволочные подвесы.
Выдерживать два с половиной часа до получения диаметра 40,15мм для посадочного
места шарикового подшипника и 35,15мм для посадочного места шарикового и
роликового подшипников. Периодически необходимо измерять диаметр хромируемой
поверхности при помощи микрометра МК 25-50-0,01 ГОСТ 6507-95.
После завершения процесса хромирования
необходимо провести химическое пассивирование для укрепления поверхности.
Пассивирование производить путём помещения вала в ванну с раствором нитрита
натрия 40….100.с температурой 35 градусов цельсия в течение 30 секунд..
Шлифовальная операция необходима для придания
поверхности нужного диаметра и равномерного рельефа. Шлифовку производить на
кругло шлифовальном станке модели 3Б151 ГОСТ 11654-90 специалисту шлифовщику до
диаметра 39,950 для посадочного места.
Для удаления трещин на валу необходимо их
заварить. Данный процесс выполняется в трёх операциях.
Слесарная операция подразумевает установку
детали в слесарные тиски 80мм ГОСТ 4045-75.Данную операцию слесарь третьего
разряда выполняет за 3 минуты.
Сварочная операция подразумевает предварительный
нагрев детали до 150 градусов Цельсия при помощи газовой горелки №1 ГОСТ
29134-97, затем собственно заварку трещины электродуговым сварочным аппаратом
TIG 250 AC/DC TRI ГОСТ 95-77.
В завершение необходимо выполнить шлифовку на
кругло-шлифовальном станке модели 3Б151 ГОСТ 11654-90. Данную операцию
выполняет шлифовщик четвёртого разряда в течение 15 минут
2.2 Выбор оборудования, приспособления и
инструмента, применяемых при восстановлении или изготовлении дефектных деталей
ремонтируемого узла
Для восстановления деталей коробки передач в
нашем случае пришлось прибегнуть к использованию специального оборудования.
Для слесарной операции необходимо было
использовать съемник для подшипников, шлифовальную шкурку М 63-40мкм ГОСТ
5009-82, материал для изолирования. Для проведения гальванической операции были
необходимы такие приспособления как, ванна с раствором азотной и плавиковой
кислот, ванна с водным раствором хромового ангидрида CrO3 с добавлением H2SO4
для гальваники, и ванна с раствором нитрита натрия 40….100.с температурой 35
градусов, Клещи кислотостойкие, подвес проволочный, микрометр МК 25-50-0,01
ГОСТ 6507-95. Операция сварки потребовала использования газовой горелки №1 ГОСТ
29134-97, электродугового сварочного аппарата TIG 250 AC/DC TRI ГОСТ 95-77.
Шлифовка производилась при помощи кругло-шлифовального станка 3Б151 ГОСТ
11654-90, а измерения во время шлифовки производились микрометром МК 25-50-0,01
ГОСТ 6507-95.
.3 Описание конструкции и принцип действия
приспособления с необходимыми расчётами
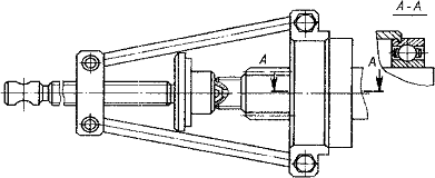
Для съема шариковых и роликовых подшипников
применяются винтовые съемники, предназначенные для разборки узлов с деталями,
собранными с натягом. Особенностью съёмника являются два или три присоединенных
различным образом к корпусу съёмника захвата, наличие башмаков для упора в
неподвижное звено и т. д. При ручном приводе для вращения винта и гайки
используются рукоятки.
Назначение передач винт-гайка - преобразование
вращательного движения в поступательное. Передачи обеспечивают большой выигрыш
в силе, возможность получения медленного движения, большую несущую способность
при малых габаритах, возможность достижения высокой точности перемещений,
простоту конструкции и изготовлению.
Для винта я выбрал материал сталь 40Х с
характеристиками :
где
временное
сопротивление разрыву;
предел текучести;
S - коэффициент
запаса.
Определяем допускаемые напряжения для материала
винта:
Диаметр винта находится по критериям
определяющим работоспособность винтового механизма:
а) прочности на сжатие с учётом продольной устойчивости:
, где
F - заданная внешняя
нагрузка;
= 0.54 -
коэффициент уменьшения основного допускаемого напряжения;
к = 1.3 - коэффициент, который учитывает
скручивание тела винта моментов в опасном сечении;
= 0- отношение
внутреннего диаметра к внешнему;
- допускаемое
напряжение;
отсюда
мм.
б) допускаемой гибкости для сжатых винтов:
где
- коэффициент
приведённой длины винта;
= 0.25 - коэффициент
полноты сечения;
мм - свободная
длина винта;
= 90 - допускаемая
гибкость;
Отсюда
мм.
в) ограничения удельного давления в резьбе
скольжения для сжатых и растянутых винтов:
где
= 1.3 -
коэффициент высоты гайки;
= 0.5- коэффициент
высоты резьбы;
= 0,5P
- высота профиля резьбы;
P - шаг резьбы;
( сталь по
безоловянистой бронзе) - допускаемое удельное давление.
отсюда:
мм.
По рассчитанным значениям выбираем стандартные
значения винта и гайки:
Винт:
мм;
Отсюда, согласно ISO965-2
шаг резьбы - 2; болт - М14;
Наружний диаметр резьбы - 13,96мм; средний диаметр
резьбы 12,60мм; внутренний диаметр резьбы - 11,50мм. Гайка наружний диаметр
резьбы 14мм; средний диаметр резьбы -12,70мм; внутренний диаметр резьбы -
11,85мм.
Конструкция гайки
Для расчёта гайки выберем материал БрАЖН 10-4-4,
который имеет характеристики:
;
Наружный диаметр гайки определяется по формуле:
Определим число витков:
;
Определим высоту гайки:
;
;
Проверочные расчеты
а) Расчёт на условие самоторможения.
Угол подъёма средней винтовой линии резьбы:
,
где:
z
-
кол-во заходов резьбы (i=1);
P
- шаг резьбы;
d2
- средний диаметр резьбы.
Приведенный угол трения:
,
где:
f
-
Коэффициент трения материалов винта и гайки (f
= 0,13);
-условие
самоторможения выполняется.
Определение КПД механизма
КПД механизма определяем по формуле:
%
.4 Выбор режимов обработки и технологическое
нормирование работ для одной операции восстановления или изготовления детали по
операционным картам
В задачу проектирования технологического
процесса входит установление содержания и последовательности выполнения
операции. Это имеет большое значение так как учёт производительности труда, контроль
качества и планирования ведут по операции. Операция является основной и
неделимой частью технологического процесса в организационном отношение. По
операциям определяют трудоёмкость процесса, потребное количество
производственных рабочих и материально техническое снабжение. Технологический
процесс составляется в операционном разрезе ещё и потому что техническое
нормирование времени необходимого для выполнения работ для каждой операции
имеет свои особенности . операция выполняется с одним установом или с
несколькими.
Основная задача технического нормирования
технологического процесса заключается в определение научно обоснованных затрат
времени на выполнение заданной работы.
В ремонтном производстве применяют 2 формы норм
труда: Норму времени(Tв) представляющую собой количество времени необходимого
для производства единицы продукции, и норму выработки (Тн)- количество
продукции которое необходимо произвести в единицу времени. Между ними
существует зависимость Тв = 1/Тн. Норма времени слогается из следующих
элементов затрат.
Тн = (Тпз/z) + То + Твс + Тдоп
То - основное время
Тпз- подготовительно заключительным называется
время которое затрачивает рабочий на первоначальное ознокомление с работой и
чертежами, подготовку рабочего места,наладку оборудования, инструмента, а так
же на действия связанные с окончанием работу. На выполнение определённого вида
работ оно затрачивается один раз, и его продолжительнось не зависит от обьёма и
вида работ. Чем больше однотипных изделий,тем меньше затраты подготовительно - заключительного
времени на каждую единицу изделия.
Основным называется время в течение которого
изменяются формы, размеры и свойства обрабатываемого изделия в результате
механической обработки, сварки, ковки и т.д. а так же взаимное расположение
деталей и узлов при сборочных работах. Различают несколько его видов: машинное,
машинно-ручное и ручное. Иногда во время автоматического действия оборудования
работа выполняется в ручную и как бы накладывается на машинное время, в связи с
этим ручное время может быть перекрываемым и неперекрываемым машинным.
Вспомогательным называется время затрачиваемое
на действия обеспечивающие выполнение основной работы (Тве). К нему относятся
время на установку, закрепление и снятие обрабатываемой детали, управление
оборудованием, перестановку инструментов и тд.
Дополнительным называется время затрачиваемое на
организационно техническое обслуживание рабочего места, на отдых и естественные
надобности. К организационно техническому обслуживанию относится время на смену
инструмента ( без переточки), его регулировку, на смазывание , чистку, осмотр и
опробирование оборудования.
Сумма времени основного и вспомогательного
составляет оперативное время:
Топ = То+Твс.
Внутри полной нормы времени выделяют норму
штучного времени:
Тшт = Топ + Тдоп.
В ненормируемое рабочее время входят все потери
которые возникают в результате непроизводственной работы(поиск инструмента,
заготовок, ожидания деталей ,исправление брака, преждевременное окончание
работы и тд). Эти затраты времени не включаются в норму и не подлежат оплате.
Технически обоснованная норма времени называется
штучно- калькуляционным временем:
Тшк = Тштучн + Тпз/z.
Существует несколько методов нормирования. В
данном курсовом проекте опытно статический метод. Опытно статистический метод
нормирования труда базируется на статистических данных по затратам труда на
одном или нескольких предприятиях, на основе чего определяется средняя норма.
Расчёт нормы времени:
Тн = (Тпз/z) + То + Твс + Тдоп, мин
То = 147 мин
Тдоп = 15 мин
Тпз = 20 мин
Твс = 5 мин- количество деталей (1 штука)
Тн = (20/1) +147+ 5 +15 = 185 мин
Расчёт оперативного времени:
Топ = То+Твс, мин
Топ = 147 + 5 = 152 мин
Норма штучного времени:
Тшт = Топ + Тдоп, мин
Тшт = 152 + 15 = 167 мин
Штучно - калькуляционное время:
Тшк = Тшт + Тпз/z, мин
Тшк = 167 + 20/1 = 187 мин
Итог:
Норма времени (Тн) - 185 мин
Оперативное время (Топ) - 152 мин
Норма штучного времени (Тшт) - 167 мин
Штучно - калькуляционное время (Тшк) - 187 мин
.5 Испытание и сдача агрегата (узла)
Раздаточная коробка после ремонта и сборки
обязательно должна пройти проверку на специальном испытательном стенде. В
случае отсутствия стенда, испытание раздаточной коробки проводят на равнинной
местности, автомобиль без нагрузки. Собранную раздаточную коробку необходимо
проверять на специальном стенде для проверки качества сборки.
Перед испытанием в картер коробки залить
индустриальное масло И-20А, подогретое до температуры 80-90 °С. Допускается
применение смеси индустриального масла И20А - 90% и присадки "AKОP-I"
- 10%.
В момент включения стенда проверить работу
масляного насоса, для чего на штуцере задней крышки первичного вала ослабить
затяжку гайки крепления трубки масляного насоса. Появление масла из трубки в
месте ослабления гайки говорит о работе насоса.
Испытание коробки производить в соответствии с
режимами и в последовательности, указанными в таблице
Таблица
|
Редим
испытания
|
Частота
вращения с1(об/мин)
|
Продолжительность
испытания, с
|
|
Понижающая
передача
|
При
подогретом масле
|
Без
подогрева масла
|
|
А
|
12,5-14,1
(750-850)
|
60±20
|
240±20
|
|
Б
|
19,1-20,8
(1150-1250)
|
120±20
|
480±20
|
|
В
|
37,5-39,1
(2250-2350)
|
300±20
|
600±20
|
|
Повышающая
передача
|
|
А
|
60±20
|
240±20
|
|
Б
|
19,1-20,8
(1150-1250)
|
120±20
|
480±20
|
|
В
|
37,5-39,1
(2250-2.3.50)
|
300±20
|
600±20
|
Испытать коробку в последние 5 мин под
давлением воздуха 3,92-4,90 МПа (0,4-0,5 кгс/см2)
в картере коробки, для чего ввернуть в заднюю
крышку промежуточного вала соединительную головку и соединить ее с
пневмосистемой. Течь масла через манжеты, резьбовые и неподвижные соединения не
допускается.
Проверить при выключенном стенде (невращающихся
валах) включения пневмомеханизмов:
при включении пневиомеханизма переключения
передач должна выключаться повышающая и включаться понижающая передача;
при включении пневмомеханизма отключения постов,
при вращении первичного вала приводные залы не должны вращаться;
при включении пневмомеханизма блокировки
дифференциала валы привода переднего и среднего мостов должны вращаться с
одинаковой скоростью и электросигнализация должна включаться;
при включении пневмомеханизма отбора мощности
должен вращаться вал отбора мощности и включаться электросигнализация.
Если сигнализация не включается, отрегулировать
подбором шайб или заменить включатель.
Проверить на режиме "а" на понижающей
передаче работу дифференциала кратковременным (5-10-секундным) торможением
приводного вала; при этом второй приводной вал должен вращаться с удвоенной
скоростью. Во время торможения дифференциал должен быть разблокирован.
Во время испытания раздаточной коробки мощность
работы коробки не должна превышать 92 дБ, а температура масла в картере не
должна превышать 75 °С.
После испытания коробки отвернуть сливную
пробку, слить масло и завернуть пробку, затем отвернуть болты крепления и снять
крышку масло-заборника, продуть сжатым воздухом сетку и магнит крышки.
Установить крышку маслозаборника на место.
Заключение
Повышение качества ремонта имеет важное
значение, т.к. при этом увеличивается эффективность работы оборудования и в
целом всего автомобильного транспорта: возрастает количество технически
исправных автомобилей, снижаются расходы на эксплуатационные ремонты и др.
Принимая во внимание то, что в наше время большая часть автомобильных деталей
идёт на металлолом, я считаю что стоит задуматься о необходимости создания
технологически оснащённых ремонтных заводов по восстановлению деталей. Это было
бы гораздо эффективнее и менее затратно.
В данном курсовом проекте был разработан
технологический процесс по восстановлению первичного вала раздаточной коробки
автомобиля Камаз 4310, а так же разработано и рассчитано приспособление для
ремонта валов.
Список литературы
. Методические указания по
курсовому проектированию "Ремонт автомобилей и двигателей". −
Н.Новгород: РЗАТТ, 2005.
. Ремонт автомобилей. / Под.
ред. С.И. Румянцева. − М.: Транспорт, 1988.
. Карагодин. В.И., Митрохин
Н.Н. Ремонт автомобилей. − М., Академия, 2003.
. Мельников Г.Н. Ремонт
автомобилей. Программа и методические указания. − Н.Новгород, 2004.
. Цеханов А.Д. Лабораторный
практикум по ремонту автомобилей. − М.: Транспорт, 1978.
. Клебанов Б.В.
Проектирование производственных участков авторемонтного предприятия. −
М.: Транспорт, 1975.
. Капитальный ремонт
автомобилей: Справочник. / Под ред. Р.Е. Есенберлина. − М.: Трансопрт,
1989.
. Молодык Н.В., Зенкин А.С.
Восстановление деталей машин. Справочник. − М.: Транспорт, 1989.
. Кудрявцева А.А. Карты
дефектации по ремонту автомобилей (для выполнения контрольных работ и курсового
проекта). − Н. Новгород, 1993.
. Яковлев Ю.В. Расчет и
проектирование устройств с винтовой передачей. Учебное пособие по курсовому и
дипломному проектированию. - Х.: ХАИ,1978. - 86с.