Разборка раздаточной коробки автомобиля КамАЗ

  • Вид работы:
    Курсовая работа (т)
  • Предмет:
    Транспорт, грузоперевозки
  • Язык:
    Русский
    ,
    Формат файла:
    MS Word
    1,32 Мб
  • Опубликовано:
    2013-12-02
Вы можете узнать стоимость помощи в написании студенческой работы.
Помощь в написании работы, которую точно примут!

Разборка раздаточной коробки автомобиля КамАЗ

Введение

Автомобили КамАЗ с колесной формулой 6x4 рассчитаны на эксплуатацию при температурах окружающего воздуха плюс 40... минус 40 °С, относительной влажности воздуха до 80% при 20 °С, запыленности до 1,0 г/м3, скорости ветра до 20 м/с и в районах, расположенных на высоте не более 3000 m над уровнем моря.

Автомобили разделяются на две группы.

Акционерное общество (АО) КамАЗ выпускает автомобили с колесными формулами 6x4, 4x2 и 6х6, различающиеся мощностными, размерными и весовыми параметрами. Массовое производство автомобилей семейства КамАЗ и их поступление в автотранспортный комплекс страны началось в 1976 г. В ходе производства совершенствовалась конструкция автомобилей и их составных частей, повышалось их качество, накапливался и изучался передовой опыт эксплуатации и ремонта.

Более сложная конструкция автомобилей КамАЗ по сравнению с ранее выпускавшимися в стране автомобилями позволила достичь высокой экономичности, надежности и комфортабельности. Одновременно возросли требования к культуре их технической эксплуатации, удовлетворить которые в состояния далеко не все потребители.

С целью более полной реализации высоких эксплуатационных свойств автомобилей, бесперебойного обеспечения подвижного состава запасными частями и ремонтно-эксплуатационными услугами АО КамАЗ создало фирменную систему обслуживания и ремонта автомобилей.

По мере возможности даны сведения о применяемых средствах технологического оснащения и приведены чертежи приспособлений, которые можно изготовить силами предприятий, выполняющих ремонтные работы.

Раздаточная коробка, применяемая на автомобилях повышенной проходимости КамАЗ-4310 и КамАЗ-43105, служит для распределения крутящего момента между передним ведущим мостом и двумя ведущими мостами задней тележки.

Во время движения по неровной дороге необходимо, чтобы ведущие колеса переднего и двух задних мостов, обкатывая неровности, имеющие различный продольный профиль, могли вращаться с неодинаковой скоростью. Например, когда передние колеса перекатываются через имеющийся на пути следования автомобиля выступ (бугор), скорость их вращения по сравнению с задними колесами, катящимися в это время по ровному участку, должна увеличиться, так как путь, проходимый передними колесами на данном участке поверхности дороги, больше. При перекатывании через этот выступ задних колес скорость их вращения также должна увеличиваться. Если передние и задние колеса будут жестко связаны между собой через механизмы трансмиссии, они будут вынуждены вращаться всегда с одинаковой скоростью, вследствие чего неизбежны повышенное изнашивание шин и большие потери мощности на преодоление трения между колесами и дорогой. Возможность вращения колес переднего и задних мостов с различной угловой скоростью обеспечивает межосевой дифференциал, применяемый в раздаточной коробке.

Применение дифференциального привода на скользких дорогах и на влажных грунтах с малым сцеплением может привести к снижению и потере проходимости автомобиля. Для повышения проходимости в автомобилях предусмотрено устройство для блокировки дифференциала.

В раздаточной коробке может изменяться крутящий момент, подводимый к ведущим колесам, т. е. раздаточная коробка является одновременно дополнительной коробкой передач, увеличивающей пределы передаточного числа в трансмиссии. Включение низшей (первой) передачи в коробке передач и в раздаточной коробке обеспечивает возможность преодоления автомобилем больших сопротивлений движению.

1.      
Анализ конструкции раздаточной коробки КАМАЗ

.1.      Особенности конструкции

Раздаточная коробка служит для распределения и передачи крутящего момента к переднему мосту автомобиля КамАЗ и мостам задней тележки. Она установлена на лонжероне рамы и продольной балке, расположенной между поперечинами, на кронштейнах с четыремя резиновыми подушками.

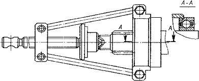
Картер раздаточной коробки литой, с вертикальным разъемом. В верхней части картера имеется люк, закрытый крышкой 6, для установки коробки отбора мощности. В гнездо заднего торца картера установлена односкоростная коробка 10 отбора мощности, которая состоит из выходного вала, установленного в корпусе стакана подшипников на двух шариковых подшипниках. На шлицах выходного вала закреплен фланец с отражателем для присоединения карданного вала привода лебедки. По шлицам переднего конца выходного вала перемещается подвижная муфта включения отбора мощности, входящая в зацепление со шлицами первичного вала раздаточной коробки. Стакан подшипников закрыт крышкой, уплотненной прокладкой. Для предотвращения вытекания масла в крышке стакана установлена резиновая манжета с пружиной. Коробка отбора мощности включается пневматическим механизмом мембранного типа с дистанционным управлением. Редуктор раздаточной коробки состоит из первичного вала 2, промежуточного вала 39, вала 32 привода переднего моста, межосевого дифференциала. Все зубчатые колеса редуктора постоянного зацепления, косозубые. Первичный и промежуточный валы вращаются на цилиндрических радиальных подшипниках 4, 8, 13 и 40, дифференциал - на радиальном цилиндрическом 16 и шариковом 29 подшипниках. Шариковый подшипник 3 первичного вала воспринимает только осевые нагрузки и установлен в крышке первичного вала с радиальным зазором.

Рис. 1 Раздаточная коробка автомобиля КамАЗ: Раздаточная коробка: 1 фланец первичного вала: 2 - первичный вал; 3, 4, 8, 13. 16, 17, 29, 40 - подшипники; 5 - ведущее зубчатое колесо; 6 - крышка верхнего люка; 7 - зубчатое колесо отбора мощности; 9- муфта включения коробки отбора мощности; 10 - коробка отбора мощности; 11 - маслосборник; 12 - зубчатое колесо низшей передачи; 14 - крышка подшипника; 15 - сателлит; 18 - вал привода задних мостов; 19 - задняя обойма дифференциала; 20 - коренное зубчатое колесо; 21 - зубчатое колесо низшей передачи дифференциала; 22 - солнечное зубчатое колесо; 23 - передняя обойма; 24- картер раздаточной коробки; 25- зубчатое колесо высшей передачи: 26 - крышка картера раздаточной коробки; 27 - магнитная пробка; 28, 30. 41 - муфты; 31 - ведущее зубчатое колесо привода преобразователя электрического спидометра: 32 - вал привода переднего моста; 33 - вилка; 34 - пружина: 35 - шток; 36 - мембрана: 37 выключатель; 38 - стопорный болт; 39 - промежуточный вал; 42 - зубчатое колесо постоянного зацепления

К ведущему зубчатому колесу 5 первичного вала приварено зубчатое колесо 7 отбора мощности.

Зубчатое колесо 12 низшей передачи и зубчатое колесо 25 высшей передачи установлены на роликах.

Дифференциал планетарного типа с четырьмя сателлитами 15, солнечным 22 и коренным 20 зубчатыми колесами, коренное зубчатое колесо 20 соединено с валом 18 привода задних мостов. Момент вращения солнечного зубчатого колеса передается на вал 32 привода переднего моста. При работающем (разблокированном) дифференциале обеспечивается постоянная и равномерная тяга всех мостов, и устраняются дополнительные нагрузки в трансмиссии. В зависимости от дорожных условий дифференциал может быть выключен (заблокирован), и тогда валы привода переднего и задних мостов вращаются как одно целое.

Неисправности раздаточной коробки Таблица 1

Неисправность

Признак неисправности

Причина неисправности

Способ устранения

Повышенный шум


Недостаточное количество масла в раздаточной коробке

Долить до нормы



Изношены зубья шестерен, подшипники валов

Изношенные детали заменить

Неисправность

Признак неисправности

Причина неисправности

Способ устранения

Самовыключение передач

Скорость автомобиля падает, частота вращения коленчатого вала двигателя возрастает. Автобиль не трогается с места

Износ шлицев муфт переключения, зубчатого колеса понижающей передачи, втулки обоймы диффетенциала

Заменить изношенные детали



Износ лапок вилок и сопряженных поверхностей муфт переключения

Заменить изгошеные днтли

Не включается передача

Автомобиль движется на поднижающей передаче независимо от положения трехпозиционного переключения

Заедание штоков механизмов переключения передач

Устранить причину заедания



Пробита диафрагма пневмокамеры, нарушена герметичность магистрали

Заменить диафрагму. Обнаружить и устранить утечку воздуха



Обрыв электрической цепи электропневмоклапана

Устранить обрыв



Заедание штока Электропневмоклапана

Устранить заедание

Неисправность

Признак неисправности

Причина неисправности

Способ устранения

Одновременное включение двух передач

Резкая остановка автомобиля. При трогании с места двигатель глохнет

Неисправно замковое устройство

Заменить неисправные детали

Повыщеный нагрев картера

Рука не выдерживает при соприкосновении с картером

Нет масла

Устранить утечку, залить масло



Разрушены подшипники валов

Заменить подшипники

Течь масла

Видны подтеки на раздаточной коробке

Неисправны сальники

Заменить сальники


Масляные пятна на месте стоянки на грунте

Подтянуть болтовые соеденения



Нарушены прокладки

Заменить прокладку



Засорился сапун

Прочистить сапун

Не включается блокировка дифференциала

При включении крана блокировки дифференциала колеса переднего или задних мостов буксуют

Заедает шток механизма переключения

Устранить причину заедания



Повреждена диафрагма

Заменить диафрагму



Утечка воздуха в соединениях трубок

Устранить утечку


Разработка технологического процесса разборки раздаточной коробки

Трудоемкость - 81,0 чел.мин.

.         Установить раздаточную коробку на верстак.

Захват, верстак слесарный

.         Вывернуть пробку заливного отверстия и пробку магнитную 56 (Рис. 2) сливного отверстия. Ключ гаечный 12 мм.

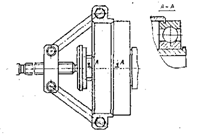
Рис.2 Коробка раздаточная: 1 - гайка крепления фланца первичного вала; 2,19,29 - шайба; 3 - фланец; 4-шпонка; 5,25,27,40,47,51,52,57,72,73,74,75,85 - болты с шайбами ;6-крышка переднего подшипника первичного вала; 7,12,16,23,42,45,49,59,70,77 -прокладки; 8 - опорная шайба; 9 - шарикоподшибник; 10-кольцо наружное роликоподшипника; 11 - стакан передних подшипников; 13 - первычный вал; 14 -кольцо наружное; 15,48,60 - кольцо упорное; 17 - крышка верхнего люка; 18 -шпипька; 20,28-гайки; 21-предохранительный клапан; 24 - коробка отбора мощности; 26-механизм включения коробки отбора мощности; 30-фланец привода заднего моста; 31-манжета; 32 - крышка подшипника; 33,38,54,83,65 -уплотнительные прокладки; 34 - маслоотгонная шайба; 35 - установочное кольцо; З6-подшипник; 37 - крышка заднего подшипника промежуточного вала; 43 - кольцо наружное задних подшипников промежуточного вала; 44 - картерраздаточнойкоробки; 46,58,71 - крышка; 50 картерприводяпереднегомоста; 53,84 - механизмы переключения передач; 55,62 - регулировочные прокладки; 56,76-пробка; 61-промежуточный вал; 62,67 -шплинт; 63 - стопорные болты; 64 - вияка; 66-корпус; 68 - стопорныйболт; 69 -вилка; 78 - коническая пробка; 79 - шзрйк; 80-штифт; 81  дифференциал

.         Раскернить гайку 28, отвернуть ее и снять вместе с шайбой 29. Снять фланец 30 привода заднего моста. Молоток, ключ торцовый 46 мм, упор, отвертка

.         Вывернуть и снять болты 74 с пружинными шайбам. Снять крышку 32 подшипника, маслоотгонную шайбу 34 и уплотнительную прокладку 33. Ключ гаечный 17 мм

.         Вывернуть и снять болты 73 с пружинными шайбами. Снять установочное кольцо 35 и съемником (Рис. 3) снять подшипник 36 (см. Рис.2). Снять крышку 37 заднего подшипника с уплотнительной прокладкой 38. Ключ гаечный 17 мм, отвертка, специальные пассатижи, съемник

Рис.3 Снятие подшипника шестерни привода заднего моста

.         Вывернуть из корпуса 66 механизма блокировки штоков управления две пробки 76 и снять их с прокладками 77. Ключ торцовый 36 мм

.         Вывернуть и снять болты 75 крепления корпуса механизма блокировки с шайбами. Снять корпус 66 с уплотнительной прокладкой 65, вывернуть конические пробки 78, вынуть из корпуса замковое устройство : два шарика 79 и штифт 80. Ключ шестигранный 8 мм, ключ торцовый 17 мм

.         Вывернуть болты 47 крепления крышки картера раздаточной коробки с шайбами. Снять крышку 46 с валами и прокладкой 45. Ключ гаечный 19 мм, отвертка.

. Повернуть картер на 90°. Вывернуть болты 25 с шайбами. Впрессовать коробку 24 отбора мощности, снять прокладку 23. Оправка, молоток, ключ гаечный 17 мм, отвертка

.         Вывернуть и снять болты 72 с шайбами, снять крышку 71 бокового люка картера с прокладкой 70. Ключ торцовый 13 мм, отвертка

.         Вынуть шплинт 67, вывернуть стопорный болт 68 вилки включения коробки отбора мощности. Вывернуть болты 27 с шайбами, снять механизм 26 включения коробки 24 отбора мощности с прокладкой. Снять вилку 69

Со штока механизма 26 включения коробки отбора мощности и муфту 22

С вала коробки отбора мощности. Ключ гаечный 17 мм, отвертка, плоскогубцы

.         Вывернуть болты 40 с шайбами, снять крышку 41 заднего подшипника промежуточного вала с прокладкой 42. Впрессовать из картера кольца 43 и 39 наружные задних подшипников промежуточного вала и вала привода заднего моста. Отвертка, ключ гаечный 17 мм, молоток, оправка, бородок

. Повернуть картер на 90°.

. Вывернуть из верхней крышки клапан 21 предохранительный.

. Отвернуть гайки 20, снять шайбы 19, крышку 17 верхнего люка с прокладкой 16. Вывернуть шпильки 18. Ключ гаечный 19 мм, отвертка

.         Вынуть шплинты 62, вывернуть стопорные винты 63 вилок переключения передач.

Плоскогубцы, ключ торцовый 10 мм

. Вывернуть болты 52, 65 с шайбами, снять механизмы 53 и 64 переключения с регулировочными 55, 82 и уплотнительными 54, 83 прокладками. Снять вилки 64 переключения передач со штоков. Ключ гаечный 17 мм, отвертка, молоток, оправка

.         Вывернуть болты 51 с шайбами, снять картер 50 привода переднего моста с прокладкой 49. Ключ гаечный 17 мм, отвертка, съемник.

.         Раскернить и отвернуть гайку I крепления фланца первичного вала, снять шайбу 2 и фланец 3. Ключ торцовый 46 мм, молоток

.         Вывернуть болты 5 с шайбами и снять крышку 6 переднего подшипника первичного вала с прокладкой 7. Ключ гаечный 17 мм, отвертка

. Снять опорную шайбу 8 и спрессовать шарикоподшипник 9. Оправка, молоток, отвертка

. Впрессовать стакан II передних подшипников из крышки, снять прокладку 12 и впрессовать кольцо 10 наружное роликоподшипника. Выколотка бронзовая, молоток, отвертка

. Вывернуть болты 57 с шайбами и снять крышку 58 переднего подшипника промежуточного вала с прокладкой 59. Ключ гаечный 17 мм, отвертка

.         Вынуть из выточек подшипников промежуточного вала и дифференциала кольца 60 и 48 упорные. Отвертка, специальные пассатижи

.         Выпрессовать валы 13, 61 и дифференциал 81 из крышки картера раздаточной коробки. Молоток, оправка

.         Снять с вала упорное кольцо 6 . Специальные пассатижи.

. Съемником (Рис.4) снять внутреннее кольцо 5 (см. Рис. 5) заднего подшипника в сборе. Съемник, специальные пассатижи.

Рис.4 Снятие внутреннего кольца роликоподшибника шестерни низшей передачи привода заднего моста

Рис 5 Вал первичный раздаточной коробки: 1 - внутреннее кольцо переднего подшипника; 2 - шестерня; 3 - вал первичный раздаточной коробки; 4 - сегментная шпонка; 5 - внутреннее кольцо роликового подшипника; 6 - кольцо упорное.

. Спрессовать с вала шестерню 2 и снять шпонку 4. Молоток, отвертка, пресс

. Установить промежуточный вал на верстак, раскернить и отвернуть гайки I , 13 (Рис. 6), снять шайбы 2, 12. Молоток, зубило, ключ торцовый 46 мм

Рис. 6. Вал промежуточный раздаточной коробки 1,13 - гайки; 2,10,12 - шайбы; 3,7 - подшипники; 4- шестерня; 5- каретка; 6- промежуточный вал раздаточной коробки; 8- шестерня первой передачи промежуточного вала; 9- распорная втулка; II- внутреннее кольцо подшипника.

.         Съемником (Рис. 7) снять с вала 6 (см. Рис. 6) подшипник 3, и внутреннее кольцо подшипника II (Рис.6.) Оправка, молоток, съемники

Рис.7 Снятие внутреннего кольца заднего подшибника промежуточного вала

.         Снять шайбы 10 и шестерню 8 первой передачи промежуточного вала с подшипниками 7 и распорной втулкой 9. Оправка, молоток

. Снять с вала шестерню 4 постоянного зацепления с кареткой 5. Оправка, молоток

. Снять с шестерни 4 каретку 5 включения.

. Установить дифференциал на верстак. Зажать в тисках, раскернить и отвернуть гайку I (Рис.8).Тиски, молоток, зубило, специальный ключ 90-95 мм

Рис8. Дифференциал раздаточной коробки: 1 - гайка; 2- шарикоподшипник; 3 - шлицевая втулка; 4 - каретка;5 -роликоподшипники; 6- шестерня повышающей передачи; 7 - опорная шайба; 8,15 - болты; 9- передняя обойма; 10,13,18- втулки; 11 - шестерня привода переднего моста; 12- саттелиты; 14- задняя обойма дифференциала; 16 - штифт; 17 - шестерня привода заднего моста; 19 - шестерня понижающей передачи; 20 - внутреннее кольцо; 21 - упорное кольцо.

.         Съемником (Рис. 9) снять с передней обоймы 9 (см. Рис. 8) шарикоподшипник 2. Съемник

Рис.9. Снятие подшипника обоймы дифференциала

. Снять шестерню 6 повышающей передачи с роликоподшипниками 5, опорную шайбу 7, втулку 10. Молоток, оправка, отвертка

. Вывернуть болты 8. Ключ гаечный 17 мм

. Снять упорное кольцо 21, съемником (Рис. 4) снять внутреннее кольцо 20 (Рис. 8) роликоподшипника. Съемник, специальные пассатижи

. Выпрессовать шестерню 19 понижающей передачи с втулкой 18 при помощи двух технологических болтов, ввернутых в отверстия передней обоймы. Болты технологические, молоток, оправка, ключ гаечный 17 мм

. Снять шестерню 17 привода заднего моста.

. Вывернуть болты 15. Снять заднюю обойму 14 дифференциала. Ключ гаечный 17 мм, молоток, оправка

. Снять четыре сателлита 12 с втулками 13 и шестерню II привода переднего моста.Оправка, молоток

. Установить коробку отбора мощности в тисках. Раскернить и отвернуть гайку 12 (Рис. 10), снять шайбу II. Ключ торцовый 46 им, молоток, зубило, тиски

Рис.10 Коробка отбора мощности 1 - вал; 2 - стакан; 3 - шарикоподшипник; 4 - распорная втулка; 5,11- шайбы; 6 - прокладка; 7- крышка; 8 - винт; 9 - манжета; 10 - фланец; 12 - гайка

. Снять фланец 10 коробки с манжетой 9. Оправка, молоток

. Вывернуть винты 8, снять крышку 7 стакана подшипников с прокладкой 6. Отвертка

. Выпрессовать вал I из стакана 2 с подшипниками в сборе. Оправка, пресс

. Съемником (рис. 11) снять с вала I (Рис. 10) два шарикоподшипника 3 и распорную втулку 4. Съемник

.         Установить картер привода переднего моста в сборе с валом привода на верстак, зажать в тисках. Верстак слесарный, тиски

. Раскернить и отвернуть гайку 29 (Рис. 12), снять шайбу 28. Молоток, зубило, торцовый ключ 46 мм

Рис. 11 Снятие подшипников вала привода коробки отбора мощности

Рис. 12 Картер привода переднего моста в сборе с валом: 1,12 - болты; 2 - крышка механизма управления блокировкой дифференциала в сборе; 3 - диафрагма;4 - шток вилки; 5 - пружина возвратная; 6 - картер; 7 - шарик-заглушка; 8,16, 23 - прокладки; 9 - крышка люка; 10,25 - болты с шайбами; 11 - шплинт; 13 - вилка блокировки дифференциала; 14 - червяк привода спидометра ; 15 - штуцер; 17 - шестерня привода спидометра; 18 - муфта блокировки; 19 - вал; 20 - подшипник шариковый; 21 - кольцо упорное; 22 - шайба маслоотгонная; 24 - крышка подшипника; 26 -манжета; 27 - фланец; 28 - шайба; 29 - гайка

. Снять фланец 27 с вала 19 привода переднего моста. Оправка, молоток

. Вывернуть болты 25 с шайбами. Снять крышку 24 подшипника, маслоотгонную шайбу 22 и уплотнительную прокладку 23. Ключ гаечный 17 мм, отвертка

. Вывернуть болты 10 с шайбами, снять крышку 9 люка с прокладкой 8. Ключ гаечный 12 мм

. Вынуть шплинт II, вывернуть болт крепления вилки 13 блокировки дифференциала. Ключ торцовый 10 мм, плоскогубцы

.         Вывернуть болты I, снять крышку 2 механизма блокировки дифференциала 3 с диафрагмой. Ключ торцовый 10 мм

. Вынуть шток 4 с пружиной 5 из картера 6 и вилки 13 блокировки. Молоток, выколотка бронзовая

. Снять вилку 13 блокировки дифференциала из паза муфты блокировки. Снимите муфту 18.

. Снять упорное кольцо 21 из паза подшипника 20. Выпрессовать вал 19 из подшипника и червяк 14 привода спидометра. Отвертка, молоток, оправка, специальные пассатижи

. Выпрессовать съемником (Рис. 13) из картера 6 (Рис. 12) подшипника20 штуцер 15 и шестерню 17 привода спидометра. Картер снять с тисков. Оправка, молоток, съемник

Рис. 13 Снятие подшипника вала привода переднего моста

. Вывернуть болты I (Рис.14) из механизма переключения передач. Ключ гаечный 10 мм


Рис. 14 Механизм включения понижающей передачи: 1 - болт; 2 - крышка; 3 - диафрагма; 4 - стакан возвратных пружин; 5, 10 - пружины; 6 - картер; 7 - кольцо упорное; 8 - стержень; 9 - шайба; 11 - гайка; 12 - шток

. Снять крышку 2, диафрагму 3. Отвернуть стакан 4 возвратных пружин

. Снять пружину 5. Плоскогубцы

. Сиять упорное кольцо 7. Вынуть из штока 12 стержень 8 вместе с пру жинами 10 и шайбами 9, отвернуть гайки II. При отрегулированных ходах штоков регулировочные гайки II можно не отворачивать. Отвертка, плоскогубцы, ключ гаечный 12 мм, специальные пассатижи

. Вынуть штоки 12 из картера 6.

. Разобрать механизм включения повышающей передачи. См. Операции 60-63.

. Промыть детали в промывочной жидкости и проверить их техническое состояние.

2. Техника безопасности

При выполнении слесарных работ особое внимание следует уделять организации труда, состоянию инструмента и соблюдению правил безопасной работы. На рабочем месте слесаря по ремонту автомобиля должны быть соответствующее технологическое оборудование, приспособления и инструмент.

При устранении неисправностей на автомобиле инструмент, съемники, приспособления, запасные части располагают в непосредственной близости в пределах зоны досягаемости. Чтобы исключить возможность падения, кладут их на горизонтальные плоскости. В осмотровых канавах инструмент располагают в специально устроенные для этого ниши. Для хранения инструмента применяют также передвижные шкафы, столы или переносные инструментальные ящики.

Часто слесарям для выполнения разборочно-сборочных работ прилодится пользоваться верстаками. В основном применяют одноместные (размером 2,0X0,8 м) и двухместные (размером 2,4X0,9 м) верстаки, оборудованные тисками. Для хранения инструмента в верстаках предусмотрены ящики. Чтобы было удобно работать, верстак подгоняют по росту работающего с помощью подставок под верстак или подставок для ног. Рабочую поверхность верстака покрывают листовым металлом, линолеумом, фиброй или другими пластиками, имеющими достаточную прочность. На слесарно-механическом участке при использовании многоместных верстаков или размещении их друг против друга для предупреждения травмирования работающих рядом отлетающими кусками обрабатываемого материала устанавливают сетчатую металлическую разделительную перегородку. Высота перегородки должна быть не менее 750 мм, а размер ячеек не более 3 мм.

Ручной инструмент должен быть в исправном состоянии, чистым и сухим. Его выбраковка, как и выбраковка приспособлений, должна производиться не реже одного раза в месяц.

Молотки и кувалды должны иметь бойки с гладкой, слегка выпуклой поверхностью, некосой и несбитой, без сколов, выбоин, трещин и заусенцев. Их рукоятки и рукоятки других инструментов ударного действия должны быть изготовлены из древесины твердых и вязких лиственных пород (дуб, береза, кизил, бук, клен, ясень, рябина, граб) без сучков и косослоя или из синтетических материалов, обеспечивающих эксплуатационную прочность и надежность в работе. В поперечном сечении рукоятки должны иметь овальную форму, быть гладкими и не иметь трещин. Рукоятки молотков и кувалд должны несколько утолщаться к свободному концу для самозаклинивания в руке при взмахах и ударах.

Инструмент должен быть надежно насажен на рукоятку и расклинен заершенными клиньями из мягкой стали. Ось рукоятки должна быть перпендикулярна продольной оси инструмента. Длину рукоятки выбирают в зависимости от массы инструмента: для молотка 300-400 мм; для кувалды 450-900 мм.

Отвертки должны иметь прямой стержень, так как при кривом стержне возможны соскальзывание с головки винта или шурупа и травмирование руки. Выбирать отвертки следует по ширине рабочей части в зависимости от размера шлица в головке винта или шурупа. Рабочая часть должна быть с ровными плоскими боковыми гранями и не иметь сколов.

Инструмент ударного действия (зубила, крейц-мейсели, бородки, керны, просечки) должен иметь гладкую затылочную часть без трещин, заусенцев, наклепа и скосов. Для предупреждения травмирования рук длина инструмента не должна быть менее 150 мм.

Гаечные ключи должны быть подобраны по размерам гаек и болтов. Размер зева ключей не должен превышать размеров головок болтов и граней гаек более чем на 0,3 мм. Гаечные ключи не должны иметь трещин, забоин, заусенцев, непараллельности губок и выработки зева. Запрещается отвертывать гайки ключами больших размеров с подкладыванием металлических пластинок между гранями болтов и гаек и губками ключа и удлинять рукоятки дополнительными рычагами, другими ключами и трубами (кроме рычагов типа «звездочка»). Раздвижные ключи не должны иметь зазора в подвижных частях.

Острогубцы и плоскогубцы не должны иметь выщербленных рукояток, трещин и заусенцев. Губки острогубцев должны быть острыми, без повреждений, а губки плоскогубцев должны иметь несработанную насечку. У тисков губки также должны иметь несработанную насечку. Винты, крепящие губки, должны быть исправны и затянуты. Зажимной винт должен быть без трещин и сколов.

При работе электроинструментом следует соблюдать меры электробезопасности

Из средств индивидуальной защиты слесарю по ремонту автомобилей выдают хлопчатобумажный костюм и комбинированные рукавицы. В зимнее время при наружных работах дополнительно выдают хлопчатобумажные куртку и брюки на утепляющих подкладках. При рубке, чеканке и других подобных работах слесарь должен пользоваться защитными очками, а при работе с пневматическим инструментом- виброизолирующими рукавицами. Для предупреждения заболевания кожи рук слесарям рекомендуется пользоваться такими защитно-профилактическими средствами.

Безопасность слесарных работ можно обеспечить только при строгом, обязательном выполнении инструкций по охране труда. При осмотре и ремонте автомобиля в осмотровой канаве для защиты глаз от засорения и травмирования следует пользоваться защитными очками. Работая на верстаке, надо следить за тем, чтобы его поверхность была гладкая и не имела заусенцев. Очищают верстак и оборудование щеткой-сметкой. Запрещается использовать для этой цели сжатый воздух. При необходимости выполнения работ на заточных, сверлильных и других станках необходимо строго соблюдать инструкции по охране труда при работе на станках.

Заключение

В курсовом проекте была поставлена задача, разборка раздаточной коробки автомобиля КамАЗ. Разработан технологический процесс, определены неисправности сборочной единиц, произведен анализ конструкции.

В данном курсовом проекте задача была выполнена и спроектирована структурная схема разборки раздаточной коробки КамАЗ.

разборка инструмент раздаточный коробка

Литература

1.     Карагодин В.И., Карагодин Д.В. Автомобили КАМАЗ: устройство, техническое обслуживание и ремотр. - М.:Транспотр, 2001. - 342 с.

2.       Карагодин В.И., Митрохин Н.Н. Ремонт автомобиле и двигателей: Учеб. для студ.сред. проф. учеб. заведений. - М.: Мастерство; Высш. школа, 2001. 496 с.

.         Положение о техническом обслуживании и ремонте подвижного состава автомобильного транспорта М-во автомоб. Трансп. РСФСР. - М.: Транспорт, 1986. - 72 с.

.         Кузнецов Ю.М. Охрана труда на автотранспортных предприятиях: Учеб. для учащихся автотрансп. техникумов. - М.: Транспорт, 1990. - 288 с.: ил.

Похожие работы на - Разборка раздаточной коробки автомобиля КамАЗ

 

Не нашли материал для своей работы?
Поможем написать уникальную работу
Без плагиата!
Без нейросетей!