Розрахунок резонансного підсилювача

  • Вид работы:
    Контрольная работа
  • Предмет:
    Информатика, ВТ, телекоммуникации
  • Язык:
    Украинский
    ,
    Формат файла:
    MS Word
    60,58 Кб
  • Опубликовано:
    2014-04-23
Вы можете узнать стоимость помощи в написании студенческой работы.
Помощь в написании работы, которую точно примут!

Розрахунок резонансного підсилювача

Зміст

Вступ

. Загальні відомості про резонансні підсилювачі

.1 Явище резонансу

.2 Резонансний підсилювач, призначення і види

. Коефіцієнт підсилення і АЧХ одноконтурного РП

. Стійкість одноконтурного резонансного підсилювача

4.Транзисторний РПП

. Вибір транзистора для РПП

. Розрахункова частина

Висновок

Список використаної літератури

Додатки

Вступ

У наш час, в проміжних і вихідних каскадах радіопередаючих пристроїв, які працюють в різних частотах діапазону, широко використовуються резонансні підсилювачі.

В 60-70-х роках, більшість резонансних підсилювачів були на лампах. З часом, радіоелектронні елементи вдосконалювались. Все більше почали використовувати транзистори, які в потужних каскадах підсилення високочастотних коливань, дають можливість значно покращити такі важливі параметри радіопередавачів військового призначення, як надійність та довговічність, зменшити вагу та габарити. Але серйозною перешкодою широкому використанню транзисторів в радіопередаючих пристроях була відсутність потужних високочастотних транзисторів, з’явилась реальна можливість створення підсилювачів на сотні ват в короткохвильовому діапазоні, і до десятків ват в діапазоні ультра коротких хвиль.

1. Загальні відомості про резонансні підсилювачі

Підсилювач - пристрій, в якому здійснюється збільшення потужності вхідного сигналу, за рахунок енергії допоміжного джерела живлення. Залежно від виду енергії вхідного сигналу і джерела, підсилювачі поділяють на : електричні, механічні, гідравлічні та пневматичні.

В електротехніці за характером вхідного сигналу підсилювачі діляться на : підсилювачі змінного та постійного струму, які в свою чергу поділяються на підсилювачі : низької частоти (ПНЧ), високої частоти (ПВЧ) та широкосмугові підсилювачі.

До підсилювачів пред’являють наступні основні вимоги :

велика величина потужності вихідного радіосигналу ( від кількох ват до десятків і сотень кіловат, залежно від призначення радіостанції).

висока економічність, яка характеризується коефіцієнтом корисної дії підсилювача.

малі нелінійні спотворення радіосигналів, що підсилюються.

можливість плавного і дискретного пере налаштування підсилювача в заданому діапазоні частот. /1/

1.1 Явище резонансу

Резонанс - це явище різкого росту амплітуди вимушених коливань , яке настає, при наближенні частоти зовнішнього чинника, до деяких значень, які визначаються властивостями системи.

Збільшення амплітуди - це лише наслідок резонансу, а причина, накладання зовнішньої (збуджуючої) частоти, з внутрішньою (власною) частотою коливальної системи. За допомогою явища резонансу можна виділити, чи навіть підсилити дуже слабкі періодичні коливання./2/

У електронних приладах, резонанс виникає на певній частоті, коли ємнісна та індуктивна складові реакції системи зрівноважені, що дозволяє енергії циркулювати між магнітним полем індуктивного елемента і електричним полем конденсатора. Механізм резонанса заключається у тому, що магнітне поле індуктивності, генерує електричний струм, який заряджає конденсатор, а розряд конденсатора створює магнітне поле в індуктивному елементі - процес, який повторюється багаторазово, по принципу маятника.

Резонанс може бути також і шкідливим, якщо він виникає в не очікуваному місці по причині пошкодження, недостатньо якісного проектування чи виробництва електронного приладу. Такий резонанс може викликати шкідливі шуми, викривлення сигналу і навіть пошкодження компонентів./2/

Явище резонансу широко використовується в науці й техніці. На ньому ґрунтується робота багатьох радіотехнічних схем та пристроїв, таких як коливальні контури. Використовуючи явище резонансу ми вибираємо із багатого різноманіття електромагнітних хвиль в просторі навколо нас саме ті, які відповідають нашій улюбленій радіостанції вибираємо телевізійний канал тощо.

.2 Резонансний підсилювач, призначення і види

Резонансний підсилювач (РУ), містить резонансний селективний ланцюг і тому підсилює сигнал, в деякій смузі частот, в якій АЧХ підсилювача, має підйом. У резонансних підсилювачах використовуються, як підсилювачі радіо частот (УРЧ), так і підсилювачі проміжної частоти (УПЧ). Підсилювачі радіо частот (УРЧ) , можуть працювати, як на фіксованій частоті, так і на частотах, що перебудовуються в робочому діапазоні; підсилювачі проміжної частоти (УПЧ) працюють зазвичай на фіксованих частотах./4/

Резонансний підсилювач (РУ), містить три основні елементи: підсилювальний елемент (УЕ), джерело живлення і резонансний ланцюг (фільтр), із ланцюгами зв'язку з підсилюючим елементом(УЕ) і з подальшим каскадом.

Резонансний підсилювач можна класифікувати в залежності від:

. Типу підсилювального елемента (УЕ) (транзисторні, лампові, на інтегральних мікросхемах, діодах з негативним опором);

. Виду резонансного ланцюга (одноконтурні, двоконтурні, багатоконтурні, з п'єзоелектричними та електромеханічними фільтрами, з резонансними лініями, об'ємними резонаторами і т. д.)

. Виду ланцюгів зв'язку фільтра, з підсилюючим елементом і з подальшим каскадом (підсилювачі з безпосереднім, автотрансформаторні, трансформаторні, з ємнісним та комбінованим включенням фільтра.)

Резонансні підсилювачі працюють в режимі посилення малих сигналів, тобто в лінійному, по сигналу режимі. У Додатку А наведено схему одноконтурного, транзисторного, резонансного підсилювача із автотрансформаторним зв'язком контура та з підсилюючим елементом .

Транзистор VТ включений за схемою з ОЕ, резистори R 1, R 2 (базовий дільник), використовуються для подачі постійного зміщення на базу, щодо емітера U БЕО. Ланцюжок R е. C е. використовується для стабілізації точки спокою, за рахунок введення послідовного негативного зворотного зв'язку, по постійному струму. /4/

2. Коефіцієнт підсилення і АЧХ одноконтурного резонансного підсилювача

Резонансний підсилювач може бути представлений у вигляді активного лінійного чотириполюсника, навантаженням якого є фільтр з ланцюгами зв'язку (Додаток А).

Властивості активного чотириполюсника описуються системою рівнянь з Y - параметрами:

1 = Y 11 U 1 + Y 12 U 2 (2.1)2 = Y 21 U 1 + Y 22 U 2 (2.2)

Для визначення коефіцієнта посилення скористаємося з другого рівняння системи :

Тут Y 21 = - крутизна підсилюючого елемента S;1 U 2 = 0 22 = - y i - внутрішня провідність підсилюючого елемента 1 U 1 = 0

Вихідний струм I 2 складається з двох складових I 2 = SU 1 + y i U 2 і враховуючи, що y i містить активну і ємнісну складові y i = q i + j w C вих, еквівалентну схему вихідного ланцюга каскаду підсилюючого елемента (Додаток А). /3/

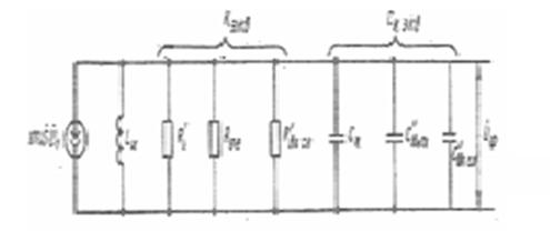
Подальший каскад, що є навантаженням для даного каскаду, врахований його активним вхідним опором і його вхідною ємністю. Перераховуючи елементи схеми до контуру (на основі закону збереження енергії) у відповідності з виразами (2.1, 2.2), переходимо до схеми (Додаток В). Отримаємо еквівалентний коливальний контур з параметрами:

З КЕКВ = С до + m 1 лютого C вих + m 2 лютого C вх сл (еквівалентна ємність контуру з урахуванням внесених ємностей);

 - Еквівалентна провідність контуру при резонансі з урахуванням внесених опорів; Y - коефіцієнт шунтування (2.3).

По законам Ома, напруга на контурі U ф = m 1 S U 1 Z екв де Z екв - повний еквівалентний опір контуру. Знак мінус у виразі для U ф вказує, що струм m 1 S U 1 створює на контурі напругу полярності, протилежну прийнятій за позитивну.

Вихідна напруга U вих = m 2 U ф = - m 1 m 2 S U 1 Z екв і коефіцієнт посилення по напрузі

= U вих / U 1 = - m 1 m 2 S Z екв. (2.4)

Враховуючи, що для паралельного коливального контуру

екв = R екв / (1 + jα),

де a - узагальнена расстройка, отримаємо :

1 m 2 S R екв= - (1 + j α)

Модуль коефіцієнта посилення :

 =(2.5)

Резонансний коефіцієнт посилення при a = 0

(2.6)

АЧХ підсилювача , відповідає АЧХ еквівалентного коливального контуру. Відзначимо, що той же вираз, було отримано для АЧХ одноконтурною ВЦ.

Завдання оптимізації резонансного коефіцієнта посилення за параметрами m 1 і m 2 вирішується так само як для ВУ. Максимум резонансного коефіцієнта підсилення при заданому коефіцієнті шунтування Y (тобто заданої смузі пропускання або g е) реалізується при виконанні умови оптимальної неузгодженості, тобто при

При цьому :

(2.7)

При високодобротних контурах (Y >> 1) теоретично досягається найбільше значення К 0. При Y >> 1 маємо :

. (2.8)

Саме в цьому випадку реалізується одночасне узгодження контуру як по виходу підсилюючого елемента так і по входу подальшого каскаду. /3/

3. Стійкість одноконтурного резонансного підсилювача

Аналіз стійкості резонансного підсилювача, пов'язаний з визначенням його вхідної провідності, яка є навантаженням для попереднього каскаду і шунтує його резонансну систему. З першого рівняння системи

вх = I 1 / U 1 = Y 11 + Y 12 U 2 / U 1 (3.1)


U 1 = 0

2 - внутрішня провідність зворотного зв'язку між виходом і входом підсилювального елемента. (Наприклад, для біполярних транзисторів визначається в основному паразитною ємністю між колектором і емітером )

Отже, друга складова вхідної провідності

вхос = Y 12 U 2 / U 1 (3.2)

обумовлена дією внутрішнього зворотного зв'язку і залежить від напруги U 2, яка визначається напругою на контурі і, отже, залежить від частоти. Тому Y вхос іноді називають динамічною складовою вхідної провідності. Враховуючи, що U 2 = m 1 U вих / M 2 = - m 2 Січень S Z екв U 1 з отримаємо:

Y вхос = - M 2 Січень S Y 12 Z екв, , де S Y 12 = SY 12 e . (3.3)

Причому, сумарний фазовий зсув j, створюваний крутизною і провідністю ОС, залежить в основному від параметрів підсилювального елемента і слабо залежить від частоти. У межах смуги пропускання j = const.

cos φ + j sin φвхос = - m 2 SY 12 R екв 1 + j α (3.4)

Виділяючи в виразі речову та уявну частини визначимо активну і реактивну (ємнісну) складові вхідної провідності :

вхос = g вхос + j b вхос,

де .

.

Тут

Максимальне відхилення значень g вхос і b вхос від середніх значень

. (3.5)

Як видно, зі зміною частоти, провідність g вхос змінює знак. Якщо gвхос

позитивна, то підсилювач відбирає енергію від джерела сигналу, тобто внутрішня ОС негативна. Якщо ж g вхос негативна, то це означає, що у вхідний ланцюг вноситься енергія, отже, ОС позитивна. Таким чином, в резонансних підсилювачах характер ОС з частотою змінюється, оскільки зі зміною частоти, щодо резонансної змінюється знак напруги U 2 на контурі. Пояснити виникнення негативної вхідної провідності, за рахунок дії зворотного зв'язку можна наступним чином. На частотах нижче резонансної, вихідний контур має індуктивний опір. Тому напруга U 2 випереджає струм I2 на кут, близький до 90 0 . Через це напруження виникає струм I oc через С до, випереджаюче напруга ще на 90 0. Так як струм I 2 сінфазен з вхідною напругою U 1, зсув фаз між U 1 і I oc дорівнює 180 0, що еквівалентно негативною вхідної провідності. /4/

Очевидно, негативна вхідна провідність викликає підйом, посилення попереднього каскаду, компенсуючи втрати в його контурі (вхідному контурі розглянутого підсилювача). На частотах вище резонансної провідності g вхос позитивна і вносить у вхідний контур додаткові втрати, приводячи до зменшення посилення попереднього каскаду.. Суцільна лінія відповідає неспотвореної АЧХ, яка може бути отримана, наприклад, при замиканні навантаження розглянутого резонансного підсилювача, тобто при m 1 = 0. Аналогічно відображається вплив С вхос (b вхос = w C вхос) на форму АЧХ вхідного контуру. Збільшення З вхос на частотах нижче резонансної призводить до збільшення еквівалентної ємності вхідного контуру, а отже зниженню його резонансної частоти. При цьому фактична расстройка зменшується і посилення вхідного контуру стає більше.При збільшенні частоти вище резонансної З вхос зменшується, внесена у вхідний контур ємність зменшується, резонансна частота, а отже, і посилення збільшуються. В результаті АЧХ вхідного контуру стають більш прямокутної форми. Очевидно, більш серйозними спотвореннями є спотворення АЧХ, викликані активною складовою g вхос. А їх рівень може бути оцінений по відносній зміні еквівалентної провідності вхідного контуру, за рахунок шунтуючої дії g вхос. Для цього вводиться коефіцієнт стійкості:

,

де m 2 - коефіцієнт включення вхідної провідності резонансного підсилювача у вхідний контур (контур попереднього резонансного підсилювача, який вважаємо ідентичним розглянутого),ое - еквівалентна провідність вхідного контуру, що враховує середнє значення, що вноситься до вхідної провідності. При k вуст = 1 спотворення вхідного контуру (і ОС в резонансному підсилювачі) відсутні. Зазвичай вважають. Таким чином, під стійкістю резонансного підсилювача розуміють допустиму деформацію АЧХ вхідного контуру.

Враховуючи і виробляючи деякі перетворення, висловимо коефіцієнт стійкості через параметри підсилювача:

. (3.6)

При цьому для будь-якого резонансного підсилювача можна знайти таке значення резонансного коефіцієнта підсилення К 0, при якому він буде працювати стійко, тобто із заданим коефіцієнтом стійкості k уст:

. (3.7)

Стійкий коефіцієнт посилення K уст очевидно тим вище, чим більше відношення.

При перебудові резонансного підсилювача по діапазону, перевірку на стійкість слід проводити на верхній частоті діапазону, так як з підвищенням частоти, стійкість падає (через частотні залежності провідності ОС). /4/

4. Транзисторний резонансний підсилювач потужності

резонансний підсилювач транзистор

У наш час, в проміжних і вихідних каскадах радіопередавальних пристроїв, які працюють в різних частотах діапазону, широко використовуються резонансні підсилювачі потужності.

Підсилювачем потужності радіосигналів називається пристрій, який перетворює енергію джерела постійного струму в енергію високочастотних

коливань, для забезпечення заданої потужності цих коливань на виході підсилювача. Підсилювач потужності характеризується в загальному випадку рядом показників: вихідною потужністю, коефіцієнтом підсилення потужності і корисної дії, діапазоном робочих частот, амплітудно-частотною характеристикою, рівнем нелінійних спотворень і власних шумів./6/

Важливою проблемою при проектуванні транзисторних підсилювачів потужності є забезпечення їх стійкості. Виникнення паразитних коливань може призвести до різних небачених явищ: паразитній модуляції, зниження корисної потужності, шкідливому випроміненю, складності налаштування підсилювача потужності і, що особливо небезпечно, виходу з ладу транзисторів.

Нестійкість підсилювача, може бути зумовлена різними факторами: тепловим оберненим зв'язком в транзисторі, внутрішнім оберненим зв’язком через ємності активної і пасивної частини колекторного переходу і паразитні реактивні параметри транзистора, нелінійності ємності p-n переходів, негативними опорами, зв’язаними з прольотними ефектами, лавиноподібним розмеженям і т.п.

В каскадах підсилювачів потужності радіосигналів різні динамічні режими, особливості яких, обумовлені видом характеристики передачі Ik=f(Uке). Отже РПП можуть працювати в трьох режимах: недонапруженому, граничному(критичному), і перенапруженому.

Підсилювачі потужності в загальному випадку можуть працювати як з відсіканням струмів, так і без відсікання./6/

При заданій вихідній потужності, критичний режим підсилювача потужності буде ефективніше, чим вище коефіцієнт корисної дії і коефіцієнт підсилення потужності. Однак умови, що відповідають максимальним значенням того чи іншого показника, не співпадають. Це призводить до необхідності рішення задач оптимального режиму підсилювача потужності, тобто знаходження компромісних умов, при яких забезпечується найбільш вигідне співвідношення енергетичних характеристик з урахуванням граничних експлуатаційних параметрів транзисторів.

За вихідні данні при розрахунку РПП приймаються довідкові відомості про граничний режим, статичні характеристики, максимальні частотні параметри і характеристика нелінійних якостей транзистора./6/

5. Вибір транзистора для РПП

Завдання гармонійного аналізу зводиться до визначення форми і спектру імпульсного струму, при заданій формі напруги. Повний аналіз процесів і розрахунків підсилювача в нелінійному режимі на високих частотах є доволі складним та громіздким. Тому робиться ряд доволі серйозних спрощень, що дозволяє приблизити методику розрахунку транзисторних схем до традиційних лампових.

За вихідні данні при аналізі і розрахунку, приймаються довідникові дані (відомості) про граничні характеристики, частотні параметри і характеристики нелінійних властивостей транзистора./4,5/

Отже, в першу чергу нам необхідно вибрати транзистор. Вхідними даними для вибору транзистора є робоча частота f=90 МГц і потужність в навантажені, яку ми за рекомендаціями беремо в 1,1ё1,2 рази більше Р1=(1,1 - 1,2)Рн, враховуючи можливі втрати на розсіювання. Отже Р1=0,18 Вт

Користуючись даними рекомендаціями і обмеженнями вибираємо транзистор великої потужності, середньої частоти КТ 805Б. Для реалізації резонансного підсилювача потужності враховуючи рекомендації і обмеження, а також те, що транзистор великої потужності ми обираємо Н - схему РПП з спільним емітером (дане включення дозволяє отримати більший коефіцієнт потужності і меншу реакцію вхідного кола на вхід).

6. Розрахункова частина

Використовуючи вхідні данні та схему (Додаток Г) проведемо розрахунки схеми :

№п/п

Величина

Параметр

Номінал

Розмірність

1.

f

Робоча частота

90

МГц

2.

Потужність в навантаженні

0,15

Вт

3.

Ек

Напруга живлення

12

В

4.

Хвильовий опір фідера

12

Ом

5.

Вихідний опір попередньго каскаду

75

Ом


Вихідні дані транзистора

№п/п

Величина

Параметр

Номінал

Розмірність

1.

Sk

Крутизна характеристики

0,3

А/В

2.

Eуб

Напруга відсікання

0,2

В

3.

h21е

Коефіцієнт передачі струму

20


4.

b0

Низькочастотне значення h21е

20


5.

Ск

Ємність колекторного переходу

4,1

пФ

6.

fгр

Гранична частота транзистора

20

МГц


Визначимо ємність активної області колекторного переходу.

Ска = Ск/(1+Кс) = ()=1,36пФ

Визначимо ємність пасивної області колекторного переходу з врахуванням ємності між виводами колектора і бази.

Скп=Ск - Ска = (4,1-1,36)*10-12=2,74пФ

Так як tк=rуб*Ска, знаходимо омічний опір бази.

=16,09 Ом

Знаходимо омічний опір емітера

=0,766Ом

Висновок

У ході виконання курсового проекту, було розглянуто такий радіотехнічний прилад, як резонансний підсилювач. Було розглянуто найпростіші резонансні підсилювачі, їх будову , проведено розрахунки по визначенню певних параметрів схеми. Розглядалось місце використання та принцип роботи резонансних підсилювачів. Роботу виконано згідно до вимог, а мету курсового проекту досягнуто.

Список використаної літератури

1. С.Р. Баширов «Современные усилители в помощь радиолюбителю»

. И.Греков «Резонанс», Вільна енциклопедія (вікіпедія) «#"730464.files/image020.jpg">

Схема одноконтурного, транзисторного, резонансного підсилювача з автотрансформаторним зв'язком у контурі.

Додаток Б

Активний лінійний чотирьохполюсник

Додаток В

Подальший каскад, що є навантаженням

Додаток Г

Схема яка використовується для розрахунків

Похожие работы на - Розрахунок резонансного підсилювача

 

Не нашли материал для своей работы?
Поможем написать уникальную работу
Без плагиата!
Без нейросетей!