Разработка модельной конструкции и проектно-конструкторской документации женской одежды
Министерство образования и науки
Российской Федерации
ФЕДЕРАЛЬНОЕ Государственное БЮДЖЕТНОЕ
образовательное учреждение высшего профессионального образования
«Санкт-Петербургский государственный
университет технологии и Дизайна»
Факультет (институт) Региональный
институт непрерывного
профессионального образования
Специальность 260902.65
«Конструирование швейных изделий»
Выпускающая кафедра Конструирования и
технологии швейных изделий
Допустить к
защите
Заведующий
кафедрой_____________________
ВЫПУСКНАЯ КВАЛИФИКАЦИОННАЯ РАБОТА
(пояснительная записка)
на тему «Разработка модельной
конструкции и проектно-конструкторской документации женской одежды
Исполнитель -
студент учебной группы_______5-РЗ-1с____________
Сидорова
Александра Евгеньевна____________________________
к.т.н.,
доцент Моргоева Ирма Юрьевна
Консультанты:
Эскизный проект асс.Синявская К. В.
Материаловедение
к.т.н. доцент Лебедева Г.Г.
Конструкторско-технологическая
часть к.т.н.доцент Моргоева И.Ю. Безопасность жизнедеятельности к.т.н.,доцент
Хлебникова Е.Л.
Экономическая
часть_________________________к.т.н.,доцент Петрова И.Е.
Нормоконтролер_____________________к.т.н.
доцент Моргоева И.Ю.
Санкт-Петербург
Министерство образования и науки
Российской Федерации
ФЕДЕРАЛЬНОЕ Государственное БЮДЖЕТНОЕ
образовательное учреждение
высшего профессионального образования
«Санкт-Петербургский государственный
университет технологии и Дизайна»
Утверждаю Кафедра
Конструирования и___
"______"________________20 г. технологии
швейных ___
Заведующий кафедрой______________ изделий ____________
ЗАДАНИЕ
на выпускную
квалификационную работу
Студенту Сидоровой Александре Евгеньевне _
. Тема выпускной квалификационной работы Разработка модельной конструкции
и проектно-конструкторской документации женской одежды утверждена приказом
ректора _от 20.11.2013 № № 2236-ст_ __
. Срок сдачи студентом законченной выпускной квалификационной работы
22.01.2014
. Исходные данные по выпускной квалификационной работе
Разработка зимнего женского пальто из шерстяной пальтовой ткани с меховым
воротником из натурального меха енота, с использованием утепляющего
прокладочного материала, используя САПР «Grafis», где расчеты произведены на
основе методики ЕМКО СЭВ
. Перечень подлежащих разработке в выпускной квалификационной работе
вопросов или краткое содержание выпускной квалификационной работы
Эскизный проект
Выбор и характеристика материалов
Конструкторско-технологическая часть
.1 Расчет параметров и построение исходной модельной конструкции
.2 Построение модельной конструкции
.3 Примерка макета и корректировка чертежей основных деталей
.4 Разработка методов обработки деталей и всех узлов
.5 Разработка рабочей документации на изделие
Экономическая часть
Безопасность жизнедеятельности
Реферат
Дипломный проект содержит пояснительную записку и графическую часть.
Пояснительная записка изложена на 106 страницах печатного текста, содержит 35
рисунков, 22 таблиц и 4 приложения. Список использованных источников составляет
11 наименований.
Ключевые слова:
ЗИМНЕЕ ПАЛЬТО, МОДА, МЕХ, МАТЕРИАЛЫ, КОНСТРУИРОВАНИЕ, МОДЕЛИРОВАНИЕ, САПР
GRAFIS, МЕТОДЫ ОБРАБОТКИ, ЛЕКАЛА, ГРАДАЦИЯ, СЕБЕСТОИМОСТЬ ИЗДЕЛИЯ, БЕЗОПАСНОСТЬ
ЖИЗНЕДЕЯТЕЛЬНОСТИ.
Объектом исследования является женское зимнее пальто.
Итогом выпускной квалификационной работы является разработка полного
комплекта лекал разрабатываемой модели, готовое изделие женского зимнего пальто
и расчет необходимых технико-экономических показателей, обосновывающих
целесообразность проектируемого изделия.
Содержание
Введение
. Эскизный проект
.1 Анализ направлений моды на зимние пальто 2013-2014. Анализ
моделей - аналогов
.2 Требования, предъявляемые к изделию
.3 Разработка эскизов и характеристика коллекции моделей
.4 Выбор и обоснование выбора модели
. Выбор и характеристика материалов
.1 Ассортимент и модные тенденции в материалах
.2 Требования, предъявляемые к пакету материалов
.3 Характеристика ассортимента основных, подкладочных,
прокладочных и утепляющих материалов, швейных ниток и фурнитуры
. Конструкторско-технологическая часть
.1 Расчет параметров и построение исходной модельной
конструкции
.1.1 Исходные данные для построения чертежа
.1.2 Расчет и построение исходной модельной конструкции
.2 Построение модельной конструкции
.3 Примерка макета и корректировка чертежей основных деталей
.4 Разработка методов обработки деталей и всех узлов
.5 Разработка рабочей документации на изделие
.5.1 Изготовление комплекта лекал
.5.2 Спецификация лекал
.5.3 Градация лекал
. Экономическая часть
.1 Характеристика выпускаемой продукции
.2 Исследование спроса на товар
.2.1 Сегментация рынка по основным потребителям и по
параметрам продукции
4.2.2 Оценка конкурентоспособности
продукции
4.3 Планирование себестоимости продукции
.3.1 Расчет затрат на основные материалы
.3.2 Расчёт себестоимости единицы продукции
.4 Определение ценовой политики предприятия
.4.1. Постановка задач ценообразования
.4.2 Выбор метода ценообразования и установление цены товара
. Безопасность жизнедеятельности
.1 Разработка защитных мероприятий от статического
электричества
.1.1 Статическое электричество и основные причины его
появления при переработке текстильных полотен
.1.2 Действие статического электричества на организм человека
и технологические процессы швейного производства
.1.3 Анализ основных проблем, связанных с накоплением
электростатических зарядов на изделиях одежды
.1.4 Методы борьбы с негативным влиянием статического
электричества (Выводы и рекомендации)
Заключение
Список использованных источников
Приложения
Приложения 1 - Техническое описание модели
Приложения 2 - Конфекционная карта
Приложение 3 - Табель технических измерений
Приложение 4 - Технологическая последовательность обработки
изделия
Введение
Верхняя одежда предназначена главным образом для защиты человека от
воздействий окружающей среды, особенно в период зимних холодов и морозов. Тогда
встает вопрос о выборе наиболее удовлетворяющих видов верхней одежды, из
которых пальто является самым распространенным. Пальто - практичная, удобная и
теплая вещь, являющаяся уже многие годы неотъемлемой часть гардероба каждой
женщины. Их ассортимент очень разнообразен, в коллекциях популярных брендов
каждый сезон представляется множество стильных моделей пальто, как
классические, так и экстровагантные. Поэтому каждая представительница
прекрасного пола без труда сможет подобрать себе пальто требующегося стиля и
покроя.
В нынешнем сезоне зима 2013-2014 женские пальто все также находятся на
пике популярности. Все модные дизайнеры предлагают огромнейшее разнообразие
форм, силуэтов, фасонов, цветов и материалов. Именно поэтому для выполнения
выпускной квалификационной работы из всех ассортиментов одежды и было выбрано
женское зимнее пальто.
Цель работы - применение полученных знаний и практических навыков при
решении определенных конструкторских задач.
Задача работы - разработка конструкции и конструкторско-технической
документации модели женского зимнего пальто, выбранной на основе анализа
моделей - аналогов, и расчет технико-экономических показателей изделия.
. Эскизный проект
Женская верхняя одежда очень разнообразна, в коллекциях популярных брендов
представлено множество стильных моделей пальто. Модные тенденции дают
возможность широкого выбора красивых моделей. Поэтому для выбора одной
определенной модели из столь обширного ассортимента и производиться разработка
эскизного проекта - проводиться анализ современных направлений моды и
разрабатывается коллекция моделей-предложений.
1.1 Анализ направлений моды на зимние пальто
2013 - 2014. Анализ моделей - аналогов
Тенденции этого сезона тяготеют к классическим формам. В новых коллекциях
женских пальто основными темами стали два направления: прямые и А-силуэты 70-х
с их летящим кроем, женственная элегантность 60-х, воплощенная через
минимализм. Пальто имеют две актуальные длины. Это макси и длина до уровня
колен. Модели в пол - женственные, романтичные и очень теплые, но пальто макси
не относится к разряду практичной одежды - они легко пачкаются и за всё
цепляются. Пальто длиной до колена более практичны. Одной из популярных
новинок, выполненной в этой длине, стала двубортная модель прямого или приталенного
силуэта в стиле «милитари» с характерной для него фурнитурой. Двубортное пальто
- наиболее часто встречающийся вариант верхней одежды во многих модных
коллекциях. Оно может иметь разный силуэт. Такое пальто в классической гамме
прекрасно вписывается в деловой стиль одежды, но и легко преображается в
вечерний наряд за счет нескольких аксессуаров: платка, шарфа или броши. Слегка
расходящийся силуэт прекрасно ложится по фигуре.
Особенно актуальны приталенные и трапециевидные силуэты. Трендовые пальто
отличают такие броские детали и характерные тенденции, как роскошная отделка
мехом или кружевом, печатные узоры, лацканы, широкие рукава и отсутствие
застежки, которая заменена ремешками, кроем с запахом или скрыта от глаз. Эти
лаконичные пальто, выполненные в стиле минимализма, широко представлены в
дизайнерских коллекциях. Особенностями стиля минимализм являются - строгий и
лаконичный крой, отсутствие декоративных деталей, монохромность, мягкость и
гладкость материалов, высокое качество исполнения.
Модная цветовая гамма верхней одежды 2013-2014 очень разнообразна.
Предпочтение отдается ярким расцветкам: от голубого, красного, желтого,
розового, фиолетового до классических цветов - коричневого, горчичного,
бордового. Не стоит забывать и о черном, белом и контрастах: цветные блоки и
черно-белые сочетания все также актуальны. Из модных принтов можно отметить
анималистический стиль, то есть пальто с изображениями животных. Среди модных
расцветок и принтов популярны леопардовые, фантастические геометрические и тянущие
обратно в лето цветочные. И самым настоящим «писком» моды стала клетка, причем
мода на пальто зима 2013-2014 настаивает на том, чтобы клетка была
преимущественно красной. На второй план отходит клетка серая, коричневая и
синяя. Рапорт может быть крупным и мелким, разных видов этого модного принта
[1].
Модные материалы для пальто 2013 очень разнообразны.
Шерсть - традиционный материал для пальто - великолепно согревает. Например,
твид - материал из плотной шерсти, который хорошо драпируется и не утяжеляет
фигуру. Пальто из кашемира производит впечатление - мягкие идеальные линии,
легкость драпировки, элегантность и роскошь. Однако подходит только для более
легких пальто, без плотных подстежек.
В качестве отделки в основном используются мех, кожа и отличающиеся по
цветовой гамме самые разнообразные материалы. Варианты отделок могут быть
самыми разными: от больших блочных вставок до воротника, манжетов и подола. А
так же в этом сезоне широко используются различные виды вышивки либо отделки
кружевом по краю борта, низу рукава и низу изделия [1]. Пальто с роскошной
отделкой кружевом, отличающимся по цветовой гамме с основной тканью верха
представлено на рисунке 4. Но особым успехом пользуются пальто с меховой
отделкой, особенно с меховым воротником (рисунок 5). И это не удивительно, ведь
пальто - практичная и теплая вещь в гардеробе любой девушки, а меховой воротник
- стильный и элегантный вид отделки, предающий всему образу роскоши и изобилия.
Актуальны меха песца, лисы, норки, каракуля и енота. В моде воротники различных
форм, крупных размеров, а также воротники-хомуты. Съемные или отстегивающиеся
меховые воротники - это универсальный аксессуар, который можно носить поверх
обычного пальто или любой верхней одежды. Отделка из меха никогда не выйдет из
моды, и будет пользоваться популярностью, как на подиуме, так и в городской
моде.
Главным дополнением к любому пальто станут правильно подобранные
аксессуары - обувь, сумка, шарфы, перчатки и так далее. Так как в данном сезоне
представлены и распашные пальто без пуговиц, которые запахиваются как халаты,
большое внимание уделяется поясам. Аксессуары, гармонирующие с основным
изделием, должны подчеркивать его красоту и индивидуальность, и не привлекать
основное внимание к себе, так как приветствуется минимализм. Никакого сложного
кроя, избытка аксессуаров и лишних деталей [1].
.2 Требования, предъявляемые к изделию
Любое изделие должно соответствовать ряду потребительских и промышленных
требований, но в первую очередь изделие должно отвечать своему назначению.
Зимняя верхняя одежда предназначена главным образом для защиты человека от
холода, ветра и снега. Проектируемое изделие - женское зимнее пальто
соответствует своему назначению благодаря правильно подобранному пакету
материалов, то есть изделие соответствует и функциональным показателям -
выбранные материалы соответствуют целевому назначению данного вида изделия.
Также проектируемое изделие соответствует показателям социального назначения.
Оно разработано для женской части населения средней возрастной группы и имеет
малую степень морального износа, так как не является экстровагантной моделью.
Немаловажными требованиями, предъявляемыми к изделию, являются
эстетические требования. Разрабатываемая модель отвечает данным требованиям,
так как тенденции этого сезона тяготеют к классическим формам и минимализму, а
главной особенностью трендовых пальто данного сезона являются такие броские
детали, как, например, роскошная отделка мехом.
К потребительским требованиям также относятся эргономические и
эксплуатационные требования, которые в большей части зависят от выбранных
материалов. Основной тканью проектируемого изделия выбрана шерстяная пальтовая
ткань, которая имеет хорошие гигиенические свойства, что позволит обеспечить
нормальную жизнедеятельность организма, то есть кожное дыхание, выделение пота
и так далее. Проектируемое изделие длиной до колен и с длинным рукавом защитит
человека от воздействия окружающей среды, холода, химических и механических
воздействий. Прочность и малая сминаемость ткани сохранят хороший внешний вид
изделия в процессе эксплуатации.
Проектируемое изделие также отвечает промышленным требованиям. Так как
выбранная основная ткань является гладкокрашенной, она не требует большой
подгонки при раскрое деталей, что значительно снижает расход материала и,
соответственно, стоимость готового изделия. Также данная модель является
технологичной, так как в ней нет узлов, затрудняющих ее обработку, что снижает
время на изготовление изделия.
Разрабатываемая модель соответствует и потребительским, и промышленным требованиям,
поэтому изготовление ее в условиях серийного производства и сбыт изделий
экономически целесообразны.
1.3 Разработка эскизов и характеристика
коллекции моделей
Период зимних холодов и морозов является испытанием для человеческого
организма. В это суровое время года важнее всего избежать простуды и
переохлаждения. Чтобы быть зимой активным и радоваться снежной поре, в первую
очередь необходимо тепло одеваться, так как одежда является главной защитой
человека от мороза, ветра и снега. Из всех материалов наивысшими теплозащитными
свойствами обладают натуральные меха. Именно поэтому в период зимних холодов и
морозов хочется закутаться в мягкий, пушистый, приятный на ощупь мех и быть
уверенным в защите своего здоровья. А также очень важны эстетические свойства
натурального меха, он удивительно красивый и стильный. Поэтому именно
натуральный мех стал источником вдохновения для создания коллекции моделей
зимних женских пальто.
На основе анализа направлений моды и моделей - аналогов была создана
коллекция моделей - предложений методом конструктивного моделирования одежды
без изменения формы изделия, то есть на основе одной базовой конструкции.
Разработанная коллекция моделей - предложений представлена на рисунках 6
- 11.
При данном методе конструктивного моделирования преобразованию
подвергались:
размеры и контуры застежки ( лацкана, борта, конца воротника, количество
и размещение петель и пуговиц )
расположение и форма карманов
длина изделия и его рукава
добавлялись или убирались различные мелкие детали (манжета рукава, баска,
шлевки, пояс)
переносились линии членения, объединялись детали (исключение швов) и
производилось дополнительное их расчленение на детали меньших размеров
добавлялась или убиралась отделка мехом.
Характерными особенностями всех моделей данной коллекции является
приталенный силуэт и втачной двушовный рукав. За счет измененных элементов
коллекция не смотрится однообразной. Каждая модель индивидуальная, стильная,
женственная и изящная.
1.4 Выбор и обоснование выбора модели для
дальнейшей проработки
Из разработанной коллекции моделей-предложений для дальнейшей проработки
была выбрана одна основная модель 1 (приложение 1) .
Выбранная модель женского пальто отвечает всем требованиям, предъявляемым
к данному ассортименту. В первую очередь данное изделие соответствует своему
назначению и эстетическим требованиям. Она полностью подходит для изготовления
в условиях массового производства, поскольку разработанная конструкция является
технологически рациональной и экономичной при раскладке лекал за счет
достаточного количества деталей различной формы хорошо сопрягающихся между
собой.
Это и характеризует рациональность и экономичность производства изделий
промышленным способом. Модель также не имеет узлов, осложняющих обработку
изделия, что снижает время на её изготовление, а также стоимость готового
изделия.
Правильно подобранные материалы, предложенные для данного изделия,
которые будут описаны далее, позволят данному разрабатываемому изделию отвечать
важным потребительским требованиям - гигиеническим и эксплуатационным, что
обеспечит нормальную жизнедеятельность организма (кожное дыхание, выделение
пота и так далее) и сохранение формы и внешнего вида изделия в процессе
эксплуатации.
2. Выбор и характеристика материалов
При проектировании и производстве одежды необходимо учитывать свойства
материалов, уметь делать выбор материалов в соответствии с моделью.
Выбор материалов, необходимых для пошива одежды, является очень важным
моментом при ее изготовлении. Необходимо уметь правильно выбирать материалы для
изделия, что во многом гарантирует качественный пошив.
Выбор материалов будет правильным и обоснованным, если основная ткань
будет отвечать назначению изделия, а другие составляющие материалы по своим
свойствам соответствовать свойствам основного материала.
Правильный выбор материалов обеспечивает хороший внешний вид изделию,
требуемую формоустойчивость, удобство в носке, износостойкость, а значит
высокое качество швейного изделия.
Успешное решение этой задачи предполагает четкое формулирование требований,
предъявляемым к материалам для данного изделия, установление основных
характеристик свойств, по показателям которых следует выбирать материалы,
определение фактических свойств материала и их соответствие установленным
нормам [2].
Для того, чтобы правильно произвести выбор материалов на изделие,
необходимо знать ассортимент всех основных групп материалов, используемых в
швейном производстве и требования, предъявляемые к этим материалам.
Выбор материалов (основного, подкладочного, прокладочного, прикладного,
фурнитуры и отделки) для каждой модели изделия осуществляется таким образом,
чтобы обеспечить рациональное сочетание свойств текстильных материалов в пакете
швейного изделия. При этом необходимо из чрезвычайно широкого ассортимента
материалов выбрать такие, которые, с одной стороны, отвечают всем необходимым
требованиям качества одежды и современным направлениям моды, а с другой
стороны, обеспечат экономичность изделия, дадут возможность рекомендовать
разработанную конструкцию и технологию, установить правильные режимы обработки
и в результате иметь конкурентноспособное, качественно изготовленное и
отвечающее всем предъявляемым требованиям изделие.
2.1 Ассортимент и модные тенденции материалов
Ассортимент пальтовых тканей весьма разнообразен. Наибольшее количество
пальтовых тканей представлено в ассортименте шерстяных тканей, наименьшее - в
ассортименте хлопчатобумажных и шелковых. В зависимости от времени года
пальтовые ткани могут быть подразделены на летние, демисезонные и зимние.
Пальтовые ткани вырабатывают полотняным, саржевым, сатиновым, комбинированным,
мелкоузорчатым, двухлицевым и двухслойным переплетениями с поверхностной
плотностью от 280 до 650 г/мІ, шириной 140-150 см. По характеру отделки и
расцветки пальтовые ткани могут быть с незначительной увалкой или сильно
увалянные, ворсовые, гладкокрашеные, меланжевые и пестротканые. В зависимости
от структуры, волокнистого состава и характера отделки пальтовые ткани обладают
различными свойствами: они могут быть мягкими или жесткими, обладать хорошей
или недостаточной формоустойчивостью, высокими или средними теплозащитными
свойствами и высокой износостойкостью (особенно ткани с содержанием капроновых
и лавсановых волокон).
Шерстяные ткани в ассортименте пальтовых материалов по широте использования
занимают первое место. Шерстяные и полушерстяные пальтовые материалы всегда
актуальны, практичны и модны. Так и в этом сезоне зима 2013-2014 шерстяные
пальтовые материалы очень популярны.
Для зимних пальто и полупальто лучшими тканями являются шерсть, шерсть с
кашемиром, шерсть с мохером, пальтовый твид, пальтовый кашемир и верблюжья
шерсть. Мягкие, пластичные, легко драпируемые, они обладают высокой
износостойкостью и хорошими теплозащитными свойствами. Также пользуются большой
популярностью ткани с небольшим ворсом, например, мохер, альпака или бархат.
Пальто из бархата выглядит очень шикарно, от него веет роскошью. Верблюжья
шерсть очень ноская и теплая, мягче чем шерсть, но чуть грубее и жестче чем
кашемир. Пальто из кашемира производит огромное впечатление - мягкие идеальные
линии, легкость драпировки, элегантность и роскошь. Однако подходит только для
более легких пальто.
2.2 Требования, предъявляемые к материалам
Для обеспечения высокого качества разрабатываемого изделия необходимо
правильно подобрать пакет материалов. Для этого необходимо знать ассортимент
всех основных групп материалов и требования, предъявляемые к ним. К материалам,
используемых для изготовления зимних пальто, предъявляются следующие
требования:
Основными требованиями для пальтовых тканей являются:
соответствие внешнего вида современному направлению моды
хорошая теплозащитность
низкая воздухопроницаемость
высокая износостойкость
оптимальная влагопроводность
формоустойчивость
несминаемость
устойчивость к химчисткам.
Теплозащитные свойства материалов связаны с их структурой и определяются
их толщиной и воздухопроницаемостью. Чем толще, пушистее материал, тем он
теплее. На теплозащитность материалов оказывает влияние показатели
воздухопроницаемости: чем больше воздухопроницаемость, тем хуже теплозащитные
свойства тканей. Значит для пальтовых материалов не желательны разреженные
структуры. На показатели теплозащитности влияет и гигроскопичность. С
повышением влажности материалов снижается их тепловое сопротивление и
увеличивается теплопроводность. По этой причине к гигроскопичным шерстяным
тканям добавляют химические волокна, в основном нитрона или вискозы.
Подкладочные материалы оформляют одежду с изнаночной стороны и
предохраняют ее от износа и загрязнения. В процессе эксплуатации материалы для
подкладки подвергаются интенсивному трению. Они должны отвечать требованиям
надежности - быть прочными и износостойкими; эргономическим требованиям,
обеспечивающим комфорт при ношении; эстетическим требованиям - иметь хороший
внешний вид; технологическим требованиям - не вызывать затруднений при
технологической обработке.
Подкладочные материалы должны обладать следующими свойствами:
быть легкими
иметь гладкую поверхность (для обеспечения удобства пользования одеждой)
быть стойкими к истиранию
иметь окраску, устойчивую к сухому и мокрому трению, действию пота, ВТО и
другим воздействиям
не вызывать затруднений в процессе технологической обработки
не обладать большой осыпаемостью и раздвижкой нитей в швах
обладать хорошими гигиеническими свойствами
иметь малую сминаемость
не должны электризоваться.
При выборе подкладочных материалов очень важно, чтобы свойства
подкладочных материалов соответствовали свойствам основного материала. Они
должны иметь одинаковую усадку, в противном случае после стирки большая усадка
подкладочной или основной ткани может привести к деформации одежды.
Прокладочные материалы при изготовлении верхней зимней одежды используют
для придания деталям одежды формоустойчивости и для дополнительной защиты от
ветра и пониженных температур.
К ним предъявляются следующие требования:
способность к формообразованию и формозакреплению
низкая воздухопроницаемость
хорошая гигроскопичность и паропроницаемость
легкость и упругость
соответствие усадке основной ткани.
Для повышения теплозащитных свойств зимних видов одежды используют
различные утепляющие материалы. Выбор таких материалов производится согласно
свойствам основного материала и зависит от условий эксплуатации одежды и ее
назначения.
Основными требованиями к утепляющим материалам являются:
теплозащитность
низкая воздухопроницаемость
хорошая гигроскопичность
легкость
мягкость
небольшая толщина [2].
2.3 Общая характеристика ассортимента основных,
подкладочных и прокладочных материалов, швейных ниток и фурнитуры
Пакет материалов, предлагаемый для изготовления разрабатываемого изделия,
подобран с учетом всех характеристик каждого из материалов.
Основные показатели свойств выбранных материалов, отвечающих
разработанным требованиям, а также их взаимозаменяемых материалов представлены
в таблицах 1-5.
Таблица 1 - Физико-механические показатели основных материалов
|
Ткань, артикул
|
Волокнистый состав, %
|
Ширина, см
|
Поверхностная плотность, г/м кв
|
Число нитей на 10 см
|
Вид переплетения
|
Отделка
|
|
|
|
|
Основа
|
Уток
|
|
|
|
Micra/BA АР 20
|
95% шерсть 5%кашемир
|
150
|
450
|
240
|
200
|
Сатино-вое
|
Гладко-крашенная
|
|
CF 813
|
90% шерсть 7% шелк 3%ПЭ
|
145
|
440
|
218
|
190
|
Саржевое
|
Гладко-крашенная
|
|
Tosca
|
85% шерсть 15%кашемир
|
148
|
465
|
248
|
220
|
Саржевое
|
Гладко-крашенная
|
Подкладочный материал подбирается в соответствии с характеристиками и
расцветкой основного материала. Показатели характеристик подобранных
подкладочных, а также их взаимозаменяющих материалов, представлены в таблице 2.
Таблица 2 - Физико-механические показатели подкладочных материалов
|
Наименование, артикул
|
Волокнистый состав
|
Ширина, см
|
Поверхностная плотность, г/м кв
|
Число нитей на 10 см
|
Вид переплетения
|
|
|
|
|
Основа
|
Уток
|
|
|
6447 Flower Sali
|
65%вискоза 35% ацетат
|
140
|
110
|
770
|
290
|
жаккардовое
|
|
6155Jacquard «Cesar»
|
50%вискоза 50% ацетат
|
140
|
100
|
380
|
240
|
жаккардовое
|
|
8403Jacquard «Ranke»
|
70%вискоза 30% ПЭ
|
140
|
110
|
310
|
260
|
саржевое
|
Прокладочные материалы выбраны в соответствии с поверхностной плотностью
и расцветкой основной ткани. Характеристики прокладочных материалов
представлены в таблице 3.
Таблица 3 - Физико-механические показатели прокладочных материалов
|
Ткань, артикул
|
Ширина, см
|
Поверхностная плотность, г/м кв
|
Волокнистый состав, %
|
Вид и способ нанесения клея
|
Назначение
|
|
Арт. 2275/193
|
150
|
60
|
73% вискоза, 27% пэ
|
Двойное точечное порош-ковое покрытие
|
Для фронтального дублирования, для придания
формоустойчивости мелким деталям, для предохране-ния отдельных участков
изделия от растяжения
|
|
Куфнер R6611G53
|
145
|
70
|
Основа - полиэфир, Уток-вискоза
|
Двойное то-чечное пок-рытие Double-Snot
|
|
|
Куфнер В471N57
|
150
|
60
|
100% полиэфир
|
Двойное то-чечное пок-рытие Double-Snot
|
|
При выборе утепляющего материала самыми важными характеристиками были
высокая теплозащитность, легкость и небольшая толщина. Утепляющий материал
подобран в тон основного и подкладочного материалов.
Характеристики подобранных утепляющих материалов, а также их
взаимозаменяющих, рассмотрены в таблице 4.
Таблица 4 - Физико-механические показатели утепляющих материалов
|
Наименование, артикул
|
Ширина, см
|
Волокнистый состав, %
|
Толщина, мм
|
Применение
|
|
Zelwolwaterline
|
150
|
60% - шерсть 40% - вискоза
|
2
|
Применяются в зимних видах одежд для создания воздушной
прослойки, для сохранения оптимальной температуры тела
|
|
Valtherm
|
100
|
100% полиэстр
|
2,5
|
|
|
Савафилл SAW
|
100
|
100% полиэстр
|
1,7
|
|
Швейные нитки являются основным скрепляющим материалом для соединения
отдельных деталей одежды, могут служить и в качестве отделочного материала.
Большое влияние на качество ниточных соединений оказывает правильный выбор
технологического оборудования: класса швейной машины, типа, диаметра и формы
заточки иглы, натяжения нитей, скорости вращения главного вала швейной машины.
Качество ниточного соединения обеспечивается рациональными
технологическими параметрами выполнения строчек и правильно подобранными
характеристиками, то есть физико-механическими показателями, швейных ниток.
Характеристики подобранных швейных ниток, а также их взаимозаменяющих,
рассмотрены в таблице 5.
Таблица 5 - Физико-механические показатели швейных ниток
|
Условное обозначение, торговый номер
|
Результирующая номинальная линейная плотность ниток, Тн
текс
|
Допускаемое относительное отклонение результирующей
кондиционной линейной плотности ниток от результирующей номинальной линейной
плотности, %
|
Разрывная нагрузка нитки при испытании методом разрыва
одной нити, не менее сН
|
Коэффициент вариации по разрывной нагрузке, % не более
|
Удлинение ниток при разрыве, %, не более
|
Применение
|
|
45 ЛЛ
|
43,5
|
± 6
|
1725
|
7,5
|
17-18
|
Для изгото-влений швейных изделий, соединения деталий
верха, подкладки и утеплителя
|
|
44 ЛХ
|
45,0
|
± 5
|
1620
|
8,0
|
17-18
|
|
|
10 хб
|
103
|
± 6
|
2195
|
8,0
|
7-9
|
|
В качестве отделочного материала для воротника выбран натуральный мех
енотовидной собаки. Этот мех красивый, объемный, теплый и пушистый, с длинной
грубоватой на ощупь остью и мягкой подпушью, уютный и очень теплый. Мех
енотовидной собаки обладает пластичностью, является наиболее износостойким,
отлично отталкивает влагу. А современные технологии обработки меха позволили
создать легкий и теплый мех, который долго сохраняет форму, блеск и густоту
ворса.
Фурнитура - вспомогательные детали, необходимые в швейном производстве.
Фурнитура служит для застегивания швейных изделий, прикрепления, упрочнения
деталей этих изделий, а также для удобства эксплуатации одежды. К фурнитуре
швейного производства относятся пуговицы, застежки-молнии, кнопки, крючки,
петли, пряжки и тому подобное.
Для проектируемой модели женского зимнего пальто используется следующая
фурнитура: металлические кнопки диаметром 22 мм для застежки пальто и круглые
пластмассовые пуговицы диаметром 17мм для шлицы рукава; пуговицы подобраны в
цвет отделочного материала - натурального меха.
В заключении на основании анализа ассортимента материалов, используемых
для изготовления зимней верхней женской одежды, и изученных требований,
предъявляемых к данному виду изделий, были подобраны рекомендуемые варианты
решения пакета материалов для зимнего пальто, представленные в таблицах ранее.
Материалы верха, подкладочные, прокладочные и утепляющие сочетаются друг с
другом, отвечают изученным требованиям и взаимозаменяемы.
На этапе проектирования, изготовления и эксплуатации данного изделия
необходимо учитывать следующие рекомендации, связанные с особенностями
материалов, выявленных при разработке, раскрое и пошиве изделия :
перед раскроем необходимо провести испытания, рассчитать усадку основной
и подкладочной тканей либо детали верха раскраивать грубым кроем и
оснаравливать их после дублирования, а к деталям из подкладочной ткани при
раскрое добавлять дополнительные припуски 2 см по низу изделия и рукава
готовое изделие рекомендуется подвергать сухой химчистке, во избежание
порчи натурального меха.
3. Конструкторско - технологическая часть
Конструкторско - технологическая часть является основной частью
проектирования изделия. Процесс проектирования новых моделей подразделен на три
этапа:
расчет и построение базовой конструкции
конструктивное моделирование
разработка чертежей лекал новой модельной конструкции.
3.1 Расчет параметров и построение исходной
модельной конструкции (базовой основы)
В данной работе для разработки конструкции женского зимнего пальто была
применена система автоматизированного проектирования одежды - САПР Grafis. Все
чертежи построены в данной программе на основах интерактивных базовых
конструкций переда и спинки, рукава и воротника. Эти основы в программе САПР
Grafis построены по данным, рассчитанным по формулам ЕМКО СЭВ (Единой Методики
Конструирования Одежды Стран Экономической Взаимовыручки) на размер 170-92-100.
Эта методика имеет свою систему обозначения размерных признаков, линий базисной
сетки и конструктивных точек, единую систему и единый способ расчета основных
конструктивных отрезков для различных половозрастных групп населения. Каждой
расчетной формуле в системе отрезков присвоен свой порядковый номер и
разработана единая последовательность конструирования для всех видов одежды. В
ЕМКО СЭВ используются четыре основные прибавки - по груди, к обхвату талии, к
обхвату бедер и к обхвату плеча. Причем прибавка на свободу по линии груди
распределяется по участкам спинки, проймы и полочки в зависимости от ее общей величины.
Ширина базисной сетки плечевого изделия складывается из ширин спинки, проймы и
переда.
3.1.1 Исходные данные для построения чертежа
Величины размерных признаков типовых фигур женщин определяются по ОСТ
17-326-81 «Изделия швейные, трикотажные, меховые. Типовые фигуры женщин.
Размерные признаки для проектирования одежды». Необходимые для расчета базовой
конструкции величины размерных признаков размера 170-92-100 представлены в
таблице 6.
Величины прибавок определяются в зависимости от ассортимента, формы и
силуэта изделия. Выбранные прибавки представлены в таблице 7.
3.1.2 Расчет и построение исходной модельной
конструкции
В соответствии с выбранными величинами размерных признаков типовых фигур
женщин САПР «Grafis» производит автоматический расчет, представленный в таблице
8. На основе данного расчета САПР «Grafis» выдает интерактивную основу
конструкции. Базовая конструкция получается путем преобразования интерактивной
основы конструктором, с методом ввода необходимых прибавок. Чертежи БК представлены
на рисунках 12 и 13. Затем выполняется разработка модельной конструкции
изделия.
3.2 Построение модельной конструкции
После преобразования интерактивных основ программы САПР «Grafis» было
выполнено необходимое техническое моделирование.
Чертежи БК и МК переда, спинки и рукава в масштабе 1:4 представлены на
рисунках 12 и 13.
Рассчитана общая сумма вытачек по линии талии и распределена по ширине
изделия следующим образом: в боковой шов изделия, рельеф на спинке и рельеф на
полочке.
Таблица 6 - Размерная характеристика фигуры 170-92-100
Наименование размерного признака
|
Буквенное обозначение размерного признака
|
Величина размерного признака, см
|
|
Т1 Т13 Т14 Т15 Т16 Т18 Т19 Т28 Т29 Т32 Т33 Т35 Т36 Т38 Т39
Т40 Т43 Т45 Т46 Т47 Т57
|
Рост Обхват шеи Обхват груди первый Обхват груди второй
Обхват груди третий Обхват талии Обхват бедер с учетом выступа живота Обхват
плеча Обхват запястья Длина руки до локтя Длина руки до запястья Высота груди
Длина талии спереди Дуга через высшую точку плечевого сустава Высота проймы
сзади Длина спины до талии Длина спины до линии талии 1 Ширина груди
Расстояние между сосковыми точками Ширина спины Передне-задний диаметр руки
|
Р Ош Ог1 Ог2 Ог3 От Об Оп О зап Д р.лок Д р.зап Вг Д т.п Д
п В прз Д ст Д тс1 Ш г Ц г Ш с d п.р.з
|
170,0 36,4 89,2 96,8 92,0 70,6 100,0 28,7 16,3 45,3 68,9
34,7 53,3 31,3 18,1 41,3 44,3 34,2 19,8 35,6 10,4
|
Таблица 7 - Прибавки
|
Условное обозначение
|
Наименование прибавки
|
Величина, см
|
|
ПГ ПШС ПШГ ПОП П Т П Б ППпп
|
Прибавка по груди Прибавка к ширине спины Прибавка к ширине
груди Прибавка к обхвату плеча Прибавка к обхвату талии Прибавка к обхвату
бедер Прибавка на толщину плечевых накладок
|
19 2,0 1,7 9 15,6 7,6 0,8
|
Таблица 8 - Расчет БК женского зимнего пальто
|
Но-мер сис-темы
|
Обозна-чение отрезка
|
Формула
|
Пока-затель расче-та, см
|
|
1 2 3 4 5 6 7 8 9 13 14 15 17 18
|
11-91 11-21 11-31 11-41 41-51 31-33 33-35 35-37 31-37 33-13
35-15 33-331 331-341 351-341
|
Длина по модели 0,3Т40+П=0,3ДТС+0,5ПДТС=0,3*41,3+0,5*1,0
Т39+П=ВПРЗ+ПСПР=18,1+3,09 Т40+П=ДТС+ПДТС=41,3+1,0 0,5Т40=0,5ДТС=0,5*41,3
0,5Т47+П=0,5ШС+ПШС=0,5*35,6+2,0 /31-37/-(/31-33/+/35-37/)=67,4-(19,8+22)
0,5(Т45+Т15-1,2-Т14)+ПШГ=0,5(34,2+96,8-1,2-89,2)+1,7
0,5Т15+П=0,5ОГ2+ПГ=0,5*96,8+19 0,49Т38+(Побщ+ППпп)=0,49*31,3+(1,85+0,8)
0,43Т38+(Побщ+ППпп)=0,43*31,3+(1,95 +0,8) П 0,62/33-35/=0,62*25,6
/33-35/-/331-341/=25,6-15,9
|
88,0 12,9 21,2 42,3 20,6 19,8 25,6 22,0 67,4 18,0 16,2 8,5
15,9 9,7
|
|
27 28 29 30 32 34 45 47 50.1 52 54 61 62 64 65 66 67 71
72 73 74 80
|
11-12 11-112 12-121 13-14 31-32 122-22-122 47-46 46-36
371-371 46-36-16 16-161 411-470 511-570 331-351 331-341 351-341 331-332
351-333 333-13 13-14 13-141 13-131
|
0,18Т13+П=0,18ОШ+ПШГгорС=0,18*36,4+1,5 0,25/11-12/=0,25*8,0
0,07Т13+П=0,07ОШ=0,07*36,4+0,3 3,5-0,08Т47=3,5-0,08ШС=3,5-0,08*35,6
0,17Т47+П=0,17ШС+0,5(ПШС-ПП/31-33/)= 0,17*35,6+0,5(2,0-0,9)
В34-1,7tnn-0,9ПП/31-33/ 0,5Т46=0,5ЦГ=0,5*19,8
Т36-Т35+П=ДТП-ВГ+0,15=53,3-34,7+0,15
0,5(Т15-1,2-Т14)=0,5(ОГ2-1,2-ОГ1)=0,5(96,8-1,2-89,2)
Дтп1+Пдтс+Пдтп=44+1,0+2,5 0,205Т13+2,6=0,205ОШ+2,6=0,205*36,4+2,6 0,5Т18+П=0,5ОТ+ПТ=0,5*70,6+15,6
0,5Т19+П=0,5ОБ+ПБ=0,5*100+7,6 Расчет БК рукава 33-35 0,62/33-35/=0,62*25,6
0,38/33-35/=0,38*25,6 0,62/33-35/=0,62*25,6 0,5(ОП+ПОП)=0,5(28,7+9)
ГП-Х=22-2,5 0,45/351-333/=0,45*18,8 0,73/351-333/=0,73*18,8
0,3/333-13/=0,3*19,5
|
8,0 2,0 2,9 0,6 7,5 9 9,9 18,8 3,2 47,5 10,0 50,9 57,6
25,6 15,9 9,7 15,9 18,8 19,5 8,5 13,7 5,8
|
|
88 89 90
|
13-333-93 13-333-43 95-931
|
Т33-/121-14/+П=68,9-12,4+8,5 Т32-/121-14/+П=45,3-12,4+2
0,5Т29+П=0,5*16,3+5,85
|
65,0 34,9 14
|
На спинке намечен рельеф, выходящий из плечевого среза. Плечевая вытачка
переведена в данный рельеф, который затем оформлен плавной линией в
соответствии с расчетом суммы вытачек по линии талии, ширины изделия по линии
бедер и линии низа.
Боковой срез изделия, выходящий из середины ширины проймы, оформлен в
соответствии с расчетом суммы вытачек по линии талии, ширины изделия по линии
бедер и линии низа.
На полочке намечен рельеф, выходящий из плечевого среза. Нагрудная
вытачка переведена в данный рельеф, который затем оформлен плавной линией в
соответствии с расчетом суммы вытачек по линии талии, ширины изделия по линии
бедер и линии низа.
В соответствии с эскизом достроена ширина борта (полузаноса), определен
уровень первой петли, увеличены ширины горловин полочки и спинки и на горловине
переда достроен воротник шаль.
Построен двушовный рукав с нулевым локтевым перекатом и шлицей.
3.3 Примерка макета и корректировка чертежей
основных деталей
После выполнения модельной конструкции был отшит макет женского зимнего
пальто из макетной ткани, выполнена примерка данного макета и внесены некоторые
исправления, представленные в таблице 9.
Таблица 9 - Дефекты и изменения, внесенные в чертежи основных деталей
|
Критерий
|
Дефект
|
Способ исправления
|
|
Опорная зона
|
Не соответствие положения плечевых срезов спинки и полочки
наклону плеча - плечевые срезы спинки и полочки располагаются ниже, чем
требуется
|
Выпустить запас по плечевым швам у проймы и снять излишек
ткани у точки основания шеи, углубить горловину спинки
|
|
Опорная зона
|
Узкий плечевой срез
|
Расширить плечевой срез и откорректировать в соответствии с
ним линию проймы
|
|
Соответствие объемов
|
Соответствуют
|
---
|
|
Окат рукава
|
Недостаточная высота оката рукава
|
Увеличить высоту оката рукава
|
|
Положение рукава
|
Отклонение рукава от заданного положения - отклонен вперед
|
Сместить надсечки рукава против часовой стрелки (в сторону
спинки)
|
|
Воротник
|
Недостаточная величина отлета воротника
|
Развести воротник по отлету на необходимую величину
|
|
Соответствие искизу
|
Несоответствие формы воротника - широкий воротник
|
Уменьшить ширину воротника
|
|
Соответствие искизу
|
Несоответствие места положения рельефов на полочке и спинке
|
Перенести рельефы на полочке и спинке по плечевому срезу к
центру изделия
|
эскиз модель деталь обработка
Рисунок 12 - Чертеж БК и МК женского пальто в масштабе 1:4
Рисунок 13 - Чертеж БК и МК рукава женского пальто в масштабе 1:4
3.4 Разработка методов обработки деталей и всех
узлов
Так как разработка проектируемой модели была начата при прохождении
преддипломной практики по заданию швейного предприятия по производству верхней
женской одежды ООО «Малка», то и предложенные методы обработки деталей и узлов
основаны на методах обработки, используемых на данном предприятии.
При выборе технологии изготовления модели производиться выбор методов
технологической обработки изделия, продумываются способы дублирования деталей и
технологическая последовательность изготовления всего изделия, выбираются
величины припусков на монтаж деталей и оборудование, на котором будет
изготавливаться изделие.
Для улучшения внешнего вида изделия, сохранения формы в процессе его
эксплуатации и повышения качества его обработки детали изделия фронтально либо
частично укрепляют клеевой прокладкой. В данном случае фронтально
продублированы центральная и боковая части полочки, подборт, нижний воротник и
детали кармана - листочка и подзор. Остальные детали продублированы частично в
тех местах, где необходимо дополнительное предохранение детали от растяжения -
пройма спинки, окат рукава, низ изделия и рукава вместе с припуском на
обработку шлицы рукава. Дублирование деталей выполняется в раскройном цехе.
При выборе методов технологической обработки изделия сначала выбираются
величины припусков на монтаж деталей. В данном случае при выполнении основных
соединительных швов - соединении рельефов, боковых и плечевых срезов изделия -
применим стачной шов «в разутюжку» шириной шва 1,0 см. При обтачивании борта
применим обтачной шов шириной шва 1,0 см, а на участке обтачивания отлета
воротника переходит в ширину шва 0,5 см, так как верхний воротник выполнен из
натурального меха припуски на его обработку равны 0,5 см. Припуск на подгибку
низа изделия и рукава равен 4,0 см.
Меховой воротник заказывается на предприятии, которое занимается
обработкой меховых шкур, поэтому на швейное предприятие меховой воротник
поступает в раскроенном виде и собранный на скорняжной машине по среднему шву.
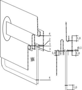
Сборочные схемы обработки основных узлов модели представлены на рисунках
14 - 17.
Особенности обработки разрабатываемой модели:
верхний воротник из натурального меха необходимо выстегать вместе с
дополнительной прокладкой из бязи «в ручную»
верхний и нижний воротник скрепляются ручной вспушкой по отлету
воротника, захватывая бязь и клеевую прокладку нижнего воротника на расстоянии
3,0 см от края отлета, выправляя кант из верхнего воротника
для закрепления воротника ставятся дополнительные закрепки «на сквозь» -
в шов притачивания стойки к верхнему воротнику в области плечевых швов и
середины спинки и в шов втачивания нижнего воротника в горловину изделия на
расстоянии 2,0 см от борта
Рисунок 14 - Сборочная схема обработки прорезного кармана с листочкой с
втачными концами
Рисунок 15 - Сборочная схема обработки застежки на кнопки
Рисунок 16 - Сборочная схема обработки мехового воротника и соединение
его с горловиной изделия
Рисунок 17 - Сборочная схема обработки шлицы и подгиба низа на рукаве
при приутюживании края борта после обтачивания необходимо выправить кант
из полочки 0,1 см
из-за отсутствия отделочной строчки по краю борта для его закрепления
прокладывается дополнительная долевая прошивная кромка и подборт подшивается к
полочке потайными стежками на специальной подшивочной машине
для закрепления припуска на обработку низа низ изделия также подшивается
потайными стежками на специальной подшивочной машине
утеплитель кроиться грубым кроем по лекалам подкладки с дополнительными
припусками по всем срезам 1,5 см; в процессе обработки изделия подкладка
настрачивается на утеплитель и уточняется крой утеплителя - излишки подрезаются
так как при выборе основного материала не проводились испытания по
определению процента усадки, то ткань верха также необходимо раскраивать грубым
кроем, добавляя по всем срезам дополнительные припуски 1, 0 см, а по низу
изделия - 2, 0 см
при соединении подкладки с изделием по линии притачивания подкладки с
подбортом необходимо высечь утеплитель, предварительно настрочив его на 2 см от
среза на дополнительную полоску из подкладочной ткани со стороны внутреннего
среза.
При изготовлении изделия рекомендуется использовать новейшее
оборудование, которое уменьшит трудоемкость работы и затраты на изделие.
На основании выбраннных методов обработки узлов составлена
технологическая последовательность обработки женского зимнего пальто,
представленная в виде таблицы в приложении 4.
3.5 Разработка рабочей документации на изделие
Рабочая конструкторская документация на новую швейную модель в настоящее
время оформляется в виде технического описания и комплекта лекал деталей из
основной ткани, подкладочного и прокладочного материалов.
Техническое описание на модель включает в себя три обязательных пункта:
зарисовку модели; описание внешнего вида с характеристикой конструкции изделия
в целом и по частям; таблицу измерений изделия в готовом виде (табель
технических измерений).
Для внутренних нужд предприятия - изготовителя техническое описание
модели может содержать такие дополнительные пункты, как, например, спецификацию
деталей, краткое описание особенностей технологии изготовления, конфекционную
карту с образцами материалов, иллюстрации методов обработки со сборочными
чертежами узлов изделия [3].
Техническое описание проектируемой модели представлено в приложении 1.
3.5.1 Изготовление комплекта лекал
Конечной целью конструкторской разработки изделия является комплект
лекал, которые оформляются в соответствии с требованиями, предъявляемыми к
оформлению конструкторской документации.
Разработанные лекала проектируемой модели в масштабе 1:4 представлены на
рисунках 18 - 26.
Существуют лекала-оригиналы (соответствуют образцу новой модели в базовом
размере и росте, выполняются в половинном виде, включают основные,
производственные и вспомогательные лекала), лекала-эталоны (получают путем
градации лекал-оригиналов, выполняются в половинном виде) и рабочие лекала
(изготавливают на все размеры и роста, периодически проверяют по
лекалам-эталонам) [4].
В ходе проведенной работы был изготовлен полный комплект лекал-оригиналов
на проектируемое изделие путем копирования необходимых деталей модельной
конструкции и добавления к ним необходимых припусков на обработку (основные
соединительные швы - 1,0 см; обтачной шов по краю борта 1,0 см; обтачной шов по
отлету воротника - 0,5 см; шов соединения верхнего воротника со стойкой - 0,5
см; подгибка низа изделия и рукава - 4,0 см), выполнено сопряжение смежных
деталей и указана на лекалах необходимая информация и направление ворса.
На основании лекал деталей из основной ткани были разработаны необходимые
производные детали - подборт, верхний воротник, детали кармана, детали из
подкладочной ткани и клеевой прокладки. Схемы построения каждой конкретной
производной детали разрабатывают, исходя из конструкции узлов готового изделия,
включающих данную деталь [3]. Детали клеевых прокладок построены таким образом,
чтобы срезы прокладки отступали от срезов основной ткани на 0,3 см во избежание
излишней толщины и приклеивания к поверхности пресса при дублировании.
А также были разработаны необходимые вспомогательные лекала - разметки
для нанесения линий расположения кармана, кнопок, пуговиц на шлице рукава,
талиевых складок на подкладке изделия.
3.5.2 Спецификация лекал
Спецификация лекал - это перечень наименований всех лекал комплекта, их
количество и количество деталей кроя, представленный в табличной форме.
Спецификация лекал разрабатываемой модели представлена в таблице 10.
Таблица 10 - Спецификация лекал
|
Номер лекала
|
Наименование лекала
|
Количество лекал
|
Количество деталей кроя
|
|
Верх :
|
|
0011 0021 0031 0041 0051 0061 0071 0081 0091 0101 0111 0121
0131
|
Центральная часть полочки Боковая часть полочки Центральная
часть спинки Боковая часть спинки Верхняя часть рукава Нижняя часть рукава
Подборт Нижний воротник Длинная часть пояса Короткая часть пояса Листочка
Подзор Обтачка горловины спинки
|
1 1 1 1 1 1 1 1 1 1 1 1 1
|
2 2 1 2 2 2 2 2 1 1 2 2 1
|
|
Отделка - натуральный мех
|
|
0141
|
Верхний воротник
|
1
|
1
|
|
Бязь
|
|
0151
|
Верхний воротник
|
1
|
1
|
|
Подкладка
|
|
0161 0171 0181 0191 0201 0211 0221
|
Полочка Спинка Верхняя часть рукава Нижняя часть рукава
Подкладка кармана верхняя Подкладка кармана нижняя Полоска для утеплителя
|
1 1 1 1 1 1 1
|
2 2 2 2 2 2 2
|
|
Утеплитель
|
|
|
0231 0241 0251 0261
|
Полочка Спинка Верхняя часть рукава Нижняя часть рукава
|
1 1 1 1
|
2 1 2 2
|
|
|
Клеевая прокладка
|
|
|
0271 0281 0291 0301 0311 0321 0331 0341 0351 0361 0371 0381
0391 0401 0411 0421 0431
|
Центральная часть полочки Боковая часть полочки Подборт
Нижний воротник Прокладка в верх центральной части спинки Прокладка в низ
центральной части спинки Прокладка в верх боковой части спинки Прокладка в
низ боковой части спинки Прокладка в верх верхней части рукава Прокладка в
низ верхней части рукава Прокладка в верх нижней части рукава Прокладка в низ
нижней части рукава Прокладка в длинную часть пояса Прокладка в короткую
часть пояса Листочка Подзор Обтачка горловины спинки
|
1 1 1 1 1 1 1 1 1 1 1 1 1 1 1 1 1
|
2 2 2 2 1 1 2 2 2 2 2 2 1 1 2 2 1
|
|
|
Вспомогательные лекала
|
|
|
0441 0451 0461 0471 0481 0491 0501
|
Разметка кнопок на левой полочке Разметка ответных частей
кнопок на правом подборте Разметка кармана Разметка пуговиц на шлице рукава
Разметка талиевых складок на подкладке спинки Разметка талиевых складок на
подкладке полочки Разметка низа изделия
|
|
|
|
|
|
|
|
|
|
|
|
|
|
3.5.3 Градация лекал
Разработка новой модели одежды для промышленного изготовления
производиться на базовый размер и рост. Лекала деталей модели для остальных
размеров и ростов получают техническим способом градации. Градацией лекал
называют процесс построения лекал, подобных исходным. В массовом производстве в
качестве исходных лекал используют лекала-оригиналы.
Сущность процесса градации заключается в увеличении или уменьшении
линейных размеров исходных лекал по определенным правилам. Градация значительно
упрощает и ускоряет процесс разработки лекал других размеров и ростов.
Основными требованиями к градации лекал является гарантия качества
конструкций, получаемых методом градации. Соразмерность, пропорции и качество
посадки изделий на фигуре в крайних размерах должны оставаться такими же, как в
исходном базовом размере.
Рисунок 18 - Лекала верха и клеевых прокладок полочки
Рисунок 19 - Лекала верха и клеевых прокладок спинки
Рисунок 20 - Лекала верха и клеевых прокладок рукава, деталей кармана и
обтачки горловины спинки
Рисунок 21 - Лекала верха и клеевых прокладок подборта и пояса
Рисунок 22 - Лекала бязи, верхнего и нижнего воротников
Рисунок 23 - Лекало утепленной подкладки спинки, полочки и полоски для
утеплителя
Рисунок 24 - Лекала утепленной подкладки рукава и деталей кармана
Рисунок 25 - Лекала разметок талиевых вытачек на подкладке изделия, низа
изделия и пуговиц на шлице рукава
Рисунок 26 - Лекала разметок кнопок и кармана
Схемы градации - это запись величин межразмерных переходов от контуров
исходной детали к контурам детали смежных размеров (ростов).
Направление стрелок по схеме соответствует увеличению размера (роста). При
переходе к меньшим размерам направление приращения принимается обратным
заданной схемой [3].
В данной работе градация выполнена автоматически программой САПР Grafis,
относительно выбранных точек и линий на размеры с 84 - 100.
Схемы градации лекал пальто представлены на рисунках 27-30.
На основании предложенного способа градации лекал составлен табель
технических измерений. Этот документ содержит информацию о параметрах измерений
в лекалах и в готовом изделии. Данная информация необходима при проверке
качества отшиваемых изделий. Табель технических измерений заполняется на все
рекомендуемые размеры и роста [5]. Табель технических измерений на
проектируемое изделие представлен в приложении 3.
Рисунок 27 - Схема градации лекал центральной и боковой частей полочки
Рисунок 28 - Схема градации центральной и боковой частей спинки
Рисунок 29 - Схема градации верхней и нижней частей рукава и нижнего
воротника
Рисунок 30 - Пример градации центральной и боковой частей полочки
4. Экономическая часть
Основной задачей экономической части выпускной квалификационной работы
является экономическое обоснование разработки и внедрения в производство
проектируемой модели, так как разработка данной модели осуществляется с целью
организации серийного выпуска.
Организация производства представляет собой активную деятельность людей,
направленную на достижение экономически более эффективного сочетания и
использования личных и вещественных элементов производственного процесса в
целях максимальной экономии затрат живого и общественного труда и достижения
экономического и социального развития предприятия.
В данном разделе выпускной квалификационной работы произведено
технико-экономическое обоснование проекта швейного потока по изготовлению
женского зимнего пальто для средней возрастной группы.
4.1 Характеристика выпускаемой продукции
Рынок верхней одежды на сегодняшний день представлен разнообразной по
назначению, стилю и направлениям продукцией. Среди всего этого многообразия
пальто занимают достаточно распространенную позицию. Это тот вид продукции
может сочетать в себе одновременно простоту и роскошь, и при этом оставаться
актуальным в различную погоду и быть уместным при любых обстоятельствах.
В данной выпускной квалификационной работе разрабатывается конкурентно
способная модель женского зимнего элегантного пальто, отвечающая требованиям
современной моды. Выпуск предлагаемой к производству модели планируется на
высокопроизводительном оборудовании, что позволит обеспечить качество,
невысокую себестоимость, а, следовательно, и доступную цену.
4.2 Исследование спроса на товар
Говоря о спросе в экономике, имеют в виду рыночный спрос множества людей,
объем рыночного спроса, который слагается из спроса различных людей,
выступающих в качестве покупателей. То есть понятие «спрос» отражает желание и
возможность приобрести товар.
Спрос - это количество товара, которое хотят и могут приобрести
покупатели за определенный период времени при всех возможных ценах на этот
товар [6].
В условиях рынка действует так называемый закон спроса, суть которого
можно выразить следующим образом: при прочих равных условиях величина спроса на
товар тем выше, чем ниже цена этого товара, и наоборот, чем выше цена, тем ниже
величина спроса на товар.
Покупательский спрос является важнейшей категорией рынка и одним из
основных показателей рыночной конъюнктуры, поэтому исследование и анализ спроса
на товар очень важны.
Исследование спроса - первый этап в исследовании рынка сбыта.
Маркетинговые исследования - это функция, которая через информацию связывает
маркетологов с рынками, потребителями, конкурентами, со всеми элементами
внешней среды маркетинга.
Основными целями исследования потребительского спроса являются изучение
потенциального потребителя, его вкусов, структуры потребностей по группам
потребителей, выявлении неудовлетворенных потребностей, анализ мотивов
предпочтения конкретных товаров.
Исследование потребителей анализирует характер покупок потребителей, определяемый
по их личностным, культурным, социальным и психологическим факторам, изучение
которых является важнейшей задачей маркетингового исследования [7].
Личностные факторы включают в свой состав возраст, стадию жизненного
цикла, семьи, род занятий, экономическое положение (уровень дохода на семью и
на одного члена семьи), стиль жизни, тип личности и самоопределение.
Культурные факторы включают в свой состав культуру, субкультуру и
принадлежность к общественному классу.
Социальные факторы включают в свой состав малые группы, семью, социальные
роли и статус.
Психологические факторы включают в свой состав мотивацию, восприятие,
усвоение, убеждение и отношение. Эти факторы оказывают сильное влияние на
поведение потребителя.
Наиболее распространенным способом сбора первичной информации -является
опрос. Метод опроса осуществляется с помощью различного вида анкет, выбор
которых зависит от способа анкетирования, объема выборки, места проведения и
информации, которую желательно получить.
Для проведения опроса была составлена анкета, в которой использовались
следующие типы вопросов: закрытые альтернативные, которые требуют ответа
"да" или "нет" и закрытые вопросы типа "меню",
предлагающие потребителю выбрать необходимые из предложенных ответов.
Цель опроса: определить форму, силуэт, длину, отделку женского пальто,
которые особо пользуются спросом на рынке продаж.
Задачи: выяснить, какие именно параметры являются главными при выборе
потребителем верхней женской одежды - пальто.
Управляемые параметры эксперимента (факторы) - пол респондентами
(опрашивались только женщины), параметры пальто, формулировка вопроса.
Контролируемые параметры - возраст респондентов 25-35 лет.
Возмущающие факторы - плохое настроение и самочувствие респондента,
нежелание идти на контакт.
Выходной параметр - предпочтения респондентов.
Выходные оцениваемые параметры - вопросы анкеты.
Социологический опрос проводится в виде заочного анкетирования (анкеты
рассылаются по электронной почте и по средствам социальных сетей).
Разработанная анкета представлена в таблице 11.
После проведения опроса полученные данные сводятся в общую таблицу.
Результаты проведенного анкетирования представлены в таблице 12.
Таблица 11 - Анкета для проведения социологического опроса
|
Номер воп-роса
|
Вопрос
|
Варианты ответов
|
|
1
|
Учитываете ли вы тенденции моды при выборе (покупке)
пальто?
|
да
|
нет
|
---
|
---
|
|
2
|
Является ли полуприлегающий силуэт предпочтительным для
вас?
|
да
|
нет
|
---
|
---
|
|
3
|
Являетесь ли вы покупателем какого-либо конкретного
производителя
|
да
|
нет
|
---
|
---
|
|
4
|
Является ли предпочтительной для вас более практичная
цветовая гамма в пальто (черный, серый)?
|
да
|
нет
|
---
|
---
|
|
5
|
Являются ли более предпочтительными для вас классические
модели, а не остромодные?
|
да
|
нет
|
---
|
---
|
|
6
|
Какой длины пальто более предпочтительно для вас:
|
а) до середи-ны икр
|
б) до колен
|
в) чуть выше колен
|
---
|
|
7
|
Наиболее предпочтительный для вас вид отделки:
|
а) фур-нитура
|
б) отде-лочные строчки
|
в) вы-шивка
|
г) отде-лочные материалы
|
Таблица 12 - Результаты анкетирования
|
Номер респонден-та
|
Результаты анкетирования
|
|
Вопрос 1
|
Вопрос 2
|
Вопрос 3
|
Вопрос 4
|
Вопрос 5
|
Вопрос 6
|
Вопрос 7
|
|
1
|
да
|
да
|
нет
|
да
|
да
|
а
|
а
|
|
2
|
да
|
да
|
нет
|
да
|
да
|
б
|
а
|
|
3
|
да
|
нет
|
да
|
нет
|
да
|
б
|
б
|
|
4
|
да
|
нет
|
нет
|
да
|
да
|
в
|
г
|
|
5
|
да
|
да
|
нет
|
да
|
нет
|
б
|
а
|
|
6
|
нет
|
нет
|
да
|
нет
|
нет
|
в
|
а
|
|
7
|
нет
|
да
|
нет
|
нет
|
нет
|
в
|
б
|
|
8
|
да
|
да
|
нет
|
да
|
да
|
в
|
в
|
|
9
|
нет
|
нет
|
да
|
да
|
да
|
а
|
а
|
|
10
|
да
|
да
|
да
|
да
|
да
|
а
|
|
11
|
нет
|
да
|
да
|
нет
|
да
|
б
|
г
|
|
12
|
да
|
нет
|
нет
|
да
|
да
|
в
|
а
|
|
13
|
да
|
да
|
да
|
да
|
нет
|
б
|
б
|
|
14
|
да
|
нет
|
нет
|
нет
|
нет
|
б
|
а
|
|
15
|
да
|
да
|
нет
|
нет
|
да
|
а
|
г
|
|
16
|
да
|
нет
|
нет
|
да
|
нет
|
в
|
а
|
|
17
|
да
|
да
|
да
|
нет
|
да
|
в
|
в
|
|
18
|
нет
|
нет
|
нет
|
да
|
да
|
б
|
в
|
|
19
|
нет
|
да
|
нет
|
да
|
да
|
б
|
б
|
|
20
|
да
|
нет
|
нет
|
да
|
нет
|
б
|
г
|
|
21
|
да
|
да
|
да
|
нет
|
да
|
б
|
а
|
|
22
|
да
|
да
|
нет
|
да
|
нет
|
а
|
г
|
|
23
|
да
|
нет
|
да
|
нет
|
да
|
а
|
б
|
|
24
|
да
|
да
|
нет
|
да
|
нет
|
а
|
а
|
|
25
|
да
|
да
|
нет
|
нет
|
да
|
б
|
б
|
|
26
|
нет
|
нет
|
да
|
нет
|
нет
|
б
|
а
|
|
27
|
да
|
нет
|
да
|
нет
|
да
|
б
|
в
|
|
28
|
нет
|
нет
|
нет
|
да
|
да
|
в
|
а
|
|
29
|
да
|
да
|
да
|
да
|
да
|
в
|
г
|
|
30
|
нет
|
нет
|
нет
|
нет
|
да
|
а
|
а
|
|
31
|
нет
|
нет
|
нет
|
да
|
да
|
б
|
в
|
|
32
|
да
|
нет
|
нет
|
нет
|
нет
|
а
|
г
|
|
33
|
да
|
да
|
да
|
да
|
нет
|
б
|
а
|
|
34
|
да
|
да
|
нет
|
нет
|
да
|
б
|
а
|
|
35
|
да
|
да
|
нет
|
нет
|
да
|
в
|
г
|
|
36
|
да
|
нет
|
нет
|
да
|
да
|
б
|
в
|
|
37
|
нет
|
да
|
да
|
да
|
да
|
б
|
б
|
|
38
|
да
|
да
|
нет
|
да
|
нет
|
б
|
а
|
|
39
|
да
|
да
|
нет
|
нет
|
да
|
в
|
а
|
|
40
|
да
|
нет
|
да
|
да
|
да
|
б
|
а
|
|
41
|
да
|
нет
|
нет
|
да
|
нет
|
а
|
а
|
|
42
|
да
|
да
|
нет
|
да
|
да
|
б
|
а
|
Так как для получения достоверной информации необходимо опросить более 40
человек, количество опрошенных в данном случае равно 42. Графическая обработка
результатов анкетирования представлены на рисунках 31 - 34 (полученные данные
выражены в процентном соотношении).
По результатам эксперимента можно сделать выводы о том, что основная
масса опрошенных - 73,8 % учитывают тенденции моды при выборе пальто, чуть
более половины - 54,7% предпочитают классический полуприлегающий силуэт, 64,3%
не предпочитают приобретать пальто определенного производителя, а 35,7%
приобретают пальто конкретного производителя, 59,5% опрошенных предпочитают
более практичную цветовую гамму, 66,6% предпочитают классические модели, а
33,4% - остромодные модели. А также с помощью данного опроса удалось
установить, что предпочтительной длиной зимних пальто у покупателей является
длина до колен, а предпочтительной отделкой является фурнитура.
На основании вышеуказанных данных и была разработана проектируемая модель
женского зимнего пальто, на сегодняшний день являющаяся актуальной, а значит
будет пользоваться спросом.
4.2.1 Сегментация рынка по основным потребителям
и по параметрам продукции
Сегментация рынка - это деятельность по классификации существующих и
потенциальных потребителей в соответствии с особенностями структуры их спроса
[7]. Данная деятельность осуществляется на основе информации полученной методом
опроса.
Основные факторы для выделения сегментов рынка по основным потребителям
приведены в таблице 13.
Таблица 13- Факторы сегментации потребителей
|
Основные факторы сегментации потребителей
|
|
Географические факторы
|
Демографичес-кие факторы
|
Психографические факторы
|
Поведенчес-кие факторы
|
|
1) регион (Северо-запад России) 2) административ-ное
деление (Санкт-Петербург, Ленинградская область, Гатчина, Василеостровский
район) 3) численность населения 4) плотность населения (город, пригород,
поселок, деревня) 5) климат
|
1) пол, возраст 2) семейное положение, размер семьи 3)
уровень дохода 4) виды профессий 5) образование 6) религия, раса,
национальность.
|
1) факторы культурного порядка (культура, субкультура,
социальное положение, стиль жизни) 2) социальные факторы (референтные группы,
роли и статусы в семье и на работе) 3) личностные факторы (возраст,
представление о самом себе, тип личности, образ жизни) 4) психологические
факторы (мотивация, восприятие, усвоение)
|
1) поведен-ческие факторы (степень нуждаемости в продукте,
поиск выгод) 1) эмоцио-нальное отношение к продукту, степень случайности
покупки, отношение к инновациям
|
Сегментация рынка осуществлялась комплексно, с учетом всех групп
факторов. Швейные предприятия проводят сегментирование рынка, для того чтобы
определить целевой рынок.
Все опрошенные респонденты одной возрастной группы - от 25 до 35 лет.
Среди женщин данной возрастной группы 28% составляют лица с высоким
доходом, из них больше половины работающих.
В промышленности работает 2% респондентов, в сфере услуг - 23%, в сфере
образования занято 36%, не работают 11%.
Степень нуждаемости в продукте у работающих женщин в 69% случаев является
высокой, у неработающих - в 31%.
Вывод: на данном рыночном сегменте уровень спроса на женские зимние
пальто будет достаточно высок, но уровень цен должен быть при этом на среднем
уровне.
Завершается процесс сегментации выбором целевого рынка.
Целевым называют сегмент рынка, который удовлетворяет требованиям
производителя по определенным критериям:
количественным параметрам (емкости, числу потенциальных потребителей,
площади)
доступности сегмента для предприятия (число каналов сбыта, их
маркетинговая структура, способы доставки товара и так далее)
прибыльности работы на данном сегменте (норма прибыли при
конкурентоспособных ценах, необходимые инвестиции, доход на вложенный капитал)
эффективности работы на выбранный сегмент (достаточность ресурсов, опыт
работы, готовность к конкурентной борьбе)
конкурентной ситуации (совместимость сегмента с рынком основных
конкурентов, конкурентные преимущества, защищенность сегмента).
Емкость целевого сегмента для потребительских товаров определяется путем
умножения числа потребителей на частоту покупок. Она может определяться на
различный временной срок.
Опрос показал, что покупатели в среднем покупают зимнее пальто один раз в
три года. Число покупателей в целевом сегменте составляет 20000 человек. Тогда
годовая ёмкость рынка Е равна:
Е = 20000*0,33 = 6600, штук
Сегментация рынка по параметрам продукции (товарная сегментация)
относится к новым маркетинговым инструментам и позволяет исследователю получить
информацию о соответствии товара требованиям целевого сегмента, правильно
позиционировать продукт, а также более полно проанализировать свои конкурентные
позиции.
Сегментация рынка по продукту имеет особенно важное значение при планировании
выпуска и сбыта новых изделий, так как позволяет анализировать, какие именно
параметры того или иного изделия могут быть привлекательны для потребителей и
насколько конкурирующие предприятия уже позаботились об удовлетворении
пожеланий клиентов при разработке своих изделий.
В первую очередь необходимо уточнить сегменты потребителей, использующих
продукт для различных целей и определить ранжированный перечень параметров
продукта. Затем с помощью имеющейся первичной информации конкретизировать требования
потребителей каждого уточнённого сегмента к продукту и произвести анализ
разработанных фирмой моделей зимнего пальто по тем же параметрам.
Товарная сегментация рынка пальто женских по их назначению представлена в
таблице 14.
Оценки параметров продукта даны в баллах, причем 5 баллов соответствует
самой высокой степени значимости параметра, 0 баллов - самой низкой.
На основании данной оценки производится построение графика
"реального профиля продукта", отражающего требования потребителей,
предъявляемые к данному товару, для каждого сегмента.
Графики профилей «реальных продуктов» совмещаются с «идеальными» (рисунок
34), и на основе анализа отклонения, определяется ориентация товара на сегмент,
критерии позиционирования и направления совершенствования изделий.
Таблица 14 - Товарная сегментация рынка пальто женских по их назначению
|
Параметры продукта
|
Сегменты рынка
|
Продукты фирмы
|
|
Для работы
|
Для повседнев-ной носки
|
Для торжествен-ных случаев
|
Проектируе-мая модель
|
|
Соответствие фигуре
|
5
|
4
|
5
|
4
|
|
Фасон
|
4
|
5
|
5
|
4
|
|
Отделка
|
2
|
4
|
5
|
4
|
|
Гигиеничность
|
5
|
5
|
3
|
4
|
|
Качество ткани
|
5
|
3
|
5
|
5
|
|
Фурнитура
|
4
|
3
|
5
|
1
|
|
Разнообразие расцветок
|
3
|
3
|
4
|
5
|
|
Способность сохранять тепло
|
4
|
5
|
1
|
5
|
|
Цена
|
5
|
4
|
1
|
4
|
Сопоставляя графики профилей «реального» и
«идеального» продктов, можно сделать следующие выводы:
по наиважнейшим для сегмента «зимнее пальто для
повседневной носки» параметрам (способность сохранять тепло, соответствие
фигуре, качество ткани и отделки) реальный продукт соответствует требованиям
потребителей и может быть позиционирован на этом сегменте
|
0
|
1
|
2
|
3
|
4
|
5
|
|
Соответствие фигуре
|
|
|
|
|
|
|
|
Фасон
|
|
|
|
|
|
|
|
Отделка
|
|
|
|
|
|
|
|
Гигиеничность
|
|
|
|
|
|
|
|
Качество ткани
|
|
|
|
|
|
|
|
Фурнитура
|
|
|
|
|
|
|
|
Разнообразие расцветок
|
|
|
|
|
|
|
|
Способность сохранять тепло
|
|
|
|
|
|
|
|
Цена
|
|
|
|
|
|
|
профиль идеального товара
профиль реального товара
Рис 34 - Профиль «идеального» и «реального» товаров
для повседневной носки
4.2.2 Оценка
конкурентоспособности продукции
Под конкурентоспособностью продукции понимают
совокупность потребительских свойств товара, отличающих его от
товаров-конкурентов по степени удовлетворения потребности покупателя товара
(СУП), уровню затрат на его приобретение и эксплуатацию, способности товара
быть проданным и другое. Порядок определения степени удовлетворения потребности
показан в таблицах 15 и 16.
Таблица 15 - Степень удовлетворения потребности в
женском зимнем пальто
|
Параметр товара
|
Коэффи-циент значимо-сти Кзн
|
Значение параметра идеальной модели Рi
|
Значение парамет-ра товара Рit
|
Единич-ный показатель Yi=Pit/Pi
|
Групповой показатель åYi*Kзн
|
|
Внешний вид
|
0,30
|
10
|
9
|
0,9
|
0,27
|
|
Удобство
|
0,20
|
10
|
9
|
0,9
|
0,18
|
|
Конструктивное решение
|
0,25
|
10
|
9
|
0,9
|
0,22
|
|
Гигиеничность
|
0,05
|
10
|
8
|
0,8
|
0,04
|
|
Цена потребления
|
0,20
|
10
|
7
|
0,7
|
0,14
|
|
Итого:
|
1,00
|
|
|
|
0,85
|
При сравнении итоговых значений СУП получаем, что наш
товар обладает более высокой степенью удовлетворения потребности потребителя по
сравнению с продукцией предприятия - конкурента.
Таблица 16 - Степень удовлетворения потребности для
конкурентного товара
|
Параметр товара
|
Коэффициент значимости Кзн
|
Значение параметра идеальной модели Рi
|
Значение парамет-ра товара Рit
|
Единич-ный показатель Yi=Pit/Pi
|
Групповой показатель åYi*Kзн
|
|
Внешний вид
|
0,30
|
10
|
7
|
0,7
|
0,21
|
|
Удобство
|
0,20
|
10
|
8
|
0,8
|
0,16
|
|
Конструктив-ное решение
|
0,25
|
10
|
7
|
0,7
|
0,17
|
|
Гигиеничность
|
0,05
|
10
|
7
|
0,7
|
0,03
|
|
Цена потребления
|
0,20
|
10
|
6
|
0,6
|
0,12
|
|
Итого
|
1,00
|
|
|
|
0,69
|
Определение конкурентоспособности товара в расширенной
трактовке осуществляется посредством сравнения критериев конкурентоспособности
товара, производимого конкурентами, и предлагаемого товара на основании таблиц
17 и 18.
Таблица 17 - Оценочная карточка предлагаемого товара
|
Критерии конкурентоспособности
|
Коэффициент значимости, Кзн
|
Балльная оценка товара, Бoi
|
Интегральная оценка, Бoi Ч Кзн
|
|
Качество
|
0,30
|
8
|
2,4
|
|
Универсальность
|
0,20
|
8
|
1,6
|
|
Технические параметры
|
0,25
|
7
|
1,75
|
|
Престиж торговой марки
|
0,05
|
7
|
0,4
|
|
Цена потребления
|
0,20
|
7
|
1,4
|
|
Итого
|
1,00
|
|
7,55
|
Таблица 18 - Оценочная карточка конкурентного товара
|
Критерии конкурентоспособности
|
Коэффициент значимости, Кзн
|
Балльная оценка товара, Бoi
|
Интегральная оценка, Бoi Ч Кзн
|
|
Качество
|
0,30
|
8
|
2,4
|
|
Универсализм
|
0,20
|
7
|
1,4
|
|
Технические параметры
|
0,25
|
7
|
1,75
|
|
Престиж торговой марки
|
0,05
|
8
|
0,4
|
|
Цена потребления
|
0,20
|
6
|
1,2
|
|
Итого
|
1,00
|
|
7,15
|
Таким образом, оценка конкурентоспособности товара
показывает, что предлагаемый товар более конкурентоспособен благодаря
универсализму параметров товара, отвечающих современным требованиям рынка, а
также цене потребления, что указывает на большую значимость предлагаемого
товара для потребителя относительно товара конкурента.
4.3 Планирование себестоимости продукции
Планирование себестоимости продукции на предприятии имеет очень важное
значение, так как позволяет узнать, какие затраты потребуются предприятию на
выпуск и реализацию продукции и какие финансовые результаты можно ожидать в
плановом периоде [8].
4.3.1 Расчет затрат на
основные материалы
В расчете издержек на основные материалы изделия
учитываются все без исключения материалы. Цена за единицу измерения указывается
без налога и добавленную стоимость НДС и торговой наценки Т.
Стоимость основных материалов разрабатываемой модели
женского зимнего пальто представлена в таблице 19.
Таблица 19 - Стоимость основных материалов разрабатываемой
модели
|
Наименование основного материала
|
Единица измере-ния
|
Норма расхода на единицу изделия
|
Цена за единицу измерения, руб.
|
Стоимость основного материала, руб.
|
|
Ткань пальтовая шерстяная
|
пог.м.
|
2,80
|
900,00
|
2520,00
|
|
Подкладочный материал
|
пог.м.
|
2,0
|
140,00
|
280,00
|
|
Прокладочный клеевой материал
|
пог.м.
|
1,5
|
42,00
|
63,00
|
|
Утепляющий материал
|
пог.м.
|
2,0
|
110,00
|
220,00
|
|
Воротник из натурального меха
|
шт.
|
1
|
3200,00
|
3200,00
|
|
Кнопки
|
шт.
|
6
|
7,0
|
42,00
|
|
Пуговицы
|
шт.
|
7
|
2,50
|
17,50
|
|
Подплечники
|
шт.
|
2
|
3,50
|
7,00
|
|
Подокатники
|
шт.
|
2
|
3,50
|
7,00
|
|
Нитки 45 ЛЛ
|
шт.
|
1
|
15,00
|
15,00
|
|
Этикетка бумажная + пакет для запасной фурнитуры
|
шт.
|
1
|
1,50
|
1,50
|
|
Размерная лента
|
шт.
|
1
|
0,40
|
0,40
|
|
Фирма
|
шт.
|
1
|
3,00
|
3,00
|
|
Вешалка
|
шт.
|
1
|
15,00
|
15,00
|
|
Лента с составом ткани и с символами по уходу
|
шт.
|
1
|
0,70
|
0,70
|
|
ПЭ пакет
|
шт.
|
1
|
1,50
|
1,50
|
|
Итого:
|
|
|
|
6393,6
|
|
Сумма НДС
|
|
|
|
1150,8
|
4.3.2 Расчёт себестоимости
единицы продукции
При оценке издержек составляется калькуляция на
предлагаемую модель изделия, то есть определяется полная себестоимость единицы
выпускаемой продукции, где учитываются материальные затраты, заработная плата
производственных рабочих, единый социальный налог, общепроизводственные,
общехозяйственные и коммерческие расходы.
Калькуляция на разрабатываемую модель представлена в
таблице 20.
Транспортно - заготовительные расходы составляют 5 %
от стоимости основных материалов.
0,05*6393,6=319,70 руб.
Основная заработная плата рабочих цеха рассчитывается
по формуле:
Сдр = СТ1р * ТК ср * ТР ,
где С др - суммарная сдельная расценка, руб.
СТ1р - ставка 1-го разряда, рублей (по данным
предприятия ООО «Малка»)
Таблица 20 - Калькуляция на зимнее женское пальто
|
Номер
|
Статья затрат
|
Сумма на единицу, руб.
|
|
1
|
Материальные затраты:
|
6713,30
|
|
1.1 Основные материалы
|
6393,60
|
|
1.2 Транспортно-заготовительные расходы
|
319,70
|
|
2
|
Заработная плата производственных рабочих:
|
533,50
|
|
2.1 Основная
|
476,30
|
|
2.2 Дополнительная
|
57,20
|
|
3
|
Отчисления на социальные нужды
|
160,00
|
|
4
|
Общепроизводственные расходы
|
853,60
|
|
5
|
Общехозяйственные расходы
|
373,50
|
|
Итого производственная себестоимость
|
8633,90
|
|
6
|
Коммерческие расходы
|
172,70
|
|
Всего полная себестоимость
|
8806,60
|
ТК ср - средний тарифный коэффициент
ТР - трудоемкость изготовления изделия (
средневзвешенная ), ч
Сдр = 125,5 * 1,2 * 2,75 = 414,20 руб.
Основная заработная плата рабочих прочих цехов
составляет 15% от Сдр:
Зосновная = Сдр * 0,15
Зосновная = 414,2 * 0,15 = 62,10 руб.
Дополнительная заработная плата составляет 12% от
основной:
Здополнительная=0,12*476,3= 57,20 руб.
Отчисления на социальные нужды представляют собой
сумму платежей в государственные внебюджетные фонды. В настоящее время действует
следующая ставка отчислений от заработной платы (основной и дополнительной) -
30 %:
0,30*533,5 = 160,00 руб.
Размеры общепроизводственных расходов приняты равными
160% от основной заработной платы производственных рабочих:
1,6*533,5 = 853,60 руб.
Размеры общехозяйственных расходов -70% от основной
заработной платы производственных рабочих:
0,7*533,5 = 373,50 руб.
Коммерческие расходы составляют 2 % от производственной себестоимости:
0,02*8633,9 = 172,70 руб.
4.4 Определение ценовой
политики предприятия
Ценообразование - это процесс образования и
формирование цены на товар, характеризуемый прежде всего методами и способами
установления цен в целом, относящихся ко всем товарам. От правильности выбора
метода ценообразования зависит достижение целей компании и ее развития.
Стратегия ценообразования - это комплекс методов, с
помощью которых ценовая политика реализуется на практике.
4.4.1 Постановка задач
ценообразования
Предприятию, прежде всего, необходимо решить, каких
целей оно стремится достигнуть при реализации конкретного товара. Чаще всего с
помощью ценовой стратегии предприятия могут быть достигнуты следующие цели:
сохранение стабильного положения на рынке при
умеренной рентабельности и достаточно удовлетворительных других показателях.
Зарубежные крупные и сверхкрупные корпорации в большинстве случаев
довольствуются 8-10% рентабельности акционерного капитала. Это обеспечивает
фирме выживание
расширение доли рынка, на котором предприятие
реализует свои товары. Часто это связано со стремлением к лидерству на рынке.
Многие исходят из предположения, что предприятие, которому принадлежит большая
доля рынка, будет иметь самые низкие издержки и самые высокие долговременные
прибыли. Добиваясь лидерства по показателям доли рынка, они идут на максимально
возможное снижение цен. Вариантом этой цели является стремление добиться
конкретного приращения доли рынка
максимизация прибыли, повышение уровня рентабельности.
Совершенно очевидно, что, поставив такую задачу, предприятия увеличивают
доходность, расширяют воспроизведённые, в том числе и инвестиционные,
возможности предприятия. Акционерные общества могут увеличить выплаты
дивидендов по акциям
поддержание и обеспечение ликвидности (платёжеспособности)
предприятия. Эта ценовая задача и стратегия маркетинга в условиях рынка всегда
актуальна, поскольку устойчивая неплатёжеспособность грозит предприятию
банкротством. Если предприятие имеет надёжных заказчиков и проблемы расчётов не
возникают, то руководству все равно необходимо чётко представлять те условия,
предпосылки, которые обеспечивают стабильную платёжеспособность
завоевание лидерства на рынке в определении цен -
наиболее престижная задача ценообразования крупных предприятий и объединений.
Однако на региональных и локальных рынках лидирующая ценовая политика может
проводиться и не столь крупными предприятиями. Ценовое лидерство отражает
положение предприятия на рынке как одного из наиболее активных при установлении
общих ценовых уровней на какие-то виды продукции (часто более низких, чем
действующие, или более высоких на престижный, высококачественный товар).
Конечно, для того чтобы занять лидирующее положение на рынке, предприятие
должно обладать достаточным потенциалом. Противоположной ценовой стратегией
является пассивное следование за лидером.
4.4.2 Выбор метода
ценообразования и установление цены товара
В зависимости от задач определяются методы
ценообразования.
Наиболее часто на предприятиях швейной промышленности
используется затратный метод формирования цены «средние издержки плюс прибыль».
Это обусловлено тем, что производитель, как правило, больше осведомлён об
издержках, чем об уровне спроса. В условиях нестабильности рыночной среды
необходима корректировка цен в зависимости от колебаний спроса, поэтому
рассчитывается несколько вариантов цен.
Выделяют следующие виды цены фирмы:
Отпускная (оптовая) цена Цотп складывается из полной
себестоимости изделия и плановой прибыли на единицу продукции. Она
предназначена для оценки деятельности предприятия. Отпускная цена
рассчитывается по формуле:
Цотп = С + П,
где С - себестоимость продукции, руб.
П - плановая прибыль предприятия, руб.
2 Свободно-отпускная (оптовая с НДС) цена Цсв.о
включает в себя величину отпускной цены и сумму налога на добавленную стоимость
по установленной ставке. По этой цене производитель реализует свою продукцию
сбытовым и торговым организациям. В настоящее время действующая ставка НДС на
швейные изделия - 18%. Свободно-отпускная цена рассчитывается по формуле:
Цсв.о = С + П + НДС
Цена продажи товара Цпр или розничная цена
складывается из свободно-отпускной цены и наценки торгующей организации. Цена
продажи рассчитывается по формуле:
Цпр = Цсв.о + Т,
где Т - наценка торгующей организации, руб.
Величина торговой наценка определяется торговой
организацией и колеблется в широких пределах (5 - 100%).
При планировании отпускной цены единицы продукции
предварительно определяются целевая (плановая) прибыль от реализации и
рентабельность изделия. Целевая прибыль П является одним из основных
показателей результативности деятельности. Рентабельность единицы продукции Р
отражает степень доходности предприятия и характеризует размер прибыли на
каждый рубль затрат. Рентабельность продукции рассчитывается по формуле:
Р = П/С * 100%,
где П - плановая прибыль на единицу выпускаемой
продукции, руб.
С - полная себестоимость единицы продукции, руб. [6]
Расчёт цен при различных параметрах рентабельности и
торговой наценки приводится в таблице 21.
Таблица 21 - Определение цены изделия
|
Показатель
|
Значение в зависимости от уровня цен, руб.
|
|
Низкий Р = 5% Т = 5%
|
Средний Р = 30% Т = 25%
|
Высокий Р = 75% Т = 100%
|
|
1. Полная себестоимость
|
8806,60
|
8806,60
|
|
2. Прибыль на единицу изделия
|
440,30
|
2642,00
|
6605,00
|
|
3. Отпускная цена
|
9246,90
|
11448,60
|
15411,60
|
|
4. Сумма НДС
|
1664,40
|
2060,70
|
2774,10
|
|
5. Свободно-отпускная цена
|
10911,30
|
13509,30
|
18185,70
|
|
6.
Сумма торговой наценки
|
545,60
|
3377,30
|
18185,70
|
|
7. Цена продаж
|
11456,90
|
16886,60
|
36371,40
|
На рисунке 35 представлена структура цены продаж изделия при различных
уровнях цен (низком, среднем и высоком).
Окончательный выбор цены изделия в условиях фактического соотношения
рыночного спроса и предложения производится по форме таблицы 22.
Таблица 22 - Выбор и обоснование цены продажи изделия
|
Показатель
|
Значение, руб.
|
|
Цена продажи: а) предприятия-изготовителя:
|
|
минимальная
|
8806,60
|
|
максимальная
|
36371,40
|
|
безразличия
|
27101,50
|
|
б) товаров-конкурентов и товаров-заменителей
|
22000,00
|
|
в) средняя на рынке
|
20000,00
|
|
г) договорная
|
16886,60
|
Минимальная цена соответствует издержкам на производство и реализацию
продукции и определяется полной себестоимостью изделия.
Максимальная цена определяется наличием каких-либо уникальных достоинств
(преимуществ) в предлагаемом товаре.
Цена безразличия - это цена, при которой покупателю безразлично, чей
товар покупать. Для определения цены безразличия производится анализ цен
конкурентов. Определение цены безразличия основывается на базовом принципе
ценообразования в рыночной экономике: если качество двух товаров одинаково, то
одинаковой должна быть и цена. Цену безразличия ЦБ можно рассчитать по формуле:
ЦБ = ЦК*СУП / СУПК
где ЦК - цена изделия предприятия - конкурента
СУП и СУПК - степень удовлетворения потребности покупателя соответственно
предлагаемым товаром и товаром предприятия-конкурента.
Определим ЦБ:
ЦБ = 22000*0,85 / 0,69 = 27101,50 руб.
Для удержания высокого спроса цены постоянно регулируются. Установление
окончательных размеров цены осуществляется в ходе конкретных переговоров с
покупателями при формировании так называемой договорной цены. Для
разрабатываемой модели рекомендуется установить договорную цену в размере
16886,60 руб.
Не смотря на высокую конкуренцию и перенасыщенность
рынка верхней одежды на сегодняшний день, рыночные перспективы предлагаемой
модели женского зимнего пальто высоки. Оценка конкурентоспособности товара
доказывает, что предлагаемый товар более конкурентоспособен благодаря
универсализму параметров товара, классическим формам и стилю, отвечающих
современным требованиям рынка, а также цене потребления. Это и указывает на
большую значимость предлагаемого товара для потребителя относительно товара
конкурента.
5. Безопасность жизнедеятельности
.1 Разработка защитных мероприятий от
статического электричества
При выполнении данной выпускной квалификационной работы для изготовления
разрабатываемого изделия использовались материалы из натуральных волокон. Но на
производстве, с целью снижения себестоимости готового изделия, очень
распространено использование смесовых либо синтетических материалов. Тогда
становиться актуальным вопрос о статическом электричестве, его действии на
организм человека и способах борьбы с ним.
5.1.1 Статическое электричество и основные
причины его появления при переработке текстильных полотен
Электростатические заряды возникают на поверхностях некоторых материалов,
как жидких, так и твердых, в результате сложного процесса контактной
электризации.
Электризация возникает при трении двух диэлектрических или
диэлектрического и проводящего материалов, если последний изолирован. При
разделении двух диэлектрических материалов происходит разделение электрических
зарядов, причем материал, имеющий большую диэлектрическую проницаемость,
заряжается положительно, а меньшую - отрицательно. Чем больше различаются
диэлектрические свойства материалов, тем интенсивнее происходит разделение и
накопление зарядов. На соприкасающихся материалах с одинаковыми
диэлектрическими свойствами (диэлектрической проницаемостью) зарядов не
образуется.
В производственных условиях электризация различных веществ зависит от
многих факторов, и прежде всего от физико-химических свойств перерабатываемых
веществ, вида и характера технологического процесса. Величина
электростатического заряда зависит от электропроводности материалов, их
относительной диэлектрической проницаемости, скорости движения, характера
контакта между соприкасающимися материалами, электрических свойств окружающей
среды, относительной влажности и температуры воздуха.
Статическое электричество широко распространено в обыденной жизни каждого
человека, как дома, так и на работе. И швейное производство не исключение.
Существуют некие технологические процессы швейного производства, инициирующие
образование статического электричества. Основной причиной появления
статического электричества при переработке текстильных полотен является трение.
Интенсивность образования электрических зарядов определяется различием
электрических свойств материалов в материалах электрических свойств, а также
силой и скоростью трения. Чем больше сила и скорость трения и больше различие
электрических свойств, тем интенсивнее происходит образование электрических
зарядов. Трение в процессе производства в очень сухом воздухе электризует ткань
особенно сильно.
Заряды статического электричества возникают при отрыве материала от
рулона при его разматывании. Потенциал зарядов незначительный, так что полем их
образования можно пренебречь. Прохождение материала по смотровой доске также
вызывает образование зарядов статического электричества. Сфера действия
положительного поля наэлектризованной ткани составляет 0,5м, но постепенно
увеличивается в направлении транспортирующих валиков. При прохождении через
этот участок материал сильно сжимается прижимным и транспортирующим валиками.
Электризация на этом участке обусловлена не только силой давления между
валиками, но и рыхлостью, пышностью и пористостью материала, так как при
распрямлении сдавленных волокон они электризуются. Наиболее сильно материал
электризуется на раскладчике, изготовленном из дерева. При складывании
материала «в книжку» полотна, постепенно накладываясь друг на друга, создают
мощное электростатическое поле, радиус действия которого достигает в начале
смены 1,5-2м. Через 2-3 ч работы воздух и работающие в подготовительном цехе
становятся наэлектризованными электростатическими зарядами [9].
Заряды статического электричества возникают также при трении ткани о
поверхность стальных направляющих валиков. При движении пальтовых тканей по не
заземленной металлической поверхности измерительного стола образуются
дополнительные электростатические заряды. Сматывание ткани в рулон также
вызывает накопление на ее поверхности зарядов и приводит к электризации валика.
Подкладочные ткани в процессе измерения сильно электризуются при движении
по деревянной поверхности стола и по деревянному скату. При сматывании
измеренной ткани в рулон потенциал электростатического моля растет до величины,
очень чувствительной для работающих. При отлеживании рулонов ткани заряды с ее
поверхности постепенно, в течение 40-60 мин, рассеиваются.
Все материалы с содержанием синтетических волокон обладают
электризуемостью.
Электризуемость текстильных материалов - способность материалов в
определенных условиях генерировать и накапливать на поверхности статическое
электричество. Электризуемость непосредственно связана с природой материалов,
их строением, влажностью. С повышением влажности электризуемость снижается.
Проблема статического электричества стоит особенно остро при работе с
синтетическими тканями. Синтетические, ацетатные и триацетатные волокна и нити,
имеющие низкие показатели гигроскопичности, обладают способностью сильно
электризоваться. Ткани и текстильные изделия из этих волокон и нитей при
эксплуатации также способны накапливать электростатические заряды.
5.1.2 Действие статического электричества на
организм человека и технологические процессы швейного производства
При образовании заряда с большим электрическим потенциалом вокруг него
создается электрическое поле повышенной напряженности, которое вредно для
человека. При длительном пребывании человека в таком поле наблюдаются
функциональные изменения в центральной нервной, сердечно-сосудистой и других
системах. У людей, работающих в зоне воздействия электростатического поля,
встречаются разнообразные жалобы: на раздражительность, головную боль,
нарушение сна, снижение аппетита. Электрическое поле, возникающее на коже
человека под действием большинства синтетических волокон, может нарушать обмен
веществ, изменять артериальное давление, повышать утомляемость и способствовать
ощущению дискомфорта.
При прикосновении человека к предмету, несущему электрический заряд,
происходит разряд последнего через тело человека. Величины возникающих при
разрядке токов небольшие и они очень кратковременны. Поэтому электротравм не
возникает. Физиологическое действие статического электричества зависит от
освободившейся при разряде энергии и может ощущаться в виде слабых, умеренных
или сильных уколов, а в некоторых ситуациях - в виде легких, средних и даже
острых судорог. Короткий шок от поражения разрядом часто вызывает
непроизвольные сокращения мышц. Так как сила тока разряда статического
электричества ничтожно мала, то в большинстве случаев такое воздействие
неопасно. Однако под его воздействием возможны рефлекторные движения, которое
может привести к резкому движению, удару, падению с высоты, попаданию в опасную
зону. Особенно это опасно для работников раскройного цеха.
Для людей часто сталкивающихся с физиологическим действием статического
электричества, выражающееся в виде уколов или судорог, характерны своеобразные
«фобии», обусловленные страхом ожидаемого разряда. Склонность к «фобиям» обычно
сочетается у людей с повышенной эмоциональной возбудимостью.
Эксплуатация одежды из шерстяных и синтетических тканей приводит к
разделению электрических зарядов и накоплению их как на материале, так и на
теле человека, что приводит к прилипанию одежды, образованию искр при снятии
одежды, ощущению дискомфорта. В результате носки электризующейся одежды человек
приобретает заряд и находится под воздействием поля, создаваемого данным видом
текстильного материала.
Электростатическое поле одежды ухудшает и качество самих швейных изделий:
происходит потеря гигиенических свойств изделий, ускоряет потерю прочности,
увеличивает пиллингуемость, изменяет форму изделий, вызывает пожелтение одежды
светлых тонов, ухудшающее качество изделий.
Статическое электричество может также нарушить нормальное течение
технологических процессов, создавать помехи в работе электронных приборов
автоматики и телемеханики, средств радиосвязи.
В соответствии с техническим регламентом таможенного союза ТР ТС 017/2011
«О безопасности продукции легкой промышленности» установлено, что для
материалов, используемых для изготовления швейных изделий третьего слоя, в том
числе ворсовых материалов, подкладочных и прокладочных, уровень напряженности
электростатического поля на поверхности изделия не должен превышать 15 кВ/м
[10].
5.1.3 Основные проблемы, связанные с накоплением
электростатических зарядов на изделиях одежды
Высокое электрическое сопротивление текстильных материалов способствует
накоплению и удержанию на них длительное время электростатических зарядов. В
результате эксплуатации электризующейся одежды человек приобретает заряд и
находится под воздействием, создаваемого определенным видом текстильного
материала, поля, которое неблагоприятно сказывается на здоровье человека.
Проблема скапливания электростатических зарядов на изделиях одежды встает
особенно остро, когда дело касается швейных изделий, изготовленных из
синтетических материалов. Основной причиной этого является то, что
синтетические, ацетатные и триацетатные волокна и нити имеют низкие показатели
гигроскопичности, и поэтому обладают способностью сильно электризоваться.
Поэтому лучше выбирать швейные изделия, изготовленные из натуральных волокон.
Главной причиной возникновения и накопления электростатических зарядов на
изделиях одежды является трение материалов между собой либо о тело или волосы
человека. Но это естественный процесс и от него никуда не деться. Остается лишь
соблюдать некоторые меры для снятия или уменьшения накопленных
электростатических зарядов на изделиях одежды или теле человека.
5.1.4 Методы борьбы с негативным влиянием
статического электричества (Выводы и рекомендации)
Невзирая на большие преимущества материалов из натуральных волокон,
невозможно целиком отказаться от использования синтетических волокон. И от
трения материалов в процессе носки швейных изделий невозможно избавиться.
Поэтому для предупреждения появления и накопления зарядов статического
электричества на швейных изделиях необходимо предусматривать некоторые меры
защиты.
Важной мерой борьбы с накоплением электростатических зарядов на изделиях
одежды является контроль за электростатическими свойствами текстильных
материалов и возможность закладывания определенных электрических свойств
материалов еще на стадии их проектирования. Известны, например, материалы со
встроенной в их структуру антистатической нитью. Это будет способствовать и
улучшению качества готовых изделий, повышение их надежности и долговечности.
Поверхностная компенсация зарядов - один из способов снижения
электризуемости текстильных материалов. На стадии проектирования швейного
изделия пакет материалов подбирается таким образом, чтобы при трении на
поверхности материалов образовывались заряды противоположных знаков, в
результате чего происходила бы их взаимная нейтрализация.
Широко известен такой способ борьбы со скапливанием статического
электричества, как обработка материалов с использованием антистатической
пропитки или нанесение на волокна особого покрытия, например из серебра. Однако
после ряда стирок и химчисток они теряют свои антистатические характеристики,
тогда материалам необходима дополнительная обработка, например,
антистатическая.
Способность материалов электризоваться может быть снижена или вовсе
устранена путем повышения влажности волокон. Но материалы с добавлением
синтетических волокон плохо удерживают влагу, поэтому их необходимо
обрабатывать специальными поверхностно - активными веществами, образующими на
поверхности волокон тончайшую пленку, способную удерживать влагу. Такая пленка
вместе с поглощенной ею водой снижает электрическое сопротивление тканей.
Подобная обработка и называется антистатической. Она является самой простой,
доступной и поэтому самой распространенной.
Существует несколько видов антистатических препаратов. В основном их
выпускают в виде спреев, распыляемых на одежду. Их стоит подразделить на два
подвида. Первый содержит этиловый спирт, который довольно быстро испаряется с
поверхности одежды, но является токсичным, после него остается стойкий запах.
По этой причине антистатик необходимо распылять только в хорошо проветриваемом
помещении. Второй подвид спреев, снимающих электричество, создан на основе воды
и считается практически безопасным.
Помимо спреев антистатические препараты выпускают также в виде пасты,
растворимой в воде, для полоскания изделий и в виде бальзама - ополаскивателя,
используемого при стирке белья.
Очень распространены антистатики с различными ароматами. Они освежают
одежду, нейтрализуют статическое электричество, предотвращают прилипание одежды
к телу человека, а также не оставляют разводов и пятен на светлых и цветных
тканях.
Рынок бытовой химии предлагает множество марок производителей
антистатиков со всего мира. Среди антистатических средств отечественного
производства самыми распространенными являются: «Лана» - аэрозоль, «Антистатик»
и «Чародейка» - пасты для разведения в воде, «Фенечка» - детский кондиционер.
Также распространены израильский спрей Baqi, украинский Free Stale, «Элегантная
защита» из Японии и множество других.
Заключение
В ходе выполнения данной выпускной квалификационной работы была
разработана модель женского зимнего пальто на типовую фигуру 170-96-100 и
необходимая проектно-конструкторская документация на данное изделие.
В результате анализа современного направления моды была разработана
коллекция моделей-предложений женского зимнего пальто, из которой выбрана одна
основная модель для дальнейшей разработки. С помощью САПР «Grafis» была
разработана базовая конструкция, произведено техническое моделирование и
изготовлен полный комплект лекал. Выполнена проверка качества конструкции
методом макетирования. В результате выявленные и внесенные в процессе
макетирования изменения позволили получить улучшенную посадку изделия на
манекене. Правильно подобранный пакет материалов и разработанные методы
обработки узлов и последовательность изготовления изделия позволили получить
качественно разработанное изделие, не требующее большого количества времени и
усилий для его создания на этапах конструирования, моделирования и технологии
изготовления изделия.
В ходе маркетинговых исследований был изучен спрос на предлагаемый товар
методом анкетирования. Выявлен сегмент рынка, на который будет ориентирован
изготавливаемый продукт, произведена оценка конкурентоспособности предлагаемой
модели и рассчитана ее себестоимость. В результате этого было выявлено, что
данная модель женского зимнего пальто является перспективной для массового
выпуска.
Разработанная модель женского зимнего пальто запущена в серийное производство
на швейном предприятии по производству верхней женской одежды ООО «Малка».
Список использованных источников
1 Татьяна
Великая. Модные пальто осень зима 2013-2014.
URL:://tvoiugolok.ru/chto-ninche-modno/modnie-palto-osen-zima-2013-2014-foto-zhenskich-modeley-i-fasonov.html
2 Н.А.Савостицкий. Выбор
материалов для швейного изделия. URL:
<http://academy.cross-kpk.ru/bank/6/009/TITUL.html>
Конструктивное моделирование
одежды: Учебное пособие для вузов/ Мартынова А.И. [и др.] - М.: Московская
государственная академия легкой промышленности, 2002. - 216 с.
Конструирование одежды :
Учебник для студентов учреждений среднего профессионального образования/
Амирова Э.К. [и др.] - 3-е изд. - М.: Издательский центр «Академия», 2006. -
496 с.
Антипина Е.С., Сафронова М.В.
- Методические указания к курсовому проектированию. - СПб 2008
Организация, планирование и
управление предприятиями текстильной и лёгкой промышленности: Учебник / Под.
ред. Стреляева В. С. - М.: Легпромбытиздат, 1994.- 456 с.
Беляевский И.К. Маркетинговое
исследование: информация, анализ, прогноз: Учебное пособие. - М.: Финансы и
статистика, 2001. - 320 с.
Экономика предприятий швейной
промышленности. Бабаджанов С.Г. [и др.] - М.: Академия, 2003. - 320 с.
Электризуемость текстильных
материалов.
URL:://www.chelabinck.ru/e/775840-elektrizuemost-tekstilnyih-materialov
Технический регламент
таможенного союза ТР ТС 017/2011 "О безопасности продукции легкой
промышленности"