Привод подвесного конвейера
МИНОБРНАУКИ РОССИИ
Федеральное государственное бюджетное
образовательное учреждение
высшего профессионального образования
"Ухтинский государственный
технический университет"
(УГТУ)
филиал Ухтинского государственного
технического университета в г. Усинске
(УФ УГТУ)
ПРИВОД ПОДВЕСНОГО
КОНВЕЙЕРА
Расчетные работы по
теории механизмов и машин
ТММ 21 РПР
Преподаватель Е.И. Кейн
Выполнил студент группы НГД12 (о)
Р.Х. Урманов
г.
Содержание
Задание
1. Кинематический и силовой расчёт привода
1.1 Выбор асинхронного электродвигателя
1.3 Частоты вращения, угловые скорости, мощности и моменты на валах
привода
2. Расчёт косозубой передачи редуктора
2.1 Материалы зубчатых колёс и допускаемые напряжения
2.2 Расчёт геометрических параметров раздвоенной косозубой
быстроходной передачи
2.3 Проверочный расчёт прочности зубьев быстроходной передачи
3. Расчёт клиноремённой передачи
3.1 Исходные данные для расчёта
3.2 Сечение ремня, диаметры шкивов
3.3 Межосевое расстояние, длина ремня
После подстановки получаем
3.4 Количество ремней в передаче
3.5 Предварительное натяжение ремня, действующая нагрузка на валы,
ширина шкивов
3.6 Нормы для контроля предварительного натяжения ремня
Литература
Задание
По заданию 1 и варианту 2 /1, с.13/ для привода подвесного
конвейера по схеме рисунка 1. решить следующие задачи:
− выбрать асинхронный электродвигатель;
− вычислить скорость вращения, мощность и крутящий
момент для каждого из валов привода;
− рассчитать косозубую цилиндрическую передачу
редуктора;
− рассчитать клиноременную передачу.
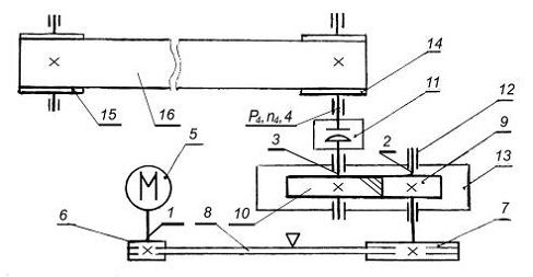
1 - вал электродвигателя; 2 - вал ведущий
редуктора; 3 - вал ведомый редуктора; 4 - вал конвейера; 5 - электродвигатель;
6, 7 - соответственно ведущий и ведомый шкивы клиноременной передачи; 8 -
ремень клиновой; 9, 10 - соответственно ведущее и ведомое косозубые колёса
редуктора; 11 - муфта компенсирующая; 12 - подшипники; 13 - корпус редуктора;
14, 15 - барабаны конвейера соответственно ведущий и ведомый; 16 - лента
конвейера.
Рисунок 1.1 - Схема привода
Мощность 
и частота вращения 
для выходного вала равны соответственно 1,8 кВт и 80 1/мин.
Расчётный срок службы привода 36000 часов. Кратковременные перегрузки
соответствуют максимальному пусковому моменту электродвигателя. Привод
нереверсивный.
привод подвесной конвейер редуктор
1.
Кинематический и силовой расчёт привода
1.1 Выбор
асинхронного электродвигателя
1.1.1 Требуемая мощность электродвигателя:
, (1.1)
где 
- мощность для выходного вала, кВт;
- КПД привода.
, (1.2)
где
- соответственно КПД на маховике,
ремённой, цилиндрической зубчатой передаче, на паре подшипников качения.
Руководствуясь рекомендациями /2, с.5/, принимаем
= 0,96,
= 0,97,
= 0,99,
= 0,99.
После подстановки численных значений параметров в формулы (1.1) и
(1.2) получим КПД привода
и требуемую мощность электродвигателя
.1.2 С учётом требуемой мощности
кВт рассмотрим возможность выбора асинхронного двигателя серии 4А
с мощностью
кВт /2, с.390/. Для которого недогрузка
составляет
при допускаемой недогрузке 20%.
Для двигателей с мощностью 2,2 кВт рассчитаны следующие синхронные
частоты вращения
: 750, 1000, 1500, 3000 об/мин.
Для ориентировки в выборе двигателя по частоте вращения оценим
передаточное отношение привода
, вычисленное по, примерно, средним значениям рекомендуемых
передаточных отношений отдельных передач. Возьмем эти значения для ременной и
цилиндрической зубчатой передачи соответственно
/2, с.7/. После перемножения получим в результате
.
При таком передаточном отношении привода и частоте вращения его
выходного вала
об/мин потребуется двигатель с частотой
вращения
об/мин.
.1.3 Окончательно выбираем /2, с.390/ ближайший по частоте
вращения асинхронный электродвигатель марки 4A100L6 со следующими параметрами:
мощность
синхронная частота вращения
об/мин;
отношение пускового момента к номинальному Tп/Tн= 2,0
.2 Передаточные отношения привода и отдельных его передач
Общее передаточное отношение привода при частоте вращения его
входного вала
. (1.3)
Находим номинальную частоту

, (1.4)
где s - скольжение при номинальной нагрузке в
%, 
об/мин. - требуемая частота.
После подстановки численных значений параметров в формулу (2.2)
получаем номинальную частоту двигателя
Расчёт по формуле (1.3) даёт
.
Принимая 
= 2,5 находим 

(1.5)
Подставляя значения, имеем

.
1.3 Частоты
вращения, угловые скорости, мощности и моменты на валах привода
1.3.1 Частоты вращения валов:
об/мин;
об/мин;
об/мин;
об/мин.
Находим различие полученной
с изначальным значением
где 80,02 - полученное значение
, 80 - изначальное значение
.
.3.2 Угловые скорости валов:
рад/с;
рад/с;
рад/с;
рад/с.
.3.3 Мощности на валах привода:
кВт;
кВт;
кВт;
кВт.
Находим различие полученной 
c изначальным значением

,
где 1,79 - полученное значение 
, 1,8 - изначальное значение 
.
.3.4 Моменты на валах привода:
Н×м;
Н×м;
Н×м;
Н×м.
.3.5 Максимальный момент при перегрузке на первом валу (на валу
двигателя)
.
Мощности двигателя
кВт соответствует номинальный момент
Н×м. Отсюда
Нм
Очевидно, при кратковременных перегрузках максимальные моменты на
всех остальных валах будут превышать моменты, рассчитанные при передаче
требуемой мощности в
раза.
Исходя из этого соображения, получаем:
Н×м;
Н×м;
Н×м;
Н×м;
.3.6 Результаты расчетов, выполненных в подразделе 1.3, сведены в
таблице 1.1.
Таблица 1.1 - Частоты вращения, угловые скорости, мощности и
моменты на валах привода
|
№ вала по
рис.1.1
|
, об/мин , рад/с , кВт , Н×м , Н×м
|
|
|
|
|
|
1
|
949
|
99,33
|
1,98
|
19,93
|
44,29
|
|
2
|
379,5
|
39,73
|
1,88
|
47,32
|
114,05
|
|
3
|
80,02
|
8,38
|
1,81
|
215,9
|
479,29
|
|
4
|
80,02
|
8,38
|
1,79
|
213,6
|
474, 19
|
2. Расчёт
косозубой передачи редуктора
2.1 Материалы
зубчатых колёс и допускаемые напряжения
.1.1 Задание не содержит ограничений на габариты привода,
поэтому для зубчатых колёс назначаем дешевую углеродистую качественную
конструкционную сталь 45 по ГОСТ 1050-88. После улучшения (закалка и высокий
отпуск до окончательной обработки резанием) материал колес должен иметь
нижеследующие механические свойства /2, с.34/:
Колесо
|
|
Твердость
|
НВ 230…260
|
НВ 200…225
|
|
Предел
текучести , не менее440 МПа400 МПа
|
|
|
|
Предел
прочности , не менее750 МПа690 МПа
|
|
|
2.1.2 Допускаемое контактное напряжение при расчёте зубьев на
выносливость в общем случае /2, с.33/
(2.1)
где
- предел контактной выносливости при
базовом числе циклов, МПа;
- коэффициент долговечности;
-коэффициент безопасности.
Для стальных колес с твердостью менее HB 350 /2, с.34/
. (2.2)
Коэффициент долговечности /2, с.33/
, (2.3)
Где
-базовое число циклов;
-эквивалентное (действительное) число циклов перемены напряжений.
Для стали с твердостью НВ 200 базовое число циклов
/2, с.34/.
Эквивалентное (действительное) число циклов /3, с.184/
, (2.4)
Где
-число зубчатых колёс, сцепляющихся с
рассматриваемым колесом;
-частота вращения этого колеса, об/мин;
-срок службы передачи в часах.
Для шестерни и для колеса
,
об/мин,
об/мин, 
Расчёт по формуле (2.4) даёт для шестерни и колеса соответственно
,
.
Без вычислений по формуле (2.3) видно, что коэффициент
долговечности для каждого из колёс окажется меньше единицы, так как
и
. В таком случае следует принимать
/2, с.33/.
Если взять коэффициент безопасности
/2, с.33/, то расчёт по формулам (2.1) и (2.2) даст допускаемые
контактные напряжения для шестерни и колеса соответственно
МПа,
МПа.
В частном случае для косозубых передач допускаемое контактное
напряжение при расчёте на выносливость /2, с.35/
(2.5)
при соблюдении условия
,
Где
и
-соответственно допускаемые контактные напряжения для шестерни и
колеса, вычисленные по формуле (2.1), МПа;
-меньшее из двух напряжений, входящих в правую часть формулы
(2.5), МПа.
Расчёт по формуле (2.5) даёт для быстроходной пары
МПа. Условие
выполняется, так как
.
.1.3 Допускаемое контактное напряжение при кратковременных
перегрузках для колёс из нормализованной, улучшенной и объёмно закалённой стали
зависит от предела текучести
и вычисляется по формуле /3, с.187/:
(2.6)
При
МПа (минимальное значение для колеса по
пункту 2.1.1)
МПа.
.1.4 Допускаемые напряжения изгиба при проверочном расчете зубьев
на выносливость вычисляются по формуле /3, с. 190/
, (2.7)
где
-предел выносливости материала зубьев при отнулевом цикле,
соответствующий базовому числу циклов;
-коэффициент долговечности при расчете зубьев на изгиб;
-коэффициент, учитывающий влияние двустороннего приложения
нагрузки на зубья (в случае реверсивной передачи);
-допускаемый коэффициент безопасности (запаса прочности)
По рекомендации /2, с.43…45/ берем:
для нормализованных и улучшенных сталей
НВ;
при одностороннем нагружении зубьев, принимая привод не
реверсивным,
;
для стальных поковок и штамповок при твёрдости менее НВ 350
.
Коэффициент долговечности /3, с. 191/
, (2.8)
Где
-показатель корня;
-базовое число циклов;
-эквивалентное (действительное) число циклов.
Для колёс с твёрдостью зубьев до НВ 350 величина
равна соответственно 6. Для всех сталей
принимается
.
Для обоих колёс
имеет те же численные значения, что и
(см. пункт 2.1.2). Оба эти значения (для
шестерни -
, для колеса -
) больше
.
Поэтому принимается коэффициент долговечности
/3, с. 191, 192/.
Расчёт по формуле (2.7) даёт соответственно для шестерни и колеса
.1.5 Допускаемое напряжение изгиба при расчёте зубьев на
кратковременные перегрузки при твёрдости менее НВ 350 /3, с. 193/
. (2.9)
Расчёт по этой формуле с учетом
характеристик материала (см. пункт 2.1.1) даёт для шестерни и колеса
соответственно
2.2 Расчёт
геометрических параметров раздвоенной косозубой быстроходной передачи
Межосевое расстояние цилиндрической
зубчатой передачи из условия контактной выносливости активных поверхностей
зубьев /2, с.32/
, (2.10)
Где
- коэффициент, равный 43 для косозубых
колес соответственно;
iз - передаточное число зубчатой пары;
- момент на колесе (на большем из колес), Н×м;
- коэффициент, учитывающий неравномерность распределения нагрузки
по ширине венца;
- допускаемое контактное напряжение, МПа;
- коэффициент ширины венца по межосевому расстоянию.
Передаточное число
, а момент
Н×м (см. раздел 1). Допускаемое напряжение
МПа вычислено в пункте 2.1.1.
Коэффициент ширины венца по межосевому расстоянию
возьмём по рекомендации /2, с.33/,
рассматривая пока быстроходную передачу как сплошную шевронную, т.е. как
неразделённую.
Каждое из колёс разделённой передачи расположено несимметрично
относительно опор, для этого случая примем пока ориентировочно
/2, с.32/.
В итоге расчёт по формуле (2.10) даёт
Межосевое расстояние округляем до стандартного значения
мм /2, с.36/. Нормальный модуль /2, с.36/
мм. Из стандартного ряда модулей /2, с.36/ берем
мм. Назначим предварительно угол наклона
/2, с.37/. Тогда число зубьев шестерни
.
Примем
, тогда число зубьев колеса
Фактическое передаточное отношении 
, т.е. не отличается от принятого ранее в подразделе 1.2.
Уточненное значение
.
Оно соответствует
При обработке шестерни с числом зубьев
подрезание зубьев исключается, так как
условие неподрезания (2, с.38)
соблюдено, что видно без расчёта.
Делительные диаметры шестерни и колеса соответственно
мм,
мм.
Правильность вычислений подтверждается проверкой:
мм.
Диаметры вершин зубьев
мм,
мм.
Диаметры впадин зубьев
мм,
мм.
Быстроходная ступень рассчитывается как
нераздвоенная, поэтому расчётная суммарная ширина ее двух колёс
мм.
Ширина колеса равна
.
Шестерню возьмём шире колеса на 5 мм. Таким образом, ширина
шестерни
мм. Примем
Коэффициент ширины шестерни по диаметру
.
2.3
Проверочный расчёт прочности зубьев быстроходной передачи
.3.1 Расчётное контактное напряжение для
косозубых цилиндрических передач /2, с.31/
, (2.11)
где
- коэффициент нагрузки;
- ширина колеса расчётная (наименьшая).
Остальные символы в формуле расшифрованы ранее.
Окружная скорость колёс
м/с.
При такой скорости назначаем восьмую
степень точности /2, с.32/.
Коэффициент нагрузки /2, с.32/ при
проверочном расчёте на контактную прочность
, (2.12)
где
- коэффициент, учитывающий
неравномерность распределения нагрузки между зубьями;
- коэффициент, учитывающий неравномерность распределения нагрузки
по длине зуба (по ширине венца);
- коэффициент, учитывающий дополнительные динамические нагрузки
(динамический коэффициент).
По рекомендациям /2, с.39, 40/ назначаем
следующие значения перечисленных коэффициентов:
при окружной скорости
м/с и восьмой степени точности;
при значении коэффициента
, твердости зубьев менее НВ 350 и несимметричном расположении
колёс относительно опор;
при окружной скорости
м/с, восьмой степени точности и твердости менее НВ 350.
Расчёт по формуле (2.12) даёт
.
Расчёт по формуле (2.11) даёт
МПа <
МПа.
Условие прочности выполняется, недогрузка
. Она объясняется увеличением первоначально вычисленного
межосевого расстояния 139,35 до стандартного 140 мм, а также тем, что
уточненное значение
оказалось меньше ранее ориентировочно
выбранного
.
.3.2 Расчет зубьев на контактную прочность по формуле (2.11) при
кратковременных перегрузках моментом
Н×м (см.
раздел 1) даёт
МПа <
МПа.
.3.3 Напряжения изгиба зубьев косозубых цилиндрических колёс
при проверочном расчёте на выносливость вычисляются по формуле /2, с.46/
, (2.13)
Где
- окружная сила, Н;
- коэффициент нагрузки;
- коэффициент формы зуба;
- коэффициент, компенсирующий погрешности, возникающие из-за применения
для косых зубьев той же расчетной схемы, что и для прямых;
- коэффициент, учитывающий неравномерность распределения нагрузки
между зубьями;
- ширина колеса, находящаяся в зацеплении (минимальная), мм;
- модуль нормальный, мм.
окружная
адиальная
осевая
Коэффициент нагрузки /2, с.42/
, (2.14)
где
- коэффициент, учитывающий
неравномерность распределения нагрузки по длине зубьев;
- коэффициент, учитывающий дополнительные динамические нагрузки
(коэффициент динамичности).
Примем
/2, с.43/ с учётом, что твёрдость колёс
менее НВ 350, коэффициент
, а каждое из колёс расположено
несимметрично относительно опор.
Назначим
, учитывая дополнительно, что окружная
скорость
м/с < 3 м/с, а степень точности
принята восьмая.
Тогда по формуле (3.14)
.
Без расчётов, руководствуясь только рекомендацией /2, с.47/,
возьмем
.
Коэффициент
определим по формуле /2, с.46/
.
(Здесь
- вычисленный уже ранее угол наклона
зубьев в град.)
Коэффициент формы зуба
для косозубых колёс зависит от эквивалентного числа зубьев /2,
с.46/, которое составляет
для шестерни
для колеса
Для эквивалентных чисел зубьев соответственно шестерни и колеса
находим /2, с.42/
,
.
Подстановка подготовленных численных значений в формулу (2.13)
дает для шестерни и колеса соответственно
Это значительно меньше вычисленных в пункте 2.1.4 допускаемых
напряжений
МПа и
МПа.
.3.4 Напряжения изгиба при кратковременных перегрузках вычисляются
также по формуле (2.13), куда вместо окружной силы
, рассчитанной для длительно передаваемой
мощности, следует подставить окружную силу при кратковременных перегрузках
Н.
После подстановки в формулу (2.13)
получаем при перегрузках соответственно для шестерни и колеса напряжения изгиба
Эти напряжения значительно меньше вычисленных в пункте 2.1
допускаемых напряжений
МПа и
МПа.
.3.5 Геометрические параметры колес быстроходной зубчатой передачи,
обоснованные в результате расчётов, сведены в таблицу 2.1.
Таблица 2.1 - Геометрические параметры колёс быстроходной
зубчатой передачи
|
Параметры
|
Шестерня
|
Колесо
|
|
Межосевое
расстояние, мм
|
140
|
|
Нормальный
модуль, мм
|
2,5
|
2,5
|
|
Угол наклона
зубьев, град
|
13°42’
|
13°42’
|
|
Число зубьев
|
19
|
90
|
|
Направление
зубьев
|
правое
|
левое
|
|
Делительные
диаметры, мм
|
48,81
|
231,2
|
|
Диаметры вершин
зубьев, мм
|
53,81
|
236,2
|
|
Диаметры впадин
зубьев, мм
|
42,56
|
224,95
|
|
Ширина венцов
колес, мм
|
60
|
56
|
3. Расчёт
клиноремённой передачи
3.1 Исходные
данные для расчёта
Из раздела 1 заимствуются следующие данные:
передаваемая мощность
кВт;
частота вращения ведущего шкива
об/мин;
передаточное отношение
;
момент на ведущем шкиве
Н×м.
Относительное скольжение ремня
возьмём по рекомендации /3, с.131/.
3.2 Сечение
ремня, диаметры шкивов
В зависимости от частоты вращения малого шкива и передаваемой
мощности выбираем по номограмме /2, с.134/ клиновой ремень сечения Б.
Ориентировочно диаметр меньшего шкива /2, с.130/
По рекомендациям /2, с.132/ принимаем 
Принимаем стандартную величину
мм /2, с.133/, при которой фактическое передаточное отношение
. Оно меньше принятого первоначально
. Расхождение составляет
, что, однако, меньше допускаемых обычно
3%. Окончательно принимаем диаметры шкивов
мм,
мм.
3.3 Межосевое
расстояние, длина ремня
Литература рекомендует принимать межосевое расстояние в
интервале /2, с.130/
, (3.1)
где
- высота сечения ремня в мм.
Для ремня типа Б
мм /2, с.131/.
Расчёт по формулам (6.1) даёт
,
Примем:
мм.
Соответствующая принятому межосевому
расстоянию расчётная длина ремня /2, с.121/
Ближайшая стандартная длина ремня
мм /2, с.131/. Соответствующее уточнённое межосевое расстояние /2,
с.130/
, (3.2)
где
.
После подстановки получаем

мм.
3.4
Количество ремней в передаче
Количество ремней вычисляется по формуле /2, с.135/

, (3.3)
где
- мощность, передаваемая ремённой
передачей, кВт;
- коэффициент режима работы;
- мощность, допускаемая для передачи одним ремнём, кВт;
- коэффициент, учитывающий влияние длины ремня;
- коэффициент, учитывающий влияние угла охвата меньшего шкива;
- коэффициент, учитывающий число ремней в передаче.
Передаваемая мощность
кВт (см. пункт 1.1.1).
Коэффициент режима работы
при двухсменной работе и кратковременных перегрузках,
составляющих 200% от номинальной нагрузки /2, с.136/.
Мощность, передаваемая одним ремнем,
кВт для
мм,
об/мин и
/2, с.132/.
Коэффициент
для ремня с сечением Б и длиной
мм /2, с.135/.
Коэффициент
принят в предположении, что число ремней
составит 2 - 3.
Для выбора коэффициента
найдем сначала угол охвата меньшего шкива /2, с.130/
.
При таком значении
следует принять
/2, с.135/.
Расчёт по формуле (3.3) даёт
Окончательно принимаем число ремней
.
3.5
Предварительное натяжение ремня, действующая нагрузка на валы, ширина шкивов
.5.1 Предварительное натяжение ветвей одного клинового ремня вычисляется
по формуле /2, с.136/
, (3.4)
где
- скорость ремня, м/с;
- коэффициент, учитывающий влияние центробежной силы.
Скорость ремня
м/с. Значение
принимаем по рекомендации /2, с.136/.
Расчёт по формуле (3.4) даёт
.5.2 Нагрузка от натяжения всех ремней,
действующая на валы /2, с.136/,
.5.3 Ширина обода шкива /2, с.138/ в миллиметрах
, (3.5)
где
- расстояние между канавками на ободе,
мм;
- расстояния от середины крайних канавок
до краёв обода, мм.
Расчёт по формуле (3.5) при
мм и
мм дает
3.6 Нормы для
контроля предварительного натяжения ремня
Предварительное натяжение ремня
при сборке передачи и во время ее эксплуатации контролируют
обычно не непосредственно, а косвенно, измеряя стрелу прогиба ремня
под определенной нагрузкой
, приложенной перпендикулярно к ремню в
середине ветви, как показано на рисунке 3.1.
Зависимость между
,
и
для передачи по схеме рисунка 3.1 выражается формулой /4, с.131/
, (3.6)
где
- модуль упругости ремня, Н/мм2;
- площадь сечения ремня, мм2.
Зададимся стрелой прогиба
мм /4, с.133/. Для ремня типа Б величина
Н /4, с.134/.
Рисунок 3.1 - Иллюстрация контроля предварительного натяжения
ремня
По формуле (3.6) после ее преобразования вычислим
Окончательно принимаем
мм,
Литература
1.
Жингаровский, А.Н. Задания на расчётные работы по теории механизмов и машин
[Текст]: метод. указания /А.Н. Жингаровский, Е.И. Кейн, М.Н. Коновалов. - Ухта:
УГТУ, 2008. - 37 с., ил.
.
Курсовое проектирование деталей машин: Учеб. пособие для учащихся
машиностроительных специальностей техникумов / С.А. Чернавский, К.Н. Боков,
И.М. Чернин и др. - 2-е изд., перераб. и доп. - М.: Машиностроение, 1988. - 416
с.
.
Гузенков П.Г. Детали машин: Учеб. пособие для студентов втузов / П.Г. Гузенков
- 3-е изд., перераб. и доп. - М.: Высш. школа, 1982. - 351 с.