Технологія і організація будівництва підземного сталевого газопроводу по вулиці Фрунзе

  • Вид работы:
    Курсовая работа (т)
  • Предмет:
    Строительство
  • Язык:
    Украинский
    ,
    Формат файла:
    MS Word
    96,73 Кб
  • Опубликовано:
    2014-01-21
Вы можете узнать стоимость помощи в написании студенческой работы.
Помощь в написании работы, которую точно примут!

Технологія і організація будівництва підземного сталевого газопроводу по вулиці Фрунзе

ВСТУП

Основним напрямком розвитку енергетики України є подальше збільшення об’ємів використання найбільш ефективного виду палива - газового. Проблема газифікації великих міст вирішена майже повністю. Поширення використання газового палива в сільськогосподарському виробництві та в побуті сільського населення залишається низьким. Обумовлюється це тим, що для підвищення рівня газифікації потрібно підвищити якість і збільшити темпи будівництва міжселищних газопроводів, вуличних газопроводів сільських населених пунктів.

Охтирському Управлінню експлуатації газового господарства на сьогодні підпорядковано 1466,3 км газових мереж, з них в Охтирці 68,5 км мережі високого та середнього тиску та 147 км мереж низького тиску.

Розглядаючи технологію виконання окремих видів робіт, неможливо не звернути увагу на ряд підготовчих правових, фінансово-економічних і організаційно-технічних проблем, без правильного вирішення яких - в їх взаємному зв’язку - сама передова технологія може стати зовсім не ефективною.

Тому суттєво коротко нагадати ті загальні питання, які вирішують успіх роботи будівельників :

1)  своєчасне забезпечення якісною проектно-кошторисною документацією;

2)      організаційна структура та взаємозв’язки між замовником, проектними організаціями, підрядчиком, субпідрядниками, колективними виконавцями ( бригадами ) та підсобних служб: матеріально-технічного забезпечення, транспортниками, механізаторами та ін.;

)        комплексна підготовка будівництва, яка включає всі заходи що здійснює замовник, підрядчик та підсобні служби до початку робіт на об’єкті.

Вирішення цих питань можливе лише за умови підвищення якості проектних робіт по даних об’єктах. Для цього впроваджено в життя

ДБН А.3.1-5-96 “Організація будівельного виробництва”. Цей документ чітко визначив вимоги до складання проектів виконання робіт.

Метою виконання курсового проекту є вироблення навичок по складанню проекту виконання робіт по будівництву газопроводів на сільських вулицях.

траншея зварювання газопровід

1. ЗАГАЛЬНА ЧАСТИНА

1.1     Характеристика об’єкту, що будується

Проект виконання робіт розробляю по спорудженню підземного сталевого газопроводу по селищній вулиці при малоповерховій забудові; вулиця має рівнинний характер; геодезична відмітка початку будівництва +147,3 м; довжина газопроводу, на який виконується проект 230 м; геодезична відмітка останнього пікету газопроводу +146,8 м; місце прокладання газопроводу завданням визначено по асфальтованій дорозі; переважна більшість ґрунтів по трасі віднесена до третьої категорії. Виконання робіт ведеться сталевими трубами по ГОСТ 10704-91; Ø133х4,0, довжина окремої труби - 6 м та Ø159х4,5, довжина окремої труби - 10 м. Робочий тиск газу - 0,007 МПа. Вивезення надлишкового ґрунту буде здійснюватися на відстань 15 км; рівень залягання ґрунтових вод нижче 3 м, трасу будівництва перетинає кабель на глибині 0,6 м.

2. РОЗРАХУНКОВО-ТЕХНОЛОГІЧНИЙ РОЗДІЛ

.1 Вибір методу виконання робіт

Головним фактором при виборі методу виконання робіт по будівництву підземного газопроводу по вулицям сіл є фактор часу виконання робіт, так як сам процес виконання робіт створює тимчасові незручності для жителів даної вулиці, руху громадського транспорту. Найбільш ефективним з цієї точки зору є потоково-захватний метод виконання робіт. Суть його зводиться до того, що весь фронт будівництва розподіляємо на приблизно однакові по довжині ділянки - “захвати”, на яких одночасно виконуються взаємозв’язані комплекси робіт з однаковою швидкістю. Це дає змогу закінчити роботу по окремим “захватам” на протязі п’яти робочих днів.

Кожний з захватів отримав свою назву і передбачає виконання робіт, котрі забезпечують подальше будівництво.

Захват “підготовчі роботи” включає слідуючі види робіт:

1)      геодезична розбивка траси газопроводу на місцевості, з обов’язковою прив’язкою місць перетину газопроводу з іншими інженерними комунікаціями;

2)      зняття асфальтованого покриття;

)        відриття шурфів в місцях перетину газопроводу;

)        захист оголених комунікацій на період проведення робіт;

)        огородження будівельного майданчика;

)        завезення труб на трасу, розкладання їх по довжині;

)        зварювання труб в пліті поворотними стиками;

)        перевірка і ізоляція поворотних стиків.

Захват “земляні роботи” передбачає:

1)      відриття траншеї газопроводу екскаватором;

2)      зачистка дна траншеї вручну;

)        поширення приямків для зварювання неповоротних стиків;

)        устрій постелі під газопровід;

)        встановлення перехідних містків.

Захват “монтажно-вкладальних робіт” включає:

1)      вкладання окремих плітей в траншею;

2)      зварювання неповоротних стиків;

)        ізоляція неповоротних стиків;

)        присипку газопроводу вручну.

Захват “випробування” передбачає:

1)      перевірка стиків фізичними методами;

2)      випробування на міцність;

)        випробування на щільність.

Захват “заключні роботи” включає:

1)      ущільнення присипки;

2)      зняття перехідних містків і захисних пристосувань комунікацій;

)        розбір тимчасового огородження траси;

)        бульдозерна засипка траншеї газопроводу та приямків;

)        вивезення надлишкового ґрунту;

)        ущільнення ґрунту траншеї катком.

.2 Обґрунтування форми і габаритів траншеї

Земляні роботи по риттю траншеї і котлованів повинні виконуватися після розбивки траси газопроводу, визначення меж розбивки і встановлення попереджуючих знаків про наявність на даній ділянці траси підземних комунікацій.

У відповідності до вимог [1] відстань від поверхні ґрунту до верху ізольованої труби складає 0,8 м. Трасу газопроводу на глибині 0,6 м перетинає кабель. Згідно вимог [1] відстань у просвіті між газопроводом будівництво якого ведеться і існуючим кабелем повинна складати 0,5 м.

Для визначення глибини траншеї необхідно визначити діаметр ізольованої труби, який знаходжу згідно формули

Dіз = Dзовн + 2Т,  (1)

де Dзовн - зовнішній діаметр труби, м;

Т - товщина шару ізоляції (для “дуже посиленої” ізоляції Т=9мм), м.

Dіз.1= 133+2*8 = 151мм

Dіз.2 = 159+2*8 = 177 мм

Середній зовнішній діаметр визначаю згідно формули

Dсер.= , (2)

де Dіз.1, Dіз.2 - зовнішній діаметр ізольованої труби першої та другої ділянки, мм;

L1, L2 - відповідні їх довжини, м.

Dсер. = ,

Визначаю глибину траншеї за формулою

Н тр.= Н закл +Dіз. (3)

де Н закл - глибина закладання діючого газопроводу, м;

Dсер. - середній діаметр ізольованої труби газопроводу, м.

Н тр = 0,8 + 0,15 = 0,95 м

Оскільки на глибині 0,6 м існує кабель, що заважає виконанню робіт то необхідно перевірити зазор між існуючими комунікаціями :

∆Н = Н закл. - Н ком., (4)

де Н ком. - глибина закладання існуючої комунікації. м.

∆Н = 0,8 - 0,6 = 0,2 м

Для виконання вимог ДБН необхідно кабель заключити в футляр, що надасть змогу зменшити зазор з 0,5 до 0,25 м, а глибину закладання газопроводу збільшити. Отже остаточна глибина траншеї

Нтр. = 0,85+,15=1,0

Ширина дна траншеї для прокладання сталевих газопроводів залежить від способу вкладання та діаметра ізольованої труби і може бути визначена за формулою

В=Dіз.+ 0,3 ≥ 0,7,  (5)

де Dіз. - діаметр ізольованої труби, м.

В = 0,15 + 0,3 = 0,45 < 0,7 м

Але остаточно ширину низу траншеї приймаю по ширині ріжучої кромки ковша екскаватора, попередньо прийнявши згідно довідника [2] пневмоколісний екскаватор з оберненою лопатою марки ЭО-2621 з ємкістю ковша 0,25 м3 та шириною ріжучої кромки (ШРК) 0,7 м. В процесі виконання роботи стінки траншеї обрушуються і величина цього обрушення визначається категорією ґрунту. Таким чином, остаточна ширина низу траншеї може бути визначена за формулою

Вост = ШРК+δ,   (6)

де ШРК - ширина ріжучої кромки (ШРК=0,7 м), м;

δ - величина обрушення (для третьої категорії ґрунту δ = 0,1 м), м.

Вост. = 0,7 + 0,1 = 0,8 м

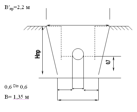
Згідно вимог [10] для третьої категорії ґрунту максимальна глибина траншеї з вертикальними стінками і без кріплення становить 1,5 м, а тому після проведення необхідних розрахунків траншея матиме такий вигляд.

В=0,8

Малюнок 1- Профіль траншеї

2.3 Підрахунок об’ємів робіт і вибір ведучого механізму

При будівництві підземних газопроводів розробка ґрунту полягає у копанні шурфів в місці врізання газопроводу та з метою виявлення місць перетину з іншими інженерними комунікаціями, риття траншеї, поширення приямків для зварювання неповоротних стиків. В процесі копання траншеї екскаватор не створює рівного дна, тому завжди необхідно робити ручну зачистку, величина якої по глибині для вибраного типу екскаватора становить 0,1 м. Для спрощення підрахунки веду на один метр траншеї.

Визначаю об’єм ґрунту, що розробляється при копанні шурфів, за формулою

Vшур = В*Н*L1,  (7)

де В - ширина низу траншеї, м;

Н - глибина траншеї, м;

L1 - довжина траншеї (прийнято 1 м), м.

Vшур=0,8*1 *1=0,8 м3

Об’єм ґрунту, що розробляється при копанні траншеї екскаватором визначаю згідно формули

Vекс. =В*(Н - с)* L1, (8)

де В - ширина низу траншеї, м;

Н - глибина траншеї, м;

с - величина недобору (для екскаватора ЭО-2621 с=0,1 м), м;

L1 - довжина траншеї (прийнято 1 м), м.

Vекс=0,8*(1-0,1)*1= 0,72 м3

Об’єм ґрунту, що розробляється при ручній зачистці дна траншеї визначаю за формулою

Vруч.зач=В*с* L1 (9)

де В - ширина низу траншеї, м;

с - величина недобору (для екскаватора ЭО-2621 с=0,1 м), м;

L1- довжина траншеї (прийнято 1 м), м.

Vруч.зач=0,8*0,1*1=0,08 м3

Визначаю об’єм земляних робіт по поширенню приямків для зварювання неповоротних стиків. Згідно вимог [1] приямок копається на 0,7 м нижче дна траншеї, а отже глибину приямка визначаю за формулою

Нпр. = Н тр.+0,7, (10)

де Н тр. - остаточна глибина траншеї, м.

Нпр=1 +0,7=1,7 м

Згідно вимог [1] ширину низу приямку визначаю за формулою

Впр. = Dізл+2*0,6, (11)

де Dіз. - діаметр ізольованої труби, м.

Впр=0,15 +1,2=1,35 м

Ширину верху приямку визначаю за формулою

В′пр.= Впр+2*m*Нпр, (12)

де Впр - ширина низу приямку, м;

m - величина крутизни відкосу (для третьої категорії ґрунту m=0,25);

Нпр - глибина приямка, м.

В′пр=1,35 +2*0,25*1,7 =2,2 м

Об’єм розробленого ґрунту при поширенні приямків визначаю за формулою

Vпр. = , (13)

де Впр - ширина низу приямку, м;

В′пр - ширина верху приямку, м;

Нпр - глибина приямку, м;

l - довжина траншеї (прийнято 1 м), м;

Vекс.-об’єм ґрунту, що розробляється при копанні траншеї екскаватором, м3.

Vпр. = *1,7 *1- 0,72 = 2,2 м3

Форма і габарити приямку диктуються вимогами техніки безпеки [4], а також умовами зручності проведення зварювальних робіт.

Малюнок 2- Профіль приямку

З метою визначення робочої ширини будівельного майданчика розраховую ширину відвалу. Для її визначення необхідно врахувати збільшення об’єму після рихлення. Розрізняють два показники рихлення ґрунту: коефіцієнт початкового рихлення - К1, який показує ступінь рихлення щойно розробленого ґрунту; коефіцієнт кінцевого рихлення - К2, який показує ступінь рихлення злежаного або втрамбованого ґрунту після його засипання. Для даної категорії ґрунту К1=1,27, К2=1,07.

Таким чином загальний об’єм ґрунту у відвалі на один метр траншеї визначаю за формулою

заг=Vшур* К1, (14)

де Vшур- об’єм ґрунту, розробленого при копанні шурфу, м3;

К1 - коефіцієнт початкового рихлення (К1=1,27).

заг= 0,8*1,27 = 1,01 м3

Знаючи загальний об’єм землі по копанню шурфу, розраховую габаритні розміри відвалу згідно слідуючих формул

hвід=, (15)

де Vзаг - об’єм ґрунту у відвалі на один метр траншеї, м.

hвід=√1,01 =1 м

Ширину відвалу визначаю згідно формули

Ввід=2*hвід, (16)

де hвід - висота відвалу, м.

Ввід=2*1 =2 м

Визначивши всі об’єми по розробці ґрунту визначаю загальний об’єм робіт по копанню

Vзаг=Vшур*lшур*nшур+Vекс*(L-lшур*nшур)+Vруч зас*(L-lшур*nшур)+ Vпр*n, (17)

де Vшур - об’єм ґрунту, що розробляється при копанні шурфів, м3;

Vекс - об’єм ґрунту, що розробляється при копанні траншеї екскаватором, м3;

Vруч зас - об’єм ґрунту, що розробляється при ручній зачистці дна траншеї, м3;

νпр - об’єм розробленого ґрунту при поширенні приямків, м3;

lшур - довжина шурфу м;

L - довжина траси газопроводу м;

n - кількість приямків шт;

nшур - кількість шурфів шт.

Vзаг=0,8 *4*2+0,72 *(230-8)+0,08*(230-8)+2,2*9 = 203,9 м3

Об’єм ґрунту у відвалі визначаю згідно формули

V1заг1, (18)

де Vзаг - загальний об’єм робіт по копанню, м3;

К1 - коефіцієнт первинного рихлення, (К1=1,27).1=203,9 *1,27=258,82 м3

Зворотна засипка траншеї

При вкладанні газопроводу в траншею згідно вимог [1] є устрій постелі з піску або мілкого щебеню; об’єм матеріалів для цього визначаю за формулою

Vпос =, (19)

де В - ширина низу траншеї, м;

Dсер. - середній діаметр ізольованої труби, м.

Vпос. = 0,8*-  = 0,05 м3

Після вкладання газопроводу на постіль він спочатку засипається м’яким ґрунтом з відвалу на 0,2 м вище верхньої відмітки ізольованої труби, з пошаровим ущільненням ручною трамбівкою та підбивкою “пазух”.

Об’єм ґрунту для присипки газопроводу визначається за формулою

Vруч пр=, (20)

де Dсер. - середній діаметр ізольованої труби, м;

В - ширина низу траншеї, м.

Vруч пр=0,8*(+ 0,2)*1-=0,21 м3

Об’єм бульдозерної засипки визначаю за формулою

Vбул = В*(Н-Dсер.-0,2)*l, (21)

де Dсер. - середній діаметр ізольованої труби, м;

В - ширина низу траншеї, м;

Н - глибина траншеї, м.

Vбул=0,8*(1 - 0,15 -0,2)*1=0,52 м3

Об’єм робіт по засипці приямків рівний об’єму робіт по поширенню приямків Vпр= 19,8 м3

Визначаю об’єм робіт по зворотній засипці за формулою

V2 = (Vруч пр* L +Vбул * L + Vпр*n)*К2, (22)

де Vруч пр - об’єм ґрунту по ручній присипці газопроводу, м3;

Vбул - об’єм ґрунту по бульдозерній засипці, м3;

Vпр - об’єм ґрунту по засипці приямку;

L - довжина траси газопроводу, м;

n - кількість приямків, шт.;

К2 - коефіцієнт вторинного рихлення, (К2=1,07).

V2 = (0,21 *230 + 0,52*230 + 2,2*9)*1,07 = 201,05 м3

Визначаю об’єм робіт по вивезенню ґрунту
 
V3 = Vзаг*(К12) + Vтруб*L +Vпос*L, (23)

де Vзаг - загальний об’єм робіт по копанню, м3;

К1 - коефіцієнт первинного рихлення, (К1=1,27);

К2 - коефіцієнт вторинного рихлення, (К2=1,07);

Vтруб - об’єм ізольованої труби, м3;

Vпос - об’єм матеріалів для устрою постелі, м3;

L - довжина траси газопроводу, м.

Vтруб =*1 =0,017 м3

V3=203,8*(1,27-1,07) + 0,017 *230+0,05*230 =56,3 м3

Складаю баланс земляних робіт. Нев’язка в підведенню балансу повинна становити не більше ±5%.

Б = , (24)

де V1 - об’єм ґрунту у відвалі, м3;

V2 - об’єм робіт по зворотній засипці, м3;

V3 - об’єм робіт по вивезенню ґрунту, м3.

Б = = 0,3% < ±5%

Розрахунок земляних робіт проведено вірно.

При спорудженні підземних газопроводів найбільш трудомістким є виконання земляних робіт, тому інтенсивність потоку визначається по погонній (умовній) швидкості руху екскаватора, яка може бути визначена по формулі

V = П / Vекс*Tзм , (25)

де П - продуктивність екскаватору, м3/зміну;

V - середній об’єм ґрунту на даній ділянці, який приходиться на 1 м траншеї, м3;

Тзм - час зміни, год (Тзм=8 год).

V =54,79 /0,72*8= 9,51 м/год

Для риття траншеї під газопровід мною попередньо прийнятий екскаватор ЭО-2621 з об’ємом ковша 0,25 м3 та оберненою лопатою, змінна продуктивність якого визначається за формулою

, (26)

де Тзм - час зміни, год (Тзм=8 год);

Нчас - норма часу в машино-годинах на розробку 1 м3 ґрунту в щільному стані (2) ; Нчас= 0,146 маш.-год.

П=8/0,105= 54,79 м3/зм

Згідно з завданням монтаж газопроводу буде виконуватись трубами Ø159х4,5 довжиною 10 м та Ø133х4,0 довжиною 6 м. Таким чином загальна кількість труб, що підлягає монтажу визначається за формулою

, (27)

де L - довжина траси газопроводу, м;

lтр - довжина окремої труби, м.

nтр.1=170/6=29 шт.

nтр.2=60/10=6 шт.

Аналогічно можна визначити кількість стиків, які підлягають зварюванню

, (28)

де L - довжина траси газопроводу, м;

lтр - довжина окремої труби, м;

- стик, що додається на врізання в діючий газопровід.

nст.1=170/6+1=30 шт.

nст.2=60/10+1=7 шт.

З метою прискорення робіт по монтажу максимально можлива кількість стиків повинна зварюватися поворотними стиками, які при найменших затратах праці гарантують якість виконання робіт і потребують нижчу кваліфікацію зварювальника. Кількість поворотних стиків обмежується максимальною довжиною пліті, яка згідно [1] не повинна перевищувати 36 м (з метою запобігання пошкодження ізоляції при вкладанні в траншеї). Таким чином маю змогу визначити кількість неповоротних стиків за формулою

, (29)

де L - довжина траси газопроводу, м;

lпл - довжина пліті, м;

- стик, що додається на врізання в діючий газопровід.

nн ст.1=170/36+1=6 шт.

nн ст.1=60/30+1=3 шт.

Кількість поворотних стиків визначаю за формулою

, (30)

де nст - кількість стиків, шт.;

nн.ст - кількість неповоротних стиків, шт.

nп ст=26-10=16 шт.

Об’єм робіт по зняттю брукованого покриття визначаю згідно формули

Vзн.асф.= (В+0,2)*L*h,  (31)

де В - ширина низу траншеї, м;

L - довжина траси газопроводу, м;

h - товщина шару покриття, м

Vзн.бр.= (0,8 + 0,25)*230*0,2 = 46 м3

Малюнок 3 - Поперечний переріз вулиці (профіль Д)

Таким чином, мінімальну ширину робочої зони визначаю згідно формули

ШРЗ=К+ШВ+2*Б+В+Зт+Т,  (32)

де ШВ - ширина відвалу, м;

Б - ширина берми, м;

В - ширина траншеї, м;

Зт - зона розташування труби, м;

Т - зона руху технологічного транспорту, м;

К - зона виконання робіт по огородженню, м.

ШРЗ=0,3+2+2*0,5+0,8+0,45+3,5=8,1 м

Довжину огорожі будівельного майданчику визначаю за формулою

Lогор=2*L, (33)

де L - довжина траси газопроводу, м.

L=2*230=460 м

Кількість стиків, що підлягають контролю фізичними методами слідуючим чином. Згідно вимог [1] для тиску 0,007 МПа повинно контролюватися 50% всіх стиків.

nст ф к=nст*0,5 , (34)

де nст - кількість стиків, шт.

nст ф к=36*0,5=18 шт.

Визначаю фактичну довжину “захвату” за формулою

, (35)

де L - довжина траси газопроводу, м.

L=230/5=46 м

.4 Розрахунок затрат праці

Визначивши в попередньому розділі основні об’єми робіт по спорудженню підземного газопроводу, приступаю до визначення затрат праці на виконання всіх робіт, враховуючи, що види робіт на “захваті” повинні бути закінчені за одну зміну. Знаючи загальний об’єм робіт даного виду згідно [2], [3], [4], [5] знаходжу норму часу на виконання одиниці, виконую розрахунки (перемножуючи їх) та отриманий результат заношу в таблицю 1.

Таблиця 1 - Відомість затрат праці по всьому фронту робіт

Назва робіт

Група РЕКН

Один. виміру

Кількість

Норма часу

Трудомісткість






будів. люд-год

машин. люд-год

будів. люд-год

машин люд-год

1

2

3

4

5

6

7

8

9

1

Зняття асфальтованого покриття

18-1-6

100 м3

0,46

279

179,21

128,73

82,43

2

Розробка шурфів

1-164-3

100 м3

0,06

421,6

-

125,29

-

3

Підвішування підземних комунікацій

22-49-1

1км

0,001

100,96

0,87

0,10

0,001

4

Розробка ґрунту у відвал екскаватором

1-13-6

1000 м3

0,103

25,5

116,96

2,62

12,04

5

Розробка ґрунту екскава-тором з одночасним навантаженням на автосам.

1-18-6

1000 м3

0,056

63,92

183,26

35,79

10,26

6

Розробка ґрунту вручну

1-164-3

100 м3

0,38

421,6

-

160,2

-

7

Влаштування тимчасових переходів

20-2-1

100 м2

0,04

22,04

1,54

0,88

0,06

8

Зварювання, вкладання, пневматичне випробування труб

1 км

0,17 0,06

657,6 707,2

91,6 103,98

111,79 42,43

15,57 6,23

9

Встановлення фасонних частин

22-33-5

0,007

500,32

145,79

3,5

1,02

10

Контроль якості зварних з¢єднань (радіографування)

25-122-2 25-122-3

1 ст

15  3

1,94 2,01

4,14 4,33

29,1 6,03

62,1  12,99

11

Нанесення ізоляцій

22-17-4 22-17-5

1 км

0,17 0,06

120 120,16

11,4 11,5

20,4  7,2

1,93 0,69

12

Влаштування КВП

16-75-2

1 шт

1

4,5

0,6

4,5

0,6

13

Засипання вручну «постелі» і приямків

1-166-1

100 м3

0,31

150,45

-

46,63

-

14

Ущільнення засипки пневматичними трамбівками

1-134-1

100 м3

0,31

18,36

4,45

5,69

1,37

15

Засипання вручну траншеї

1-166-3

100 м3

0,48

205,7

-

98,73

-

16

Ущільнення засипки пневматичними трамбівками

1-134-2

100 м3

0,48

21,93

5,32

10,52

2,55

17

Засипка траншей бульдозером

1-71-3

1000м3

0,119

-

1,53

-

0,18

Всього

740,13

210,02


Оскільки згідно [2] для виконання кожного виду робіт передбачено використання робітників відповідного фаху, то для зменшення кількості працівників роботи повинні виконуватися комплексною бригадою з максимально можливим суміщенням професій.

Визначаємо строки будівництва газопроводу

Nд= Тзаг/nбр*Нзм , днів (36)

де Тзаг- сумарні затрати праці по всьому фронту робіт ,

nб -кількість чолоків у бригаді ,

Нзм - час зміни.

Nд=950,15*0,5/8*8=8 днів.

.5 Підбір та обґрунтування будівельних машин і механізмів

Вибір машин розпочинаю з вибору ведучого механізму, яким буде екскаватор з оберненою лопатою ЭО-2621, з об’ємом ковша 0,25 м3 та шириною ріжучої кромки 0,77 м. Вибраний екскаватор буде здійснювати копання траншеї і його буде можливо використати для виконання робіт по навантаженню надлишкового ґрунту та зворотного засипання траншеї.

Для виконання зварювальних робіт вибираю зварювальний апарат

АСД-500 та малогабаритний варочний котел для приготування бітумної мастики ИСТ-3Б, компресор повітряний ЗИФ-55.

Попередньо для вивезення надлишкового ґрунту приймаю автосамоскид ММЗ-555 з об’ємом кузова 4,5 м3.

Для відпочинку будівельників необхідно передбачити пересувний побутовий вагончик «Тайга».

Для підйому пліті вибираю кран типу КС-1562. Канат строповочний типу ТЛК-0 6×37 (1+6+15+15) +1ос по ГОСТ 3079-80.

Для стропування труб доцільно використовувати м’які монтажні рушники марки ПМ - 377, вантажопідйомністю 6 т для труб d 87-377 мм, ширина яких 260 мм, маса 58 кг.

Визначаю кількість рейсів автомобіля для вивезення ґрунту за формулою

, (37)

де V3 - загальний об’єм ґрунту, що підлягає вивезенню, м3;

Vкуз - об’єм кузова, м3;

К1 - коефіцієнт, який враховує повноту заповнення кузова (К1=0,9).

nр=56,3 /4,5*0,9=13 рейсів

Визначаю час транспортної операції згідно формули

tтр оп=tх п+tзав+tр п+tрозв, (38)

де tх п - час холостого переїзду, год;

tзав - час завантаження, год;

tр п - час переїзду з вантажем, год;

tрозв - час розвантаження, год.

Час холостого ходу визначаю за формулою

, (39)

де Lx - відстань вивезення ґрунту, км;

V - середня швидкість руху, км/год;

К - коефіцієнт зміни швидкості (К=0,5).

tх п=15/40*0,5=0,75 год.

Визначаю час завантаження кузова автомобіля за формулою

tзав.Vкуз1час, (40)

де Нчас - норма часу в машино-годинах на розробку 1 м3 ґрунту в щільному стані [2]; Нчас=0,146 ;

νкуз - об’єм кузова, м3;

К1 - коефіцієнт, який враховує повноту заповнення кузова (К1=0,9).

tзав=4,5*0,9*0,146=0,59 год.

Визначаю час переїзду автомобіля з вантажем згідно формули

, (41)

де Lx - відстань вивезення ґрунту, км;

Vр - середня швидкість руху з вантажем, км/год;

К - коефіцієнт зміни швидкості (К=0,5).

tпер.= 15/35*0,5=0,85 год.

Час розвантаження для автомобіля самоскида tрозв=0,1 год. А тому, час транспортної операції визначиться

tтр оп=0,75+0,59+0,85+0,1=2,29 год.

Визначаю загальні затрати часу по вивезенню надлишкового ґрунту за формулою

Тзаг= nр*tтр оп, (42)

де tтр оп - час транспортної операції, год.;

nр - кількість рейсів автомобіля для вивезення ґрунту, шт.

Тзаг=13*2,09=29,7 год.

Прийнятий самоскид разом з екскаватором забезпечують виконання робіт в ритмі потоку з заданою потоковою швидкістю. Для більш ефективного використання самоскида він повинен доставляти на будівельний майданчик матеріал для устрою постелі, який доцільно завозити по захватам, починаючи з другого дня будівництва, а зворотній рейс самоскида використовувати для вивезення надлишкового ґрунту.

Вибір вантажозахватних пристроїв та машин для вкладання починаю з визначення ваги монтажної одиниці. Вагу пліті ізольованого газопроводу, котрий підлягає вкладанню визначаю згідно формули

Рплтр*lпл. (43)

де ртр - вага одного погонного метра труби, кг;

lпл. - довжина пліті, м.

Рпл=17,2*36=619,2 кг

Враховуючи те, що вага монтажної одиниці суттєва, то вкладання пліті буду здійснювати за допомогою автокрану.

  

Малюнок 4 - Розрахункова схема вибору крана

Попередньо згідно рекомендацій та конкретних умов роботи прийнято для вкладання труб конкретну марку крану і по його технічних характеристиках знаходимо:

Р - вантажопідйомність крана при мінімальному вильоту стріли, т;

Rmin - мінімальний виліт стріли 3,5 м;

Rmax - максимальний виліт стріли, м.

Для конкретних умов будівництва необхідно визначити розрахунковий виліт стріли крана за формулою:

 , (44)

де 1,5 - відстань від краю траншеї до труби (трубної секції), м;

Dіз - діаметр газопроводу з ізоляцією м;

В - ширина траншеї 0,87 м , м.

Rроз=3,5+1,5+0,15+0,8/2=5,55 м

Для проведення подальшого розрахунку необхідно переконатися, що розрахунковий виліт стріли не перевищує максимальний для вибраного крана, тобто повинен справджуватись вираз:


В протилежному випадку необхідно підібрати кран з більшим вильотом стріли і перерахувати розрахунковий виліт стріли.

Визначаю вантажопідіймальність крана на розрахунковому вильоті стріли згідно формули

, (45)

де Р - вантажопідйомність крана при мінімальному вильоті стріли , т ;

Rmin - мінімальний виліт стріли, м;

Rроз - розрахунковий виліт стріли автокрана, м.

Рроз= 1*3,5/ 5,55 =0,63 т

Рроз=0,63 т > Р1кр.= 0,62 т

Для підйому пліті вибираю кран типу КС-1562. А по розривному зусиллю стропа підбираю канат типу ТЛК-0 6×37 (1+6+15+15) +1ос по ГОСТ 3079-80.

.6 Вибір матеріалів для будівництва

Згідно [1] для спорудження підземних газопроводів використовують труби зі сталей, які добре зварюються і містять не більше 0,27% вуглецю, 0,05% сірки, 0,04% фосфору. Для споруджуваного мною газопроводу використовую безшовні гарячодеформовані труби по ГОСТ 10704-91.

Кількість труб, необхідних для виконання даного об’єму будівництва визначаю слідуючим чином. На основі збірника [6] визначаю кількість труб на спорудження 1 км газопроводу; норма витрати складає 1004 м. Таким чином, для даної траси буде потрібно

Lтр.=Lнортр, (46)

де Lнор - нормативна довжина для спорудження 1 км прямого газопроводу, м;

Ктр - кількість кілометрів.

Lтр1=1004*0,06=60,24 м

Lтр1=1004*0,17=170,68 м

Підбір типу електродів для зварювання веду згідно з робочим проектом. Марка електродів повинна відповідати марці сталі труби і супроводжуватися, як і труба, сертифікатом якості. Для виконання робіт рекомендую використовувати електроди Е 42 А, АНО-3, АНО-4, кількість яких визначаю згідно формули

nел=nнел, (47)

де nн - нормативна кількість електродів для зварювання 1 км газопроводу, кг;

Кел - кількість кілометрів газопроводу, які необхідно зварити.

nел.1=0,1* 0,06 = 0,01 т = 10 кг

nел.2=0,1*0,17 = 0,017т = 17 кг

Кількість ізоляційних матеріалів необхідних для ізоляції зварених стиків визначаю аналогічно

nізл=nнізл, (48)

де nн - нормативна кількість матеріалів для проведення необхідних ізоляційних робіт на 1 км газопроводу.

Таблиця 2 - Потреби матеріалів на ізолювальні роботи

Назва матеріалів

Норма 22-17-4

Кількість

Норма 22-17-5

Кількість

Бензин авіаційний Б-70

0,006 т

1,1 кг

0,008 т

0,5 кг

Бітуми нафтові будівельні БН-90/10

0,002 т

0,4 кг

0,0027 т

0,2 кг

Полотно скловолокнисте ВВ-К

66 м2

11,22 м2

78 м2

4,68 м2

Папір обгортковий листовий

52 м2

8,84 м2

68 м2

4,08 м2

Мастика бітумно-гумова покрівельна

0,27 т

34 кг

0,31 т

18,6 кг

Тканина мішечна

0,8 м2

0,13 м2

0,8 м2

0,04 м2

Брезент

0,6 м2

0,1 м2

0,6 м2

0,03 м2


2.7 Опис будівельного генерального плану

Будівництво газопроводу буде вестися по селищній вулиці при перспективній забудові, поперечний переріз та розміри останньої показано на малюнку 3. Пропоную тимчасову огорожу будівельного майданчика здійснити вздовж тротуару по зеленій зоні, залишивши незначний прохід для робітника. Відвал ґрунту розташовую на зеленій зоні, що створює можливість для використання екскаватора або бульдозера при зворотній засипці. Зняте асфальтоване покриття складую в зоні розташування труби, що буде тимчасовим захистом траншеї від проникнення в неї дощової води.

Для руху технологічного транспорту передбачена частина проїзжої частини вулиці - 3,5 метрів.

.8 Паспорт газопроводу

БУДІВЕЛЬНИЙ ПАСПОРТ ПІДЗЕМНОГО (НАДЗЕМНОГО) ГАЗОПРОВОДУ, ГАЗОВОГО ВВОДУ, ВВІДНОГО ГАЗОПРОВОДУ,

побудованого______Охтирським УЕГГ_______________________________________________

(найменування будівельно-монтажної організації, номер проекту)

за адресою:___вул. Фрунзе ПК-0+147,3 ПК-2+30 +146,8___________________

(вулиця, місто, прив’язки початкового та кінцевого пікетів)

П. 1 ХАРАКТЕРИСТИКА ГАЗОПРОВОДУ

Вказується довжина (для вводу та ввідного газопроводу - підземних та надземних ділянок), діаметр, робочий тиск газопроводу, тип ізоляційного покриття лінійної частини та зварних стиків (для підземних газопроводів та газопровідних вводів), кількість встановлених запірних пристроїв та інших споруд.

D = 133 x 4,0 мм, L = 170 м; D = 159 x 4,5 мм, L = 60 м; P - 0,007 МПа, ізоляція дуже посилена бітумно-мастична , перехід 133х159

П. 2 ПЕРЕЛІК ПОДАНИХ СЕРТИФІКАТІВ, ТЕХНІЧНИХ ПАСПОРТІВ (АБО ЇХНІХ КОПІЙ) ТА ІНШИХ ДОКУМЕНТІВ, ЩО ПРИКЛАДАЮТЬСЯ ТА ЗАСВІДЧУЮТЬ ЯКІСТЬ МАТЕРІАЛІВ ТА ОБЛАДНАННЯ

_____Копія сертифікату на труби, копія сертифікату на електроди, сертифікат на бітумну-мастику________

Примітка. Допускається прокладати (або розміщувати в даному розділі) витяги із зазначених документів, завірені особою, відповідальною за будівництво об’єкту, та які містять необхідні дані (номер сертифікату, марка (тип), нормативних або технічних документів, розміри, номер партії, завод-виготовлювач, дата випуску, результати випробувань).

П. 3 ДАНІ ПРО ЗВАРЮВАННЯ СТИКІВ ГАЗОПРОВОДІВ

Таблиця П.1

П.І.П. зварника

Номер (клеймо) зварника

Зварено стиків

Початок/кінець робіт



діаметр труб, мм

кількість, шт.


Войтенко Б.Д.

С

133х4,0 159х4,5

30 6

5.04.09


П. 4 ПЕРЕВІРКА ГЛИБИНИ ЗАКЛАДАННЯ ГАЗОПРОВОДУ, УКЛОНІВ, ПОСТЕЛІ, УЛАШТУВАННЯ ФУТЛЯРІВ, КОЛОДЯЗІВ, КІВЕРІВ

Встановлено, що глибина закладання газопроводу від поверхні землі до верху труби на всьому протязі, уклони газопроводу, постелі під трубами, а також улаштування футлярів, колодязів, коверів відповідають проекту

Виконавець робіт _______________________майстер Кебко О.М.______________

Представник експлуатаційної організації_ інженер Сергієнко І.А._____

Представник замовника представник Капуста О.О.________________

П. 5 ПЕРЕВІРКА ЯКОСТІ ЗАХИСНОГО ПОКРИТТЯ ПІДЗЕМНОГО ГАЗОПРОВОДУ (ГАЗОВОГО ВВОДУ)

П. 5.1 Перед укладанням в траншею перевірено захисне покриття труб та стиків:

на відсутність механічних пошкоджень і тріщин зовнішнім оглядом; товщина - заміром за ГОСТ 9.602 _9_ мм; адгезія до сталі - за ГОСТ 9.602 ; суцільність - дефектоскопом.

П. 5.2 Стики, ізольовані в траншеї, перевірені зовнішнім оглядом на відсутність механічних пошкоджень і тріщин.

П. 5.3 Перевірка на відсутність електричного контакту між металом труби та ґрунтом проведена після повної засипки траншеї „13” квітня 2009р.

Примітка. Якщо траншея була засипана при глибині промерзання ґрунту більше за 10 см, то будівельно-монтажна організація повинна виконувати перевірку після відтавання ґрунту, про що повинен бути зроблений запис в акті про приймання закінченого будівництвом об’єкта системи газопостачання.

При перевірці якості захисного покриття дефекти не виявлені.

Начальник лабораторії Бабенко В.В._______________________________________

(посада, підпис, ініціали, прізвище ) МП

Представник експлуатаційної організації інженер Сергієнко І.А._____________________

(посада, підпис, ініціали, прізвище ) МП

Представник замовника інженер Капуста О.О.___________________________________

(посада, підпис, ініціали, прізвище ) МП

П. 6 ПРОДУВКА ГАЗОПРОВОДУ, ВИПРОБУВАННЯ ЙОГО НА МІЦНІСТЬ ТА ГЕРМЕТИЧНІСТЬ

П.6.1 „ 7 ” квітня 2009 р. перед випробуванням на міцність зроблена продувка газопроводу повітрям.

П.6.2 „ 7 ” квітня 2009 р. проведене пневматичне (гідравлічне) випробування газопроводу на міцність тиском 0,6 МПа з витримкою протягом 1 год.

П.6.3 „ 8 ” травня 2008 р. засипаний до проектних відміток газопровід із встановленою на ньому арматурою та відгалуженнями до відключаючих запірних пристроїв об'єктів (або підземна частина газового вводу) випробуваний на герметичність протягом 24 год.

До початку випродування підземний газопровід знаходився під тиском повітря протягом 6 год. для вирівнювання температури повітря в газопроводі з температурою ґрунту.

Заміри тиску проводилися манометром (дифманометром) за ГОСТ __2405__ клас _1_.

Дані замірів тиску при випробуванні підземного газопроводу

Таблиця П. 2

Дата випробування

Виміри тиску, кПа

Падіння тиску, кПа

місяць

число

години

манометричне

барометричне

допустиме

фактичне




Р1

Р2

В1

В2



04 04

8 9

1200 1200

300

300

100,5

100,2

3,62

0,3


Згідно з даними вищенаведених замірів тиску підземний газопровід випробування на герметичність витримав, витоки і дефекти в доступних для перевірки місцях не виявлені.

„ ” р. проведено випробування надземного газопроводу (надземної частини газового вводу) на герметичність тиском МПа з витримкою протягом год., подальшим зовнішнім оглядом і перевіркою всіх зварних, різьбових і фланцевих з'єднань. Витоки і дефекти не виявлені. Надземний газопровід (надземна частина газового вводу) випробування на герметичність витримав.

Виконавець робіт ________________________майстер Капуста О.М._______________

(посада, підпис, ініціали, прізвище ) МП

Представник експлуатаційної організації_ _інженер Сергієнко І.А.__________________

(посада, підпис, ініціали, прізвище ) МП

Представник замовника_____________ _ інженер Капуста О.О.___________________

(посада, підпис, ініціали, прізвище ) МП

П. 7 ВИСНОВОК

Газопровід (газовий ввід) збудований згідно з проектом, розробленим

_____________________________33 Л______________________________________________

(найменування проектної організації і дані випуску проекту)

з урахуванням узгоджених змін, внесених в робочі креслення № ___

Будівництво розпочато „ 05 ” квітня 2009 р.

Будівництво закінчено „ 10 ” квітня 2009 р.

Головний інженер будівельно-монтажної організації___ Пісклова Ю.В._________________

(посада, підпис, ініціали, прізвище ) МП

Представник експлуатаційної організації___ інженер Сергієнко І.А.______________

(посада, підпис, ініціали, прізвище ) МП

Представник замовника____ інженер Капуста О.О.________________

(посада, підпис, ініціали, прізвище ) МП

2.9
Поопераційний контроль якості

При вхідному контролі матеріалів проводиться їх зовнішній огляд на відповідність вимогам стандартів, а також наявність сертифікатів на матеріали у відповідності вимог [1]: труби, електроди, бітум.

При траншейному прокладанні складаються акти на приховані роботи, які включають: огляд розбивки, підготовка основи, глибина закладання, устрій постелі, якості пошарового ущільнення.

Перевіряється підготовка стиків до зварювання: величина зазору, кількість прихваток, овальність та еліпсність труб, паралельність осей, перпендикулярність торців труб, визначають кількість шарів зварювання.

При зварюванні кореневого шва: висота шва посилення, ширина шва посилення; визначаю кількість стиків, які підлягають контролю фізичними методами, величини випробувальних тисків на міцність та щільність, час проведення цих робіт.

Для визначення допустимого падіння тиску в газопароводі, який має різні діаметри необхідно визначити середній внутрішній діаметр.

Середній внутрішній діаметр визначаю згідно формули

Dсер.вн..= , (49)

де Dвн.1, Dвн.2 - внутрішній діаметр труби першої та другої ділянки, мм;

L1, L2 - відповідні їх довжини, м.

Dсер.вн..= =132 мм

Визначаю падіння тиску при проведенні випробувань на щільність даного газопроводу на основі вимог [1] за формулою

Δ, (50)

де T - тривалість випробувань, год;

Dсер.вн. - середній внутрішній діаметр газопроводу, мм.

ΔР=20*24/132=3,62 кПа

Здійснюється перевірка ізоляції стиків в траншеї зовнішнім оглядом на суцільність покриття, відсутність тріщин та пошкоджень. Після повної засипки захисне покриття газопроводу перевіряється інструментальним методом на відсутність електролітичного контакту між металом труби і ґрунтом.

3. ОХОРОНА ПРАЦІ, ТЕХНІКА БЕЗПЕКИ І ПРОТИПОЖЕЖНИЙ ЗАХИСТ

3.1 Загальні вимоги

Основною причиною нещасних випадків при виконанні земляних робіт є обвалення ґрунту в котлованах і траншеях в процесі їх розробки і при подальших роботах нульового циклу внаслідок дії таких причин: перевищення допустимої глибини вертикальних стінок (без кріплень), нестійких укосів, порушення правил розробки траншей і котлованів, недостатньої стійкості і міцності кріплень, порушення технології провадження земляних робіт, неправильного обліку геологічних умов будівельного майданчика.

Випадки виробничого травматизму при проведенні земляних робіт можливі також через мимовільне переміщення будівельних машин і механізмів, втрату машинами стійкості і недостатню кваліфікацію робітників, керуючих машинами.

Земляні роботи в зоні розташування інженерних мереж (водопровід, газопровід, електричні кабелі, теплові мережі) потрібно провести відповідно до узгодженого проекту тільки після дозволу від організації, що відповідає за експлуатацію даної мережі. До дозволу додається план (схема) земляних робіт з вказівкою розташування глибини закладення комунікацій.

До початку земляних робіт потрібно встановити знаки, які вказують на місця розташування підземних комунікацій. При наближенні до лінії підземних комунікацій земляні роботи необхідно проводити під безпосереднім наглядом виконроба або майстра, а в безпосередній близькості від комунікацій, крім того, під наглядом працівника організації, що експлуатує ці комунікації. Розробка ґрунту в безпосередній близькості від лінії діючих підземних комунікацій допускається тільки лопатами без різких ударів. Користуватися ударними інструментами (ломи, кирки, клинки і пневматичні інструменти) забороняється.

Якщо земляні роботи проводяться в населених пунктах, де можливий рух людей і транспорту, то місця робіт повинні бути огороджені суцільною захисною огорожею. На огорожах повинні бути встановлені попереджувальні написи, знаки і сигнальне освітлення на висоті не менше за 2 м.

Під час проведення робіт в котловані або траншеї потрібно постійно спостерігати за бермами. У разі появи подовжніх тріщин необхідно негайно повідомити про це виконробу (майстру) і відізвати робітників з небезпечних місць.

Для спуску або підйому робітників в котловани застосовують драбини шириною не менше за 0,75 м з поручнями, а для спуску і підйому робітників у вузькі траншеї - приставні сходи з врізними сходинками. Спуск робітників в котловани і траншеї по розпірках кріплень не допускається.

У місцях переходу робітників через траншеї глибиною більше за 1 м необхідно влаштовувати перехідні містки шириною не менше за 0,6 м з поручнями на висоті 1,1 м.

Перед спуском робітників в траншеї, шурфи, котловани глибиною більше за 1,3 м і при настанні відлиги майстру необхідно перевірити стійкість укосів, кріплення і вжити заходів по забезпеченню безпеки робіт.

При веденні робіт ґрунт, що виймається з траншеї або котловану, необхідно розміщувати з одного боку на відстані не менше за 0,5 м від брівки виїмки. Валуни, камені, відшаровування ґрунту, виявлене на укосах виїмки, повинне бути видалене.

У зоні дії установок, що генерують вібрацію, вживають заходів проти обвалення укосів.

.2 Техніка безпеки при виконанні ізоляційних і бітумних робіт

Котли для приготування і розігріву ізоляційних і бітумних матеріалів повинні закріплюватись і мати негорючі кришки, які щільно закриваються.

Заповнення котлів допускається не більше ніж на 3/4 їх ємності. Наповнювач, який навантажують в котел, повинен бути сухим.Місця приготування і розігріву мастик повинні бути віддалені від дерев’яних споруд і складів не менше ніж на 50 м. Біля котла повинен постійно знаходитись комплект протипожежних засобів.

Бітумні матеріали в середині приміщень підігріваються в електродіжках; прилади з відкритим полум’ям використовувати заборонено. При встановленні бітумного котла на відкритому повітрі над ним обов’язково встановлюють негорюче покриття. Бітум з бензином змішується на відстані не менше 50 м від місця розігріву бітуму. При змішуванні розігрітий бітум вливають в бензин з перемішуванням цих компонентів. Температура бітуму не вище 70 0С; суміш перемішують дерев’яними мішалками.

Не дозволяється приготовляти праймер на етиловому бензині або бензолі із-за їх токсичності. Приготовляти бітумну мастику можна тільки на відведених для цього ділянках. Котли з бітумною мастикою повинні бути встановлені на відстані не ближче 15 м від траншеї, а при будівництві магістральних трубопроводів - не ближче 30 м.
У випадку появи витікання з котла необхідно негайно припинити роботи, очистити і відремонтувати його. Працівники, які зайняті на засипці наповнювача в котел з розплавленим бітумом, забезпечуються захисними окулярами і респіраторами, на приготування гарячої бітумної мастики і лаків - захисними окулярами і гумовими чоботами, на обклеювання рулонними матеріалами на гарячому бітумі - захисними окулярами.

.3 Техніка безпеки при роботі з машинами і механізмами

Експлуатацію будівельних машин слід виконувати у відповідності з ГОСТ 12.3.033-84 і інструкцій заводів-виробників, Правил влаштування і безпечної експлуатації вантажопідіймальних машин.

Керівник організації, що виконує будівельно-монтажні роботи, зобов’язаний призначити інженерно-технічного працівника, відповідального за безпечне виконання робіт, що пройшли перевірку знань.

До початку робіт керівник повинен визначити схему руху і місце встановлення машин з електроприводом, вказати способи взаємодії і сигналізації машиніста з робочим сигнальником.

В зоні роботи машин повинні бути встановлені знаки безпеки і попереджувальні написи. Залишати без нагляду машини з працюючим двигуном заборонено. При експлуатації машин повинні бути прийняті міри, попереджуючи їх перекидання чи самовільного переміщення під дією вітру чи нахилу місцевості.

При виконанні робіт в охоронній зоні, ліній електропередач необхідно виконувати вимоги ДБН.

Не дозволяється користуватися відкритим вогнем для розігріву вузлів машин, експлуатувати машини при наявності витоку в паливних і мастильних системах.

Монтаж машин повинен виконуватися у відповідності з інструкцією заводу-виробника і під керівництвом особи, яка відповідає за технічний стан машин. Зона монтажу повинна бути огороджена або позначена знаками безпеки. Не допускається виконувати монтажні роботи в ожеледь, туман, снігопад, грозу, при температурі повітря вище границь передбачених в паспорті машин.

3.4 Охорона навколишнього середовища

·   Правильний (раціональний) вибір траси газопроводу, що виключає шкоду навколишньому середовищу.

·   Дотримання екологічних і технологічних правил зварювання труб і стиків в польових умовах.

·   Проведення рекультиваційних земляних робіт після прокладання підземних газопроводів - своєчасно і згідно проекту та правил рекультивації.

·   Під час рекультиваційних робіт потрібно враховувати потужність (товщину) родючого шару:

а)Якщо родючий шар дорівнює 10-15 см, то його знімають автогрейдером на ширину траншеї газопроводу плюс по 0,5 м по обидва боки і складують його уздовж траншеї.

б)Якщо родючий шар 20 см, то його знімають і відвалюють бульдозерами уздовж траси газопроводу, а якщо більше 20 см - то упоперек траси. Закладання ґрунту в траншею потрібно проводити згідно його геологічного розташування: першим закладається грунт, який вийнятий з траншеї останнім, а родючий шар, рівномірно розрівняний, зверху.

·   Утилізація залишків поліетиленових та сталевих труб.

·   Установка покажчиків траси газопроводу - це перешкодить випадковому руйнуванню її землерийними машинами та полегшить пошуки газопроводу під час аварійно-ремонтних робіт.

·   Дотримання в належному стані надземних і підводних газопроводів (профілактичний і регламентний огляд, пофарбування і т.д.).

·   Утилізація гашеного вапна після проведення зварювальних робіт.

Заходи щодо зменшення негативної дії на довкілля пунктів ізоляції труб

На стаціонарних пунктах:

·   Під територію пунктів відводяться найменш придатні землі.

·   Підготовка площадки для проведення ізоляційних робіт шляхом зняття верхнього родючого шару ґрунту і складування його для подальшого використання в рекультиваційних роботах. Розмір площадки 3 х 15 м.

· Заготівля палива (дров), що виключає знищення живих дерев. Але краще проводити нагрівання не відкритим вогнем, а при допомозі трубчастих електронагрівачів, або нагрівачів іншого типу.

· Ізоляція ґрунту від проникнення в нього бітумної мастики під час ізолювальних робіт шляхом використання підручних матеріалів.

· Дотримання правил спалювання палива з метою зменшення шкідливих викидів в атмосферу.

· Не можна застосовувати як паливо гумові скати та інші матеріали, які при згоранні дають велику кількість сажі та інших шкідливих речовин.

· Створення спеціальних місць для зберігання бітуму (навіси, склади).

· Обладнання спеціальних ящиків для зберігання відходів, які потім вивозяться на організовані звалища.

· Утилізація паперових мішків (на макулатуру) і смоли на повторне використання.

· Благоустрій території пункту: насадження дерев, квітів, дотримання належного санітарного стану.

· Слідкувати, щоб забруднені стоки з території пункту збиралися в спеціальну гідроізольовану яму.

· Дотримання в справному стані резервуарів для збереження бензину і інших розчинників.

· Економне і раціональне використання всіх вихідних продуктів, необхідних для проведення ізолювальних робіт.

· Використовувати тільки неетильований бензин.

♦ Строго дотримуватись технології проведення даного виду робіт. В польових умовах:

·   Підготовка місця, де буде розташований праймер: зняти дернину і верхній шар ґрунту та складувати його в певному місці. Такі ж роботи провести і при створенні площадки, де буде проводитись ізолювання труб. По можливості ці місця ізолювати, щоб бітумна мастика не потрапляла в грунт.

·   Після закінчення ізолювальних робіт провести рекультивацію, покласти на місце дернину і полити її водою.

·   Відходи від ізолювальних робіт утилізувати або вивезти на організоване звалище.

·   Прибрати площадку, де проводились ізолювальні роботи, не залишати там сміття, матеріали тощо.

·   Під площадку вибирати територію, найменш придатну (або непридатну) для с.-г. використання.

Як паливо для нагрівання мастик використати дрова, не нищити дерева і кущі

4. ОПИС ТЕХНОЛОГІЧНОЇ КАРТИ

4.1 Область використання

Технологічна карта розроблена на ручне електродугове зварювання неповоротного стику газопроводу.

.2 Організація і технологія виконання робіт

Зварювання неповоротних стиків газопроводу необхідно виконувати слідуючим чином:

•Накладання всіх шарів шву повинно виконуватися ділянками, які дорівнюють половині кола труби;

• Спочатку зварюється ділянка знизу вверх, потім ділянка назустріч їй з перекриттям початку і кінця першої ділянки на 20-30 мм;

• Другий і наступні шари зварюються аналогічно першому з обов'язковим зачищенням попередніх шарів від шлаку, зміщенням початку шарів відносно один одного, перекриттям замків кожного шару

Ручне електродугове зварювання неповоротних стиків труб при товщині стінок до 6 мм - не менше ніж в два шари; при товщині стінок понад 6 мм - не менше ніж в три шари. Товщина першого шару повинна складати 15-20% від товщини стінки груби: товщина першого і другого шару разом повинна складати 60-70%; товщина всіх трьох шарів повинна бути більше товщини стінки на 2-З мм за рахунок підсилення, тобто випуклого валика наплавленого металу.

Зварювання неповоротних стиків газопроводу виконується при з'єднанні ланок в траншеї, при вварюванні „котушок", а також при уварюванні трубопроводів методом нарощування.

При підготовці неповоротних стиків для зварювання в зимових умовах необхідно:

1) очистити внутрішню поверхню труб від ґрунту, льоду, снігу і інших сторонніх предметів;

2) прилягаючу до стику поверхню труби просушити вогнем паяльної лампи чи іншим способом;

3) очистити до металічного блиску кромки і прилягаючі до них ділянки труб шириною не менше 10 мм внутрішньої і зовнішньої сторін;

4) для запобігання утворення тріщин правку кінців труб перед центруванням при температурі повітря мінус 5 С, виконувати тільки в нагрітому стані;

5) довжина прихваток повинна бути на 40-50% більше довжини прихваток, які виконуються при зварюванні в звичайних умовах. Зварювання труб при температурі навколишнього повітря нижче

мінус 20 °С необхідно виконувати із дотриманням наступних вимог:

1) зварювальний струм повинен підвищуватися на 15-20% в порівняні із зварюванням в звичайних умовах;

2) процес зварювання необхідно вести безперервно з підвищеною швидкістю;

3) по закінченні зварювання шлак із останнього шару шву не повинен очищатися, а стик повинен бути вкритий азбестовим полотенцем;

4) азбестове полотенце може бути зняте зі стику тільки після повного вирівнювання температури стику і труби, а потім очищується шлак.

.3 Контроль якості робіт

Контроль за якістю зварювання неповоротних стиків на газопроводах передбачає: контроль кваліфікації зварювальників; контроль матеріалів, які використовуються при зварюванні; поопераційний контроль ведення зварювальних робіт; контроль зварних з¢єднань.

Поопераційний контроль ведення зварювальних робіт передбачає :

-        перевірку якості монтажу (вірне центрування труб, зачистка і стан кромок, величини зазору і притуплення, розміру, розташування і якості прихваток);

-        перевірці режиму зварювання, зачищення і накладання швів.

Контроль якості зварних з¢єднань передбачає :

-        зовнішній огляд;

-        механічні випробування зразків, вирізаних зі звареного стика;

         перевірка фізичними методами (просвічування гама - промінями, магніто радіографування і т.п). Для перевірки механічними випробуваннями і фізичними методами вибираються ті стики, які найгірші при зовнішньому огляді.

Вимоги до механічних характеристик зварних з'єднань стальних труб газопроводів приведені в таблиці 2 (дивись таблицю 2).

Таблиця 2 - Вимоги до механічних характеристик зварних з'єднань

Показник

Величина

Кут загинання зразків при зварюванні:


ручна , дугова

120°

газова

100°

Межа міцності на розрив

Не менш за нижню межу міцності основного металу.

Примітка. Для окремих зразків допустимі відхилення по межі міцності і куту загинання не більше за 10 % за умови, що середні значення для трьох зразків буде не нижче вказаних в таблиці.


Для випробувань на статичний розрив і загинання зі зварних стиків вирізають по три зразки для кожного з видів випробувань. Результати випробувань повинні задовольняти вимогам, вказаним в Таблиці 2.

На підземних газопроводах перевірці фізичними методами підлягає не менше слідуючої кількості зварних стиків, % : при низькому тиску(до 0,05 кгс/см²) -10;

Незалежно від величини тиску, фізичними методами перевіряються всі стики на ділянках вимушеного близького проходження біля будівель, комунікацій.

Магнітографування використовується при контролі ручним дуговим зварюванням, якщо зварні стики не мають грубої поверхні, нерівності на поверхні наплавлення підсилення не перевищують 1 мм, а вишина наплавлення підсилення при товщині труб до 8 мм - 2,5 мм, а більше 8 мм - не більше за 3 мм.

Магнітографування здійснюється шляхом намагнічування феромагнітних стрічок, на яких при цьому фіксуються дефекти зварювання, які потім продивляються на магніто-графічних дефектоскопах. Але магнітографування не є достатнім методом контролю, зате аналіз ситуації проводиться швидко і безпечно у відношенні небезпечних випромінювань. Шви, які визвали сумніви, зазвичай повторно просвічують гамма - промінями. Після просвічування приймають остаточне рішення по сумнівним зварювальним стикам.

Просвічування з використанням радіоактивних джерел випромінювання проводиться кваліфікованими радіографами з суворим дотриманням правил техніки безпеки. Особливо надійний контроль якості зварювання здійснюється рентгенографуванням.

Дефекти зварних швів діляться на три групи :

А - окремі дефекти;

Б - ланцюг дефектів;

В - скупчення дефектів.

Зварні стики, перевірені фізичними методами, бракуються при знаходженні:

· тріщин будь-якого напрямку і розміру;

· не провару по перерізу шва;

· не провару по горі шва (в з¢єднаннях доступних для зварювання тільки з однієї сторони і без підкладки ) глибиною більш ніж 10% товщини стінки (при товщині стінки до 20 мм);

· шлакові включень або раковин по групам А та В, розміром по глибині шва не більш за 10% від товщини труби (при товщині до 20 мм);

· шлакових включень, розташованих ланцюжком або безперервною лінією вздовж шва, по групі Б при сумарної довжині ³ 200 мм на 1 метр шва;

· газових порах у вигляді сполошної сітки;

· скупчення газових пор по групі Б більше 5 штук на 1 см² площі шва.

Якщо дефектна частина шва менше 30% загальної довжини, то допустимо його виправлення шляхом вирубання дефектної ділянки і заварки його повторно тим же способом зварювання. Виправлені зварні з¢єднання підлягають повторній перевірці.

Для позначення характеру дефектів використовують скорочення:

П - газові пори;

Ш - шлакові включення;

Н - не провар;

Т- тріщина.

У висновках знайдений дефект записують послідовно: буквою - групу дефектів; цифрами довжину дефектів, мм і їх глибину (% від товщини основного металу); В кінці ставиться цифра, число дефектів або загальну довжину дефектного ділянки шва.

.4 Техніка безпеки при зварюванні неповоротних стиків

Для успішного проведення зварювальних робіт в взимку:

—забезпечити зварювальників теплим одягом;

—розташувати на трасі поблизу робочих місць пересувні вагончики для обігріву людей;

—забезпечити захист робочого місця зварювальника і місця зварювання від вітру і снігу за допомогою брезентових палаток, щитів, фанерних будок і інших пристосувань;

—організувати зберігання зварювальних матеріалів, без їх зволоження і забруднення.

Під час ручного електродугового зварювання нещасні випадки можуть виникати внаслідок ураження електричним струмом, ураження променями електричної дуги очей, обличчя і відкритих поверхонь тіла, а також отруєння газами і парами, які виділяються при згорянні обмазок. Сліпуче світло електричної дуги в 10 000 разів сильніше від того, яке людське око може витримувати без вади для здоров'я. Ультрафіолетові промені дуже шкідливі для очей і шкіри людини. Категорично забороняється дивитися на дугу без захисних окулярів. Щоб запобігти ураженню електричним струмом під час електродугового зварювання, треба додержувати таких основних правил:

1.  При виявленні напруги на частинах зварювальної апаратури, які нормально не є струмоведучими, треба негайно викликати електромонтера.

2.  При тривалих перервах у роботі та після закінчення зварювання джерела струму треба вимикати.

3.  Працювати треба в гумових калошах, брезентових рукавицях, в сухому брезентовому костюмі та в захисних окулярах. Під час зварювання відкритою дугою обличчя необхідно захищати шоломом або щитком.

4.  Не дотикатися голими руками до струмоведучих частин зварювальної апаратури та до виробу, який перебуває під струмом.

5.  Користуватися тільки електродотримачем з добре ізольованою рукояткою та ізольованим проводом. Місце кріплення провідника до електродотримача треба добре заізолювати.

Просвічування зварних стиків з використанням радіоактивних джерел випромінювання проводиться кваліфікованими радіографами з суворим дотриманням правил техніки безпеки.

.5 Матеріали, обладнання, механізми

Агрегат призначений для роботи на відкритому повітрі в польових умовах в якості автономного джерела живлення одного поста при ручному дуговому зварюванні, різки і наплавленню металів постійним струмом. Конструкція агрегата дозволяє розміщувати його в кузові автомобіля, причепа. Параметри АДБ -3122У1 приведені в Таблиці 4.2. (дивись таблицю 4.2)

Таблиця 3 - Параметри АДБ-3122У1

Параметр

Значення параметру

Номінальний зварювальний струм, Ампер

 315

Номінальна робоча напруга, Вольт

 32,6

Межі регулювання зварювального струму, Ампер

 15... 350

Максимальний зварювальний струм, Ампер : при ПН = 100 % при ПН = 35 %

 224 350

Напруга холостого кроку, Вольт, не більше

 100

Номінальна довжина цикла зварювання, хв.

 5

Номінальна відносна довжина навантаження, ПН %

 60

Номінальне число обертів вала генератора струму, об/хв.

 2000

Частота обертання вала генератора в режимі холостого кроку при включеному виконавчому пристрої, об/хв

800... 1000

ККД в номінальному режимі роботи, %, не меньше

 73

Модель двигуна

 320 - 01

Потужність двигуна, кВт (к.с.)

 29,4 (40)

Охолодження двигуна

Рідинне, тосол

Запалення двигуна

Батарейне

Паливо

Бензин, А -80

Годинна витрата палива двигуном у номінальному режимі роботи, кг, не більше

4,45


В умовах газових господарств це як правило переносні імпульсні рентгенівські апарати типу РИНА-1Д.

Деякі технічні показники апарата РИНА-1Д :

-        габаритні розміри високовольтного блока, мм, 400´225´105;

-        габаритні розміри пульта керування, мм, 280´225´114;

         загальна вага, кг, 11;

         максимальна товщина контролюємого стального зразка, мм, 20.

Для ручного електродугового зварювання газопроводів, які прокладають в містах і інших населених пунктах, із труб виготовлених із маловуглецевої сталі, повинні застосовуватися електроди типу 342, 342А, 346, 346А із маловуглецевої низьколегованої сталі - електроди типу 350Л.

Для газового зварювання газопроводів повинна застосовуватися зварювальна проволока марок Св-08А і Св-08ГА.

Для зварювання трубних заготівок, різних вузлів і деталей доцільно застосовувати напівавтоматичне зварювання в середовищі вуглекислого газу і зварювання порошковою проволокою на зварювальних напівавтоматах типу А-547У, А-765, А-825, А-1270 і інші.

Основні матеріали, напівфабрикати, будівельні матеріали і конструкції приведені в таблиці 4 (дивись таблицю 4).

Таблиця 4 - Основні матеріали, будівельні матеріали і конструкції




Діаметр і товщина стінок труб, мм



76x4

89x4

108х4

ІЗЗх4

159х 6

219х 8

273 х10

325х 10

377х 10

426х 10

530х 10

Витрата електродів на один стик, кг

0,04

0,05

0,08

0,14

0,18

0,44

0,74

0,8

1.02

1.54

1,71


Витрата бензину для зварювального агрегату АДБ в 1 год. - 4,45 кг. Витрата диз. палива для зварювального агрегату АСД в 1 год. - 4 кг

Машини, обладнання, механізований інструмент, інвентар і пристосування приведені в таблиці 4.4 (дивись таблицю 4.4)

Таблиця 5 - Машини, обладнання, механізований інструмент, інвентар і пристосування

Найменування

Одиниця вимір\т

Кількість

Електрозварювальний агрегат ГОСТ 2402-82

шт.

1

Щиток із світофільтром

шт.

1

Балон ацетиленовий або ацетиленовий генератор ГНВ-1,25

шт.

1

Балон кисневий ГОСТ 949-73

шт.

1

Молоток ГОСТ 2310-77

шт.

1

Зубило ГОСТ 7211-86

шт.

1

Щітка металева

шт.

1

Напилок драчевий ГОСТ 1465-80

шт.

1


.6 Техніко-економічні показники

Техніко - економічні показники ручного зварювання неповоротних стиків приведена в таблиці 6 (дивись таблицю 6)

Таблиця 6 - Техніко-економічні показники ручного зварювання неповоротних стиків

Основа

Найменування робіт

Склад ланки

Положення стику

Показники

Норми часу на1 стик, л/год






Зовнішній діаметр труб, мм






До 30

34-45

50-57

60-65

68-76

80-89

90-102

108-114

121-133

140-160

165-194

203-219

240-250

273-299

325-377

402-426






Товщина стінки, mм до






3

4

4

4

4

4

6

6

8

10

10

10

10

10

10

10

ЕНіР  сб. 22 §Е22-2-2

Зварювання стиків У-подібних з'єднань трубопроводів із ухилом двох кромок прикуті розкриття 60° на місці монтажу

Електрозварювальники

вертикальне

поворотне

Норма часу

0,06

0,12

0,14

0,15

0,17

0,2

0,38

0,42

0,55

0,84

0,88

0,91

1,0

1,1

1,2

1,4





неповоротне

Норма часу

0.07

0,14

0,16

0,17

0,19

0,22

0,43

0,48

0,72

1,0

1,1

1,2

1,3

1,4

1,5

1,8




Горизонтальне неповоротне

Норма часу

0.08

0,16

0,17

0,2

0,22

0,26

0,49

0,55

0,94

1,4

1,5

1,6

1,7

1,9

2,0

2,4


Висновок

При виконанні курсового проекту по технології і організації будівництва підземного сталевого газопроводу я навчилася визначати форми і габарити траншеї, вести підрахунок об’ємів робіт і вибирати ведучий механізм, розраховувати затрати праці, підбирати і обґрунтовувати вибір будівельних машин і механізмів, вибирати матеріали для будівництва. Закріпила знання з охорони праці, техніки безпеки при виконанні будівельно-монтажних робіт.

Я вважаю, що отримані мною знання і навички будуть корисними мені у майбутній професії.

Література

1.       ДБН В.2.5-20-2001 Газопостачання. Державний комітет будівництва , архітектури та житлової політики. Держбуд України, Київ 2001.

2.              ДБН Д. 2.2-1-99 РЕКН на будівельні роботи. Збірник 1. Земляні роботи. Державний комітет будівництва , архітектури та житлової політики. Держбуд України, Київ 2000.

3.       ДБН Д. 2.2-22-99 РЕКН. Збірник 22. Водопровід - зовнішні мережі. Державний комітет будівництва , архітектури та житлової політики. Держбуд України, Київ 2000.

.        ДБН Д. 2.2-24-99 РЕКН. Збірник 24. Теплогазопостачання та газопроводи - зовнішні мережі. Державний комітет будівництва , архітектури та житлової політики. Держбуд України, Київ 2000.

.        ДБН Д. 2.2-25-99 РЕКН. Збірник 25. Магістральні та промислові трубопроводи. комітет будівництва , архітектури та житлової політики. Держбуд України, Київ 2001.

.        ДБН А. 3.1-5-96 Організація будівельного виробництва. Управління, організація і технологія, Київ 1996.

7.       Альбом технологических карт на основные виды строительно-монтажных работ при сооружении наружных и внутренних газопроводов. Саратов, ГИПРОНИИГАЗ, 1982.

8.       Мельников О.Н. Справочник монтажника сетей теплогазоснабжения. - М.: Стройиздат, 1980.

9.              Шальнов А.П. Строительство газовых сетей и сооружений. - М.: Стройиздат, 1980.

10.            Ресурсні елементні кошторисні норми на ремонтно-будівельні роботи. Частина І-ІІ. Інпроект , Київ 2000.

11.     Правила безпеки систем газопостачання України. ДНАОП 0.00-1.20-98. Київ 1998.

Похожие работы на - Технологія і організація будівництва підземного сталевого газопроводу по вулиці Фрунзе

 

Не нашли материал для своей работы?
Поможем написать уникальную работу
Без плагиата!
Без нейросетей!