Проектирование организации капитального ремонта
Министерство
образования и науки Российской Федерации
Федеральное
государственное бюджетное образовательное учреждение высшего профессионального
образования
Самарский
государственный архитектурно-строительный университет
Открытый
институт (филиал) федерального государственного бюджетного образовательного
учреждения высшего профессионального образования
в г.
Похвистнево
Кафедра
управления и экономики
Специальность
080502 ЭУГХ
Курсовой
проект
По
дисциплине: Организация производства на предприятиях отрасли (в городском
хозяйстве)
на тему:
Проектирование
организации капитального ремонта
Разработал:
студент Маслов Ю.Ю.
курс, группа
102
Проверила:
Сайманова О.Г.
Похвистнево
- 2013
Содержание
1. Характеристика
ремонта
2. Объемы
ремонтно-строительных работ, подлежащих выполнению
. Методы
производства отдельных видов работ с учетом соблюдения правил охраны труда и
техники безопасности
3.1
Общие правила выполнения штукатурных работ на фасадах
3.2
Технология и организация ремонта фасада
4. Трудовые
и материально-технические ресурсы, необходимые для осуществления ремонта
5. Календарный
план ремонта
. Графики
потока рабочих, работы строительных машин и механизмов и поступления на объект
ремонта строительных материалов, конструкций и изделий
. Временные
здания и сооружения (складские и административно-бытовые помещения, временное
водо- и энергоснабжение и др.)
7.1 Закрытые и открытые приобъектные склады
.2 Временное водоснабжение
.3 Временное электроснабжение
8. Охрана
труда, техника безопасности и противопожарная техника
8.1
Общие требования охраны труда при выполнении отделочных работ
.2
Требования охраны труда во время работы
.3
Техника безопасности при проведении отделочных работ
.4
Правила техники безопасности
.5
Противопожарные мероприятия
9. Технико-экономические
показатели
10. Современные
технологии и новшества в области ремонта фасадов
Список
литературы
1. Характеристика ремонта
Данный в задании ремонт фасада будет проводиться
в г. Похвистнево Самарской области.
Рельеф
Город Похвистнево Самарской области
располагается на Восточно-Европейской платформе. История геологического
развития территории области охватывает раннедокембрийскую и
рифейско-фанерозойскую эпохи.
Климат
Климат Самарской области
умеренно-континентальный. Антициклональный тип погоды господствует в среднем
58% дней в году. Радиационный баланс с октября по март отрицательный.
Количество суммарной радиации составляет 99-104 ккал/ см2.
Среднемесячная температура июля 20,7°С, января −13,8°С. Среднегодовая
температура - 3,8°С. Средняя относительная влажность воздуха 73%. Среднегодовое
количество осадков составляет 372 мм. Средняя многолетняя высота снежного
покрова составляет 35-75 см.
Расположение
Город расположен на левом берегу реки Большой
Кинель (приток реки Самары), в 159 километрах от областного центра города
Самары, и в 5 километрах от границы с Оренбургской областью. Железнодорожная
станция Похвистнево расположена на линии Самара - Уфа Куйбышевской железной
дороги.
Транспорт
Район имеет развитую сеть дорог с твердым
покрытием, соединяющую центральные усадьбы с районным центром, а также со всеми
соседними муниципальными образованиями. С областным центром имеется
железнодорожное и автобусное сообщение. Транспортная инфраструктура района
сформирована автомобильной дорогой республиканского значения и транссибирской
железной дорогой.
Рис. 1. Ситуационный план
2. Объемы работ
Определяя объемы
ремонтно-строительных и специальных работ( в данном случае - связанных с
ремонтом фасада) я воспользовался данными локального ресурсного сметного
расчета, на основании которых была составлена нижеследующая ведомость:
Таблица 1
Ведомость объемов основных
ремонтно-строительных, монтажных и специальных работ
|
Наименование
работ
|
Ед.
изм.
|
Объем
|
|
Отбивка
штукатурки
|
100
м3
|
11
|
|
Устройство
основания под штукатурку из металлической сетки по кирпичным и бетонным
поверхностям
|
100
м3
|
11
|
|
Штукатурка
внутренних поверхностей наружных стен цементно-известковым или цементным
раствором по камню и бетону, когда остальные поверхности не оштукатуриваются:
улучшенная
|
100
м3
|
11
|
|
Сплошное
выравнивание щтукатурки стен цементно-известковым раствором
|
100
м3
|
11
|
|
Улучшенная
окраска ранее окрашенных фасадов- 2 раза
|
100
м3
|
11
|
3. Методы производства работ
На основании подсчитанных объемов работ, условий
строительной площадки выбираются наиболее эффективные методы.
Оштукатуривание фасадов производят
поточно-расчеленным методом, при котором весь комплекс работ выполняет бригада
численностью около 20 человек, разделенная на звенья. Каждое звено производит
определенную операцию, но подготовительные работы выполняют все звенья.
Поверхность отделываемых стен современных зданий, не имеющих поясков, пилястр и
наличников, делят на вертикальные или горизонтальные захватки. Размеры захваток
должны быть такими, чтобы на них можно было выполнять без перерыва работы по
накрывке раствором в течение 2-6 часа.
Рис. 2. Поточно-расчлененный метод ремонта
фасадов
Поточно-расчлененный метод предусматривает
специализацию звеньев бригады по выполнению отдельных операций. Эти звенья на
каждой захватке выполняют одни и те же виды работ, что позволяет непрерывно
повышать производительность труда и качество вырабатываемой продукции. Звенья
по мере выполнения работ перемещаются одно за другим на захватках, создавая на
объекте непрерывный поток.
При ремонте фасада необходимо пользоваться
пунктом 3 СНиПа 3.04.01-87 «Производство штукатурных и лепных работ».
3.1 Общие правила выполнения
штукатурных работ на фасадах
Запрещается выполнение штукатурных работ на
фасадах при среднесуточной температуре ниже +5°С.
Запрещается применение солевых противоморозных
добавок к раствору из-за последующего образования высолов на поверхностях,
разрушающих отделку фасадов. Допускаются к применению противоморозные добавки в
соответствии с СП 82-101-98 "Приготовление и применение растворов
строительных".
Влажность кирпичных или каменных стен,
подлежащих оштукатуриванию, не должна превышать 8%, а бетонных поверхностей 5%.
В сухую погоду при температуре выше +23°С
оштукатуренные участки стен необходимо увлажнять.
Оштукатуривание поверхностей слоем намета более
20 мм или выступающих бетонных, кирпичных, деревянных деталей (карнизы, пояски
и пр.) и мест сопряжений разнородных материалов выполняется по надежно укрепленной
сетке с размерами ячеек от 10´10
мм до 40´40
мм.
Крепление архитектурных лепных деталей
выполняется по проекту.
При ремонте фасадов из обычных терразитовых и
камневидных штукатурок необходимо расшить трещины, превышающие 1 мм.
Ремонт декоративных штукатурок (терразитовой,
камневидной) необходимо производить декоративными минеральными штукатурками,
близкими по составу, прочности и цвету существующей штукатурке.
При оштукатуривании поверхностей, выполненных из
ячеистобетонных блоков, должны применяться специализированные сухие смеси,
предназначенные для выполнения этих работ.
Оштукатуривание поверхностей, выполненных из
ячеистобетонных блоков, обычными растворами запрещается.
При производстве работ по выравниванию стен,
выполненных из ячеистобетонных блоков, необходимо соблюдать требования ТР
123-01"Технические рекомендации по отделке наружных стен, выполненных из
пенобетонных блоков (ячеистых бетонов)".
Подготовку оснований и окраску фасадов
производят комплексными системами лакокрасочных материалов, включающими
материалы для подготовки поверхностей (пропитки, шпатлевки, грунтовки) и
финишные окрасочные материалы, долговечность которых должна быть не менее 10
лет (ТР 174-05 "Технические рекомендации по определению долговечности
отделочных и облицовочных материалов"). Пропиточные составы
предназначаются для:
упрочнения рыхлых слоев поверхности путем ее
пропитки, связывания солей, образующихся в основании подложки, при этом поры
остаются открытыми;
выравнивания сильно и неравномерно впитывающих
оснований;
уменьшения впитывающей способности и повышения
адгезии финишных слоев.
Шпатлевочные составы предназначаются для
заполнения мелких пор, раковин, выравнивания поверхностей, заполнения мест
примыкания строительных конструкций.
Грунтовочные составы предназначаются для
пропитки и связывания поверхностных слоев оснований, экализации (выравнивания)
впитывающей способности поверхности, обеспечения адгезии и сокращения расходов
финишных окрасочных материалов.
Финишные отделочные материалы подразделяются на
краски водно-дисперсионные и водоразбавляемые (водно-дисперсионные акриловые,
силан-силоксановые, силикатные), органорастворимые (акриловые,
перхлорвиниловые, плиолитовые и др.), декоративные полимерные штукатурки и
составы, минеральные штукатурки.
Окраску фасада с применением водных
лакокрасочных материалов (ЛКМ) разрешается производить при среднесуточной
температуре выше +5°С, а с применением ЛКМ на растворителях - при температуре
до -10°С (запрещается производить окраску органорастворимыми ЛКМ по наледи, во
время снега, по мокрым поверхностям после снега).
3.2 Технология и
организация ремонта фасада
. Отбивка штукатурки
Приступая к ремонту штукатурки фасада, прежде
всего надо определить ее прочность. Для этого штукатурку простукивают молотком,
ручкой лопатки или отрезовкой. Если штукатурка держится прочно, то при
простукивании она издает слабый, но четкий звук, если непрочно, то издает
сильный, иногда дребезжащий звук. Отставшую штукатурку отбивают топором,
молотком или другим ударным инструментом. Под отбитой штукатуркой осматривают
поверхность. На деревянных поверхностях проверяют прочность набитой драни;
пришедшую в негодность дрань заменяют новой. Если штукатурка толще 30 мм, то
при подготовке следует набить гвозди и оплести их проволокой. Бетонные,
кирпичные и каменные поверхности очищают стальными щетками и насекают. При
толстой штукатурке пробивают шлямбуром отверстия, вставляют туда деревянные
пробки, вбивают в них гвозди и оплетают проволокой.
После отбивки отслоившихся мест и подготовки
поверхностей приступают к счистке набела (слоя клеевой или известковой краски.
Счищать набел до отбивки штукатурки не рекомендуется, так как одновременно
приходится его счищать и с отбиваемой штукатурки, что увеличивает трудоемкость
работ. Набел надо удалять полностью, до самой штукатурки, так как его следы
препятствуют сцеплению раствора с поверхностью.
Рис. 3. Отбивка штукатурки (разбивка и отдирание
штукатурки)
Набел, который держится слабо, счищают сухим,
легко нажимая на скребок (сильным нажимом можно срезать слой штукатурки). Если
набел держится прочно, его предварительно смачивают водой с помощью маховой
кисти. Иногда смачивать приходится несколько раз. Не толстый, но хорошо
заклеенный набел не счищают, а размывают водой, сильно нажимая на кисть. Эту
операцию повторяют несколько раз. Более целесообразно применять горячую воду,
от которой лучше размокает набел.
2. Устройство основания под штукатурку из
металлической сетки по кирпичным поверхностям
Для армирования штукатурки и устройства сетчатых
армированных оснований применяют тканые проволочные сетки шириной 1 м с
квадратными ячейками размером 10X10 мм. Диаметр проволоки 0,7-3 мм. Привязывают
сетку к каркасу омедненной или оцинкованной вязальной мягкой проволокой
диаметром 0,8 мм. Полотнища стыкуют по длине и ширине внахлестку с напуском в
50 мм и прочно скрепляют между собой вязальной проволокой. Сетку режут на
полотнища необходимой длины и ширины ручными ножницами для резки металла.
Металлические балки, в том числе прогоны и
косоуры, до укладки на место обертывают сеткой с обвязкой поверх сетки
вязальной проволокой по спирали с шагом не более 15 см.
Рис. 4. Крепление армирующей сетки на кирпичную
поверхность стены
При отсутствии сетки балки и косоуры обвязывают
вязальной проволокой по спирали с шагом не более 5 см.
Для образования зазора между полкой балки,
подлежащей оштукатуриванию, и сеткой к полке приваривают или привязывают 2-3
стальных прутка диаметром 6-8 мм.
Стыки деревянных конструкций с каменными,
кирпичными, бетонными и гипсобетонными армируют полосами сетки шириной 15-20
см, закрепляемой к дереву, швам кирпичной кладки и гипсобетону через 15-20 см
гвоздями, а к камню и бетону - примораживанием раствором.
Армированные сетчатые основания под штукатурку
делают при выполнении облегченных конструкций перегородок, подвесных потолков,
декоративных колонн, пилястр, поясков и карнизов, выполняемых из архитектурных
соображений и с целью экономии материалов, а также при необходимости
изолировать штукатурку от сырых стен, стен подвалов и т.п.
При выполнении облегченных перегородок сетку
прибивают проволочными скобами или гвоздями через 15 см к деревянным брускам
толщиной и шириной 25-50 мм, заранее укрепляемым через 30-40 см. Так же
выполняются и сетчатые основания под висячие потолки в деревянных зданиях.
На кирпичных и бетонных стенах и перекрытиях
сетку подвязывают к стальным стержням диаметром 6-8 мм, приваренным к заранее
установленным штырям, крючьям, подвескам из круглой или полосовой стали. Стержни
приваривают с образованием ячейки 40X40 см. Для обеспечения на стенах и
потолках слоя штукатурки минимально допустимой толщины (не менее 20 мм при
высококачественной отделке) стержни устанавливают по заранее сделанным через
0,8-1 м деревянным или растворным маякам.
На столбах, колоннах и пилястрах сетку
подвязывают к каркасу, образованному из вертикальных металлических стержней,
закрепленных к деревянным планкам или кружальцам (при круглых колоннах)
гвоздями или к стальным горизонтальным поясам диаметром 6-8 мм сваркой.
Металлический каркас должен образовывать ячейки размером 40X40 см.
Металлическую сетку привязывают к металлическим
каркасам на каждом пересечении прутьев вязальной проволокой, пользуясь при
затягивании узлов кусачками. Лучшим способом крепления сетки к каркасу следует
считать привязывание ее спиральным швом, используя для этого концы проволоки
длиной до 2 м, которыми и пришивают сетку к прутьям каркаса.
Первый слой штукатурки по сетке наносят из
густого цементного раствора (консистенция 3-4 см по стандартному конусу)
методом обмазки с армированием раствора шерстью или рубленым органическим
волокном.
Рис. 5. Оштукатуривание армированной кирпичной
поверхности здания
В том случае, когда предполагается оштукатуривание
по сетке известково-гипсовым раствором, сетку предварительно окрашивают
масляной краской, битумным лаком или же делают обмазку сетки цементным
раствором, а последующее оштукатуривание- известково-гипсовым.
. Штукатурка внутренних поверхностей наружных
стен
Простая штукатурка состоит из двух слоев -
обрызга и грунта, улучшенная и высококачественная - из трех: обрызга, грунта и
накрывки.
Обрызг - первый слой штукатурного намета.
Толщина его при нанесении вручную - 3-5 мм, растворонасосами на деревянные
поверхности - не более 9 мм, на каменные, бетонные и кирпичные - не более 5 мм.
Для обрызга используют жидкий раствор. Густота наносимого ручным способом
раствора должна соответствовать погружению стандартного конуса на 8-12 см. До
нанесения обрызга каменные и бетонные поверхности в теплое время смачивают
водой.
Раствор слоя обрызга, затекая во все поры и
шероховатости поверхности, крепко сцепляется с ней и удерживает последующие
слои - грунт и на-крывку. Чем правильнее приготовлен и нанесен раствор обрызга,
тем лучше он заполнит все шероховатости, тем крепче сцепится с поверхностью и
тем прочнее будет держаться штукатурка.
Грунт - второй слой штукатурного намета. Раствор
для грунта приготовляют несколько гуще, чем для обрызга. Подвижность
процеженных штукатурных растворов в момент их нанесения должна соответствовать
погружению стандартного конуса: для грунта без гипса - 7-9, с гипсом - 8-10 см.
Грунт - основной (по объему) слой штукатурного
намета. Он образует необходимую толщину штукатурки и выравнивает поверхность.
Если толщина штукатурки большая, то грунт
наносят в несколько слоев. Толщина каждого из них не должна превышать 7 мм при
известковых и известково-гипсовых растворах и 5 мм при цементных растворах.
Грунт очень хорошо выравнивают.
Накрывка - третий слой штукатурки. Его толщина 2
мм. Раствор для накрывки приготовляют на мелком песке, просеивая его через сито
с отверстиями ячеек 1,5x1,5 мм. Густота раствора для накрывки должна
соответствовать погружению стандартного конуса 10-12 см.
Раствор накрывки наносят на поверхности вручную
и машинами по окрепшему (схватившемуся) грунту, тщательно разравнивая. Накрывка
образует тонкую мягкую пленку, которая легко затирается или заглаживается.
Штукатурные слои наносят на поверхность разными
приемами - набрасыванием и намазыванием. Раствор обрызга и первого слоя грунта
набрасывают для того, чтобы он лучше проник во все шероховатости и тем самым
прочнее сцепился с поверхностью. Второй и следующие слои грунта можно
намазывать. Накрывку набрасывают или намазывают. Раствор разравнивают также
разными способами. Рассмотрим технику нанесения и разравнивания раствора.
Набрасывание. Лопаткой с сокола раствор
набрасывают так. Для работы необходим растворный ящик, штукатурная лопатка и
сокол. Ящик устанавливают как можно ближе к оштукатуриваемой поверхности.
Раствор из ящика накладывают штукатурной
лопаткой на сокол (рис. 22,а). Для этого штукатур берет в левую руку сокол, а в
правую штукатурную лопатку, подходит к ящику и становится так, чтобы правая
нога была ближе к ящику, а левая отставлена назад. Сокол одним концом кладут на
борт ящика, а другой поднимают вверх примерно на 10 см. Если раствор жидкий, то
сокол держат почти горизонтально. Сторона сокола, поднятая вверх, опирается на
руку, что придает ему устойчивость, и рука меньше устает. Лопаткой забирают из
ящика порцию раствора и кладут сначала на поднятую сторону сокола, а затем
последовательными рядами к нижней стороне, Набрав на сокол требуемое количество
раствора, с краев снимают его излишки. С раствором на соколе штукатур подходит
к месту работы, берет лопаткой порцию раствора (рис. 22, б) и набрасывает его
на оштукатуриваемую поверхность. Ударяясь о поверхность, раствор заполняет швы,
раковины и шероховатости, образуя плотный слой.
Оштукатуривая стену, сокол держат слегка
наклонно к ней: это не только удобно для работы, но и предохраняет руку от
попадания на нее раствора. Порцию раствора забирают с сокола правым ребром или
концом лопатки так, чтобы лопатка двигалась от края сокола (от себя) к его
середине, при этом следят за тем, чтобы раствор не стекал с сокола и не падал
на пол.
При выполнении броска лопаткой работает не вся
рука, а только кисть. Для этого следует сделать взмах лопаткой и резко ее
остановить. Взмах должен быть не очень сильным, так как от резкого толчка
раствор сильно разбрызгивается. Резкость взмаха зависит от густоты раствора и
необходимой толщины наносимого слоя. Например, когда раствор наносят тонкими
бросками, взмах лопатки должен быть резким, раствор как бы развеивается; когда
требуются толстые броски, взмах должен быть несильным.
В процессе оштукатуривания раствор приходится
наносить в разных положениях: слева направо и справа налево (рис. 22, в, г),
это зависит от места, куда наносят раствор. Самое удобное положение - нанесение
раствора слева направо.
Рис. 6. Набрасывание раствора штукатурной
лопаткой на стены:
а - раствор набирают на сокол, б - лопаткой
забирают порцию раствора с сокола, в, г - раствор набрасывают на уровне головы
соответственно слева направо и справа налево
Лопаткой раствор намазывают в основном по
сетчатым поверхностям. Предварительно сетку обрызгивают раствором, он
схватывается, и сетка прекращает вибрирование. Только после этого приступают к
намазыванию. На сокол-ковш или сокол набирают раствор с волокнистыми добавками,
который затем намазывают на оштукатуриваемые поверхности тыльной стороной
лопатки. Если раствор намазывают на стену (рис. 26, а), то сокол приставляют к
стене, быстрым движением тыльной стороны лопатки сдвигают с сокола порцию
раствора и намазывают его тонким слоем на поверхность. Мазки раствора делают
вертикальные или горизонтальные. На потолок (рис. 26, б) раствор намазывают
точно так же, как и на стены. Во время намазывания сокол продвигают вслед за
лопаткой, чтобы подбирать падающий раствор. Намазывая раствор, следует
заботиться о том, чтобы придать штукатурному слою шероховатость. Это необходимо
для того, чтобы он имел хорошее сцепление с последующими слоями штукатурки.
Рис. 7. Намазывание раствора лопаткой с сокола
на сетчатые поверхности: а - на стену, б - на потолок
В жаркую и сухую погоду, нанесенную штукатурку
(во избежание ее высыхания) необходимо периодически увлажнять.
При магистральном ремонте фасадов и значительном
объеме штукатурных работ для подачи и нанесения на стены штукатурного раствора
применять растворонасосы. Употребляемые растворонасосы должны бесперебойно
работать на сравнительно густых цементно-известковых растворах с осадкой по
конусу, равной 5-8 см (например, растворонасос рис. 2). Для нанесения раствора
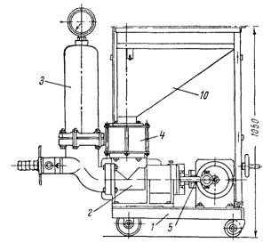
рекомендуется применять форсунки бескомпрессорного типа.
Рис. 8 Растворонасос. Производительность до 25 м
/ч,
рабочее давление до 2,5 атм.
- тележка; 2 - камера; 3 - воздушный клапан; 4 -
всасывающий клапан; 5 - шток; 6 - редуктор; 7 - регулятор производительности; 8
- фрикционная муфта; 9 - электродвигатель 2,5 квт; 10 - бункер
При производстве работ в зимнее время перед
нанесением раствора удалять со стен фасадов иней, снег и наледь. Не поддающуюся
очистке наледь удалять с предварительным отогревом стены паяльными лампами или
газовыми горелками.
Для ремонта штукатурки в зимних условиях
применять подогретые смешанные цементно-известково-песчаные растворы состава
1:0,5:4-1:1 5 (портландцемент: известковое тесто : песок по объему).
Штукатурный раствор для зимних условий работ
приготовлять из песка, просеянного через сито с отверстиями 1-2 мм и подогретого
в печах до +50°. Воду для приготовления раствора подогревать до температуры
+90°. Известковое тесто и цемент хранить в утепленном помещении.
При температуре наружного воздуха выше минус 10
штукатурный раствор применять без добавления солей; при температуре минус
10-20° в штукатурный раствор добавлять 3% поташа от веса воды затворения или
смесь из 2% поваренной соли и 2% хлористого кальция.
Штукатурный раствор подавать к месту работы в
утепленных ящиках. Раствор наносить на сухую очищенную от грязи и пыли
поверхность. При отрицательной температуре смачивание кладки перед нанесением
штукатурки не допускается. При толщине штукатурки до 3 см оштукатуривание
производить в один слой с немедленным разравниванием и затиркой. При затирке
допускается умеренное смачивание поверхности штукатурки горячей водой. При
толщине штукатурки более 3 см раствор наносить по сетке или проволочному
плетению в несколько слоев так, чтобы последующий слой наносился после
загустения (но до замерзания предыдущего, без смачивания его).
В зимних условиях перетирку старой штукатурки
производить не рекомендуется.
Размеры захваток для штукатурных работ в зимних
условиях принимать с таким расчетом, чтобы штукатурка на захватке полностью
заканчивалась до перерыва в работе и ко времени затирки раствор не был
заморожен.
. Сплошное выравнивание штукатурки стен
При производстве работ
соблюдают следующую последовательность технологических операций.
Вначале подготовляют
поверхность стен, затем наносят и затирают выравнивающий слой и заканчивают
работы заделкой мест сопряжений плит перекрытий со стенами и перегородками,
отделкой откосов.
Штукатурные работы следует
производить в помещениях при температуре воздуха не ниже +8°С, измеренной на
высоте 0,5 м от пола.
Мелкие углубления и перепада
устраняют путем затирки цементно-песчаным раствором, предварительно огрунтовав
эти места 5-7%-м раствором поливинилацетатной эмульсии, или же после огрунтовки
выравнивают раствором заподлицо с общей поверхностью. Трудоемкость работ по
затирке мелких углублений составляет 20% от общей.
Все значительные дефекты в
бетоне, требующие нанесения цементно-песчаного раствора толщиной 2 мм
предварительно огрунтовывают 5-7%-м раствором поливинилацетатной эмульсии при
помощи ручного краскопульта СО-20А непосредственно перед нанесением
штукатурного раствора.
При наличии дефектов, площадь
которых превышает 35%, на поверхность наносят слой жидкого шпаклевочного
состава при помощи шпаклевочной установки CО-21A с последующим выравниванием
"на сдир" стальным шпателем. Для удаления с поверхности несмываемых
жировых пятен применяют водный раствор калийного стекла (1:3) с добавлением
сухой белой силикатной краски (рабочая вязкость раствора 15-20 см по ВЗ-4).
Выравнивающий слой наносят с
пола или со столиков-подмостей. Приложив сокол с раствором к оштукатуриваемой
поверхности ребром под углом 30-45°, штукатур движением кельмы снизу вверх
наносят выравнивающий слой, который затем разравнивают полутерком и затирают
при помощи деревянных терок, обитых резиной, или алюминиевыми терками, оклеенными
пенопластом. Затирку выравнивающего слоя производят по мере твердения раствора.
Рис. 9. Выравнивание внутренних
поверхностей стен штукатуркой
Заделку мест сопряжений плит
перекрытий со стенами и перегородками, а также отделку откосов производят при
помощи сокола, кельмы и лузговых правил цементно-песчаным раствором
подвижностью 7-8 см.
. Улучшенная окраска ранее
окрашенных фасадов
Окраску фасадов зданий перхлорвиниловыми и
полистирольными красками осуществлять в следующем порядке (в зависимости от
вида окрашиваемой поверхности):
а) перед началом окраски осмотреть поверхность и
исправить в необходимых случаях штукатурку, очистить поверхность от пыли кистью
или сжатым воздухом;
б) неоштукатуренные фасады окрашивать за 2 раза
без грунтования лаком;
в) фасады с вновь устроенной штукатуркой
грунтовать 5%-ным лаком, после чего окрасить за 2 раза;
г) фасады с частично сохранившейся старой
штукатуркой загрунтовать 5%-м лаком, нанести оплошную шпаклевку со шлифовкой и
окрасить за 2 раза.
Гипсовые детали фасада загрунтовать горячей
натуральной олифой. После высыхания грунтовки поверхности деталей покрыть
5%-ным лаком и окрасить за 2 раза.
Деревянные поверхности, предварительно очищенные
от грязи и оставшейся краски, загрунтовать натуральной олифой; после высыхания
олифы покрыть 5%-м лаком, зашпаклевать с последующей шлифовкой и окрасить за 2
раза, добавив в краску 5% пластификатора (дибутилстолат и др.).
Перед окраской перхлорвиниловыми и
полистирольными красками места, ранее неоднократно окрашенные этими же
красками, очистить или загрунтовать спиртово-шеллачным лаком,
поливинилацетатной краской или 5%-м раствором казеинового клея.
При неровной фактуре штукатурки произвести
частичное шпаклевание неровностей, а затем сплошное-всей поверхности.
Окраску фасадов перхлорвиниловыми и
полистирольными красками производить с помощью пистолетов-краскораспылителей в
соответствии со схемой, указанной на рисунке, или вручную (кистями). Окраска
поверхностей в дождливую погоду или при прямых солнечных лучах запрещается.
Перерывы в окраске допускать только по границам тяг, раскреповок и других
членений фасада.
Рис. 10. Схема расположения окрасочных
механизмов: 1 - компрессор; 2 - красконагнетательный бачок; 3 - пистолет; 4 и 5
- воздушные шланги; 6 - шланг для подачи грунтовки или краски
При работе пистолетами-краскораспылителями
соблюдать следующие указания:
а) перемешать краску перед употреблением до
консистенции 30-40 сек по вискозиметру ВЗ-4;
б) перед окраской продуть шланги и
пистолет-краскораспылитель, отрегулировать давление в бачке на 1,5-2 атм.;
в) струю краски из пистолета-краскораспылителя
направлять перпендикулярно окрашиваемой поверхности; сопло пистолета в момент
покраски должно находиться на расстоянии 40-80 см от окрашиваемой поверхности.
Металлические конструкции и детали окрашивать
перхлорвиниловыми и полистирольными составами запрещается.
Работу с перхлорвиниловыми и полистирольными
красками производить в респираторах или защитных очках; перед началом работ
смазать руки вазелином, а после работы вымыть теплой водой с мылом. Курение
вблизи этих красок запрещается.
Перхлорвиниловые и полистирольные краски и их
растворители хранить в закрытой таре под навесами, в инвентарных шкафах или в
хорошо вентилируемых помещениях при температуре не выше 20°С.
Шпаклевку и краски перед их использованием в
зимнее время выдержать 2 дня в теплом помещении, утеплить красконагнетательный
бачок и установить его и компрессор на ярусах лесов, чтобы сократить длину
шлангов до 6-8 м; блок цилиндров, масловодоотделитель и ресиверный бак
компрессоров также отеплить.
Окраску в зимних условиях по деревянным и
металлическим поверхностям масляными составами делать нельзя; эти поверхности
следует окрашивать за 2 раза специальными составами, отличающимися от обычных
перхлорвиниловых повышенным содержанием смолы и добавлением пластификаторов. Рецептура
перхлорвиниловых и полистирольных составов приводится ниже.
Рис. 11 Схема распределения окраски по ярусам
лесов, зонам и захваткам: 1 - 6 - захватки; 7 - красконагнетательный бачок для
окраски зоны №1; 8 -красконагнетательный бачок для окраски зоны №2; 9
-компрессор
4. Трудовые и
материально-технические ресурсы, необходимые для осуществления ремонта
Для осуществления ремонта фасада необходимо
определить потребность в материально технических ресурсах, коими являются
машины и механизмы, строительные конструкции, материалы, изделия, оборудование,
инструменты, а также трудовые ресурсы- рабочие.
В первую очередь определим потребность в машинах
и механизмах:
Таблица
2
Ведомость потребности в машинах, механизмах и транспортных
средствах
|
Наименование
|
Марка
или ГОСТ
|
Количество
|
Маш\ч
|
|
Лебедки
электрические, тяговым усилием до 5.79 кН
|
KDJ-200E
|
2
|
3,795
|
|
Автомобили
бортовые грузоподъемностью до 5 т
|
КАМАЗ
43502
|
2
|
6,7045
|
|
Подъемники
мачтовые строительные 0.5 т
|
ПМГ
001-2084
|
2
|
21,3245
|
|
Растворонасосы
1м3\ч
|
Тополь
300 ТРАНСМИКС
<#"728747.files/image014.jpg">
|
|
|
|
|
61-28-1
|
Устройство
основания под штукатурку
|
100м3
|
11
|
Штукатуры
II разряд III разряд
|
6
5
|
|
|
|
|
|
15-02-018-2
|
Штукатурка
внутренних поверхностей стен
|
100м3
|
11
|
Штукатуры
II разряд III разряд IV
разряд
|
5
5 5
|
|
|
|
|
|
61-1-2
|
Выравнивание
штукатурки стен
|
100м3
|
11
|
Штукатуры
III разряд
|
6
|
|
|
|
|
|
62-22-7
|
Улучшенная
окраска фасада
|
100м3
|
11
|
Маляры
IV разряд III разряд II разряд
|
5
5 5
|
|
|
|
|
|
Итого:
|
|
|
|
53
|
|
|
|
|
Трудовые затраты на работы и расценки определим
по территориальным нормам и расценкам, а состав звена на основании данных ЕНиРа
и отразим в следующей таблице:
Таблица
6
Состав бригады (звена)
|
№
звена
|
Наименование
профессии
|
Разряд
|
Количество
|
Выполняемые
работы
|
|
1
|
Штукатур
|
II
|
6
|
1.Простукивание
поверхности 2.Отбивка отставшей штукатурки
|
|
2
|
Штукатуры
|
II
|
6
|
1.
Разметка и нарезка сетки 2. Пробивка сетки к готовому каркасу с натягиванием
3. Приготовление цементного молока 4. Обрызг сетки цементным молоком (при
обмазке известково-гипсовым раствором) 5. Приготовление известково-гипсового
раствора 6. Обмазка сетки раствором
|
|
|
III
|
5
|
|
|
3
|
Штукатуры
|
IV
|
5
|
1.
Провешивание поверхностей 2. Нанесение обрызга 3. Нанесение грунта с
разравниванием 4. Затирка поверхности с разделкой углов 5. Установка и снятие
правил (при разделке углов) 6. Подбор отскоков раствора с наброской его на
поверхность вручную 7. Переноска рукавов по ходу работ
|
|
|
III
|
5
|
|
|
|
II
|
5
|
|
|
4
|
Штукатуры
|
III
|
6
|
1.
Грунтование поверхностей с приготовлением 7%-ного раствора дисперсии ПВА и
перемешивание готового раствора с добавлением 50%-ной поливинилацетатной
дисперсии (при выравнивании полимерцементным раствором) 2. Нанесение раствора
с затиркой 3. Отделка плоскостей лузг и усенков 4. Установка и снятие правил
(при выделке усенков)
|
|
5
|
Маляры
|
IV
|
5
|
1.Сплошная
очистка старой краски скребками 2. Грунтование 5% лаком 3. Сплошное
шпатлевание готовым шпатлевочным материалом 4. Окрашивание пистолетом
|
|
|
III
|
5
|
|
|
|
II
|
5
|
|
|
Итого:
|
|
53
|
|
5. Календарный план производства
работ
Календарный план производства работ является
основным документом, который определяет последовательность, продолжительность,
сроки выполнения отдельных ремонтно-строительных работ, а также их увязку во
времени.
Продолжительность работ определена делением
величины трудозатрат в человеко-днях на число рабочих в бригаде (звене) и на
число смен по формуле:
T = Зтр/
(N*n),
где Зтр - затраты труда рабочих,
чел.-дн.;
N - численный состав
бригады (звена), чел.;
n - число смен.
Определение продолжительности работ
по ремонту фасада:
1. Продолжительность работ по отбивке
штукатурки:
Т1=
=4,43
дней. Принимаем Т1=5 дней
. Продолжительность работ по устройству
основания под штукатурку из металлической сетки по кирпичным и бетонным
поверхностям:
Т2=
=5,9
дней. Принимаем Т2 =6 дней
. Продолжительность работ по штукатурке
внутренних поверхностей наружных стен цементно-известковым или цементным
раствором
Т3=
=6,24
дней. Принимаем Т3=7 дней
. Продолжительность работ по сплошному
выравниванию штукатурки стен цементно-известковым раствором
Т4=
=5,58
дней. Принимаем Т4=6 дней
. Продолжительность работ по улучшенной
окраске ранее окрашенных фасадов
Т5=
=5,59
дней. Принимаем Т5=6 дней
Занесем полученные данные в календарный план
производства работ (Табл.7), на основании которых и определим общую
продолжительность выполнения графика.
Таблица
7
Календарный план производства работ
выполнен в виде линейного графика
|
Наименование
работ
|
Объем
работ
|
Затраты
труда, чел.-дн.
|
Число
рабочих в смену
|
Число
смен в день
|
Машины
и механизмы
|
Продолжительность
,дн.
|
График
работ (дни, месяцы)
|
|
Ед.
изм м3
|
Количество
|
Стоимость
тыс. руб.
|
|
|
|
Наименование
|
количество
|
|
Июль
2013
|
|
|
|
|
|
|
|
|
|
|
1
|
2
|
3
|
4
|
5
|
6
|
7
|
8
|
9
|
11
|
12
|
13
|
14
|
15
|
16
|
17
|
18
|
19
|
20
|
|
Отбивка
штукатурки
|
100
|
11
|
23,532
|
53,19
|
6
|
2
|
-
|
-
|
5
|
|
|
|
|
|
|
|
|
|
|
|
|
|
|
|
|
|
|
|
|
|
|
|
|
|
|
|
|
|
|
|
|
|
|
|
|
|
|
|
|
|
|
|
|
|
|
|
|
|
|
|
Устройство
основания под штукатурку
|
100
|
11
|
173,978
|
129,04
|
11
|
2
|
Лебедки
электрические
|
1
|
6
|
|
|
|
|
|
|
|
|
|
|
|
|
|
|
|
|
|
|
|
|
|
|
|
|
|
|
|
Автомобиль
бортовой
|
1
|
|
|
|
|
|
|
|
|
|
|
|
|
|
|
|
|
|
|
|
|
|
|
Штукатурка
внутренних поверхностей стен
|
100
|
11
|
141,185
|
187,32
|
15
|
2
|
Подъемники
мачтовые
|
1
|
6
|
|
|
|
|
|
|
|
|
|
|
|
|
|
|
|
|
|
|
|
|
|
|
|
|
|
|
|
Растворонасосы
|
1
|
|
|
|
|
|
|
|
|
|
|
|
|
|
|
|
|
|
|
|
|
|
|
Выравнивание
штукатурки стен
|
100
|
11
|
30,980
|
67
|
6
|
2
|
Подъемники
мачтовые
|
1
|
6
|
|
|
|
|
|
|
|
|
|
|
|
|
|
|
|
|
|
|
|
|
|
|
|
|
|
|
|
|
|
|
|
|
|
|
|
|
|
|
|
|
|
|
|
|
|
|
|
|
|
|
|
Улучшенная
окраска фасада
|
100
|
11
|
75,881
|
168
|
15
|
2
|
Лебедки
электрические
|
1
|
6
|
|
|
|
|
|
|
|
|
|
|
|
|
|
|
|
|
|
|
|
|
|
|
|
|
|
|
|
Автомобиль
бортовой
|
1
|
|
|
|
|
|
|
|
|
|
|
|
|
|
|
|
|
|
|
|
|
|
|
|
|
|
|
|
|
|
|
|
|
6. График потока рабочих, движения
машин и механизмов и поступления на объект строительных материалов, конструкций
и изделий
График потока рабочих характеризует
ритмичность ремонта. Он составлен на основе разработанного календарного графика
производства работ по основным организациям, участвующим в капитальном ремонте.
Для качественной оценки графика потока рабочих
применяются два показателя:
) К1 - коэффициент использования
рабочих по времени, определяется как отношение установившегося периода к общей
продолжительности работ (нормальное значение 0,5-0,7):
К1 = Туст/Т,
где Туст - продолжительность установившегося
периода, за который принимают максимальный отрезок времени, в течение которого
колебания по количеству рабочих не превышают 12 %, дн.;
Т - общая продолжительность выполнения работ по
графику, дн.
К1 = 5/18=0,3
) К2 - коэффициент использования
рабочих по численности, определяется как отношение максимальной численности
рабочих к их средней численности (нормальное значение 1,5-1,7):
К2 = Nmax
/ Nср,
где Nmax
- максимальное количество рабочих в день (принимается по графику потока рабочих),
чел;
Nср - среднее
количество занятых рабочих, определяется отношением общего количества затрат
труда рабочих к общей продолжительности работ:
Nср =∑Зmp
/ Т,
где Зmpi
- затраты труда рабочих по отдельным видам работ, чел.-дн.:
Зmp
= Т ×
N
Зтр =6 ×
5 + 11 ×
6+ 11×
6 + 15 ×
7 + 6 ×
6 + 15 ×
6= 393 чел.-дн.
Nср = 393/ 18 = 22
чел.
К2 = 32/22 = 1,5
График поступления на объект основных
строительных материалов, конструкций и сроки их поставок с учетом запаса
материалов и конструкций, вида транспорта, доставляющего их на строительную
площадку, и п принятого метода организации ремонта.
График определяет количество основных
строительных материалов,
штукатурный отделочный ремонт фасад
Таблица
8
График поступления на объект основных
строительных материалов, конструкций, изделий и оборудования
|
Строительные
материалы, конструкции, изделия и оборудование
|
Ед.
изм.
|
Кол-во
|
График
поступления (рабочие дни, месяцы)
|
|
|
|
Июль,
2013 г
|
|
|
|
1
|
2
|
3
|
4
|
5
|
6
|
7
|
8
|
9
|
10
|
11
|
12
|
13
|
14
|
15
|
16
|
17
|
18
|
|
Гипсовые
вяжущие Г-3
|
т
|
2,816
|
|
|
|
|
|
|
|
|
|
|
|
|
|
|
|
|
|
|
|
|
|
|
|
|
|
|
|
|
|
|
|
|
|
|
|
|
|
|
|
|
Сетка
тканая с квадратными ячейками 05 без покрытия
|
м2
|
1270,94
|
|
|
|
|
|
|
|
|
|
|
|
|
|
|
|
|
|
|
|
|
|
|
|
|
|
|
|
|
|
|
|
|
|
|
|
|
|
|
|
|
Вода
водопроводная
|
м3
|
1,98
|
|
|
|
|
|
|
|
|
|
|
|
|
|
|
|
|
|
|
|
|
|
|
|
|
|
|
|
|
|
|
|
|
|
|
|
|
|
|
|
|
Доски
обрезные длиной 4-6,5 м, шириной 75-100мм, толщиной 25 мм IV сорта
|
м3
|
0,66
|
|
|
|
|
|
|
|
|
|
|
|
|
|
|
|
|
|
|
|
|
|
|
|
|
|
|
|
|
|
|
|
|
|
|
|
|
|
|
|
|
Раствор
готовый отделочный тяжелый, цементно-известковый 1:1:6
|
м3
|
20,57
|
|
|
|
|
|
|
|
|
|
|
|
|
|
|
|
|
|
|
|
|
|
|
|
|
|
|
|
|
|
|
|
|
|
|
|
|
|
|
|
Таблица
9
График движения основных строительных машин и
транспортных средств на объекте
|
Наименование,
тип, марка
|
Единица
измерения маш.-ч.
|
Количество
|
График
движения (рабочие дни, месяца)
|
|
|
|
|
Июль
2013
|
|
|
|
|
1
|
2
|
3
|
4
|
5
|
6
|
7
|
8
|
9
|
10
|
11
|
12
|
13
|
14
|
15
|
16
|
17
|
18
|
|
Лебедки
электрические, тяговым усилием до 5.79 кН,KDJ-200E
|
3,795
|
2
|
|
|
|
|
|
|
|
|
|
|
|
|
|
|
|
|
|
|
|
|
|
|
|
|
|
|
|
|
|
|
|
|
|
|
|
|
|
|
|
|
Автомобили
бортовые грузоподъемностью до 5 т, КАМАЗ 43502
|
6,7045
|
2
|
|
|
|
|
|
|
|
|
|
|
|
|
|
|
|
|
|
|
|
|
|
|
|
|
|
|
|
|
|
|
|
|
|
|
|
|
|
|
|
|
Подъемники
мачтовые строительные 0.5 т, ПМГ 001-2084
|
21,3245
|
2
|
|
|
|
|
|
|
|
|
|
|
|
|
|
|
|
|
|
|
|
|
|
|
|
|
|
|
|
|
|
|
|
|
|
|
|
|
|
|
|
|
Растворонасосы
1м3\ч
|
108,1575
|
5
|
|
|
|
|
|
|
|
|
|
|
|
|
|
|
|
|
|
|
|
|
|
|
|
|
|
|
|
|
|
|
|
|
|
|
|
|
|
|
|
|
|
|
|
|
|
|
|
|
|
|
|
|
|
|
|
|
|
|
|
|
|
|
|
7. Временные здания и сооружения
Временные здания предназначены для обслуживания
ремонтно-строительного производства и создания необходимых условий для
работников с учетом их производственных, хозяйственных и санитарно-бытовых
нужд.
.1 Закрытые и
открытые приобъектные склады
Площади для хранения материалов
на приобъектных складах определяют исходя из запаса материалов, предусмотренных
графиком поступления материала и конструкций на площадку, а так же с учётом
возможности хранения материалов, инструментов и изделий в ремонтируемых
зданиях.
Запас материала, подлежащих
складированию на приобъектной площадке, определено по формуле:
З=(М · Н · К1 ·К2)
/ Т,
где З - количество материала,
подлежащего хранению на складе, (запас);
М - количество материала,
укладываемое в дело за расчетный период Т, ед.;
Н - норма запаса, дни;
К1 - коэффициент
неравномерности поставки, принимается равным 1,1;
К2 - коэффициент
неравномерности потребления, принимается равным 1,3;
Т - продолжительность периода
потребления материалов, дни.
З=(2,816*20*1,1*1,3)/16=5,03
Общая площадь временной
складской площадки определяется по формуле:
S=З/(Ну
·К), м2
где Ну - количество
материала, укладываемого на 1,0 м2 площади склада
(норма укладки);
К - коэффициент использования
площади склада:.
·
для
закрытых складов - 0,6-0,7;
·
для
навесов - 0,5-0,6;
·
для
открытых площадок (для материалов штабельного хранения) - 0,4-0,6.
S=5,03/(2·0,7)=3,6 м2
Таблица
10
Экспликация временных зданий и сооружений
|
Наименование
временного здания, сооружения
|
Размеры
в плане, м
|
Потребная
мощность, м2
|
Принятое
количество, шт.
|
|
1.
Производственные и складские помещения
|
|
Открытый
приобъектный склад
|
12·12
|
3,6
м2
|
1
|
7.2 Временное
водоснабжение
Проектирование временного
водоснабжения на объекте ремонта сведено к следующему:
·
определено
на стройгенплане места потребления воды,подсчитано количество потребляемой воды
в смену как вотдельных местах, так и общее количество воды на объект;
·
устанавливается
источник воды и его месторасположение;
·
подобран
диаметр труб;
·
определен
объём работ и затрат труда по прокладкевременного водопровода.
Вода на площадке требуется для
производственных, хозяйственно-питьевых и противопожарных нужд:
Ррасч.= Рпр +
Рхоз. + Рпож.
Ррасч.=
0,06+0,02+10=10,08 л/с
Суммарный расход воды на
производственные нужды учтен в сметной документации на производство
электромонтажных работ и составляет:
Рпр =1,2
+
,
л/с,
где Рсп - расход воды на строительные
процессы, л/смен;
Рмаш - расход воды на строительные и
транспортные машины, л/смен;
Рс.уст - расход воды на силовые
установки, л/смен.
К1, К2, К3 -
коэффициенты сменой неравномерности потребления воды;
,2 - коэффициент, учитывающий мелких
потребителей и другие расходы.
Рпр
=1,2*(1,5*(190+5)/8*3600+2*500/8*3600+1,1*30/8*3600)=0,06 л/с
Секундный расход воды на хозяйственно-питьевые
нужды составил:
Рхоз = Ксм.· N
· Рсм/8 · 3600,
где Рсм - потребление воды на
хозяйственно-питьевые нужды в литрах одним человеком в смену, принимаемое на
площадках с канализацией 20-25 л, на площадках без канализации - 10-15л;- число
рабочих, ИТР и служащих на площадке;
Ксм - коэффициент неравномерности
потребления воды в смену, принимаемый от 2,5 - 3.
Рхоз=(3 11 20)/(8
3600) = 0,02 л/с
Расход воды на противопожарные
нужды принят в зависимости от размера строительной площадки: при площади до30
га - 10 л/с.
Для ремонта фасада Рпож.=
10 л/с
Диаметр труб временной
водопроводной сети определяется по формуле:
Д=
где Д - диаметр трубы, см;
Ррасч. - расчетный расход воды
на определенном участке сети, л/с;
υ
- скорость движения воды в трубе, см/с, для временной сети принимается в
размере 100-150 см/с.
Д=
=11,33
см
Вывод: Согласно проведенным
расчётам сечение трубы временного водопровода принимаем 150 мм, исходя из
предельного расхода воды, равного 10,08 л/с
.3 Временное
электроснабжение
При проектировании временного
водопровода произведено проектирование и временного электроснабжения
ремонтируемого объекта:
· на стройгенплане указаны места
потребления электроэнергии;
· определено количество
потребляемой электроэнергии в смену;
· подобран источник энергии,
определено его расположение.
Потребность в общей
электрической мощности рассчитана по формуле:
Р=1,1·(К1·Σ
Рс / cos
φ + К2 ·Σ
РОВ + К3· Σ Рон )+Рпр,
где Р - общая потребная
мощность;
,1 - коэффициент учитывающий
потери мощности в сетях;
cos
φ - коэффициент
мощности сети, зависящий от количества и загрузки силовых потребителей,
принимаемый в пределах 0,7-0,8;
К1,К2,КЗ - коэффициенты
одновременности потребления электроэнергии;
Рс - силовая
мощность (машин, оборудования) кВт;
РОВ - мощность
внутреннего освещения, кВт;
Рон - мощность
наружного освещения, кВт;
Рпр - расход
электроэнергии на прочие потребности рабочих и обогрев (принимается равным 1
кВт на одного рабочего).
Р=1,1·((0,75*(8,2+32+2,9+9+4)/9,99)+(0,8*50*0,2)+1*(0,5+0,3+0,1)*0,2)
+15) = 28,63 кВт
Таблица 11
Расчёт потребности в
электроэнергии
|
Наименование
потребителей
|
К-во
|
Установленная
мощность, кВт
|
Коэф.
одновр., К
|
Коэф.
учит. потери мощн.
|
Коэф.
мощн., cos
φ
|
Р
|
|
|
1
шт.
|
всех
|
|
|
|
|
|
Машины
и механизмы
|
-
|
-
|
8,2+32+2,9+9+4=56,1
|
0,75
|
1,1
|
cos 0,7=9,999
|
0,75*56,1/9,999*1,1=4,63
|
|
Наружное
освещение
|
-
|
-
|
0,5+0,3+0,1=0,9
|
1,0
|
1,1
|
-
|
0,9*1,0*1,1=0,99
|
|
Внутреннее
освещение
|
-
|
-
|
50*0,2=10
|
0,8
|
1,1
|
-
|
10*0,8*1,1=8,8
|
|
Итого:
|
|
|
|
|
|
|
14,42
|
На основании общей потребности
в электрической мощности принимается мощность устанавливаемого трансформатора
ТМ 30/6
Согласно расчетам для проведения ремонта
потребуется трансформатор ТМ 30/6, мощностью 30 кВт и предельно-минимальными
напряжениями, В:
Высшего - 380-6300
Низшего - 230-400
8. Охрана труда, техника
безопасности и противопожарные мероприятия
8.1 Общие требования охраны труда
при выполнении отделочных работ
Охрана труда представляет собой комплекс
законодательных, технических, санитарно-гигиенических и организационных
мероприятий, направленных на обеспечение здоровых и безопасных условий труда.
Этот, комплекс включает три раздела: трудовое законодательство, технику
безопасности и производственную санитарию. Основы трудового законодательства
изложены в Кодексе законов о труде (КЗоТ). Техника безопасности включает
комплекс технических и организационных мероприятий, осуществление которых имеет
целью обеспечить безопасные условия труда прежде всего путем предупреждения и
устранения причин несчастных случаев (профилактики травматизма).
Производственная санитария - область медицины, посвященная изучению и
предупреждению профессиональных заболеваний.
К самостоятельному выполнению штукатурных работ
допускаются лица, прошедшие медицинское освидетельствование, вводный
инструктаж, первичный инструктаж, обучение и стажировку на рабочем месте,
проверку знаний требований охраны труда, имеющие группу по электробезопасности
не ниже I и соответствующую квалификацию согласно тарифно-квалификационного
справочника. При проведении штукатурных работ необходимо: Выполнять только ту
работу, которая определена рабочей инструкцией. Выполнять правила внутреннего
трудового распорядка. Правильно применять средства индивидуальной и
коллективной защиты. Соблюдать требования охраны труда. Немедленно извещать
своего непосредственного или вышестоящего руководителя о любой ситуации,
угрожающей жизни и здоровью людей, о каждом несчастном случае, происшедшем на
производстве, или об ухудшении состояния своего здоровья, в том числе о
проявлении признаков острого профессионального заболевания (отравления).
Проходить обучение безопасным методам и приемам выполнения работ и оказанию
первой помощи пострадавшим на производстве, инструктаж по охране труда,
проверку знаний требований охраны труда. Проходить обязательные периодические
(в течение трудовой деятельности) медицинские осмотры (обследования), а также
проходить внеочередные медицинские осмотры (обследования) по направлению
работодателя в случаях, предусмотренных Трудовым кодексом и иными федеральными
законами. Уметь оказывать первую помощь пострадавшим от электрического тока и
при других несчастных случаях. Уметь применять первичные средства
пожаротушения. При производстве штукатурных работ, характерны и присутствуют
следующие опасные и вредные производственные факторы:
опасные уровни напряжения в электрических цепях,
замыкания которых может пройти через тело человека;
недостаточная освещенность рабочей зоны;
фактор работы на высоте;
повышенная запыленность и загазованность воздуха
рабочей зоны;
острые кромки, заусенцы и шероховатость на
поверхностях отделочных работ, материалов и конструкций.
Работники, осуществляющие штукатурные работы
должны быть обеспечены спецодеждой, спецобувью и другими средствами
индивидуальной защиты в соответствии с Типовыми отраслевыми нормами бесплатной
выдачи специальной одежды, специальной обуви и других средств индивидуальной
защиты и Коллективным договором. При нахождении на территории стройплощадки
необходимо носить защитные каски. Кроме того, при набрызге раствора на
потолочную поверхность, необходимо использовать защитные очки. В случаях
травмирования или недомогания необходимо прекратить работу, известить об этом
руководителя работ и обратиться в медицинское учреждение. За невыполнение
данной инструкции виновные привлекаются к ответственности согласно законодательства
Российской Федерации.
8.2 Требования охраны труда во время
работы
В качестве средств подмащивания необходимо
применять, как правило, инвентарные средства подмащивания (подмости
сборно-разборные, подмости передвижные с перемещаемым рабочим местом, столики и
др.), оборудованные ограждениями. Запрещается применять в качестве подмостей
случайные средства подмащивания (ящики, бочки, ведра и т.п.) Перед началом
работы на подмостях необходимо убедиться в отсутствии людей в опасной зоне под
подмостями. При совмещении работ по одной вертикали нижерасположенные рабочие
места должны быть оборудованы соответствующими защитными устройствами
(настилами, сетками, козырьками), установленными на расстоянии не более 6 м по
вертикали от вышерасположенного рабочего места. При нанесении раствора на
потолочную или вертикальную поверхность необходимо находиться сбоку от места
набрызга раствора. Для защиты глаз следует пользоваться очками. При работе с
растворами, имеющими химические добавки, необходимо использовать средства
индивидуальной защиты (резиновые перчатки, защитные мази и др.),
предусмотренные в технологической карте на проведение штукатурных работ. При
работе с растворонасосом необходимо: Следить, чтобы давление в растворонасосе
не превышало допустимых норм, указанных в его паспорте, а рукава не имели
перегибов. Для прекращения подачи раствора штукатуры обязаны подать оператору
установки соответствующий сигнал, прекращать подачу раствора перегибанием
рукава не допускается. Удалять растворные пробки, ремонтировать и разбирать
растворонасосы и растворопроводы только после их отключения от электросети и
снятия давления. Осуществлять продувку растворонасоса при отсутствии людей в
зоне 10 м и ближе от растворопровода. Организовывать рабочее место таким
образом, чтобы между ящиком с раствором и стеной оставался проход шириной не
менее 0,6 м. Держать форсунку при нанесении раствора растворонасосом под
небольшим углом к оштукатуриваемой поверхности и на небольшом расстоянии от
нее. При работе пользоваться защитными очками. При работе с применением
штукатурной затирочной машины с электроприводом необходимо следить, чтобы
раствор и вода не попадали на корпус машины и двигатель. Искусственную сушку
оштукатуренных поверхностей необходимо осуществлять с применением специально предназначенных
нагревательных приборов: калориферов, газовых горелок, софитов. Запрещается
применять для сушки помещений мангалы (жаровни), бочки и другие емкости,
наполненные горячим углем. При работе с ручными электрическими машинами,
необходимо иметь I группу по электробезопасности и II группу при работе ручными
электрическими машинами класса 1 в помещениях с повышенной опасностью.
8.3 Техника безопасности при
проведении отделочных работ
При выполнении штукатурных работ, разумеется,
необходимо соблюдать правила техники безопасности. Начинающий
непрофессиональный штукатур должен выучить наизусть эти правила и
предостережения, чтобы не допускать ошибок и уберечь себя и окружающих от
получения опасных травм. В этой статье мы собрали наиболее актуальные и важные
советы для штукатурных работ, проводимых ручным способом.
В первую очередь позаботьтесь о защитной
амуниции:
Спецодежда должна быть удобной и немаркой:
действовать с комфортом вам помогут комбинезон, куртка с брюками или рабочий
халат.
Защитные очки избавят вас от попадания раствора
в глаза при вибрации армирующей сетки.
Раствор с добавлением алюмината натрия требует
обязательного использования очков, резиновых сапог, перчаток и фартука.
Нежелательно соприкосновение с кожей щелочных
веществ (к ним относятся цемент и известь) - используйте резиновые перчатки и
очки. При попадании раствора на открытые части тела, сразу же смойте состав
водой с мылом.
Работая с известью, являющейся крайне едким
материалом, намажьте кожу рук вазелином.
8.4 Правила техники безопасности
Прежде чем начинать оштукатуривание, удалите из
поверхностей все гвозди, чтобы избежать повреждения рук при разглаживании
раствора. В случае возможности повторного использования гвоздей сложите их в
коробку. Предпочтительней будет вынести коробку за пределы помещения,
предназначенного для отделки.
Строго следуйте правилам хранения и
использования материалов, употребляемых для приготовления штукатурных
растворов. Особенно важно соблюдать инструкции, применяя вредные для
человеческого организма вещества, такие как: известняк, гипс, известь-пушонка,
хлорная известь, кремнефтористый цемент, поташ, алюминат натрия, хлорид
кальция, хлорид натрия, хлорированная и аммиачная вода, соляная кислота и т.д.
Держите при себе необходимые препараты для
оказания первой помощи, в том числе и нейтрализующие составы 1%-ного раствора
уксусной кислоты или 0,5%-ного раствора двууглекислой соды.
При работе с сухой смесью, старайтесь не
допускать ее попадания в дыхательные органы и глаза.
Содержите в порядке и чистоте рабочий
инструмент. Убедитесь, что ручки штукатурных инструментов являются гладкими и
прочно зафиксированными. Ни в коем случае используйте инструмент, «потерявший»
рукоять.
Для того чтобы избежать появления мозолей,
попробуйте слегка обжечь на огне рукоятки инструментов - эта несложная операция
поможет сохранить кожу неповрежденной.
Для наружного оштукатуривания используйте леса и
подмости (деревянный настил на опорах), для внутреннего - те же подмости или
передвижные столики. Следите за надежностью опор вспомогательных конструкций.
Не стоит наносить штукатурный раствор, стоя на
неустойчивой опоре вроде настила, устроенного на бочках и кирпичах, или
уложенных на козлы досок.
Для выполнения небольших штукатурных работ
разрешается применять лестницы-стремянки. Убедитесь, что нижняя часть лестницы
надежно укреплена во избежание сдвига. Каждой раздвижной стремянке нужно
прочное приспособление, удерживающее ее от неожиданного складывания в процессе
эксплуатации.
Нагрузка на настилы не должна быть чрезмерной:
не загромождайте настил всеми имеющимися материалами и инструменты. Передвигая
тяжелый груз, делайте это медленно и плавно, оберегая поверхности от ударов.
При условии необходимости искусственной сушки
штукатурки (в помещениях, где невозможно использовать систему центрального
отопления), расположите в комнате электрические воздухонагреватели или газовые
калориферы. Последние не стоит оставлять без присмотра, когда они находятся в
рабочем режиме.
Устанавливая газовый калорифер, обратите
внимание на соблюдение безопасных расстояний:
между обогревателем и газовым баллоном требуется
дистанции не менее 1,5 м;
между баллоном и электрооборудованием (проводка,
розетки, выключатели) - расстояние не менее 1м.
Для обогрева помещения запрещается пользоваться
устройствами, выбрасывающими в атмосферу продукты сгорания топлива (жаровни).
Во время искусственной сушки не находитесь в
помещении более 3 часов.
Помните о том, что вода отлично проводит
электричество - не прикасайтесь мокрыми руками к выключателям, розеткам,
включенным электроприборам.
.5 Противопожарные мероприятия
При выполнении штукатурных работ пользуются
отопительными приборами. Отапливая помещения, подогревая растворы, материалы,
воду, необходимо строго соблюдать правила противопожарной безопасности.
При пользовании временными отопительными
приборами их нельзя оставлять без присмотра. После окончания работ приборы
должны быть выключены. Около каждой временно поставленной печи или калорифера
должен находиться ящик с песком, бак с водой или огнетушитель, которым должны
уметь пользоваться штукатуры.
Вся электропроводка должна быть выполнена в
соответствии с правилами техники безопасности и противопожарной безопасности.
Категорически запрещается пользоваться электропроводкой с неисправной
изоляцией. После окончания работ приборы освещения должны быть отключены.
Курить следует в специально отведенных местах,
где поставлена посуда с водой или песком. Запрещается курить или пользоваться
открытым огнем на расстоянии меньше 10 м от баллонов с ацетиленом и другими
горючими газами, а также от газопроводов, передвижных ацетиленовых аппаратов и
иловых ям (ямы, куда сваливают отработанный карбид).
В жаркое время года деревянные элементы лесов
нужно периодически поливать водой.
На складах с известью развешивают пенные
огнетушители, водой тушить известь нельзя.
Все строящиеся объекты должны быть снабжены
эффективными средствами тушения пожаров, причем эти средства необходимо
содержать в постоянной готовности. На каждой строительной площадке организуется
пожарно-сторожевая охрана с круглосуточным дежурством и в помощь ей из рабочих
и служащих создают добровольные пожарные дружины (ДПД).
Все, кто трудится на объекте, должны быть
проинструктированы о мерах пожарной безопасности на своих рабочих местах и на
строительстве в целом.
На каждом строительстве должна быть телефонная
связь с городом или пожарной охраной ближайшего предприятия. Возле телефона
вывешивается табличка с указанием телефонных номеров пожарной охраны и пожарной
помощи.
На каждом строительстве отводят специальные
места для курения (с урнами или бочками для окурков, наполненными водой). На
видных местах вывешивают объявления, указывающие, где находятся эти места.
Запрещается хранить паклю, пеньку и другие
волокнистые материалы совместно с маслами, масляными красками, олифой и другими
горючими веществами. Если волокнистые и горючие материалы необходимо поместить
в общем складе, то их надо разделить глухой перегородкой.
9. Технико-экономические показатели
проекта
Целесообразность принятых методов организации
работ в разработанном курсовом проекте организации капитального ремонта
характеризуют следующие технико-экономические показатели:
Таблица
12
Технико-экономические показатели
|
Показатель
|
Ед.
изм.
|
Значение
|
|
Сметная
стоимость капитального ремонта
|
руб.
|
822572,74
|
|
Сметная
стоимость ремонтно-строительных работ
|
руб.
|
822572,74
|
раб.
дн.
|
18
|
|
Максимальная
численность рабочих в смену
|
чел.
|
32
|
|
Среднее
количество рабочих
|
чел.
|
22
|
|
Коэффициент
использования рабочих по времени,К1
|
-
|
0,3
|
|
Коэффициент
использования рабочих по количеству К2
|
-
|
1,5
|
|
Затраты
труда рабочих
|
чел.-дн.
|
621,56
|
|
Дневная
выработка на одного рабочего
|
руб.
|
1323,40
|
10. Современные технологии и
новшества в области ремонта фасадов
Привычные нам кирпичные или
оштукатуренные стены значительно проигрывают новым разработкам в области
строительства, а в частности, последним разработкам устройства фасадов.
"Мокрый"фасад
Здесь уже есть специальный
термоизоляционный слой, который крепится на стены с помощью клея и механических
соединений, а следом накладывается штукатурка из стекловолокна и синтетических
материалов. Кстати, именно из-за штукатурного покрытия, которое в начале работы
разводится водой, эта технология и получила своё название "мокрый"
фасад. Этим способом можно утеплить не только стены, но и все откосы. Кроме
того, такая облицовка легко обновляется. После шпатлевания теплоизоляции
накладывается армирующий слой. Он служит основой для декоративного покрытия, а
состоит из штукатурки и специальной стеклосетки. Задача этого наполнителя -
создать жесткую штукатурную поверхность и усилить начальное покрытие
утеплителя. Последний слой фасада - декоративный. На этой стадии работ, если
есть сомнения в том, как должны выглядеть стены дома, лучше посоветоваться со
специалистом, который сможет предложить множество вариантов цветового
оформления фасада, поскольку, только в базовой палитре декоративных штукатурок
около двухсот цветовых тонов. "Мокрые" фасады дешевле любого
вентилируемого фасада, ведь окраска или оштукатуривание - один из самых экономичных
способов отделки зданий. При всех плюсах у этой системы есть нюанс о котором
необходимо чётко помнить: температура, при которой производится монтаж фасада,
не должна быть ниже +5 градусов. Это объясняется свойствами связующего агента,
который при холодной температуре перестает сохнуть.
«Вентилируемый»
фасад
На сегодняшний день - это один
из самых распространенных видов фасада при строительстве и реконструкции домов.
Самое главное его достоинство: эффективная защита несущих стен здания от
разрушений после осадков и высокая теплоизоляция, которая позволяет заметно
экономить в отопительный сезон. Вентилируемый фасад состоит из двух основных
конструкций - каркас, закрепляемый на несущей стене здания, и облицовочный
слой, создающий тот самый привлекательный внешний вид, к которому так стремится
каждый хозяин дома. Обязательное условие крепления каркаса - сохранение между
внешней стороной несущей стены и вентилируемым фасадом воздушного зазора.
Именно здесь идёт вентиляция стен и одновременно создается теплоизолирующая
прослойка. Например, как хорошо обдуваемая беседка в солнечный, летний день
дает необходимую прохладу, так и вентилируемая несущая стена не будет
перегреваться в жаркий день, но в то же время воздушная прослойка в зимний
сезон поможет сохранить тепло дому.
«Каменный» фасад
Натуральный камень - один из
самых интересных строительных материалов, использующихся для облицовки зданий.
Для такого фасада применяют искусственный и натуральный отделочный камень: они
отличаются по качеству, долговечности и устойчивости к воздействию окружающей
среды. Начнём с натурального камня для облицовки дома и цоколей. Существует
около тысячи цветовых и фактурных разновидностей пород, традиционно применяемых
в строительстве. Наиболее распространены для отделки зданий: гранит, пиленый и
тёсаный известняк, различные песчаники, морской валун, сланец, галька, гранитный
и кварцевый окол, серпентинит, габбро-диабаз, плитняк. Вообще, фасады зданий
могут быть как однородными, так и комбинированными - сочетание пород друг с
другом. В регионах, где отрицательная температура опускается ниже 10 по
Цельсию, обычно для облицовки фасадов используют гранит, реже известняк и
песчаник. Песчаник не выдерживает испытания сильными морозами, поэтому требует
обработки водоотталкивающими составами. Зато песчаник хорош в ландшафтном
дизайне. Чаще всего отделку жилых зданий выполняют из серого гранита. Среди
искусственных видов отделочного камня можно выделить архитектурный бетон с
внутренним пространственным армированием или так называемый "белый
камень", который позволяет изготавливать как отдельные элементы декора
(обрамления окон, дверей, входные группы, баллюстрады, русты и т.д.), так и
целые участки фасада (навесные панели) с барельефами и лепным декором. Площадь
таких панелей может достигать нескольких квадратных метров при относительно
небольшой толщине

Сайдинг
Виниловая фасадная облицовка
(сайдинг) пришла к нам Америки. Панели изготовлены из поливинилхлорида
различных цветов толщиной 1,0 - 1,15 мм. Он комплектуется всей фурнитурой и
необходимыми элементами отделки оконных и дверных проемов и сопряжений
различных плоскостей фасада. Огромный выбор цветов, тонкая текстура дерева,
разный профиль панелей, возможность их горизонтальной и вертикальной установки
позволяют придать дому свой уникальный вид. Сайдинг на стене дома образует
эластичную оболочку способную противостоять механическому воздействию. Самое
главное, что виниловая облицовка малочувствительна к напряжениям, которое
возникает из-за перекосов самого дома. Сайдинг защищает стены от атмосферных
осадков и ветра, устойчив к перепадам температур от -30C до +55C. Он пропускает
пар и воздух со стороны дома, чем и сберегает его от конденсата. В отличие от
дерева этот материал не рассыхается, не растрескивается, не гниет и не
подвергается вредному воздействию насекомых. При возгорании плавится и не
поддерживает активного горения. Ухаживать за панелями довольно просто.
Достаточно раз в год из обычного шланга устраивать им душ. К преимуществам этой
технологии вполне можно отнести то, что отделать фасад дома сайдингом может
каждый и без помощи специалиста. И с ним можно работать при любой погоде, даже
зимой.
Металлосайдинг
Металлический сайдинг выделяется на фоне других
отделочных материалов особой износостойкостью и долговечностью. Производится он
в большинстве случаев из оцинкованной стали или алюминиевого сплава, а также из
меди и цинк-титана. Благодаря наличию полимеров металлический сайдинг не
изменяется под воздействием ультрафиолета, не перегревается при высоких
температурах, устойчив к образованию коррозии и воздействию агрессивных сред
(щелочных, кислотных). Его можно использовать даже в регионах сурового климата,
так как он легко переносит температуру в диапазоне от - 60 до + 80С. Кроме того
он обладает низким коэффициентом термического расширения в отличие от
традиционных виниловых панелей. Эти основные характеристики, которыми
отличается металосайдинг (вместе с привлекательным внешним видом, простым
монтажом и длительным сроком службы) делают его одним из самых востребованных.
Многие производители дают на него 20-30-летнюю гарантию, на практике же этот
материал служит до 50 лет. Стальной сайдинг не требует особого ухода, он легко
моется при помощи воды и чистящих средств. Разнообразие цветов дает возможность
воплотить любые дизайнерские идеи. Металосайдинг представляет собой панели
толщиной 0,45-0,55 мм, длинной 0,5-6 м со специальными замковыми соединениями и
прорезями для крепления. На строительном рынке уже существует множество аксессуаров
для работы с таким видом облицовки. Именно они и позволяют скрыть стыки и углы,
закрыть от людских глаз все неэстетичные места вашего дома. Монтируя
металлический сайдинг, одновременно можно утеплить здание, а значит, и снизить
энергопотребление. Эти панели позволяют "дышать" дому, сохраняя
естественную влажность и не закупоривая внутренние помещения.
Список литературы:
1. ЕНиР
Сборник Е8 Выпуск 1 Отделочные покрытия строительных конструкций. Выпуск 1
Отделочные покрытия
2. ЕНиР
Сборник Е20 Выпуск 1 Ремонтно-строительные работы. Выпуск 1. Здания и
промышленные сооружения
. СНиР
61 "Штукатурные работы"
. РСН
69 "Прочие ремонтно-строительные работы"
. ТР
118-01 «Материалы и технологии производства работ по очистке зданий и
сооружений».
. СНиП3.04.01-87«Изоляционные
и отделочные покрытия»
. ЖНМ
2007/03 «Содержание и ремонт фасадов зданий и сооружений»
8. Булгаков
С.Н. Реконструкция жилых зданий - М.: ГУП ЦПП, 1999.
9. Бойко
М.Д. Техническое обслуживание и ремонт зданий и сооружений - М.: Стройиздат,
1993 - 207 с.
. Девятаева
Г.В. Технология реконструкции и модернизации зданий - М.: ИНФРА-М, 2005. - 480
с.
. Матвеев
Е.П. Реконструкция жилых зданий. Ч.I, II - М., 1999 - 367 с. и 363 с.