Технология создания цифровых топографических карт и планов
Содержание
Введение
1. Особенности создания цифровых топографических карт и планов
1.1 Понятие о цифровой и электронной картах
1.2 Используемые технические средства
1.3 Программное обеспечение
2. Технология создания цифровых топографических карт и планов
2.1 Создание цифровых карт по материалам полевых измерений
2.2 Цифрование картографического изображения
3. Прикладные задачи, решаемые с использованием цифровых и
электронных карт
Заключение
Список использованной литературы
Введение
В настоящее время в картографии интенсивно развивается
направление по созданию электронных карт, моделей виртуальной реальности,
картографических анимаций, мультимедийных атласов, ГИС - технологий.
Уровень развития информационных технологий предоставляет
возможность использования цифровых моделей рельефа, данных дистанционного
зондирования, баз геоданных и программных средств для разработки новых методов
и подходов к процессу составления и оформления карт. Это позволяет повысить
качество, полноту, достоверность, современность и выразительность
картографической информации.
Появлению новых технологий в области составления и подготовки
к изданию карт способствовали в первую очередь следующие достижения
научно-технического прогресса:
· создание персональных ЭВМ, достаточно
мощных для работы с большими объемами графических данных;
· разработка программных средств,
позволяющих вести комплексные составительско-оформительские работы;
· развитие сканирующей техники, появление
цветных и большеформатных сканеров;
· создание и совершенствование фотонаборных
комплексов, способных осуществлять вывод высококачественных цветоделенных
фотоформ из различных графических пакетов;
· развитие средств оперативной полиграфии
(принтеры, копировальные аппараты, ризографы).
Применение компьютерных методов позволяет значительно
упростить и формализовать целый ряд приемов выполнения графических работ. Так,
за последние годы существенно изменился инструментарий картографа. Вышли из
употребления такие чертежные материалы и принадлежности, как: тушь, краски, чертежные
бумаги и пластики, линейки и трафареты различного типа и назначения, чертежные
перья и ручки, рейсфедеры, кисти и другие традиционные чертежные инструменты и
приспособления. Их функции успешно выполняют вычислительная техника,
специализированные программные средства и высокопроизводительное оборудование.
Картограф, владеющий приемами компьютерной графики, может оперативно выполнять
сложные картосоставительские работы с высоким графическим качеством.
Преимуществами компьютерных технологий являются: прежде всего
высокие точность и качество графических работ, разнообразнейшие оформительские
возможности, значительное увеличение производительности труда и снижение
производственных затрат, повышение полиграфического качества картографической
продукции. Поэтому составление и подготовку карт к изданию необходимо выполнять
путем комплексного использования средств компьютерной картографии.
В данной курсовой работе рассматривается компьютерная
технология создания картографических произведений. Целью моей курсовой работы
является создание крупномасштабной цифровой карты с применением компьютерных
технологий. Основные задачи работы:
Ø определить понятия
электронная и цифровая карты;
Ø изучить технические
средства для создания цифровых и электронных карт;
Ø рассмотреть особенности и
функционал программ векторной и растровой графики.
В курсовой работе рассмотрены особенности программ обработки
векторной и растровой графики. Изучены технологические возможности графического
редактора векторной графики CorelDraw. Показана разница между двумя основными
видами компьютерной графики - растровой и векторной.
цифровая топографическая карта план
1.
Особенности создания цифровых топографических карт и планов
Географические знания существовали в доисторические времена.
Первобытные народы умели ориентироваться при длинных переходах, рисовали карты
на коре, на скалах, дереве и песке, описывали страны и по-своему объясняли
происхождение различных явлений в своих сказаниях и легендах.
Потребность в географических познаниях по
необходимости вытекала из охотничьих и военных предприятий, переселений и
торговли по сухопутным, речным и морским путям. По мере роста культуры и
развития общества потребности эти становились всё более разнообразными, а самые
знания всё более точными и систематическими.
Потребность в карте возникает на самых
ранних ступенях культуры, особенно в условиях охотничьего быта. Так называемые
"карты первобытных народов" - тунгусов, чукчей, индейцев, эскимосов и
других, - представляющие примитивные планы иногда весьма значительных
территорий, удивляют своей детальностью, пропорциональностью частей и
географическим правдоподобием. Все они построены как планы, представляют
изображение местности сверху и лишены надписей.
Ориентированы они обычно по направлению
реки или морского берега, но не по странам света. Обитая на земной поверхности,
осваивая её в хозяйственных целях, путешествуя и переселяясь, человек неминуемо
должен был изучать местность, определять расстояние между городами, площади
земельных участков, высоту и протяжённость горных хребтов, неровности почвы и
т.п., что привело к необходимости производить на земной поверхности линейные и
угловые измерения. Результаты таких измерений стремились изобразить графически,
в виде чертежей, которые у разных народов назывались по-разному.
Термин "карта" появился в
средние века, в эпоху Возрождения, до этого употреблялись слова tabula и
descriptions (изображение). Этот термин происходит от латинского charta (лист,
бумага), производного от греческого "хартес"-бумага из папируса.
В России изначально карту называли
"чертежом". Лишь при Петре I появился термин "ландкарта". В
толковом словаре В. Даля (1881)"карта" определяется как "чертеж
какой-либо части земли, моря, тверди небесной".
Международный многоязычный словарь
терминов картографии дает следующее определение карты: уменьшенное,
обобщенное изображение поверхности Земли, других небесных тел или небесной
сферы, построенное по математическому закону на плоскости и показывающее
посредством условных знаков размещение и свойства объектов, связанных с этими
поверхностями.
Существуют также и другие трактовки этого
термина, где уделяется внимание тем или иным качествам картографического
изображения. Топографическая карта - уменьшенное, точное, подробное и наглядное
изображение земной поверхности с помощью условных знаков, выполненное в
определённой картографической проекции.
Для создания и полноценного использования
географических карт необходимо знать их свойства и особенности. Поэтому
изучение и разработка карт требуют аналитического подхода, расчленения карт на
составляющие их элементы, умения понимать смысл, значение и функции каждого
элемента, видеть их связи между собой. В карте различают ее содержание,
передаваемое картографическими знаками (картографическое изображение),
математическую основу, легенду, вспомогательное оснащение и дополнительные
данные.
Содержание - главная часть любой
географической карты - заключает в себе некоторую совокупность сведений
(информацию) о показанных на карте природных и социально-экономических объектах
(явлениях), их размещении, свойствах, иногда также динамике. Оно может быть
расчленено на отдельные географические элементы по однородным группам объектов,
показываемых на карте. Например, элементами содержания топографических карт
являются: опорные геодезические пункты, воды, рельеф земной поверхности,
растительный покров, грунты, населенные пункты, пути сообщения и средства
связи" некоторые объекты промышленности, сельского хозяйства, культуры,
политического и административного деления.
Математическая основа, определяющая
математические законы построения карты и геометрические свойства
картографического изображения, устанавливает координатную связь между объектами
в натуре и их изображением на карте. В математическую основу входят
картографическая проекция, координатная сетка (или сетки), масштаб и опорная
геодезическая сеть. Картографическая проекция, выражающая функциональную
зависимость между координатами точек поверхности земного эллипсоида и его
изображения на плоскости, передается на карте через координатную сетку (или
сетки) - плоское изображение системы координатных линий, избранную на
поверхности эллипсоида. Опорная геодезическая сеть обеспечивает переход от
физической поверхности Земли к поверхности эллипсоида и правильное положение
географических элементов карты относительно координатной сетки. Геодезическая
сеть, необходимая в процессе съемок, обычно показывается на топографических
картах и таким образом включается в их содержание.
Легенда карты - систематический свод
использованных на карте знаков с необходимыми к ним пояснениями - служит ключом
к чтению и анализу содержания карты. В легенде обязательны: исчерпывающая
полнота, т.е. включение всех примененных на карте знаков; логичность в
группировке, размещении и соподчинении знаков (например, по отдельным элементам
содержания в порядке их значения); безусловная ясность и по возможности
краткость текстов, объясняющих смысловое значение знаков. Правильно построенная
легенда раскрывает содержание карты - перечень элементов, классификации и
показатели, использованные для каждого элемента, а также степень их обобщения.
Легенда помещается на полях карты или на свободных пространствах внутри ее
рамки. Для многолистных карт легенду иногда печатают на отдельном листе или в
виде брошюры.
Чтобы не потеряться в великом множестве
географических карт, необходима их классификация, т.е. распределение карт на
группы (виды), руководствуясь теми или иными их признаками. Научная
классификация карт: облегчает изучение свойств и закономерностей, присущих
отдельным видам карт; находит отражение в организации картографического
производства и способствует его рациональной постановке; необходима для
каталогизации карт, их систематического размещения и хранения; наконец, что
особенно важно для картохранилищ, облегчает поиск нужных карт и выдачу их
потребителям. Строгая классификация - обязательное условие для внедрения
автоматизации в информационно-картографические службы.
Любая научная классификация должна
удовлетворять ряду логических требований. Во-первых, обязательна последовательность
перехода от общего понятия (например, класса) к частным (подклассу, роду и
виду), т.е. постепенность расчленения широкого понятия на более узкие.
Во-вторых, на каждой ступени классификации необходимо применять определенное
основание деления. В-третьих при расчленении широкого понятия на более узкие
сумма последних должна равняться объему широкого. Группы, выделенные на каждой
ступени классификации должны четко различаться между собой, чтобы исключить
возможность отнесения одной и той же карты к разным группам. Чем дробнее
классификация, тем труднее реализация этого требования на практике.
Значение классификации карт по масштабу
определяется влиянием масштаба на содержание и особенности использования карт.
В советской картографии различают карты:
· крупномасштабные (1: 200
000 и крупнее),
· среднемасштабные (мельче
1: 200000 до 1: 1000000 включительно),
· мелкомасштабные (мельче
1: 1000 000).
В применении к общегеографическим картам
эти группы карт называют топографическими, обзорно-топографическими и
обзорными. Часто рубеж топографических карт переносят на масштаб 1: 100 000.
Для топографических карт используют также внутреннее деление на подгруппы: 1: 5
000 и крупнее (часто называемые топографическим планами), мельче 1: 5000 до 1:
25 000 включительно, мельче 1: 25000. В других странах можно встретить иные
рубежи масштабной классификации с другой терминологией, хотя различия не
принципиальны.
Территориальная
классификация различает карты по пространственному охвату. В соответствии с
требованиями, предъявляемыми к логически обоснованной классификации, при
подразделении карт по территории обязательна последовательность перехода от
более общих понятий к частным. Поэтому первую рубрику классификации составляют
карты, изображающие земной шар в целом (Наиболее полные классификации по
пространственному охвату можно начинать с карт звездного неба, солнечной
системы и ее планет.). Далее раздельно классифицируются карты суши и
Мирового океана. Карты суши первоначально делятся по ее наиболее крупным частям
- материкам. Внутри материков можно группировать карты двояко: либо по
политическому и затем административно-территориальному делению, либо
руководствуясь физико-географическим районированием.
При политико-административной
группировке карты классифицируются первоначально по государствам, после
чего для каждого государства используются внутренние рубрики в соответствии с
его административно-территориальным делением первого и, если надо, последующих
более низким порядком.
Всеобщая информатизация и компьютеризация
проявляются кроме всего прочего в создании цифровых моделей самых разных
объектов и явлений. В этом смысле топографические карты, являясь графической
моделью земной поверхности, уже не удовлетворяют современным требованиям, и
основным продуктом топографии становятся цифровые и электронные топографические
карты.
1.1 Понятие о
цифровой и электронной картах
В основу большинства существующих и перспективных
информационных технологий заложены электронные карты местности.
Как известно, ЭВМ вошли в практику в 50-х годах. В 1964 г.
была сконструирована "автоматическая система для картографии",
задуманная для автоматизированного изготовления издательских оригиналов после
предварительного перевода в цифровую форму первичных оригиналов карт. Она
включала ЭВМ и автоматический координатограф.
Для следующего этапа в развитии автоматизированной
картографии, падающего на 70-е годы, характерны: совершенствование
автоматизированных картографических систем (АКС) с включением в них
цифрователей (приборов для перевода карт в цифровую форму), видеоэкранов
(дисплеев) для вывода на ЭВМ информации в графической форме и для ее
редактирования, а также графопостроителей - автоматических чертежных машин;
начало систематических работ по созданию банков цифровой картографической
информации; разработка оригинальных программ для ЭВМ АКС, начало
инвентаризации, сводок и публикации программ.
В 80-е годы автоматизированная картография, развивая те же
направления, приступила к проектированию сетей взаимосвязанных банков
топографической и ведомственной тематической информации с возможным
непосредственным ее выводом на удаленные терминалы - автоматизированные рабочие
места картографов, оснащенные видеоэкранами и графопостроителями.
В основе автоматизации лежит идея математического
моделирования процессов составления карт, т.е. их описания на языке математики,
например математической формализации процессов генерализации, построения
изолиний по сетям точек и т.п. Описание алгоритма для конкретной математической
модели картосоставления позволяет расчет модели на ЭВМ и при выводе результатов
на графопостроитель - автоматическое построение карты. Предварительно необходим
перевод исходных данных, например содержания карт-источников, в цифровую форму
посредством фиксации координат и кодовых обозначений на магнитных лентах или
других накопителях информации.
Развитие вычислительной техники и появление автоматических
чертежных приборов (графопостроителей) привело к созданию автоматизированных
систем для решения различных инженерных задач, связанных с проектированием и
строительством сооружений. Часть этих задач решается с использованием
топографических планов и карт. В связи с этим появилась необходимость
представления и хранения информации о топографии местности в цифровом виде,
удобном для применения компьютеров.
Цифровая карта - цифровая модель местности,
подготовленная для визуального отображения объектов местности, в установленной
для электронных карт системе условных знаков, на экране дисплея или в виде
графической копии на бумажном или ином носителе, сформированная на базе законов
картографии в принятых для карт проекции, разграфке, системе координат и высот,
по точности и содержанию соответствующая карте определенного масштаба.
Цифровая топографическая карта, являясь цифровой моделью
местности, должна не только включать в себя прежнюю - графическую - модель, но
и обладать рядом новых свойств, расширяющих и упрощающих использование
геодезической информации.
К настоящему времени уже определился круг проблем, при
решении которых цифровым картам принадлежит решающая роль.
· Оперативное нанесение и визуализация
обстановки. Цифровая топографическая карта служит основой, на которую
накладывают слой специальной информации, например, дислокацию войск,
экологическую обстановку, план работ по устранению стихийных бедствий и
экологических катастроф и т.д.
· Оперативное документирование. Цифровая
карта с нанесенной на ней обстановкой выводится на твердую основу (бумагу,
пластик и т.п.) и в таком виде после соответствующего оформления и регистрации
становится документом.
· Издательская деятельность. Различные
варианты цифровой карты, отличающиеся как содержанием, так и полнотой, могут
тиражироваться и распространяться среди потребителей.
· Решение расчетно-аналитических задач,
связанных с обработкой данных о земной поверхности. К этим задачам относятся:
управление и планирование,
проектирование, в том числе моделирование
природных и социальных процессов,
расчеты, связанные с капитальным строительством,
прокладкой путей сообщения и линий связи,
штурманско-навигационные задачи по выбору пути,
прокладке курса или отслеживанию движения тех или иных транспортных средств.
Электронная карта - цифровые карты,
визуализированные в компьютерной среде с использованием программных и
технических средств в принятых проекциях, системах условных знаков при
соблюдении установленной точности и правил оформления. Иногда изображения,
выведенные на дисплей, называют экранными картами, а карты, выведенные с экрана
с помощью печатающих устройств, - копиями электронных карт. Наряду с
электронными картами существуют и электронные атласы - компьютерные аналоги
обычных атласов. С развитием телекоммуникации появилась возможность составлять
и размещать огромные массивы электронных карт и атласов в сети Интернет.
Являясь средством оперативного контроля, каждая конкретная
электронная карта существует лишь в определённый момент времени, как правило
непродолжительный, пока видна на устройстве отображения. В этом их главное
отличие от прочих визуальных картографических материалов, визуализируемых на
твёрдой подложке (бумага
<#"725255.files/image001.gif">
Рис. 3. Методы представления графических изображений:
Редакторы растровой графики
Microsoft Paint - простой (или лучше сказать -
простейший) редактор, входящий в стандартную поставку операционных систем
Microsoft. Он обладает набором простейших функций (кисточка, карандаш, резинка
и т.д.), которые позволяют создавать незамысловатые картинки. К сожалению, для
обработки графики он практически не пригоден. Картинку, которую вы видете
справа - это большее, на что способен этот редактор.
Adobe Photoshop - на сегодняшний день это самый мощный
пакет для профессиональной обработки растровой графики. Это целый комплекс,
обладающий многочисленными возможностями модификации растрового рисунка,
имеющий огромный набор различных фильтров и эффектов, причем есть возможность
подключать инструменты независимых производителей.
Пакет предлагает, например, средства для восстановления
поврежденных изображений, ретуширования фотографий или создания самых
фантастических коллажей, которые только может позволить себе наше воображение.
В общем, потенциал этого пакета поистене огромен. Начиная с версии 5.5 в пакет
включена программа Adobe ImageReady, предоставляющие огромные возможности по
обработке графики под WEB (оптимизация изображений, создание анимированных gif,
"разрезание" картинок на более мелкие и т.д.). Девиз разработчиков
Adobe Photoshop - "Camera of your mind" - предполагает не только
техническое совершенство, но и полную свободу творчества, на которую человек,
работающий с этой программой, просто обречен.
PhotoPaint - еще один не менее известный графический
редактор (из пакета Corel Draw) для обработки растровой графики, конкурирующий
с Adobe Photoshop. Здесь также имеются все необходимые инструменты для
обработки графики, разнообразные фильтры, текстуры. Разница лишь в удобстве
работы, интерфейсе и скорости наложения фильтров - наложение происходит немного
медленнее.
Painter - редактор предоставляет великолепные возможности
для эмуляции реальных инструментов рисования: графит, мел, масло и т.д. Также
позволяет имитировать фактуру поверхности материалов, живопись, создавать
анимацию. Очень удобен для разработки фоновых рисунков или Web-страниц в стиле
живописи. Пользуясь это программой чуствуешь себя настоящим художником.
Существует еще ряд редакторов (Microsoft Photo Editor,
Microsoft Photo DRAW), также позволяющих реализовать простейшие задачи, но не
удовлетворяющих запросам профессионалов.
Редакторы векторной графики
Adobe Illustrator - пакет позволяет
создавать, обрабатывать и редактировать векторную графику. По своей мощности он
эквивалентенрастровому редактору Adobe Photoshop: имеет аналогичный интерфейс,
позволяет подключать различные фильтры и эффекты, понимает многие графические
форматы, даже такие как. cdr (Corel Draw) и. swf (Flash).
CorelDraw - безусловно, такой известный графический пакет
не мог обойтись без средств для обработки векторной графики. Пакет по своей
мощности практически не уступает графическим редакторам Adobe Photoshop и Adobe
Illustrator. Помимо обработки векторной графики, в этом пакете существует
обработчик растровой графики (Photo Paint), трассировщик изображений, редактор
шрифтов, подготовки текстур и создания штрихкодов, а также огромные коллекции с
изображениями (CorelGallery). Adobe Streamline - еще один продукт фирмы
Adobe, предназначенный для трассировки (перевода) растровой графики в
векторную. Это небольшой, но очень полезный и мощный продукт. Особенно полезен,
если вы создаете Web-страницы с использованием векторной графики, например,
технологии Flash.
Геоинформационная система (ГИС) - это многофункциональная
информационная система, предназначенная для сбора, обработки, моделирования и
анализа пространственных данных, их отображения и использования при решении
расчетных задач, подготовке и принятии решений. Основное назначение ГИС
заключается в формировании знаний о Земле, отдельных территориях, местности, а
также своевременном доведении необходимых и достаточных пространственных данных
до пользователей с целью достижения наибольшей эффективности их работы.
Геоинформационные технологии (ГИТ) - это информационные
технологии обработки географически организованной информации.
Основной особенностью ГИС, определяющей ее преимущества в
сравнении с другими АИС, является наличие геоинформационной основы, т.е.
цифровых карт (ЦК), дающих необходимую информацию о земной поверхности. При
этом ЦК должны обеспечивать:
· точную привязку,
систематизацию, отбор и интеграцию всей поступающей и хранимой информации
(единое адресное пространство);
· комплексность и
наглядность информации для принятия решений;
· возможность динамического
моделирования процессов и явлений;
· возможность
автоматизированного решения задач, связанных с анализом особенностей
территории;
· возможность оперативного
анализа ситуации в экстренных случаях.
Основными направлениями использования ПК при работе с ГИС в
настоящее время являются: Mercator, Atlas Pro, MapGrafix MapInfo, Arc/INFO,
ArcView,
Панорама и др.)
В зависимости от выполняемых функций эти программы делятся на
следующие основные категории инструментальные (универсальные и
специализированные);
· вьюеры;
· векторизаторы;
· средства
пространственного моделирования;
· средства обработки данных
дистанционного зондирования;
· справочно-картографические
системы.
2. Технология
создания цифровых топографических карт и планов
В технологии создания топографических карт различают
"чистое создание" и обновление. Образно говоря, топографическая карта
устаревает уже в момент ее издания, так как ситуация на местности изменяется
постоянно, а потому при накоплении определенного процента изменений карта подлежит
обновлению и переизданию.
На начальном этапе большинство цифровых карт создавались
методом дигитализации (координирования множества точек) по оригиналам обычных
топографических карт; затем были внедрены более совершенные растровые
технологии.
При "цифровании" существующих топографических карт
возникает необходимость получения дополнительной информации о местности,
которой на обычных картах просто нет, поэтому и здесь приходится выполнять
некоторые процессы "цифровой топографии".
При издании цифровой карты на территории, где топографическая
карта нужного масштаба отсутствует, и при обновлении цифровых карт применяется
принципиально новая технология, в которой можно выделить следующие крупные
процессы:
создание геодезической основы (съемочного
обоснования),
получение аэроснимков местности,
дешифрирование снимков и сбор семантической
информации,
создание файлов цифровой карты путем ввода
информации в ПК.
В каждом из этих процессов имеется множество проблем, которые
всегда возникают при отработке новых технологий. Применительно к цифровым
картам это проблемы:
стандартных и произвольных рамок листов карт,
полноты объектового состава,
правил описания объектов,
точности планового и высотного положения
объектов,
согласования метрического положения объектов,
форматов представления данных,
технического и программного обеспечения и т.д.
Исходными материалами для создания цифровых карт местности
служат топографические и специальные карты и планы, аэрокосмоснимки, различные
справочные материалы и другие источники. В настоящее время в мире разработано
достаточно много систем цифрования карт. Большинство из существующих систем
основываются на использовании сканеров и автоматической или интерактивной
векторизации карт.
Технология основана на смешанной обработке растровых и
векторных изображений с использованием ручных и сканерных средств ввода и
обеспечивает полный технологический цикл получения ЦКИ с заданной
производительностью, точностью и достоверностью. Технология реализована в виде
двух программно-информационных комплексов: комплекса ручной дигитализации карт
и планов и комплекса сканерного ввода и растровой обработки картографических
изображений.
Ручной ввод - наиболее простой и дешевый способ оцифровки
материалов, но требует большого напряжения человека-оператора при цифровании
больших и сложных исходных материалов, что приводит к снижению точности ввода и
появлению ошибок в цифровых данных.
Данный способ не предъявляет особых требований к качеству
исходного материала, однако требуется предварительная подготовка материала, на
которую практически затрачивается время, соизмеримое со временем собственно
цифрования карт и планов. Дигитайзеры бывают различного формата для ввода
данных как с обычных материалов (бумажных или пластиковых), так и с исходных
материалов, наклеенных, например, на алюминиевую или картонную основу. В
настоящее время завершены работы по созданию гибридных средств ввода,
основанных на методах ручного и сканерного ввода данных. Сканерный ввод
обладает большой точностью и скоростью цифрования, однако требует более
сложного программного обеспечения. Разработанная технология растровой обработки
картографических изображений основана на методах автоматического формирования
векторного представления и частичной автоматической классификации объектов
изображения, а также унификации обработки черно-белых и цветных
картографических изображений за счет использования единой технологической
схемы, что достигается путем цветоделения исходного цветного изображения на
первом этапе обработки картографической информации.
Технология растровой обработки включает следующие основные
процедуры, реализованные в виде отдельных независимых модулей:
. Ввод и предварительная обработка растровой информации. В
качестве устройств ввода может использоваться любой сканер с выходным форматом
PCX или TIFF. Средства предварительной обработки растровой информации включают
такие операции, как улучшение качества изображения, цветоделение, сшивка
растровых фрагментов, согласование систем координат различных слоев изображения
и др. Основной операцией данного модуля является операция цветоделения
растрового картографического изображения. При вводе черно-белых изображений
данная операция не используется. В настоящее время в технологии используются
методы, реализованные на программном уровне, обеспечивающие цветоделение с
высоким качеством (рис.1).
. Предварительное структурирование и формирование векторного
описания картографического изображения. В данный модуль входят операции
растр-векторного преобразования; создания векторного топологического описания
изображения на основе понятий "контур", "сегмент",
"узел", "точка"; формирования пространственно-логических
связей (ПЛС) типа "входимость" для внутренних контуров; формирования
габаритных рамок объектов; редактирования линейно-контурного описания объектов
изображения и др.
Основной операцией данного модуля является формирование
векторного описания картографического изображения. Комплекс векторизации,
предназначен для векторизации картографических изображений больших размеров на
персональных ЭВМ. В его основе лежит метод просмотра изображения полосой строк
и выполнения всех операций обработки изображения внутри данной полосы.
Разработана специальная технологическая схема, которая
позволила реализовать все алгоритмы векторизации с высокой скоростью и хорошим
качеством обработки изображений. На рис.2 показаны векторные изображения
отдельных картографических слоев, полученных по растровым цветотделенным
изображениям.
Исходные растровые и полученные наборы векторного описания
картографических изображений являются входными данными для модуля
автоматизированной структуризации.
Рис. 4. Результат автоматической операции цветоделения
цветного изображения карты
. Автоматизированная структуризация картографического
изображения. Сюда входят операции послойной обработки линейно-контурного
описания изображения с использованием в качестве "фона" растрового
изображения карты и формирования объектов цифровой модели местности (ЦММ) в
понятиях и требованиях принятой системы классификации и кодирования
картографической информации. В процессе обработки формируются
метрическое и семантическое описания объектов, а также ПЛС и другие
технологические признаки, обеспечивающие в дальнейшем быстрый доступ к объектам
ЦКМ. Структуризация картографического изображения основана на автоматической
сборке объектов местности по линейно-контурному описанию в соответствии с
правилами цифрового описания объектов (рис. 3). Разработанная технология
автоматической структуризации картографических изображений обеспечивает высокую
производительность создания ЦИМ с заданной точностью и информативностью.
Рис. 5. Пример автоматической векторизации изображений
растительного покрова и рельефа
Рис. 6. Пример автоматизированной структуризации рельефа
. Автоматический контроль ЦКМ. В средства контроля включены
операции структурного контроля, контроля корректности метрического и
семантического описаний объектов, правильности присвоения высот горизонталям,
правильности направления цифрования объектов и некоторые другие виды контроля.
Средства контроля обеспечивают, если это возможно, автоматическую коррекцию
ЦКМ. В противном случае формируется протокол ошибок, который затем
обрабатывается картографическим редактором.
. Редактирование ЦКМ. Операции редактирования выполняются с
помощью специализированного картографического редактора, который включает в
свой состав более 100 функций. Редактор является универсальным комплексом и
используется не только в технологии создания цифровой информации о местности,
но и в технологиях обновления ЦКМ и подготовки карт к изданию.
. Формирование выходной структуры ЦКМ. Включают операции
учета деформации исходного материала, фильтрации, сжатия, формирования
различных служебных признаков.
. Сервисная обработка ЦКМ. Сюда включены операции печати
протоколов, слияния отдельных цифровых моделей в единую модель, получения
символизированных и несимволизированных графических копий, построения матрицы
высот рельефа и др.
2.1 Создание
цифровых карт по материалам полевых измерений
Исходными материалами при создании топографических карт и
планов являются материалы наземной, аэро - или космической съемки (черно-белые,
цветные или спектрозональные изображения), материалы планово-высотной подготовки
снимков. Могут использоваться и другие дополнительные материалы
(топографические и специальные карты и планы смежных масштабов, эталоны
дешифрирования, справочники, словари, схемы, протоколы-описания, ведомости,
лоции и т.п.).
Сбор данных - первый и, наверное, самый важный этап создания
цифровых карт. Ошибки этого этапа обходятся дорого, поэтому стоит использовать
электронные геодезические приборы (GPS-приемники, тахеометры, цифровые
нивелиры), которые позволяют исключить такие характерные для работы с оптическими
приборами источники ошибок, как снятие отсчета, диктовка, запись, перенос
данных из полевых журналов в вычислительную ведомость, вычисления.
Первое необходимо создавать и развивать геодезические сети
как обоснование для дальнейших тахеометрических съемок. В этих целях
применяются GPS-приемники геодезического класса. Использование таких приборов в
режиме статики (прибор-"база" находится на закрепленной точке с
известными координатами, а "мобильный" прибор перемещается по определяемым
точкам, производя измерения на каждой в течение нескольких часов), позволяет
получать координаты пунктов с миллиметровой точностью.
Используя поставляемое с приборами GPS программное
обеспечение, вы можете обработать результаты измерений, уравнять полученные
геодезические сети и вычислить координаты пунктов для последующих
тахеометрических съемок.
После измерения координат точек геодезической сети, ее
уравнивания и получения ведомости координат переходят к съемке местности.
Максимально сократить издержки и повысить производительность труда при
топографических съемках позволяют электронные тахеометры: с их помощью можно не
только измерять углы и расстояния, но и кодировать полевую информацию, как бы
"оцифровывая" объекты на поле. Определив перечень объектов, подлежащих
картографированию, создают таблицы, в которых каждый объект получает уникальный
идентификатор. Для сохранения достоверности и актуальности информации,
содержащейся на карте, необходимо ее постоянное обновление. При глобальных
изменениях территории может потребоваться повторная тахеометрическая съемка
отдельных ее участков.
Слово "тахеометрия" в переводе с греческого
означает "быстрое измерение". Быстрота измерений при тахеометрической
съемке достигается тем, что положение снимаемой точки местности в плане и по
высоте определяется одним наведением трубы прибора на рейку, установленную в
этой точке. Преимущества тахеометрической съемки по сравнению с другими видами
топографических съемок заключаются в том, что она может выполняться при
неблагоприятных погодных условиях, а камеральные работы могут выполняться
другим исполнителем вслед за производством полевых измерений, что позволяет
сократить сроки составления плана снимаемой местности.
Топографические карты по аэрофотоснимкам создаются
комбинированным и стереоскопическими методами.
При комбинированном методе контурная часть плана создается с
использованием аэрофотоснимков в камеральных условиях, а рельеф снимается в
поле при помощи мензулы.
Съемка рельефа выполняется на фотопланах, фотосхемах и на
отдельных снимках. Предварительно создается высотное съемочное обоснование, для
чего определяются высоты плановых опорных знаков или четких контуров.
Параллельно со съемкой рельефа может выполняться дешифрирование.
Фотоплан (фотосхему или отдельный снимок) прикрепляют к
планшету и определяют высоты характерных точек рельефа тригонометрическим
нивелированием. При равнинном рельефе нивелирование выполняют горизонтальным
лучом.
Фотоизображение помогает выбрать характерные точки. Кроме
того, на хорошо видимые точки местности рейки не устанавливают, а углы наклона
измеряют наведением центра непосредственно на точки.
Расстояние между станцией и характерной точкой определяют по
масштабу фотоплана. После определения отметок характерных точек проводят
горизонтали.
Съемка рельефа на фотопланах требует в два раза меньше времени,
чем при обычной мензульной съемке.
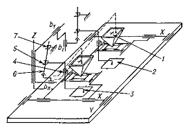
При стереофотограмметрических методах рисовка рельефа
выполняется в камеральных условиях. Стереоскопическую модель местности получают
на специальных стереоприборах: измерительных стереоскопах, стереокомпараторах,
универсальных стереофотограмметрических приборах, монокомпараторах и т.д., а
также на экране монитора компьютера.
Различают два способа стереоскопической рисовки рельефа:
универсальный и дифференцированный.
При универсальном способе при помощи перекрывающихся снимков
на стереофотограмметрических приборах создается пространственная модель
местности, по которой определяют координаты X, Y, Z любой точки
местности. В результате измерений на стереомодели при универсальном способе
горизонтали автоматически вычерчиваются на бумаге. Для этого используют приборы
стереографы или стереометрографы топокарт.

Рис. 7. Стереограф
При дифференцированном методе единый процесс создания плана
или карты местности разделяется на ряд этапов. Высоты точек рельефа получают
камерально, путем измерений на стереомодели, после этого на снимках рисуют
горизонтали, используя полученные высоты, как и при полевой съемке.
В последнее время широко стали использовать дигитайзеры -
преобразователи графической информации в цифровую.
2.2
Цифрование картографического изображения
Цифрование - преобразование аналоговых графических и
картографических документов (оригиналов) в форму цифровых записей,
соответствующих векторным представлениям пространственных объектов.
По методу цифрование различают:
· Цифрование с помощью
дигитайзера с ручным обводом
· Цифрование c
использованием сканирующих устройств (сканеров) с последующей векторизацией
растровых копий оригиналов;
· ручное цифрование
манипулятором типа "мышь" по растровой картографической подложке или
полуавтоматическое видеоэкранное цифрование, а также гибридные методы.
В цифровую форму переводят существующие карты на бумажных
носителях.
Как и в традиционной картографии, процесс создания карты
начинается с редакционно-подготовительного этапа, который включает сбор
картографических, съемочно-геодезических, литературных, статистических и других
материалов, разработку редакционных указаний. Для компьютерных технологий
характерно добавление новых специфических процессов: подготовка материалов для
сканирования или цифрования; разработка макетов для составления на компьютере;
изготовление или доработка имеющейся цифровой карты; составление, оформление и
подготовка к изданию оригинала карты на экране компьютера; вывод цветоделенных
позитивов (рис.8).
Рис 8. Схема основных этапов компьютерного создания карты.
Рассмотрим цифрование картографического изображения в программме
CorelDRAW.представляет собой интегрированный объектно-ориентированный пакет
программ для работы с векторной графикой.
Слова "интегрированный пакет" означают, что CorelDRAW
представляет собой не отдельную программу, ориентированную на решение
какой-либо одной четко поставленной задачи, а совокупность программ (пакет),
ориентированных на решение множества различных задач, возникающих при работе
пользователя в определенной прикладной области, а именно - в области
иллюстративной графики.
Интегрированность пакета следует понимать в том смысле, что
входящие в него программы могут легко обмениваться данными или последовательно
выполнять различные действия над одними и теми же данными. Так достигается
многофункциональность пакета, возможности разных программ объединяются,
интегрируются в единое целое, представляющее собой нечто большее, чем сумма их
составных частей.
Термин "объектно-ориентированный" следует понимать в том
смысле, что все операции в процессе создания и изменения изображений
пользователь выполняет не с изображением в целом и не с его мельчайшими,
атомарными частицами (пикселами изображения), а с объектами - семантически
нагруженными элементами изображения. Начав со стандартных объектов (кругов,
прямоугольников, текстов и т.д.), пользователь может строить составные объекты
(например, значок в рассмотренном выше примере) и манипулировать ими как единым
целым. Таким образом, изображение становится иерархической структурой, на самом
верху которой находится векторное изображение в целом, а в самом низу -
стандартные объекты.
Вторая особенность объектной ориентации пакета заключается в том,
что каждому стандартному классу объектов ставится в соответствие уникальная
совокупность управляющих параметров, или атрибутов класса. Если мы говорим о
прямоугольнике высотой 200 мм и шириной 300 мм, залитом синим цветом,
обведенным желтой линией шириной 3 пункта, с центром, расположенным на
расстоянии 150 мм по вертикали и 250 мм по горизонтали от левого нижнего угла
страницы с углом наклона длинной стороны к горизонтали, составляющим 32°, мы
имеем дело с экземпляром класса - объектом, для которого зафиксированы значения
управляющих параметров.
Третьей особенностью объектной ориентации пакета является то, что
для каждого стандартного класса объектов определен перечень стандартных
операций. Например, можно разворачивать, масштабировать описанный выше
прямоугольник, закруглять его углы, преобразовывать его в объект другого класса
- замкнутую кривую.
Интерфейс Corel Draw состоит из элементов, похожих на элементы
большинства других редакторов и отличаются спецификой обрабатываемых файлов.
Тем, кто знает хотя бы один видео или графический редактор, без труда
разберется с элементами интерфейса Corel Draw. Для тех, кто впервые
сталкивается с мощными редакторами обработки изображений, приводится описание
интерфейса данной программы. Функции и инструменты программы во многом
напоминают элементы такого распространенного векторного редактора, как Adobe
Illustrator.
Рис. 9. Окно редактора векторной графики Corel Draw
Интерфейс включает следующие элементы:
· Рабочая среда программы состоит из панелей
и окон, которые можно включать, выключать и перемещать.
· Сверху расположена панель меню с большим
набором выпадающих подменю с набором функций.
· Ниже расположена стандартная панель
инструментов, элементы которой примерно такие же, как в большинстве программ.
· Под ней - панель свойств и атрибутов для
настройки инструментов для каждого инструмента в панели набора инструментов
рисования.
· Слева набор инструментов для
редактирования объекта.
· В середине интерфейса расположена рабочая
область или рабочий стол, в которой при работе с документом показывается
печатная страница.
· С правого края программы расположена
палитра цветов. В нижнем правом углу находится навигатор.
· Внизу программы находится строка
состояния, на которой показывается информация об объекте и советы об
инструментах.
· Обычно справа в рабочей области
располагается окно ДИСПЕТЧЕР ОБЪЕКТОВ. Это основное окно Corel Draw.
Окна вызываются в основном меню программы в выпадающем меню ИНСТРУМЕНТЫ.
Рис. 10. Интерфейс Corel Draw
Для дальнейшей работы в Corel Draw была выдана подоснова
карты, которую требовалось оцифровать.
В первую очередь на панели Object manager в докерном окне был
создан слой "исходник", в который вошли исходные данные. В дальнейшем
был создан новый слой для горизонталей. Они создавались при помощи инструмента
. Кривая Безье -
рисование плавных кривых по узелкам: щелчок приводит к появлению нового узелка,
а узелки соединяются сегментами. Изменяя положение узелков и управляющих точек
- регулировка кривизны и формы кривых. Затем их редактирование происходило при
помощи инструмента Shape
.
При помощи того же инструмента, Freehand Tool, а также
инструмента Bezier Tool
, были созданы все остальные объекты (леса,
автодороги, здания). Каждому виду объектов соответствовал собственный слой.
Текстовые надписи были нанесены с помощью инструмента Text Tool
. А также при нанесении
на карты зданий и лугов мною был использован инструмент Point Rectangle Tool
.
Для некоторых условных обозначений был использован инструмент
Ellipse tool
. Для копирования большого количества однотипных
элементов применялся инструмент Interactive Blend Tool
. Еще раз обращаю
внимание на то, что каждая группа объектов, объединенна общими характеристиками,
создавалась на отдельном слое.
3. Прикладные
задачи, решаемые с использованием цифровых и электронных карт
Различные виды картографической продукции в виде электронных
и цифровых карт широко используются при оперативном управлении промышленностью,
транспортом и сельским хозяйством, анализе социальных процессов, планировании
использования материальных и природных ресурсов, поиске полезных ископаемых,
мониторинге экологической обстановки, принятии решений в чрезвычайных
ситуациях. Эти средства картографического обеспечения позволяют получать новые
знания о земной поверхности, местности, характеристики ее элементов и объектов
(например, плотность населения, густота дорожной или речной сети, количество объектов
определенных классов, данные о расстояниях и площадях).
По существу различные карты (картографические модели)
являются образно - знаковым, математически определенным и генерализованным
отражением реальной трехмерной местности. Изображение динамики происходящих
событий (обстановки), привязанное к карте или другой картографической модели,
имеет и четвертое измерение - время. Таким образом, важнейшим преимуществом
карт, особенно электронных карт, является их способность передавать информацию
об обстановке в режиме реального времени.
Требования к электронным и цифровым картам, вытекают из
перечня решаемых в ней задач. Картографическое обеспечение системы создается
как единая информационная база на всю территорию страны или отдельные регионы.
Включение в него данных о текущих изменениях объектов и явлений значительно
расширяет возможности системы: она становится пространственно-временной
(многомерной).
Одним из основных требований является обеспечение системы
картографической информацией для изучения страны и ее регионов.
Картографическая информация должна характеризовать важнейшие объекты. Полная и
достоверная картографическая информация должна передаваться в простой и
наглядной форме. Объем картографической информации, циркулирующей в системе,
определяется характером решаемых задач. Поскольку в современных условиях
местность изучается преимущественно с использованием различной картографической
продукции, все эти средства картографического обеспечения должны позволять
получать наглядное, доходчивое и обобщенное отображение местности с наименьшими
затратами времени для уяснения необходимых сведений и их оценки.
Картографический способ передачи информации о местности должен обеспечивать не
только изучение территории страны и ее регионов, но и выполнение расчетов и
моделирование ситуаций.
В народнохозяйственных системах электронные карты должны
обеспечить оперативное управление народнохозяйственным комплексом в целом по
отраслям, планирование использования материальных и природных ресурсов страны,
анализ социальных процессов, моделирование управления ресурсами и принятия
решений при действиях в экстремальных ситуациях, мониторинг экологической
обстановки, создание и ведение кадастров.
В автоматических системах управления электронные карты должны
позволять в реальном времени оценивать обстановку и принимать решение, ставить
задачи и организовывать взаимодействие, изучать географические особенности
регионов, территорий и местность, а также выполнять необходимые расчеты при
оценке обстановки, планировании, моделировании действий, определении свойств
местности, прогнозировании изменений местности, определении координат объектов
на местности.
В автоматических системах навигации электронные карты должны
обеспечивать наземную, воздушную и космическую навигацию.
Вопросы использования электронных карт в системах
народнохозяйственного назначения в общем случае решаются разработчиками этих
систем в соответствии с предъявляемыми к ним требованиями, в том числе в части
определения содержания и структур картографических баз данных этих систем,
способов совместного использования информации о местности со специальной
информацией (обстановкой), решения расчетных задач.
Заключение
Компьютеры проникли во все сферы деятельности человека,
начиная с начального образования и заканчивая изучением новейших технологий,
изучения новых видов материи, неизвестных пока человечеству. Применение
компьютерных технологий облегчает процесс образования в средних и высших
учебных заведениях как самих учеников, студентов, так и рабочего персонала.
Благодаря разнообразию программного и аппаратного обеспечения
сегодня возможно использование всех потенциальных возможностей компьютерных
технологий. Это позволяет хранить огромное количество информации, занимая при
этом минимальное место. Также компьютерные технологии позволяют быстро эту
информацию обрабатывать и держать ее в защищенном виде.
В данной курсовой работе рассматривалось применение
компьютерных технологий в области картографии. Программы векторной и растровой
графики позволяют создавать и редактировать электронные карты, выполнять
различные измерения и расчеты, обрабатывать растровые данные, подготавливать
графические документы в электронном и печатном виде, вести определенную базу
данных.
Мы познакомились с историей развития картографических
произведений, дали определение электронная и цифровая карта и изучили задачи,
решаемые с их использованием.
В работе рассмотрены этапы создания картографических
произведений. С внедрением компьютерной техники и технологий в картографическое
производство в значительной степени изменились перечень и содержание
производственных процессов создания картографической продукции.
Мы изучили одну из программ векторной графики - CorelDraw.
А именно: изучили основные возможности данной программы,
рассмотрели основные инструменты программы, научились создавать и работать со
слоями, научились создавать цифровые карты, а также подготавливать карту к
печати.
При подготовке данной работы главной трудностью было полное
отсутствие какого-либо опыта работы с приложениями векторной и растровой
графики. Однако, благодаря изобилию различной обучающей литературы, удалось не
только познакомиться с основными возможностями и принципами работы векторного
графического редактора CorelDRAW, но и научиться применять их на практике.
Список
использованной литературы
1.
Андрианов В.И. Самое главное о… CorelDRAW. - СПб.: Питера, 2004. - 127 с.
.
Атоян Л.В. Компьютерная картография: Курс лекций. - Мн: БГУ, 2004. - 77 с.
.
Инструкция по созданию топографических планов масштабов 1: 5000, 1: 2000, 1:
1000 и 1: 500. - М: Недра, 1989 г. - 174 с.
.
Картоведение: Учебник для вузов/А.М. Берлянт, А.В. Востокова, В.И. Кравцова и
др.; Под ред.А.М. Берлянта - М.: Аспект Пресс, 2003. - 477 с.
.
Коцюбинский А.О., Грошев С.В. Компьютерная графика: Практ. Пособ. - М.:
"Технолоджи - 3000", 2001. - 752 с.
.Е.С.
Кутугина, Д.К. Тутубалин. Информатика. Информационные технологии. Томск 2005г.
.
Леонтьев В.П. Новейшая энциклопедия персонального компьютера 2001. - М:
ОЛМА-ПРЕСС, 2001. - 847 с.
.
Маликов Б.Н., Пошивайло Я.Г. Составление и подготовка к изданию карт и атласов
с использованием компьютерных технологий: Монография. - Новосибирск:
СГГА, 2002. - 92 с.
.
Н.В. Макарова. Информатика 10-11 класс. Санкт-Петербург 2001г.
.
Салищев К.А. Проектирование и составление карт. - М: Изд-во МГУ, 1987. - 240 с.
.
Салищев К.А. Картоведение: Учебник. - 3-е изд. - М.: Изд-во МГУ, 1990. - 400 с.
.
Справочник по картографии/А.М. Берлянт, А.В. Гедымин, Ю.Г. Кельнер и др. - М.:
Недра, 1988.
.
Цифровая картография и геоинформатика. Краткий терминологический словарь/Под
общей ред. Е.А. Жалковского. - М.: "Картгеоцентр” - "Геодезиздат”,
1999. - 46 с.
15.
<http://chem-otkrit.ru/>
.
<http://www.teachvideo.ru/>
. http://ru.
wikipedia.org/ <http://ru.wikipedia.org/>
.
<http://geoman.ru/>
.
<http://www.geodezia.ru/about/>
.
<http://www.pandia.ru/>