Создание цифровых карт по аэрофотоснимкам комбинированным методом
Министерство образования и науки
Российской Федерации
ГОУ ВПО Сибирская Государственная
Геодезическая Академия
Кафедра фотограмметрии и ДЗ
Курсовая работа
на тему: «Создание цифровых карт по
аэрофотоснимкам комбинированным методом»
Выполнил: Руководитель:
Ст. гр. ПГ-33 Попов Р.А.
Чеконова А.Ю.
Новосибирск 2011 год
Содержание:
Введение
Глава 1. Технология создания карт, основанные на аналоговых и
аналитических методах фотограмметрии
1.1 Аэрофотосъемка и ее
основные методы и требования
1.2 Стереотопографический
метод создания топокарт
1.3 Комбинированный метод создания топокарт
Глава 2. Цифровые фотограмметрические технологии создания
карт и ортофотопланов
.1 Элементы внутреннего ориентирования снимка
.2 Создание модели и взаимное ориентирование снимков
.3 Внешнее ориентирование модели
.4 Построение цифровой модели рельефа
.5 Цифровое ортотрансформирование снимка
.6 Основные программные продукты, используемые для создания
цифровых карт
Глава 3. Экспериментальные работы
.1 Ортотрансформирование снимков в программном комплексе OrthoPhoto SDS
.1.1 Составление рабочего проекта
.1.2 Заполнение сертификата
.1.3 Внутреннее ориентирование снимков
.1.4 Взаимное ориентирование снимков
.1.5 Внешнее ориентирование модели
.1.6 Создание цифровой модели рельефа и ее визуализация
.1.7 Ортотрансформирование снимка
.2 Создание фрагмента контурной части карты в программном
комплексе MapInfo
3.2.1 Регистрация изображений
.2.2 Рисовка контурной части по слоям
Заключение
Список литературы
Введение
аэрофотосъемка
ортофотоплан карта
Целью курсовой работы является изучение методов создания цифровых карт по
материалам аэрофотосъемки. Выполнить ортотрансформирование снимков и составить
контурную часть карты по ортофотоплану. Курсовая работа включает теоретические
исследования и экспериментальные работы. Теоретическая часть предусматривает
обзор и анализ технологий создания топографических карт и планов
фотограмметрическими методами. Экспериментальные работы включают:
составление рабочего проекта;
выполнение цифрового ортофототрансформирования снимка с использованием
программы OrthoPhoto-SDS;
рисовка фрагмента контурной части карты по ортофотоплану с использованием
программы MapInfo;
оценка точности выполненных работ;
оформление документации по экспериментальным работам.
Фотограмметрия - дисциплина, которая изучает формулы, размеры, свойства
объектов, а также их пространственное расположение по изображениям.
В 20 веке началось развитие различных видов съемки. Появились такие виды
как инфракрасная, телевизационная, радиолокационная, съемка на основе ПЗС
(приборы с зарядовой связью). При съемке стали использовать различные носители
аппаратуры (самолеты, вертолеты, космические носители и т.д.). Съемка стала
производиться не только с точек земной поверхности, но и под водой, в центре
взрывов и т.д. В связи с появлением компьютеров, а также на основе достижений
оптики, физики, электроники и др. областей науки были разработаны аналитические
фотограмметрические приборы и цифровые стереоплоттеры (ЦФС) (цифровые
фотограмметрические станции). Появились новые виды фотограмметрической
продукции ЦММ (цифровая модель местности), ЦМР (цифровая модель рельефа).
Сущность фотограмметрии заключается в том, что количественные и качественные
характеристики этих объектов определяются по их изображениям. Для этого по
снимкам на основе геометрической обратимости фотографического процесса строится
модель местности.
Глава 1. Технологии создания карт, основанные на аналоговых и
аналитических методах фотограмметрии
1.1 Аэрофотосъемка для создания топографических
карт
Развитие фотограмметрии связано с возникновением фотографии в 1839 году.
В 1886г. В Санкт-Петербурге впервые была выполнена съемка территории с
воздушного шара. Так было положено начало развития аэрофотосъемки в России.
Любому строительству предшествуют соответствующие изыскания, необходимым
элементом которых является крупномасштабные топографические съемки.
Топографические крупномасштабные планы используются при проектировании,
строительстве и эксплуатации промышленных предприятий, инженерных сооружений и
в многоотраслевом городском хозяйстве. Топографические съемки в мелких
масштабах производятся с целью создания государственных топографических карт,
для различных отраслей деятельности. Построение одиночной модели местности по
паре снимков или модели местности по группе снимков, принадлежащих одному или
нескольким маршрутам, связано с установлением в однозначное соответствие
смежных связок проектирующих лучей и определением положения точек моделей в
результате пересечения соответствующих лучей. [3]
Аэрофотосъемка
выполняется аэрофотоаппаратами (АФА) с различными фокусными расстояниями, в
зависимости от характера съемки. Следует иметь ввиду, что у аэрофотоаппаратов с
большим фокусным расстоянием разрешающая способность на краях снимка выше, а
величина систематических ошибок снимков меньше. Поэтому предпочтительнее
использовать короткофокусные АФА. Однако следует крайне осторожно подходить к
использованию АФА с
так как они имеют неоднородное качество фотоизображения
и разрешающую способность в центре и на краях снимка, большую дисторсию,
большое влияние на положение точек снимка ошибки неприжима и клиновидности
светофильтра. Кроме того, при съемке в определенных условиях может возникнуть
эффект “ глория” (блики на фотоизображении).
При
больших перепадах высот на местности
в
пределах одной стереопары может оказаться, что разность продольных параллаксов
будет слишком большой. Если
, то стереоэффект становится неустойчивым, а точность
стереоизмерений низкой. Поэтому следует определить
, при котором
.
Масштаб
создаваемой аэрофотосъемки зависит от масштаба создаваемой карты. Мелкий
масштаб позволяет количественно сократить объем аэрофотосъемочных работ,
фотограмметрического сгущения, работ по составлению карты. Но и в это же время
усложняются работы по маркировке, дешифрированию и достижению точности
стереотопографических работ. При крупном масштабе аэрофотосъемки все с
точностью наоборот, но количественно возрастают объемы работ.
1.2 Стереотопографический метод создания топографических карт
Технологическая схема стереотопографической съемки
Рис. 1 Технологическая схема стереотопографической съёмки
В районах с большим количеством контуров точки съемочного обоснования
намечают на естественных контурах. Контуры должны были четкими и обеспечивать
идентификацию с ошибкой не более 0.1мм в масштабе карты. Есть такие места где
четко определить точку местности на аэрофотоснимке не возможно, для этого на
местности производят маркировку точки. При маркировке стараются чтобы затраты
на нее уходили минимальные. Для этого практически всегда точки маркируют таким
образом, что вокруг нее снимают дерн (если на асфальте, то рисуют) правильной
геометрической фигуры (крест, треугольник, квадрат и т.д.).
Дешифрирование изображения нужно для того чтобы на снимках можно было
распознать объекты местности, их численность, качественные характеристики и
т.д. Дешифрирование может выполняться на аэрофотоснимках, фотосхемах и
фотопланах. Материал который используется для дешифрирования должен быть
близким к масштабу создаваемой карты. Для того чтобы экономическая
эффективность работ по дешифрированию была как можно лучше нужно заранее
выбирать оптимальный масштаб аэрофотосъемки и фотоматериала, предоставить
необходимые технические средства для камерального производства, собрать весь
материал для того чтобы в дальнейшем обойтись без полевого обследования,
выбрать технологическую последовательность процессов. [3]
Существует
два варианта составления карт на универсальных приборах: на чертежном плане и
на фотоплане. Какой вариант применять зависит от масштаба создаваемой карты,
рельефа местности, контурной нагрузки. Разрешающая способность изображения
полученного на фотопленке выше, чем на фотобумаге. В настоящее время отработана
технология с использованием ЦМР для масштабов 1:5000 и крупнее. Данные для ЦМР
можно получить с помощью универсальных приборов с ошибкой
. Чтобы составить карту на универсальном приборе нужны
исходные данные такие как: диапозитивы на стекле, элементы внутреннего
ориентирования АФА
, расстояние между координатными метками, установочные
величины для коррекционных механизмов, базисные компоненты, каталоги координат
точек, снимки с наколами и абрисами этих точек, основа с координатной сеткой
рамкой трапеции и опорными точками, снимки или фотосхемы.
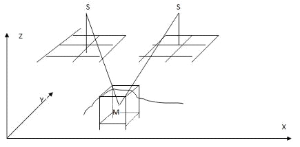
1.3
Комбинированный метод создания топографических карт
Технологическая схема комбинированной съемки
Рис. 2 Технологическая схема комбинированной съёмки
Комбинированный метод применяется в тех случая когда
стереотопографический метод не обеспечивает требуемую точность отображения
рельефа. При комбинированном классическом методе производится полевая съемка
рельефа и дешифрирование на фотокопиях с фотоплана. Фотопланы содержат значительно
больше информации о местности, чем графические планы, поэтому обладают большей
объективностью и достоверностью. Но если на местности есть большие колебания
рельефа то при создании фотопланов возникают некоторые трудности. В случае
многоэтажной плотной застройки фотопланы невыгодны.
При
комбинированном методе по аэрофотоснимкам получают только фотоплан поэтому
высота фотографирования не оказывает влияния на точность конечной продукции.
Имеет значение только масштаб аэрофотосъемки. Параметры аэрофотосъемки
и
определяются
выбранным масштабом аэрофотосъемки. При создании фотопланов наиболее сложной
частью работы является учет ошибок за рельеф. Поэтому лучше всего свести к
минимуму объем этих работ.
Глава
2. Цифровые фотограмметрические технологии создания цифровых карт и ортопланов
.1
Элементы внутреннего ориентирования снимка
Элементы
внутреннего ориентирования снимка - это фокусное расстояние f и
координаты главной точки xo и yo, позволяют найти положение центра проекции
относительно снимка и восстановить связку лучей, существовавшую в момент
фотографирования, так как снимки стереопары обычно получены одним
фотоаппаратом, можно считать, что элементы внутреннего ориентирования пары
снимков одинаковые.
На
первом этапе цифровой фотограмметрической обработки снимка выполняют внутреннее
ориентирование снимка. Для этого измеряют координаты координатных меток в
системе координат цифрового изображения.
Xj; Yj,
где j = 1,…, К. Все j-номер координатной метки, а К-количество координатных
меток. Для каждой координатной метки записываются уравнения вида:
Yj = Bo+B1*Xyj+B2*Yyj
Ao, Bo, A1, B2 -
коэффициенты преобразователя, находящиеся путем совместного решения уравнения.
Xyj, Yyj -
это координаты меток в системе цифрового изображения.
Xj, Yj -
координаты координатных меток в системе координат снимка. Они берутся из
паспорта аэрофотоаппаратуры.
Xy, Yy -
измеряются в пикселях и представлены целыми числами.
Рис 3. Внутреннее ориентирование снимка
.2 Создание модели и взаимное ориентирование снимков
Одним из важных свойств стереопары снимков является возможность
построения свободной модели местности путем взаимного ориентирования снимка.
Модель строится в произвольно заданной системе координат и в произвольном
масштабе. Введем фотограмметрическую систему координат, связанную только с
парой снимков. Начало системы координат в точке S1. Ось Z
вдоль базиса фотографирования S1S2. Введем условие, что плоскость XZ проходит через главный луч первого
снимка. Такая система координат называется базисной.
Рис 4. Взаимное ориентирование снимков
Xs1=0 α1= αл
Ys1=0 ω1=0
Zs1=0 χ1= χл
Xs2=B α2=αп
Ys2=0 ω2= ωп
Zs2=0 χ2= χп
Для заданной системы координат элементы внешнего ориентирования левого и
правого снимка имеют следующие значения: α1, χ1,
ω1, α2, χ2, ω2 называются элементами взаимного ориентирования пары снимков.
Базис выбирается произвольно и определяет масштаб модели.
.3 Внешнее ориентирование модели
Для определения координат точек модели в геодезической системе координат
необходимо выполнить геодезическое (внешнее) ориентирование.
Рис5. Внешнее ориентирование модели
OгXгYгZг - геодезическая
система координат;
SXYZ -
фотограмметрическая система координат;
SXгYгZг - вспомогательная система координат, оси которой
параллельны осям геодезической системы координат, а начало в точке S-начало фотограмметрической системы
координат.
X0,Y0,Z0 - геодезические координаты начала фотограмметрической
системы координат.
Угол
- это продольный угол наклона модели. Это угол между
осью Zг и проекцией оси Z на плоскость ZгXг.
Угол
n - это поперечный угол наклона снимка, угол между осью
Z и плоскостью XгZг.
Угол
Q - это угол между осью Y и плоскостью YгZг на
плоскости X Y, угол поворота модели.
Для
внешнего ориентирования модели необходимо знать координаты опорных точек.
Опорная точка - это точка с известными геодезическими координатами.
На
первом этапе известными являются геодезические координаты Xг,Yг,Zг и X,Y,Z
опорных точек, а неизвестными будут являться элементы внешнего ориентирования
модели: X0, Y0, Z0, E,
,
, t. Для нахождения семи неизвестных необходимо знать
координаты как минимум трех опорных точек. После определения семи неизвестных
элементов внешнего ориентирования будут определяться геодезические координаты Xг,Yг,Zг
всех точек модели. После выполнения внешнего ориентирования производится оценка
точности. Она определяется путем вычисления расхождения между геодезическими
координатами:
∆
Xг= Xг'- Xг; (1)
∆
Yг= Yг'- Yг; (2)
Где
Xг', Yг', Zг' - это координаты опорных (контрольных) в
геодезической системе координат, вычисленные после внешнего ориентирования
модели. Xг, Yг, Zг - координаты опорных точек, полученные из полевых
работ (каталог координат).
.4
Построение цифровой модели рельефа
Общие сведения о цифровых моделях рельефа
Цифровая модель рельефа (ЦМР) является составной частью цифровой модели
местности (цифровой карты). Цифровой моделью рельефа будем называть некоторую
метрическую информацию о топографической поверхности земли и правила обращения
с этой информацией.
Существует много различных способов формирования ЦМР. Их можно разделить
на три группы:
структурно-цифровые;
структурно-аналитические;
функциональные (или аналитические).
В структурно-цифровых моделях информация о ЦМР представлена координатами
точек. Точки могут располагаться на орографических линиях, в характерных местах
рельефа, на горизонталях, образуя сетку неправильных треугольников или
четырехугольников. Для восстановления модели применяется линейная интерполяция.
Схемы расположения точек в структурно-цифровых моделях рельефа
представлены на рисунке 4.
Рис. 6 Схема расположения точек
Особенностью структурно-аналитической модели рельефа является то, что
аппроксимация (интерполяция) поверхности некоторой аналитической функцией
выполняется по участкам отдельных элементов рельефа, ограниченных структурными
линиями Исходная информация о рельефе задается координатами точек на границах и
внутри участков.
Рис. 7 Участки
моделирования в структурно-аналитических моделях рельефа
К функциональным моделям относится наибольшее количество ЦМР. Здесь
поверхность рельефа описывается некоторой функцией, например, полиномом,
которая строится по координатам точек, задающих поверхность рельефа, информация
о ЦMP хранится в виде параметров
подобранной функции.
Для формирования ЦМР важно выбрать необходимое расположение и число
исходных точек. Расположение, т.е. структура, измеряемых точек при сборе
информации зависит от способа построения модели рельефа и стремления
максимально точно задать топографическую поверхность при меньшем объеме
измерений. По структуре первичной (исходной) информации о рельефе цифровые
модели условно можно разделить на три основных типа:
регулярные;
нерегулярные;
частично регулярные.
I.
Регулярная сеточная модель.
Точки регулярной сеточной модели располагаются в углах правильной сетки,
состоящей из квадратов, прямоугольников в равносторонних треугольников.
Рис. 8 Схемы
расположения точек в регулярных сеточных моделях
Измерения, в таком случае, могут быть выполнены на универсальном приборе.
При этом стереоскопическая марка последовательно перемещается вдоль осей X и У прибора с заданным шагом ∆
X и ∆ V и фиксируются аппликаты точек. Шаг разбиения сетки
выбирается с таким расчетом, чтобы в дальнейшем можно было производить линейное
интерполирование с заданной точностью
.Модели с нерегулярным (хаотическим) расположением точек.
В некоторых ЦМР информация задается координатами множества точек,
расположенных в характерных местах рельефа и являющихся вершинами плоских
треугольников, вдоль ребер которых выполняется линейная интерполяция, например,
как в структурно-цифровых моделях.
По измерениям координат точек на снимках на стереокомпараторе по
регулярной сетке также образуется нерегулярная сеточная модель из-за смещений
точек, вызванных углами наклона снимков и рельефом местности.
. Модели с частично регулярным расположением точек.
Для построения ЦМР с частично регулярным расположением точек информация
может быть задана в виде системы профилей. Тогда измерения выполняются вдоль
линий профиля в точках перегибов рельефа или в точках, расстояние между
которыми изменяется в зависимости от сложности рельефа.
Рис. 9
Расположение точек на линиях профиля в частично регулярной модели
Измеряемые точки могут располагаться на горизонталях с равным и неравным
шагом.
Рис. 10
Расположение точек на горизонталях в частично регулярной модели
Рассмотрим один из вариантов формирования функциональной ЦМР на примере
построения модели профиля рельефа.
Построение цифровой модели профиля рельефа. Для построения функциональной
модели профиля рельефа можно использовать различные алгоритмы, в данном случае
для формирования ЦМР предлагается сплайн-аппроксимация, сущность метода
сводится к следующему.
Функция рельефа f(У)
на отрезке [а,b] задается координатами Уi, Zi;. точек, т.е. дискретно.
Рис. 11 Профиль
рельефа
Разбивка профиля на элементарные отрезки
Рис. 12 Разбивка
профиля на элементарные отрезки
Перед аппроксимацией рельефа данным методом строится промежуточная
модель. Для этого вычисляются отметки всех граничных точек элементарных
участков _[Сг , Сг+1] профиля и стандартных точек с координатами Yn. (n=I,….,5) на каждом
элементарном участке. [1]
Рис. 13 Разбивка профиля на элементарные отрезки
Элементарный отрезок [Сг , Сг+1] со стандартными точками Yn (n=I,....5).
Значения функции рельефа f (Уn) в указанных точках находятся путем
линейной интерполяции по измеренным точкам. Для этого относительно каждой
определяемой точки “n” ищутся два
ближайших исходных пикета, расположенных слева и справа от точки " n " .
Рис. 14 Графическая интерпретация линейной интерполяции
Вычисление искомой отметки в точке с координатой Yn, выполняется по формуле (4)

(4)
Где
Yn , Yn+1 - плановые координаты исходных точек, ближайших к
определяемой;
Yn - координата
определяемой точки; Zn - отметка определяемой точки;
Zi , Zi+1-
измеренные отметки исходных точек.
Конечным
результатом построения ЦМР являются коэффициенты Bi полиномов
вида на каждом элементарном участке [Cr,Cr+1] которые
находятся по способу наименьших квадратов при условии непрерывности на границах
элементарных отрезков [ Сr ,Сг+1].

(5)
Точность построения ЦМР зависит от плотности точек исходной информации,
размера элементарного участка аппроксимации и сложности (расчлененности)
рельефа. Необходимо помнить, что на каждом элементарном участке [Сr , Сг+1] аппроксимации должно быть не
более двух точек экстремума функции рельефа. За точки экстремума функцииZmin. и Zmax принимаются такие между которыми уже нет других точек
перегибов рельефа требующих отображения.
Рис. 15 Экстремальные точки рельефа
2.5 Цифровое ортотрансформирование снимка
Применение фототрансформирования предполагает установление коллинеарного
соответствия между объектами местности и их изображениями на фотоснимке. Это
условие выполняется для фотоснимков плоской местности, если и формат, масштаб
фотографирования и размеры картографируемого участка позволяют пренебречь
влиянием кривизны Земли. При наличии на местности значительных превышений
использование перспективного трансформирования фотоснимков уже не дает нужной
степени приближения к ортогональной проекции.
При ортофототрансформировании исходный фотоснимок разбивается на
маленькие элементарные участки, для которых влияние угла наклона и рельефа
местности становятся незначительными. На этом основании перспективное
трансформирование каждого участка заменяется масштабным преобразованием,
которое приводит изображение к заданному масштабу.
В пределах каждого элементарного участка изображение исходного фотоснимка
проектируется со своим коэффициентом увеличения n, при котором на светочувствительном материале получается
ортогональная проекция местности в заданном масштабе.
Значение этого коэффициента увеличения вычисляется по высотам Н тех точек
местности, чье изображение на исходном фотоснимке совпадает по положению с так
называемыми центрами привязки элементарных участков (Рис 14.), т.е. тех его
точек, для которых устанавливается строгое взаимно однозначное соответствие с
одноименными точками местности (точка М).
Ортофототрансформирование наряду с фототрансформированием находит широкое
применение на производстве. Ортофототрансформирование выполняется на
ортофототрансформаторах типа ОФПД, Ортофот, Ортокомп. Ортофототрансформирование
следует проектировать тогда, когда число зон трансформирования превышает трех.
Оно может быть запроектировано в сочетании с другими методами на отдельные
участки на основе характера анализа рельефа.
Рис 16. Положение центров привязки текущего элемента участка на
фотоснимках стереопары, модели местности и ортогональной проекции.
- подготовительные работы (расчет данных, подготовка УП и ОФПД к
работе);
- построение модели;
сканирование модели;
получение ортофотоснимков;
монтаж фотоплана;
оценка точности изготовления фотопланов.
Изготовление ортофотопланов может выполняться по нескольким технологиям в
зависимости от конкретных условий производства. Наиболее часто встречаются
технологии, показанные на рисунке.
Рис 17. Технологические варианты ортофототрансформирования
Цифровое трансформирование фотоснимков является логическим развитием
метода ортофототрансформирования. Различают два способа цифрового трансформирования:
цифровое трансформирование всего снимка и цифровое ортофототрансформирование.
Цифровое трансформирование заключается в преобразовании массива
трехмерной цифровой информации (координат x, y и оптических
плотностей точек) изображения исходного снимка в трансформированную информацию
соответствующую горизонтальному снимку заданного масштаба.
При его осуществлении координаты идентичных точек исходного и
трансформированного фотоснимков находятся во взаимно однозначном соответствии,
которое может быть выражено с помощью формул коллинеарного соответствия:
; (6)
;
;
,
Где
-координаты
горизонтального фотоснимка;
-координаты
точек исходного фотоснимка;
-
координаты точек трансформированного снимка;
-фокусное
расстояния исходного снимка;
-компоненты
матрицы ориентирования в геодезической системе координат;
-масштабный
коэффициент.
Из
анализа формул (6) следует, что для непосредственного решения задачи
перспективного трансформирования фотоснимков требуется знание их элементов
внутреннего и внешнего ориентирования.
На
практике реализация такого решения стала возможной в результате обработки
прибора аналитического трансформатора предложенного проф. А.Н. Лобановым и
д.т.н. И.Г. Журкиным.
Этот
способ применяется тогда, когда смещение точек, вызванное рельефом местности,
не превышают допустимых значений, то есть при трансформировании плоскоравнинных
территорий. В этом случае трансформирование сводится к исправлению изображения
за угол наклона и приведение его к заданному масштабу.
Цифровое
ортотрансформирование заключается в преобразовании по элементарным участкам
исходного цифрового снимка в трансформированное цифровое изображение. Размеры
элементарных участков цифрового трансформированного снимка определяются
плотностью узлов ЦМР и зависят от характера рельефа и требований к точности
создания цифрового фотоплана.
Из
определения перспективного трансформирования следует, что получение
трансформированного фотоснимка в требуемом масштабе основано на применении
перспективного и масштабного преобразований, совместное действия которых можно
выразить следующей формулой:
, (7)
где
-поточечный
перенос изображения исходного фотоснимка;
-Общее
масштабное преобразование трансформированного фотоснимка.
Из
нее видно, что в пределах текущего элементарного участка геометрических
преобразований не производится. Приведение получаемого трансформированного
фотоснимка к заданному масштабу обеспечивается последующим общим масштабным
преобразованием его изображения.
Процесс
цифрового трансформирования фотоснимков осуществляется прямым и обратным
методом.
В
прямом методе направление движения измерительной информации совпадает с
направлением при преобразовании координатных систем.
(8)
В
обратном методе трансформирования движение вычислительной и измерительной
информации противоположно по направлению:
При
сканировании трансформируемого фотоснимка производится формирование исходной
матрицы
координат
пикселей
и оптических плотностей.
.6 Основные программные продукты, используемые для создания цифровых карт
Требования к цифровым фотограмметрическим системам (ЦФС) делятся на
общие, технические и технологические.
Общие требования к ЦФС включают такие условия, как строгость алгоритма,
максимальная автоматизация процессов обработки, гарантированное решение задачи
при наличии теоретической возможности, использование всей геометрической
точности исходных изображений, насыщенность алгоритмов логическими операциями
контроля полноты и корректности данных, авторская поддержка программных средств
и др.
Технические требования определяют главные условия функционирования
цифровых систем и в частности - возможность обработки черно-белых и цветных
снимков в сжатых и несжатых форматах, отсутствие ограничений на объем памяти и
быстродействие ПЭВМ, peaлизация
оптических и электронных средств стереоизмерении и ряд других.
Технологические требования к цифровым системам определяют перечень
функциональных возможностей систем, наличие которых обеспечивает их эффективную
эксплуатацию, в частности:
автоматическое распознавание и измерение изображений координатных меток и
выполнение внутреннего ориентирования;
автоматическое стерео отождествление и измерение идентичных опорных и
фотограмметрических точек перекрывающихся снимков;
внутреннее, взаимное и внешнее ориентирование снимков и моделей
(маршрутов) по произвольному числу исходных точек (меток, крестов);
автоматическое построение по стереопарам цифровых моделей рельефа;
ортотрансформирование изображений с использованием информации о рельефе,
представленной в виде горизонталей, высот отдельных точек (пикетов) в виде
регулярной или нерегулярной ЦМР, формирование выходного ортоизображения с
заданным геометрическим разрешением и автоматическое выравнивание яркостей
элементов изображения.
Сбор цифровой информации об объектах местности в процессе стерео и моно
векторизации (по эпиполярным снимкам и ортоизображению соответственно) с
использованием настраиваемого классификатора, ее редактирование с помощью
автоматизированных процедур и представление результатов в распространенных
форматах.
В настоящее время имеется достаточно большое число цифровых
фотограмметрических систем, из которых наибольшее распространение в
специализированных предприятиях получили системы Photo-mod,
Дельта, ТАЛКА и др. Рассмотрим технологические и эксплуатационные возможности
некоторых из них.
ЦФС Photomod разработана ОАО «Ракурс» в
содружестве с ведущими специалистами России. Система создана в 1993 г. и ныне
используется более чем в 40 странах мира, а также в ведущих учебных заведениях
России и стран СНГ.
Photomod - полнофункциональная система с богатейшими возможностями и оригинальным
графическим интерфейсом. Используемые системой математические модели позволяют
обрабатывать не только наземные и воздушные снимки, полученные по законам
центрального проектирования, но и сканерные, радиолокационные изображения, а
также снимки, полученные неметрическими камерами. Это одна из немногих
фотограмметрических систем на рынке СНГ, позволяющая обрабатывать космические и
иные цифровые сканерные изображения, полученные с помощью различных сенсоров.
К достоинствам системы относится замкнутый технологический цикл получения
всех видов конечной продукции: ЦМР, ЗD-векторов, ортофотопланов и цифровых карт.[4]
ЦФС Photomod имеет гибкую модульную структуру,
обеспечивающую оптимальное соответствие конфигурации задачам пользователя,
функционирует в локальной сети и может эксплуатироваться совместно с другими
фотограмметрическими системами. Структура системы и основные функции ее
компонентов показаны на рис. 3.
Широкое распространение и профессиональное признание системы обеспечили
ее богатейшие технологические возможности, основные из которых сводятся к
следующему:
Рис. 18. Структура системы и основные функции ее компонентов
Основные компоненты ЦФС Photomod и связи между ними оригинальная графическая среда и доступный интерфейс:
возможность обработки сканерных спутниковых изображений, включая снимки SPOT, TERRA, EROS, LANDSAT, ICONOS, IRS, ASTER, QuickBird; наличие интерфейса, обеспечивающего
эксплуатацию системы в среде MicroStation/95/SE/J (модуль StereoLink), ГИС «Карта 2000» (ГИС «Панорама»), экспорта данных в геоинформационные
и картографические системы и др.;
наличие эффективных средств оцифровки в монокулярном и стереоскопическом
режимах и редактирования полученной графической (векторной) информации;
Система постоянно совершенствуется (в год появляется 2-3 новых версии),
пополняется новыми инструментальными средствами и технологическими
возможностями.
ЦФС Дельта разработана ЦНИИГАиК (Россия) совместно с ГНПП «Геосистема»
(Украина) и распространяется на российском рынке как ЦФС ЦНИИГАиК или ЦФС-Ц, а
на Украине и в странах СНГ- как ЦФС «Дельта».
Она представляет собой инструментально-программный комплекс : -
включающий персональный компьютер,
стереоприставку и специальный стол, он снабжен штурвалами для наведения
измерительной марки на наблюдаемую точку в плане, по высоте и блок педалей для
регистрации результатов измерений, при его отсутствии для наведения марки на
точки снимков используется клавиатура компьютера или манипулятор «мышь».
В состав ЦФС входят программные модули(табл.1).
Основные функции программного модуля:
Models
Ged
или
Путем комбинации перечисленных программных модулей, их настройки и параметров
ключа защиты можно сформировать два пакета:
Дельта - система формирования, уравнивания фотограмметрической сети и
построения ортоизображения;
Digitals - система создания, редактирования, обновления цифровых карт, решения
землеустроительных задач и др.
Программные средства ЦФС Дельта обеспечивают возможность обработки
цифровых или аналоговых наземных, воздушных или космических снимков, полученных
по законам центральной, панорамной проекции или путем оптико-электронного
сканирования;
работы со встроенным геодезическим калькуляторов, позволяющим выполнять
преобразование координатных систем (в том числе с заданным эллипсоидом) и
вычислять координаты точек, определенных линейными промерами, угловыми и
линейными засечками и др.;[4]
построения и графического отображение объектов с использованием
картографических шаблонов для всего масштабного ряда;
объединение, деление земельных участков и согласование их границ;
подготовка данных для выноса проекта в натуру;
формирование отчета и др., построения плана объекта во фронтальной
проекции;
оформление результатов инженерно-геодезических работ (преобразование во
фронтальную проекцию, построение вертикальных сечений и профилей и др. );
представления результатов фотограмметрической обработки в форматах AutoCAD, ArcView, Maplnfo,
Panorama и др.
Система внедрена во все топографо-геодезические предприятия
Роскартографии, где она является основной.
ЦФС ТАЛКА разработана ИПУ РАН под руководством доктора
физико-математических наук Д. В. Тюкавкина. Она отвечает производственным требованиям,
технологична и изначально хорошо приспособлена для работы с большими объемами
данных.
К особенности системы можно отнести: использование «сжатых» изображений,
состоящих из точных фрагментов («фотоабрисов») с изображениями точек и
пространств между ними с 10 кратным прореживанием;
возможность обработки больших изображений объемом до 4 Гб;
построение маршрутных сетей по перекрывающимся триплетам, их объединение
в блок в свободной системе координат с последующим уточнением, ориентирование
блока маршрутов по опорным точкам и уравнивание связок проектирующих лучей;
возможность выполнения значительного объема работ (до 95% от общего
объема) в свободной системе координат;
ортотрансформирование снимков по фрагментам (максимум 128x128),
полученным делением рабочей площади на заданное число элементов в зависимости
от уклона местности;
Система считается надежной в эксплуатации, хорошо документирована и легко
вписывается в производство.[4]
|
Некоторые данные о цифровых
фотограмметрических системах, имеющих наибольшее распространение в странах
СНГ, представлены в табл.1Наименование,
характеристики
|
PHOTOMOD Россия,Ракурс
|
Дельта, Россия, ЦНИИГАи.
Украина, ПШП «Ге система».
|
ТАЛКА Россия, Талка-ТДВ
|
MapEditPro Россия, «Резидент
|
Imagestation США, Intergraph
Corp.
|
Leica Photogram
metry Suite,Leica Geosystems
|
|
Ввод 1-й версии
|
1993
|
1995
|
1995
|
1993
|
1980
|
-
|
|
Число инсталляций всего
|
>800
|
>700
|
' > 1050
|
860
|
Нет данных
|
|
в т. ч. в РФ
|
>300
|
>600
|
> 1000
|
810
|
Нет данных
|
|
Стоимость (тыс. USD)
|
3, 7-6, 2
|
0, 3 - 5, 0
|
7,5
|
650
|
Нет данных
|
|
Обработка ДДЗ
|
+
|
+
|
+
|
+
|
+
|
+
|
|
Пространственная фото
|
+
|
+
|
+
|
+
|
+
|
+
|
|
триангуляция
|
|
|
|
|
|
|
|
Построение ЦМР (TIN)
|
+
|
+
|
+
|
+
|
+
|
|
Построение ЦМР (DEM),
|
|
|
|
|
|
|
|
горизонталей, ор-
|
+
|
+
|
+
|
-
|
+
|
+
|
|
Тотрансформирование
|
|
|
|
|
|
|
|
Создание цифровых карт
|
+
|
+
|
+
|
|
+
|
+
|
|
подготовка их к изданию
|
|
|
|
|
|
|
|
Эталонирование сканера
|
+
|
+
|
-
|
-
|
+
|
-
|
Кроме названных ЦФС, находят применение цифровые фотограм-метричексие
системы : SOCET SET, IMAGINE OrthoBase фирмы ERDAS, ГИС-Конструктор «Ортофотоплан»
(Россия), RealisticMap (Республика Беларусь), Цифровой
стереоплоттер SDS (Новосибирск) и др.
Глава 3.Экспериментальные работы
.1 Ортотрансформирование снимков в программном комплексе OrtoPhoto-SDS
.1.1 Составление рабочего проекта
Для запуска программы дважды щелкните левой кнопкой мыши на изображение
значка OrthoPhoto-SDS™.
Для загрузки файла вызовите функцию File/Open
из главного меню программы, раскройте окно типа файлов в нижней части
стандартного диалога загрузки файла и выберите строчку Import bitmap as left image или Import bitmap as right image.
После этого нужно указать имя нужного файла в окне просмотра каталогов.
Если Вы загрузите два изображения, то OrthoPhoto-SDS™ автоматически
переходит в стереорежим. В этом случае возможны 3 варианта работы с
изображениями - работа с левым изображением, работа с правым изображением и
работа с двумя изображениями одновременно. Режимы переключаются кнопками
“<<”, “>>”, “<+>”.
.1.2 Заполнение сертификата
Вызов диалога заполнения сертификата осуществляется из меню “Photogrammetry/Certificate”. В стереорежиме и в режиме левого
снимка выводится панель сертификата левого снимка. В режиме правого снимка
выводится панель сертификата правого снимка.
В графы «X length lx», «Y length ly» заносятся паспортные значения АФА - расстояния между
координатными метками 1-2 и 3-4 соответственно. В графы «Null offset, dMOx»,
«Null offset, dMOy»
заносятся паспортные значения координат главной точки снимка.
В графу «Focal length, f» заносится паспортное значение фокусного расстояния АФА. Все
перечисленные значения заносятся в миллиметрах.
Рис 19. Пример заполнения сертификата правого снимка
В графу сертификата «Exposure height» заносится
высота фотогорафирования в метрах.
В графы «Exposure
point X» и «Exposure point Y» заносятся значения координат точки
фотографирования в метрах. Эти координаты должны быть заданы в правой системе
координат.
Кнопка «ОК» закрывает диалоговую панель и запоминает сертификат текущего
снимка значениями, считанными из соответствующих граф этой панели.
Кнопка «Transform» вызывает немедленное
трансформирование текущего снимка.
Кнопка «Options» вызывает диалоговую панель
параметров трансформирования.
.1.3 Внутреннее ориентирование снимков
Перед проведением ориентирования необходимо перейти в режим отображения
того снимка, для которого выполняется внутреннее ориентирование. Процедура
внутреннего ориентирования вызывается из меню «Photogrammetry/Internal orientation» при этом на экран выводится
диалоговая панель.
Рис
20. Диалоговая панель внутреннего ориентирования
Во
время внутреннего ориентирования можно перемещаться в зоны расположения
координатных меток при помощи линий прокрутки главного окна OrthoPhoto-SDS™, но рекомендуется использовать клавиши «I», «II»,
«III», «IV». Эти клавиши вызывают автоматический выход в зону
расположения 1, 2, 3 и 4 контрольных меток соответственно.
Рис
21. Схема расположения координатных меток
После
выхода в нужную зону следует навести курсор на изображение метки и нажать левую
кнопку мыши. Измеренные координаты в пикселах появятся в окне, справа от
выбранной клавиши. При внутреннем ориентировании снимков выполнять измерения
можно в любой последовательности. Для того, чтобы переизмерить координаты
метки, необходимо еще раз нажать клавишу с соответствующим номером и повторить
измерения.
3.1.4 Взаимное ориентирование снимков
Взаимное ориентирование снимков рекомендуется производить в
полуавтоматическом режиме, который включается в меню «Points/Semiautomatic».
Рис
22. Меню функций работы с базой данных соответственных точек
Курсор наводится на точку на левом снимке и нажимается левая кнопка мыши.
Выбранная точка отметится красным крестом. Курсор переводится на правый снимок,
где он превратится в квадратную рамку, и приблизительно наводится на
соответствующее место на правом снимке так, чтобы точка отмеченная на левом
снимке попала внутрь рамки и нажимается левая кнопка мыши. Кореллятор OrthoPhoto-SDS™ автоматически найдет соответствующие точки на левом
и на правом снимках.
Для взаимного ориентирования снимков рекомендуется выбирать не менее двух
точек в стандартных зонах стереопары. После того, как набраны точки для
ориентирования, необходимо их сохранить. Надо войти в меню «Points/Save» (См. рисунок 22) и задать имя файла с расширением *.SDP.
Чтобы узнать результаты взаимного ориентирования снимков необходимо войти
в меню «Phothogrammetry/External orientation». После чего появится диалоговая
панель ориентирования (См. рисунок 23), на которой расположены: окно остаточных
поперечных параллаксов, панель атрибутов текущей точки, окно технологического
допуска, функциональные клавиши и панель текущих элементов ориентирования
снимков. Программа вычисляет элементы взаимного ориентирования снимков и выдает
результаты после нажатия клавиши «Relaitive», а затем «Auto»
(См. рисунок 23).
Рис 23. Диалоговая панель взаимного ориентирования
Подпиксельное редактирование точек
Если Вас не устраивают результаты взаимного ориентирования, в программе
предусмотрен подпиксельный редактор, который позволяет корректировать положение
точки на цифровом изображении с дискретностью 0.2 пиксела. Для того, чтобы
произвести редактирование измеренных точек необходимо навести курсор на точку,
имеющую максимальный остаточный параллакс и выделить ее, нажав левую кнопку
мыши. Затем выбрать функцию «Edit»,
после чего появится диалоговая панель подпиксельного редактора (См. рисунок
24), на которой расположены два окна, содержащие изображения соответственных
точек с линиями прокрутки, набор функциональных клавиш и информация об
атрибутах пары точек:
·
в левом и правом
верхних углах расположены координаты выбранной точки, в пикселах на левом и на
правом снимке соответственно;
·
в верхней
центральной части подпиксельного редактора расположены значения среднего
квадратического остаточного параллакса (q - на снимке в мкм., Q - на местности в см) и отметка точки (Z).
Рис
24. Диалоговая панель подпиксельного редактора
Клавиша
«ОК» закрывает диалоговую панель подпиксельного редактора с сохранением всех установленных
данных.
Клавиша
«List» вызывает панель управления базой данных опорных
точек.
Клавиша
«Next» выполняет процесс ориентирования без сохранения
полученных элементов и позволяет выбрать наилучший вариант решения задачи. Для
аэроснимков хорошего качества использование этого метода не требуется. Если Вы
хотите сохранить полученные значения, нажмите клавишу «ОК».
3.1.5 Внешнее ориентирование модели
Для ввода в программу опорных точек предусмотрен режим «Ground data» в меню «Points». После того, как опорная точка отмечена на обоих снимках стереопары,
появляется диалоговая панель базы данных опорных точек.
В графу «N» вводится
условный номер опорной точки. Не рекомендуется вводить номер точки, состоящий
более чем из трех символов, поскольку в противном случае строка расхождений
координат на опорных точках сместится, и просмотр их будет невозможен.
Рис 25. Диалоговая панель базы данных опорных точек
Следует учесть, что последней точке, введенной в базу данных, программа
присваивает номер «0».
В графы «X», «Y», «Z» вводятся геодезические координаты опорной точки в правой
системе координат. После ввода атрибутов опорной точки она добавляется в базу
данных и отображается в перечне опорных точек на панели. В колонках dX, dY, dZ выводятся
расхождения координат на опорных точках. Редактирование производится так же,
как и при взаимном ориентировании снимков с помощью клавиши «Edit».
Чтобы получить результаты внешнего ориентирования модели надо нажать
клавиши «Absolute» и «Auto», затем клавишу «List», после чего появится панель управления базой данных
опорных точек с результатами внешнего ориентирования на опорных точках. После
выполнения внешнего ориентирования модели производится вычисление элементов
внешнего ориентирования для левого и правого снимков.
Сохранение и загрузка измеренных точек производится так же, как и при
взаимном ориентировании.
После выполнения основных процессов построения модели надо зайти в меню «File/Save», набрать имя файла с расширением *.GPS. При загрузке файла *.GPS у Вас автоматически загружаются два
снимка с заполненными сертификатами и атрибутами стереопары.
3.1.6 Создание цифровой модели рельефа и ее визуализация
Для построения цифровой модели рельефа вначале измеряются координаты
соответственных точек стереопары, для этого используется автоматический режим
набора точек в меню «Points/Automatic».
Параметры построения модели рельефа можно задать из меню «Options/Landscape and DEM». После чего появится диалоговая панель настройки
параметров формирования цифровой модели рельефа.
Здесь «DEM resolution» - разрешение выходной матрицы
рельефа в масштабе объектного пространства в метрах (разрешение регулярной
матрицы высот на местности). Для масштабов 1:5000 - 1:10000 рекомендуется
задать значение «DEM resolution» 3 - 15 метров. «DEM filter carier» - носитель фильтра, который будет применен для
сглаживания модели. При минимальном значении носителя фильтра модель рельефа
будет состоять из горизонтальных площадок, в центре которых располагаются
измеренные точки, а процесс трансформирования будет напоминать
ортотрансформирование аэрофотоснимка по зонам. Увеличивая носитель фильтра,
можно получить модель рельефа в виде гладкой поверхности. Используйте большие
значения носителя при малом количестве измеренных точек и меньшие значения при
большом их количестве.
Для построения ЦМР после измерения координат соответственных точек, надо
вызвать диалоговую панель ландшафта из меню «Photogrammetry/Landscape», после чего появится диалоговая
панель формирования цифровой модели рельефа (См. рисунок 26) и нажать клавишу «Build».
Рис 26. Диалоговая панель формирования цифровой модели рельефа
Через некоторое время программа построит цифровую модель рельефа в
псевдоцветах.
3.1.7 Ортотрансформирование снимка
Операция ортотрансформирования выполняется в OrthoPhoto-SDS™ для «активного» снимка. Для того, чтобы
трансформировать левый снимок, надо перейти в режим левого снимка при помощи
кнопки «<<» на панели инструментов. Для трансформирования правого снимка
используйте кнопку «>>».
Выберите команду «Transform» из меню «Photogrammetry».
На экране появится сертификат снимка, убедившись, что сертификат заполнен
правильно, надо нажать кнопку «Transform» на панели диалога сертификата.
На экране появится индикатор процесса ортотрансформирования, на панель
которого выводится общее расчетное время процесса в минутах и время оставшееся
до конца операции.
Программа OrthoPhoto-SDS™ формирует выходной цифровой
ортоснимок, добавляя к его имени дополнительное расширение ortho.
Кроме цифрового ортоснимка, OrthoPhoto-SDS™ формирует
сертификат, содержащий всю информацию о геодезической привязке снимка. Имя
файла сертификата формируется из имени исходного файла и расширения GPO, который содержит:
·
координаты центра
левого нижнего пиксела цифрового ортоснимка в системе, заданной координатами
опорных точек;
·
масштаб -
количество метров на местности в одном пикселе цифрового ортоснимка.
Для просмотра ортоснимка следует загрузить его в программу так-же, как и
исходный снимок. При наличии сертификата, он будет загружен автоматически с
цифровым изображением. В этом случае в окна «X» и «Y»
панели инструментов OrthoPhoto-SDS™ будут выводиться координаты курсора
в системе заданной координатами опорных точек.
Рис 27. Трансформированный снимок
.2 Создание фрагмента контурной части карты в программном комплексе Mapinfo
.2.1 Регистрация изображений
. открываем ГИС MapInfo
. меню Файл - Открыть - указываем путь к файлу и его тип
. в появившемся диалоговом окне - команду «Показать» или «Регистрировать»
. при выборе команды «Регистрировать» появится окно регистрации
растрового изображения;
выбор проекцию: «План-схема», и единицы «Метры»
по 4 углам «скалываем» точки с имеющимися координатами
оценка точности привязки: проверяем, чтобы ошибка была меньше 1.
. Открывается окно карты. Для работы в окне карты необходимо создать
слой: Файл - Создать новую таблицу - ставим галочки «Показать картой»,
«Добавить к карте»
. в появившемся окне «Создать структуру таблицы» вводим названия и тип
полей, выбираем проекцию
.2.2 Рисовка контурной части карты по слоям
Были созданы тематические слои: гидрография, дороги, сооружения, огороды.
В каждом слое выполнялось вычерчивание контуров. Для каждого контура выбран
стиль линий, соответствующий данному объекту. Затем создавались необходимые
условные знаки.
На рисунке представленном ниже получена контурная часть карты:
Рис 28. Контурная часть карты
Заключение
В результате выполнения курсовой работы выполнено следующее:
Рассмотрена технология создания карт, основанные на аналоговых и
аналитических методах фотограмметрии.
Рассмотрена аэрофотосъёмка для создания топографических карт.
Рассмотрен стереотопографический метод создания топографических карт.
Рассмотрен комбинированный метод создания топографических карт.
Рассмотрены цифровые фотограмметрические технологии создания цифровых
карт и ортопланов.
Рассмотрена технология создания цифровых карт на цифровых
фотограмметрических станциях.
Рассмотрено построение цифровой модели рельефа.
Проведена работа по ортотрансформированию снимков в программном комплексе
OrthoPhoto-SDS.
Проведена работа по созданию фрагментов контурной части карты по
ортофотоплану программном комплексе MapInfo.
Список литературы:
1. Лобанов А.Н. Фотограмметрия: Учебник для вузов. 2-е изд.
перераб. и доп. - М.: Недра, 1984, 552с.
2. Буров М.И., Краснопевцев Б.В., Михайлов А.П.
Практикум по фотограмметрии. Учеб. пособие для вузов. - М.: Недра, 1987, 302с
. Гук П.Д. Технология создания карт фототопографическими
методами. Учебное пособие. Новосибирск, 1990г
. Гук. Решение фотограмметрических задач с
использованием ЭВМ-28.
. Аковецкий В.И. Дешифрирование снимков.М., Недра,1983
А.С.Назаров Фотограмметрия