Системи автоматизованого тестування

  • Вид работы:
    Дипломная (ВКР)
  • Предмет:
    Информационное обеспечение, программирование
  • Язык:
    Украинский
    ,
    Формат файла:
    MS Word
    6,45 Мб
  • Опубликовано:
    2014-03-10
Вы можете узнать стоимость помощи в написании студенческой работы.
Помощь в написании работы, которую точно примут!

Системи автоматизованого тестування














Системи автоматизованого тестування

РЕФЕРАТ

програмування автоматизований тестування дистанційний

Пояснювальна записка до дипломного проекту містить: стор., мал., табл., додатки, джерело.

Мета роботи - розробка інформаційної і адміністративної підсистем для системи автоматизованого тестування для дистанційного навчання (САТДН) з поглибленим опрацьовуванням наступних задач:

·            аналіз існуючих розробок по автоматизації тестування для дистанційного навчання;

·            розробка бази даних тестових завдань і результатів тестування;

·        розробка засобів ідентифікації користувача в САТДН;

Об'єктом дослідження є учбовий процес в УІПА.

Методи дослідження - аналіз інформаційних систем, обробка інформації з використанням бази даних, Web-програмування.

Розвиток і упровадження болонського процесу в освіту України призводить до того, що ми переходимо до дистанційного навчання (ДН) студентів заочної форми навчання, актуальною задачею є організація ефективного контролю знань студентів. З метою рішення цієї задачі пропонується використовування розробленої САТДН, що задовольняє вимогам простоти при використовуванні, недорогої ціни, легкого розповсюдження і дозволяючої будь-якому студенту швидко відповісти на питання тестів.

В ході дипломної роботи отримані інструментальні результати:

·            складена база даних тестових завдань;

·            розроблена САТДН.

Пояснювальна записка складається із чотирьох розділів: спеціального, методичного, економічного і розділу охорони праці і навколишнього середовища. В спеціальному розділі проведений аналіз існуючих САТДН автоматизації учбового процесу ВУЗу, розроблена постановка задачі, обґрунтований вибір методів рішення задачі, розроблено інформаційне, програмне, технічне забезпечення САТДН, приведені умови надійності її функціонування, описані засоби захисту інформації від несанкціонованого доступу. В методичній частині описана методика навчання роботі з САТДН, в економічній частині приведений розрахунок собівартості системи, в розділі охорони праці і навколишнього середовища приведені умови безпечного і стабільного функціонування системи в комп'ютерному класі.

Областю використовування розробленої САТДН є учбові заклади I - IV рівнів акредитації.

Ключові слова: СИСТЕМА АВТОМАТИЗОВАНОГО ТЕСТУВАННЯ ДЛЯ ДИСТАНЦІЙНОГО НАВЧАННЯ, БАЗА ДАНИХ, ДИСТАНЦІЙНЕ НАВЧАННЯ, АДМІНІСТРАТИВНА І ІНФОРМАЦІЙНА ПІДСИСТЕМИ, УЧБОВИЙ ПРОЦЕС, ТЕСТУВАННЯ, ЕКОНОМІЧНІ ПОКАЗНИКИ, ДИДАКТИЧНИЙ ПРОЕКТ, ТЕХНІКА БЕЗПЕКИ.

ВВЕДЕННЯ

Вища дистанційна освіта стає сьогодні помітною складовою системи вищої школи. У вузах щорічно створюються десятки нових центрів і інститутів дистанційної вищої освіти.

В Україні в 1998 р. Верховна рада приймає закон «Про національну програму інформатизації», в 9-му розділі якого формулюються завдання по інформатизації освіти і визначаються напрями їх реалізації. Сумісною ухвалою Президії Національної академії наук України і Колегії Міністерства освіти України від 20.06.1997 р. створюється Асоціація користувачів телекомунікаційної мережі учбових закладів і науки України з координуючим «Центром Європейської інтеграції» в м. Києві, яка надалі отримала офіційну назву Українська науково-освітня телекомунікаційна мережа «УРАН» (27.02.1998 р.).

Національний технічний університет «Харківський політехнічний інститут» публікує Меморандум створення інформаційної освітньої мережі «Українська дистанційна освіта». Львівський інститут менеджменту бере на себе відповідальність за розвиток дистанційної освіти в Україні. За сприяння Світового банку на базі Української Академії державного управління при Президентові України створюється Центр дистанційної освіти мережі глобального розвитку, який претендує на роль засновника системи дистанційної освіти.

Наказом Міністерства освіти і науки України №293 від 07.07.2000 р. створюється структурний підрозділ Національного технічного університету «Київський політехнічний інститут» - Український центр дистанційної освіти (УЦДО), головною метою діяльності якого є створення системи дистанційної освіти України відповідно до завдань Національної програми інформатизації [1].

Під вищою дистанційною освітою розуміються освітні технології, що реалізовуються в основному із застосуванням інформаційних і телекомунікаційних технологій при опосередкованій (на відстані) або не повністю опосередкованій взаємодії студента і педагогічного працівника.

Розвиток дистанційної освіти пов'язаний з тим, що не всі охочі здобути освіту можуть зробити це очно.

Дистанційна форма навчання відкриває великі можливості для студентів-інвалідів. Сучасні інформаційні освітні технології дозволяють вчитися незрячим, глухим і страждаючим захворюваннями опорно-рухового апарату.

Враховуються індивідуальні здібності, потреби, темперамент і зайнятість студента. Він може вивчати учбові курси в будь-якій послідовності, швидше або повільніше. Все це робить дистанційну форму навчання якісною, доступною і дешевше традиційної.

Вища дистанційна освіта дозволяє: вибирати слушний час, місце і темп навчання кожному студенту; підвищити свою кваліфікацію, придбати спеціальність без відриву від будинку і роботи; здобувати вищу дистанційну освіту особам, позбавленим можливості здобути традиційну освіту (віддаленість від учбового закладу, хвороба, специфіка роботи і т.д.)

Таким чином, проблема розробки систем дистанційного навчання безпосередньо витікає як з сучасних тенденцій в системі освіти, так і з проблеми підвищення якості навчання, яка являється основною проблемою освіти, що не залежить ні від яких сучасних тенденцій.

На жаль, є і недоліки дистанційного навчання:

. Можливості для консультацій між студентами і педагогами обмежені;

. Висока собівартість учбових аудіо- і відео матеріалів. Унаслідок високої вартості якісних навчальних посібників, дистанційні університети працюють по одним і тим же посібникам багато років і прагнуть привернути якомога більше студентів. Врешті решт, масштаб діяльності дистанційного учбового закладу визначає вартість його структури;

. Залежність від комунікаційної інфраструктури (пошти, телефонного зв'язку, транспорту, і т. д.), а також від деяких виробничих галузей (друкарень, телерадіомовних компаній і т. д.), які побічно впливають на діяльність дистанційних учбових закладів (наприклад, якщо хоча б одна з галузей не функціонувала, то ефективність і якість роботи дистанційного вузу падала б);

. Відносна гнучкість методів дистанційного навчання. Якщо дистанційний студент вибирає певний курс навчання, то у нього практично немає можливості щось змінити в нім або вибрати інші предмети (в умовах денного навчання така ситуація є результатом політики учбового закладу, тоді як негнучкість учбового плану в дистанційних університетах можна пояснити тільки недосконалістю методики викладання).

. Ускладнена ідентифікація студента - перевірити хто складає іспит поки неможливо. Втім, як показує практика приймальних іспитів, і в очній формі це вдається далеко не завжди. Тому, прагнучи компенсувати цей недолік, учбові заклади, що практикують ДН, включають в програму і обов'язкову очну сесію, яку студенти ДН здають, наприклад, в комп'ютерному класі. Зарубіжні учбові заклади, що використовують ДН, досить давно створили по країні мережу уповноважених осіб, які мають право свідчити, що іспит складала саме та людина, яка була заявлена, і таким чином вирішують цю проблему. У нашій країні така мережа тільки починає розвиватися.

На сьогоднішній день існує значна кількість систем ДН. Так, наприклад, для дистанційної освіти в Українській інженерно-педагогічній академії застосовується навчання із застосуванням мережевих комп'ютерних технологій (e-learning). Організації процесу навчання здійснюється з використанням спеціальної програмної оболонки - системи учбового менеджменту moodle. У ній можливо як створення змістовної частини дистанційних курсів, так і управління учбовим процесом з різноманітним спілкуванням викладачів і студентів. Moodle - відкрита і безкоштовна система, має реалізацію під Linux і Windows.

Для використання в учбовому процесі також пропонується система COMPETENTUM.MAGISTER, яка включає зручні засоби підготовки мультимедійних учбових матеріалів, планування і контролю процесу навчання, розвинений механізм аналізу показників, а також систему тестування. Серед інших можливостей системи можна виділити: управління учбовими  <#"724653.files/image001.gif"> 

Мал. 1.1 Призначення систем дистанційної освіти

Істотним компонентом будь-якої системи дистанційного навчання є учбові матеріали і ресурси. Змістовні учбові матеріали, що добре опрацьовані і оформлені, здатні стимулювати процес самоосвіти учнів і, таким чином, підвищити ефективність всієї системи дистанційного навчання. Розробка, оформлення і виробництво учбових матеріалів, як правило, здійснюється організаціями дистанційного навчання самостійно і виступає як окрема функція їх спеціалізованих підсистем.

Центральною ланкою системи дистанційної освіти є засоби телекомунікації і інформаційні технології. При цьому найважливішою умовою ефективного використання будь-якого інформаційного середовища є її змістовне наповнення. Ці ланки і інші елементи дистанційної освіти не можуть існувати і розглядатися роздільно.

Багато систем дистанційної освіти досягли зараз такого рівня студентів до здачі іспитів на отримання атестатів, дипломів і ступенів, який не поступається рівню, що забезпечується традиційними учбовими закладами, а також відповідає всім встановленим державою вимогам.

Таким чином, проведений аналіз дозволяє зробити наступні висновки, визначаючі місце і роль дистанційного навчання в учбовому процесі вузу [5]:

·            дистанційне навчання розвиває у учнів здібності до самонавчання, активність в придбанні знань;

·        дистанційне навчання надає доступ до величезного об'єму інформації;

·        при дистанційному виді навчання забезпечується рівність учнів;

·        дистанційне навчання забезпечує доступність і відвертість навчання, свободу і гнучкість, доступ до якісної освіти.

1.1.2 Аналіз дослідженості проблеми розробки систем автоматизованого тестування для дистанційного навчання

Система дистанційного навчання - це складна, багатокомпонентна система, що має тенденцію до безперервної зміни і динамічного розвитку. Ефективна робота такої системи не може спиратися тільки на емпіричний досвід і інтуїцію розробників. Необхідно виробити системний підхід до дистанційного навчання, побудувати залежності складових системи, підсистем і компонентів.

При проектуванні системи ДН необхідно розглядати ряд моделей з метою якнайповнішого уявлення про систему не тільки з погляду поточних вимог і можливостей, але і перспектив розвитку.

У системі дистанційного навчання крім викладача і студентів повинні бути підручник, навчальні посібники, тобто засоби навчання як компонент даної системи. Звідси необхідність серйозного наукового підходу до розробки спеціальних курсів (підручників) для системи дистанційного навчання.

При розробці курсів необхідно враховувати чітку орієнтацію на вік потенційних студентів. Стиль викладу, ілюстрація курсу, відбір змісту, завдання, вся організація процесу навчання визначаються віковими особливостями студентів.

Як компоненти, при розробці курсів дистанційного навчання, можна назвати наступні:

1. Загальні відомості про курс, його призначення, цілі, завдання, зміст (структура), умови прийому в групи навчання, підсумкові документи. Ці відомості повністю відкриті на сервері для ознайомлення. Часто бувають відкриті і самі курси, але лише реєстрація дає право отримати власний пароль, свою Web-страницу на сервері і стати повноправним учасником процесу навчання під керівництвом викладача з перспективою, за умови успішного закінчення курсу, отримати відповідний сертифікат повчальної організації.

2. Довідкові матеріали (у вигляді баз даних) по наочній області курсу.

3. Блоки анкет (окремим файлом), що дозволяють встановити контакт з користувачами, отримати необхідні відомості і обробити їх.

4. Власне навчальний курс (електронний підручник), структурований по більш менш автономних модулях.

5. Блок завдань, направлених на засвоєння матеріалу і перевірку, контроль його розуміння, осмислення.

6. Блок творчих завдань, направлених на самостійне застосування засвоєних знань, умінь, навиків у вирішенні конкретних проблем; виконання проектів індивідуальне, в групах співпраці; практичні роботи (індивідуальні, сумісні).

7. Блок моніторингу успішності самостійної діяльності студентів, контролю результатів їх роботи (індивідуально або спільно, в групах співпраці).

Щоб учбовий процес був достатньо ефективний, необхідно не тільки забезпечити науково обґрунтоване, дидактично організоване проектування електронного підручника планованої системи засобів навчання, використовуючи можливості інформаційних ресурсів і послуг мережі Інтернет, але і розробити специфічну, інтерактивну організацію учбового процесу, методи і технології навчання.

Так в [6] запропонована система Competentum.Magister, яка володіє багатофункціональними можливостями, що дозволяють планувати і контролювати процес навчання, аналізувати показники успішності, створювати нові і інтегрувати вже існуючі курси. Серед інших можливостей системи можна виділити:

1. Управління навчальними матеріалами:

·    можливість створювати підручники з елементами мультимедіа за допомогою невимагаючого спеціальних навиків візуального редактора;

·        можливість використовувати готові учбові курси сторонніх виробників, відповідні міжнародному стандарту SCORM;

·        можливість використовувати як учбові матеріали зовнішні файли довільного формату, об'єкти типу Графер і об'єкти типу.

Каталог учбових матеріалів в СДН Competentum.Magister має деревовидну структуру, що полегшує навігацію по розділам і темам. Здійснюється повнотекстовий пошук з урахуванням відмінків (лексичний аналіз). Можливе розмежування доступу до матеріалів залежно від ролі користувача в учбовому процесі і календарного плану навчання. Окрім цього, доступ автоматично блокується під час проведення тестування учнів.

2. Управління процесом навчання. Можливі дії користувачів в системі визначаються їх роллю в учбовому процесі, календарним планом навчання, а для учнів - ще і спеціальністю. Під час навчання ведеться детальна реєстрація дій користувачів і статистика їх роботи з учбовими матеріалами з розбиттям по темам занять, типам діяльності і так далі. Відстежується атестаційний статус учня, якість засвоєння кожної з тем, атестаційний рейтинг. У будь-який момент викладачі можуть скоректувати процес навчання попереджувальним повідомленням, зміною «прохідних балів» і доступних розділів, призначенням додаткових тестів із специфічними критеріями або видачею індивідуальних завдань.

У системі передбачена можливість індивідуальних консультацій з викладачами. Реалізована підтримка реєстрації очних занять з можливістю виставляння оцінок студентів за довільною шкалою.

3. Перевірка якості знань. Однією з незаперечних переваг СДН Competentum.Magister є система тестування на основі «шаблонів тестів». У базовому постачанні програми підтримуються 9 типів завдань: автоматично оцінювані системою вибір одного або декількох правильних варіантів відповіді, введення числа або рядка, сортування, угрупування, встановлення відповідності, заповнення пропусків, а також оцінювана викладачем відповідь у вільній формі. Оскільки СДН Competentum.Magister є модульною системою, додаткові типи завдань можуть бути додані в неї модулями, що підключаються, без зміни ядра системи. На час тестування автоматично блокується доступ до учбових матеріалів. Для різних тестів можливе використання різних шкал оцінок. Тести, що згенерувалися системою, можна роздруковувати для використання на очних заняттях.

4. Створення звітності і аналітичні можливості. На підставі даних, що зберігаються в системі, можуть формуватися різні звіти, структура яких створюється на призначеному для користувача рівні за допомогою конструктора звітів. При цьому великий набір стандартних звітів, що покривають основні потреби в аналітиці учбового процесу, вже включені в базове постачання системи. Дані будь-якого звіту можна експортувати у формат Excel.

Для розширення можливостей зберігання і аналізу інформації про учнів і персоналу учбового закладу, в СДН Competentum.Magister передбачена можливість додавання адміністратором системи без додаткового програмування довільної кількості додаткових полів інформації про користувачів. Можливе додавання полів 6 різних типів (рядок, число, дата і так далі), інформація з яких може використовуватися згодом при формуванні звітів.

Гідністю системи Competentum.Magister також є те, що під час тестування вибір питань проводиться випадковим чином, що дозволяє учневі краще засвоїти пройдений матеріал..Magister також має ряд технічних особливостей, які дозволяють їй володіти широкою багатофункціональністю. Серед технічних характеристик системи варто виділити:

·            надійність: система дистанційного навчання реалізована на базі платформи Competentum і технології J2EE (Java 2 Enterprise Edition) - найпопулярнішої сучасної технології побудови корпоративних систем, узагальнюючої досвід провідних розробників, що дозволяє їй виділятися надійністю. Завдяки своїй модульній структурі система легко розширювана.

·        інтерфейс, що синтезується: дозволяє системі бути досить ергономічною. Інтерфейс для кожного користувача синтезується системою оптимальним чином відповідно до його набору повноважень.

·        безпека: повноваження визначаються ролями. Competentum.Magister має гнучку систему настройки прав і доступу до інформації, багаторівневий контроль повноважень. Серверна частина системи реалізована по трирівневій схемі, в якій шар даних відокремлений від шару логіки і рівня представлення даних. Завдяки тому, що шар логіки і визначення суті системи відокремлені від рівня бази даних, система може працювати з базами даних від всіх відомих виробників, що підтримують транзакції.

·        інтеграція: система легко інтегрована з іншими інформаційними системами.

·        працездатність на основних операційних системах: проведені тести на різних платформах показали, що система є працездатною на наступних операційних системах: Windows, UNIX, Linux-платформах і Sun Solaris.

·        модульність структури: спрощує доопрацювання СДН під конкретні потреби окремо узятого учбового закладу.

Не дивлячись на значні можливості системи Competentum.Magister, її зручний інтерфейс, багатофункціональну систему тестування, вона не має достатніх передумов для використання в учбовому процесі вузу. З цих позицій можна виділити такий недолік цієї системи як прив'язку до бази даних - MaxDB/ SAPDB.

У роботі [7] описується система дистанційного тренінгу (СДТ) REDCLASS версії 2.1 - комплекс програмно-апаратних засобів, учбових матеріалів і методик навчання, які дозволяють дистанційно навчатися, підвищувати кваліфікацію, контролювати знання в будь-яких галузях діяльності людини, а також виробляти практичні навики по експлуатації і управлінню програмними продуктами, устаткуванням і технологіями.

Області застосування СДТ REDCLASS:

1. Організація корпоративної системи дистанційного навчання і підвищення кваліфікації співробітників компаній.

2. Організація системи підвищення кваліфікації фахівців різних напрямів діяльності на базі спеціалізованих учбових центрів.

3. Організація дистанційного тестування для контролю знань, придбаних за допомогою як традиційного очного навчання, так і дистанційного навчання.

4. Використання у вищих і середніх учбових закладах в процесі навчання і тестування студентів.

СДТ REDCLASS має триланкову архітектуру. Клієнтська частина складається з браузера (Internet Explorer, Mozilla), який надає доступ до інтерфейсів різних користувачів (студента, менеджера, адміністратора і тому подібне). Браузер через інтернет або інтранет посилає запити на сервер додатків (Tomcat Apache, входить в дистрибутив СДТ REDCLASS) для обробки. Сервер додатків працює з даними, які зберігаються на сервері баз даних (СУБД Oracle 8i, 9i, 10g). Сервер додатків і сервер баз даних можуть знаходитися на різних машинах для збільшення продуктивності системи.

Типова архітектура системи дистанційного навчання на базі інструментарію СДТ REDCLASS (залежно від версії СДТ REDCLASS і варіанту постачання системи, компоненти архітектури можуть змінюватися) приведена на мал. 1.2.

Мал. 1.2. Типова архітектура СДТ REDCLASS

Особливості СДТ REDCLASS версії 2.1:

1. СДТ REDCLASS 2.1 є повнофункціональною системою, що підтримує створення учбових матеріалів у внутрішньому форматі, управління учбовим процесом, навчання з можливістю контролю знань і збору статистичних даних по пройдених матеріалах.

2. СДТ REDCLASS 2.1 підтримує імпорт курсів в стандарті AICC, що дозволяє використовувати учбові матеріали, створені сторонніми виробниками, що підтримують даний стандарт, зокрема - дистанційні курси компанії Thomson NETg.

3. СДТ REDCLASS 2.1 підтримує стандарт SCORM версії 1.2.

4. Можливість отримання практичних навиків в СДТ REDCLASS 2.1:

·            виконання лабораторних робіт з використанням механізму видаленого доступу до програмно-апаратних комплексів, реалізованого за допомогою модуля Віртуальних лабораторій;

·        виконання практичних вправ в Середовищі емуляції вправ, яка дозволяє емулювати роботу з об'єктом навчання.

5. Система ролей користувачів дозволяє враховувати особливості процесу навчання конкретного замовника.

6. Система прав доступу дозволяє індивідуально настроювати права доступу до об'єктів і ресурсів Системи.

7. Гнучка система планування навчання, що реалізовує два механізми планування:

·            механізм подачі заявки на навчання з боку користувача

·        механізм призначення учбової програми/плану менеджером системи

8. Система режимів навчання дозволяє створювати різні варіанти надання матеріалів курсу користувачеві.

9. Вбудована система взаємодії учасників освітнього процесу в режимі реального часу (текстова конференція) і в асинхронному режимі (по електронній пошті).

10. Можливість проведення анкетування користувачів.

До недоліків використання СДТ REDCLASS можна віднести наступне:

·            «жорсткі, важкі» вимоги до серверної частини;

·        вимагає «важку» СУБД Oracle;

·        російська локалізація частини комплекту програмного забезпечення не повна;

·        є проблеми з російським кодуванням при занесенні розроблених курсів в базу даних СДН;

·        вибір питань в тестуванні проводиться не випадковим чином.

Російською Компанією "Стел - Комп'ютерні Системи" розроблена система дистанційного навчання STELLUS [8] - повнофункціональний, побудований на web-технології, модульний комплекс програмного забезпечення для підтримки відкритої освіти.

STELLUS легко вбудовується в учбовий процес будь-якого учбового закладу - від школи до університету, від Центру підвищення кваліфікації до корпоративних учбових центрів.

Комплекс надає весь необхідний інструментарій для створення дистанційних учбових курсів, програмованих навчальних посібників і тестових завдань. Слухачі дістають доступ до курсів, що вивчаються, і тестів, розміщених в корпоративній мережі або Інтернет, використовуючи стандартний web-браузер (IE 5.5 і вище). На мал. 3 показані окремі частини комплексу: операційна система, система управління базами даних, бази даних, програмні модулі, web-сервер і браузери на стороні клієнта. РМ - автономне робоче місце розробника учбових курсів.

Мал. 1.3. Архітектура комплексу

 дозволяє:

·            вести підготовку учбових матеріалів і тестів;

·        управляти учбовим процесом (складати індивідуальні і групові розклади);

·        планувати учбове навантаження;

·        забезпечує процедури здачі тестів і іспитів в автоматичному і напівавтоматичному режимі;

·        отримувати статистичні звіти для аналізу;

·        всі події в рамках процесу навчання фіксуються в базах даних. Ці дані можуть бути використані для статистичного аналізу.

До переваг STELLUS можна віднести:

·            STELLUS орієнтований на високу і вимірювану якість навчання і завдяки своїй гнучкості дозволяє ефективно навчати кожного. Його могутня і багатофункціональна система підготовки учбових матеріалів і контролю знань може поставлятися як у складі комплексу, так і автономно на CD.

·        STELLUS побудований за модульним принципом, як конструктор. Він вирішує освітні завдання мінімальними для цього завдання засобами і не вимагає покупки тих його частин, які Вам поки не потрібні.

·        STELLUS орієнтований на викладання не тільки технічних, але також і гуманітарних, і навіть творчих дисциплін.

·        STELLUS покриває всі можливі завдання підготовки освітнього процесу, власне освітнього процесу і зберігання даних про нього і не вимагає для їх реалізації придбання ніяких додаткових програм і пристроїв.

·        у STELLUS дуже зручний інтерфейс з можливістю викладати як на російському, так і на будь-якій іншій мові.

·        STELLUS може бути використаний як системоутворюючій комплекс з іншими системами дистанційного навчання у великих освітніх системах. Зрозуміло, він підтримує міжнародний стандарт обміну даними.

·        STELLUS стійко підтримує дуже велику кількість користувачів (5000 на одну серверну ліцензію). При цьому витрати з розрахунку на навчання одного студента в семестр нижче, ніж в будь-якій іншій системі дистанційного навчання.

·        STELLUS дозволяє деякі етапи процесу навчання проводити в автономному режимі, без доступу в мережу Інтернет. включає все необхідне для роботи учбового центру корпорації. Він може бути використаний як основа для організації бізнесу в області підготовки учбових матеріалів. Застосування STELLUS в учбових закладах доречно при будь-якій формі навчання - очній, заочній, екстернату або будь-якої їх комбінації.

Недоліки:

·            обмежена російська локалізація;

·        вибір питань в тестуванні проводиться не випадковим чином.

Українською компанією «Метасофт» була розроблена система дистанційного навчання “Meta-Exam” [9], яка є унікальним програмним продуктом, розробленим для організації усесвітньої мережі проведення іспитів, не обмеженого одним університетом або організацією.

Основні характеристики продукту:

·            уніфікація і спрощення замовлення і складання електронних іспитів;

·        спрощення взаємодії між учасниками системи (екзаменаційні органи, екзаменаційні центри, кандидати);

·        гарантована достовірність взаємодії учасників системи, підтверджена використанням EJB технології, механізмів сегрегації і авторизації;

·        однією з найважливіших особливостей, унікальною для даного продукту, є механізм ідентифікації і контроль поведінки кандидата під час іспиту.

Система дистанційного навчання “Meta-Exam” може підтримувати усесвітню мережу екзаменаційних центрів з одним контрольним центром так добре, як і невелику локальну екзаменаційну мережу, використовуючи єдину архітектуру. “Meta-Exam” може забезпечувати і проводити різні види іспитів в різних сферах застосування, одночасно підтримуючи бізнес модель декількох учбових закладів. Система використовує механізми розподілу даних, такі як сегрегація, яка дозволяє різним організаціям працювати в одній і тій же системі “Meta-Exam”, при цьому, не підозрюючи про це і не підпадаючи під вплив один одного, при одночасному використанні системи.

Система “Meta-Exam” може виконувати різні види іспитів, наприклад, такі, які представлені за допомогою веб-браузера, автономного програмного забезпечення або при використанні власного презентаційного програмного забезпечення з мінімальною складністю інтеграції кожного виду. Система може підтримувати будь-який вид іспиту, якщо є його опис і інтерфейси для взаємодії з екзаменаційним устаткуванням третьої сторони. Це забезпечує високий рівень гнучкості і можливість завершення будь-якого екзаменаційного завдання, використовуючи одну систему, з централізованим сховищем даних на сервері, який дає, при необхідності, доступ до всіх, пов'язаних з іспитами, даних. Система може працювати з сотнями одночасно працюючими користувачами. У разі значного збільшення кількості користувачів, єдине, що буде необхідно зробити, це збільшити серверні потужності. Система може здійснювати до сотень тисяч іспитів в рік.

Система “Meta-Exam” забезпечує потенційно необмежену надійність, обумовлену тільки конфігурацією технічних засобів. При використанні сучасної СУБД з реплікацією, двох або більш серверів для бази даних і двох або більш серверів додатків, система володіє високим (майже досконалим) рівнем надійності. Система може забезпечити високий рівень надійності, достатній для більшості завдань в менш дорогих конфігураціях. Навіть при мінімальних конфігураціях, система здатна забезпечити велику надійність, обумовлену застосованими технологіями, такими як EJB.

При виконанні будь-якого завдання, Система використовує різні механізми безпеки, такі як аутентифікація і гнучка авторизація користувача. Жорсткі обмеження до даних не дадуть користувачеві доступу до даних, які для нього не призначені. При виконанні дозволених завдань, такі механізми як сегрегація, не дозволять адміністраторові екзаменаційного центру подивитися дані іншого екзаменаційного центру. Системна функціональність будується на механізмі ролей. Кожна роль має відповідне окреме автономне клієнтське програмне забезпечення, що підтримує всю функціональність, доступну для цієї ролі. Також може використовуватися шифрування трафіку за допомогою SSL.

До недоліків системи “Meta-Exam” можна віднести наступне:

·            у користувачів є нарікання на інтерфейс СДН;

·        обмежена масштабність;

·        недостатня функціональність СДН;

·        вибір питань в тестуванні проводиться не випадковим чином.

Також запропонована система дистанційного навчання, використовувана в Українській інженерно-педагогічній академії, Moodle [10], яка призначена для організації навчання Online в мережевому середовищі з використанням технологій Інтернет. Система забезпечує різноманіття процедур навчання on-line, комбінуванням яких може бути організоване ефективне навчання в установі освіти. Ця система є повноцінною системою управління дистанційним навчанням і розповсюджується безкоштовно як Open Source software.

Система Moodle має широкі можливості по створенню дистанційного курсу. Учбовий матеріал може включати текст, графіку, мультимедіа, які можна створювати в стандартних редакторах і тільки тоді переносити їх в систему. Як завершені інформаційні матеріали в системі рекомендується використовувати стандартні формати файлів, створених в Microsoft Word, Excel, PowerPoint і так далі, що дозволяє ефективно використовувати розробки, що вже існують у викладачів: електронні тексти лекцій, презентації, практичні завдання.

Електронний курс в системі MOODLE може включати лекційний матеріал, термінологічний словник, практичні завдання, тести, контрольні питання. У системі викладач як контроль знань оцінює опубліковані студентом:

·            повідомлення на форумі;

·        записи в термінологічному словнику;

·        записи в журналі (робочій книзі);

·        результати виконання завдань, які присилаються у вигляді одного файлу на сервер;

·        відповіді, отримані в результаті виконання практичного завдання;

·        результати тестування.

Вибір питань в тестуванні системи Moodle проводитися випадковим чином для кращого закріплення знань студентів.

Викладач самостійно вибирає шкалу оцінювання відповіді (від 0 до 100 балів) і визначає те, які саме елементи дистанційного курсу є складовими підсумкової оцінки.

Безумовною гідністю системи Moodle є також те, що створення дистанційного курсу не вимагає від викладачів особливих знань в області інформаційних технологій. Вона дозволяє за допомогою стандартних засобів (редакторів, веб-форм і тому подібне) швидко і просто створити повноцінний комплект електронних учбових матеріалів з можливістю редагування і управління ним в реальному масштабі часу.

Як і при аналізі попередніх комп'ютерних систем, слід зазначити наступні недоліки системи MOODLE:

·            неадекватність перекладу;

·        наявність проблем з кодуванням сторінок електронних учбових видань;

·        якщо електронне учбове видання містить в собі безліч дрібних ресурсів, наприклад картинок, то спостерігається помітне зниження продуктивності програми.

Проведений аналіз близьких до тематики дипломної роботи розробок дозволив сформувати наступну порівняльну таблицю характеристик систем дистанційного навчання (табл. 1.1).

Таблиця 1.1 Порівняльна таблиця систем дистанційного навчання

Назва

1

2

3

4

5

6

“Meta-Exam”

Internet Explorer, Mozilla

Oracle, DB/2, Informix, MS SQL

+

-

+

+

Competentum.Magister

Internet Explorer, Mozilla

MaxDB/ SapDB

+

+

+

+

Redclass

Internet Explorer, Mozilla

Oracle 8i, 9i, 10g

-

-

+

+

STELLUS

Internet Explorer, Mozilla

Interbase

-

-

+

+

Moodle

Internet Explorer, Mozilla

MySQL

-

+

+

+


де:

1 - Програма - переглядач;

2 - СУБД, на основі якої організована БД результатів навчання;

3 - Русифікація (повний переклад системи російською мовою, немає проблем з кодуванням);

4 - Випадковий вибір питань при тестовому контролі;

5 - Наявність повчального блоку;

6 - Використання скриптів для створення активних Web-сторінок.

Як видно з приведеної таблиці, розглянуті системи дистанційного навчання мають ряд недоліків, що ускладнюють їх використання в цілях тестування учбових досягнень студентів. Дані системи розраховані не тільки на контроль, але і на навчання, що ускладнює їх використання для дистанційного тестування і зменшує швидкодію системи. Основні недоліки таких систем також стосуються можливості їх використання викладачами, складнощі освоєння систем ДН. Слід зазначити і незначну кількість систем ДН, що дозволяють об'єктивно оцінити відповіді студента на тестові питання, і відсутність повнофункціональних русифікованих версій систем автоматизованого дистанційного тестування.

1.2 Постановка задачі


1.2.1 Змістовна постановка задачі

На сьогоднішній день існує значна кількість систем дистанційного навчання, під якими розуміють сукупність організаційних, телекомунікаційних, педагогічних і наукових ресурсів, залучених в створення і практичне здійснення освітніх програм з використанням дистанційної технології навчання. Організаційно системи ДН складаються з координуючих органів, дослідницьких організацій, базових учбових закладів, мережі університетів і учбових центрів дистанційного навчання. Багато систем дистанційної освіти досягли зараз такого рівня підготовки студентів до здачі іспитів на отримання атестатів, дипломів і ступенів, який не поступається рівню, що забезпечується традиційними учбовими закладами, а також відповідає всім встановленим державою вимогам за змістом, умовам і вартості навчання. Проте ці системи є типовими, в них присутнє як навчання, так і контроль, що ускладнює їх використання для дистанційного тестування і зменшує їх швидкодію. У контролюючому блоці вибір питань організований не завжди випадковим чином, унаслідок чого контроль не об'єктивний. Системи засновані на мові html з використанням скриптів, що ускладнює використання програмних модулів.

На основі проведеного аналізу місця і ролі систем дистанційного навчання в учбовому процесі вузу, розроблених і представлених в мережі Internet відкритих систем ДН, загальна задача, що вирішується при виконанні дипломної роботи, формулюється таким чином: на основі аналізу існуючих розробок систем ДН, з урахуванням вимог до автоматизованого тестування, що висуваються педагогічною наукою, необхідно розробити систему автоматизованого тестування для дистанційного навчання, що задовольняє вимогам простоти використання, недорогої ціни, легкого розповсюдження і дозволяючої будь-якому студентові швидко відповісти на тестові питання.

Для вирішення поставленої загальної задачі необхідно вирішити наступні приватні задачі:

1. Проаналізувати існуючі системи.

2. Визначити комп'ютерні засоби, що забезпечують розробку системи автоматизованого тестування для дистанційного навчання (САТДН).

3. Виділити і систематизувати вимоги, що висуваються до автоматизованого тестування і систем ДН.

4. Розробити базу даних вхідної інформації для системи ДН, що включає банк тестових питань і відповідей до них, списки груп, що проходять навчання в поточному навчальному році, списки студентів, назви дисциплін, семестрів, модулів, а також форми для введення/виводу вказаної інформації.

5. Розробити інформаційну підсистему САТДН, що здійснює введення, зберігання, обробку і представлення інформації бази даних.

. Розробити адміністративну підсистему САТДН, що здійснює ідентифікацію користувача в САТДН, розмежування доступу до інформації бази даних для студента і викладача, визначаючу дані (тестові питання) для контролю даного студента на даному етапі навчання.

. Розробити контролюючу підсистему САТДН.

7. Апробовувати розроблену САТДН в процесі навчання експериментальної групи.

Логічна схема рішення загальної задачі дипломної роботи зображена на мал. 1.4.

Мал. 1.4. Логічна схема рішення задачі дипломної роботи

1.2.2 Вибір методів рішення задачі

У разі рішення поставленої вище задачі дипломної роботи, направленої на розробку системи автоматизованого тестування для дистанційного навчання, методами рішення є програмні засоби, що забезпечують розробку якісного програмного продукту і формування вихідних друкарських форм.

У таблиці 1.1 приведений перелік програмних засобів, використовуваних авторами існуючих розробок для реалізації систем ДН і для формування вихідних форм. Як видно з таблиці, основними програмними платформами, використовувані існуючими системами ДН, є Internet Explorer і Mozilla. Проте істотним недоліком цих платформ є необхідність створення скриптів (складність їх написання, відключення при безпечному режимі роботи оглядачів). Виходячи з цього, як програмна платформа слід вибрати середовище проектування, що відрізняється простотою використання, розповсюдження, простотою написання програмного коду. Такою програмною платформою може бути, наприклад, середовище проектування Web-сайтів ASP .Net на основі мови Visual Basic, яка призначена для розробки сценаріїв на стороні серверів, для створення інтерактивних Web-сторінок. У ASP процес створення Web - додатків значно спрощений. Так, підключення до бази даних і задіювання додаткових можливостей настройки Web - сторінок може бути реалізовано всього декількома рядками сценарію. При роботі з ASP достатньо лише знання Microsoft Jscript, Microsoft Visual Basic Scripting Edition. Використання компонентів COM в ASP дозволяє значно розширити можливості ASP-сторінок. Мова програмування Visual Basic достатньо проста при написанні програмного коду, а також, на сьогоднішній день, використовується при розробці і доопрацюванні сучасних програмних продуктів (наприклад, VBA для офісних програмних продуктів).

Як видно з таблиці 1.1, основними базами даних, використовуваними в існуючих системах ДН, є Oracle і SQL. Не дивлячись на потужність цих БД і їх значні можливості, до їх недоліків слід віднести високу трудомісткість розробки БД в цих СУБД, а також їх малу поширеність і складність використання. Отже, для створення БД вхідної інформації слід використовувати СУБД MS Access, позбавлену вищезгаданих недоліків і забезпечуючу якісну, але нетрудомістку розробку САТДН. До достоїнств MS Access при використанні її для розробки САТДН можна віднести наступне:

·            стандарт Microsoft;

·        сумісність з іншими додатками Office;

·        простота у використанні;

·        звичний для користувачів інтерфейс програмних застосувань MS Office;

·        можливість працювати з однією формою без використання стандартного вікна бази даних (для початкуючих користувачів);

·        стиснення бази даних при необхідності економити місце на диску;

·        низькі вимоги до апаратного забезпечення: Pentium 75, 32 Mb RAM (8 Mb для Access), Windows 95/98;

·        прискорене освоєння додатку завдяки використанню вбудованих рішень;

·        широке розповсюдження.

Таким чином, підводячи підсумок вище сказаному, в цілях дослідження, що проводиться, як методи вирішення поставлених завдань дипломної роботи слід використовувати такі:

·        для розробки програмної платформи САТДН - середовище проектування Web-сайтів ASP .Net на основі мови Visual Basic з її можливостями створення інтерактивних Web-сторінок;

·        для розробки бази даних вхідної інформації САТДН - багатофункціональну, просту у використанні СУБД MS Access з її можливостями швидкого створення таблиць, форм, запитів без застосування складних операцій.

1.3 Змістовний опис структурних і функціональних особливостей інформаційної і адміністративної підсистем САТДН


1.3.1 Структура інформаційної і адміністративної підсистем САТДН

Інформаційна підсистема САТДН являє собою базу даних, що включає наступні таблиці:

·        «Групи» (мал. 1.5)

Мал. 1.5. Таблиця «Групи»

·        «ПІБ» (мал. 1.6)

Мал. 1.6. Таблиця «ПІБ»

·        «Дисципліни» (мал. 1.7)

Мал. 1.7. Таблиця «Дисципліни»

·       
«Семестри» (мал. 1.8)

Мал. 1.8. Таблиця «Семестри»

·        «Модулі» (мал. 1.9)

Мал. 1.9. Таблиця «Модулі»

·        допоміжну таблицю (мал. 1.10)

Мал. 1.10. Допоміжна таблиця

·        основні таблиці (мал. 1.11)

Мал. 1.11. Приклад основної таблиці

·        «Протокол тестування» (мал. 1.12)

Мал. 1.12. Таблиця «Протокол тестування»

Схема даних розробленої інформаційної підсистеми відображена на малюнку 1.13.

Мал. 1.13. Схема даних інформаційної підсистеми

В адміністративну підсистему САТДН включені наступні Web-сторінки:

·        титульна сторінка (мал. 1.14)

Мал. 1.14. Титульна сторінка САТДН

·        Web-сторінка, що здійснює вибір користувача і що дозволяє розмежувати доступ до можливостей системи (мал. 1.15)

Мал. 1.15. Web-сторінка, що розмежовує доступ між викладачем і студентом

·        Web-сторінка реєстрації студента (вибір особистих даних і академічної групи з можливих - визначених в базі даних) (мал. 1.16)

Мал. 1.16. Web-сторінка реєстрації студента

·        Web-сторінка вибору необхідних для тестування дисципліни, семестру, модулю (мал. 1.17)

Мал. 1.16. Web-сторінка вибору необхідних для тестування дисципліни, семестру, модулю

1.3.2 Функціональні особливості САТДН

В ролі функціональних особливостей виступають наступні обмеження:

·        для інформаційної підсистеми:

§  таблиця «Модулі» повинна містити не більше 3 модулів (2 або 3) і підсумковий модулю;

§  основні таблиці (наприклад, таблиця «Тест_ДН_9 с_2 м», таблиця «Тест_ІОТ_1 с_1 м» і т. д.) повинні містити не більше 6 варіантів відповідей;

§  структура основних таблиць повинна бути наступною: код тесту, питання, кількість варіантів відповідей, номер правильної відповіді, варіанти відповідей;

§  при заповненні основних таблиць з тестовими завданнями знаки « », “ ”, ‘ повинні бути замінені на символ апострофа `.

·        для адміністративної підсистеми:

§  при введенні користувача «tutor» необхідно також вводити пароль: «1972»;

§  при введенні користувача «student» пароль вводити необов'язково;

§  при виборі користувачем student учбової групи, список ПІБ студентів повинен відповідати вибраній раніше групі;

§  при виборі користувачем student читаної дисципліни, список семестрів повинен відповідати вибраній дисципліні;

§  при виборі користувачем student семестру, список модулів повинен відповідати вибраному семестру.

1.4 Інформаційне забезпечення САТДН


1.4.1 Опис інформаційного забезпечення САТДН

Процес формування вихідної документації представлений схемами, зображеними на мал. 1.17 і на мал. 1.18.

Мал. 1.17. Схема формування вихідної документації в САТДН для користувача - студент

Мал. 1.18. Схема формування вихідної документації в САТДН для користувача - викладач

1.4.2 Опис внемашинной інформаційної бази

Відомості про вхідні документи САТДН представлені в таблиці 1.2.

Таблиця 1.2 Вхідні документи САТДН

Код докум

Найменування документу

Вхідні дані

Заповнюваний розділ

Періодичвведення

1

ВХ1

Освітньо-професійна програма бакалавра

Перелік тем по дисциплінам

Таблиця з тестами («Тест_ДН_9 с_2 м», «Тест_ДН_9 с_3 м» и др.)

На початку учбового семестру

2

ВХ2

Освітньо-професійна програма фахівця

Перелік тем по дисциплінам

Таблиця з тестами («Тест_ДН_9 с_2 м», «Тест_ДН_9 с_3 м» и др.)


3

ВХ3

Освітньо-професійна програма магістра

Перелік тем по дисциплінам

Таблиця з тестами («Тест_ДН_9 с_2 м», «Тест_ДН_9 с_3 м» и др.)


4

ВХ4

Таблиця «Групи»

Код групи, Група

Група


5

ВХ5

Таблиця «Дисципліни»

Код дисципліни, Дисципліна

Дисципліна


6

ВХ6

Таблиця «Семестри»

Код семестру, Семестр

Семестр


7

ВХ7

Таблиця «Модулі»

Код модуля, Модуль

Модуль


8

ВХ8

Таблиця «ПІБ»

Код ПІБ, ПІБ, Код групи


9

ВХ9

Таблиця «Вибір таблиці з тестами»

Код вибору таблиць, Код дисципліни, Код групи, Код семестру, Код модуля, Ім’я таблиці

Ім’я таблиці


10

ВХ10

Таблиця «Тест_ДН_9 с_2 м»

Код тесту, Питання, Кількість варіантів відповідей, Правильна відповідь, а), б), в), г), д), є)

Питання , Кількість варіантів відповідей, Правильна відповідь, а), б), в), г)


11

ВХ11

Таблиця «Тест_ДН_9 с_3 м»

Код тесту, Питання, Кількість варіантів відповідей, Правильна відповідь, а), б), в), г), д), є)

Питання, Кількість варіантів відповідей, Правильна відповідь, а), б), в)


12

ВХ12

Таблиця «Тест_ДН_9 с_підсумковий»

Код тесту, Питання, Кількість варіантів відповідей, Правильна відповідь, а), б), в), г), д), є)

Питання, Кількість варіантів відповідей, Правильна відповідь, а), б), в), г)


13

ВХ13

Таблиця «Тест_ІОТ_1 с_1 м»

Код тесту, Питання, Кількість варіантів відповідей, Правильна відповідь, а), б), в), г), д), є)

Питання, Кількість варіантів відповідей, Правильна відповідь, а), б), в), г)


14

ВХ14

Таблиця «Тест_ІОТ_1 с_2 м»

Код тесту, Питання, Кількість варіантів відповідей, Правильна відповідь, а), б), в), г), д), є)

Питання, Кількість варіантів відповідей, Правильна відповідь, а), б), в)


15

ВХ15

Таблиця «Тест_ІОТ_1 с_3 м»

Код тесту, Питання, Кількість варіантів відповідей, Правильна відповідь, а), б), в), г), д), є)

Питання, Кількість варіантів відповідей, Правильна відповідь, а), б), в)


16

ВХ16

Таблиця «Тест_ІОТ_1 с_підсумковий»

Код тесту, Питання, Кількість варіантів відповідей, Правильна відповідь, а), б), в), г), д), є)

Питання, Кількість варіантів відповідей, Правильна відповідь, а), б), в), г)


17

ВХ17

Таблиця «Тест_ІОТ_2 с_1 м»

Код тесту, Питання, Кількість варіантів відповідей, Правильна відповідь, а), б), в), г), д), є)

Питання, Кількість варіантів відповідей, Правильна відповідь, а), б), в)


18

ВХ18

Таблиця «Тест_ІОТ_2 с_2 м»

Код тесту, Питання, Кількість варіантів відповідей, Правильна відповідь, а), б), в), г), д), є)

Питання, Кількість варіантів відповідей, Правильна відповідь, а), б), в)


19

ВХ19

Таблиця «Тест_ІОТ_2 с_підсумковий»

Код тесту, Питання, Кількість варіантів відповідей, Правильна відповідь, а), б), в), г), д), є)

Питання, Кількість варіантів відповідей, Правильна відповідь, а), б), в)


20

ВХ20

Таблиця «Тест_ПрПр_3 с_1 м»

Код тесту, Питання, Кількість варіантів відповідей, Правильна відповідь, а), б), в), г), д), є)

Питання, Кількість варіантів відповідей, Правильна відповідь, а), б), в), г)


21

ВХ21

Таблиця «Тест_ПрПр_3 с_2 м»

Код тесту, Питання, Кількість варіантів відповідей, Правильна відповідь, а), б), в), г), д), є)

Питання, Кількість варіантів відповідей, Правильна відповідь, а), б), в)


22

ВХ22

Таблиця «Тест_ПрПр_3 с_3 м»

Код тесту, Питання, Кількість варіантів відповідей, Правильна відповідь, а), б), в), г), д), є)

Питання, Кількість варіантів відповідей, Правильна відповідь, а), б), в)


23

ВХ23

Таблиця «Тест_ПрПр_3 с_підсумковий»

Код тесту, Питання, Кількість варіантів відповідей, Правильна відповідь, а), б), в), г), д), є)

Питання, Кількість варіантів відповідей, Правильна відповідь, а), б), в), г)


24

ВХ24

Таблиця «Тест_ПрПр_4 с_1 м»

Код тесту, Питання, Кількість варіантів відповідей, Правильна відповідь, а), б), в), г), д), є)

Питання, Кількість варіантів відповідей, Правильна відповідь, а), б), в), г)


25

ВХ25

Таблиця «Тест_ПрПр_4 с_2 м»

Код тесту, Питання, Кількість варіантів відповідей, Правильна відповідь, а), б), в), г), д), є)

Питання, Кількість варіантів відповідей, Правильна відповідь, а), б), в)


26

ВХ26

Таблиця «Тест_ПрПр_4 с_3 м»

Код тесту, Питання, Кількість варіантів відповідей, Правильна відповідь, а), б), в), г), д), є)

Питання, Кількість варіантів відповідей, Правильна відповідь, а), б), в)


27

ВХ27

Таблиця «Тест_ПрПр_4 с_підсумковий»

Код тесту, Питання, Кількість варіантів відповідей, Правильна відповідь, а), б), в), г), д), є)

Питання, Кількість варіантів відповідей, Правильна відповідь, а), б), в), г)


28

ВХ28

Таблиця «Тест_ПрПр_5 с_1 м»

Код тесту, Питання, Кількість варіантів відповідей, Правильна відповідь, а), б), в), г), д), є)

Питання, Кількість варіантів відповідей, Правильна відповідь, а), б), в), г)


29

ВХ29

Таблиця «Тест_ПрПр_5 с_2 м»

Код тесту, Питання, Кількість варіантів відповідей, Правильна відповідь, а), б), в), г), д), є)

Питання, Кількість варіантів відповідей, Правильна відповідь, а), б), в)


30

ВХ30

Таблиця «Тест_ПрПр_5 с_3 м»

Код тесту, Питання, Кількість варіантів відповідей, Правильна відповідь, а), б), в), г), д), є)

Питання, Кількість варіантів відповідей, Правильна відповідь, а), б), в)


31

ВХ31

Таблиця «Тест_ПрПр_5 с_підсумковий»

Код тесту, Питання, Кількість варіантів відповідей, Правильна відповідь, а), б), в), г), д), є)

Питання, Кількість варіантів відповідей, Правильна відповідь, а), б), в), г)


32

ВХ32

Таблиця «Тест_КТ_7 с_1 м»

Код тесту, Питання, Кількість варіантів відповідей, Правильна відповідь, а), б), в), г), д), є)

Питання, Кількість варіантів відповідей, Правильна відповідь, а), б), в), г), д), є)


33

ВХ33

Таблиця «Тест_КТ_7 с_2 м»

Код тесту, Питання, Кількість варіантів відповідей, Правильна відповідь, а), б), в), г), д), є)

Питання, Кількість варіантів відповідей, Правильна відповідь, а), б), в)


34

ВХ34

Таблиця «Тест_КТ_7 с_3 м»

Код тесту, Питання, Кількість варіантів відповідей, Правильна відповідь, а), б), в), г), д), є)

Питання, Кількість варіантів відповідей, Правильна відповідь, а), б), в)


35

ВХ35

Таблиця «Тест_КТ_7 с_підсумковий»

Код тесту, Питання, Кількість варіантів відповідей, Правильна відповідь, а), б), в), г), д), є)

Питання, Кількість варіантів відповідей, Правильна відповідь, а), б), в), г), д), є)


36

ВХ36

Таблиця «Тест_КТ_8 с_2 м»

Код тесту, Питання, Кількість варіантів відповідей, Правильна відповідь, а), б), в), г), д), є)

Питання, Кількість варіантів відповідей, Правильна відповідь, а), б), в)


37

ВХ37

Таблиця «Тест_КТ_8 с_3 м»

Код тесту, Питання, Кількість варіантів відповідей, Правильна відповідь, а), б), в), г), д), є)

Питання, Кількість варіантів відповідей, Правильна відповідь, а), б), в)


38

ВХ38

Таблиця «Тест_КТ_8 с_підсумковий»

Код тесту, Питання, Кількість варіантів відповідей, Правильна відповідь, а), б), в), г), д), є)

Питання, Кількість варіантів відповідей, Правильна відповідь, а), б), в)


39

ВХ39

Таблиця «Тест_ІКТ_1 с_1 м»

Код тесту, Питання, Кількість варіантів відповідей, Правильна відповідь, а), б), в), г), д), є)

Питання, Кількість варіантів відповідей, Правильна відповідь, а), б), в), г)


40

ВХ40

Таблиця «Тест_ІКТ_1 с_2 м»

Код тесту, Питання, Кількість варіантів відповідей, Правильна відповідь, а), б), в), г), д), є)

Питання, Кількість варіантів відповідей, Правильна відповідь, а), б), в), г)


41

ВХ41

Таблиця «Тест_ІКТ_1 с_3 м»

Код тесту, Питання, Кількість варіантів відповідей, Правильна відповідь, а), б), в), г), д), є)

Питання, Кількість варіантів відповідей, Правильна відповідь, а), б), в), г)


42

ВХ42

Таблиця «Тест_ІКТ_1 с_підсумковий»

Код тесту, Питання, Кількість варіантів відповідей, Правильна відповідь, а), б), в), г), д), є)

Питання, Кількість варіантів відповідей, Правильна відповідь, а), б), в), г)


43

ВХ43

Таблиця «Тест_ІКТ_2 с_1 м»

Код тесту, Питання, Кількість варіантів відповідей, Правильна відповідь, а), б), в), г), д), є)

Питання, Кількість варіантів відповідей, Правильна відповідь, а), б), в), г)


44

ВХ44

Таблиця «Тест_ІКТ_2 с_2 м»

Код тесту, Питання, Кількість варіантів відповідей, Правильна відповідь, а), б), в), г), д), є)

Питання, Кількість варіантів відповідей, Правильна відповідь, а), б), в)


45

ВХ45

Таблиця «Тест_ІКТ_2 с_підсумковий»

Код тесту, Питання, Кількість варіантів відповідей, Правильна відповідь, а), б), в), г), д), є)

Питання, Кількість варіантів відповідей, Правильна відповідь, а), б), в), г)



Відомості про вихідні документи САТДН представлені в таблиці 1.3.

Таблиця 1.3 Вихідні документи САТДН

Код документу

Найменування документу (Web-сторінка)

Тип документу

Періодичність видачі






1

ВИХ1

«Результати тестування»

Web-форма

По вимозі

2

ВИХ2

«Статистика»

Web-форма

По вимозі

3

ВИХ3

«Відбір»

Web-форма

По вимозі

4

ВИХ4

«Аналіз»

Web-форма

По вимозі

5

ВИХ5

«Протокол тестування»

Таблиця БД

По вимозі


1.4.3 Опис системи класифікації і кодування

Механізм кодування використовується при складанні наступних таблиць БД: «Модулі», «Семестри», «Вибір таблиці з тестами». Умовні позначення, використовувані в таблиці БД «Модулі», приведені в табл. 1.4

Таблиця 1.4 Система кодування в таблиці БД «Модулі»

Код

Значення кодованого об'єкту

1

Модуль №1

2

Модуль №2

3

Модуль №3

підсумковий

Підсумковий модуль, який проводиться по закінченню учбового семестру


Умовні позначення, використовувані в таблиці БД «Семестри», приведені в табл. 1.5

Таблиця 1.5 Система кодування в таблиці БД «Семестри»

Код

Значення кодованого об'єкту

1

Семестр №1

2

Семестр №2

3

Семестр №3

4

Семестр №4

5

Семестр №5

6

Семестр №6

7

Семестр №7

8

Семестр №8

9

Семестр №9

10

Семестр №10


Умовні позначення, використовувані в таблиці БД «Вибір таблиці з тестами», приведені в табл. 1.6

Таблиця 1.6 Система кодування в таблиці БД «Вибір таблиці з тестами»

Код

Значення кодованого об'єкту

Тест_ДН_9 с_2 м

Тестові питання з дисципліни «Основи дистанційного навчання» в 9 семестрі по 2 модулю

Тест_ДН_9 с_3 м

Тестові питання з дисципліни «Основи дистанційного навчання» в 9 семестрі по 3 модулю

Тест_ДН_9 с_підсумковий

Тестові питання з дисципліни «Основи дистанційного навчання» в 9 семестрі по підсумковому модулю

Тест_ІОТ_1 с_1 м

Тестові питання з дисципліни «Інформатика і обчислювальна техніка» в 1 семестрі по 1 модулю

Тест_ІОТ_1 с_2 м

Тестові питання з дисципліни «Інформатика і обчислювальна техніка» в 1 семестрі по 2 модулю

Тест_ІОТ_1 с_3 м

Тестові питання з дисципліни «Інформатика і обчислювальна техніка» в 1 семестрі по 3 модулю

Тест_ІОТ_1 с_підсумковий

Тестові питання з дисципліни «Інформатика і обчислювальна техніка» в 1 семестрі по підсумковому модулю

Тест_ІОТ_2 с_1 м

Тестові питання з дисципліни «Інформатика і обчислювальна техніка» в 2 семестрі по 1 модулю

Тест_ІОТ_2 с_2 м

Тестові питання з дисципліни «Інформатика і обчислювальна техніка» в 2 семестрі по 2 модулю

Тест_ІОТ_2 с_підсумковий

Тестові питання з дисципліни «Інформатика і обчислювальна техніка» в 2 семестрі по підсумковому модулю

Тест_ПрПр_3 с_1 м

Тестові питання з дисципліни «Прикладне програмування» в 3 семестрі по 1 модулю

Тест_ПрПр_3 с_2 м

Тестові питання з дисципліни «Прикладне програмування» в 3 семестрі по 2 модулю

Тест_ПрПр_3 с_3 м

Тестові питання з дисципліни «Прикладне програмування» в 3 семестрі 3 модулю

Тест_ПрПр_3 с_підсумковий

Тестові питання з дисципліни «Прикладне програмування» в 3 семестрі по підсумковому модулю

Тест_ПрПр_4 с_1 м

Тестові питання з дисципліни «Прикладне програмування» в 4 семестрі по 1 модулю

Тест_ПрПр_4 с_2 м

Тестові питання з дисципліни «Прикладне програмування» в 4 семестрі по 2 модулю

Тест_ПрПр_4 с_3 м

Тестові питання з дисципліни «Прикладне програмування» в 4 семестрі по 3 модулю

Тест_ПрПр_4 с_підсумковий

Тестові питання з дисципліни «Прикладне програмування» в 4 семестрі по підсумковому модулю

Тест_ПрПр_5 с_1 м

Тестові питання з дисципліни «Прикладне програмування» в 5 семестрі по 1 модулю

Тест_ПрПр_5 с_2 м

Тестові питання з дисципліни «Прикладне програмування» в 5 семестрі по 2 модулю

Тест_ПрПр_5 с_3 м

Тестові питання з дисципліни «Прикладне програмування» в 5 семестрі по 3 модулю

Тест_ПрПр_5 с_підсумковий

Тестові питання з дисципліни «Прикладне програмування» в 5 семестрі по підсумковому модулю

Тест_КТ_7 с_1 м

Тестові питання з дисципліни «Комп'ютерні технології в навчальному процесі» в 7 семестрі по 1 модулю

Тест_КТ_7 с_2 м

Тестові питання з дисципліни «Комп'ютерні технології в навчальному процесі» в 7 семестрі по 2 модулю

Тест_КТ_7 с_3 м

Тестові питання з дисципліни «Комп'ютерні технології в навчальному процесі» в 7 семестрі по 3 модулю

Тест_КТ_7 с_підсумковий

Тестові питання з дисципліни «Комп'ютерні технології в навчальному процесі» в 7 семестрі по підсумковому модулю

Тест_КТ_8 с_2 м

Тестові питання з дисципліни «Комп'ютерні технології в навчальному процесі» в 8 семестрі по 2 модулю

Тест_КТ_8 с_3 м

Тестові питання з дисципліни «Комп'ютерні технології в навчальному процесі» в 8 семестрі по 3 модулю

Тест_КТ_8 с_підсумковий

Тестові питання з дисципліни «Комп'ютерні технології в навчальному процесі» в 8 семестрі по підсумковому модулю

Тест_ІКТ_1 с_1 м

Тестові питання з дисципліни «Інформатика і комп'ютерна техніка» в 1 семестрі по 1 модулю

Тест_ІКТ_1 с_2 м

Тестові питання з дисципліни «Інформатика і комп'ютерна техніка» в 1 семестрі по 2 модулю

Тест_ІКТ_1 с_3 м

Тестові питання з дисципліни «Інформатика і комп'ютерна техніка» в 1 семестрі по 3 модулю

Тест_ІКТ_1 с_підсумковий

Тестові питання з дисципліни «Інформатика і комп'ютерна техніка» в 1 семестрі по підсумковому модулю

Тест_ІКТ_2 с_1 м

Тестові питання з дисципліни «Інформатика і комп'ютерна техніка» в 2 семестрі по 1 модулю

Тест_ІКТ_2 с_2 м

Тестові питання з дисципліни «Інформатика і комп'ютерна техніка» в 2 семестрі по 2 модулю

Тест_ІКТ_2 с_підсумковий

Тестові питання з дисципліни «Інформатика і комп'ютерна техніка» в 2 семестрі по підсумковому модулю


1.4.4 Опис управління потоками інформації

Опис управління потоками інформації, що виражається в системі документообігу між вхідними і вихідними даними, представлений на мал. 1.19

Мал. 1.19. Система документообігу в САТДН

 

1.5 Функціональна структура інформаційної і адміністративної підсистем САТДН


Функціональні особливості інформаційної підсистеми САТДН визначаються призначенням таблиць:

·        таблиця «Групи» містить списки груп, що проходять навчання в поточному навчальному році;

·        таблиця «ПІБ» включає списки студентів з розбиттям їх на групи;

·        таблиця «Дисципліни» містить списки читаних учбових дисциплін;

·        таблиця «Семестри» містить перелік семестрів навчання;

·        таблиця «Модулі» містить інформацію про назви модулів (1, 2, 3 або підсумковий);

·        допоміжна таблиця встановлює відповідність між назвами дисциплін, груп, семестрів, модулів і таблицями з тестовими завданнями;

·        основні таблиці містять банк тестових питань і відповідей до них;

·        таблиця «Протокол тестування» зберігає відомості про хід і результати тестування студентів.

Адміністративна підсистема САТДН виконує наступні функції:

·        розмежовує доступ між викладачем і студентом;

·        дозволяє вводити ПІБ студента, групу, дисципліну, семестр, модуль;

·        дозволяє вибирати таблицю з бази даних відповідно до вибраних раніше групи, дисципліни, семестру, модулю.

Критерієм ефективності для інформаційної підсистеми САТДН є швидке і якісне заповнення (при необхідності, зміна) бази даних викладачем, для адміністративної підсистеми - відсутність збоїв при роботі з інформаційною підсистемою.

Інформаційна підсистема САТДН повинна надавати можливість заповнення бази даних з використанням сервісних функцій:

·        у існуючу форму по заповненню учбових груп (мал. 1.20) викладач може вводити назву групи, для якої він хоче провести тестування

Мал. 1.20. Форма по заповненню учбових груп


Мал. 1.21. Форма по заповненню дисциплін

·        форму із списком модулів (мал. 1.22) викладач не змінює

Мал. 1.22. Форма по заповненню модулів

·        у існуючу форму по заповненню прізвищ і ініціалів студентів, що проходять навчання (мал. 1.23), викладач може вводити ПІБ студентів, для яких він хоче провести тестування, а також вибрати із списку, що розкривається, назву відповідної групи

Мал. 1.23. Форма по заповненню ПІБ студентів

·        форму із списком семестрів (мал. 1.24) викладач може залишити без зміни

Мал. 1.24. Форма по заповненню семестрів

·        для швидкого створення таблиці з тестами викладач повинен виконати наступні дії:

§  у вікні бази даних вибрати вкладку Таблиці (мал. 1.25);

Мал. 1.25. Вибір вкладки Таблиці у вікні бази даних

§  створити таблицю в режимі Конструктора з наступними полями (мал. 1.26):

Мал. 1.26. Назви полів таблиці і відповідний їм тип даних

§  зберегти створену таблицю під ім'ям «Тест_”скорочена назва дисципліни”_”номер семестру”_”номер модулю”» (наприклад, «Тест_ДН_9 с_3 м»), натиснувши кнопку Зберегти на панелі інструментів;

Мал. 1.27. Вікно збереження таблиці БД (наприклад, таблиці

«Тест_ДН_9 с_3 м»)

§  натиснути кнопку ОК у вікні збереження таблиці;

§  за допомогою меню Вид\Режим таблиці (мал. 1.28) відкрити створену таблицю в режимі Таблиці (мал. 1.29);

Мал. 1.28. Вибір меню Вид\Режим таблиці

Мал. 1.29. Таблиця в режимі Таблиці

§  заповнити поля необхідним вмістом (мал. 1.30);

Мал. 1.30. Вид таблиці із заповненими полями

§  зберегти таблицю, натиснувши кнопку Зберегти на панелі інструментів.

·        у існуючій допоміжній формі, що встановлює відповідності між назвами дисциплін, груп, семестрів, модулів і таблицями з тестовими завданнями, викладач повинен вибрати дисципліну, групу, семестр, модуль з відповідних списків, що розкриваються, а також ввести ім'я створеної раніше таблиці з тестами (мал. 1.31);

Мал. 1.31. Допоміжна форма «Вибір таблиці з тестами»

при введенні даних в допоміжну таблицю викладач повинен скористатися відповідними списками, що розкриваються, створеними з використанням Майстра підстановок таким чином:

§  під час створення таблиці (наприклад, «ПІБ») в режимі Конструктора, при введенні типу даних для необхідного поля (наприклад, для поля «Код групи») з наявного списку, що розкривається, був вибраний рядок Майстер підстановок (мал. 1.32)

Мал. 1.32. Вибір Майстра підстановок

§  у діалоговому вікні Створення підстановки, що відкрилося автоматично, встановлений перемикач «Об'єкт “стовбець підстановки” використовуватиме значення з таблиці або запиту» (мал. 1.33)

Мал. 1.33. Вказівка способу набуття значень

§ 
натиснута кнопка Далі. У вікні, що відкрилося, вибрана таблиця із значеннями (наприклад, «Групи») (мал. 1.34)

Мал. 1.34. Вибір таблиці із значеннями

§  натиснута кнопку Далі. У вікні, що відкрилося, в полі Доступні поля виділено поле Група і переміщено за допомогою кнопки  в поле Вибрані поля (мал. 1.35)

Мал. 1.35. Переміщення рядка Група

§  натиснута кнопка Далі. Етап визначення порядку сортування пропущений (мал. 1.36)

Мал. 1.36. Вибір порядку сортування

§  натиснута кнопка Далі. Проглянуто вікно із списком значень, використовуваних для підстановки (мал. 1.37)

Мал. 1.37. Діалогове вікно із списком значень

§  натиснута кнопка Далі. У вікні, що відкрилося, заданий підпис для стовпця підстановки (наприклад, «Група») (мал. 1.38)

Мал. 1.38. Підпис стовпця підстановки

§  натиснута кнопка Готово, збережена таблиця. Таблиця «ПІБ» в режимі Конструктора має наступний вигляд (мал. 1.39):

Мал. 1.39. Таблиця «ПІБ» в режимі Конструктора після використання Майстра підстановок

§  у режимі Таблиці таблиця «ПІБ» містить список, що розкривається, в полі «Код групи» і має наступний вигляд (мал. 1.40):

Мал. 1.40. Таблиця «ПІБ» в режимі Таблиці

результатом визначення реляційних зв'язків між таблицями БД є схема даних (мал. 1.41)

Мал. 1.41. Схема даних інформаційної підсистеми

Адміністративна підсистема САТДН повинна надавати можливість входу в САТДН з використанням сервісних функцій:

·        відображення титульної сторінки (мал. 1.42)

Мал. 1.42. Титульна сторінка САТДН

Дана Web-сторінка повинна містити загальну інформацію (тему розробки, авторів розробки), а також кнопку Далі, натиснувши на яку здійснюється перехід на сторінку вибору користувача (мал. 1.43).

·        відображення Web-сторінки, що здійснює вибір користувача і що дозволяє розмежувати доступ до можливостей системи (мал. 1.43)

Мал. 1.43. Web-сторінка, що розмежовує доступ між викладачем і студентом

Дана Web-сторінка повинна містити: список можливих користувачів (tutor або student); поле для введення пароля (при виборі користувача tutor); кнопку Далі для переходу на сторінку реєстрації студента (мал. 1.44), якщо вибраний користувач student, або на сторінку проглядання статистичних даних, якщо вибраний користувач tutor.

·        відображення Web-сторінки реєстрації студента (вибір особистих даних і академічної групи з можливих - визначених в базі даних) (мал. 1.44)

Мал. 1.44. Web-сторінка реєстрації студента

Дана Web-сторінка повинна відображати: список груп, який проводиться на основі відповідної таблиці з розробленої БД; кнопку Відобразити список групи; список прізвищ і ініціалів студентів, які також відображаються з відповідної таблиці і відповідають вибраній раніше групі; кнопку Далі, за допомогою якої здійснюється перехід на сторінку з вибором необхідних для тестування дисципліни, семестру, модулю (мал. 1.45)

·        відображення Web-сторінки з вибором необхідних для тестування дисципліни, семестру, модулю (мал. 1.45)

Мал. 1.45. Web-сторінка з вибором необхідних для тестування дисципліни, семестру, модулю

Дана Web-сторінка повинна містити: список дисциплін; кнопку Введення дисципліни; кнопку Показати перелік семестрів; список семестрів; кнопку Введення семестру; кнопку Показати перелік модулів; список модулів; кнопку Далі, натиснувши на яку студент переходить до тестових питань. Вибір списків дисципліни, семестру, модулю повинен вироблятись також з відповідних таблиць БД.

·        результатом роботи адміністративної підсистеми повинно бути ім'я таблиці БД, що містить тестові завдання.

1.6 Розробка алгоритмів рішення функціональної задачі


Алгоритми рішення функціональної задачі для інформаційної і адміністративної підсистем САТДН полягають у визначенні послідовності дій, необхідних для описаного в попередньому параграфі функціонування системи.

Як вже наголошувалося раніше, для розробки інформаційної підсистеми САТДН найбільш доцільним є використання СУБД MS Access. Вибір даного застосування пов'язаний з тим, що MS Access не тільки багатофункціональна, проста у використанні СУБД, але також надає можливість швидкого створення реляційних таблиць без застосування складних операцій.

Розробка адміністративної підсистеми САТДН виконувалася на основі середовища проектування Web-сайтів ASP .Net на основі мови Visual Basic. Вибір даної програмної основи пов'язаний з унікальними можливостями ASP .Net по створенню інтерактивних, мультимедійних, ефективних Web-додатків, що здійснюють активну програмну взаємодію з сервером [11].

Розглянемо основні алгоритми автоматизації визначеної в попередньому параграфі функціональності САТДН засобами MS Access і ASP .Net.

 

.6.1Алгоритми рішення функціональної задачі для інформаційної підсистеми САТДН

Для надання ергономічного інтерфейсу введення даних в інформаційну підсистему були розроблені наступні форми:

·        форма по заповненню учбових груп;

·        форма по заповненню дисциплін;

·        форма по заповненню модулів;

·        форма по заповненню ПІБ студентів;

·        форма по заповненню семестрів;

·        допоміжна форма «Вібір таблиці з тестами»

Створення форм здійснювалося на основі наступної послідовності дій:

·        у вікні бази даних вибрати вкладку Форми (мал. 1.46);

Мал. 1.46. Вибір вкладки Форми у вікні бази даних

·        вибрати режим Створення форми за допомогою майстра. Відкривається діалогове вікно Створення форм (мал. 1.47)

Мал. 1.47. Діалогове вікно Створення форм

·        у списку Таблиці і запити вказати необхідну таблицю (наприклад, «Групи») (мал. 1.48)

Мал. 1.48. Вибір таблиці Групи

·        у полі Доступні поля виділити поле Група і перемістити її, за допомогою кнопки , в поле Вибрані поля (мал. 1.49)

Мал. 1.49. Переміщення поля Група

·        натиснути кнопку Далі. У вікні, що відкрилося, вибрати зовнішній вигляд форми (наприклад, «стрічковий») (мал. 1.50)

Мал. 1.50. Вибір зовнішнього вигляду форми

·        натиснути кнопку Далі. У вікні, що відкрилося, вибрати стиль форми (наприклад, «офіційний») (мал. 1.51)

Мал. 1.51. Вибір стилю форми

·        натиснути кнопку Далі. У вікні, що відкрилося, задати ім'я форми (наприклад, «Групи»), поставити перемикач Подальших дій на Відкрити форму для перегляду і введення даних (мал. 1.52)

Мал. 1.52. Введення імені форми

·        натиснути кнопку Готово. Відкривається форма «Групи» (мал. 1.53)

Мал. 1.53. Форма «Групи»

1.6.1 Алгоритми рішення функціональної задачі для адміністративної підсистеми САТДН

Алгоритм дій по розмежуванню користувачів

При запуску САТДН запускається титульна сторінка. Слідом за титульною сторінкою слідує форма з вибором користувачів (tutor або student).

При введенні користувача «tutor» адміністративна підсистема виконує наступні дії:

·        аналізує ім'я введеного користувача;

·        аналізує введений пароль;

·        запам'ятовує введеного користувача;

·        здійснює перехід на сторінку із статистичними даними.

Схема алгоритму входу в систему під користувачем «tutor» представлена на мал. 1.54.

При введенні користувача «student» адміністративна підсистема виконує такі дії:

·        аналізує ім'я введеного користувача;

·        запам'ятовує введеного користувача;

·        здійснює перехід на сторінку з реєстрацією.

Схема алгоритму входу в систему під користувачем «student» представлена на мал. 1.55

 

Мал. 1.54. Схема алгоритму входу в систему під користувачем «tutor»

Мал. 1.55. Схема алгоритму входу в систему під користувачем «student»

Алгоритм дій по автоматичному відображенню списку групи і автоматичному відображенню прізвищ і ініціалів студентів

При виборі користувачем «student» назви групи з відповідного списку, адміністративна підсистема виконує наступні дії:

·        визначає значення змінної, що містить назву групи;

·        відображає з таблиці БД список студентів, відповідних назві вибраної групи;

·        запам'ятовує назву вибраної групи у відповідний стан.

При виборі групи використовується спеціальний об'єкт, що підключається до бази даних. При цьому відбувається встановлення списку прізвищ студентів для вибраної групи у відповідному елементі управління.

Схема алгоритму автоматичного відображення списку групи і автоматичного відображення прізвищ і ініціалів студентів представлена на мал. 1.56

Мал. 1.56. Схема алгоритму автоматичного відображення списку групи і автоматичного відображення прізвищ і ініціалів студентів

 

Алгоритм дій по збереженню прізвищ і ініціалів вибраного студента

При виборі прізвища і ініціалів студента з відповідного списку, адміністративна підсистема виконує наступні дії:

·        визначає значення змінної, що містить прізвище студентів;

·        здійснює перехід на сторінку з вибором дисципліни, семестру, модуля.

Схема алгоритму збереження прізвищ і ініціалів вибраного студента представлена на мал. 1.57

Мал. 1.57. Схема алгоритму збереження списку прізвищ і ініціалів вибраного студента

 

Алгоритм дій по автоматичному введенню назв дисциплін і автоматичному відображенню повного списку семестрів

При виборі користувачем «student» назви дисципліни з відповідного списку, адміністративна підсистема виконує наступні дії:

·        визначає значення змінної, що містить назву дисципліни;

·        запам'ятовує назву вибраної дисципліни у відповідний стан;

·        відображає з таблиці БД повний список семестрів, відповідних вибраній дисципліні.

При виборі дисципліни також використовується спеціальний об'єкт, що підключається до бази даних. При цьому відбувається встановлення списку семестрів для вибраної раніше дисципліни у відповідному елементі управління. Схема алгоритму автоматичного введення назв дисциплін і автоматичного відображення повного списку семестрів представлена на мал. 1.58

Мал. 1.58. Схема алгоритму автоматичного введення назв дисциплін і автоматичного відображення повного списку семестрів

 

Алгоритм дій з формування модернізованого списку семестрів

При відображенні повного списку семестрів, відображаються номери семестрів, що повторюються. Для модернізації списку семестрів з метою відображення унікальних номерів семестрів, адміністративна підсистема виконує наступні дії:

·        проглядає елементи з повного списку семестрів;

·        проглядає вже додані елементи з модернізованого списку семестрів;

·        якщо номер семестру ще не входить в модернізований список семестрів, то додавання цього номера в модернізований список семестрів;

·        збільшує кількість семестрів в модернізованому списку;

·        виведення модернізованого списку семестрів в елемент управління.

Схема алгоритму формування модернізованого списку семестрів представлена на мал. 1.60

Алгоритм дій по автоматичному введенню вибраного семестру і автоматичному відображенню повного списку модулів

При відображенні списку семестрів адміністративна підсистема виконує наступні дії:

·        визначає значення змінних, що містять назву дисципліни і номера семестрів;

·        запам'ятовує номер вибраного семестру у відповідний стан;

·        відображає з таблиці БД повний список модулів, відповідний вибраному семестру.

Схема алгоритму автоматичного введення вибраного семестру і автоматичного відображення повного списку модулів представлена на мал. 1.59

Мал. 1.59. Схема алгоритму автоматичного введення вибраного семестру і автоматичного відображення повного списку модулів

Алгоритм дій з формування модернізованого списку модулів

При відображенні списку модулів адміністративна підсистема виконує наступні дії:

·        проглядає елементи з повного списку модулів;

·        проглядає вже додані елементи з модернізованого списку модулів;

·        якщо номер модуля ще не входить в модернізований список модулів, то додавання цього номера в модернізований список модулів;

·        збільшує кількість модулів в модернізованому списку;

·        виведення модернізованого списку модулів в елемент управління.

Схема алгоритму формування модернізованого списку модулів представлена на мал. 1.61

 

Алгоритм дій по автоматичному вибору таблиці БД з тестовими завданнями відповідно до вибраних дисципліни, семестру, модулю

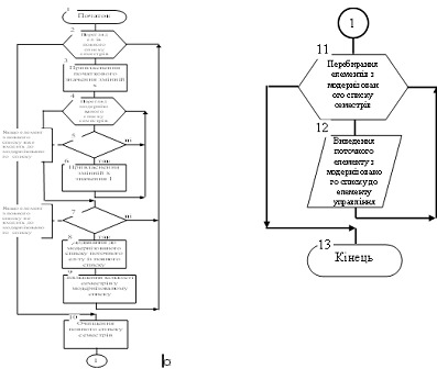
При автоматичному виборі таблиці БД адміністративна підсистема виконує наступні дії:

·        визначає значення змінної, що містить номери модулів;

·        запам'ятовує номери модулів у відповідний стан;

·        проводить перебір рядків БД;

·        виводить відповідну таблицю, якщо дані з таблиці співпадають з вибраними дисципліною, семестром, модулем;

·        задає початкові значення для кількості питань, що відображаються, кількості питань в модулі, номерів питань і відповідей, кількості правильних і неправильних відповідей, протоколу тестування;

·        здійснює перехід на сторінку з вибором кількості питань в модулі.

Схема алгоритму автоматичного вибору таблиці БД представлена на мал. 1.62

Мал. 1.62. Схема алгоритму автоматичного вибору таблиці БД

Розробка програмного забезпечення

Програмне забезпечення розробленої адміністративної підсистеми САТДН складається з двох основних частин:

·        розробка процедури, що реалізовує розмежування доступу між користувачами;

·        розробка процедури, що реалізовує реєстрацію студентів, а саме: автоматичне відображення списків учбових груп, списків прізвищ і ініціалів студентів, списків назв дисциплін, списків номерів семестрів і модулів.

Схеми алгоритмів таких процедур представлені в попередньому параграфі.

Розробка адміністративної підсистеми була реалізована в середовищі проектування Web-сайтів ASP .Net на основі мови Visual Basic. Розглянемо програмний код і особливості використання вказаних вище процедур.

Програмна реалізація процедури створення розмежування доступу користувачів

Як було вказано в п. 1.6.2.1, для розмежування користувачів (tutor або student) була розроблена спеціальна процедура, схема алгоритмів якої приведена на мал. 1.54. і мал. 1.55. Програмний код розробленої процедури приведений нижче.

 

Програмна реалізація процедури автоматичного відображення списку групи і автоматичного відображення прізвищ і ініціалів студентів

Як було вказано в п. 1.6.2.2, однією з сервісних функцій розробленої адміністративної підсистеми САТДН є можливість вибору на формі реєстрації учбової групи з відповідного списку, відображення якого проводиться на основі відповідної таблиці з розробленої БД. Схема алгоритму такої процедури приведена на мал. 1.56. Програмний код розробленої процедури приведений нижче.

 

Програмна реалізація процедури збереження прізвищ і ініціалів вибраного студента



Як було вказано в п. 1.6.2.3, однією з сервісних функцій розробленої адміністративної підсистеми САТДН також є можливість вибору на формі реєстрації прізвищ і ініціалів студентів з відповідного списку, відображення якого також проводиться на основі відповідної таблиці з розробленої БД, і відповідає вибраній раніше групі. Схема алгоритму такої процедури приведена на мал. 1.57. Програмний код розробленої процедури приведений нижче.

Програмна реалізація процедури автоматичного введення назв дисциплін і автоматичного відображення повного списку семестрів

Як було вказано в п. 1.6.2.4, відображення назви дисципліни у відповідному списку здійснюється також з розробленої БД. Схема алгоритму такої процедури приведена на мал. 1.58. Програмний код розробленої процедури приведений нижче.

 

Програмна реалізація процедури формування модернізованого списку семестрів

Як було вказано в п. 1.6.2.5, введення номера семестру у відповідному списку здійснюється за допомогою спеціального об'єкту, що підключається до БД. Схема алгоритму такої процедури приведена на мал. 1.59. Програмний код розробленої процедури приведений нижче.


Програмна реалізація процедури автоматичного введення вибраного семестру і автоматичного відображення повного списку модулів

Як було вказано в п. 1.6.2.6, відображення номера семестру у відповідному списку здійснюється з відповідної таблиці розробленої БД. Схема алгоритму такої процедури приведена на мал. 1.60. Програмний код розробленої процедури приведений нижче.

Програмна реалізація процедури формування модернізованого списку модулів

Як було вказано в п. 1.6.2.7, введення номера модуля у відповідному списку здійснюється також за допомогою спеціального об'єкту, що підключається до БД. Схема алгоритму такої процедури приведена на мал. 1.61. Програмний код розробленої процедури приведений нижче.

 

 

Програмна реалізація процедури автоматичного вибору таблиці БД з тестовими завданнями відповідно до вибраних групи, ПІБ, дисципліни, семестру, модулю.

Як було вказано в п. 1.6.2.8, вибір таблиці БД з банком тестових питань проводиться на основі перебору рядків БД. Виведення відповідної таблиці здійснюється, якщо дані з таблиці співпадають з вибраними дисципліною, семестром, модулем. Схема алгоритму такої процедури приведена на мал. 1.62. Програмний код розробленої процедури приведений нижче.


Розроблене програмне забезпечення САТДН розроблене для комп'ютера на базі Pentium II-300 або вище під управлінням операційної системи Windows-98 або вище з інстальованою СУБД MS Access, версії 2000 р. або вище, а також з інстальованим середовищем проектування Web-сайтів ASP .Net на основі мови Visual Basic, для інсталяції якої необхідна установка MS IIS сервера версії не нижче 5. Для роботи з розробленим програмним забезпеченням необхідна установка разом з операційною системою Windows-98 або вище оглядача Internet Explorer не нижче 5 версії з доступом до серверної частини.

Програмне забезпечення САТДН супроводжується наступними документами:

·        технічне завдання (Додаток А);

·        опис застосування (Додаток Б);

·        керівництво системного програміста (Додаток В);

·        керівництво оператора (Додаток Г).

Вказані документи забезпечують експлуатацію системи і відповідають стандартам, що діють.

 

2. Технічне забезпечення САТДН


Технічне забезпечення САТДН, окрім персонального комп'ютера, включає принтер для отримання друкарського варіанту результатів тестування.

Технічне забезпечення припускає наявність адміністратора системи, що відповідає за стан і надійність роботи системи, і техніка-оператора, що має навики роботи з персональним комп'ютером, забезпечує введення, видачу і коректування даних.

Для перенесення САТДН з метою його установки на персональних комп'ютерах, використовуваних в учбовому процесі, потрібний один CD-R диск або один DVD-R диск. Зберігання САТДН слід здійснювати на CD-R диску, або на DVD-R диску, або на жорсткому диску комп'ютера.

Надійність функціонування САТДН

Надійність розробленої САТДН забезпечується наступними чинниками:

·        надійністю і стабільністю функціонування операційної системи Windows, встановленої на персональному комп'ютері, на якому передбачається функціонування системи;

·        установкою ліцензійної версії пакету MS Office на персональному комп'ютері;

·        надійністю і стабільністю функціонування пакету MS Office, зокрема СУБД MS Access, встановленого на персональному комп'ютері;

·        установкою ліцензійної версії середовища проектування Web-сайтів ASP .Net на основі мови Visual Basic на персональному комп'ютері;

·        надійністю і стабільністю функціонування середовища проектування Web-сайтів ASP .Net на основі мови Visual Basic і роботи MS IIS сервера версії не нижче 5, необхідних для функціонування системи;

·        дотриманням вимог до експлуатації САТДН, які співпадають з умовами стабільної експлуатації сучасних персональних комп'ютерів;

·        дотриманням вимог до транспортування і зберігання САТДН, вказаних в попередньому пункті.

Засоби захисту інформації від несанкціонованого доступу

Захист результатів тестування, що зберігаються в протоколі тестування розробленої БД, від доступу студентів здійснюється засобами середовища проектування Web-сайтів ASP .Net на основі мови Visual Basic і засобами адміністрування розмежування доступу. Захист інформації охоплює два аспекти збереження даних:

. Для збереження результатів тестування була реалізована процедура розмежування доступу користувачів (tutor або student).

При введенні користувача tutor, необхідно також ввести пароль 1972 (мал. 1.63), після чого даний користувач може проглянути статистичні дані, що включають: прізвище і ініціали студента, групу, дату, дисципліну, семестр, модуль, кількість питань, оцінку, кількість правильних і неправильних відповідей, протокол відповідей студентів.

Мал. 1. 63. Введення користувача tutor

При введенні користувача student пароль вводити необов'язково. Після проходження даним користувачем тестування, він може подивитися тільки такі дані: прізвище і ініціали, групу, дату, дисципліну, семестр, модуль, кількість питань, оцінку.

Таким чином, докладніша інформація, що стосується протоколу тестування, доступна тільки викладачеві.

2. Для захисту БД від несанкціонованого доступу, БД розміщується на сервері в папці, недоступній для зміни по локальній мережі. Викладач має можливість змінити БД на сервері, знаючи спеціальний пароль доступу до серверу.

Вихідні форми документів САТДН

Вихідними формами документів, що формуються в результаті тестування за допомогою розробленої САТДН, є друкарські варіанти протоколу тестування.

ВИСНОВКИ

В дипломной работе представлено решение задачи автоматизации контроля проверки знаний студентов на основе тестирования.

Анализ существующих разработок по автоматизации тестирования для дистанционного обучения позволил сделать вывод о необходимости разработки легко распространяемой, простой в использовании, доступной по цене системы автоматизированного тестирования для дистанционного обучения.

Установлено, что на современном этапе развития общества система высшего образования Украины претерпевает значительные изменения. Эти изменения связаны с развитием и внедрением Болонской декларации, в результате чего мы переходим к дистанционному обучению студентов заочной и дневной форм обучения. Естественным следствием данных изменений является необходимость изменения имеющихся систем дистанционного обучения и создание новых автоматизированных систем тестирования, содержащих только блок контроля и не содержащих обучения, где выбор вопросов в контроле организован случайным образом для лучшего усвоения студентами пройденного материала. При этом создание таких систем является достаточно трудоемкой работой, требующей как интеллектуальных, так и временных затрат разработчика. Таким образом, разработанная система автоматизированного тестирования для дистанционного обучения является актуальной и востребованной.

В ходе выполнения дипломной работы разрешилось ранее сформулированное противоречие, достигнуты поставленные цели и получены следующие инструментальные результаты.

. Разработана информационная подсистема САТДО, представляющая собой базу данных, включающая 43 таблицы и 6 форм. База данных содержит список фамилий и инициалов студентов, список учебных групп, список читаемых дисциплин, список номеров семестров и модулей, а также банк тестовых вопросов с вариантами ответов (с указанием правильного ответа). Также база данных информационной подсистемы содержит протокол тестирования, формируемый в результате прохождения студентами тестирования, содержащий, помимо вышеуказанных сведений, дату, количество вопросов, оценку, количество правильных и неправильных вариантов ответов. База данных позволяет создавать печатную версию данного протокола тестирования. Информационная подсистема позволяет также быстро и качественно заполнять и, при необходимости, изменять базу данных преподавателю.

. Разработана административная подсистема САТДО, реализующая идентификацию пользователя и способствующая оптимальной работе контролирующей подсистемы. Административная подсистема позволяет вводить фамилию и инициалы студента, группу, дисциплину, семестр, модуль, а также позволяет выбирать таблицу из базы данных в соответствии с выбранными ранее группой, дисциплиной, семестром, модулем. Административная подсистема представляет собой 4 Web-страницы, созданные и оформленные специальным образом.

Отличительными особенностями разработанной системы автоматизированного тестирования для дистанционного обучения является легкость ее распространения, освоения, использования, объективность контроля при ее использовании, относительно низкая цена данного программного продукта, а также свободный доступ к системе с целью своевременного прохождения тематического и итогового тестирования.

Достоверность работы разработанных информационной и административной подсистем САТДО обеспечивается положительными результатами внедрения разработанной САТДО в процесс оценки знаний студентов по дисциплинам кафедры Информационных и компьютерных технологий в УИПА.

Эффективность работы разработанной САТДО подтверждается результатами ее использования при тестировании студентов по следующим дисциплинам: «Інформатика і обчислювальна техніка», «Прикладне програмування», «Комп'ютерні технології в навчальному процесі», «Основи дистанційного навчання», «Інформатика і комп'ютерна техніка»

Список використаних джерел

1. Олійник В.В. Дистанційна освіта за кордоном та в Україні: Стислий аналітичний огляд. - К.: ЦІППО, 2001. - 48 с.

. Методичні вказівки до виконання кваліфікаційної дипломної роботи для освітньо-кваліфікаційного рівня «магістр» для студентів спеціальності 7.010104.36 «Професійне навчання. Комп'ютерні технології в управлінні і навчанні» / Склад. Н.А. Бондаренко, Ашеров А.Т. - Харків: УІПА, 2006. - 40 с.

3. Разработка курсов ДО [Електронний ресурс]. - Електронні дані. - Режим доступу: #"724653.files/image072.gif">

Таблиця «ПІБ» включає списки студентів з розбиттям їх на групи.


Таблиця «Дисципліни» містить списки читаних учбових дисциплін.


Таблиця «Семестри» містить перелік семестрів навчання.


Таблиця «Модулі» містить інформацію про назви модулів (1, 2, 3 або підсумковий).


Таблиця «Вибір таблиці з тестами» (допоміжна таблиця) встановлює відповідність між назвами дисциплін, груп, семестрів, модулів і таблицями з тестовими завданнями.


Основні таблиці містять банк тестових питань і відповідей до них.


Таблиця «Протокол тестування» зберігає відомості про хід і результати тестування студентів.


2.2.   Склад і структура адміністративної підсистеми САТДН

Титульна сторінка містить:

·        загальну інформацію (назву програмного продукту, авторів програмного продукту);

·        кнопку Далі, натиснувши на яку здійснюється перехід на сторінку вибору користувача.

сторінка, що здійснює вибір користувача і що дозволяє розмежувати доступ до можливостей системи, містить:

·        список можливих користувачів (tutor або student);

·        поле для введення паролю (при виборі користувача tutor пароль 1972);

·        кнопку Далі для переходу на сторінку реєстрації студента, якщо вибраний користувач student, або на сторінку проглядання статистичних даних, якщо вибраний користувач tutor.

сторінка реєстрації студента містить:

·        список груп, який виробляється на основі відповідної таблиці з розробленої БД;

·        кнопку Відобразити список групи;

·        список прізвищ і ініціалів студентів, які також відображаються з відповідної таблиці і відповідають вибраній раніше групі;

·        кнопку Далі, за допомогою якої здійснюється перехід на сторінку вибору необхідних для тестування дисципліни, семестру, модулю.

сторінка вибору необхідних для тестування дисципліни, семестру, модулю містить:

·        список дисциплін;

·        кнопку Введення дисципліни;

·        кнопку Показати перелік семестрів;

·        список семестрів;

·        кнопку Введення семестру;

·        кнопку Показати перелік модулів;

·        список модулів;

·        кнопку Далі, натиснувши на яку студент переходить до тестових питань.

Вибір списків дисциплін, семестрів, модулів виробляється також з відповідних таблиць БД.


3.      структура і призначення процедур адміністративної підсистеми САТДН

З метою реалізації певних сервісних функцій до складу адміністративної підсистеми САТДН входять 8 процедур, створені в середовищі проектування Web-сайтів ASP .Net на основі мови Visual Basic.

Найменування процедур і їх призначення приведені в таблиці В.1.

Таблиця В.1 Найменування і призначення процедур

№ п/п

Найменування процедури

Призначення процедури

Web-сторінка «Вибір_користувача»

1

Protected Sub Button1_Click(…) Handles Button1.Click

Автоматичне розмежування доступу користувачів student і tutor

Web-сторінка «Реєстрація»

2

Protected Sub Button1_Click(…) Handles Button1.Click

Автоматичне відображення списку групи і автоматичне відображення прізвищ і ініціалів студентів

3

Protected Sub Button2_Click(…) Handles Button2.Click

Збереження прізвищ і ініціалів вибраного студента

Web-сторінка «Реєстрація_2»

4

Protected Sub Button1_Click(…) Handles Button1.Click

Автоматичне введення назв дисциплін і автоматичне відображення повного списку семестрів

5

Protected Sub Button4_Click(…) Handles Button4.Click

Формування модернізованого списку семестрів

6

Protected Sub Button2_Click(…) Handles Button2.Click

Автоматичне введення вибраного семестру і автоматичне відображення повного списку модулів

7

Protected Sub Button5_Click(…) Handles Button5.Click

Формування модернізованого списку модулів

8

Protected Sub Button3_Click(…) Handles Button3.Click

Автоматичний вибір таблиці БД з тестовими завданнями відповідно до вибраних групи, ПІБ, дисципліни, семестру, модулю


4.      Перевірка працездатності САТДН

4.1.   Перевірка працездатності інформаційної підсистеми САТДН

Виконується на основі контрольного прикладу введення даних в інформаційну підсистему САТДН для групи ДРЕ-К7мгбк по дисципліні «Основні напрями розвитку в комп'ютерній галузі» в 9 семестрі по 1 модулю. Занесення інформації в інформаційну підсистему проводиться в наступному порядку:

·        у вікні бази даних вибирається вкладка Форми;

·        у форму «Дісципліни» вводиться назва дисципліни «Основні напрями розвитку в комп'ютерній галузі»;

·        створюється таблиця «Тест_ОНРКГ_9 с_1 м», що містить тестові питання по 1 модулю в 9 семестрі і відповіді до них, кількість варіантів відповідей і правильну відповідь. Створення таблиці включає наступні етапи:

§  у вікні бази даних вибирається вкладка Таблиці;

§  створюється таблиця в режимі Конструктора з наступними полями:


§  зберігається створена таблиця під ім'ям «Тест_ОНРКГ_9 с_1 м» натисненням кнопки Зберегти на панелі інструментів;

§  за допомогою меню Вид/Режим таблиці відкривається створена таблиця в режимі Таблиці;

§  заповнюються поля необхідним вмістом;

§  зберігається таблиця натисненням кнопки Зберегти на панелі інструментів.

·        у формі «Вибір таблиці з тестами» вибирається назва дисципліни «Основні напрями розвитку в комп'ютерній галузі» з відповідного списку, що розкривається, вибирається назва групи ДРЕ-К7мгбк, вибирається семестр номер 9 і модуль номер 1, в поле «Ім`я таблиці» вводиться назва створеної таблиці «Тест_ОНРКГ_9 с_1 м».

Всі дії, необхідні для функціонування інформаційної підсистеми, описані в документі «Керівництво оператора».

Перевірка працездатності підтверджує стабільність роботи розробленої інформаційної підсистеми САТДН.

4.2.   Перевірка працездатності адміністративної підсистеми САТДН

Виконується на прикладі тестування студента групи ДРЕ-К1 Антонова А.В. по дисципліні «Основи дистанційного навчання» в 9 семестрі по 2 модулю.

Після запуску адміністративної підсистеми САТДН, на титульній сторінці натискається кнопка Далі.

На Web-сторінці «Вибір_користувача» вибирається користувач student з відповідного списку, що розкривається, і натискається кнопка Далі.

На Web-сторінці «Реєстрація» вибирається група ДРЕ-К1, натискається кнопка Відобразити список групи. Вибирається також прізвище і ініціали студента, тобто Ксензік А. В. і натискається кнопка Далі.

На Web-сторінці «Реєстрація_2» вибирається назва дисципліни «Основи дистанційного навчання», натискається кнопка Введення дисципліни і потім кнопка Відобразити перелік семестрів. Вибирається семестр номер 9, натискається кнопка Введення семестру і кнопка Відобразити перелік модулів. Вибирається модуль номер 2, натискається кнопка Далі.

Всі дії, необхідні для функціонування адміністративної підсистеми, описані в документі «Керівництво оператора».

Перевірка працездатності підтверджує стабільність роботи розробленої адміністративної підсистеми САТДН.

Розробка системи автоматизованого тестування для дистанційного навчання: адміністративна та інформаційна підсистеми

КЕРІВНИЦТВО ОПЕРАТОРА

1.      Призначення системи

Система автоматизованого тестування для дистанційного навчання (САТДН) призначена для проведення тестування студентів по дисциплінах, що входять в їх учбовий план, на основі технології дистанційного навчання.

2.      Умови застосування

Інформаційна підсистема САТДН представляється у вигляді бази даних (БД) СУБД MS Access. Для роботи з інформаційною підсистемою обов'язкова інсталяція пакету MS Office версії не нижче за 2003 р., зокрема СУБД MS Access, що враховує наступне:

·        персональний комп'ютер типу Pentium II з процесором не нижче 300 Мгц;

·        об'єм оперативної пам'яті не менше 64 Мб;

·        операційна система Microsoft Windows.

Адміністративна підсистема САТДН представляється у вигляді Web-сторінок, створених і оформлених спеціальним чином в ASP .Net на основі мови Visual Basic. Для роботи з адміністративною підсистемою обов'язкова інсталяція середовища проектування Web-сайтів ASP .Net на основі мови Visual Basic, що враховує наступне:

·        персональний комп'ютер типу Pentium II з процесором не нижче 300 Мгц;

·        об'єм оперативної пам'яті не менше 64 Мб;

·        операційна система Microsoft Windows;

·        установка MS IIS сервера версії не нижче 5.

Вхідною інформацією для роботи інформаційної і адміністративної підсистем САТДН є списки груп, що проходять навчання в поточному навчальному році, списки студентів, перелік дисциплін, семестрів, модулів, а також банк тестових питань і відповідей до них. Вихідною інформацією є результати тестування студентів.

Для роботи системи, окрім персонального комп'ютера, необхідна наявність принтера для отримання друкарських варіантів результатів тестування.

3.      Робота з інформаційною і адміністративною підсистемами САТДН

3.1.   Запуск інформаційної підсистеми САТДН

Запуск інформаційної підсистеми САТДН проводиться в наступному порядку:

·        включити персональний комп'ютер, завантажити операційну систему MS Windows, на екрані відобразиться робочий стіл, в нижній частині якого знаходиться панель завдань з кнопкою «Пуск»;

·        запустити СУБД MS Access, з'являється вікно MS Access;

·        виконати команду Файл\ Відкрити і вказати файл БД_САТДН.mdb, відкривається вікно бази даних.

3.2.   Запуск адміністративної підсистеми САТДН

Запуск адміністративної підсистеми САТДН проводиться в наступному порядку:

·        включити персональний комп'ютер, завантажити операційну систему MS Windows, на екрані відобразиться робочий стіл, в нижній частині якого знаходиться панель завдань з кнопкою «Пуск»;

·        запустити Visual Studio 2005, з'являється вікно Visual Studio 2005;

·        виконати команду Файл\ Відкрити і вказати файл Диплом.mdb, відкривається вікно середовища проектування.

·        #"724653.files/image083.gif">

Виконати подвійне клацання по команді Створення звіту за допомогою майстра - в результаті відкривається діалогове вікно Створення звітів. У даному вікні в полі Таблиці і запити вибрати таблицю «Протокол тестування».


У полі Доступні поля виділити необхідні поля (наприклад, ПІБ, Група, Дата, Дісципліна, Семестр, Модуль, Оцінка) і перемістити їх за допомогою кнопки  в поле Вибрані поля


Натиснути кнопку Готово. Відкривається звіт «Протокол тестування».


При необхідності, в діалоговому вікні Створення звітів можна також, натискаючи кнопки Далі, вибрати рівень угрупування, порядок сортування, макет для звіту, стиль звіту.

Також, при необхідності, створений звіт можна відредагувати, відкривши його в режимі Конструктора (Вид\ Конструктор).

Для друку звіту протоколу тестування необхідно виконати команду Файл\ Друк…, вибрати тип принтера, при необхідності змінити настройки друку і натиснути кнопку ОК.

Похожие работы на - Системи автоматизованого тестування

 

Не нашли материал для своей работы?
Поможем написать уникальную работу
Без плагиата!
Без нейросетей!