Модель преобразования виртуального адреса в физический

  • Вид работы:
    Курсовая работа (т)
  • Предмет:
    Информационное обеспечение, программирование
  • Язык:
    Русский
    ,
    Формат файла:
    MS Word
    199,74 Кб
  • Опубликовано:
    2014-01-20
Вы можете узнать стоимость помощи в написании студенческой работы.
Помощь в написании работы, которую точно примут!

Модель преобразования виртуального адреса в физический

БАЛТИЙСКАЯ ГОСУДАРСТВЕННАЯ АКАДЕМИЯ

РЫБОПРОМЫСЛОВОГО ФЛОТА

 

 

 

 


 







Курсовая работа по операционным системам

на тему «Модель преобразования виртуального адреса в физический»

Вариант №5

Выполнил:

Студент группы 10АСУС(404)

Лубнин А.В

Приняла:

Костромина И.Г.________________




Калининград 2013

ОГЛАВЛЕНИЕ

Введение

. Основания для разработки

.1 Исходные данные и результаты работы

. Методы распределения виртуальной памяти

.1 Страничная и сегментная организации виртуальной памяти

.2 Сегментно-страничная организация виртуальной памяти

. Преобразование виртуального адреса в физический

.1 Модель оперативной памяти

.2 Алгоритм преобразования виртуального адреса в физический

. Контрольные примеры

Введение

Виртуа́льная па́мять (англ. Virtual memory) - технология управления памятью ЭВМ, разработанная для многозадачных операционных систем. При использовании данной технологии для каждой программы используются независимые схемы адресации памяти, отображающиеся тем или иным способом на физические адреса в памяти ЭВМ. Позволяет увеличить эффективность использования памяти несколькими одновременно работающими программами, организовав множество независимых адресных пространств, и обеспечить защиту памяти между разными приложениями. Также позволяет программисту использовать больше памяти, чем установлено в компьютере, за счет откачки неиспользуемых страниц на вторичное хранилище

При использовании виртуальной памяти упрощается программирование, так как программисту больше не нужно учитывать ограниченность памяти, или согласовывать использование памяти с другими приложениями. Для программы выглядит доступным и непрерывным все допустимое адресное пространство, вне зависимости от наличия в ЭВМ соответствующего объема ОЗУ.

Применение механизма виртуальной памяти позволяет:

-        упростить адресацию памяти клиентским программным обеспечением;

-       рационально управлять оперативной памятью компьютера (хранить в ней только активно используемые области памяти);

-       изолировать процессы друг от друга (процесс полагает, что монопольно владеет всей памятью).

В настоящее время эта технология имеет аппаратную поддержку на всех современных бытовых процессорах. В то же время во встраиваемых системах и в системах специального назначения, где требуется либо очень быстрая работа, либо есть ограничения на длительность отклика (системы реального времени), виртуальная память используется относительно редко. Также в таких системах реже встречается многозадачность и сложные иерархии памяти.

1. Основания для разработки

.1 Исходные данные и результаты работы

Исходные данные для выполнения курсовой работы:

-        организация виртуальной памяти - сегментно-страничная;

-       разрядность виртуального адреса - 32;

-       количество сегментов не более 16;

-       размер физической страницы - 4 Кбайт;

-       объем оперативной памяти - 256 физических страниц;

-       количество физических страниц в таблице страниц процесса - не более 32;

-       виртуальный адрес вводится с клавиатуры.

Результаты выполнения модели должны включать в себя:

-        виртуальный адрес;

-       физический адрес;

-       содержимое таблицы сегментов и таблицы страниц.

2. Методы распределения виртуальной памяти

.1 Страничная и сегментная организации виртуальной памяти

виртуальный память программный распределение

В большинстве современных операционных систем виртуальная память организуется с помощью страничной адресации. Оперативная память делится на страницы: области памяти фиксированной длины (например, 4096 байт), которые являются минимальной единицей выделяемой памяти (то есть даже запрос на 1 байт от приложения приведёт к выделению ему страницы памяти). Процесс обращается к памяти с помощью адреса виртуальной памяти, который содержит в себе номер страницы и смещение внутри страницы. Процессор преобразует номер виртуальной страницы в адрес соответствующей ей физической страницы при помощи буфера ассоциативной трансляции.

Если страница выгружена из оперативной памяти, то операционная система подкачивает страницу с жёсткого диска. При запросе на выделение памяти операционная система может «сбросить» на жёсткий диск страницы, к которым давно не было обращений. Критические данные (например, код запущенных и работающих программ, код и память ядра системы) обычно находятся в оперативной памяти (исключения существуют, однако они не касаются тех частей, которые отвечают за обработку аппаратных прерываний, работу с таблицей страниц и использование файла подкачки).

Второй принцип организации виртуальной памяти, при котором виртуальное пространство делится на части произвольного размера - сегменты - сегментный. Этот механизм позволяет, к примеру, разбить данные процесса на логические блоки. Для каждого сегмента, как и для страницы, могут быть назначены права доступа к нему пользователя и его процессов. При загрузке процесса часть сегментов помещается в оперативную память (при этом для каждого из этих сегментов операционная система подыскивает подходящий участок свободной памяти), а часть сегментов размещается в дисковой памяти.

Сегменты одной программы могут занимать в оперативной памяти несмежные участки. Во время загрузки система создает таблицу сегментов процесса (аналогичную таблице страниц), в которой для каждого сегмента указывается начальный физический адрес сегмента в оперативной памяти, размер сегмента, правила доступа, признак модификации, признак обращения к данному сегменту за последний интервал времени и некоторая другая информация. Система с сегментной организацией функционирует аналогично системе со страничной организацией: время от времени происходят прерывания, связанные с отсутствием нужных сегментов в памяти, при необходимости освобождения памяти некоторые сегменты выгружаются, при каждом обращении к оперативной памяти выполняется преобразование виртуального адреса в физический. Кроме того, при обращении к памяти проверяется, разрешен ли доступ требуемого типа к данному сегменту. Недостатком данного метода распределения памяти является фрагментация на уровне сегментов и более медленное по сравнению со страничной организацией преобразование адреса.

Более подробная информация о сегментном и страничном методах распределения памяти дана в приложениях 1 и 2 соответственно.

2.2 Сегментно-страничная организация виртуальной памяти

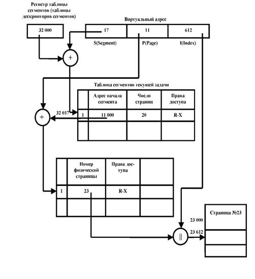
Как и в сегментном способе распределения памяти, программа разбивается на логически законченные части - сегменты - и виртуальный адрес содержит указание на номер соответствующего сегмента. Вторая составляющая виртуального адреса - смещение относительно начала сегмента - в свою очередь, может состоять из двух полей: виртуальной страницы и индекса. Другими словами, получается, что виртуальный адрес теперь состоит из трех компонентов: сегмент, страница, индекс. Получение физического адреса и извлечение из памяти необходимого элемента для этого способа представлено на рисунке 1.

Из рисунка сразу видно, что этот способ организации виртуальной памяти вносит ещё большую задержку доступа к памяти. Необходимо сначала вычислить адрес дескриптора сегмента и прочитать его, затем вычислить адрес элемента таблицы страниц этого сегмента и извлечь из памяти необходимый элемент, и уже только после этого можно к номеру физической страницы приписать номер ячейки в странице (индекс). Задержка доступа к искомой ячейке получается по крайней мере в три раза больше, чем при простой прямой адресации. Чтобы избежать этой неприятности, вводится кэширование, причем кэш, как правило, строится по ассоциативному принципу. Другими словами, просмотры двух таблиц в памяти могут быть заменены одним обращением к ассоциативной памяти.

Принцип действия ассоциативного запоминающего устройства предполагает, что каждой ячейке памяти такого устройства ставится в соответствие ячейка, в которой записывается некий ключ (признак, адрес), позволяющий однозначно идентифицировать содержимое ячейки памяти. Сопутствующую ячейку с информацией, позволяющей идентифицировать основные данные, обычно называют полем тега. Просмотр полей тега всех ячеек ассоциативного устройства памяти осуществляется одновременно, то есть в каждой ячейке тега есть необходимая логика, позволяющая посредством побитовой конъюнкции найти данные по их признаку за одно обращение к памяти (если они там, конечно, присутствуют).

Рисунок 1 - Принцип получения физического адреса при сегментно-страничной организации виртуальной памяти

Часто поле тегов называют аргументом, а поле с данными - функцией. В качестве аргумента при доступе к ассоциативной памяти выступают номер сегмента и номер виртуальной страницы, а в качестве функции от этих аргументов получаем номер физической страницы. Остается приписать номер ячейки в странице к полученному номеру, и мы получаем искомую команду или операнд.

Оценивая достоинства сегментно-страничного способа, можно выделить следующее. Разбиение программы на сегменты позволяет размещать сегменты в памяти целиком. Сегменты разбиты на страницы, все страницы сегмента загружаются в память. Это позволяет уменьшить обращения к отсутствующим страницам, поскольку вероятность выхода за пределы сегмента меньше вероятности выхода за пределы страницы. Страницы исполняемого сегмента находятся в памяти, но при этом они могут находиться не рядом друг с другом, а «россыпью», поскольку диспетчер памяти манипулирует страницами. Наличие сегментов облегчает реализацию разделения программных модулей между параллельными процессами. Возможна и динамическая компоновка задачи. А выделение памяти страницами позволяет минимизировать фрагментацию.

Однако, поскольку этот способ распределения памяти требует очень значительных затрат вычислительных ресурсов и его не так просто реализовать, используется он редко, причем в дорогих, мощных вычислительных системах. Возможность реализовать сегментно-страничное распределение памяти заложена и в семейство микропроцессоров x86, однако вследствие слабой аппаратной поддержки, трудностей при создании систем программирования и операционной системы, практически он не используется в ПК.

3. Преобразование виртуального адреса в физический

.1 Модель оперативной памяти

Чтобы описать алгоритм преобразования виртуального адреса в физический, сначала необходимо разобраться с параметрами памяти и создать ее модель. Сделать это можно на основе предоставленных исходных данных.

Объем оперативной памяти равен 256 физическим страницам, каждая из которых фиксированного размера в 4 килобайта. То есть общий объем предоставленной памяти равен 1 Мб. Он разбит на 16 сегментов, каждый из которых может содержать до 32 страниц. Для удобства сделаем модель, которая будет содержать сегменты различных размеров: 8 сегментов по 8 страниц, 4 сегмента по 16 страниц, и 4 по 32 страницы.

Так как разрядность виртуального адреса - 32 бита, то каждая страница может содержать только 1024 адреса. Каждый адрес хранит в себе номер сегмента, номер виртуальной страницы и смещение. Первые десять бит отвечают за сегменты, следующие десять - за страницы, и оставшиеся двенадцать бит определяют смещение внутри страницы. Нумерация сегментов, страниц и смещения начинается всегда с нуля.

Таким образом, модель памяти можно представить следующей схемой.

Схема 1 - Модель оперативной памяти

3.2 Алгоритм преобразования виртуального адреса в физический

Каждый виртуальный адрес представляет собой число, закодированное в шестнадцатеричной системе исчисления. Для того чтобы из этого числа получить необходимый физический адрес, надо выполнить следующие действия:

-        шестнадцатеричное число преобразовать в бинарный код;

-       по вторым десяти разрядам в таблице виртуальных страниц данного сегмента найти ту страницу, которая содержит номер физической страницы;

-       оставшиеся двенадцать разрядов дают смещение в физической странице;

-       объединив номер страницы и смещение, получим искомый физический адрес.

Данный алгоритм наглядно представлен на рисунке 4.

Рисунок 4 - Алгоритм преобразования виртуального адреса в физический при сегментно-страничной организации памяти

Изобразить этот же алгоритм преобразования с помощью блок-схемы можно следующим образом:

Схема 2 - Алгоритм преобразования виртуального адреса в физический

4. Контрольные примеры

Для того чтобы наглядно представить, как работает данный алгоритм преобразования адресов, необходимо привести несколько контрольных примеров с числовыми значениями. В таблице 1 представлена часть имеющихся сегментов, которые рассматриваются в курсовой работе. Таблица 2 содержит в себе некоторые из виртуальных страниц, через которые находится физический адрес. Рассмотрим три примера преобразования виртуального адреса в физический: когда существует сегмент и в нем виртуальная страница; когда существует сегмент, но в нем отсутствует виртуальная страница; когда отсутствует запрашиваемый сегмент.

Таблица 1 - Таблица сегментов

Адрес сегмента памяти

Адрес виртуальной страницы в сегменте

0000001111

0000011100

0000000011

0000000111

0000001010

0000011010

0000000110

0000001110


Таблица 2 - Таблица страниц

Адрес виртуальной страницы

Адрес физической страницы

0000011100

0000100110

0000001101

0000011001

0000011001

0001001110

0000000111

0000010111

0000001110

0000110011

0000010011

0000001001

0000011010

0000010001

0000000001

0001001101


Пример 1

1.  Возьмем произвольный виртуальный адрес - число в шестнадцатеричной системе исчисления, например, «F1С250». Следуя алгоритму, преобразуем данный адрес в бинарный код «00000011110000011100100101000000».

2.      Следующим шагом будет поиск сегмента памяти с адресом «0000001111». Проверим, имеется ли этот сегмент: «0000001111» в десятичной системе исчисления равно 15, следовательно, такой сегмент имеется.

.        Дальше, в этом сегменте найдем виртуальную страницу, хранящую адрес физической страницы. Следующие десять бит дают номер искомой страницы - «0000011100». Так же проверяем, имеется ли эта страница: в десятичной системе число «0000011100» равно 28. Это тоже удовлетворят требованиям работы.

.        Последним шагом преобразования будет получение физического адреса путем добавления смещения, равного «100101000000», к адресу физической страницы, который был получен предыдущим действием.

.        В полученной виртуальной странице хранился физический адрес «0000100110». Добавляя к нему смещение «100101000000» получается, что физический адрес равен «0000100110100101000000» или «26940» в шестнадцатеричной системе исчисления.

Пример 2

1.  Возьмем другой произвольный виртуальный адрес - число в шестнадцатеричной системе исчисления, например, «A66976». Следуя алгоритму, преобразуем данный адрес в бинарный код «000000101000011001100100101110100».

.    Следующим шагом будет поиск сегмента памяти с адресом «0000001010». Проверим, имеется ли этот сегмент: «0000001010» в десятичной системе исчисления равно 10, следовательно, такой сегмент имеется.

3.      Дальше, в этом сегменте найдем виртуальную страницу, хранящую адрес физической страницы. Следующие десять бит дают номер искомой страницы - «0001100110». Так же проверяем, имеется ли эта страница: в десятичной системе число «0001100110» равно 102. Эта страница либо находится за пределами рассматриваемой области памяти, либо отсутствует вовсе. Следовательно, дальнейшее преобразование адреса невозможно.

Пример 3

1.  Возьмем еще один произвольный виртуальный адрес - число в шестнадцатеричной системе исчисления, например, «A66976». Следуя алгоритму, преобразуем данный адрес в бинарный код «00001000101101101100010010100101».

.    Следующим шагом будет поиск сегмента памяти с адресом «0000100010». Проверим, имеется ли этот сегмент: «0000100010» в десятичной системе исчисления равно 34. Номер данного сегмента не удовлетворяет условиям курсовой работы. Сегмента с таким номером не существует, а значит и преобразование виртуального адреса не возможно.

Похожие работы на - Модель преобразования виртуального адреса в физический

 

Не нашли материал для своей работы?
Поможем написать уникальную работу
Без плагиата!
Без нейросетей!