Средства аппаратной поддержки управления памятью в микропроцессорах Intel 80386, 80486 и Pentium

  • Вид работы:
    Реферат
  • Предмет:
    Информатика, ВТ, телекоммуникации
  • Язык:
    Русский
    ,
    Формат файла:
    MS Word
    82,20 kb
  • Опубликовано:
    2009-01-12
Вы можете узнать стоимость помощи в написании студенческой работы.
Помощь в написании работы, которую точно примут!

Средства аппаратной поддержки управления памятью в микропроцессорах Intel 80386, 80486 и Pentium

Средства аппаратной поддержки управления памятью и многозадачной среды в микропроцессорах Intel 80386, 80486 и Pentium

Процессоры Intel 80386, 80486 и Pentium с точки зрения рассматриваемых в данном разделе вопросов имеют аналогичные средства, поэтому для краткости в тексте используется термин "процессор i386", хотя вся информация этого раздела в равной степени относится к трем моделям процессоров фирмы Intel.

Процессор i386 имеет два режима работы - реальный (real mode) и защищенный (protected mode). В реальном режиме процессор i386 работает как быстрый процессор 8086 с несколько расширенным набором команд. В защищенном режиме процессор i386 может использовать все механизмы 32-х разрядной организации памяти, в том числе механизмы поддержки виртуальной памяти и механизмы переключения задач. Кроме этого, в защищенном режиме для каждой задачи процессор i386 может эмулировать 86 и 286 процессоры, которые в этом случае называются виртуальными процессорами. Таким образом, при многозадачной работе в защищенном режиме процессор i386 работает как несколько виртуальных процессоров, имеющих общую память. В отличие от реального режима, режим виртуального процессора i86, который называется в этом случае режимом V86, поддерживает страничную организацию памяти и средства многозадачности. Поэтому задачи, выполняющиеся в режиме V86, используют те же средства межзадачной защиты и защиты ОС от пользовательских задач, что и задачи, работающие в защищенном режиме i386. Однако максимальный размер виртуального адресного пространства составляет 1 Мб, как и у процессора i86.

Переключение процессора i386 из реального режима в защищенный и обратно осуществляется просто путем выполнения команды MOV, которая изменяет бит режима в одном из управляющих регистров процессора. Переход процессора в режим V86 происходит похожим образом путем изменения значения определенного бита в другом регистре процессора.

Средства поддержки сегментации памяти

Физическое адресное пространство процессора i386 составляет 4 Гбайта, что определяется 32-разрядной шиной адреса. Физическая память является линейной с адресами от 00000000 до FFFFFFFF в шестнадцатеричном представлении. Виртуальный адрес, используемый в программе, представляет собой пару - номер сегмента и смещение внутри сегмента. Смещение хранится в соответствующем поле команды, а номер сегмента - в одном из шести сегментных регистров процессора (CS, SS, DS, ES, FS или GS), каждый из которых является 16-битным. Средства сегментации образуют верхний уровень средств управления виртуальной памятью процессора i386, а средства страничной организации - нижний уровень. Средства страничной организации могут быть как включены, так и выключены (за счет установки определенного бита в управляющем регистре процессора), и в зависимости от этого изменяется смысл преобразования виртуального адреса, которое выполняют средства сегментации. Сначала рассмотрим случай работы средств сегментации при отключенном механизме управления страницами.

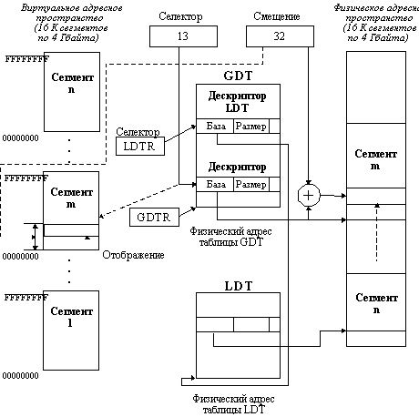
Рис. 2.19. Поддержка сегментов

На рисунке 2.19 показано виртуальное адресное пространство процессора i386 при отключенном механизме управления страницами. 32-битное смещение определяет размер виртуального сегмента в 232=4 Гбайта, а количество сегментов определяется размером поля, отведенного в сегментном регистре под номер сегмента. На рисунке 2.20,а показана структура данных в сегментном регистре. Эта структура называется селектором, так как предназначена для выбора дескриптора определенного сегмента из таблиц дескрипторов сегментов. Дескриптор сегмента описывает все характеристики сегмента, необходимые для проверки правильности доступа к нему и нахождения его в физическом адресном пространстве. Процессор i386 поддерживает две таблицы дескрипторов сегментов - глобальную (Global Descriptor Table, GDT) и локальную (Local Descriptor Table, LDT). Глобальная таблица предназначена для описания сегментов операционной системы и сегментов межзадачного взаимодействия, то есть сегментов, которые в принципе могут использоваться всеми процессами, а локальная таблица - для сегментов отдельных задач. Таблица GDT одна, а таблиц LDT должно быть столько, сколько в системе выполняется задач. При этом активной в каждый момент времени может быть только одна из таблиц LDT.

Рис. 2.20. Форматы селектора и дескрипторов данных и кода:
а - формат селектора; б - формат регистра GDTR;
в - формат дескриптора сегмента данных или кода

Из рисунка 2.20 видно, что селектор состоит из трех полей - 13-битного поля индекса (номера сегмента) в таблицах GDT и LDT, 1-битного поля - указателя типа используемой таблицы дескрипторов и двухбитного поля текущих прав доступа задачи - CPL. Разрядность поля индекса определяет максимальное число глобальных и локальных сегментов задачи - по 8K (213) сегментов каждого типа, всего 16 K. С учетом максимального размера сегмента - 4 Гбайта - каждая задача при чисто сегментной организации виртуальной памяти работает в виртуальном адресном пространстве в 64 Тбайта.

Теперь проследим, как виртуальное пространство отображается на физическое пространство размером в 4 Гбайта при чисто сегментном механизме отображения. Итак, когда задаче необходимо получить доступ к ячейке физической памяти, то для выбора дескриптора виртуального сегмента используется значение селектора из соответствующего (в зависимости от команды и стадии ее выполнения - выборка кода команды или данных) сегментного регистра процессора. Значение поля типа таблицы указывает на то, какую таблицу нужно использовать - GDT или LDT. Рассмотрим сначала случай использования таблицы GDT. Для хранения таблиц GDT и LDT используется оперативная память (использование быстрой ассоциативной памяти процессора для хранения элементов этих таблиц рассмотрим позже). Для того, чтобы процессор смог найти в физической памяти таблицу GDT, ее полный 32-битный физический адрес (адрес начала таблицы), а также размер (поле в 16 бит) хранятся в специальном регистре процессора GDTR (рисунок 2.20, б). Каждый дескриптор в таблицах GDT и LDT имеет размер 8 байт, поэтому максимальный размер этих таблиц - 64 К (8(8 К дескрипторов). Для извлечения нужного дескриптора из таблицы процессор складывает базовый адрес таблицы GDT из регистра GDTR со сдвинутым на 3 разряда влево (умножение на 8, в соответствии с числом байтов в элементе таблицы GDT) значением поля индекса из сегментного регистра и получает физический линейный адрес нужного дескриптора в физической памяти. Таблица GDT постоянно присутствует в физической памяти, поэтому процессор извлекает по этому адресу нужный дескриптор сегмента и помещает его во внутренний (программно недоступный) регистр процессора. (Таких регистров шесть и каждый из них соответствует определенному сегментному регистру, что значительно ускоряет работу процессора).

Дескриптор виртуального сегмента (рисунок 2.20,в) состоит из нескольких полей, основными из которых являются поле базы - базового 32-разрядного физического адреса начала сегмента, поле размера сегмента и поле прав доступа к сегменту - DPL (Descriptor Privilege Level). Сначала процессор определяет правильность адреса, сравнивая смещение и размер сегмента (в случае выхода за границы сегмента происходит прерывание типа исключение - exсeption). Потом процессор проверяет права доступа задачи к данному сегменту, сравнивая значения полей CPL селектора и DPL дескриптора сегмента. В процессоре i386 мандатный способ определения прав доступа (называемый также механизмом колец защиты), при котором имеется несколько уровней прав доступа, и объекты какого-либо уровня имеют доступ ко всем объектам равного уровня или более низких уровней, но не имеет доступа к объектам более высоких уровней. В процессоре i386 существует четыре уровня прав доступа - от 0-го, который является самым высоким, до 3-го - самого низкого. Очевидно, что операционная система может использовать механизм уровней защиты по своему усмотрению. Однако предполагается, что нулевой уровень будет использован для ядра операционной системы, а третий уровень - для прикладных программ, промежуточные уровни - для утилит и подсистем операционной системы, менее привилегированных, чем ядро.

Таким образом, доступ к виртуальному сегменту считается законным, если уровень прав селектора CPL выше или равен уровню прав сегмента DPL (CPL ( DPL). При нарушении прав доступа происходит прерывание, как и в случае несоблюдения границ сегмента. Далее проверяется наличие сегмента в физической памяти по значению бита P дескриптора, и если сегмент отсутствует в физической памяти, то происходит прерывание. При наличии сегмента в памяти вычисляется физический линейный адрес путем сложения базы сегмента и смещения и производится доступ к элементу физической памяти по этому адресу.

В случае, когда селектор указывает на таблицу LDT, виртуальный адрес преобразуется в физический аналогичным образом, но для доступа к самой таблице LDT добавляется еще один этап, так как в процессоре регистр LDTR указывает на размещение таблицы LDT не прямо, а косвенно. Сам регистр LDTR имеет размер 16 бит и содержит селектор дескриптора таблицы GDT, который описывает расположение этой таблицы в физической памяти. Поэтому при доступе к элементу физической памяти через таблицу LDT происходит двукратное преобразование виртуального адреса в физический, причем оба раза по описанной выше схеме. Сначала по значению селектора LDTR определяется физический адрес дескриптора из таблицы GDT, описывающего начало расположения таблицы LDT в физической памяти, а затем с помощью селектора задачи вычисляется смещение в таблице LDT и определяется физический адрес нужного дескриптора. Далее процесс аналогичен преобразованию виртуального адреса с помощью таблицы GDT.

Рис. 2.21. Типы дескрипторов

Дескриптор сегмента содержит еще несколько полей. Однобитное поле G определяет единицу измерения размера сегмента, при G = 0 размер определяется в байтах, и тогда сегмент не может быть больше 64 К, а при G = 1 размер определяется в 4К-байтных страницах, при этом максимальный размер сегмента достигает указанных 4 Гбайт. Поле D определяет тип адресации сегмента: при D = 0 сегмент является 16-битным (для режима эмуляции 16-битных процессоров i86 и i286), а при D = 1 сегмент является 32-битным. Кроме этого в дескрипторе имеется поле типа сегмента, которое в свою очередь делится на несколько полей (рисунок 2.21). Поле S определяет, является ли сегмент системным (S = 1) или пользовательским (S = 0). В свою очередь пользовательские сегменты делятся на сегменты данных (E=0) и сегменты кода (E=1). Для сегмента данных определяются однобитные поля:

ED - направления распространения сегмента (ED = 0 для обычного сегмента данных, распространяющегося в сторону увеличения адресов, ED = 1 для стекового сегмента данных, распространяющегося в сторону уменьшения адресов),

W - поле разрешения записи в сегмент (при W=1 запись разрешена, при W=0 - запрещена),

A - поле доступа к сегменту (1 означает, что после очистки этого поля к сегменту было обращение по чтению или записи, это поле может использоваться операционной системой в ее стратегии замены страниц в оперативной памяти).

Для сегмента кода используются однобитные признаки:

A - имеет смысл, аналогичный полю A сегмента данных,

R - разрешает или запрещает чтение из кодового сегмента,

C - бит подчинения, разрешает или запрещает вызов данного кодового сегмента из другого кодового сегмента с более низкими правами доступа.

В процессоре i386 существует большое количество системных сегментов, к которым в частности относятся системные сегменты типа LDT, шлюзы вызова подпрограмм и задач и сегменты состояния задачи TSS.

Таким образом, для использования чисто сегментного механизма процессора i386 операционной системе необходимо сформировать таблицы GDT и LDT, загрузить их в память (для начала достаточно загрузить только таблицу GDT), загрузить указатели на эти таблицы в регистры GDTR и LDTR и выключить страничную поддержку. Если же операционная система не хочет использовать сегментную организацию виртуальной памяти, то ей достаточно создать таблицу дескрипторов из одного входа (дескриптора) и загрузить базовые значения сегмента в дескриптор. Виртуальное адресное пространство задачи будет состоять из одного сегмента длиной максимум в 4 Гбайта.

Сегментно-страничный механизм

При включенной системе управления страницами работает как описанный выше сегментный механизм, так и механизм управления страницами, однако при этом смысл работы сегментного механизма меняется. В этом случае виртуальное адресное пространство задачи имеет размер в 4 Гбайта, в котором размещаются все сегменты (рисунок 2.22). По прежнему селектор задачи определяет номер виртуального сегмента, а смещение в команде задачи - смещение внутри этого сегмента. Так как теперь все сегменты разделяют одно адресное пространство, то возможно их наложение, но процессор не контролирует такие ситуации, оставляя эту проблему операционной системе. Первый этап преобразования виртуального адреса, связанный с преобразованием смещения и селектора с использованием таблиц GDT и LDT, содержащих дескрипторы сегментов, в точности совпадает с этапом преобразования этих данных при отключенном механизме управления страницами. Все структуры данных этих таблиц такие же. Однако, если раньше дескриптор сегмента содержал его базовый адрес в физическом адресном пространстве, и при сложении его со смещением из команды программы получался линейный искомый адрес в физической памяти, то теперь дескриптор содержит базовый адрес сегмента в виртуальном адресном пространстве. Поэтому в результате его сложения со смещением получается линейный виртуальный адрес, который на втором этапе (страничном) преобразуется в номер физической страницы. Для реализации механизма управления страницами как физическое, так и виртуальное адресное пространства разбиты на страницы размером 4 К. Всего в этих адресных пространствах насчитывается 1 М страниц. Несмотря на наличие нескольких виртуальных сегментов, все виртуальное адресное пространство задачи имеет общее разбиение на страницы, так что нумерация виртуальных страниц сквозная.

Линейный виртуальный адрес содержит в своих старших 20 разрядах номер виртуальной страницы, а в младших 12 разрядах смещение внутри страницы. Для отображения виртуальной страницы в физическую достаточно построить таблицу страниц, каждый элемент которой - дескриптор виртуальной страницы - содержал бы номер соответствующей ей физической страницы и ее атрибуты. В процессоре i386 так и сделано, и структура дескриптора страницы показана на рисунке 2.23. 20-ти разрядов номера страницы достаточно для определения физического адреса начала страницы, так как при ее фиксированном размере 4 К младшие 12 разрядов этого адреса всегда равны нулю. Дескриптор страницы также содержит следующие поля, близкие по смыслу соответствующим полям дескриптора сегмента:

P - бит присутствия страницы в физической памяти,

W - бит разрешения записи в страницу,

U - бит пользователь/супервизор

A - признак того, был ли доступ к странице,

D - признак модификации содержимого страницы,

PWT и PCD - управляют механизмом кэширования страниц (введены, начиная с процессора i486),

AVL - резерв для нужд операционной системы (available for use).

Рис. 2.22. Сегментно-страничный механизм

Рис. 2.23. Формат дескриптора страницы

При небольшом размере страницы процессора i386 относительно размеров адресных пространств, таблица страниц должна занимать в памяти весьма значительное место - 4 байта ( 1М = 4 Мбайта. Это слишком много для нынешних моделей персональных компьютеров, поэтому в процессоре i386 используется деление всей таблицы страниц на разделы по 1024 дескриптора. Размер раздела выбран так, чтобы один раздел занимал одну физическую страницу (1024 ( 4 байта = 4 Кбайта). Всего получается 1024 раздела (1024 ( 1024 = 1М). Для того, чтобы не хранить все разделы таблицы страниц одновременно в физической памяти, используется каталог разделов таблицы страниц, который использует такие же по структуре дескрипторы страниц, что и в таблице страниц. Поэтому для хранения информации о дескрипторах 1024 разделов необходима память 4 К, т.е. одна физическая страница. Совокупность дескрипторов, описывающих состояние и характеристики виртуальных страниц разделов таблицы страниц, называется каталогом разделов или таблиц. Виртуальная страница, хранящая содержимое каталога, всегда находится в физической памяти, и номер ее физической страницы указан в специальном управляющем регистре CR3 процессора (точнее, в одном из полей этого регистра).

Преобразование линейного виртуального адреса в физический происходит следующим образом (рисунок 2.24). Поле номера виртуальной страницы (старшие 20 разрядов) делится на две равные части по 10 разрядов - поле номера раздела и поле номера страницы в разделе. С помощью номера физической страницы, хранящей каталог и смещения в этой странице, задаваемого полем номера раздела, процессор находит дескриптор виртуальной страницы раздела. В соответствии с атрибутами этого дескриптора определяются права доступа к этой странице, а также наличие ее в физической памяти. В случае ее отсутствия происходит страничное прерывание, и операционная система должна в этом случае переместить ее в память. После того, как нужная страница находится в памяти, для определения адреса элемента данных используется смещение, определяемое полем номера страницы линейного виртуального адреса.

Таким образом, при доступе к странице в процессоре используется двухуровневая схема адресации страниц, что замедляет преобразование, но позволяет использовать страничный механизм и для хранения самой таблицы страниц, и существенно уменьшить объем физической памяти для ее хранения. Для ускорения страничных преобразований в блоке управления страницами используется ассоциативная память, в которой кэшируется 32 комбинации "номер виртуальной страницы - номер физической страницы". Эта специальная кэш-память (дополнительная по отношению к 8 Кбайтному кэшу данных процессоров i486 и Pentium) значительно ускоряет преобразование адресов, так как в случае попадания в кэш длительный процесс, описанный выше, исключается.

Рис. 2.24. Преобразование линейного виртуального адреса в физический адрес

Организация виртуальной памяти в процессоре i386 позволяет защитить адресные пространства различных процессов за счет двух механизмов:

  1. Изоляция адресных пространств процессов в физической памяти путем назначения им различных физических страниц или сегментов (если страничный механизм отключен).
  2. Защита сегментов от несанкционированного доступа с помощью привилегий четырех уровней.

Средства вызова подпрограмм и задач

Операционная система, как однозадачная, так и многозадачная, должна предоставлять задачам средства вызова подпрограмм операционной системы, библиотечных подпрограмм, а также иметь средства для запуска задач, а при многозадачной работе средства быстрого переключения с задачи на задачу. Вызов подпрограммы отличается от запуска задачи тем, что в первом случае адресное пространство остается тем же (таблица LDT остается прежней), а при вызове задачи адресное пространство полностью меняется.

Вызов подпрограмм без смены кодового сегмента в защищенном режиме процессора i386 производится аналогично вызову в реальном режиме с помощью команд JMP и CALL.

Для вызова подпрограммы, код которой находится в другом сегменте (который может принадлежать библиотеке, другой задаче или операционной системе), процессор i386 предоставляет 2 варианта вызова, причем оба используют защиту с помощью прав доступа.

Первый способ состоит в непосредственном указании в поле команды JMP или CALL селектора сегмента, содержащего код вызываемой подпрограммы, а также смещение в этом сегменте адреса начала подпрограммы.

Рис. 2.25. Непосредственный вызов подпрограммы

Схема такого вызова приведена на рисунке 2.25. Здесь и далее показан только этап получения линейного адреса в виртуальном пространстве, а следующий этап (подразумевается, что механизм поддержки страниц включен) преобразования этого адреса в номер физической страницы опущен, так как он не содержит ничего специфического по сравнению с доступом к сегменту данных, рассмотренному выше. Разрешение вызова происходит в зависимости от значения поля C в дескрипторе сегмента вызываемого кода. При C=0 вызываемый сегмент не считается подчиненным, и вызов разрешается, только если уровень прав вызывающего кода не меньше уровня прав вызываемого сегмента. При C=1 вызываемый сегмент считается подчиненным и допускает вызов из кода с любым уровнем прав доступа, но при выполнении подпрограмма наделяется уровнем прав вызвавшего кода.

Рис. 2.26. Формат дескриптора шлюза вызова подпрограммы

Рис. 2.27. Вызов подпрограммы через шлюз вызова

Очевидно, что первый способ непригоден для вызова функций операционной системы, имеющей обычно нулевой уровень прав, из пользовательской программы, работающей, как правило, на третьем уровне. Поэтому процессор i386 предоставляет другой способ вызова подпрограмм, основанный на том, что заранее определяется набор точек входа в привилегированные кодовые сегменты, и эти точки входа описываются с помощью специальных дескрипторов - дескрипторов шлюзов вызова подпрограмм. Этот дескриптор принадлежит к системным дескрипторам, и его структура отличается от структуры дескрипторов сегментов кода и данных (рисунок 2.26). Схема его использования приведена на рисунке 2.27. Селектор из поля команды CALL используется для указания на дескриптор шлюза вызова подпрограммы в таблицах GDT или LDT. Для использования этого дескриптора вызывающий код должен иметь не меньший уровень прав, чем дескриптор, но если дескриптор шлюза доступен, то он может указывать на дескриптор сегмента вызываемого кода, имеющий более высокий уровень, чем имеет шлюз, и вызов при этом произойдет. При определении адреса входа в вызываемом сегменте смещение из поля команды CALL не используется, а используется смещение из дескриптора шлюза, что не дает возможности задаче самой определять точку входа в защищенный кодовый сегмент.

При вызове кодов, обладающих различными уровнями привилегий, возникает проблема передачи параметров между различными стеками, так как для надежной защиты задачи различного уровня привилегий имеют различные сегменты стеков. Селекторы этих сегментов хранятся в контексте задачи - сегменте TSS (Task State Segment). Если вызывается подпрограмма, имеющая другой уровень привилегий, то из текущего стека в стек уровня доступа вызываемого сегмента копируется столько 32-разрядных слов, сколько указано в поле счетчика слов дескриптора шлюза.

Структура сегмента TSS задачи приведена на рисунке 2.28. Контекст задачи должен содержать все данные для того, чтобы можно было восстановить выполнение прерванной в произвольный момент времени задачи, то есть значения регистров процессора, указатели на открытые файлы и некоторые другие, зависящие от операционной системы, переменные. Скорость переключения контекста в значительной степени влияет на скоростные качества многозадачной операционной системы. Процессор i386 производит аппаратное переключение контекста задачи, хранящегося в сегменте TSS. Как видно из рисунка, сегмент TSS имеет фиксированные поля, отведенные для значений регистров процессора, как универсальных, так и некоторых управляющих (например LDTR и CR3). Для описания возможностей доступа задачи к портам ввода-вывода процессор использует в защищенном режиме поле IOPL (Input/Output Privilege Level) в своем регистре EFLAGS и карту битовых полей доступа к портам. Для получения возможности выполнять команды ввода-вывода выполняемый код должен иметь уровень прав не ниже значения поля IOPL. Если же это условие соблюдается, то возможность доступа к порту с конкретным адресом определяется значением соответствующего бита в карте ввода-вывода сегмента TSS (карта состоит из 64 Кбит для описания доступа к 65536 портам).


Битовая карта ввода/вывода (БКВВ)

(
(8 Кбайт

Дополнительная информация ОС

 

Относительный адрес БККВ

0

. . .0 T 64

0

. . .

0

Селектор LDT

60

0

. . .

0

 

GS

 

5C

0

. . .

0

 

FS

 

58

0

. . .

0

 

DS

 

54

0

. . .

0

 

SS

 

50

0

. . .

0

 

CS

 

4C

0

. . .

0

 

ES

 

48

EDI

44

ESI

40

EBP

3C

ESP

38

EBX

34

EDX

30

ECX

2C

EAX

28

EFLAGS

24

EIP

20

CR3

1C

0

. . .

0

SS уровня 2

18

14

0

. . .

0

SS уровня 1

10

ESP1

C

0

. . .

0

SS уровня 0

8

ESP0

4

0

. . .

0

Селектор TSS возврата

0

Рис. 2.28. Структура сегмента TSS

Кроме этого, сегмент TSS может включать дополнительную информацию, необходимую для работы задачи и зависящую от конкретной операционной системы (например, указатели открытых файлов или указатели на именованные конвейеры сетевого обмена). Включенная в этот сегмент информация автоматически заменяется процессором при выполнении команды CALL, селектор которой указывает на дескриптор сегмента TSS в таблице GDT (дескрипторы этого типа могут быть расположены только в этой таблице). Формат дескриптора сегмента TSS аналогичен формату дескриптора сегмента данных.

Рис. 2.29. Непосредственный вызов задачи

Как и в случае вызова подпрограмм, имеется две возможности вызова задачи - непосредственный вызов через указание селектора сегмента TSS нужной задачи в поле команды CALL и косвенный вызов через шлюз вызова задачи. Как и при вызове подпрограмм, непосредственный вызов возможен только в случае, если вызывающий код обладает уровнем привилегий, не меньшим, чем вызываемая задача. При вызове через шлюз (который может располагаться и в таблице LDT) достаточно иметь права доступа к шлюзу. Непосредственный вызов задачи показан на рисунке 2.29. При переключении задач процессор выполняет следующие действия:

1) Выполняется команда CALL, селектор которой указывает на дескриптор сегмента типа TSS.

2) В TSS текущей задачи сохраняются значения регистров процессора. На текущий сегмент TSS указывает регистр процессора TR, содержащий селектор сегмента.

3) В TR загружается селектор сегмента TSS задачи, на которую переключается процессор.

4) Из нового TSS в регистр LDTR переносится значение селектора таблицы LDT в таблице GDT задачи.

5) Восстанавливаются значения регистров процессора (из соответствующих полей нового сегмента TSS).

6) В поле селектора возврата заносится селектор сегмента TSS снимаемой с выполнения задачи для организации возврата к прерванной задаче в будущем.

Вызов задачи через шлюз происходит аналогично, добавляется только этап поиска дескриптора сегмента TSS по значению селектора дескриптора шлюза вызова.

Использование всех возможностей, предоставляемых процессорами Intel 80386, 80486 и Pentium, позволяет организовать операционной системе высоконадежную многозадачную среду.

Похожие работы на - Средства аппаратной поддержки управления памятью в микропроцессорах Intel 80386, 80486 и Pentium

 

Не нашли материал для своей работы?
Поможем написать уникальную работу
Без плагиата!
Без нейросетей!