Опріснення води за допомогою використання сонячної енергії на острові Зміїний
МІНІСТЕРСТВО
ОСВІТИ та НАУКИ УКРАЇНИ
МИКОЛАЇВСЬКИЙ
ДЕРЖАВНИЙ ГУМАНІТАРНИЙ УНІВЕРСИТЕТ
імені
ПЕТРА МОГИЛИ
комплексу
“КИЄВО-МОГИЛЯНСЬКА АКАДЕМІЯ”
ФАКУЛЬТЕТ
ЕКОЛОГО-МЕДИЧНИХ НАУК
Кафедра
екології та природокористування
ДИПЛОМНА
МАГІСТЕРСЬКА РОБОТА
на
тему:
«Опріснення
води за допомогою використання сонячної енергії на острові Зміїний»
Виконавець:
студентка
521 гр.
Воліченко А.
М.
Керівник:
професор, доктор технічних наук
Клименко Л.
П.
Миколаїв
- 2008
ЗМІСТ
Перелік
умовних позначень
Вступ
Розділ
1. Аналіз літератури по темі
1.1
Альтернативні
джерела енергії: використання сонячної енергії в Україні
1.2
Проблема
прісної води. Методи опріснення води
.3
Сонячні опріснювальні установки
.4
Розвиток геліоопріснювачів у світі
Сонячний
колектор - основний елемент геліоустановки
Розділ
2. Об’єкт і предмет дослідження
Розділ
3. Методика досліджень
Розділ
4. Результати особистих досліджень
.1
Характеристика сучасних геліоопріснювальних установок
.2
Вплив використання сонячної енергії та геліоопріснювальних установок на
довкілля
.3
Підбір конкретної установки для експериментального практичного дослідження
Розділ
5. Узагальнення досліджень
Розділ
6. Охорона праці, техніка безпеки та цивільна оборона
.1
Урахування питань охорони праці та техніки безпеки при монтажу, випробуванні та
експлуатації сонячної опріснювальної установки
.2
Органи управління цивільної оборони України
Висновки
і пропозиції
Література
опріснення вода колектор
геліоустановка
ПЕРЕЛІК УМОВНИХ ПОЗНАЧЕНЬ
ВДЕ - відновлювальні джерела енергії
ЗСПЕ - загальне споживання первинних
енергоносіїв
НВДЕ - нетрадиційні відновлювальні
джерела енергії
НДДКР - науково-дослідні та
дослідно-конструкторські роботи
ПВЗР - проект виконання зварювальних
робіт
ПВР - проект виконання робіт
ПЕБ - паливно-енергетичний баланс
ПЕР - паливно-енергетичні ресурси
ПОБ - проект організації будівництва
ТПВ - тверді побутові відходи
Т. У. П. - тонн умовного палива
ЦО - цивільна оборона
ВСТУП
Немає більш дорогоцінного скарбу,Ніж
вода, без якої жити не можна. А.П. Карпінський
Нині всім добре відомо, що без води
неможливий будь-який прояв життя. Вода забезпечує фізіологічні, біохімічні,
хімічні процеси в організмі будь-якої живої істоти на Землі. Без води не можуть
функціонувати ні промисловість, ні сільське господарство. Але при цьому вона
має відповідати належній якості. Вода має геологічне, кліматичне, енергетичне,
санітарно-гігієнічне, лікувальне, рекреаційне і навіть естетичне значення
Питання прісної води є однією з
найважливіших екологічних проблем глобального характеру. Вже сьогодні у
країнах, що розвиваються, кожен третій житель страждає від нестачі питної води
і відсутності належних санітарних умов, без яких неможливе нормальне життя.
Аналіз даних з водозабезпечення 180 різних країн світу, який був виконаний
Інститутом Світових ресурсів (США) показав, що 51відсоток країн мають низьку та
дуже низьку водозабезпеченість. Не краща ситуація склалася і в Україні: щорічна
нестача питної води на цей час становить 0,4 км³
прісної
води. Більше половини українських міст мають значні труднощі з водопостачанням
(причому їх кількість постійно зростає), близько 1300 сіл постійно постачаються
привізною питною водою.
Питання проблеми прісної води
зазначено в багатьох документах, як на міжнародному, так і на регіональному
рівнях, такими як: Всесвітня програма дій «Порядок денний на XXI століття»
(1992 р.); «Про водну політику Європейського Союзу» (1996 р.); низка Директив
ЄС, стосовно проблематики водного господарства; Закон України «Про
Загальнодержавну програму розвитку водного господарства»; Закон України «Про
загальнодержавну програму «Питна вода України» на 2006-2020 роки»;Закон України
«Про питну воду та питне водопостачання» та ін.
Проблему прісної води можна вирішити
як за допомогою „традиційних” методів опріснення так і з використанням
альтернативних джерел енергії. А саме, використовувати сонячну енергію для
опріснення води.
Сонце - найпотужніше джерело
екологічно чистої енергії. Воно являє собою віддалений від Землі на відстані
149,6 млн. км термоядерний реактор, який випромінює енергію при температурі
більше 10000 К, центр Сонця має температуру ~15 млн. К. Україна міститься в тих
географічних зонах, де річне надходження сонячного випромінювання складає
3500-5200 МДж/м², що
знаходиться на одному рівні з країнами, які активно використовують сонячні
колектори (США, Німеччина, Швеція та ін.). Тому за таких сприятливих умов
доцільно розвивати сонячну енергетику [34]
В роботі досліджується проблема
острова Зміїний, який розташований у північно-західній частині Чорного моря.
Острів Зміїний - унікальний історико-археологічний об'єкт далекого минулого
України. Він входить до «Державного реєстру національного надбання»(пам'ятки
історії, монументального мистецтва та археології). Острів Зміїний є єдиним
місцем, у межах території Причорноморської западини, де на денну поверхню
виходять нижні горизонти осадового чохла, гірські породи, що сформувалися ще у
палеозої.
Указом Президента України від 1998
р. “Про території та об’єкти природно-заповідного фонду загальнодержавного
значення” створено загальнозоологічний заказник загальнодержавного значення
“Острів Зміїний”. Прийнята постанова КМУ, від 2002, «Про затвердження
Комплексної програми подальшого розвитку інфраструктури та провадження
господарської діяльності на о. Зміїний і континентальному шельфі» [29]
На теперішній час вже створені деякі
умови проживання на острові. Проте водопостачання острова, на жаль, так і не
стало незалежним. З пробурених ще років п’ять тому експедицією інституту
«Дніпрогеофізика» чотирьох свердловин тільки одна оснащена установкою очищення
води до рівня питної. Дебет цієї свердловини 3 м³
на
годину. Вода із свердловини використовується для технічних потреб, а питна, в
основному, привізна [33]
Тому питання прісної води на острові
Зміїний є на сьогодні дуже актуальним.
Метою дипломної роботи є: дослідити
доцільність опріснення води за допомогою використання сонячної енергії на
острові Зміїний.
Для досягнення мети необхідно
вирішити наступні завдання:
провести аналіз літератури з
використання альтернативних джерел енергії, а особливо увагу приділити енергії
Сонця;
ознайомитися з територією та
дослідити кліматологічні фактори острова Зміїний;
провести аналіз літератури з
використання геліоопріснювальних установок та вивчити принцип їхньої дії;
підібрати опріснювальну установку для
подальшого практичного застосування;
зробити висновок щодо доцільності
опріснення води за допомогою використання сонячної енергії на острові Зміїний.
РОЗДІЛ 1 АНАЛІЗ ЛІТЕРАТУРИ ПО ТЕМІ
1.1 Альтернативні
джерела енергії. Використання сонячної енергії
Загальна характеристика енергетики
України та поновлювальних джерел енергії.
Енергетика є базовою галуззю
економіки. Ступінь забезпечення власними енергетичними ресурсами значною мірою
визначає суверенітет будь-якої країни. Тому стратегічним завданням розвитку
економіки є максимальне збільшення в її енергетичному балансі частки енергії,
виробленої за рахунок власних енергетичних ресурсів. Енергетичні ресурси
(джерела енергії) - це матеріальні об’єкти, в яких зосереджена енергія,
придатна для практичного використання людиною. Енергоресурси поділяють на
первинні та вторинні. Первинні енергоресурси - це природні ресурси, які не
переробляли і не перетворювали: сира нафта, природний газ, вугілля, горючі
сланці, вода річок і морів, гейзери, вітер тощо.
Енергетика України включає атомну
енергетику, гідроенергетику і теплову енергетику. Гідроенергетика практично
вичерпала можливості свого подальшого розвитку через обмеженість природних
місць придатних для будівництва нових гідроелектростанцій. Паливо для роботи атомних
і теплових електростанцій необхідно купувати за кордоном. Крім того, ці два
напрями розвитку енергетики в промислово розвинених країнах вважаються за мало
перспективних і екологічно небезпечних. Економічні прогнози показують, що до
середини 21 століття споживання енергії буде в 15 разів більше енергії
витраченої протягом всього 20 століття і потребує використання близько 80%
можливих запасів рідкого і твердого палива планети. До 2100 року інтегральне
споживання енергії більш ніж удвічі перевищить відомі оцінки економічно
доступних природних ресурсів
Інтенсивне використання теплових
електростанцій привело до появи низки екологічних проблем, серед яких
найгостріші по своїх несприятливих наслідках - збільшення викидів в атмосферу
вуглекислого газу і зменшення товщини озонового шару. Так, кожен кіловат
потужності теплової електростанції за один рік виробляє в якості побічних
продуктів в середньому 2,4 т золи, 30 кг окисли сірки і 3 кг окислу вуглецю. За
останні 100 років концентрація вуглекислого газу в атмосфері Землі підвищилася
на 13% [1]. Це збільшення може привести до розвитку парникового ефекту на
планеті. Вуглекислий газ затримує інфрачервоне випромінювання нашої планети,
порушуючи тим самим теплову рівновагу між Землею і навколишнім космічним простором.
Це вже зумовило підвищення середньої температури землі і танення льодів в
Арктиці і Антарктиці. Якщо цей процес не буде зупинений, то повне танення цих
льодів приведе до підйому рівня світового океану на 80-90 метрів і планетарної
катастрофи.
Деякі фахівці вважають, що атомні
електростанції виробляють електроенергію, яка сьогодні є дешевшою, ніж
електроенергія, що виробляється тепловими електростанціями. І цією тезою
прихильники розвитку атомної енергетики намагаються виправдати цей шлях
розвитку енергетичного комплексу України, не дивлячись на загальновизнану
екологічну небезпеку забруднення навколишнього середовища радіоактивними
відходами, про що свідчить трагедія на Чорнобильській АЕС. При роботі атомної
електростанції близько 99% палива йде у відходи, які є радіоактивними
продуктами розщеплювання. Проблема надійної герметизації відходів і визначення
безпечного місця їх зберігання, на думку представників найбільшої американської
компанії, „Ренд Корпорейшн“ практично ще не вирішена ні в одній країні світу.
Тому утилізація радіоактивних відходів є дорогою операцією, що вимагає
постійного екологічного нагляду. У більшості сучасних атомних електростанцій
закінчується термін їх експлуатації. Тому в самий найближчий час будуть
необхідні величезні капіталовкладення для будівництва гігантських захисних
споруд. Прикладів вдалої практичної консервації відпрацьованих свій термін
експлуатації атомних електростанцій немає ні в одній країні світу.
Одним з перспективних напрямів
розвитку атомної енергетики є термоядерний синтез. Проте головною проблемою є
незавершеність вельми дорогих експериментальних досліджень. При цьому в
майбутньому, на думку учених, проблема промислового керованого термоядерного
синтезу не буде вирішена
В даний час людство активно
упроваджує нові екологічно чисті джерела енергії. Перший бурхливий перехід на
нові джерела енергії відбувся з 1890 року по 1910 рік, коли каретно-кінна тяга
була замінена автомобілями, а електричне освітлення змінило газові світильники.
Цей перехід привів до промислової революції в більшості розвинених країн світу.
В даний час людство знов переживає черговий етап переходу на нові джерела
енергії, який почався в 1990 році і по прогнозах учених продовжиться до 2010
року. Особливість цього етапу полягає в його екологічній спрямованості -
зменшення забруднення навколишнього середовища, істотне скорочення викиду в
атмосферу вуглекислого і сірчистих газів. Протягом цього часу людство повинно
упровадити в повсякденне життя поновлювані екологічно чисті джерела енергії,
перш за все, такі як вітроенергетика і геліоенергетика. Інакше прийдешні
екологічні катастрофи поставлять під загрозу можливість подальшого існування
життя на нашій планеті [37]
Поновлювані джерела енергії - ті,
відновлення яких постійно здійснюється в природі (сонячне випромінювання,
біомаса, вітер, вода річок та океанів, гейзери тощо), і які існують на основі
постійних чи періодично виникаючих в природі потоків енергії, наприклад:
сонячне випромінювання (біомаса, енергія сонця, вітру, хвиль); гравітаційна
взаємодія Сонця, Місяця і Землі (наслідком якої є, наприклад, морські припливи
та відпливи); теплова енергія ядра Землі, а також хімічних реакцій і
радіоактивного розпаду в її надрах (геотермальна енергія джерел гарячої води -
гейзерів). Крім природних джерел поновлюваних енергоресурсів, сьогодні дедалі
більшого значення набувають антропогенні, до яких належать теплові, органічні
та інші відходи діяльності людства.
Згідно з Законом України «Про
альтернативні джерела енергії», альтернативні джерела енергії - це поновлювані
джерела, до яких відносять енергію сонячного випромінювання, вітру, морів,
річок, біомаси, теплоти Землі, та вторинні енергетичні ресурси, які існують
постійно або виникають періодично у довкіллі [27]
Згідно з класифікацією Міжнародного
енергетичного агентства до поновлюваних джерел енергії належать такі категорії:
тверда біомаса і тваринні продукти:
біологічна маса, у тому числі будь-які матеріали рослинного походження, що
використовуються безпосередньо як паливо або перетворюються на інші форми перед
спалюванням (деревина, рослинні відходи і відходи тваринного походження;
деревне вугілля, яке одержують з твердої біомаси);
газ/рідина з біомаси: біогаз,
отриманий у процесі анаеробної ферментації біомаси і твердих відходів, який
спалюється для виробництва електрики і тепла;
муніципальні відходи: матеріали, що
спалюються для продукування теплової та електричної енергії (відходи житлового,
комерційного і громадського секторів). Утилізуються муніципальною владою з
метою централізованого знищення;
промислові відходи: тверді й рідкі
матеріали (наприклад, автомобільні покришки), що спалюються безпосередньо,
зазвичай на спеціалізованих підприємствах, для виробництва теплової й
електричної енергії;
гідроенергія: потенційна, або
кінетична, енергія води, перетворена на електричну енергію за допомогою
гідроелектростанцій, як великих, так і малих;
геотермальна енергія: теплова
енергія, що надходить із земних надр, зазвичай у вигляді гарячої води або пари.
Використовується для виробництва або безпосередньо як джерело тепла для систем
теплопостачання, потреб сільського господарства тощо;
сонячна енергія: випромінювання
Сонця, що використовується для одержання гарячої води й електричної енергії;
енергія вітру: кінетична енергія
вітру, що застосовується для виробництва електроенергії у вітрових турбінах;
енергія припливів, морських хвиль і
океану: механічна енергія припливних потоків , або хвиль, що використовується
для виробництва електричної енергії;
У структурі світового виробництва
електричної енергії ВДЕ посідають почесне друге місце. Вони забезпечили 19%
світового виробництва електроенергії в 2000 р., слідом за вугіллям (39%),
випередивши атомну енергетику (17%), природний газ (17%) і нафту (8%). Основну
кількість електроенергії, що виробляється ВДЕ, отримано на гідроелектростанціях
(92%). Незважаючи на значний прогрес у розвитку, геотермальна, сонячна й
вітрова енергетика забезпечили в 2000 р. менше 3% від загального внеску ВДЕ,
хоча вже у 2002 р. ця цифра зросла до 4% [38]
Використання відновлювальних джерел
енергії в Україні
В умовах постійного росту цін на
традиційні енергоносії перед новим урядом України стоїть дуже відповідальне і
складне завдання: забезпечити якнайширше залучення нетрадиційних і
відновлювальних джерел енергії (ВДЕ) в паливно-енергетичний баланс країни.
Виробництво енергії з
відновлювальних джерел динамічно розвивається в більшості європейських країн. В
1995 році у країнах Європейського Союзу на частку ВДЕ припадало 74,3 млн. т. н.
е., що ставило близько 6% від загального споживання первинних енергоносіїв
(ЗСПЕ). З них частка біомаси складала понад 60%. Відповідно до затвердженої
програми розвитку ВДЕ, у країнах ЄС визначено завдання досягти 12% ЗСПЕ із ВДЕ,
при чому біомаса покриватиме близько 74% від загального внеску ВДЕ в 2010 році.
Згідно з вимогами ЄС, частка відновлювальних джерел енергії у національному
енерговиробництві країн, що прагнуть вступу в ЄС, повинна становити не менше
6%, або, з врахуванням великої гідроенергетики, не менше 12%.
Сьогодні біомаса вважається
четвертим за значимістю паливом у світі, яке щорічно дає в середньому 2 млрд.
т. у. п. енергії, що дорівнює близько 14% від загального світового споживання
первинних енергоносіїв (у країнах, що розвиваються, - понад 30%, іноді до
50-80%).
В Україні практичне використання ВДЕ
становить досить незначну частку в загальному енергоспоживанні - близько 2,8%,
хоча енергетичний потенціал основних видів ВДЕ є досить високим.
Загальний річний технічно досяжний
енергетичний потенціал відновлювальних і вторинних (позабалансових) джерел енергії
України в перерахунку на умовне паливо приблизно дорівнює 73 млн. т у. п., в
тому числі 63 млн. т у. п. - за рахунок освоєння відновлювальних джерел
енергії, 10 млн. т у .п. - за рахунок використання вторинних (позабалансових)
джерел енергії [6]
Розвиток нетрадиційних,
відновлювальних і позабалансових джерел енергії дає можливість вирішити ряд
завдань, а саме:
підвищити рівень енергетичної
безпеки за рахунок використання НВДЕ замість органічного палива в
паливно-енергетичному балансі (ПЕБ) країни;
знизити негативний вплив на
довкілля, мінімізувати локальні, глобальні екологічні проблеми;
створити нові ринки товарів і послуг
у сфері НВДЕ, впровадити науково-дослідні та дослідно-конструкторські роботи
(НДДКР) у цій галузі тощо, що при максимальному використанні та власного
потенціалу країни дає змогу ефективно вирішувати загальні завдання сталого
розвитку економіки: розвиток машинобудування та суміжних галузей за сучасними
технологіями, створення нових робочих місць тощо.
Проблемам використання НВДЕ реальну
увагу в Україні почали надавати лише після проголошення незалежності, тоді як в
розвинених країнах над цими проблемами працювали ще з середини 70-х рр.
минулого століття і розвиток цих джерел енергії отримав значну фінансову
державну політику. На жаль, Україна в умовах складної економічної ситуації
цього не в змозі забезпечити. Разом з тим, значно нижчі ціни на електроенергію
та тепло нашої країни та менш жорсткі, ніж в розвинених країнах світу (де НВДЕ
використовуються широкомасштабно), екологічні вимоги, - все це об’єктивно
стримує розвиток НВДЕ в Україні. Крім того, для цілого ряду технологій
використання НВДЕ головний ефект обумовлюється екологічними чинниками, а не
виробництвом паливно енергетичних ресурсів (ПЕР), - виробництво біогазу зі
стічних вод, відходів тваринництва і птахівництва, спалювання відходів та
утилізація метану зі звалищ твердих побутових відходів тощо. Деякі технології
використання НВДЕ можуть лише доповнювати традиційну енергетику. Це в першу
чергу стосується використання енергії вітру, оскільки потужність
вітроелектростанцій потрібно практично на 100% резервувати традиційними
електростанціями, щоб забезпечити надійність електропостачання та нормативну
якість електричної енергії
У перспективі на темпи й масштаби
розвитку НВДЕ в Україні впливатимуть головним чином такі взаємопов’язані
фактори:
рівень політичної та громадської
підтримки розвитку НВДЕ;
конкурентоспроможність НВДЕ відносно
до традиційних джерел енергії та обсяги фінансової підтримки на
загальнодержавному й місцевих рівнях для їх впровадження та розвитку;
жорсткість екологічних обмежень і
вимог;
загальний стан економіки;
обсяги провадження НВДЕ на базі
механізмів реалізації проектів спільного впровадження та торгівлі квотами на
викиди газів, що викликають парниковий ефект, передбачені Кіотським протоколом
до Рамкової конвенції ООН зі зміни клімату;
вступ України до ЄС, в якому
країни-члени повинні забезпечувати постійне і досить швидке зростання частки
НВДЕ в ПЕБ.
Враховуючи значну невизначеність цих
факторів у перспективі, розроблено три сценарії розвитку НВДЕ: оптимістичний,
базовий і песимістичний.
Основні напрямки розвитку ВДЕ
вбачаються у використанні енергії вітру для виробництва електроенергії,
сонячної та геотермальної енергії - для виробництва тепла, а також в утилізації
відходів біомаси, ТПВ, стічних вод, лузги, фекальних стічних вод від
птахофабрик і тваринницьких ферм тощо - шляхом безпосередньо спалювання або
отримання біогазу для виробництва тепла й електроенергії та використання
біогазу як моторного пального. Крім того, як моторне пальне передбачається
використовувати біодизельне паливо з ріпаку та сої.
Відповідно до базового сценарію до
2010 року обсяг інвестицій складе 11 млрд. грн., протязі 2011-2020 років - 31,1
млрд. грн. та в 2021-2030 - 40,6 млрд. грн.
За рахунок розвитку НВДЕ
прогнозується, що частка відновлювальної енергії в загальному
паливно-енергетичному балансі країни для базового сценарію зросте з приблизно
4% на рівні 2010 року до порядку 10% на рівні 2030.
Залучення до ПЕБ країни НВДЕ
забезпечить зниження викидів парникових газів приблизно з 2-3 млн. т на рік у
вуглецевому еквіваленті на рівні 2010 року до 10-12 млн. т на рік на рівні
2030.
Засобом для досягнення окреслених
цілей повинна стати державна політика, спрямована на підтримку розвитку й використання
в довгостроковій перспективі. Це передбачає створення відповідної
нормативно-правової бази та забезпечення фінансової підтримки розвитку НВДЕ на
загальнодержавному, місцевому й галузевому рівнях [6]
Потенційні можливості
геліоенергетики
Сонце являє собою вiддалений вiд
Землi на вiдстань 149,6 млн. км термоядерний реактор, який випромiнює енергiю
при температурi 5785 К. Енергiя потрапляє на Землю головним чином у формi
електромагнiтного випромінювання в спектральному дiапазонi вiд коротких радiохвиль
довжиною 30 м до рентгенівських променiв з довжиною хвилi 10-10 м [5]
Для оцінки можливостей сонячної
енергетики приблизно вважають, що щільність потоку сонячної радіації поза
атмосферою Землі рівна 1,4 кВт/м2, а на рівні океану на екваторі опівдні 1
кВт/м2 [19].
Спільна потужність сонячної
радіації, що перехоплюється нашою планетою, складає 1,7·1014 кВт. Це колосальна
потужність приблизно в 500 разів перевищує граничні і навряд чи досяжні потреби
людської цивілізації, які за оцінкою Римського клубу, можуть скласти 3·1011
кВт. Якщо оцінити всю сонячну енергію, яку наша планета отримує за один рік, то
вона складе 1018 кВт· год., що приблизно в 10 разів більше енергії всіх
розвіданих і нерозвіданих викопних палив, включаючи і речовини, що розщеплюються.
Із спільної кількості сонячної радіації, що поступає на Землю, близько 30%
негайно відбивається в космос у вигляді короткохвильового випромінювання, 47%
адсорбується атмосферою, поверхнею планети (сушею і океаном) і перетворюється
на тепло, яке переважно розсівається в космос у вигляді інфрачервоного
випромінювання, інші 23% залучаються до процесів випару, конвекції, осідань і
кругообігу води в природі. Невелика частка, близько 0,2%, йде на утворення
потоків в океані і атмосфері, включаючи океанські хвилі. І лише 0,02%
захоплюється хлорофілом зелених рослин і підтримує життя на нашій планеті. Мала
частка від цих 0,02% забезпечила мільйони років назад накопичення на Землі
запасів викопного палива [37]
Потенцiал сонячної енергії можна
охарактеризувати середньорiчним значенням надходження сонячної радiацiї на 1 м2
горизонтальної поверхнi. Нижче наводиться рiчне надходження сонячної енергiї на
територiї деяких країн: СНД - 800-2000 кВт·год/м2; Німеччина, Польща, Чехiя,
Словаччина - 950-1050 кВт·год/м2; Угорщина - 1200 кВт·год/м2; Монголiя - 1750
кВт·год/м2; Куба - 1900 кВт·год/м2, Болгарiя - 2000 кВт·год/м2 [22]
Масштаби використання сонячної
енергiї залежать вiд метеорологiчних умов - кiлькостi сонячних днів на рiк,
рiчної кiлькостi сонячної радiацiї та її розподiлу по сезонах тощо. В районах,
котрi мають бiльше 1800 годин сонячного сiяння в рiк, треба використовувати
сонячну енергiю для теплозабезпечення будiвель.
Сонячна енергія упевнено завойовує
стійкі позиції в світовій енергетиці. Привабливість сонячної енергетики
обумовлена низкою обставин:
сонячна енергетика доступна в кожній
точці нашої планети, розрізняючись по щільності потоку випромінювання не більше
ніж в два рази. Тому вона приваблива для всіх країн, відповідаючи їх інтересам
в плані енергетичної незалежності;
сонячна енергія - це екологічно
чисте джерело енергії, що дозволяє використовувати його у все зростаючих
масштабах без негативного впливу на навколишнє середовище;
сонячна енергія - це практично
невичерпне джерело енергії, яке буде доступне і через мільйони років [37]
На території України енергія
сонячної радіації за один середньорічний світловий день складає в середньому 4
кВт· годину на 1м² ( у
літні дні - до 6 - 6.5 кВт· година ) тобто близько 1,5 тисяч кВт· год. за рік
на кожен квадратний метр. Це приблизно стільки ж, скільки в середній Європі, де
використання сонячної енергії носить найширший характер
За даними Проблемного інституту
нетрадиційних енерготехнологій (м. Київ), на територію України щороку попадає
720 млрд. Мвт/годин сонячної енергії, що еквівалентно 88400 млн. тонн умовного
палива.
Середньорічна кількість сонячного
випромінювання, що попадає на 1 м2 поверхні, на території України коливається
від 1070 кВт·год/м2 у північній її частині до 1400 кВт·год/м2 і вище в Криму
Тривалiсть сонячного сiяння (ТСС) в
середньому за рiк найбiльших значень на Україні досягає на узбережжях морiв
2300-2400 годин, найменшi рiчнi величини ТСС спостерiгаються в захiдних районах
Полiсся та лiсостепу. В Карпатах тривалість сонячного сiяння (iнсоляцiя) влiтку
в 1,5-3 рази бiльше ніж взимку, при цьому в гiрських районах зi збiльшенням
висоти мiсцевостi вона знижується. В цілому радіацiйний режим територiї
України, особливо її пiвденних районiв, сприятливий для практичного
використання сонячної енергiї [5]
Використання сонячної енергії.
Сонце здатне забезпечити нас такою
кількістю енергії, яка значно перевищує наші потреби. З часом люди винаходили
нові способи використання сонячного випромінювання. З’явилися навіси, що
зберігають сонячне тепло взимку, теплиці, завдяки яким можна подовжувати
тривалість сільськогосподарських робіт; зимові сади, високоефективні сушилки,
сонячні пічки для приготування їжі та плавки металів, опріснювачі води. Завдяки
сонячній енергії можна забезпечити гарячою водою житлові будинки і промислові
підприємства; підігрів басейнів; опалення приміщень; охолодження й
кондиціонування повітря. На енергії сонячних променів сьогодні рухаються
машини.
Сонячну енергію використовують
безпосередньо або за допомогою сонячних колекторів як дармове тепло для
нагрівання води, сушіння різних матеріалів, у медицині. Однак таке використання
сонячної енергії малоефективне і можливе лише у світлий період доби.
Більш ефективно використовувати
сонячну енергію, перетворюючи її, наприклад, за допомогою фотовольтаїчних
батарей на електричну енергію, котру зручніше використовувати, і за допомогою
акумуляторів накопичувати й витрачати вночі, тобто при відсутності радіації.
Іншим напрямком використання
сонячної енергії стала концентрація її на великій площі з подальшим
перенаправленням на значно меншу площу з метою використання. Велика кількість
концентрантів і фокусуючих колекторів умовно поділяються на низькотемпературні
(сотні °С) та високотемпературні (до 1000°С і вище).
За допомогою низькотемпературних
концентраторів і фокусуючих колекторів можна забезпечити гаряче водопостачання
та опалення житлових будинків, промислове тепло для технологічних процесів на
підприємствах, ефективне сушіння різних матеріалів, роботу насосів періодичної
дії для підйому води зі свердловин, опріснення води, приготування їжі тощо.
Високотемпературні концентратори
(звичайно великі за розміром) дозволяють одержати в фокусі дуже високу
температуру, що стало підставою для сонячних технологій з використанням
екологічно і технічно чистої енергії. Наприклад, для створення сонячних печей з
температурою до 4000°С. У порівнянні до класичних печей сонячні мають низку
суттєвих переваг. Вони дають змогу одержувати різкий стрибок температури [26]
В деяких країнах розробляються
гелiоенергетичнi установки з використанням сонячних ставків. Використовують і
сонячнi батареї, проте поки що в основному в космосi, а на Землi тiльки для
електрозабезпечення автономних споживачiв потужнiстю до 1 кВт [22]
Світовий досвід розвитку
геліоенергетики.
У ряді закордонних країн
альтернативні джерела енергії з разючою активністю утягуються в енергобаланс, і
відставання нашої країни становить не один десяток років.
Не дивлячись на своє географічне
положення, Швеція являється Європейським лідером по використанню теплових колекторів
(Рис. 1.1.1.5.1.) [32].
Рис.1.1.1.5.1. Загальна площа
сонячних колекторів (м²) на
крупних теплостанціях в країнах Європи (SE - Швеція, DK - Данія, DE -
Німеччина, NL - Голландія, AT - Австрія, CH -Швейцарія, FIN - Фінляндія)
З 46 Європейських великомасштабних
теплових станцій Швеція має 15. Починаючи з 1997 року, в Німеччині і Австрії
було побудовано 20 подібних теплостанцій. Спільний об'єм продажів сонячних
теплових колекторів в 1998 році в Німеччині, Австрії, Швеції склав 1млн. м².
До
кінця 2000 року загальна площа теплових колекторів в Європі складе 8 млн. м2,
що дозволить уникнути викиду в атмосферу 1,4 млн. тонн СО2, які виробляються
при використанні на теплових електростанціях 450 тис. тонн нафти [32].
До лідерів використання сонячної
теплової енергії відноситься Ізраїль. Згідно існуючому в цій країні „Сонячного
Закону“, 80% населення країни використовує теплові колектори для отримання
гарячої води. Все нові будівлі, що будуються, в Ізраїлі повинні мати теплові
колектори для отримання гарячої води. При цьому для кожної 2-3 кімнатних
квартири кількість гарячої води нагрітою до 50ºС
повинно складати 120 літрів. Застосування теплових колекторів вже зараз
дозволяє економити 5% вироблюваній в Ізраїлі електроенергії.
Німеччина. Роботи із прискореного
переходу на нетрадиційні джерела енергії ведуться вже досить давно, в основному
через те, що країна відносно бідна паливом: вугілля добувається в основному
буре, низькокалорійне, великі нафтові родовища відсутні; устаткування на АЕС по
строках експлуатації підходить до критичної оцінки. Але справа навіть не в
цьому - країна в стані закуповувати паливні ресурси, однак її турбують
екологічні проблеми, і упор робиться на безпечні, екологічно чисті види
енергії, при цьому низько витратні. До 1997 р. число електростанцій, що
виробляють електроенергію з поновлюваних джерел, виросло до 18 тис., а в 1990
р. їх було 5600.
Китай. 75% енергетичних витрат
покривається за рахунок самого «брудного» палива - кам'яного вугілля, що майже
вдвічі вище середньосвітового рівня, 18% - за рахунок нафти (що, навпаки,
значно нижче, ніж в інших країнах). Стало бути, на частку інших джерел - ТЕС на
природному газі, ГЕС, АЕС - залишається всього 7%. Виявляється, Китай є
світовим лідером у використанні сонячної енергії - самої чистої, дешевої й
практично невичерпної. Місцем цього досить перспективного починання став «дах
миру» - Тибетське нагір'я на висоті 3-5 тис. метрів, найближча до Сонця частина
нашої планети. Тут ідеальні умови для практичного використання сонячного
випромінювання - повітря чисте, сухе, інсоляція становить не менш 3000 ч/рік.
Ось уже більше 15 років китайські вчені й інженери здійснюють прийняту
Держрадою КНР «Програму використання сонячної енергії в Тибеті». Створений там геліоцентр
займається як фундаментальними дослідженнями, так і дослідно-конструкторськими
розробками [39]
У Тибеті, за даними на 1997 р.,
використовувалося 50 тис. побутових геліопечей. У нових міських селищах
геліоустановками опалювалося понад 150 тис. квадратні метри житла. У пригородах
Лхаси й Шигадзе функціонувало понад 100 га плівкових геліотеплиць, сонцем
обігрівався плавальний басейн, на енергії світила працювала місцева наземна
станція супутникового зв'язку. На цей період Тибетський автономний район щорічно
заощаджував 100 тис. т вугілля. Це дозволило, крім явних економічних вигід,
зберігати унікальну природу регіону.
Італія. На острові Сицилія ще на
початку 80-х рр. дала струм СЕС потужністю 1 Мвт. Дзеркала фокусують сонячні
промені на приймачі, розташованому на висоті 50 м. Там виробляється пара
температурою більше 600 °С, що пускає в хід традиційну турбіну з підключеним до
неї генератором струму. На такому принципі можуть працювати електростанції
потужністю 10-20 МВт, а також набагато більше, якщо групувати подібні модулі,
приєднуючи їх друг до друга.
Іспанія. СЕС в Алькерії працює
по-іншому: сфокусуюче на вежі сонячне тепло запускає натрієвий круговорот, а
той уже нагріває воду до утворення пари. У такого варіанта ряд переваг.
Натрієвий акумулятор тепла забезпечує не тільки безперервну роботу
електростанції, але дозволяє частково накопичувати надлишкову енергію для
роботи в похмуру погоду й уночі. Потужність станції всього 0,5 МВт, але на тім
же принципі можуть бути створені куди більші, до 300 Мвт. Також важливо, що КПД
паротурбінного процесу тут нітрохи не гірше, ніж на традиційних
електростанціях.
США. Першим штучним супутником, на
якому були встановлені сонячні батареї, був «Авангард-1», виведений на орбіту
17 березня 1958 р.
Швейцарія. Тут побудовано близько
2600 геліоустановок на кремнієвих фотоперетворювачах потужністю 1-1000 кВт і
сонячних колекторів для одержання теплової енергії. У селищі Грилцель сонячна
установка забезпечує цілодобове висвітлення автодорожнього тунелю.
Україна. В загальному по Україні
використання сонячних систем не набуло широкого впровадження, хоча є яскраві
приклади їх застосування в Криму, Дніпропетровську та на Закарпатті.
З 1988 р. на Керченському півострові
працює Кримська СЕС (потужність 5МВт )Уже якщо де й будувати такі станції, так
це в першу чергу в краях курортів, санаторіїв, будинків відпочинку, туристських
маршрутів - там, де треба багато енергії, але ще важливіше зберегти в чистоті
навколишнє середовище, саме благополуччя якої, і насамперед повітря, цілюще для
людини [39]
В Івано-Франківській області в м.
Коломиї приватним підприємцем для власних потреб використовується сонячна
фотоелектрична станція потужністю 8,8 кВт. За допомогою станції власник отримує
щодобово 300 літрів води підігрітої до температури 60 градусів Цельсію.
Установка оснащена автоматизованою системою орієнтації фотоелементів відносно
сонця, при відсутності сонця в схему включено електробойлер, який живиться від
загальної електромережі. Власник за рахунок використання установки отримує
близько 3,5 тис. грн. на рік економії коштів по оплаті за електроенергію.
Основні потужності (більше 60%), а
за деякими оцінками більше 80%, у колишньому СРСР по виробництву кремнію були і
залишаються в Україні. В Україні зосереджено 10% десять відсотків світових
потужностей, відсоток завантаження яких на сьогоднішній день незначний. Це такі
підприємства як: Донецький хіміко-металургійний завод; Запорізький
титано-магнієвий комбінат; Світловодський завод чистих металів. Проте, багато
тон кремнію щомісяця експортується, що не може не позначитися на рівні цін на
цей матеріал, а як результат - практична відсутність економічної вигоди від
експорту сировини по своїй природі енергоємної, наукомісткої і дорогої [40]
Пошук фірм у The Europen Business
Directory, які займаються проектуванням і розробкою устаткування і технологій
по використанню і перетворенню енергії сонця, дав наступні результати (табл. 1)
[25]
Таблиця 1.1.1.5.1.
Кількість закордонних фірм, які
займаються проектуванням і розробкою устаткування і технологій по використанню
і перетворенню енергії сонця.
|
Назва держави
|
Кількість фірм
|
Назва держави
|
Кількість фірм
|
|
Австрія
|
74
|
Німеччина
|
560
|
|
Бельгія
|
82
|
Норвегія
|
5
|
|
Великобританія
|
180
|
Польща
|
16
|
|
Греція
|
13
|
Португалія
|
14
|
|
Данія
|
41
|
Словенія
|
1
|
|
Єгипет
|
1
|
Туреччина
|
1
|
|
Ірландія
|
11
|
Угорщина
|
1
|
|
Іспанія
|
64
|
Фінляндія
|
15
|
|
Італія
|
272
|
Франція
|
217
|
|
Люксембург
|
7
|
Швейцарія
|
69
|
|
Нідерланди
|
82
|
Швеція
|
21
|
Як видно, у списку майже не
представлені фірми із СНД, не представлена в ньому і Україна. Така ситуація
вимагає змін. Україна може і повинна зробити свій внесок у вирішення глобальних
проблем зміни клімату
1.2 Проблема прісної
води. Методи опріснення води
Нерівномірність розподілу прісної
води по регіонах планети, в тому числі в межах окремих країн, зростаючий обсяг
споживання прісної води промисловим та аграрним виробництвами, також
комунально-побутовою сферою на фоні безперервного зниження якості природних вод
внаслідок їх антропогенного забруднення ставлять забезпечення населення планети
якісною питною водою в ряд найважливіших соціально-економічних проблем
світового співтовариства [2]
Довгий час вважалося, що запаси
прісної води невичерпні, що вони мають здатність до самовідновлення. У
результаті безконтрольної господарської діяльності кількість придатної для
пиття води різко зменшилась. Так, якщо в 1900 році людством було використано
лише 5% запасів прісних вод, то у 2005 році - вже 35%. Більше мільярда жителів
нашої планети живуть в умовах постійного гострого дефіциту питної води, а до
2050 року біля 7 млрд. чоловік відчуватимуть нестачу якісної прісної води [35]
Проблема питної прісної води є
однією з найважливіших екологічних проблем і України. Особливо це стосується
південних її регіонів, а насамперед Криму. Ситуація ускладнюється ще тим, що
найбільш водомісткі галузі промисловості (гірнича, металургійна, хімічна тощо)
зосереджені також в південних регіонах України. Крім цього, якість прісної води
в Дніпрі, за рахунок якої забезпечується питною водою до 4 % населення країни,
за останні 40-50 років неухильно погіршується.
Міські водопровідні мережі, особливо
в малих і середніх містах України, застарілі, незадовільно експлуатуються, а
якість води, яка подається населенню міськими водопроводами, часто не
відповідає вимогам, що пред'являються до якості питної води. Не менш складною є
проблема забезпечення якісною питною водою сільських населених пунктів України,
в більшості яких відсутнє централізоване водопостачання, а якість води в
локальних джерелах (колодязі, свердловини тощо) також часто не відповідає
вимогам, які пред'являються до питної води. Все викладене вище ставить проблему
суттєвого покращання якості питних вод шляхом технічного і технологічного
переозброєння цієї галузі господарства в ряд життєво важливих проблем України.
Одним з практично можливих шляхів
покращання якості питної води, особливо для локального водопостачання і
забезпечення питною водою
малих
та середніх міст, є використання різноманітних технологій очистки та опріснення
природних, в тому числі й морських, вод [2]
Питна вода - це багатокомпонентний,
складного фазово-дисперсного складу водний розчин, що містить розчинені
мінеральні і органічні речовини, завислі колоїдні частинки і нешкідливі для
здоров'я людини мікроорганізми, без запаху, безбарвний і приємний на смак.
Загальний вміст і співвідношення розчинених і диспергованих в природній питній
воді компонентів коливається в досить широких межах, однак вони не повинні
перевищувати гранично допустимі концентрації (ГДК) по окремих компонентах, які
встановлені нормативними документами, а також не повинні бути нижчі від
фізіологічних (санітарно-гігієнічних) норм по ряду життєво необхідних
мінеральних солей та мікроелементів. Вказані вимоги особливо важливі при
використанні для одержання питної води таких технологій опріснення природної
води, як зворотний осмос, нанофільтрування, мембранна дистиляція, електродіаліз
та термічна дистиляція, оскільки вода, одержана зазначеними методами,
непридатна для пиття без коригування її, щонайменше, мінерального складу [17]
Опріснення води - спосіб обробки
води з метою зниження концентрації розчинених солей до ступеня (зазвичай до 1
г/л), при якій вода стає придатною для питних і господарських цілей.
На даний час запропоновано й
використовується понад 15 типів технологій очистки, опріснення та знезараження
природних вод з метою одержання якісної питної води (табл. 1.2.1.) [2]
Таблиця 1.2.1.
Типи технологій та установок для
очищення, опріснення та знезараження води
|
Механічні методи
|
Фізико-хімічні методи
|
Сорбційні методи
|
Мембранні методи
|
Інші методи
|
Методи знезараження води
|
|
Фільтрування через зернисті шари (пісок,
кварц, скло, вуглецеві та металічні порошки)
|
Коагуляція
|
Сорбція на природних сорбентах (цеоліти,
глини)
|
Мікрофільтрування
|
Електро- хімічна
|
УФ-опромінененя
|
|
Фільтрування через волокнисті не тканинні і
тканинні матеріали
|
Флокуляція
|
Сорбція на активованому вугіллі
|
Ультрафільтрування
|
Магніто еенергетична
|
Озонування
|
|
Фільтрування через пористі неорганічні
матеріали
|
Флотація
|
Сорбція на іонообмінних смолах
|
Нанофільтрування
|
|
Хлорування
|
|
|
|
Зворотний осмос
|
|
Бактерицидні полімери
|
|
|
|
Електродіаліз
|
|
|
|
|
|
Мембранна дистиляція
|
|
|
|
|
|
Первапорація
|
|
|
Серед сучасних технологій одержання
питної води найбільш економічними, екологічними, енерго- та
матеріалозберігаючими є мембранні технології (зворотний осмос, електродіаліз,
ультра- та нанофільтрування, мембранна дистиляція) [16]
Зворотний осмос - при створенні
підвищеного тиску в ємності розділяють напівпроникною мембраною, прісна вода
проходить через мембрану, а солі затримуються. Вода, рухома осмотичним тиском
(завдяки різниці концентрацій) проходить через мембрану в концентрований
розчин. Потік води продовжується до тих пір, поки не розведеться концентрований
розчин, при цьому протитиск перешкоджає подальшій протоці води через мембрану
(осмотична рівновага).
Якщо до концентрованої частки застосувати
тиск вище осмотичного, нормальний тиск осмотичного потоку придбає зворотний
напрям. Чиста вода проходить через мембрану з концентрованої частки, таким
чином це і є основний принцип зворотного осмосу (раніше цей процес називався
гіперфільтрацією) [36]
Для зворотноосмотичного опріснення
морської води використовують мембранні елементи різноманітних типів: рулонні,
порожнинно-волоконні та плоскокамерні . Найбільшого поширення набули рулонні
мембранні установки. [3]
Опріснення морської, соленої та
солонуватої води можливе також з використанням електродіалізу - через морську
воду пропускають електричний струм, видаляючи солі, що перебувають у ній. Слід
вказати, що електродіалізне опріснення найбільш ефективне при вмісті солей у
воді 1-10 г/л. Однак відомі дослідження з електродіалізного опріснення морської
води з загальним вмістом солей 35 г/л, при цьому пом’якшення води проводилося
на Na-катіонітних фільтрах за одностадійною (залишкова карбонатна жорсткість
330мг/л) або двостадійною (повне пом’якшення) схемою. Загальний вміст солей в
процесі електродіалізу знижувався до 1 г/л, а концентрація солей в розсолі
досягала 75 г/л. Електродіаліз може бути ефективно використаний також для
видалення з морської та соленої води надлишків бору, фтору та інших шкідливих
домішок [7]
Нанофільтрування як мембранний
процес, що відбувається при низьких робочих тисках (0,4 - 1,5 МПа), був
розроблений, насамперед, для практичних потреб - обробки природних (головним
чином річкових та підземних солонуватих) вод. Тепер це основна галузь
використання нанофільтрування, завдяки якому затримується 90 - 100 %
високомолекулярних та низькомолекулярних органічних сполук, колоїдів,
радіонуклідів, солей жорсткості, мікроорганізмів та знижується забарвленість
води. Іноді нанофільтрувальні мембрани називають мембранами для пом’якшення
води, оскільки вони ефективно знижують загальну жорсткість природних вод.
Перспективними для очистки природних
вод від колоїдів, іоногенних органічних речовин (ПАР, барвники, гумінові та
фульвові речовини, білки, карбонові кислоти тощо) та мікроорганізмів, а також
від солей жорсткості, важких металів та багатозарядних іонів неорганічних
сполук є заряджені мікро- та ультрафільтрувальні мембрани. Причиною підвищеної
затримувальної здатності цих мембран є різке зниження вірогідності попадання
іоногенних частинок в пори мембрани внаслідок дії сил електростатичного
відштовхування між однойменно зарядженими поверхнею мембрани та частинками.
Причому ефект зростання затримки іоногенних речовин на заряджених мембранах
найбільший у тому випадку, коли розмір частинок розчиненої речовини суттєво
менший (на порядок і більше) від діаметра пор мембрани [2]
Ще одним перспективним методом для
одержання чистої води, що після коригування її мінерального складу може
використовуватися мембранна дистиляція.
Суттєвими перевагами мембранної
дистиляції перед іншими, в тому числі й мембранними, методами є можливість
отримання дуже чистої води в одну стадію з різної початкової якості, в яких,
однак, містяться тільки нелеткі розчинені речовини і немає розчинених ПАР
будь-якої хімічної природи та будови. Крім цього, мембранна дистиляція
забезпечує високий ступінь відбору чистої води (90-95 %), концентрування
домішок до утворення практично насичених їх розчинів при відсутності різниці
тисків по обидва боки мембрани. Мембранна дистиляція була випробувана при
одержанні чистої та знесоленої води з морської та артезіанської. Відзначено
стабільно високу якість дистиляту незалежно від концентрації підживлюючого
розчину.
Мембранно-дистиляційне опріснення води
передбачає попереднє її очищення лише від механічних домішок. Тривала
експлуатація, як правило, супроводжується зниженням продуктивності мембран
внаслідок забруднення їх поверхні, однак цей процес відбувається набагато
повільніше, ніж у випадку інших мембранних процесів (наприклад, зворотного
осмосу). Відновлення продуктивності мембран після опріснення артезіанської води
досягається їх обробкою солянокислим розчином . Необхідно зазначити, що
оскільки цей метод опріснення вивчається порівняно недавно (5-10 років), то
практично немає результатів довгострокових випробувань мембранної дистиляції
стосовно забруднення і регенерації мембран.
Первапорація - це мембранний процес,
який відбувається з використанням непористих мембран для вилучення з води
невеликих домішок органічних речовин (спиртів, ацетону, бензолу, ароматичних
вуглеводнів тощо) або для видалення домішок води з цих речовин.
Принципово важливою і необхідною
умовою для одержання опрісненої морської води є її багатостадійна попередня
очистка від домішок та забруднень різної дисперсності та природи. Після
видалення грубих (механічних) домішок різними способами виникає необхідність
очистки води від тонких (завислих) та колоїдних забруднень. Ця стадія
попередньої очистки води може бути безреагентною з використанням різноманітних
фільтрів (залежно від ступеня забрудненості води) або реагентною з
використанням коагулянтів, флокулянтів та інших реагентів разом з обов'язковим
фільтруванням крізь тонкі мікрофільтраційні патронні фільтри (табл. 1.2.2.) [2]
Таблиця 1.2.2.
Попереднє очищення природних вод
|
Очищення від грубих механічних забруднень
|
Очищення від тонких і колоїдних домішок
|
|
Поверхневі природні води
|
Способи видалення домішок
|
Морська вода
|
Поверхневі і підземні води
|
|
|
Реагентні методи
|
Безреагентні методи
|
Реагентні методи
|
Безреагентні методи
|
|
1.Предмети, що плавають
|
1. Ґрати на трубі водозабору
|
1. Коагуляція, флотація, фільтрування
|
1. Піщаний фільтр, намивний фільтр
|
1. Коагуляція, піщаний фільтр, патронний
фільтр
|
1.Двошаровий фільтр, патронний фільтр
|
|
2. Частинки з розміром понад 1,5 мм
|
2.Ротаційний екран
|
2. Коагуляція в лінію
|
2. Піщаний фільтр, ультрафільтрування
|
2.Знезараження, патронний фільтр
|
2. Патронний фільтр
|
|
3. Дрібні піщинки
|
3. Пастка в трубі водозабору
|
3. Коагуляція, відстоювання, фільтрування
|
3. Двошаровий фільтр, піщаний фільтр,
патронний фільтр
|
3. Підкислення
|
|
|
4. Завислі частинки
|
4. Басейн для відстоювання води
|
4.Знезараження, патронний фільтр
|
4. Піщаний фільтр, двошаровий фільтр,
патронний фільтр
|
4. Пом’якшення
|
|
|
|
5. Підкислення
|
5. Двошаровий фільтр, патронний фільтр
|
|
|
|
|
6. Пом’якшення
|
6. Чотиришаровий фільтр, піщаний фільтр (<1
мкм)
|
|
|
|
|
|
|
|
|
|
|
Виділяють наступні фізико-хімічні
процеси водоочистки і водопідготовки
Решітки. Перша стадія водоочистки
полягає у видаленні з води великих плаваючих предметів і зваженого сміття. На
подальших стадіях обробки води використовуються тонші решета, що дозволяють
видалити з неї дрібний зважений матеріал.
Аерування води може здійснюватися
різними способами, наприклад в каскадах водопадів. Цей процес приводить до
видалення з води діоксиду вуглецю, сірководня і летких масел, які можуть
надавати воді якого-небудь смаку або запаху. При аеруванні також відбувається
окислення розчинних у воді іонів заліза і марганцю.
Флокуляція. Цей процес включає
обережне збовтування води, що приводить до конгломерації дрібних часток з
утворенням більших, таких, що швидко осідають на дно. До флокулянтів належать
неорганічні або органічні високомолекулярні сполуки, які сприяють утворенню
агрегатів у результаті об’єднання кількох часток за допомогою макромолекули
адсорбованого або хімічно зв’язаного полімеру. Невеликі добавки цих речовин
істотно змінюють стабільність дисперсій. Вони прискорюють утворення пластівців
гідроксидів алюмінію і феруму, осадження пластівців, збільшують щільність
коагулянту та ступінь прояснення води [9, с.141]
Флотація ґрунтується на різній
змочуваності мінералів водою. Суть процесу полягає у специфічній взаємодії
завислих речовин з бульбашками тонкодиспергованого у воді повітря з подальшим
утворенням на поверхні води шару піни з речовинами, які вилучають. Флотацією
можна очищувати воду від твердих завислих часток, нафтопродуктів, масел та
інших емульгованих рідких речовин, а також від окремих йонів розчинених
речовин. [9, с. 97]
Седиментація. У цьому процесі відбувається
видалення зважених у воді часток в результаті їх осідання на дно.
Фільтруванням називають процес
розділення неоднорідних систем (суспензій) за допомогою пористих перегородок,
які затримують одну (тверду) фазу цих систем і пропускають іншу (рідку).
Хімічна підготовка води проводиться
по-різному, залежно від якості води, що забирається з річки або іншого
резервуару. Нижче вказані найбільш споживані форми хімічної підготовки води:
Коагуляція. Для коагуляції зважених
у воді дрібних і колоїдних часток в неї додають спеціальні коагулянти, під дією
яких у воді утворюються легкі суспензії. Вони характеризуються достатніми
розмірами часток і щільністю, щоб їх можна було видалити седиментацією. Для
видалення лужних речовин, що містяться у воді, зазвичай використовуються такі
коагулянти, як алюмінат натрію і сульфат алюмінію.
Дезинфекція. Для руйнування
мікроорганізмів, що містяться у воді, її дезинфікують, як правило, з
використанням рідкого хлору, хлорного вапна або порошкоподібного гіпохлориту
кальцію. Хлорування зазвичай є останньою стадією водопідготовки.
Зм'якшування води. У цьому процесі
усувається жорсткість води, що викликається розчиненими в ній солями кальцію і
магнію. З цією метою на водопровідних станціях у воду зазвичай додають
гідроксид кальцію або карбонат натрію. Для зм'якшування води можуть
використовуватися також іонообмінні смоли.
Адсорбція. Адсорбцією називається
поглинання однієї речовини поверхнею іншої речовини. В процесі водопідготовки
для видалення з води органічних сполук їх адсорбують на активованому вугіллі.
Деякі органічні сполуки не удається видалити звичайними процесами
водопідготовки.
Окислення. Для видалення з води
деяких небажаних речовин їх можна окислювати, перетворивши при цьому на менш
шкідливі форми. Наприклад, окислення озоном дозволяє перетворити ціаниди, що
містяться у воді, на ціанати [21]
Відповідно до вище описаних способів
опріснення води існують різні типи опріснювальних установок. Дистиляційні
опріснювальні установки (однокорпусні і багатокорпусні, за способом опріснення
- парокомпресорні і сонячні) застосовуються при опрісненні морської води і
солоних вод. Опріснення води електродіалізом і гіперфільтрацією (зворотним
осмосом) економічно при солевмісті 2,5-10 г/л, іонним обміном - менше 2,5 г/л.
Зі всього об'єму одержуваної в світі опрісненої води 96% доводиться на частку
дистиляційних опріснювальних установок, 2,9% - електродіалізних, 1% -
гіперфільтрацій і 0,1% - на частку заморожуючих і іонообмінних опріснювальних
установок. Залежно від продуктивності опріснювальна установка складається з
одного або декількох включених паралельно опріснювачів [15]
Також опріснювати воду можна ще за
допомогою використання енергії Сонця (буде розглянуто в наступному розділі).
.3 Сонячні опріснювальні установки
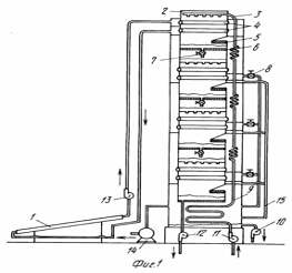
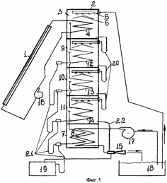
Поняття сонячного опріснювача. Перші
опріснювачі
Як вже зазначалося вище, населення
районів півдня країни зазнають гострий дефіцит прісної води, і в той же час там
є значні запаси солоних вод, які не придатні для вживання. Знесолювання
мінералізованих вод або опріснення морської води успішно здійснюється за
допомогою сонячної енергії, використовуючи сонячні опріснювачі.
Сонячний опріснювач - пристрій для
отримання води, в якому джерелом енергії являється сонячне випромінювання.
Поширення одержали головним чином сонячні опріснювачі типу «гарячий ящик»,
котрі відрізняються простою конструкцією, вимагають порівняно невеликих
капіталовкладень і не мають потреби у кваліфікованому догляді. Такий опріснювач
виготовлений у вигляді теплоізольованого і затемненої зсередини посудини, дно
якого заливається солоною водою, яка потребує опріснення. Верхня частина
сонячного опріснювача покрита світлопрозорим матеріалом (склом, полімерною
плівкою, оргсклом). Сонячне випромінювання, проходячи через прозорий матеріал,
нагріває воду, і це призводить до її випаровування. Водяні пари, стикаючись із
прозорим покриттям, що має температуру, близьку до температури навколишнього
середовища, конденсуються на її внутрішній поверхні, і прісна вода стікає в
збірник. Сонячні опріснювачі звичайно орієнтують на південний кут нахилу
світлопроникної поверхні. Продуктивність сонячного опріснювача такого типу
визначається в основному інтенсивністю сонячної радіації й ступенем
герметизації установки й становить 3-5 л/м2·доб [47]
Перший у світі опріснювач, що імітує
круговорот води в природі, був побудований на півночі Чилі в селищі Лас Салінас
ще в 1872 р. і протягом 36 років постачав прісною водою рудник, даючи в день 20
м3 питної води. Це була проста установка басейнового типу, що займала площа
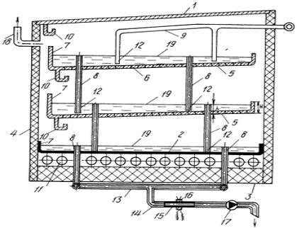
4600 кв. метрів, що переробляла солону й забруднену воду (рис. 1.3.1.1.)
Рис. 1.3.1.1. Сонячний опріснювач
(дистилятор) басейнового типу
- мінералізована вода; 2 - басейн; 3
- теплоізоляція; 4 -гідроізоляція; 5 - скляний дах; 6 - конденсат; 7 -
прийомний жолоб; 8 - трубка для дистиляту.
Морська або мінералізована вода,
заливалася в дрібний басейн із теплоізоляцією й гідроізоляцією. При наявності
Сонця вода з басейну випаровувалася, а водяні пари, що утворяться,
конденсувалися на похилому скляному даху. Краплі дистиляту стікали в похилий
жолоб, по якому цей дистилят попадав у накопичувальну ємність.
На рисунку (1.3.1.2.) показана дещо
змінена конструкція сонячного опріснювача, що має подвійну півсферичну оболонку
з прозорої пластмаси. Усередині оболонки рухається мінералізована вода, що
підводиться по нижньому патрубку і відводиться по верхньому патрубку. Завдяки
цьому виробляється попередній підігрів води за рахунок теплоти конденсації
пари.
Рис. 1.3.1.2. Пластмасовий
дистилятор з підігрівом води
- морська вода; 2 - корпус басейну;
3 - теплоізоляція; 4 - гідроізоляція; 5-внутрішня прозора оболонка; 6 -
конденсат; 7 - дистилят; 8 - відведення дистиляту; 9 - зовнішня прозора
оболонка; 10 - холодна вода; 11 - нагріта вода
Існуючі типи сонячних установок для
опріснення морської води і знесолення мінералізованої води можна розділити на
три групи:
) опріснювачі басейнового типу, в
яких сонячна енергія використовується безпосередньо для випаровування води в
процесі дистиляції. Як додаткове джерело енергії може використовуватися,
наприклад, нагріта охолоджуюча вода;
) установки з процесами зволоження
повітря і конденсації пари і багатократним використовуванням сонячної енергії в
багатоступінчатих або паралельно включених розширювачах-випарниках, при цьому
перенесення водяної пари здійснюється унаслідок конвекції повітря;
) установки, в яких джерелом енергії
служить сонячна радіація, але принцип роботи їх подібний звичним паливним
опріснювальним установкам, причому рух робочої рідини і водяної пари
здійснюється за допомогою насоса і вакууму-насоса.
Для нагрівання від 20 до 50°С 1 кг
або 1 л води і її випару потрібно затратити близько 2,4 МДж теплоти або 670
квт·год. на 1 м3 води. Протягом літнього, сонячного дня на 1 м2 надходить
близько 20 МДж сонячної енергії, при КПД сонячного опріснювача 0,36 за день
випаровується шар води товщиною 3 мм.
Завдяки ефективнішому
використовуванню теплоти (зокрема, для попереднього підігріву опріснювальної
води за рахунок теплоти конденсації водяної пари) в багатоступінчатих сонячних
опріснювальних установках її витрата значно нижче за теоретичний (670 кВт· год.
на 1 м³) і складає всього
50- 60 кВт· год. /м³, а
в системах із застосуванням зворотного осмосу і електродіалізу і того
менше-5-15 кВт· год. /м³. В
установках останніх типів споживання енергії пропорційне солевмісту води, і при
дистиляції забрудненої мало мінералізованої води витрата енергії складає 1 кВт·
год. /м³.
Для великомасштабних сонячних
опріснювальних установок з добовою продуктивністю 100-200 м³
води
в день багатоступінчаті установки мають перевагу, - оскільки вони споживають
менше енергії на перекачування, і устаткування у меншій мірі піддається
корозії. У вже згадуваній крупній опріснювальній установці в Абу-Дабі використовуються
вакуумні трубчасті скляні колектори, площею 1862 м².
У них вода нагрівається до 80 ° С і вище і подається в тепловий акумулятор,
завдяки чому забезпечується безперервний процес дистиляції. Температура води,
що поступає у випарники, рівна 75-80°С. Необхідна витрата теплоти складає 45
кВт· год. на 1 м³ дистиляту,
а витрата електроенергії 7 кВт· год. /м³ [22]
1.4 Розвиток
геліоопріснювачів в світі
Опріснення солоних вод розвивається
достатньо інтенсивно. Внаслідок чого кожні два-три роки сумарна продуктивність
установок подвоюється.
Перша в СРСР дослідно-виробнича
сонячна установка для знесолення мінералізованих вод була споруджена в 1968 р.
в селищі Бахарден в пустелі Кара-Кум в Туркменії. Вона мала площу 600 м²,
влітку
давала від 2,4 до 4л прісної води в день 1 м²
площі
басейну і обслуговувала вівчарську ферму.
Починаючи з 60-х років в різних
країнах був споруджений ряд крупних сонячних опріснювальних установок
басейнового типу. В даний час в світі експлуатується не менше 25 могутніх
сонячних установок для опріснення морської води з одиничною площею басейну від
100 до 30 000 м² з
сумарною площею більше 50 тис. м² і
загальною продуктивністю більше 200 м³ прісної
води в день. Найкрупніша сонячна опріснювальна установка експлуатується з 1984
р. в Абу-Дабі (Об'єднані Арабські Емірати), яка була розроблена спільно США і
Японією. Це установка нового типу, і розрахункова продуктивність складає 120 м³
прісної
води в день, а фактично досягнута середньорічна продуктивність 80 м³
в
день. До числа крупних сонячних опріснювальних установок відносяться чотири
установки в Греції - на островах Патмос (площа басейну 8500 м²
продуктивність
40 м³ дистиляту в день),
Кимолос і Сими (площа 2600-2800 м²), дві
установки в Кубер Педі в Австралії продуктивністю 14 м³
в
день, установка в Пакистані (Гвадар) площею 16 000 м²
продуктивністю
60 м³ прісної води в
день. Установки великої продуктивності побудовані також в Іспанії, Індії і
інших країнах.
Промислове опріснення океанських і
морських вод в приатлантичних країнах ведеться на Канарських островах, в
Тунісі, Англії, на острові Аруба в Карибському морі, Венесуелі, на Кубі, в США
і ін. На Україні опріснювальні установки застосовуються в північно-західній
частині Причорномор’я і в Приазов'ї. Опріснювальні установки функціонують також
і в деяких районах тихоокеанського побережжя - в Каліфорнії, наприклад, така
установка, виробляє в добу 18, 9 тис. м куб. води для технічних цілей.
Порівняно невеликі опріснювачі встановлені в латиноамериканських країнах.
Високопродуктивні опріснювальні установки з виходом 1-3 млн. м куб. води в добу
проектується в Японії. У великих масштабах ведеться опріснення солоних вод в
Індійському океані. Практикується головним чином в Індоокеанських країнах
Близького Сходу, де прісна вода дуже дефіцитна і у зв'язку з цим ціни на неї
високі. Порівняно недавно в Кувейті, наприклад, тонна нафти коштувала значно
дешевше тонни води, привезеної з Іраку. Проте економічні показники тут
виконують другорядну роль, оскільки прісна вода необхідна для життєзабезпечення
людей.
До найкрупніших в світі виробників
опрісненої води відноситься Кувейт, де опріснювальні установки забезпечують
прісною водою всю державу. Великі об'єми прісної води одержують в Іраку, Ірані,
Катарі. Опріснення морської води налагоджене в Ізраїлі. У Індії діють
опріснювальні установки невеликої потужності (у штаті Гуджарат працює сонячний
опріснювач потужністю 5 тис. л води в добу, який забезпечує прісною водою
місцеве населення) [22]
Сонячний колектор - основний елемент
гелиоустановки.
Основним елементом геліоустановки
являється сонячний колектор - теплообмінний прилад, призначений для
перетворення енергії сонячного випромінювання. Його завданням є підігрів
робочої рідини (вода, тосол) для господарських цілей. Це може бути опалення
приміщень, приготування теплої води, підігрів басейнів, тощо. Колектор
розміщений в тепло ізольованому корпусі з метала, пластмаси, дерева, бетону або
інших матеріалів, маючи одне або багатошарове світлопрозоре покриття зі скла
або синтетичної плівки. Сонячне випромінювання, проходячи крізь скло і
попадаючи на затемнену поверхню колектору, нагріває її [18]
Існує безліч різних варіантів
реалізації сонячних колекторів, призначених для виробництва теплової енергії
для опалення й нагрівання води. Все різноманіття сонячних колекторів можна
підрозділити на наступні типи:
- сонячні поглиначі;
- плоскі сонячні колектори;
- вакуумні трубчасті колектори;
- фокусуючий колектор.
Сонячні поглиначі являють собою
прості поглинаючі покриття, відлиті з високоякісної гуми разом з
розприділяючими і збираючими трубками. Покриття повинні бути стійкими до впливу
очищаючих засобів і температурам у діапазоні від -50 до +120º
С.
Вони повинні бути завжди еластичними й зберігати гнучкість на холоді. Сонячні
поглиначі можуть установлюватися на дахах і на поверхні землі, займаючи при
цьому великі площі. Вони служать для нагрівання води до температури 50oС
Плоский сонячний колектор (рис.
1.3.3.1.а) складається з корпуса, прозорого огородження, абсорбера й теплової
ізоляції. Корпус є основною несучою конструкцією, прозоре огородження пропускає
сонячну радіацію усередину колектора, захищає абсорбер від впливу зовнішнього
середовища й зменшує теплові втрати з лицьової сторони колектора. Абсорбер
поглинає сонячну радіацію й по трубках з’єднаних з його теплоприймаючою
поверхнею передає тепло теплоносієві. Теплова ізоляція зменшує теплові втрати з
тильної й бокової поверхонь колектора.
Теплоприймаюча поверхня абсорбера
має селективне покриття, що має високий коефіцієнт поглинання у видимій і
ближній інфрачервоній області сонячного спектра й низький коефіцієнт
випромінювання в області спектра відповідним робочим температурам колектора. У
кращих сучасних колекторів коефіцієнт поглинання находиться в межах 94-95%,
коефіцієнт випромінювання 3-8%, а ККД в області робочих температур типових для
систем теплопостачання перевищує 50%. Неселективне чорне покриття абсорбера в
сучасних колекторах використається рідко через високі втрати на випромінювання
[45]
Як і плоскі сонячні колектори,
вакуумні трубчасті колектори (рис. 1.3.3.1.б) перетворюють падаючу сонячну
енергію в тепло. Сонячне випромінювання проникає у вакуумну скляну трубку, де
попадає на її внутрішню поглинаючу поверхню, на якій і відбувається
перетворення енергії сонячного випромінювання в теплову енергію. Фактично втрати
тепла в навколишнім середовищі не відбувається, що пов'язане з використанням
високоякісного селективного покриття на внутрішній поверхні скляної трубки, а
також завдяки тому, що вона вакуумна. Теплова енергія, що утворилася на
поглинаючій поверхні, передається в трубку теплообмінника, що перебуває в
нижній частині поглинача. У результаті рідина в цій трубці нагрівається й
частина її випаровується. Пар, що утворився, попадає в конденсатор, де
перетворюється у воду. Теплота, що виділяється в процесі конденсації,
передається потоку води, а конденсат повертається в теплообмінник. Таким чином,
реалізується замкнутий цикл. ККД вакуумного колектора значно вище ніж у
плоского, проте і ціна на вакуумний колектор також вище [46]
а) плоскі сонячні колектори б)
вакуумний колектор
Рис. 1.3.3.1. Плоскі та вакуумний
сонячні колектори
Фокусуючий колектор - це
концентруючий пристрій, що складається з віддзеркалюючої поверхні сферичної чи
параболічної форми, що фокусує сонячні промені на трубі теплоприймача з
теплоносієм, в результаті чого температура теплоносія досягає 400-650 º
С.
Проте експлуатація такої системи ускладнюється необхідністю точного регулювання
слідкуючих систем для встановлення теплоприймача точно у фокусі віддзеркалених
променів [10]
ККД сонячного колектора складає
порядка 70% і залежить від температури навколишнього середовища, густини потоку
сонячної енергії і температури, до якої необхідно нагрівати воду в колекторі.
Із зменшенням температури, до якої необхідно нагрівати воду, циркулюючу через
колектор, ККД колектора збільшується. Проте стандартна температура води, що
нагрівається, складає 50º С.
Для сонячного колектора основною технічною характеристикою є об'єм води або
повітря, нагрітих до заданої температури протягом світлового дня квадратним
метром колектора. Цей параметр залежить від пори року і географічного положення
місця, в якому встановлюються колектори. Ефективність сонячного колектора може
бути збільшена приблизно на 20% при використовуванні на теплоприймаючій
поверхні селективно поглинаючих покриттів, які володіють властивістю добре
поглинати видиму частину сонячного спектру і практично не випромінювати в
інфрачервоній області спектру [23]
Місце розташування колектора
На місці експлуатації колектори
встановлюються так, щоб їх засклення було спрямовано на південь із можливими
відхиленнями на схід до 20º, а
на захід - до 30º. Перевищення
допущених відхилень приводить до зниження теплопродуктивності колекторів. Дах
будинку в більшості випадків є самим раціональним місцем розміщення колектора,
тому що, як правило, дах досить високий, що дозволяє уникнути затінення
колектора протягом світлового дня навколишніми предметами, будинками або
рослинністю, що приводить до зниження його теплопродуктивності.
Якщо дах будинку не підходить для
установки сонячного колектора (наприклад, дах орієнтований на північ-південь),
існують ще стіни, орієнтовані на південний захід і південний схід. Для цього
потрібна будівля, що буде захищати колектор від атмосферних впливів і
нержавіюча несуча конструкція. У цьому випадку колектор може служити ще й
козирком над вхідними дверима або терасою, або балконом.
Усі кріпильні елементи виготовлені з
анодируваного алюмінію (крім конструкцій на плоский дах) і з нержавіючої сталі.
Опорні конструкції і кріпильні елементи розраховані на вітрове навантаження 30
м/с [62]
РОЗДІЛ 2 ОБ’ЄКТ І ПРЕДМЕТ
ДОСЛІДЖЕННЯ
Об’єктом дослідження є острів
Зміїний (рис. 2.1.), предметом - прісна вода (для забезпечення життєдіяльності)
і енергія сонця (за допомогою якої і можна опріснити воду). Розглянемо більш
конкретніше об’єкт та предмет дослідження
Рис. 2.1. Місце розташування
о. Зміїний [43]
Острів Зміїний (рум.
<#"721986.files/image007.gif">
<#"721986.files/image009.gif">
Рис. 2.4. Фотознімок о.
Зміїний з гелікоптера
<#"721986.files/image010.gif"> (3.1.)
де
- обсяг
теплової енергії, виробленої сонячним колектором за i-тий проміжок часу, Дж;
- площа поверхні сонячного
колектору, м²;
- густина потоку сонячної радіації,
що надходить на поверхню колектора протягом і-того проміжку часу, Вт/м²;
- ефективний оптичний ККД
колектора;
- сумарний коефіцієнт тепловтрат
сонячного колектора, Вт/ (м²· К);
- температура теплоносія на вході в
сонячний колектор протягом і-того проміжку часу, ºС;
- температура навколишнього
середовища протягом і-того проміжку часу, ºС;
-тривалість сонячного сяяння
протягом досліджуваного періоду часу, с [12, с. 12]
Характеристика кількості
сумарної сонячної радіації, що надходить на квадратний метр поверхні (
) на різних
широтах Європейської частини, наведена в таблиці 3.1. [4, с. 135]
Таблиця 3.1.
Інтенсивність сонячної
радіації на різних широтах по місяцях Вт/м²
|
Місяць Широта
|
І
|
ІІ
|
ІІІ
|
IV
|
V
|
VI
|
VII
|
VIII
|
IX
|
X
|
XI
|
XII
|
Середнє за рік
|
|
Європейська частина
|
|
40-45 º
|
67
|
96
|
144
|
187
|
228
|
265
|
259
|
237
|
178
|
127
|
71
|
58
|
159
|
|
45-50 º
|
42
|
70
|
130
|
184
|
250
|
274
|
252
|
231
|
163
|
94
|
50
|
28
|
146
|
|
50-55 º
|
31
|
59
|
108
|
149
|
211
|
240
|
221
|
177
|
125
|
65
|
30
|
19
|
118
|
|
55-60 º
|
22
|
52
|
108
|
154
|
215
|
230
|
222
|
174
|
116
|
56
|
25
|
16
|
115
|
|
60-65 º
|
9
|
29
|
91
|
141
|
188
|
230
|
209
|
146
|
79
|
31
|
11
|
3
|
96
|
|
65-70 º
|
3
|
22
|
87
|
153
|
200
|
244
|
228
|
164
|
74
|
27
|
5
|
0
|
99
|
Ефективний оптичний ККД (
) колектора
сонячної енергії залежить від його конструкційних особливостей. Значення
ефективного оптичного ККД для різних типів сонячних колекторів наведені в
таблиці 3.2.
Таблиця 3.2.
Ефективний оптичний ККД для
різних типів сонячних колекторів
|
Тип колектора сонячної енергії
|
Ефективний оптичний ККД
|
|
Колектор з неселективним покриттям без
засклення
|
0,95
|
|
Колектор з неселективним покриттям і одинарним
заскленням
|
0,78-0,85
|
|
Колектор з неселективним покриттям і подвійним
заскленням
|
0,73-0,75
|
|
Колектор з селективним покриттям і одинарним
заскленням
|
0,75-0,8
|
|
Колектор з елективним покриттям і подвійним
заскленням
|
0,7
|
|
Вакуумійований скляний трубчатий колектор
|
0,75
|
|
Колектор стальний листотрубний
|
0,75
|
|
Латунно-алюмінієвий колектор
|
0,73
|
Можна розрахувати ефективний
оптичний ККД сонячного колектора за наступною формулою:
η0 =ά·τ
(3.2.)
де η0
- ефективний оптичний ККД колектора;
ά - поглинальна
здатність променеприймальної поверхні;
τ - коефіцієнт
пропускання сонячного випромінювання прозорим покриттям.
Характеристики ά
і
τ
для
різних типів колекторів наведені в таблиці 3.3. [4]
Таблиця 3.3.
Поглинальна здатність
променеприймальної поверхні ά та
коефіцієнт пропускання сонячного випромінювання прозорим покриттям τ
для
різних типів сонячних колекторів
|
Тип колектора сонячної енергії
|
ά
|
τ
|
|
Колектор з неселективним покриттям і одинарним
заскленням
|
0,95
|
0,87
|
|
Колектор з неселективним покриттям і подвійним
заскленням
|
0,95
|
0,77
|
|
Колектор з селективним покриттям і одинарним
заскленням
|
0,9
|
0,87
|
Коефіцієнт пропускання сонячного
випромінювання τ прозорим
покриттям колектора сонячної енергії залежить від характеристик матеріалу, з
якого зроблене покриття. Значення τ для
різних матеріалів наведені в таблиці 3.4.
Таблиця 3.4.
Коефіцієнт пропускання сонячного
випромінювання τ різними
матеріалами
|
Матеріал
|
Товщина, мм
|
τ
|
|
Скло
|
4
|
0,91
|
|
Полікарбонат
|
2
|
0,84
|
|
Фіберглас
|
2
|
0,9
|
|
Полівінілхлорид
|
0,1
|
0,92
|
|
Поліметилметакрил
|
3
|
0,89
|
|
Тефлон
|
0,25
|
0,96
|
|
Поліамід
|
0,006
|
0,8
|
|
Поліетилен
|
0,05
|
0,84
|
Поглинальна здатність
променеприймальної поверхні сонячного колектору ά
залежить
від властивостей матеріалу, з котрого виготовлена ця поверхня. Значення ά
для
різних матеріалів наведені в таблиці 3.5. [4]
Таблиця 3.5.
Поглинальна здатність (ά)
різних
матеріалів
|
Матеріал
|
ά
|
|
Чорний хром
|
0,87-0,93
|
|
Чорний нікель
|
0,87-0,92
|
|
Анодування
|
0,82-0,99
|
|
Оксид міді
|
0,83-0,91
|
|
Чорна фарба неорганічна
|
0,89-0,96
|
|
Чорна фарба акрилова
|
0,92-0,97
|
|
Чорна фарба силіконова
|
0,86-0,94
|
Значення сумарного коефіцієнту
тепловтрат сонячного колектору, в залежності від його типу, наведені в таблиці
3.6. [4]
Таблиця 3.6.
Сумарний коефіцієнт тепловтрат
сонячного колектора
|
Тип колектора сонячної радіації
|
Сумарний коефіцієнт тепловтрат, Вт/(м²·
К)
|
|
Колектор з неселективним покриттям без
засклення
|
15
|
|
Колектор з неселективним покриттям і одинарним
заскленням
|
7,0-11,0
|
|
Колектор з неселективним покриттям і подвійним
заскленням
|
4,5-8,0
|
|
Колектор з селективним покриттям і одинарним
заскленням
|
3,5-5,5
|
|
Колектор з селективним покриттям і подвійним
заскленням
|
3,5-6,0
|
|
Вакуумійований колектор
|
2,0-3,0
|
|
Колектор з тепловою пасткою
|
4,0-5,0
|
|
Колектор з комірчастою структурою для
пригнічення конденсації
|
3,0-4,0
|
|
Колектор з чорним теплоносієм та прозорими
трубами
|
3,0-4,0
|
|
Багатошаровий колектор (простір між склом і
поглинаючою пластиною заповненою водою)
|
6,0-7,0
|
|
Сонячний повітронагрівач
|
7,0-8,0
|
|
Колектор з тепловою трубою
|
1,5-2,0
|
|
Концентратори
|
0,8-1,4
|
|
Колектор стальний листотрубний
|
5,8 Вт/(м2·К)
|
|
Латунно-алюмінієвий колектор
|
5,3 Вт/(м2·К)
|
Тривалість періоду сонячного сяяння
- кліматична характеристика регіону, задається так, як і температура
навколишнього середовища, окремо для кожного проміжку часу (табл. 3.7.) [11]
Таблиця 3.7.
Середня тривалість сонячного сіяння
по місяцях, год.
|
Південний степ
|
|
Пункт спостереження
|
I
|
II
|
III
|
IV
|
V
|
VI
|
VII
|
VIII
|
IX
|
X
|
XI
|
XII
|
Рік
|
|
Асканія-Нова
|
58
|
83
|
143
|
204
|
235
|
308
|
345
|
326
|
241
|
166
|
98
|
45
|
2300
|
|
Одеса
|
70
|
88
|
140
|
201
|
277
|
305
|
347
|
323
|
250
|
174
|
69
|
59
|
2302
|
|
Херон
|
63
|
86
|
141
|
198
|
363
|
306
|
346
|
324
|
342
|
169
|
76
|
54
|
2282
|
Температура теплоносія на вході в
сонячний колектор залежить від температури холодної води (до якої прирівнюється
температура теплоносія на виході з будівлі) та від тепловтрат трубопроводу,
який подає теплоносій в колектор.
Температура теплоносія на вході в
сонячний колектор пропонується розраховувати за такою наступною формулою:
(3.3.)
де
-
температура теплоносія на вході в сонячний колектор протягом і-того проміжку
часу, º
С;
та
- температура холодної води і
навколишнього середовища відповідно протягом і-того проміжку часу, º С;
- тепловтрати трубопроводу на шляху
подачі теплоносія до сонячної установки протягом і-того проміжку часу, Вт;
- інтенсивність перекачування води
через сонячний колектор, л/с;
- питома ізобарна теплоємність
води, що дорівнює 4190 Дж/ (кг · ºС);
- густина води, що дорівнює 1 кг/л;
- довжина трубопроводу, який подає
теплоносій від розподільчого вузла до сонячного колектору, м;
,
-коефіцієнти теплопровідності від
теплоносія до стінки трубопроводу (внутрішній коефіцієнт) та від зовнішньої
поверхні ізоляції в навколишнє середовище (зовнішній коефіцієнт), Вт/ (м· ºС);
,
- внутрішній діаметр трубопроводу і
зовнішній діаметр ізоляційного покриття, м;
- теплопровідність n-ного шару
ізоляції, Вт/ (м²·
ºС);
,
- внутрішній та зовнішній діаметри
n-ного шару ізоляції, м [12, с. 13]
РОЗДІЛ 4 РЕЗУЛЬТАТИ ОСОБИСТИХ
ДОСЛІДЖЕНЬ
4.1 Сучасні
геліоопріснювальні установки, їх вплив на довкілля
На теперішній час використання
геліоопріснювальних установок набуло досить широкого застосування по всьому
світі. Винайдено велику кількість різноманітних патентів, які потребують
більшого вдосконалення та практичного застосування. Розглянемо деякі сучасні
геліоопріснювальні установки.
Геліотермічна опріснювальна
установка ВГТУ-О-2-8
Установка призначена для дистиляції
води за рахунок сонячної енергії. Вони можуть використовуватися для
приготування питної води в побутових і виробничих умовах, для дистиляції води в
технологічних цілях на хімічних, фармацевтичних виробництвах, в сільських
господарствах, на консервних, виноробних та інших підприємствах.
Основними елементами установок
ВГТУ-О-2 є трубчасті високотемпературні вакуумні колектори сонячного
випромінювання (ТВВК-2). Вони мають вигляд тонкостінної труби з неіржавіючої
сталі, оточену вакуумним скляним кожухом. На поверхні труби нанесене поглинаюче
покриття .
Колектори разом з дзеркальними
відбивачами збираються в геліомодулі (4 колектори в одному модулі). Площа збору
сонячного випромінювання одним модулем складає 1 м².
Протягом дня здійснюється автоматична орієнтація геліомодулей на сонці і тим
самим забезпечується максимальне використовування сонячного проміння. Сонячне
проміння за допомогою відбивачів концентрується на колекторах і доводить її до
кипіння. Пароводяна суміш поступає в сепаратора, де відбувається розділення
пари від води. Вода знову подається в геліомодулі, а пара проходить через
конденсатор і перетворюється на дистильовану воду. Енергія, що виділяється при
конденсації пари, йде на нагрів води, частина якої прямує в колектори, а інша -
використовується для побутових або господарських потреб. Робота установки
протягом дня регулюється автоматично.
Витрата електроенергії для запуску
установки в роботу і орієнтації її по сонцю протягом дня складає не більш 0,01
кВт · год. в день. Підготовлений варіант установки, що працює без споживання
електроенергії. Технічні характеристики установки наведені в таблиці 4.1.
Таблиця 4.1.
Технічні характеристики ВГТУ
|
Назва установки
|
ВГТУ-О-2-4
|
ВГТУ-О-2-8
|
ВГТУ-О-2-16
|
|
Кількість поглинаючих модулів ГМ-2 (шт.)
|
4
|
8
|
16
|
|
Площа поверхні, поглинаюча сонячним
випромінюванням (м²)
|
4
|
8
|
16
|
|
Температура підігріву води (º
С)
|
95
|
95
|
95
|
|
Розмір установки (мм³)
|
4500x4000x3500
|
4500x7000x3500
|
|
Вага установки (кг)
|
410
|
640
|
1130
|
Секційний принцип побудови встанови
дозволяє збирати її з необхідного числа геліомодулей . Продуктивність установок
слабо залежить від часу дня.
Продуктивність установки практично
не залежить від температури навколишнього повітря. Продуктивність установки при
відкритому сонці восени і весною в середньому складає 82%, а взимку - 64% від
середньої продуктивності протягом літа. Установка працює при негативних
температурах повітря. Спеціальна обробка запобігає утворенню накипу в
колекторах і в комутаційних трубопроводах [48]
Сонячні опріснювачі води
"Оазис"
Сонячний опріснювач призначений для
отримання питної води з солоної (морський) і забрудненої води. Опріснювачі
"Оазис" і "Оазис-1" - малогабаритні. Опріснювач
"Оазис-1000" призначений для забезпечення прісною (питний) водою
селищ, готелів, ресторанів і т. і.
Опріснювач також очищає воду від
шкідливих домішок, хвороботворних мікробів і насищає її необхідними
мікроелементами за допомогою блоку кондиціонування, забезпечуючи відповідність
санітарно-гігієнічним нормам ВОЗ.
Опріснення води досягається шляхом
її випаровування з подальшою конденсацією. Конструкція опріснювача розбірна,
зручна для транспортування.
Опріснювач дозволяє одержати з площі
випаровування 0,85 м² 7-8 літрів
очищеної води в добу. За бажанням замовника може бути змонтована опріснювальна
система загальною площею 4, 8 і 12 м² з
отриманням відповідно 28, 56 і 84 літрів питної води в добу. Технічні
характеристики установки наведені в таблиці 4.2. [49]
Таблиця 4.2.
Технічні характеристики установок
«Оазис»
|
Назва опріснювача
|
Оазис
|
Оазис-1
|
Оазис-1000
|
|
Ефективна площа, м²
|
0,85
|
1,5
|
250
|
|
Кількість одержуваної питної води в добу, л
|
7-8
|
12-14
|
1000 - 1500
|
|
Маса, кг
|
40
|
60
|
|
|
Габарити в робочому стані, мм
|
1530×740×750
|
1750×1000×850
|
|
|
Габарити в упаковці, мм
|
1580×815×275
|
1800×110×110
|
|
|
Термін експлуатації, років
|
10
|
10
|
10
|
|
Вартість, дол. США
|
280
|
322
|
25000
|
Патент Російської Федерації
RU2099289. Опріснювач морської води Кашеварова «ОМВК»
Ім’я винахідника: Кашеваров Юрій
Борисович
Використання: для отримання прісної
води-конденсату з морської.
Суть винаходу: використовують
засклений парник, в якому морська вода випаровується під впливом сонячного
випромінювання, а вологе повітря парника охолоджується в
теплообміннику-конденсаторі морською водою, що поступає по водоводу з холодних
глибинних шарів води океану (моря, затоки). При цьому з вологого охолодженого
повітря виділяється конденсат, що поступає споживачу по водопроводу. У нічний
час опріснювач працює за рахунок різниці температур повітря, що поступає з
парника, і морської води, що поступає з океану в теплообмінник-конденсатор. У
комплект входить вітросонячна електростанція, що забезпечує електроенергією всі
електропристорої в денний і нічний час за рахунок енергії сонячної радіації і
вітру [64]
Патент Російської Федерації
RU2044692. Сонячний опріснювач з повітровідвідним клапаном
Ім’я винахідника: Ашурли З. І. О.;
Гаджиєв М. Г.; Нарусбек Е. А.; Філін С. А.
Винахід відноситься до геліотехніки,
зокрема до сонячних опріснювальних установок для отримання дистильованої води
Суть винаходу: сонячний опріснювач
забезпечений повітровідвідним клапаном, встановленим у верхній частині збірки
дистиляту і системою стеження за сонцем, селективне покриття виконане у вигляді
інтерференційного покриття подвійної системи шарів з високим і низьким
коефіцієнтом заломлення, пропускаючи в ІК-області сонячного спектру або
гарячепресованого фториду.
Мета винаходу: підвищення ККД
сонячного опріснювача шляхом підвищення його надійності і забезпечення
самонаведення концентратора в ньому на сонці [64]
Патент Російської Федерації
RU2165890. Геліоопріснювальна установка
Ім'я винахідника: Потапов Ю.Ф.;
Горшенєв В.Г.; Жулєв Ю.Г.
Винахід відноситься до теплотехніки,
а саме до сонячних опріснювачів солоної води невеликої продуктивності,
використовуваних в побуті (рис. 4.1.1.) Установка складається з сонячного
колектора і багато секційного вакуумного дистилятора. Випробувальний і
випарно-конденсаційні теплообмінники дистилятора виконані у вигляді спіральних
трубок з горизонтальним розташуванням витків. Відкачування розсолу з
дистилятора здійснюється за допомогою водоповітряного ежектора. Питома
продуктивність установки залежить від числа використовуваних секцій.
Недоліком такого опріснювача є
достатньо складна конструкція дистилятора, істотне споживання електроенергії,
що витрачається на роботу трьох насосів, і невисока надійність насоса подачі
опріснювальної води до розбризкувача випарника і зливу розсолу у вакуумну
ємність, а також завданням справжнього винаходу є спрощення конструкції
дистилятора, зменшення вартості експлуатації і підвищення надійності роботи, а
також невисока питома продуктивність опріснювача [64]
Патент Російської Федерації
RU2088533. Геліоопріснювальна установка
Ім'я винахідника: Горшенєв В.Г.;
Жульов Ю.Г.; Ільїн В.И.; Потапов Ю.Ф.;
Використання: у теплотехніці, а саме
для опріснення морської води з використанням сонячної енергії. Суть винаходу:
пропонована геліоопріснювальна установка містить сонячний колектор і багато
секційний з вертикальним розташуванням секцій дистилятор випарного типу (рис.
4.1.2.). Кожна панель колектора по всій тепло поглинаючій поверхні містить
канали, утворені двома паралельними пластинами, розташованими на відстані 3 -
10 мм один від одного, і перегородками між ними.

Рис. 4.1.1.
Геліоопріснювальна Рис.
4.1.2. Геліоопріснювальна
установка
установка
Відомі геліоопріснювачі, що
включають вертикальні багато секційні дистилятори і сонячні колектори. В цих
опріснювачах використовуються сонячні трубчасті колектори з круглою, овальною
або іншою формою поперечного перетину трубок теплоносія.
Недоліком даних опріснювачів
є те, що ефективна площа тепло поглинаючої поверхні трубок, омивана теплоносієм
і освітлювана Сонцем із-за зазору між ними, складає лише 50-70% від загальної
площі колектора, що знижує його ефективність. Окрім цього, в дистиляторі
опріснювача розділення секцій відбувається за допомогою водяного затвора по
поверхні зрошувача, що утрудняє регулювання тиску і витрати.
Завданням винаходу є
збільшення продуктивності, підвищення надійності роботи і зменшення вартості
опріснювача [64]
Патент Російської Федерації
RU2048444. Гігроскопічна геліоопріснювальна установка
Ім’я винахідника: Лліхов Н.
Н., Смірнов А. А.
Винахід стосується опріснення
морської води, геліотехніки і вітроенергетики. Опріснювач забезпечений
турбокомпресором, системою пневмофорсунок, розміщених в лотках, конденсатор
змонтований над опріснювачем, а вентилятор виконаний у вигляді сонячно-вітрової
установки. Підігрівач виконаний у вигляді спіралеобразних лотків і забезпечений
теплообмінником з регулятором температури і солоності води.
Гігроскопічний метод
опріснення полягає в конденсації пари вологи, витягнутої безпосередньо з
повітря або штучно зволоженого повітря.
Відомий опріснювач, що
використовує сонячну енергію, електроенергію для примусової циркуляції повітря
вентилятором.
Проте ці вельми перспективні
опріснювачі поки практичного застосування не знайшли. Це пов'язано з їх значною
енергоємністю. При збільшенні одиничної продуктивності опріснювача істотно
зросла б витрата традиційних джерел електроенергії на приводи вентилятора.
Наприклад, при площі нагріву оранжереї (камери) близько 0,4 га потрібно буде
витратити до 500 кВт електроенергії.
Мета винаходу створення
екологічно чистої автономної, гігроскопічної геліоопріснювальної установки, що
працює на поновлюваних джерелах енергії (сонячної і вітрової) з чималою
одиничною продуктивністю (потужністю); збільшення питомої продуктивності даної
гігроскопічної геліоопріснювальної установки, а також забезпечення промислового
використання сонячної енергії [64]
Патент Російської Федерації
RU2081840. Сонячна опріснювальна установка
Ім’я винахідника: Клячко Л.
А.; Шварц М. Е.; Черняєв В. Д.
Суть винаходу: установка
містить теплоізольований кожух з нижньою зачорненою панеллю і поряд похилих
проміжних панелей із збірками конденсату. Патрубок подачі солоної води,
підведений до поверхні верхньої проміжної панелі, і нижні кінці трубок виконані
з бічними вихідними отворами. Трубки панелі підключені до колектора для
відведення надлишку розсолу. Верхня панель і проміжні панелі виконані прозорими
для сонячної радіації, при цьому останні виконані з теплопровідного скла або з
скла, армованого елементами. Конструкція установки забезпечує оптимальний
рівень заповнення панелей установки солоною водою і слив надлишку розсолу,
виключаючи засолення панелей і максимальне використання енергії сонячної
радіації, що дозволяє підвищити ефективність і надійність роботи установки.
Також реалізується безперервне функціонування опріснювальної установки в умовах
сильного зниження інтенсивності сонячної радіації (хмарність, вечірній і нічний
час доби) [64].
.2 Вплив використання
сонячної енергії та геліоопріснювальних установок на довкілля
Загальноприйняте, що одним з
магістральних напрямів досягнення екологічної чистоти енергетики є розвиток
поновлюваної енергетики. Проте і поновлювану енергетику не можна рахувати
абсолютно екологічно чистою, хоча слід зазначити, що негативний вплив цього
виду енергетики на декілька порядків нижчий, та і носить воно принципово інший
характер.
Головна перевага - відсутність емісії СО2. Наприклад, вироблення 1 млн. кВт·год
електроенергії на сонячних, вітрових, геотермальних і гідравлічних станціях
запобігає шкідливим викидам при виробленні такої ж кількості електроенергії на
електростанціях на вугіллі в наступних об'ємах: вуглекислого газу - 750-1250 т,
двоокиси сірі - 5-8 т, оксидів азоту - 3-6 т, золи - 40-70 т, пил - 270-470 кг.
Сумарна небезпека для
здоров’я людей обумовлена, перш за все, необхідністю переробки сировини для
виробництва великої кількості високоякісних матеріалів (вилучення рідкісних
елементів для сонячних батарей тощо), великими працезатратами. Такі
відновлювані джерела енергії, як вітер, інсоляція, характеризуються
нерівномірністю, тому необхідні пристрої для акумуляції енергії чи співвідносні
традиційні маневрені джерела. Але прямий вплив на природне середовище при
перетворенні первинної енергії у вторинну в цілому не дає дуже небезпечних
наслідків.
Фотоелектричні установки і
сонячні станції термодинамічного циклу, сонячні водонагрівальні системи
створюють наступні види негативного впливу:
затінювання значних майданів
з можливою деградацією земель, вірогідність витоку робочих рідин в двоконтурних
водонагрівальних системах;
зміна мікроклімату в районі
розташування станції.
Значний негативний вплив на
природу фотоелектричних установок полягає в тому, що отримання кремнію «сонячної
якості» з якого виробляються фотоелементи, здійснюється в даний час за так
званою хлорною технологією. Проте в світі і в Росії у стадії
дослідно-промислового виробництва знаходяться без хлорні екологічно чисті
технології. Їх широке впровадження забезпечить, безумовно, екологічну чистоту
фотоелектричних станцій і установок [57]
Небажану екологічну дію
викликає нагрів повітря при проходженні через нього сонячного випромінювання
сконцентрованого дзеркальними відбивачами, це приводить до зміни теплового
балансу, вологості, напряму вітру, в деяких випадках можливі перегрів і спалах
систем тих, що використовують концентратори.
Застосування низькокиплячих
рідин при неминучому їх витоку можуть привести до значного забруднення питної
води. Особливу небезпеку представляють рідини, що містять нітрати, що є
високотоксичними.
Низький коефіцієнт
перетворення сонячної енергії в електричну піднімає серйозні проблеми,
пов'язані з охолоджуванням конденсату, при цьому теплове скидання в біосферу
більш, ніж в удвічі перевищує скидання від традиційних станцій, що працюють на
пальних копалинах [58]
Вплив геліоопріснювачів на
навколишнє середовище має позитивні і негативні сторони. Говорити про вплив
геліоустановок на природний тепловий режим планети не потрібно, тому що ці
установки можуть використовувати лише маленьку частку сонячного тепла, що
перепадає планеті, і отримана (вилучена) енергія після її перетворення
повертається в природне середовище у вигляді тепла. Основний шкідливий вплив
геліоустановок непрямий: під час виготовлення кремнієвих, кадмієвих і
арсенидогелієвих фотоелектричних елементів в повітрі з'являються: кремнієвий
пил, кадмієві і арседні з'єднання, небезпечні для здоров'я людей. Також
виробництво нових сполук на основі рідкісноземельних елементів, які містяться в
земних породах в дуже малих концентраціях.
При кінцевому терміні
експлуатації геліоопріснювальних установок постає питання утилізації
використаних матеріалів, таких як: скло, полімерна та поліетиленова плівки;
різні допоміжні пристрої: трубопроводи, лотки, гігроскопічні мати, клапани та
ін.
Та на відміну від традиційних
енергоносіїв, сонячне світло не потребує видобування і транспортування, воно
невагоме, безшумне, нешкідливе, а його утилізація не утворює прямих відходів і
не порушує теплової рівноваги планети. Тому принциповою відміною сонячної
енергії від усіх інших, що використовуються, є також її бездоганність з точки
зору хімічного, теплового та інших видів забруднення оточуючого середовища.
.3 Підбір конкретної
установки для експериментального практичного дослідження
Для експериментального
практичного дослідження взятий патент Російської Федерації RU2081840, так як
саме ця сонячна опріснювальна установка має ряд переваг:
конструкція установки
забезпечує оптимальний рівень заповнення панелей установки солоною водою і слив
надлишку розсолу, виключаючи засолення панелей і максимальне використання
енергії сонячної радіації, що дозволяє підвищити ефективність і надійність
роботи установки;
реалізується безперервне
функціонування опріснювальної установки в умовах сильного зниження
інтенсивності сонячної радіації (хмарність, вечірній і нічний час доби).
постановка проміжних панелей,
армованих теплопровідними елементами, різко збільшує поверхню випаровування
солоної води і забезпечує регенерацію тепла, що виділяється при конденсації
водяної пари, що в сукупності дозволяє підвищити ефективність і продуктивність
опріснювальної установки [64]
Суть пропонованого пристрою
пояснюється кресленням, на якому зображений подовжній розріз опріснювальної
установки (рис. 4.3.)
Рис. 4.3. Подовжній розріз
опріснювальної установки
Установка складається з
верхньої прозорої для сонячної радіації і поглинаючої інфрачервоне
випромінювання похилої панелі 1, виготовленої, наприклад, з скла, нижньою
зачорненої поглинаючу сонячну радіацію тепломісткої панелі 2, теплоізольованого
шару 3, тепло ізолюючого кожуха 4, ряду проміжних похилих панелей 5 (на
кресленні зображені тільки дві з них), прозорих для сонячної радіації,
виготовлених з теплопровідного скла, або з скла армованого теплопровідними
(наприклад, мідними) елементами 6. Панелі 2 і 5 виконані з відбортовками 7 у
вигляді піддона і забезпечені вертикальними дренуючими трубками 8,
встановленими між суміжними панелями. Установка містить, розміщений над
верхньою панеллю 5, розгалужений водопровідний патрубок 9, збірки конденсату
10, встановлені похило у нижнього краю панелей 1 і 5, і розташовані під панеллю
2 нагрівальні елементи 11. Нахил збірок не показаний. Нижня панель 2 своєю
відбортовкою 7 впритул прилягає до кожуха 4 установки. Між відбортовками 7
проміжних панелей 5 і кожухом 4 залишений зазор для вільного проходу водяної
пари.
Верхній обріз дренуючих
трубок 8 розташований в горизонтальних площинах, лежачих на величину h вище за
поверхню відповідної панелі 2 і 5 і нижче, ніж висота H відборотовок 7 цих
панелей. Нижні кінці водопідвідного патрубка 9 і дренуючих трубок 8 розташовані
нижче за площини, в яких лежать верхні обрізи дренуючих трубок 8 суміжних нижче
лежачих панелей 2 і 5, і забезпечені бічними отворами 12 для виходу води, що
поступає в установку і перетікає через трубки 8. Мінімальна висота h, на яку
дренуючі трубки 8 виступають над поверхнею панелей 5 (з урахуванням їх нахилу),
вибрана з таким розрахунком, щоб при заповненні цих панелей водою
забезпечувалося покриття всіх їх поверхні із запасом близько 5-10 мм.
Дренуючі трубки 8 панелі 2
підключені до загального колектора 13 для відведення надмірного розсолу. На
зливній трубі 14 є ділянка 15 з немагнітного матеріалу (наприклад, поліетилену),
на якому встановлений датчик 16 електромагнітного витратоміра. Далі зливна
труба 14 приєднана до насоса 17. Внутрішня порожнина опріснювальної установки
за допомогою патрубка 18 приєднана до вакууму-насоса (не показано).
Пристрій працює таким чином.
Солона вода поступає в
установку через патрубок 9 і розподіляється по панелях 5 і 2, перетікаючи через
трубки 8.
Сонячна радіація, пройшовши
через прозорі верхню 1 і проміжні панелі 5, поглинається нижньою панеллю 2 і
нагріває її. Нижня панель 2 віддає тепло налитому на її поверхні шару води 19,
що приводить до її нагріву і випаровування.
Пари води конденсуються на
нижній поверхні вище розміщеної проміжної панелі 5 і віддають їй тепло, що
виділяється при конденсації води. Крім того, ця панель нагрівається
інфрачервоним випромінюванням від нижньої панелі 2 і теплопровідністю через
паровий прошарок між панелями.
Через цю проміжну панель 5
тепло за допомогою теплопровідності, збільшеної за допомогою армуючих скло
теплопровідних елементів 6, віддається налитому на її поверхні шару солоної
води 19, що приводить до її нагріву і випаровування, а відведення тепла від
нижньої поверхні панелі 5 покращує умови конденсації пари води.
Сконденсована на нижній
поверхні проміжної похилої панелі 5 опріснена вода стікає в збірку 10
конденсату, звідки поступає через об'єднуючу збірки 10 магістраль за допомогою
насоса в накопичувальну ємність (не показані на кресленні) і далі відводиться
до споживача.
Розглянутий процес багато
разів повторюється на подальших проміжних 5 і верхніх 1 панелях.
На відміну від проміжних 5,
верхня панель 1 армуючих елементів не має, щоб зменшити втрати тепла від
опріснювальної установки в навколишнє середовище.
Постановка проміжних панелей,
армованих теплопровідними елементами, різко збільшує поверхню випаровування
солоної води і забезпечує регенерацію тепла, що виділяється при конденсації
водяної пари, що в сукупності дозволяє підвищити ефективність і продуктивність
опріснювальної установки.
Витрата солоної води, що
подається зверху в опріснювальну установку через розгалужений патрубок 9,
регулюється так, щоб він на 20-25% перевищував сумарну витрату випаруваної в
ній води. Велика частина витрати води, поданої на першу зверху проміжну панель
5, через дренуючі трубки 8, перетікає на нижче лежачу проміжну панель.
Перетікання води через дренуючі трубки 8 повторюється на подальших нижче
лежачих проміжних панелях 5.
Оскільки число дренуючих
трубок 8 може бути вибрано порівняно невеликим (одна-дві трубки на квадратному
метрі площі панелі), а витікання води з бічних отворів 12 в цих трубках
відбувається під дуже малим натиском, то ці отвори мають цілком прийнятний
діаметр 1,5-2 мм, і таким чином усувається небезпека їх засмічення.
Висота відбортовок H декілька
(наприклад, на 20-25 мм) перевершує мінімальну висоту h, на яку дренуючі трубки
виступають над поверхнею панелі. Висота h вибрана так, щоб, коли панель
заповнена солоною водою до верхнього обріза дренуючих трубок 8, то при цьому
забезпечувалося повне покриття водою (із запасом, наприклад, в 5-10 мм) всієї
поверхні панелі.
Горизонтальні струмки води,
витікаючи з бічних отворів 12 в кінцях розгалуженого вхідного патрубка 9
дренуючих трубок 8, підсилюють конвективне перемішування в шарах води 19,
налитою на поверхню проміжних і нижніх панелей, і знижують їх термічний опір,
покращуючи умови випаровування води, тобто сприяють підвищенню ефективності
роботи опріснювальної установки.
Надмірний, в порівнянні з
виходом випаруваної води, витрата солоної води, що поступає на нижню панель 2,
через дренуючі трубки 8 подається в колектор 13 і далі через зливну трубу 14 за
допомогою насоса 17 виводиться з опріснювальної установки.
Наявність постійного потоку
солоної води через установку фіксується за свідченнями електромагнітного
витратоміра, регулюється подачею води через патрубок 9 з допомогою, наприклад
електрокерованого вентиля (не показаний).
Вибір для вимірювання витрати
розсолу, що є електролітом, саме електромагнітного витратоміра визначається
тією обставиною, що такий витратомір дозволяє легко здійснити дистанційне
вимірювання витрати, що істотно при створенні опріснювальної установки великої
сумарної продуктивності, що складається з окремих модулів.
Застосування панелей 5 з
відбортовкою 7, забезпечених дренуючими трубками 8, у поєднанні з регулюванням
витрати солоної води, що подається в опріснювальну установку, за свідченнями
електромагнітного витратоміра виключає можливість засолення поверхні цих
панелей (за рахунок автоматичної підтримки оптимального рівня налитої на них
води і зливу розсолу), і таким чином, підвищує надійність роботи опріснювальної
установки.
Через патрубок 18 внутрішня
порожнина опріснювальної установки вакуумується, що забезпечує зростання
швидкості випаровування води і конденсації її пари і підвищення ефективності
роботи установки. При цьому наявність зазору між кожухом 4 і отбортовками 7
панелей 5 виключає можливість виникнення градієнта тиску по висоті установки і
створює умови для нормального перетікання води через дренуючі трубки 8 панелей
5.
Коли інтенсивність сонячної
радіації падає нижче за деякий рівень, включаються нагрівальні елементи 11,
розташовані під нижньою панеллю 2, і процес нагріву і випаровування солоної
води продовжується безперервно, але вже при використанні з цією метою не тільки
сонячної енергії, а головним чином, що виділяється цими елементами тепла.
Коли інтенсивність сонячної
радіації перевищує вказаний рівень, то нагрівальні елементи відключаються.
Таким чином реалізується безперервне функціонування опріснювальної установки в
умовах сильного зниження інтенсивності сонячної радіації (хмарність, вечірній і
нічний час доби).
Пропонована конструкція
опріснювальної установки, в якій підведення сонячної енергії здійснюється
зверху, дозволяє звести до мінімуму непродуктивні втрати тепла і створити
надійну, ефективну установку великої сумарної продуктивності шляхом інтеграції
в загальну систему окремих модулів [64]
Експериментальне дослідження:
розрахунок кількості отриманої прісної води на острові Зміїний, використовуючи
сонячну опріснювальну установку.
Для вибраної опріснювальної
установки, користуючись формулою (3.1.) застосовуємо наступні дані:
: умовно приймаємо 1 м²;
: з таблиці 3.1. вибираємо ту широту
яку нам потрібно, в даному випадку острів Зміїний знаходиться на широті 45º, зводимо
дані в таблицю 4.3.1.
Таблиця 4.3.1.
Інтенсивність сонячної радіації на
широті 45-50 º по
місяцях Вт/м²
|
Місяць Широта
|
І
|
ІІ
|
ІІІ
|
IV
|
V
|
VI
|
VII
|
VIII
|
IX
|
X
|
XI
|
XII
|
Рік
|
|
|
45-50 º
|
42
|
70
|
130
|
184
|
250
|
274
|
252
|
231
|
163
|
94
|
50
|
28
|
146
|
-
розраховуємо
за формулою (3.2.), підбираючи з таблиць 3.5. та 3.4. те, що притаманне нашій
установці. Таким чином: ά(оксид
міді)=0,87 і τ
(скло)=0,91,
тоді η0
=0,79;
: обираємо значення з таблиці 3.6. В
даному випадку підходять два види колектора: колектор з селективним покриттям і
одинарним заскленням та колектор з чорним теплоносієм та прозорими трубами,
усереднюючи дані обираємо значення
=3,5 Вт/ (м²· К);
беремо в місті Одеса, дані були
усереднені по дням (в день 8 вимірів температури) за кожен місяць протягом 2007
року (додаток 1). Значення температури повітря зведені в таблицю 4.3.2. [59]
Таблиця 4.3.2.
Середня місячна температура
повітря (º
С)
в м. Одеса за 2007
|
Місяць
Пункт спостереження
|
I
|
II
|
III
|
IV
|
V
|
VI
|
VII
|
VIII
|
IX
|
X
|
XI
|
XII
|
Рік
|
|
Одеса
|
5.04
|
1.29
|
6.2
|
10.27
|
17.98
|
23.09
|
24.63
|
24.4
|
17.6
|
12.6
|
5.3
|
1.45
|
12.49
|
-
обираємо з
таблиці 3.7. для міста Одеса, зводимо дані в таблицю 4.3.3.
Таблиця 4.3.3.
Середня тривалість сонячного сіяння
по місяцях, год. в м. Одеса
|
Місяць
Пункт спостереження
|
I
|
II
|
III
|
IV
|
V
|
VI
|
VII
|
VIII
|
IX
|
X
|
XI
|
XII
|
Рік
|
|
Одеса
|
70
|
88
|
140
|
201
|
277
|
305
|
347
|
323
|
250
|
174
|
69
|
59
|
2302
|
Для розрахунку температури
теплоносія на вході в сонячний колектор протягом і-того проміжку часу, º С (
),
користуючись формулою 3.3. застосовуємо наступні дані:
використовуємо дані, які зведені в
таблицю 4.3.4. [60]
Таблиця 4.3.4.
Температура води в Чорному
морі (º
С)
|
Місяць Пункт
спосте- реження
|
I
|
II
|
III
|
IV
|
V
|
VI
|
VII
|
VIII
|
IX
|
X
|
XI
|
XII
|
|
Чорне море, біля о. Зміїний
|
+7,5
|
+7,4
|
+7,3
|
+9,5
|
+14,1
|
+18,1
|
+22
|
+23,2
|
+20,9
|
+20,6
|
+13,5
|
+10,5
|
-
при
середньорічному надходженні сонячної радіації 146 Вт/м² складає
л/ м²·
сек., а при S=10 м² становить 0,00062 л/сек.;
приймаємо 60 м:
(вода)= 0,596 Вт/ (м·º С) і
(скло)=1,05
Вт/ (м·º
С)
складає 18 мм=0,018 м і
складає
18,8 мм=0,0188 м;
для міді складає 385 Вт/ (м·º С);
становить 30 мм=0,03 м і
становить
30,4 мм=0,0304 м. [8]
Розраховуємо спочатку
для кожного
місяця за формулою (3.3.)
І. Січень
= 6,26 º С;
В ході розрахунку отримаємо
наступний результат, який зведений в таблицю 4.3.5.
Таблиця 4.3.5.
Температура теплоносія на вході в
сонячний колектор (º С)
протягом року
|
Місяць
|
I
|
II
|
III
|
IV
|
V
|
VI
|
VII
|
VIII
|
IX
|
X
|
XI
|
XII
|
|
Т º С
|
6,26
|
4,32
|
6,75
|
9,89
|
16,06
|
20,62
|
23,33
|
23,84
|
19,24
|
16,57
|
9,40
|
5,94
|
Знаючи значення
можна
розрахувати обсяг теплової енергії, яку можна отримати від сонячного колектору
(
) також по
місяцях, використовуючи формулу 3.1.
І. Січень
= 7285320 Дж;
ІІ. Лютий
= 14159376
Дж;
ІІІ. Березень
= 50790600
Дж;
IV. Квітень
= 106144884 Дж;. Травень
= 203662145 Дж;. Червень
=247180662
Дж;. Липень
= 254392085 Дж;. Серпень
= 214763346 Дж;. Вересень
= 110739600 Дж;. Жовтень
= 37812636 Дж;. Листопад
= 6306876 Дж;. Грудень
= 1360404 Дж.
Кількість теплоти випаровування для
води при 20º С
становить 2454,0 кДж/кг. Таким чином вираховуємо скільки можна отримати прісної
води в кг з 1 м² протягом
року [8] (результати зведені в таблицю 4.3.6 і показано на графіку 4.3.1.)
Таблиця 4.3.6.
Кількість прісної води (л) з 1 м²
площі
колектора
|
Місяць
|
I
|
II
|
III
|
IV
|
V
|
VI
|
VII
|
VIII
|
IX
|
X
|
XI
|
XII
|
Рік
|
|
Кількість прісної води (л) з 1 м²
|
2,9
|
5,7
|
20,7
|
43,3
|
82,9
|
100,7
|
103,6
|
87,5
|
45,1
|
15,4
|
2,6
|
0,6
|
511
|
Графік 4.3.1. Кількість прісної води
(л) з 1 м² площі
колектора протягом 2007 року
Нам відомо скільки маємо прісної
води з 1 м² площі
колектора, знаючи скільки потрібно забезпечити острів прісною водою на добу,
можемо вирахувати якою площею потрібно встановити колектор на острові, щоб
забезпечити на ньому життєдіяльність людей.
Залежно від умов проживання людині
необхідна різна кількість споживання води. Для того щоб вижити людині - всього
2-3 літри в день (добова потреба дорослої людини у воді - 30-40 грам на 1 кг
ваги тіла). Якщо хочеться харчуватися більш цивілізовано, їсти гарячу їжу, то -
5-10 літрів в день. Це норма епохи варварських племен (коли не милися, і не
прали). Прання, миття посуду, щоденне умивання вимагають ще 15-20 літрів в
день. Баня, парна по вихідних - плюс в середньому літрів 25-30. Тому разом з
їжею і питтям виходить 50-60 літрів в день на людину. Це середня норма витрати
води в Росії в кінці XIX століття, коли вже почали вести облік водоспоживання.
Приблизно така ж витрата води і зараз там, де немає централізованого
водопостачання, ванни, каналізації.
Сучасні блага істотно збільшують
потребу у воді. На прийом ванни раз на тиждень витрачається відразу 300-400
літрів, або в середньому 40-60 літрів в добу, на прийняття душу щодня - ще від
15 до 30 літрів. Але, виявляється, більш всього води вимагає промивка унітазу -
від 40 до 70 літрів в добу на сім'ю. В цілому, сучасні норми цивілізованого
споживання води знаходяться в межах від 220 до 320 літрів в добу на людину. Але
це в місті. За містом же норми істотно вище, навіть у тих, хто ванни не
приймає, оскільки потрібно поливати сад-город, мити машину, доглядати за
домашніми тваринами. В результаті водоспоживання сім'ї з 4-х людей складає до
1500-2000 літрів в добу. А якщо є такі блага, як посудомийна машина, ванна з
гідромасажем, басейн, фонтани в саду, теплиця і оранжерея, витрата води може
досягати і 5000, і навіть 7000 літрів в добу. [61]
Також для різних типів будинків є
норма споживання води, так наприклад:
Тип будинку Літрів на одного
мешканця в день
житлові будинки з водопроводом,
каналізацією та електроводонагрівачами 190
дворова водорозбірна колонка 85
вулична водорозбірна колонка 50
житлові будинки без каналізації, без
ванн, з газом 160
житлові будинки без каналізації, з
газом та ваннами 180
житлові будинки з газовими
водонагрівачами, ваннами, без каналізації 120
окремо розділяють житлові будинки
квартирного типу та житлові будинки з централізованим гарячим водоспоживанням.
[31]
На острові Зміїний розташовані
будинки загальною площею 700 м²
(площа острова 160000 м² ). Якщо
будемо встановлювати колектори на даху будинків, то потрібно зайняти всі дахи
та ще деяку ділянку острова чи стіни будинків, оскільки в середньому потрібно
930 м² площі колектора щоб
забезпечити прісною водою 50 чоловік на місяць. Проте це доцільно буде тільки
для літніх місяців. Для останніх місяців застосування розглянутої установки
буде не зовсім раціональним, хоча ми зможемо отримувати прісну воду в
необхідній нам кількості, проте для деяких місяців (зимніх та листопада)
потрібно буде зайняти всю площу острова. Таким чином розглянуту опріснювальну
установку можна використовувати в середньому лише пів року ( в ті місяці, де інтенсивність
сонячної радіації найбільша).
РОЗДІЛ 5. УЗАГАЛЬНЕННЯ ДОСЛІДЖЕНЬ
Провівши експериментальне
дослідження, я отримала результат не зовсім позитивний: дана опріснювальна
установка може бути використана лише в ті місяці, де інтенсивність сонячної
радіації найбільша. Такий результат отриманий внаслідок допущення ряд похибок:
відсутність даних по температурі
навколишнього середовища саме на острові Зміїний (була врахована температура в
місті Одеса);
відсутність даних сонячного сяяння
на острові (кількість сонячного сяяння враховувалася в м. Одеса);
інтенсивність густини потоку
сонячної радіації враховувалася на широті 45-50° (доцільніше було б врахувати
широту 45°15'18’’ - широта розташування острова Зміїний)
Отже, для того щоб забезпечити
необхідною кількістю прісної води острів Зміїний, при цьому займаючи незначну
площу, я запропонувала б враховувати всі метеорологічні дані, які притаманні
острову Зміїний і зібрати сонячну опріснювальну установку по елементам за
наступними характеристиками:
Повинно бути високоселективне
покриття поглинаючої панелі.
Завдяки цьому покриттю поглинаюча
панель здобуває більше тепла від сонячного випромінювання з високою
ефективністю: 95% поглинається та лише 5% енергії випромінюється (для
порівняння, для чорної фарби 94% - поглинається, 88% - випромінюється; чорне
хромоване покриття 92/15 % і селективна чорна фарба 94/40 %). Високоселективний
колектор у зимові місяці і хмарні дні поглинає на 40% більше тепла (а в
середньому за рік - на 20%) ніж аналогічний колектор з поглинаючою панеллю,
покритою селективною чорною фарбою. Селективне покриття поглинаючої панелі
складається з матеріалів (чорний нікель, чорний хром, оксид натрію та ін.),
стійких до атмосферних впливів, сонячного випромінювання, і температурах до
+300°С.
. Висока теплопровідність
поглинаючої панелі. Поглинаюча панель повинна бути виготовлена з міді. Мідь є
металом із великим коефіцієнтом теплопроводності. Це забезпечує максимальну
ефективність відводу тепла від усієї поверхні поглинаючої панелі. Мідь є корозійностійким
металом. Протягом терміну експлуатації незначне окислювання міді не впливає на
ефективність роботи колектора.
. Якісна теплоізоляція. Використання
якісної базальтової теплоізоляції, товщиною 50мм зі стабільними в часі
параметрами, дозволяє істотно знизити втрати тепла й ефективно експлуатувати
колектор, навіть у зимовий період, протягом усього терміну експлуатації.
Збільшення товщини теплоізоляції з 30 до 50 мм приводить до збільшення
ефективності геліоколектора майже на 6%, при цьому подорожчання геліоколектора
відбувається усього на 1%.
. Прозора ізоляція з низьким вмістом
заліза. Чим нижче вміст заліза в склі, тим вище його коефіцієнт пропущення
інфрачервоної складової сонячного спектра, і тим ефективніше працює колектор.
. Ударостійка, прозора ізоляція. У
якості прозорої ізоляції застосовується загартоване скло товщиною 4 мм, і у 6
разів міцніше за звичайне скло. Це скло здатне витримати більшість можливих
випадкових ударних впливів. [54]
Вибір типу колектора також відіграє
дуже важливу роль у продуктивності установки. Я запропонувала б краще
застосовувати вакуумний сонячний колектор. У вакуумному водонагрівачі-колекторі
об'єм, у якому перебуває чорна поверхня, що поглинає сонячне випромінювання,
відділений від навколишнього середовища вакуумним простором, що дозволяє
практично повністю усувати втрати теплоти в навколишнє середовище за рахунок
теплопровідності й конвекції. Втрати на випромінювання в значній мірі
усуваються за рахунок застосування селективного покриття. Так як повний
коефіцієнт втрат у вакуумному колекторі малий, теплоносій у ньому можна нагріти
до температур 120 - 160°С .
Завдяки високій теплоізоляції
вакуумні сонячні колектори працюють дуже ефективно при низьких температурах
навколишнього середовища. Перевага вакуумних колекторів перед плоскими починає
проявлятися при температурі повітря нижче 15 градусів Цельсія. При негативних
температурах повітря вакуумним колекторам альтернативи немає [55]
У регіонах з високими перепадами
температур ці колектори набагато ефективніше плоских з ряду причин. По-перше,
вони добре працюють в умовах як прямої, так і розсіяної сонячної радіації. Ця
особливість у сполученні із властивістю вакууму зводити до мінімуму втрати
тепла назовні робить ці колектори незамінними в умовах холодної похмурої зими.
По-друге, завдяки округлій формі вакуумної трубки, сонячне світло падає
перпендикулярно поглиначу протягом більшої частини дня. Для порівняння, у
нерухомо закріпленому плоскому колекторі сонячне світло падає перпендикулярно
його поверхні тільки опівдні. Вакуумні колектори відрізняються більше високою
температурою води й ефективністю, чим плоскі, але при цьому вони й дорожчі [56]
РОЗДІЛ 6. ОХОРОНА ПРАЦІ, ТЕХНІКА
БЕЗПЕКИ ТА ЦИВІЛЬНА ОБОРОНА
.1 Урахування питань охорони праці
та техніки безпеки при монтажу, випробуванні та експлуатації сонячної
опріснювальної установки.
Послідовність виконання робіт при
монтажу, випробуванні та експлуатації сонячних опріснювальних установок.
При монтажі, випробуванні та
експлуатації сонячних опріснювальних установок рекомендується така
послідовність виконання робіт щодо основних її елементів.
Установка водяного акумулятора
теплоти передбачає наступні етапи:
будівництво основи фундаменту або
опорної конструкції - при виконанні бетонних робіт на заливці фундаменту
будівлі;
установку бака-акумулятора;
монтаж обв'язувальних трубопроводів;
заповнення системи водою і
проведення випробувань на щільність;
монтаж теплової ізоляції.
Установка колектора сонячної енергії
передбачає наступні етапи:
виготовлення і установку опорної
конструкції;
монтаж опорної конструкції і
установку сонячного колектора;
монтаж сполучних трубопроводів;
випробування контуру сонячного
колектора на щільність;
проведення теплоізоляційних робіт на
трубопроводах.
Установка теплообмінників передбачає
наступні етапи:
монтаж трубопроводів, насосів і
арматури;
випробування трубопроводів на
щільність;
проведення теплоізоляційних робіт на
трубопроводах;
Установка приладів і датчиків
системи управління складається з:
установки датчиків і приладів
управління і регулювання по місцю;
монтажу щита управління з приладами.
При монтажі трубопроводів необхідно
виконувати наступні правила:
для зменшення теплових втрат і
гідравлічного опору довжина основних трубопроводів і відгалужень повинна бути
мінімально можливою, а відгалуження повинні мати однаковий діаметр, щоб
забезпечувався рівномірний розподіл теплоносія між окремими модулями колектора;
слід використовувати мінімальну
кількість з’єднаних деталей, арматури і т. і.; коліна і повороти трубопроводів
необхідно виготовляти за допомогою згинального верстата;
для запобігання контактній корозії
при установці арматури з мідних сплавів на сталевих трубопроводах необхідно
використовувати сполучні елементи з діелектричних матеріалів;
на довгих прямих ділянках
трубопроводів повинні бути передбачені компенсатори температурних подовжень і
відповідні опори;
у самих верхніх точках системи
повинні бути встановлені повітряні клапани і повинен бути передбачений злив
рідини з нижніх точок системи.
При використанні в контурі колектора
антифризу повинен бути передбачений розширювальний бак, місткість якого складає
приблизно 1-2 % місткості контуру, включаючи сам колектор [22]
Урахування питань охорони праці та
техніки безпеки в проекті організації будівництва (ПОБ) сонячної опріснювальної
установки.
Інженерні рішення з охорони праці
повинні відображати найбільш характерні особливості технології і організації
виробництва, засоби запобігання дії на працюючих шкідливих і небезпечних
виробничих чинників.
При виборі, розрахунку і
проектуванні несучих елементів опріснювальної установки необхідно передбачати
рішення, що забезпечує їх безпечне виготовлення, монтаж (установку) і
експлуатацію. Особливу увагу в розрахункових схемах приділяють навантаженням,
які виникають при транспортуванні і монтажі елементів установки; ухвалюють
технічні рішення, що виключають виникнення в елементах деформацій, не
передбачених розрахунком.
Питання техніки безпеки, пожежної
безпеки вирішують в проекті організації будівництва (ПОБ) у вигляді принципових
рішень при розробці загального плану, визначенні методів праці, підборі
будівельних машин, механізмів і технологічного оснащення, визначення переліку і
кількості тимчасових будівель для санітарно-побутового обслуговування
робітників. Найважливіше питання вибору і встановлення безпечних методів
провадження робіт, які, крім забезпечення високої продуктивності праці, повинні
включати технічні рішення і заходи, направлені на безпечне виконання робіт.
Заходи щодо охорони праці, котрі
відображають при проектуванні будівельного плану в ПОБ, стосуються:
проектування тимчасових будівель та
споруд, включаючи приміщення санітарно-побутового обслуговування робітників і
місця для обігріву робітників в холодний час року;
розміщення складів матеріалів і
майданчиків з опрацюванням безпечних методів вантажно-розвантажувальних робіт і
засобів доставки матеріалів і конструкцій на робочі місця;
раціонального і безпечного
розміщення будівельних машин, механізмів, підйомників, інших
вантажно-розвантажувальних засобів;
визначення меж постійних і тимчасових
небезпечних зон, пов’язаних із застосуванням засобів механізації і наявністю
інших небезпечних і шкідливих чинників;
проектування організаційних і
технічних заходів щодо боротьби з шумом і запиленістю на будівельному
майданчику;
розв’язання питань устаткування і
розміщення додаткових засобів і обладнання при роботах в зимових умовах, а
також для виконання спеціальних видів робіт, викликаних вимогами безпеки;
проектування системи штучного
освітлення будівельного майданчика.
При виконанні монтажних робіт трапляється
виробничий травматизм, основними причинами якого є:
недотримання технологічної
послідовності монтажу конструкцій;
строповка конструкцій, що
перевищують допустимі, яка призводить до виникнення зусиль в елементах, що
підіймаються;
підйом елементів і конструкцій
несправними такелажними пристроями;
відсутність або наявність захисних
пристроїв, що мають конструктивні недоліки;
робота монтажників без використання
індивідуальних захисних засобів;
низька організація трудового
процесу;
інші порушення вимог охорони праці
та техніки безпеки [24]
Основні правила техніки безпеки, які
застосовуються до сонячних опріснювальних установок при їх монтажу,
випробуванні та експлуатації.
Роботи по монтажу, випробуванні і
експлуатації технологічного устаткування необхідно проектувати і виконувати
відповідно до вимог діючих в Україні нормативних документів.
При проектуванні і виконанні монтажу
устаткування повинні бути враховані наступні небезпечні і шкідливі виробничі
фактори:
машини, що рухаються, і механізми,
що беруть участь в процесах монтажу устаткування;
вантажі, що переміщаються;
руйнування конструкцій, що
використовуються в процесі монтажу устаткування;
підвищення значення напруги в
електричному ланцюзі, замикання, що може відбутися через тіло людини, у тому числі
пристосування, які застосовуються при виконанні монтажу устаткування, повинні
відповідати вимогам безпеки, викладеним у стандартах і технічних умовах на
відповідне устаткування.
У відповідності зі СНіП III-4-80 не
допускаються роботи по монтажу устаткування у відкритих місцях при швидкості
вітру 15 м/с і більше, при ожеледі, грозі, а також при недостатній видимості.
Роботи в закритих посудинах треба
виконувати відповідно до вимог ГОСТ 12.1.013-78; ГОСТ 12.3.002-86 і СНіП
III-4-80
На монтажній площадці повинно бути
забезпечене дотримання всіма працівниками, зайнятими на монтажі устаткування,
правил внутрішнього розпорядку для робітників та службовців. Допуск сторонніх
осіб, а також працівників у нетверезому стані, на територію монтажної площадки,
у виробничі, санітарно-побутові приміщення і на робочі місця забороняється.
До початку монтажних робіт на
об'єкті всі працюючі повинні бути забезпечені санітарно-побутовими приміщеннями
у відповідності зі СНіП ІІІ-4-80.
Вимоги до технологічних процесів
передбачають наступні етапи:
збереження, розпакування,
розконсервацію і подачу устаткування до зони робіт необхідно виконувати
відповідно до вимог СНіП ІІІ-4-80 і нормативно-технічної документації на
устаткування;
збирання і розбирання нарізних
з’єднань слід виконувати справним інструментом без застосування металевих
прокладок між гранями гайки і ключа. Для подовження ключа слід використовувати
інвентарні пристосування;
перед випробуванням устаткування на
ньому повинні бути встановлені всі засоби захисту, контрольно-вимірювальні
прилади і регулятори, контрольні прилади системи пожежегасіння, автоматичні
системи пожежегасіння. Усі засоби вимірів повинні бути завчасно перевірені у
встановленому порядку.
Вимоги до виробничих приміщень і
виробничих (монтажних) площадок, які застосовуються до сонячних опріснювальних
установок, передбачають наступні етапи:
виробничі приміщення і монтажні
площадки, на яких виконуються роботи з монтажу устаткування, повинні
відповідати вимогам СНіП ІІІ-4-80 і діючих санітарних норм, затверджених
Міністерством охорони здоров’я;
- при параметрах мікрокліматичних умов повітря робочої зони (з урахуванням
категорії робіт), що не відповідають вимогам ГОСТ 12.1.005-88, повинні бути
впроваджені заходи, передбачені СНІП ІІІ-4-80;
монтажна зона повинна бути
обгороджена за ГОСТ 23407-78. У монтажній зоні повинні бути знаки безпеки за
ГОСТ 12.4.026-76 і плакати з техніки безпеки.
Вимоги до організації робочих місць
включають наступні етапи:
організація робочих місць повинна
забезпечувати безпеку виконання робіт і відповідати ГОСТ 12.2.032-78 і ГОСТ
12.2.037-78;
рівень шуму на робочих місцях не
повинен перевищувати допустимих значень за ГОСТ 12.1.003-83, а рівень вібрації
- за ГОСТ 12.1.012-90;
під час монтажу устаткування робочі
місця і проходи до них на висоті 1,3 м і більше і відстань менше 2 м від межі
перепаду по висоті повинні бути обгороджені відповідно до ГОСТ 12.4.059-89
захисних огороджень.
Підйом і спуск працюючих на робочі місця необхідно виконувати у відповідності
зі СНіП ІІІ-4-80
Вимоги до застосування засобів
захисту працюючих передбачають наступні етапи:
засоби захисту працюючих від впливу
небезпечних і шкідливих виробничих факторів повинні відповідати ГОСТ
12.4.021-75;
робочі і інженерно-технічні
працівники повинні бути забезпечені спецодягом, спецвзуттям і засобами
індивідуального захисту відповідно до «Типових галузевих норм безплатної видачі
спеціального одягу, спеціального взуття і інших засобів індивідуального захисту
робітникам та службовцям, зайнятим на будівельних, будівельно-монтажних і
ремонтно-будівельних роботах»;
засоби індивідуального захисту
повинні відповідати нормативно-технічної документації на їх виготовлення;
спецодяг для працюючих повинен
відповідати санітарно-гігієнічним умовам праці. Усі працюючі на будівельному
майданчику повинні носити захисні каски за ГОСТ 12.4.087-84;
захисні заземлення і занулення
металевих будівельних лісів, рейкових шляхів електричних вантажопідіймальних
кранів і інших металевих частин будівельних машин і устаткування з
електроприводом повинні забезпечувати захист працюючих від ураження електричним
струмом. Захисне заземлення або занулення необхідно виконувати згідно з ГОСТ
12.1.030-81.
Контроль за виконанням вимог
безпеки, які застосовуються до сонячних опріснювальних установок при їх
монтажу, випробуванні та експлуатації включають наступні етапи:
контроль за дотриманням вимог
вибухонебезпеки необхідно здійснювати за ГОСТ 12.1.010-76;
контроль за дотриманням вимог
безпеки електрозварювальних пристроїв слід виконувати за ГОСТ 12.3.003-86;
контроль електробезпеки необхідно
забезпечувати відповідно до вимог «Правил будови електроустановок», «Правил
технічної експлуатації електроустановок споживачів», затверджених
Держенергонаглядом, і ГОСТ 12.1.009-76;
контроль за безпечною експлуатацією
виробничого устаткування (кранів, лебідок, посудин, що працюють під тиском і
ін.) і знімних вантажозахватних пристроїв (стропів, траверс, захоплень і ін.)
необхідно здійснювати відповідно до «Правил будови і безпечної експлуатації
посудин, що працюють під тиском», затверджених Держнаглядохоронпраці України.
Контроль за безпечною експлуатацією засобів малої механізації слід здійснювати
відповідно до ОСТ 36-100.2.03-84;
контроль за пожежною безпекою
необхідно здійснювати відповідно до вимог ГОСТ 12.1.004-91;
контроль рівнів освітленості слід
здійснювати відповідно до діючих нормативних документів України [50]
При виконанні робіт з виготовлення
конструкцій будівельних сталевих повинні бути враховані наступні фактори:
технологічні процеси виготовлення
конструкцій повинні виконуватися по режимах, розроблених відповідно до
технічних умов і правил експлуатації, зазначених в паспортах на устаткування чи
інструмент;
у технологічній документації повинні
бути відображені розміри оброблюваних виробів, режим обробки, інструмент, зазначені
місця і засоби кріплення деталей, що забезпечують їх стійке положення в процесі
виготовлення, а також засоби індивідуального захисту для працюючих по кожній
професії;
при розробці і організації
виробничих процесів повинно бути передбачено на робочому місці усунення впливів
на працюючих у небезпечних зонах шкідливих виробничих факторів відповідно до
ГОСТ 12.0.003-74*, які можуть мати місце при виготовленні конструкцій;
гранично допустимі концентрації
шкідливих речовин, що утворяться при виготовленні конструкцій, не повинні
перевищувати значень, встановлених ГОСТ 12.1.005-88.
Вимоги до персоналу, що допускається до участі у виробничих процесах включають
наступні етапи:
до виконання виробничих процесів по
виготовленню конструкцій допускаються особи не молодше 18 років відповідної
спеціальності і кваліфікації, що не мають медичних протипоказань, пройшли
інструктаж і навчання за спеціальністю і по безпеці праці;
організація навчання і інструктажу
робітників, інженерно-технічних працівників і службовців з безпеки праці за
ГОСТ 12.0.004-90, а при виготовленні конструкції на будівельному майданчику за
СНіП ІІІ-4-30* і вимогам статті 20 Закону України «Про охорону праці», ДНАОП
0.00-4.12-94, ДНАОП 0.00-8.01-93;
інженерно-технічні працівники,
відповідальні за проведення виробничих процесів, при призначенні на посаду
повинні проходити перевірку знань нормативно-технічної документації по
здійсненню технологічних процесів, будові і правилах безпечної експлуатації
відповідного технологічного, підйомно-транспортного устаткування, правилах
пожежної безпеки, електробезпеки і виробничої санітарії відповідно до їх
посадових функцій і зобов'язані керуватися статтями 18, 20 Закону України «Про
охорону праці», а також ДНАОП 0.00-4.12-94, ДНАОП 0.00-8.01-93 [51]
При виконанні робіт з монтажу
технологічних трубопроводів повинні бути враховані наступні фактори:
під час монтажу і випробування
трубопроводів необхідно керуватися вимогами даної інструкції, СНіП ІІІ-4-80,
«Правилами пожежної безпеки в Україні. Загальні вимоги», вимогами санітарних
правил при зварюванні, наплавленні і різанні металу, «Правилами будови і
безпечної експлуатації вантажопідіймальних кранів», затвердженими
Держнаглядохоронпраці, відомчими стандартами ССБТ, правилами і нормами,
затвердженими органами державного нагляду, і вимогами безпеки, викладеними в
проекті виконання робіт (ПВР), проекті організації будівництва (ПОБ) і проекті
виконання зварювальних робіт (ПВЗР);
маса монтуємих складальних одиниць і
арматури трубопроводів повинна відповідати вантажовисотним характеристикам
механізмів, що використовуються, з урахуванням схеми монтажу;
роботи поблизу діючих ліній
електропередачі необхідно виконувати згідно з вимогами ГОСТ 12.1.013-78;
на робочих місцях повинна бути
аптечка з набором медикаментів і засобів для надання долікарняної допомоги
потерпілим;
зварювальні і інші роботи, пов'язані
із застосуванням відкритого вогню, допускається виконувати з письмового дозволу
на виконання вогневих робіт відповідно до «Правил пожежної безпеки в Україні»;
устаткування і пристосування, що
застосовуються під час монтажу трубопроводів, повинні відповідати ГОСТ
12.2.003-86 і ГОСТ 12.2.049-80, бути оснащені огороджувальними пристроями і
запобіжними пристосуваннями згідно з ГОСТ 12.2.062-81.
Вимоги до технологічних процесів при
виконанні робіт з монтажу технологічних трубопроводів включають наступні
елементи:
труби, арматура, складальні одиниці
необхідно стропувати так, щоб при підйомі вони були урівноважені і при
приєднанні їх до апаратів або до інших складальних одиниць і труб не було
потрібно виконувати перестропування.;
труби і складальні одиниці довжиною
більше 6 м необхідно стропувати у двох місцях, при цьому кут нахилу стропа до
горизонталі повинен бути не менше 45 градусів;
при підйомі труб і складальних
одиниць трубопроводів необхідно використовувати відтягнення, що прикріплюються
до одного з кінців труб або складальних одиниць;
при виконанні монтажних робіт на
висоті деталі трубопроводів, зварювальні матеріали, розчинники і т.п. повинні
подаватися нагору і опускатися вниз у тарі. Вимоги безпеки при експлуатації
виробничої тари - за ГОСТ 12.3.010-82;
ходіння по скляних чи пластмасових
трубопроводах, а також скочування труб у траншеї за допомогою ломів, важелів и
т.д. не допускається;
монтаж трубопроводів на естакадах
дозволяється починати після одержання від будівельної організації акта про
готовність естакади відповідно до проекту і технічних умов;
у місцях виконання робіт з трубами
із пластмас, а також поруч з місцями їх складування на відстані 5 м
забороняється виконувати вогневі, електро- і газозварювальні роботи і зберігати
легкозаймисті речовини. Під час механічної і термічної обробок труб із
фторопласта необхідно дотримуватися температурних режимів. Різання труб на
установках з використанням абразивних кругів не дозволяється;
при знежиренні поверхонь металевих
труб розчинниками не допускається використовувати етилований бензин, бензол,
тетраетиловініл, чотирихлористий вуглець і пожежонебезпечні миючі засоби. Ці ж
матеріали не допускається використовувати як розчинники лаків і фарб;
при випробуванні трубопроводів,
з'єднаних із замкненими ємностями або апаратами, необхідне встановлення
пристроїв для запобігання утворенню вакууму при зливанні рідини;
випробування трубопроводів на
міцність забороняється у діючих цехах виробничих підприємств, на естакадах, в
каналах і лотках, де укладені трубопроводи, що знаходяться в роботі. Під час
випробування повинна відгороджуватися небезпечна зона;
трубопроводи повинні бути обладнані
запобіжними клапанами, що забезпечують скидання зайвого тиску, і відрегульовані
так, щоб було неможливо створювати тиск більше заданого. [52]
.2 Органи управління цивільної
оборони України.
Особи, які очолюють уряд України та
уряд Автономної Республіки Крим, органи виконавчої влади, підрозділи
виконкомів, на які покладено завдання забезпечити захист населення від
наслідків надзвичайних ситуацій, керівники підприємств, установ та організацій,
належать до керівного складу цивільної оборони та спеціальних формувань
Цивільної оборони [20, с. 10-11]
Відповідно до побудови керівництво
Цивільною обороною України здійснюють Кабінет Міністрів України, міністерства,
інші центральні органи виконавчої влади, Рада Міністрів Автономної Республіки
Крим, місцеві державні адміністрації, керівники підприємств, установ та організацій
незалежно від форм власності й господарювання (рис. 6.2.1.) [13. с. 11]
Рис. 6.2.1. Структура цивільної
оборони України
Начальником Цивільної оборони
України є Прем'єр-міністр України, а його заступником - Міністр Міністерства
України з питань надзвичайних ситуацій та у справах захисту населення від
наслідків Чорнобильської катастрофи (далі - МНС).
Начальником Цивільної оборони
Автономної Республіки Крим є Голова Ради Міністрів Автономної Республіки Крим.
В обласних державних адміністраціях,
Київській та Севастопольській міських державних адміністраціях діють
управління з питань надзвичайних ситуацій та цивільного захисту населення (далі
- управління), які є структурними підрозділами і входять до складу обласної,
Київської та Севастопольської міської державної адміністрації.
У районних державних адміністраціях,
а також у містах Києві та Севастополі у міських районних державних
адміністраціях є відділи з питань надзвичайних ситуацій та цивільного захисту
населення (далі - відділ), які є структурним підрозділом і входять до складу
районної, районної у містах Києві та Севастополі державної адміністрації.
Управління чи відділ очолює
начальник. На цю посаду призначаються як військовослужбовці, так і цивільні особи
у порядку, встановленому законодавством.
Начальник відділу призначається і
звільняється з посади головою районної державної адміністрації за погодженням
з начальником управління з питань надзвичайних ситуацій та цивільного захисту
населення обласної державної адміністрації.
Згідно з
адміністративно-територіальним поділом України голови місцевих державних
адміністрацій є начальниками Цивільної оборони.
В міністерствах, інших центральних
органах виконавчої влади, на підприємствах, в установах та організаціях,
навчальних закладах начальниками Цивільної оборони є їхні керівники. [20, с.
11-12]
Штаб цивільної оборони України
Безпосереднє керівництво діями
органів управління та сил цивільної оборони під час надзвичайних ситуацій, а
також відповідальність за виконання завдань ЦО покладається на штаби цивільної
оборони, спеціальні підрозділи міністерств і відомств, штатних працівників
цивільної оборони підприємств, які залучаються до виконання завдань захисту і
надання допомоги населенню у надзвичайних ситуаціях.
Повноваження територіальних штабів
цивільної оборони та перелік міністерств, що залучаються до виконання завдань
захисту населення, визначає Кабінет Міністрів України. Ці повноваження
визначені Постановою Кабінету Міністрів від 20 грудня 1993 р. №1055 "Про
заходи щодо реалізації Закону України "Про цивільну оборону України".
Чинне законодавство чітко визначає
повноваження органів державної виконавчої влади та управління, адміністрацій
підприємств, установ і організацій незалежно від форм власності і
господарювання та обов'язки посадових осіб з питань цивільної оборони [14]
Безпосереднє керівництво цивільною
обороною України здійснює начальник штабу цивільної оборони України, який
підпорядкований І Прем'єр-Міністру. При штабі цивільної оборони України є
державні курси, де навчаються керівний склад вищих органів влади, керівний
склад ЦО і великих підприємств, а також викладачі ЦО вузів.
Штабу цивільної оборони України
підпорядковані війська цивільної оборони (1 бригади і 4 полки), спеціалізовані
формування цивільної оборони (4 загони), територіальні формування, а також
начальники цивільної оборони областей і штаби цивільної оборони.
В області начальником цивільної
оборони є голова державної виконавчої влади. При начальнику ЦО області
утворюється штаб цивільної оборони, обласна евакокомісія, комісія з
надзвичайних ситуацій. При штабі ЦО області існують курси цивільної оборони.
Начальником цивільної оборони міста є голова державної виконавчої влади. При
ньому створюється штаб цивільної оборони, міська евакокомісія, територіальні
формування і комісія по надзвичайних ситуаціях. В сільському районі начальником
цивільної оборони є голова державної виконавчої влади. При ньому створюється
штаб цивільної оборони, комісія по надзвичайних ситуаціях, приймальна евакокомісія
і територіальні формування. Начальники цивільної оборони несуть повну
відповідальність за здійснення заходів цивільної оборони на підлеглих їм
територіях.
До складу штабу входять: начальник
штабу, його заступник (помічники)
- по оперативно-розвідницькій частині, бойовій підготовці, житловому сектору, а
також інші спеціалісти на погляд начальника ЦО об'єкту [14]
Штаб очолює начальник, який
призначається Кабінетом Міністрів України з числа військовослужбовців і є
заступником Начальника Цивільної оборони України.
Начальник Штабу має заступників,
яких за його поданням призначає Кабінет Міністрів України. Обов'язки
заступників визначає начальник Штабу.
Начальник Штабу несе персональну
відповідальність за виконання покладених на Штаб завдань і здійснення ним своїх
функцій. Штаби очолюють їх начальники.
Штаби Республіки Крим, областей,
міст Києва і Севастополя та їхніх районів, інших міст, віднесених в
установленому порядку до груп з цивільної оборони, і районів цих міст очолюють
начальники, які призначаються із числа військовослужбовців Штабом Цивільної
оборони України за погодженням із Головою Ради Міністрів Республіки Крим,
Представником Президента України, головою виконкому місцевої Ради народних
депутатів.
Начальники штабів є заступниками
начальників цивільної оборони, виконують їхні обов'язки в разі їх відсутності і
несуть персональну відповідальність за організацію цивільної оборони в межах
відповідної території, готовність розташованих на ній органів управління і сил
цивільної оборони до дій у надзвичайних ситуаціях [30]
Завдання штабів цивільної оборони:
своєчасне планування дій сил
цивільної оборони;
підтримання в постійній готовності
формувань до виконання завдань в зонах масового ураження людей, зонах
стихійного лиха, аварій і катастроф;
організація розвідки;
підтримання надійного зв'язку з
підпорядкованими штабами і формуваннями;
розгортання пунктів управління, їх
переміщення і охорона;
забезпечення діяльності сил ЦО, які
знаходяться в вихідних районах.
Начальник цивільної оборони України
Для забезпечення виконання заходів
цивільної оборони, підготовки формувань і управління ними з метою проведення
робіт в осередках ураження формуються служби міста (району) на базі відповідних
міських (районних) організації.
Начальниками служб є керівники
організацій. Вони підпорядковуються начальнику ЦО міста (району) і всю свою
практичну діяльність проводять під його керівництвом, а також під керівництвом
обласних (державних) служб цивільної оборони.
Начальником ЦО об'єкту є його
керівник. Він несе повну відповідальність за забезпечення захисту виробничого
персоналу та населення, постійну готовність органів управління, сил і засобів
проведення рятувальних та інших невідкладних робіт. Начальник ЦО об'єкту
підпорядковується відповідним посадовим особам відомств, у віданні яких
знаходиться об'єкт, а в оперативному відношенні підпорядковується вищестоящому
начальнику ЦО за місцем розташування об'єкту
Обов'язки начальника ЦО:
організація ЦО та повсякденне
керівництво нею;
організація забезпечення евакуації і
розосередження робітників і службовців та членів їх сімей в надзвичайних
ситуаціях мирного і воєнного часу;
забезпечення сховищами працюючої
зміни, підтримка в стані постійної готовності захисних споруд і спеціальних
споруд ЦО;
проведення заходів, що забезпечують
стійкість роботи об'єкту в мирний та воєнний час;
створення, підготовка і підтримка в
постійній готовності сил ЦО об'єкту;
організація стійкого управління,
зв'язку та сповіщення, керівництво розробкою плану ЦО об'єкту;
керівництво навчанням робітників,
службовців і населення робітничих поселень заходам захисту від стихійного лиха,
аварій та сучасних засобів ураження;
здійснення заходів по маскуванню
об'єкту;
На великих об'єктах призначаються:
заступника начальника ЦО об'єкту по
евакуації та розосередженню робітників та службовців;
заступник по інженерно-технічній
частині;
заступник по матеріально-технічному
забезпеченню [14]
Керівництво Цивільною обороною
України здійснюють Кабінет Міністрів України.
Повноваження Кабінету Міністрів
України
формує органи управління та сили
цивільної оборони, визначає граничну чисельність військовослужбовців і
службовців у штабах та військах, кількість військових частин у мирний і воєнний
час;
розподіляє міста за групами, а
підприємства - за категоріями щодо заходів цивільної оборони;
визначає порядок створення
спеціалізованих та невоєнізованих формувань цивільної оборони;
створює резерви засобів
індивідуального захисту і майна цивільної оборони, матеріально-технічних та
інших фондів на випадок надзвичайних ситуацій у мирний і воєнний час, а також
визначає їх обсяг і порядок використання;
вживає заходи щодо забезпечення
готовності органів управління і сил цивільної оборони до дій у надзвичайних
ситуаціях;
створює мережу курсів цивільної
оборони і визначає категорію слухачів та строки їх навчання на цих курсах;
забезпечує проведення наукових
досліджень і експериментально конструкторських робіт з актуальних проблем
захисту життя і здоров'я громадян у надзвичайних ситуаціях;
задовольняє мобілізаційні потреби
військ, штабів та установ цивільної оборони [13. с. 13]
Систему ЦО утворюють:
центральний орган виконавчої влади з
питань надзвичайних ситуацій та у справах захисту населення від наслідків
Чорнобильської катастрофи;
органи виконавчої влади всіх рівнів,
до компетенції яких віднесено функції, пов'язані з безпекою і захистом
населення, попередженням, реагуванням і діями у надзвичайних ситуаціях;
органи повсякденного управління
процесами захисту населення у складі міністерств, інших центральних органів
виконавчої влади, місцевих державних адміністрацій, керівництва підприємств,
установ і організацій незалежно від форм власності та підпорядкування;
сили і засоби, призначені для
виконання завдань ЦО;
курси та навчальні заклади
підготовки і перепідготовки фахівців та населення з питань ЦО;
служби ЦО;
системи зв'язку, оповіщення та
інформаційного забезпечення;
фонди фінансових, медичних та
матеріально-технічних ресурсів,
передбачені на випадок надзвичайних
ситуацій [28, ст. 1]
Завдання цивільної оборони України
. Запобігання виникненню надзвичайних
ситуацій техногенного походження і вжиття заходів для зменшення збитків та
втрат у разі аварій, катастроф, вибухів, великих пожеж і стихійних лих.
. Оповіщення населення про загрозу і
виникнення надзвичайних ситуацій у мирний і воєнний час - та постійне
інформування його про наявну обстановку.
. Захист населення від наслідків
стихійних лих, аварій, катастроф, великих пожеж і застосованих засобів
ураження.
. Організація життєзабезпечення
населення під час аварій, катастроф, стихійного лиха та у воєнний час.
. Організація та проведення
рятувальних та інших невідкладних робіт у районах лиха та в осередках
ураження.
. Створення систем аналізу і
прогнозування управління, оповіщення і зв'язку, спостереження і контролю за
радіоактивним забрудненням, хімічним і біологічним зараженням, підтримання їх
готовності для сталого функціонування у надзвичайних ситуаціях мирного і
воєнного часу.
. Підготовка і перепідготовка
керівного складу Цивільної оборони, її органів управління та сил; навчання
вмінню населення застосовувати засоби індивідуального захисту і діяти у
надзвичайних ситуаціях.
Безпосередньо завдання Цивільної
оборони виконуються постійно діючими органами управління у справах Цивільної
оборони, у тому числі створеними в складі підприємств, установ і організацій
силами і службами Цивільної оборони [14, с. 9]
ВИСНОВКИ ТА ПРОПОЗИЦІЇ
Метою дипломної роботи було
дослідження доцільності опріснення води за допомогою використання сонячної
енергії на острові Зміїний. В процесі роботи було розглянуто широке коло
питань, на основі яких можна зробити наступні висновки:
Сонячна енергія упевнено завойовує
стійкі позиції в світовій енергетиці. Привабливість сонячної енергетики
обумовлена низкою обставин: сонячна енергетика доступна в кожній точці нашої
планети; це екологічно чисте джерело енергії, що дозволяє використовувати його
у все зростаючих масштабах без негативного впливу на навколишнє середовище; це
практично невичерпне джерело енергії, яке буде доступне і через мільйони років.
Використання сонячної енергії набуло досить широкого застосування у багатьох
різноманітних напрямках, зокрема і в опрісненні води.
Було досліджено проблему прісної
води на острові Зміїний. Розглянувши «традиційні» методи опріснення води та
метеорологічні дані острова, дійшла до висновку, що раціональніше опріснювати
воду буде за допомогою використання сонячної енергії.
Задля опріснення води було
застосовано використання геліоопріснювальної сонячної установки, внаслідок чого
отримала наступні результати:
дана опріснювальна установка може
бути використана лише в ті місяці, де інтенсивність сонячної радіації
найбільша;
якщо використовувати установку
протягом року, то потрібна велика площа території острова, проте це зовсім не
раціонально.
Отриманий результат вийшов не зовсім
позитивним, оскільки були враховані деякі похибки при розрахунках (нестача
метеорологічних даних саме на острові Зміїний).
Проте я вважаю, що доцільно
опріснювати воду за допомогою сонячної енергії, якщо врахувати наступні
пропозиції:
повинні бути наявні всі
метеорологічні дані, які притаманні острову Зміїний;
задля високої продуктивності
підібрати сонячну опріснювальну установку за окремими її елементами:
застосування саме вакуумних сонячних
колекторів, що дозволяє практично повністю усувати втрати теплоти в навколишнє
середовище;
застосування високоселективного
покриття і терлопровідності поглинаючої панелі;
застосування якісної теплоізоляції
та ударостійкої, прозорої ізоляції з низьким вмістом заліза
Отже, застосування сонячних
опріснювальних установок на острові Зміїний є раціональним та доцільним, так як
сонячне світло не потребує видобування і транспортування, воно невагоме,
безшумне, нешкідливе, а його утилізація не утворює прямих відходів і не порушує
теплової рівноваги планети. Тому принциповою відміною сонячної енергії від усіх
інших, що використовуються, є також її бездоганність з точки зору хімічного,
теплового та інших видів забруднення оточуючого середовища.
ЛІТЕРАТУРА
Бойко
Б. Т., Гуревич Ю. Г. Физика фотоэлектрических преобразователей солнечной
энергии. - Харьков: «Основа», 1992.
Брик
М. Т. Питна вода і мембранні технології (огляд) // Наукові записки НаУКМА.
Хімічні науки - 2000. - Т.18. - с. 4 - 24
Брык
М. Т., Цапюк Е. А., Твердый А. А. Мембранная технология в промышленности. - К.:
Техніка, 1990. - 248 с.
Валов
М. И. Казанджан Б. И. Использование солнечной энергии в системах
теплоснабжения: Монография. - М.: Изд-во МЭИ, 1991. - 140.
Волеваха
И. М. Нетрадиционные источники энергии. - К.: Вища школа, 1988. - 62 с
Гелетуха
Георгій, Степан Кудря. Україна: нетрадиційні та відновлювальні джерела енергії
// Зелена енергетика. - 2005. - №2. - c. 8-10
Гребенюк
В. Д., Пономарев М. И. Электромембранное разделение смесей. - К. : Наук. думка,
1992. - 184 с.
Даффи
Дж. А., Бекман У. А. Тепловые процессы с использованием солнечной энергии. -
М.: Мир, 1977. - 420 с.
Запольський
А. К., Мішкова-Клименко Н. А., Брик М. Т. Фізико-хімічні основи технології
очищення стічних вод: Підручник. - К.: Лібра, 2000. - 552 с.
Кащенко
Т. О. Крок до енергоощадного житла // Будмайстер. 2000. №2. C.7
Клименко
Л. П. Техноекологія. Одеса Фонд Екопрінт, Сімферополь: Видавництво „Таврія”,
2000. - 542 с.
Клименко
Л. П., Воскобойнікова Н. О. Ресурсозбереження при впровадженні
вітрогеліоустановок у системи теплохладопостачання будівель // Наукові праці:
Науково-методичний журнал. Т.73. Вип. 60. Техногенна безпека. - Миколаїв:
Вид-во МДГУ ім. П. Могили, 2007. - 140 с.
Кучма
М. М. Цивільна оборона (цивільний захист): Навчальний посібник. - 2-ге видання,
виправлене і доповнене - Львів: „Магнолія плюс”; видавець СПД ФО „ В. М. Піча”,
2006. - 360 с.
Миценко
<http://www.readbookz.com/book/198/7486.html> І. М., Мезенцева О. М.
Цивільна оборона: Навчальний посібник. - Чернівці: Книги - ХХІ, 2004. - 404 с.
Павлов Ю. В. Опреснение воды. - М., 1972.
Пилипенко А. Т., Вахнин И. Г., Максин В. И.
//Химия и технология воды.- 1991.- 13, № 8.- с. 693-727.
Пилипенко А. Т., Гребенюк В. Д., Мельник Л. А.,
Емец Л. В. // Химия и технология воды.- 1988.- 10, № 4.- с. 344-347.
Селихов Ю. А., Коцаренко В. А. Оценка
эффективности теплоэнергетического преобразования солнечных коллекторов//
Экотехнологии и ресурсосбережение №1, 2006 с. 9
Преобразование солнечной энергии. Вопросы физики
твердого тела / Под ред. Серафино Б. - Москва: «Энергоиздат», 1987.
Стеблюк М. І. Цивільна оборона: Підручник. - К.:
Знання, 2006. - 487с.
Фрімантл М. Химія у дії. - Москва: Мир, 1991.
Харченко Н.В. Индивидуальные солнечные
установки. - М.: Энергоатомиздат, 1991. - 208 с.
Довідник по фізиці / Під редакцією Б.М.
Яворського і А.А. Детлафа, Москва : 1986.
Інженерні рішення з охорони праці при розробці
дипломних проектів інженерно-будівельних спеціальностей: Навчальний посібник. -
Київ: Основа, 2000. - 336 с.
Использование возобновляемых источников энергии/
Нетрадиционные и возобновляемые источники энергии, РЖ 90. Отдельный выпуск. -
М: ВИНИТИ, 1998. - №4. - С.2.
Передові та ресурсозберігаючі технології в
енергетиці: Кат. вист. / Харк. держ. наук. б-ка ім. В.Г.Короленка; Уклад. В. О.
Кривошей. - Х., ХДНБ 2003.
Закон України №555-IV від 20.02.2003р.
<http://www.ive.org.ua/20_02_03.htm> “Про альтернативні джерела енергії”
Україна. Верховна Рада. Про Цивільну оборону
України: Закон України від 03.02.93 N 2975- XII ( 2975-12
<javascript:OpenDoc('2975-12');> )// Відомості Верховної Ради України. -
1993. - № 14. - с. 125
Постанова Кабінету Міністрів України № 713 від
31 травня 2002 р. «Про затвердження Комплексної програми подальшого розвитку
інфраструктури та провадження господарської діяльності на о. Зміїний і
континентальному шельфі»
Постанова Кабінету Міністрів України № 1055 від
20 грудня 1993 р. «Положення про Штаб Цивільної оборони України»
Постанова Кабінету Міністрів України від 19
жовтня 1998 року № 1657 “Про продовження терміну виконання Програми поетапного
оснащення наявного житлового фонду засобами обліку та регулювання споживання
води і теплової енергії до 2002 року”ENERGY WORD, vol. 3, N2, March-April ,
2000, p. 25.
Володимир Каткевич. Острів невезіння // Дзеркало
тижня / влада. - 2007. - № 19 (648) 19-25 травня://ostriv.in.ua/index.php //
<http://ostriv.in.ua/index.php%20//> Нетрадиційні, альтернативні види
енергії
<http://www.geeras.narod.ru/nfd/d_water.htm>
// Проблема - Вода: право людини чи ринковий товар?
<http://www.elgalabwater.com.ua/> //
Методы очистки воды://users.kpi.kharkov.ua/fmeg/gelioinukraine.html //
<http://users.kpi.kharkov.ua/fmeg/gelioinukraine.html%20//>
Гелиоэнергетика - будущее Украины.hostel.net.ua/edu/base.doc// Джерела енергії:
види ресурсів енергії://fiz.1september.ru/2006/11/13.htm // <http://fiz.1september.ru/2006/11/13.htm%20//>
Использование солнечной энергии за
рубежом://sun-line.unaec.dp.ua/Steps/SunUA.html //
<http://sun-line.unaec.dp.ua/Steps/SunUA.html%20//> Cонячна енергетика
<http://www.rol.org.ua/article.cfm?deid=5>
/ Не острів, а скеля.... (із тверджень офіційного Бухаресту)
<http://uk.wikipedia.org/wiki/%25> /
Острів Зміїний / Матеріали з Вікіпедії - вільної
енциклопедії://travel.kyiv.org/map/o_odesa.htm /
<http://travel.kyiv.org/map/o_odesa.htm%20/> Карти
України://7chudes.in.ua/info/336.htm // <http://7chudes.in.ua/info/336.htm%20//>
Острів Зміїний
<http://www.know-house.ru/info_new.php?r=heating_system&uid=35>
// Солнечные коллекторы://solar-ct.uz/articles/34 //
<http://solar-ct.uz/articles/34%20//> Солнечный коллектор - ключевой
элемент солнечной системы теплоснабжения.
<http://www.cultinfo.ru/> -28.09. 2007 //
Сонячний опріснювач, «Гарячий ящик»
<http://www.admin.novsu.ac.ru/SUPPORT/PRODUCTN.NSF//>
Геліотермічна опріснювальна установка
ВГТУ-О-2-8://www.kti.ru/forum/img/usersf/pic_47.doc // <http://www.kti.ru/forum/img/usersf/pic_47.doc%20//>
Солнечные опреснители воды "Оазис"://op.samfact.com/?docs/p4 //
<http://op.samfact.com/?docs/p4%20//> Інструкція з охорони праці під час
виконання з монтажу технологічного устаткування. Загальні вимоги безпеки://op.samfact.com/?docs/p8
ВДОП 6.1.35-5.10-95 //
<http://op.samfact.com/?docs/p8%20ВДОП%206.1.35-5.10-95%20//> Інструкція
з охорони праці під час виконання робіт з виготовлення конструкцій будівельних
сталевих. Загальні вимоги безпеки
<http://www.metallostroy.com/info/spravochni/stroy_01/>/
Інструкція з охорони праці під час виконання робіт з монтажу технологічних
трубопроводів. Загальні вимоги безпеки
<http://dewcollection.narod.ru/russian/Rosa3red.htm>://www.sintsolar.com.ua/index.php
// <http://www.sintsolar.com.ua/index.php%20//> Сонячні
колектори://www.solarhome.ru/ru/solar/vacuum/sfd.htm //
<http://www.solarhome.ru/ru/solar/vacuum/sfd.htm%20//> Солнечное
тепло://www.ecomuseum.kz/dieret/solar/solar.html#COLLECTORS
<http://www.ecomuseum.kz/dieret/solar/solar.html> // Солнечная энергия
<http://factor>
media.ru/index.php?option=com_content // Влияние на экологию установок
возобновляемой енергетики://ecoclub.nsu.ru/altenergy/common/common2_3.shtm //
<http://ecoclub.nsu.ru/altenergy/common/common2_3.shtm%20//>
Экологические последствия развития солнечной енергетики
<http://www.rp5.ru/archive.php?wmo_id=33837>
// Архив погоды в
Одессе://file.menr.gov.ua/publ/regobl01/dpsir/Chorn/t_v_shov.htm //
<http://file.menr.gov.ua/publ/regobl01/dpsir/Chorn/t_v_shov.htm%20//>
Температура води в Чорному морі
<http://www.mag.kharkov.ua/aboutwater.htm>
// Скільки людині потрібно води
.
<http://www.ppu21.ru/article/124.html //
Розміщення сонячного колектора> <http://uk.wikipedia.org/wiki//>
Характеристика Сонця://www.ntpo.com/patents_water/water_2/water_77.shtml //
<http://www.ntpo.com/patents_water/water_2/water_77.shtml%20//> Патенти