Оборудование электростанции
Введение
Современную цивилизацию без
электроэнергии представить невозможно. Электроэнергия универсальна в
применении, ее производство может быть от нескольких десятков киловатт до тысяч
мегаватт. Генерирующие мощности имеют широкий диапазон как в номинальной
производимой мощности, так и в технологии производства электроэнергии. Тепловые
электростанции с паровыми турбинами конденсационного типа преобразуют энергию
горения угля, газа, нефтепродуктов в электрическую. Атомные электростанции
преобразуют ядерную энергию в электрическую. Быстрыми темпами развивается
энергетика на возобновляемых ресурсах: энергии ветра, солнечного излучения.
Гидроэнергетика, как и атомная, несмотря на высокую стоимость проектов и
длительный срок окупаемости, вносит весомый вклад в энергетический баланс.
Неуклонно возрастает мощность
турбогенераторов и гидрогенераторов в единице оборудования. Промышленностью
освоен серийный выпуск турбогенераторов единичной мощности 300 и 500 тыс. кВт,
изготавливаются генераторы мощностью 800, 1000 и 1200 тыс. кВт и более с более
высоким КПД. Растут протяженность и напряжение передающих высоковольтных сетей.
Действуют линии напряжением 1000, 1150 и 1500 кВ.
Россия самая большая по площади
страна в мире. Задачи, стоящие перед современной российской энергетикой по
своей широте и разнообразию аналогов в мире не имеют. Обеспечить надежное
энергоснабжение потребителей электроэнергии различных категорий в различных,
зачастую весьма сложных климатических и природных условиях одна из них. Так,
например, строительство и эксплуатация единственной атомной электростанции за
полярным кругом - Билибинская АЭС - была решена задача энергообеспечения
золотых приисков на Чукотке.
В современной электроэнергетике
получили широкое развитие высокотемпературные газотурбинные установки.
Производство электрической и тепловой энергии на этих установках имеют ряд
преимуществ. Температура горения газа около 1400 градусов, поэтому в проточную
часть ГТУ поступает смесь воздуха и продуктов горения газа. Рабочее тело в этих
турбинах оказывает давление на лопатки турбины и по всей проточной части
значительно ниже, чем в паровой. Вследствие этого снижается толщина металла,
время на прогрев. Обеспечивается высокая маневренность, ниже капиталозатраты на
строительство и монтаж. Вода, пар имеют высокую теплоемкость. Поэтому все
технологические операции по тепловым процессам, связанные с водой, имеют
большую инерцию и значительные потери. Рабочее тело в ГТУ нет необходимости
конденсировать; ввиду высокого содержания кислорода (до 15%) по выхлопу турбины
можно строить различные схемы утилизации тепла, как с поддержанием горения в
котле утилизаторе, так и без. Высокотемпературные ГТУ дали возможность
экономически целесообразно утилизировать тепло выхлопа. Это большой резерв для
повышения общего КПД. На современных энергоблоках, состоящих из ГТУ,
котла-утилизатора и паровой турбины, достигаются удельные расходы условного
топлива до 250 г./кВт*час. Для сравнения: паровые турбоагрегаты с параметрами
острого пара 140 кг с /см2 и расходом пара 540 тонн в час давали 355-360
г./кВт*час.
Экономичность, мобильность, низкие
капиталозатраты газотурбинных агрегатов с котлом утилизатором дают возможность
широко применять эти технологии в электроэнергетике. В наше время в Российских
энергосистемах эксплуатируются энергоблоки ПГУ с мощностями от 2,5 мВт до 500 и
выше.
Высокие обороты компрессоров
нагнетателей воздуха, соответственно их приводных турбин; высокие температуры
сгорания газа эти и другие факторы выдвигают ряд высоких технологических
требований к оборудованию газовых турбин. Очевидно, общий ресурс ГТУ будет
ниже, чем у паровых турбин. Эксплуатация с утилизацией выхлопа сложней. Однако
эти проблемы не могут остановить развития газотурбинных энергетических
установок. Эти установки отвечают современным требованиям к энергетике.
1. Теоретическая
часть
.1 Обоснование введения
в работу собственных мощностей
Основа экономики посёлка -
лесозаготовки и деревообработка, работает завод по переработке ягод. В округе
развито сельскохозяйственное производство (картофель, рожь, ячмень;
животноводство). Всё большее распространение получает туризм. С 1990 года
работает ЗАО «Пряжинское», занимающееся производством пушнины. Племенной
репродуктор по разведению норки американской породы пастель. Также компания
занимается производством, переработкой и реализация молока и мяса,
хлебопечением, торговлей, лесозаготовительной и лесоперерабатывающей
деятельностью, кормопроизводством. Владеет ремонтной мастерской, хлебозаводом,
2 магазинами. На племенном заводе «Пряжинский» выращивают домашних быков
айрширской породы. В районном центре, поселок Пряжа, есть объект
«Казначейство». Этот объект относится к потребителям первой категории. Вся
экономическая жизнь всего района так или иначе связана с казначейством.
Простои, сбои в работе казначейства парализуют всю экономическую деятельность
района. Сам объект представляет собой 3 этажное здание, с цокольным полуэтажом.
Отдельно стоящее здание боксы для автомобилей. Территория казначейства по
периметру обнесена забором. На первом этаже здания зал по работе с клиентами,
второй этаж занимают служба безопасности, отдел кредитования, отдел по работе с
юридическими лицами, отдел финансово-аналитической службы. На третьем этаже
кабинет начальника, архив, отдел организационно-кадровой работы. В цокольном
помещении казначейства смонтирован теплоузел и вводное распределительное
устройство.
Отдел казначейства в поселке Пряжа
обеспечивает весь район финансированием; через него проходят большие финансовые
потоки, при этом они должны быть непрерывны. В случае аварии в системе
электроснабжения, без электропитания остается 45 организаций и централизованных
бухгалтерий. Это практически все финансовые потоки района. Информационные сети
по правилам имеют источники бесперебойного питания, обеспечивающие кратковременное
электропитание компьютеров, серверов в аварийном режиме. В связи с увеличением
объемов электропитания, повышением требований к надежности работы, ИБП в полном
объеме безопасность и работоспособность системы обеспечить не могут. Так же
следует отметить достаточно высокий процент износа энергетического оборудования
(в северо-западном округе износ основных фондов в системе транспортировки
электроэнергии свыше 45%). Единственное эффективное решение этой задачи - ввод
в эксплуатацию собственных генерирующих мощностей, позволяющих не только
полностью покрывать собственные нужды, но и отдавать энергию в сети, на основе
коммерческого учета. Выбор привода и мощности генератора предопределен:
. Наличие газораспределительной
станции на магистральном газопроводе.
. Расчетом нагрузки собственных
нужд.
Вводное распределительное устройство
обеспечивает электропитанием системы:
· Охранной,
пожарной и тревожной сигнализации (ОПиТС),
· Видеоконтроля
и контроля управления доступом на объекте, периметра и въездных ворот,
· Рабочих
мест операторов в зале,
· Система
вентиляции,
· Освещение,
· Локальной
вычислительной сети,
· Электроснабжения
бокса.
ВРУ (вводное распределительное
устройство) запитывается с ТП1600 кВА, 35/0,4 кВ. Тип: КТП-СЭЩ-У -
однотрансформаторная подстанция, размещена в блочно-модульном здании с
габаритами 3х6 метров. Максимальная мощность составляет 1600 кВА. Запитывается
кабельным вводом. Казначейство - электропотребитель 1 категории. Питание
резервируется второй ТП, с разных воздушных линий 35 кВ.
Система электропитания ЛВС, в
которую входят 2 сервера, операторские станции рабочих мест операторов,
компьютеры системы безопасности, начальника, отдела организационно-кадровой
работы и другие машины образующие сеть, имеют бесперебойный источник питания, с
внутренней емкостью рассчитанной на работу в течении 72 часов локальной сети.
Вместе с тем, система ОПиТС такого источника питания не имеют. В целях
обеспечения более надежного энергоснабжения объекта введем собственные
генерирующие мощности. Расчет потребляемой мощности, резерв мощности более
подробней будет изложен ниже. ГТУ выбираем мощностью 2,5 мВт.
Рис. 1.1. Внешний вид модуль блока
ГТУ.
Газотурбинная блочно-модульная
электростанция ГТЭС «Урал-2500» предназначена для производства и обеспечения
электроэнергией промышленных и бытовых потребителей, при использовании котла-утилизатора
- для совместного производства электрической энергии, горячей воды и пара.
|
Номинальная мощность на клеммах генератора, МВт
|
2,55
|
|
Тепловая мощность на выхлопе при tвых.=110 оС, Гкал/ч
|
5,82
|
|
Температура газа за силовой турбиной (на выхлопе), оС
|
361
|
|
Расход газа за силовой турбиной (на выхлопе), кг/с
|
25,6
|
|
Эквивалентный уровень звука при обслуживании, не более, дБА
|
80
|
|
Ресурс, ч: - до капитального ремонта - назначенный
|
30 000 120 000
|
Газотурбинная блочно-модульная
электростанция ГТЭС «Урал-2500»
ГТЭС используются при строительстве
новых объектов и реконструкции существующих муниципальных котельных, ГРЭС и
ТЭЦ, а также объектов ЖКХ.
Блочно-модульные ГТЭС «Урал-2500»,
на открытой площадке и могут использоваться:
· в качестве основного или
резервного источника питания;
· автономно или
параллельно с другими источниками электроэнергии;
· при строительстве новых
объектов для производства электроэнергии, тепла и пара, а также на объектах ЖКХ
и при реконструкции существующих муниципальных котельных, ГРЭС и ТЭЦ.
Собственные генерирующие мощности
позволят снизить расходы на потреблении электроэнергии, обеспечить собственные
нужды отопления и ГВС; собственное производство позволяет регулировать
генерируемые мощности согласно потреблению, излишки тепловой и электрической
энергии можно отдавать другим потребителям. Потребление электроэнергии самим
казначейством невелико, имеет неравномерное распределение нагрузки как в
сутках, так и по сезону.
Регулировать потребленную мощность,
как казначейством, так и всем районам можно выработкой собственной энергии. Это
обеспечит более высокую надежность электроснабжения всего района, повысит
противоаварийную устойчивость электросетей; выработка собственной тепловой
энергии с более высоким уровнем производительности, экономичности даст большой
потенциал развития всего района и поселка в частности.
1.2 Описание установки
ГТД
Принцип работы ГТУ наиболее простой
и понятный из всех тепловых машин. На первом этапе происходит сжатие рабочего
тела - воздуха. В современных ГТУ воздуха приходиться в 9-10 раз больше, чем
природного газа. Этим обеспечивается охлаждение проточной части и
обеспечивается полное химическое сгорание. Затем в камере сгорания
воздушно-газовая смесь зажигается. Раскаленные газы за счет своей внутренней
энергии совершают работу - вращают турбину. На выходе из двигателя давление
уходящих газов практически равное атмосферному; это значит, что давление по
всей проточной части ГТУ значительно ниже чем в паровых турбинах. Температура
на выхлопе во многом определяет экономическую целесообразность утилизации
тепла. Только высокотемпературные ГТУ «дали дорогу» котлам утилизаторам с
производством острого пара, с дальнейшей работой пара на паровых турбинах, либо
в тепловых сетях. На рисунке изображена простейшая схема ГТУ, без утилизации
уходящих газов.
Современные ГТУ могут работать на
газу, в качестве резервного топлива может рассматриваться распыленные жидкие
нефтепродукты. Газ из всего перечня органического топлива наиболее
привлекателен. Процессы авторегулирования на установках использующих газ
значительно проще реализуются. Нет необходимости в складировании отходов
горения (шлакоотвалы), очистка уходящих газов в основном состоит в улавливании
оксидов азота. Выход оксидов азота и окиси углерода во многом зависят от
соотношения действующей мощности к установленной ГТУ.
Рассмотрим проточную часть ГТУ.
- компрессор низкого давления; 2 -
газогенератор; 3 - компрессор высокого давления; 4-камера сгорания; 5-турбина
высокого давления; 6 - турбина низкого давления;
- турбина силовая; 8-8 муфта на
генератор10,11 коробки приводов.
КНД (компрессор низкого давления) на
одном валу с турбиной низкого давления, КВД (компрессор высокого давления) на
одном валу с турбиной высокого давления; газ под магистральным давлением
поступает в камеру сгорания, где происходит зажигание системой СПВ. Газ к
турбине подводиться после пункта подготовки газа, где он проходит очистку от
влаги, от более тяжелых углеводородов (93-98% газа это метан, могут
присутствовать пропан, бутан и другие углеводороды с другими физическими
свойствами), подогревается.
Далее через топливно-регулирующий
клапан (ТРК, основной и растопочный, их 2) газ поступает в камеру сгорания, где
перемешивается с воздухом и сгорает. Регулирование расхода воздуха происходит
за счет работы компрессоров и внешнего направляющего аппарата (ВНА) - меняется
угол поворота лопастей. Газ регулируется на клапанах ТРК. ГТУ создает крутящий
момент на валу генератора, причем собственно на сам вал генератора (на полезную
работу) расходуется лишь треть всей мощности. Температура выхлопа газовой
турбины 300-350 градусов, скорость выхлопа 15 м2/с. Содержание
выхлопных газов: кислород 10-12,5%, углекислый газ20-23%, окислы азота по
санитарным нормам не должны превосходить 4%, остальное азот и другие газы.
ППГ
Используемое топливо для ГТУ
природный газ магистрального давления. Устройство пункта подготовки газа должно
отвечать следующим условиям:
· Помещение
по пожарной безопасности 2 категории
· Внутри
помещения должно быть организовано 5 кратное естественное вентилирование в час
· Вся
арматура, освещение - взрывозащищенного исполнения; на механизмах приняты меры
по препятствию искрообразования
· Установлены
датчики на наличие газа
· Регуляторный
зал отделен от других помещений газонепроницаемой стеной
Основные функции ППГ:
· Очистка
газа от механических примесей, влаги, более тяжелых фракций природного газа
(пропан, бутан и др.)
· Нагрев
газа.
Модуль-блок ППГ имеет размер 6 хв м,
свой заземляющий контур, контур молниезащиты. Внутри помещения установлен
датчик загазованности. Территория ППГ имеет отдельный периметр, обнесенный
забором.
Газ под магистральным давлением (30
кг с/см2) проходит через две последовательные задвижки, затем в блок
очистки газа; отделяется влага. Затем фильтр первой ступени очищает от
механического загрязнения: песок, окалина и т.д. Перепад давлений на фильтре
контролируется по месту двумя манометрами он не должен быть больше 2 кг с /см2.
После этого, осушенный и очищенный газ поступает на подогреватели. Пар на
подогреватели поступает от котла-утилизатора в зимнее время, в летнее от
основного бойлера. Газ подогревается до температуры 400С и поступает
в газовый сепаратор, где происходит отделение более тяжелых углеводородных
соединений от метана. Следующий этап - стабилизация давления; происходит
регулирование давления на регуляторах давления. Регуляторы дублированы на
случай ремонта одного из них. Далее - регуляторы расхода с ПЗК
(предохранительным запорным клапаном), их работа - менять расходы газа на ГТУ.
Следующий этап - фильтр тонкой очистки, перепад давлений контролируется так же
как и на фильтрах 1 ступени. Большой, более 2 кг с /см2 перепад
давлений на фильтре говорит о необходимости очистки фильтра. В противном случае
возможен вынос фильтрующего элемента вместе с мусором в проточную часть
турбины.
Котел-утилизатор
Котел-утилизатор:
Принципиальная схема. 1-ширма
конвективного перегрева, 2 паросборник, 8 кипятильные трубы, 3 водяной
экономайзер, 6 насос рециркуляции
Выхлоп ГТУ с такими параметрами дает
возможность для утилизации. Выхлоп газовой турбины направляется в
котел-утилизатор в котел-утилизатор - теплообменник противоточного типа, котел
барабанного типа; где происходит теплообмен, вода преобразуется в пар. Пар идет
в теплообменник с отопительным контуром закрытого типа. Таким образом, по сути
своей реализована мини тэц. Общий КПД установки 36,9%.
Рассмотрим схему котла. 1-трубопровод
конвективного перегрева пара, 7 - верхний барабан, 5 - нижний барабан, 6 -
кипятильные трубы, 2 - рециркуляционная трба, 3-водяной экономайзер, 4 -
питательный насос. Степень рециркуляции от 8 до 12. В верхнем барабане
образуется насыщенный пар. Проходя через конвективный перегреватель, пар
увеличивает температура до 290 градусов и давление до 14 кгс/см2.
Тепловое расширение металла котла контролируется реперной точкой.
Уходящие газы направляются в дымовую
трубу. Химический состав уходящих газов, его температура дают сведения о
процессах горения, теплопередачи. Температура уходящих газов не должна быть
ниже 85 градусов. В противном случае, оксиды азота в реакции с водяным паром
образуют азотную кислоту, которая оказывает разрушающее воздействие на металлические
поверхности.
Внешний вид котлоагрегата
2. Практическая часть
.1 Расчет нагрузки
потребителя, режимы работы ГТУ
модульный
потребитель электростанция
Расчет электрический нагрузок
является основным в проектировании систем электроснабжения. Все аппараты,
сечения токоведущих частей определяются в зависимости от величины нагрузки. При
расчете силовых нагрузок важное значение имеет правильное определение величины
электрической нагрузки во всех элементах силовой сети. Завышение нагрузки может
привести к перерасходу материала, удорожанию строительства; занижение нагрузи -
к уменьшению пропускной способности электрической сети и невозможности
обеспечения нормальной работы силовых электроприемников.
Группируются электроприемники
по коэффициенту использования
, т.е. электроприемники
имеющие одинаковый технологический процесс, но не одинаковую мощность.
К ВРУ подключены:
· Охранной,
пожарной и тревожной сигнализации (ОПиТС),
· Видеоконтроля
и контроля управления доступом на объекте, периметра и въездных ворот,
· Рабочих
мест операторов в зале,
· Система
вентиляции,
· Освещение,
· Локальной
вычислительной сети,
· Электроснабжения
бокса.
Электроприемники собственных нужд
потребители первой категории, 0,4 кВ; без электроснабжения этой группы
потребителей технологический процесс невозможен. Питание собственных нужд
реализовывается параллельно электроснабжению казначейства. Распределительное
устройство это вводная низковольтная ячейка на 250 А. Дополнительно добавляются
электроприемники собственных нужд котла-утилизатора, основного бойлера:
· Маслонасосы,
запорная и регулирующая арматура;
· Стартера
ГТУ;
· Станция
пожаротушения;
· Компрессоры
пневмопривода;
· Технологическое
оборудование КВОУ, вентиляторы, задвижки, шиберы;
· Вентиляция
модуль-блока;
· Электрооборудование
пункта подготовки газа (ППГ);
· Освещение
модуль-блока ГТУ, ППГ, наружное:
· Запорная
арматура котла;
· Регулирующая
арматура котла;
· Электрооборудование
ППГ;
· Электрооборудование
основного бойлера;
· Электрооборудование
химводоподготовки, насосной сырой воды.
Таблица 2.1.1
|
№ п/п
|
Наименование
|
Количество, шт.
|
Коэффициент использования Kис
|
Мощность, кВт
|
cosц
|
|
1.
|
Маслонасос №1.
|
1
|
0,18
|
3,5
|
0,8
|
|
2.
|
Маслонасос №2
|
1
|
0,18
|
3,5
|
0,8
|
|
3.
|
Задвижки на напоре
|
2
|
0,1
|
1,5
|
0,85
|
|
4.
|
Задвижки на маслоохладителе
|
2
|
0,1
|
1,5
|
0,8
|
|
5.
|
Водяной насос на маслоохладитель
|
1
|
0,1
|
2,5
|
0,8
|
|
6.
|
Компрессора для пневмопривода
|
2
|
0,12
|
3,5
|
0,8
|
|
7.
|
Регуляторы на подачи воды в маслоохадитель
|
3
|
0,12
|
1,5
|
0,9
|
|
8.
|
Запорная арматура по газу, задвижки; ПЗК, ПСК
|
4
|
0,1
|
1,5
|
0,7
|
|
9.
|
Вентиляторы приточно-вытяжные
|
2
|
0,16
|
2,5
|
0,8; 0,7
|
|
10.
|
ТЭН маслобака
|
1
|
0,16
|
2,5
|
0,8
|
|
12.
|
Освещение
|
1
|
0,6
|
4,5
|
0,8
|
|
11.
|
Маслонасосы генератора
|
2
|
0,16
|
2х2,5
|
0,8
|
|
12.
|
Задвижки по маслу
|
4
|
0,12
|
4х1,5
|
0,8
|
|
13.
|
Задвижки ППГ
|
6
|
0,1
|
6х1,5
|
0,8
|
|
14.
|
Регуляторы ППГ
|
4
|
0,18
|
4х0,5
|
0,8
|
|
15.
|
Задвижки котла
|
10
|
0,12
|
10х1,5
|
0,8
|
|
16.
|
Дутьевой, дымосос котла
|
2
|
0,8
|
2х10,5
|
0,82
|
|
17.
|
Освещение котла
|
1
|
0,6
|
1,5
|
0,9
|
|
18.
|
Рециркуляции насос
|
2
|
0,8
|
2х2,5
|
0,82
|
|
19.
|
Регуляторы котла
|
4
|
0,18
|
4х0,5
|
0,8
|
Определяется коэффициент
использования, косинус, тангенс
для каждого потребителя,
данные в таблицу.
Определяется из
.
.
.
.
.
Определяется коэффициент
использования. Потребители электроэнергии различны: как 3-х фазного тока, так и
однофазного, электропривод, электронагреватель масла, освещение.
Определяется общая
рабочая мощность
:
Определяется сменная
активная мощность за наиболее загруженную смену:
∑Pсм=31,85
кВт
Определяется средний коэффициент использования
электроприемников, подключенных к по формуле:
, [3.1]
где
-коэффициент
использования;
Определяется показатель
силовой сборки по формуле:
,
Определяется эффективное
число электроприемников
, [3.2]
Определяется коэффициент
максимума
,
Ки средний 0,25,
пэ=24
по таблице определили
значение коэффициента Кмакс.
Определяется активная максимальная
мощность по формуле:
, [3.3]
где,
-
коэффициент максимума;
- суммарная сменная
активная мощность, кВт.
Реактивная максимальная
мощность определяется по формуле:
,
Qмакс=K*Qcм=1,3*0,78*31,85=31,49
квар.
Определяется полная максимальная
мощность по формуле:
,
где,
-
активная максимальная мощность электроприемников, кВт;
- реактивная
максимальная мощность электроприемников, подключенных к РП1, кВАр.
Определяется
максимальный ток нагрузки распределительного шинопровода 10НБ по формуле:
, [3.4]
- номинальное напряжение
электроприемников, кВ.
Таблица 3.1.2.
|
Рном
|
Рсм
|
Qсм
|
Kис
|
nэ
|
Кмах
|
Рмах
|
Qмах
|
Sмах
|
Iмах
|
|
125,5
|
31,85
|
24,8
|
0,25
|
24
|
1,3
|
41,4
|
31,49
|
52,4
|
79,8
|
Расчет произведен на вновь вводимые
электроприемники, в связи с вводом генерирующей мощности. Потребление
электроэнергии на собственные нужды не выше 5% от производимой мощности.
Производимая мощность значительно перекрывает потребности самого казначейства.
Режим с КУ
Приведенные рассуждения позволяют
получить простую формулу для определения КПД ПГУ утилизационного типа:
з∑=зГТУ+(1
- зГТУ)зКУзут
Где з∑ - суммарный
КПД; зГТУ - КПД газотурбинной установки; зКУ - КПД
котла-утилизатора; зут - КПД утилизационной установки: паровой
турбины, теплообменника (выработка тепловой энергии). Эта формула объясняет,
почему ПГУ стали строиться лишь в последние 20 лет. КПД котла утилизатора
существенно зависит от температуры уходящих газов, то есть от режима работы
ГТУ. Чем выше температура выхлопа, тем выше КПД КУ. В свою очередь, температура
рабочего тела проточной части турбины определяется техническим ресурсом рабочих
поверхностей ГТУ. Найдем теоритически возможный КПД:
згту = 28,5%, а
температура за ГТУ 361°С. При такой температуре газов в котле-утилизаторе можно
сгенерировать пар с температурой около 290°С, и КПД установки будет составлять
примерно 75%. Тогда при Тогда при зут = 0,36 КПД ПГУ составит:
з∑=зГТУ+(1
- зГТУ)зКУзут =28,5+(1-0,285)*0,75*0,36=0,47.
Режим с основным
бойлером.
Расход пара на основной бойлер от всей
паропроизводительности составляет 15-20%, поэтому КПД котла утилизатора падает
до 25%, соответственно по формуле [3.1.1]
з∑=зГТУ+(1
- зГТУ)зКУзут =28,5+(1-0,285)*0,25*0,36=28,6%
Летний режим работы котла
утилизатора практически не влияет на общий КПД.
Если оценить график сезонных
нагрузок, соотношение зима / лето равно 0,4. В летний период недополученная
выгода составит:
Т=(5/12)*0,4*(47-28)%=3,3%
Для того, чтобы снизить абсолютные
потери, можно уменьшить выработку собственной электроэнергии до 0,3 от установленной
мощности. Это уменьшит потери до 2,97% недополученной выгоды.
Зависимость КПД генератора от
нагрузки.
2.2 Расчет заземления
Рассчитаем контур заземления
помещения модуль-блок укрытия газотурбинной установки. Расчёт сети заземления
определяет:
· Расчетный ток замыкания
на землю.
· Тип
заземлителя, их количество, место размещения и сечение заземляющих проводников.
· Расчёт
производится для необходимого сопротивления заземляющего устройства в
соответствии с требованиями ПУЭ.
· Уточненное
число вертикальных электродов.
Удельное сопротивление грунта,
полученное путём замеров является важнейшей величиной, определяющей
сопротивление заземляющего устройства. Но при этом учитываются все сезонные
изменения удельного сопротивления грунта.
В любое время года согласно ПУЭ
Rз
[3.2.1]
Где Iз
- расчетный ток замыкания, А (не более 500 А). Приближенно определяется как:
Где Vн
номинальное линейное напряжение сети, кВ;
Lкл,
Lвл
- длина кабельных и воздушных электрически связанных линий, км. В
электроустановках до 1 кВ Rз
должно быть не более 4 Ом.
Рассчитать заземляющий контур если
известно:
грунт-суглинок; удельное
сопротивление 100 Ом м;
вертикальный заземлитель - пруток
катаный, диаметр 10 мм; длиной 1,5 м;
- горизонтальный
заземлитель - полоса 40
4;
расстояние между
вертикальными заземлителями - a
= 3 м
вид ЗУ - рядное.
Определим расчетное сопротивление
одного вертикального
электрода:
rв=0,3*с*Kсез в=0,3*100*1,5=45 Ом.
. Определим предельное сопротивление
совмещенного ЗУ:
Устанавливается
необходимое по ПУЭ допустимое сопротивление заземляющего устройства,
определяется как меньшее предельное сопротивление совмещенного ЗУ. Требуемое по
НН Rзу2
Ом
м.
Rзу2=
4 Ом;
3. Определяется количество
вертикальных электродов
Определяется примерное число
вертикальных заземлителей при предварительно принятом коэффициенте
использования:

[3.2.2.]
Определяется количество вертикальных
электродов с учетом экранирования:
где,
=
0,75 - коэффициент использования. (заземление рядное, a/L как 2, количество 11
. Разместим ЗУ на плане с
уточненными данными.
LП=1+(54-1)*(2*1,5)=160 м.
Тогда расстояние между электродами
равно двум длинам электродов. 5. Определяется уточненные значения удельных
сопротивлений для горизонтальных и вертикальных электродов:
Rг=
Rг=(0,4/(160*0,75))*100*1,5*lg (2*160*160)/0,04*0,7=3,13
[3.3.4]
Где Lп - длина полосы, м; b - ширина полосы, м, с - удельное сопротивление грунта, Ом м, зг-уточненный
коэффициент использования (0,32), t - глубина заложения, м.
Rв=
=
Ом.
6. Найдем фактическое
сопротивление ЗУ
Rзу
ф=
(Rзу) Ом.
Так как сопротивление
заземляющего устройства соответствует требованиям ПУЭ, следовательно, расчет
правильный, ЗУ эффективно.
2.3 Расчет токов
короткого замыкания
Наружная ВЛ АС, Xo=0,4 Ом/км;
расстояние 1 км.
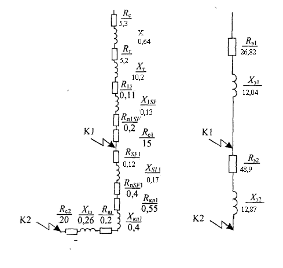
Xc=Xo*Lc=0,4*1=0,4 Ом; реактивное сопротивление линии.
Ro=1000/(30*10)=3,33 Ом/км
Rc=Ro*Lc=3,33*1=3,33 Ом; активное сопротивление линии.
На схемах замещения приведены
активные и реактивные удельные сопротивления участков: от ВЛ 35 кВ до
генераторного выключателя.
.4 Расчет освещения
Применяются следующие системы
освещения: общее освещение, местное и комбинированное. Применение одного
местного освещения не допускается. Освещение делится на рабочее и аварийное.
Аварийное освещение применяется для эвакуации людей. Трубчатые люминесцентные
лампы низкого давления получили широкое применение в осветительных установках.
люминесцентные лампы (ЛЛ) дугового разряда подразделяют на лампы общего и
специального назначения. Их условное обозначение состоит из букв и чисел.
Первая буква (Л) характеризует принадлежность к данному виду, следующие
буквы-особенности спектра излучения: Б-белая, Д-дневная, Е-естественная,
ТБ-теплобелая, и т.д. Далее следует обозначение конструктивных особенностей
ламп. Приведем некоторые технические характеристики ЛЛ:
|
тип лампы
|
мощность, Вт
|
световой поток, лм
|
светоотдача, лм / Вт
|
продолжительность горения, ч
|
|
ЛД40-1
|
40
|
2600
|
65
|
15000
|
|
ЛД80
|
80
|
4300
|
53,75
|
12000
|
|
ЛТБ80
|
80
|
5200
|
65
|
12000
|
Применяют также лампы накаливания. В
некоторых случаях применение таких ламп оправдано. Приведем некоторые
технические характеристики:
|
тип лампы
|
мощность, Вт
|
световой поток, лм
|
светоотдача, лм / Вт
|
|
БК215-225-60
|
60
|
730
|
12,2
|
|
БК215-230-60
|
60
|
710
|
11,8
|
|
Б235-245-100
|
100
|
1380
|
18,8
|
Согласно установленным нормам для
общего освещения производственных помещений с высотой 4-8 метров применяются
светильники с газоразрядными лампами, в административно бытовых помещениях и
производственных участках небольшой площади и высоты применяются светильники с
лампами накаливания и люминесцентными лампами.
Для расчета общего
равномерного освещения при горизонтальной рабочей поверхности основным является
метод светового потока (коэффициент использования), учитывающий световой поток
лампы
,
лм, при лампах накаливания или световой поток группы ламп светильника при
люминесцентных лампах.
Расчет по методу
коэффициента использования ведется в следующем порядке:
Определяется требуемая
нормами освещенность Е, лк, для каждого помещения. Для котельной Е= 100 лк. -
люминесцентные лампы и 75 лк для ламп накаливания.
Определяется высота
подвеса светильника по ф
, [3.4.1]
где h - высота помещения, м;
hc
- расстояние светильников от перекрытия (свес), м;
hp
- высота расчетной поверхности над полом, м.
Высота помещения
котельной h=4 м, расстояние светильников от перекрытий должно быть в пределах
0,3-1,5 м.
Рассчитаем высоту
подвеса:
м. [3.4.2]
Располагаются
светильники.
Основное требование при
выборе расположения светильников доступность их для обслуживания.
При необходимости
получения равномерного освещения отношение расстояния светильника от перекрытия
hc к высоте потолка над рабочей поверхности H
должен быть равным 0,2-0,25.
Светильники
рекомендуется располагать по вершинам квадратов или прямоугольников. Если
располагаются светильники в вершинах ромба, то угол в вершинах ромба должен
быть близким к 60о.
В линиях с разрывами
люминесцентных ламп, расстояние между концами светильников не должно быть
больше половины его высоты подвеса над рабочей поверхностью. Ряды светильников
располагают параллельно стенам, на которых есть окна.
Определяется тип и
количество светильников, n:
Т.к. светильник
подвесной то выбираем ЛВП04 кривая силы света Д-2; n=2
Определяется индекс
помещения по формуле:
, [3.4.3]
где:
-
площадь помещения, м2;
- расстояние от
светильника до рабочей поверхности, м;
и
-
длина, и ширина помещения, м.
[3.4.4]
Котельная имеет размеры 12 на 18
метров Для производственных помещений расчет освещения будем производить по
методу коэффициенту использования светового потока. Расчетное значение
светового потока одной лампы в каждом светильнике определяется по формуле:
Определяются
приблизительные значения коэффициента, отражения стен
;
потолка
;
рабочей поверхности
:
;
;
В зависимости от кривой
силы светильника, индекса помещения
и коэффициентов
отражения стен, потолка и рабочей поверхности определяется коэффициентом
использования
,
%:
Определяется коэффициент запаса:
Определятся коэффициент
минимальной освещённости, Z:
Где Ф - световой поток лампы, Е -
нормируемое значение освещенности, К - коэффициент запаса, F - освещаемая площадь, z - отношение средней освещенности к
минимальной, N - количество ламп, n - коэффициент использования светового потока осветительной
установки.
Под коэффициентом
использования светового потока понимают отношение светового потока, падающего
на расчетную поверхность, к световому потоку источника света. Его значение
принимается в зависимости от коэффициентов отражения поверхностей помещения;
стен -
,
потолка
,
расчетной поверхности-
(обычно принимается 0,1)
и от индекса помещения:
[3.4.5]
По найденному значению
светового потока лампы выбирается ближайшая стандартная лампа. При расчете
люминесцентного освещения первоначально намечается число рядов R, которое подставляется в формулу вместо N.
; [3.4.6]
Где В длина помещения, l - длина светильника (примем 1,23 м), L-расчетная
величина, рассчитывается:
Hр
=H - (Hрп+Hсв); L=0, 8*НР.
L=0,
8*(8-0,9-1,2)=4,72 м.
Тогда найдем количество
рядов.
NA=
(6-2*1, 23)/4,72+1=1,8; 2 - ряда светильников
Найдем количество
светильников в ряду:
Nв
= (9-2*1,2)/4,72 =1,5; 2 светильников в ряду.
Теперь можно рассчитать
световой поток лампы.
Ф=100*1,5*54*1,1/2*2*1,1=2025
лм.
Применим светильник типа
ЛСП18, для производственных помещений с повышенным содержанием пыли. В нем
размещаем 1 лампу типа ЛД 40-1 мощностью 40 вт, световым потоком 2100 лм. Таким
образом, световой поток светильника составит 2100 лм. Освещенность котельной
будет 105 лк. Что вполне допустимо.
Три ряда по четыре
светильника дает нам 4 потребителя. Суммарная мощность составит 160 Вт. Питание
ламп однофазное. Определим номинальный ток.
; [3.4.7]
I=160/220*0,91=0,8
А;
По таблице выбираем медный
2 жильный провод, проложенный в трубе сечением 1,5 мм2. Для защиты
от перегрузки и от короткого замыкания выбираем автоматический однофазный
выключатель IEK, номинальный ток 1,6 А.
.5 Подбор двигателей,
пусковой и защитной аппаратуры
Важно при выборе электродвигателя,
чтобы частота вращения двигателя была как можно ближе частоте вращения рабочей
машины. Необходимо учесть, что с уменьшением номинальной частоты вращения
увеличиваются его габаритные размеры и металлоемкость.
При этом основные
показатели это:
1. Стоимость
электрооборудования.
2. КПД.
. Коэффициент
мощности регулировочного цикла.
. Расход и
стоимость энергии за цикл.
. Годовые и
эксплуатационные затраты.
Электродвигатель по
характеру нагрузки выбирают в зависимости от режима работы приводного механизма
(продолжительный, продолжительный с переменной нагрузкой, кратковременный,
повторно-кратковременный) и потребляемой им мощности.
Мощность
электродвигателя должна содержать запас с расчетными величинами не менее 5-10%
с увеличением до 30-40% для мощностей до 5 кВт, 70-100% для электродвигателей с
мощностью до 1 кВт.
Определяют
номинальный ток по следующему выражению:

; где: [3.5.1]
P
-номинальная
мощность двигателя, кВт;
U
-номинальное
напряжение, В;
- КПД при номинальной
нагрузке;
cos
-
номинальный коэффициент мощности;
Пусковой ток двигателя:
I
Где
-кратность
пускового тока по отношению к номинальному току электродвигателя.
Электродвигатели
|
№ п/п
|
Наименование
|
Количество, шт.
|
Тип электродвигателя
|
Мощность, кВт
|
cosц
|
|
1.
|
Маслонасос №1.
|
1
|
АИР 100 L4
|
3,5
|
0,8
|
|
2.
|
Маслонасос №2
|
1
|
АИР 100 L4
|
3,5
|
0,8
|
|
3.
|
Задвижки на напоре
|
2
|
АИР 80 В4
|
1,5
|
0,85
|
|
4.
|
Задвижки на маслоохладителе
|
2
|
АИР 80 В4
|
1,5
|
0,8
|
|
5.
|
Водяной насос на маслоохладитель
|
1
|
АИР 100 S4
|
2,5
|
0,8
|
|
6.
|
Компрессора для пневмопривода
|
2
|
АИР 100 L4
|
3,5
|
0,8
|
|
7.
|
Регуляторы на подачи воды в маслоохадитель
|
3
|
АИР 80 В4
|
1,5
|
0,9
|
|
8.
|
Запорная арматура по газу, задвижки; ПЗК, ПСК
|
4
|
АИР 80 В4
|
1,5
|
0,7
|
|
9.
|
Вентиляторы приточно-вытяжные
|
2
|
АИР 100 S4
|
2,5
|
0,8; 0,7
|
|
10.
|
ТЭН маслобака
|
1
|
АИР 100 S4
|
2,5
|
0,8
|
|
12.
|
Освещение модул-блока ГТУ
|
1
|
……….
|
4,5
|
0,8
|
|
11.
|
Маслонасосы генератора
|
2
|
АИР 100 S4
|
2х2,5
|
0,8
|
|
12.
|
Задвижки по маслу
|
4
|
АИР 80 В4
|
4х1,5
|
0,8
|
|
13.
|
Задвижки ППГ
|
6
|
АИР 80 В4
|
6х1,5
|
0,8
|
|
14.
|
Регуляторы ППГ
|
4
|
80A-4
|
4х0,5
|
0,8
|
|
15.
|
Задвижки котла
|
10
|
АИР 80 В4
|
10х1,5
|
0,8
|
|
16.
|
Дутьевой, дымосос котла
|
2
|
160MA-2
|
2х10,5
|
0,82
|
|
17.
|
Освещение котельной
|
1
|
-
|
1,5
|
0,9
|
|
18.
|
Рециркуляции насос
|
2
|
АИР 100 S4
|
2х2,5
|
0,82
|
|
19.
|
Регуляторы котла
|
4
|
80A-4
|
4х0,5
|
0,8
|
Выбираем
электродвигатель для вентилятора приточно-вытяжной вентиляции ВЦ 20 М
(вентилятор центробежный, 20 м3/мин., давление на напоре 0,5х105
Па, модернизированный) - двигатель главного привода АИР 100 S4, P
=2,5 кВт. с P; cos
=
0,83;
=82%;
I
/I
=7
По формуле:
; тогда силу пускового
тока можно определить следующим образом:

Выбор магнитного
пускателя состоит в следующем:
1. Сила номинального тока
пускателя должна быть равной или больше силы номинального тока
электродвигателя:
Iнп
Iнд;
2. Напряжение втягивающей
катушки должно быть равно напряжению сети:
Uк=Uc=380 В;
Тепловое реле выбираем по условию:
Iнр
1,25
Iнд
Где Iнд определим как ток Iн=5,5
А. Расчет по формуле:
Выбираем тепловое реле Iнп
1,25
Iнд=1,25*5,5=6,87А
Из таблицы выбираем
тепловое реле ТРН25 с номинальным током 10 А.
Автоматы питания
|
№ п/п
|
Наименование
|
Количество, шт.
|
Тип АП
|
Iрасч,
А
|
Iпуск.,
А
|
Iном
|
|
1.
|
Маслонасос №1.
|
1
|
АП50
|
7,7
|
54
|
25
|
|
2.
|
Маслонасос №2
|
1
|
АП50
|
7,7
|
54
|
25
|
|
3.
|
Задвижки на напоре
|
2
|
АП50
|
1,3
|
6,8
|
6
|
|
4.
|
Задвижки на маслоохладителе
|
2
|
АП50
|
1,3
|
6,8
|
6
|
|
5.
|
Водяной насос на маслоохладитель
|
1
|
АП50
|
5,5
|
39
|
10
|
|
6.
|
Компрессора для пневмопривода
|
2
|
АП50
|
7,7
|
54
|
25
|
|
7.
|
Регуляторы на подачи воды в маслоохадитель
|
3
|
АП50
|
1,3
|
6,8
|
6
|
|
8.
|
Запорная арматура по газу, задвижки; ПЗК, ПСК
|
4
|
АП50
|
1,3
|
6,8
|
6
|
|
9.
|
Вентиляторы приточно-вытяжные
|
2
|
АП50
|
5,5
|
39
|
|
10.
|
ТЭН маслобака
|
1
|
АП50
|
5,5
|
39
|
10
|
|
12.
|
Освещение
|
1
|
IEK
|
4,5
|
4,5
|
4,5
|
|
11.
|
Маслонасосы генератора
|
2
|
АП50
|
5,5
|
39
|
10
|
|
12.
|
Задвижки по маслу
|
4
|
АП50
|
1,3
|
6,8
|
6
|
|
13.
|
Задвижки ППГ
|
6
|
АП50
|
1,3
|
6,8
|
6
|
|
14.
|
Регуляторы ППГ
|
4
|
АП50
|
0,5
|
3,5
|
3
|
|
15.
|
Задвижки котла
|
10
|
АП50
|
1,3
|
6,8
|
6
|
|
16.
|
Дутьевой, дымосос котла
|
2
|
АС25
|
19,3
|
80
|
50
|
|
17.
|
Освещение котельной
|
1
|
АП50
|
1,3
|
6,8
|
6
|
|
18.
|
Рециркуляции насос
|
2
|
АП50
|
5,5
|
39
|
10
|
|
19.
|
Регуляторы котла
|
4
|
АП50
|
0,5
|
3,2
|
2
|
Тарировка тепловых
расцепителей автоматов питания на запорную арматуру должна проводиться с учетом
тока дожатия запорной арматуры. Автоматы питания серии АП просты в настройке,
эксплуатации, ремонте. По графику ремонтных работ все автоматы питания, реле
тока, тепловые реле, реле времени, промежуточные реле должны демонтироваться из
шкафов управления и тарироваться на стендах в лабораторных условиях.
Тепловые реле
|
№ п/п
|
Наименование
|
Количество, шт.
|
Тип реле
|
Iрасч,
А
|
Iсраб.,
А
|
|
1.
|
Маслонасос №1.
|
1
|
ТРП10
|
7,7
|
10
|
|
2.
|
Маслонасос №2
|
1
|
ТРП10
|
7,7
|
10
|
|
3.
|
Задвижки на напоре
|
2
|
ТРП5
|
1,3
|
5
|
|
4.
|
Задвижки на маслоохладителе
|
2
|
ТРП5
|
1,3
|
5
|
|
5.
|
Водяной насос на маслоохладитель
|
1
|
ТРП10
|
5,5
|
10
|
|
6.
|
Компрессора для пневмопривода
|
2
|
ТРП10
|
7,7
|
10
|
|
7.
|
Регуляторы на подачи воды в маслоохадитель
|
3
|
ТРП5
|
1,3
|
5
|
|
8.
|
Запорная арматура по газу, задвижки; ПЗК, ПСК
|
4
|
ТРП5
|
1,3
|
5
|
|
9.
|
Вентиляторы приточно-вытяжные
|
2
|
ТРП10
|
5,5
|
10
|
|
10.
|
ТЭН маслобака
|
1
|
ТРП10
|
5,5
|
10
|
|
12.
|
Освещение
|
1
|
ТРП5
|
4,5
|
5
|
|
11.
|
Маслонасосы генератора
|
2
|
ТРП10
|
5,5
|
10
|
|
12.
|
Задвижки по маслу
|
4
|
ТРП5
|
1,3
|
5
|
|
13.
|
Задвижки ППГ
|
6
|
ТРП5
|
1,3
|
5
|
|
14.
|
Регуляторы ППГ
|
4
|
-
|
0,5
|
-
|
|
15.
|
Задвижки котла
|
10
|
ТРП5
|
1,3
|
5
|
|
16.
|
Дутьевой, дымосос котла
|
2
|
ТРН10
|
19,3
|
25
|
|
17.
|
Освещение котельной
|
1
|
ТРП5
|
1,3
|
5
|
|
18.
|
Рециркуляции насос
|
2
|
ТРП10
|
5,5
|
10
|
|
19.
|
Регуляторы котла
|
4
|
-
|
0,5
|
-
|
Магнитные пускатели
|
№ п/п
|
Наименование
|
Количество, шт.
|
Тип пускателя
|
Iрасч,
А
|
Iном.,
А
|
|
1.
|
Маслонасос №1.
|
1
|
ПАЕ213
|
7,7
|
25
|
|
2.
|
Маслонасос №2
|
1
|
ПАЕ213
|
7,7
|
25
|
|
3.
|
Задвижки на напоре
|
2
|
ПМЕ211
|
1,3
|
25
|
|
4.
|
Задвижки на маслоохладителе
|
2
|
ПМЕ211
|
1,3
|
25
|
|
5.
|
Водяной насос на маслоохладитель
|
1
|
ПАЕ213
|
5,5
|
25
|
|
6.
|
Компрессора для пневмопривода
|
2
|
ПАЕ213
|
7,7
|
25
|
|
7.
|
Регуляторы на подачи воды в маслоохадитель
|
3
|
ПМЕ211
|
1,3
|
25
|
|
8.
|
Запорная арматура по газу, задвижки; ПЗК, ПСК
|
4
|
ПМЕ211
|
1,3
|
25
|
|
9.
|
Вентиляторы приточно-вытяжные
|
2
|
ПАЕ213
|
5,5
|
25
|
|
10.
|
ТЭН маслобака
|
1
|
ПАЕ213
|
5,5
|
25
|
|
12.
|
Освещение
|
1
|
ПМЕ211
|
4,5
|
25
|
|
11.
|
Маслонасосы генератора
|
2
|
ПМЕ211
|
5,5
|
25
|
|
12.
|
Задвижки по маслу
|
4
|
ПМЕ211
|
1,3
|
25
|
|
13.
|
Задвижки ППГ
|
6
|
ПМЕ211
|
1,3
|
25
|
|
14.
|
Регуляторы ППГ
|
4
|
ПБР3А
|
0,5
|
3
|
|
15.
|
Задвижки котла
|
10
|
ПМЕ211
|
1,3
|
25
|
|
16.
|
Дутьевой, дымосос котла
|
2
|
ПАЕ413
|
19,3
|
35
|
|
17.
|
Освещение котельной
|
1
|
ПМЛ
|
1,3
|
5
|
|
18.
|
Рециркуляции насос
|
2
|
ПАЕ213
|
5,5
|
10
|
|
19.
|
Регуляторы котла
|
4
|
ПБР3А
|
0,5
|
3
|
Для регулирующей арматуры
электропривод выбирается в качестве МЭО (механизм электрический однооборотный).
Двигатель этого механизма управляется через пускатель бесконтактный электронный
(ПБР3А). Управление пускателем возможно автоматикой, в ПБР есть внутреннее
ограничение тока; тарируется подстроечным резистором в зависимости от мощности
электродвигателя.
.6 Компенсация
реактивной мощности
Компенсация реактивной мощности и
повышение коэффициента мощности, имеет большое значение и является частью общей
проблемы повышения КПД работы систем электроснабжения и улучшения качества
отпускаемой потребителю электрической энергии.
Потребителями реактивной мощности
являются асинхронные двигатели, на которых приходится основная мощность
предприятия (65-70%), трансформаторы потребляют (20-25%) и другие электроприёмники
потребляемые около 10% реактивной мощности.
При увеличении потребляемой
реактивной мощности электроустановка вызывает рост тока в проводниках и
снижение коэффициента мощности электроустановки и из-за этого нам приходится
выбирать провод большего сечения, а это ведёт к большим затратам. Для того
чтобы уменьшить ток нужно чтобы реактивная мощность была больше и это дает нам
экономию в затратах на материал. А повышение коэффициента мощности зависит от
снижения реактивной потребляемой мощности. Повысить коэффициент мощности можно
с помощью компенсирующего устройства, которые снижают реактивную мощность.
Компенсации реактивной мощности и
количества компенсирующих устройств определяется основным методом расчета и
рассчитывается по расчётным данным предприятия.
|
,
кВт ,
кВАр ,
кВА
|
|
|
|
41,47
|
31,5
|
52,4
|
Поднять косинус до величины не ниже
0,9
Определяется значение коэффициента
мощности до компенсации:
где, Р - активная мощность, кВт;
S - полная мощность, кВА;
Р
-
мощность освещения, кВт;
Q
- реактивная мощность, кВАр.

где, Рi -
активная нагрузка за рабочий день, %;
ti
- продолжительность нагрузки за смену, ч;
Pmax
- максимальная мощность за рабочий день, %
T
- полное время рабочего дня, ч.
Определяется мощность, которую
необходимо скомпенсировать:
[3.6.2]
где, Рср год - средняя
активная мощность в год, кВт;
ц1 - значение угла до
компенсации;
ц2 - значение угла после
компенсации.
Определяется средняя активная
мощность в год:
[3.6.3]
Технические данные
компенсирующих устройств
|
Тип компенсирующих устройств
|
Количество, шт.
|
|
УК - 0,38-10
|
1
|
Определяется реактивная мощность
компенсирующего устройства.
, кВАр [3.6.4]
где
-
номинальная реактивная мощность одного компенсирующего устройства, кВАр
- количество
компенсирующих устройств
кВАр
Определяется реактивная мощность
после компенсации:
[3.6.5]
где, Q - реактивная мощность, кВАр;
Qк. у. - мощность
компенсирующих устройств, кВАр.
Определяется величина добавочной
активной мощности:
[3.6.6]
где, tg д - тангенс угла потерь
Определяется величина активной
мощности после компенсации:
[3.6.7]
Определяется величина полной
мощности после компенсации:
[3.6.8]
Определяется коэффициент мощности
после компенсации:
[3.6.9]
Так как cos ц получился равным заданному,
следовательно, расчет произведен верно.
3. Мероприятия по
безопасной эксплуатации
.1 Технические
мероприятия, обеспечивающие безопасность работ со снятием напряжения
При подготовке рабочего места со
снятием напряжения должны быть в указанном порядке выполнены следующие
технические мероприятия:
произведены необходимые отключения и
приняты меры, препятствующие подаче напряжения на место работы вследствие
ошибочного или самопроизвольного включения коммутационных аппаратов;
на приводах ручного и на ключах
дистанционного управления коммутационных аппаратов должны быть вывешены
запрещающие плакаты;
проверено отсутствие напряжение на
токоведущих частях, которые должны быть заземлены для защиты людей от поражения
электрическим током;
наложено заземление (включены
заземляющие ножи, а там где они отсутствуют, установлены переносные
заземления);
вывешены указательные плакаты
«Заземлено», ограждены при необходимости рабочие места и оставшиеся под
напряжением токоведущие части, вывешены предупреждающие и предписывающие
плакаты.
Отключения
При подготовке рабочего места должны
быть отключены:
токоведущие части, на которых будут
производиться работы;
не огражденные токоведущие части, к
которым возможно случайное приближение людей, механизмов и грузоподъемных
машин;
цепи управления и питания проводов,
закрыт воздух в системах управления коммутационными аппаратами, снят завод с
пружин и грузов у приводов выключателей и разъединителей.
В электроустановках напряжением выше
1000В с каждой стороны, с которой коммутационным аппаратом на рабочее место
может быть подано напряжение, должен быть видимый разрыв. Видимый разрыв может
быть создан отключением разъединителей, снятием предохранителей, отключением
отделителей и выключателей нагрузки, отсоединением или снятием шин и проводов.
В электроустановках напряжением выше
1000В для предотвращения ошибочного или самопроизвольного включения
коммутационных аппаратов, которыми может быть подано напряжение к месту работы,
должны быть приняты следующие меры:
у разъединителей, отделителей,
выключателей нагрузки ручные приводы в отключенном положении должны быть
заперты на механический замок;
у приводов коммутационных аппаратов,
имеющих дистанционное управление, должны быть отключены силовые цепи и цепи
управления, а у пневматических приводов, кроме того, на подводящем трубопроводе
сжатого воздуха должна быть закрыта и заперта на механический замок, задвижка и
выпущен сжатый воздух, при этом отпускные клапаны должны быть оставлены в
открытом положении;
у грузовых и пружинных приводов
включающий груз или включающие пружины должны быть приведены в нерабочее
положение.
В электроустановках до 1000В со всех
токоведущих частей, на которых будет проводиться работа, напряжение должно быть
снято отключением коммутационных аппаратов с ручным приводом, а при наличии в
схеме предохранителей - снятием последних. При отсутствии в схеме
предохранителей предотвращение ошибочного включения коммутационных аппаратов
должно быть обеспечено такими мерами, как запирание рукоятки или дверец шкафа,
закрытие кнопок, установка между контактами коммутационного аппарата
изолирующих прокладок и другие.
Вывешивание запрещающих
плакатов
На приводах (рукоятках приводов)
коммутационных аппаратов с ручным управлением (выключателей, отделителей,
разъединителей, рубильников, автоматов) во избежание подачи напряжения на
рабочее место, должны быть вывешены плакаты «Не включать! Работают люди».
У однополюсных разъединителей
плакаты вывешиваются на приводе каждого полюса, у разъединителей, управляемых
оперативной штангой, - на ограждениях. На задвижках, закрывающих доступ воздуха
в пневматические приводы разъединителей, вывешиваются плакаты «Не открывать!
Работают люди» должен быть вывешен у снятых предохранителей.
Плакаты должны быть вывешены на
ключах и кнопках дистанционного и местного управления, а также на автоматах или
у места снятых предохранителей цепей управления и силовых цепей питания
приводов коммутационных аппаратов.
Проверка отсутствия
напряжения
Проверять отсутствие напряжения
необходимо указателем напряжения, исправность которого перед применением должна
быть установлена с помощью предназначенных для этой цели специальных приборов
или приближением к токоведущим частям, заведомо находящимися под напряжением.
В электроустановках напряжением выше
1000В пользоваться указателем напряжения необходимо в диэлектрических
перчатках.
В электроустановках напряжением 35кВ
и выше для проверки отсутствия напряжения можно пользоваться изолирующей
штангой, прикасаясь ею несколько раз к токоведущим частям. Признаком отсутствия
напряжения является отсутствие искрения и потрескивания. На ондно-цепных ВЛ
напряжением 330кВ и выше достаточным признаком отсутствия напряжения является
отсутствие коронирования.
В РУ проверять отсутствие напряжения
разрешается одному работнику из числа оперативного персонала, имеющему группу 4
- в электроустановках напряжением выше 1000В и имеющему группу 3 - в
электроустановках напряжением до 1000В.
В электроустановках напряжением до
1000В с заземленной нейтралью при применении двухполюсного указателя проверять
отсутствие напряжения нужно как между фазами, так и между каждой фазой и
заземленным корпусом оборудования или защитным проводником. Допускается
применять предварительно проверенный вольтметр. Запрещается пользоваться
контрольными лампами.
Установка заземления
Устанавливать заземления на
токоведущие части необходимо непосредственно после проверки отсутствия
напряжения.
Переносное заземление сначала нужно
присоединить к заземляющему устройству, а затем, после проверки отсутствия
напряжения, установить на токоведущие части, снимать переносное заземление
необходимо в обратной последовательности.
Установка и снятие переносных
заземлений должны выполняться в диэлектрических перчатках с применением в
электроустановках напряжением выше 1000В.
Установка заземлений в
распределительных устройствах
В электроустановках напряжением выше
1000В заземляться должны токоведущие части всех фаз (полюсов) отключенных для
работ участка и всех сторон, откуда может быть подано напряжение, за
исключением отключенных для работ сборных шин.
В электроустановках напряжением до
1000В операции по установке и снятию заземлений разрешается выполнять одному
работнику, имеющему группу3, из числа оперативного персонала.
В электроустановках напряжением выше
1000В устанавливать переносные заземления должны два работника: один имеющий
группу 4, другой имеющий группу 3.
3.2 Установка заземлений
на ВЛ
ВЛ напряжением выше 1000В должны
быть заземлены во всех РУ и у секционирующих коммутационных аппаратов, где
отключена линия.
На ВЛ с расщепленными проводами
допускается в каждой фазе заземлять только один провод; при наличии изолирующих
распорок заземлять требуется все провода фазы.
Переносные заземления следует
присоединять на металлических опорах - к их элементам, на железобетонных и
деревянных опорах с заземляющими спусками-к этим спускам после проверки их
целости.
На ВЛ, отключенных для ремонта,
устанавливать, а затем снимать переносные заземления и включать имеющиеся на
опорах заземляющие ножи должны работники из числа оперативного персонала: один
имеющий группу 4, второй имеющий группу 3.
Ограждение рабочего
места, вывешивание плакатов
В электроустановках должны быть
вывешены плакаты «Заземлено» на приводах разъединителей, отделителей и
выключателей нагрузки.
На ограждениях камер, шкафах и
панелях, граничащих с рабочим местом, должны быть вывешены плакаты «Стой!
Напряжение».
Для временного ограждения
токоведущих частей, оставшихся под напряжением, могут применяться щиты, ширмы,
экраны и т.п.
На подготовленных рабочих местах в
электроустановках должен быть вывешен плакат «Работать здесь».
Обзор нарушений ТБ в
электроустановках
В основе практически всех несчастных
случаев на производстве и с населением лежит человеческий фактор. В правилах по
эксплуатации даны четкие определения, введены нормы выполнение которых в полном
объеме обеспечивают безопасное проведение работ в электроустановках.
Безопасная организация работ состоит
из технических и организационных мероприятий. Технические - отключение
электроустановки, меры по устранению произвольного включения, плакаты
безопасности, ограждения. Эти меры обязан выполнять оперативный персонал. В
случае отсутствия такового на объекте - оперативно-ремонтный персонал. Должна
вестись необходимая документация. Лица из административного электротехнического
персонала обязаны контролировать ведение документации, проводить инструктажи,
проработки, техническую учебу.
Невнимательность, неаккуратность,
халатность при работе с электричеством могут вести за собой непоправимые
последствия. За безопасное проведение работ отвечают все лица, причастные к
ней. А именно: лицо, выдающее наряд или распоряжение, руководитель работ,
производитель работ, лицо дающее разрешение на подготовку рабочего места и на
допуск бригады, лицо, подготавливающее рабочее место и допускающий,
производитель работ, члены бригады, наблюдающий. Система допуска к работе в
электроустановках построена таким образом, что каждый следующий шаг в работе
невозможен без точного выполнения предыдущих условий. Нарушения в работе
связаны прежде всего:
· Не
качественный инструктаж производителя работ, членов бригады.
· Неисправные
или просроченные средства защиты от поражения электрическим током, как основные
так и дополнительные
· Низкая
производственная дисциплина
· Ошибки
персонала при подготовке рабочего места и допуска.
В случаях с населением следует
выделит 2 основные причины
· Самовольное
проникновение в электроустановки с целью хищений и вредительства
· Пренебрежение
плакатами безопасности, приближение к электроустановкам под высоким напряжением
на недопустимое расстояние.
Работа с населением состоит в
следующем:
· Информирование
в СМИ о факторах риска поражения электрическим током
· Надежная
защита электроустановок от проникновения посторонних лиц.
При эксплуатации ГТУ возникают
дополнительно следующие факторы опасности
· Природный
газ высокого давления. Следует помнить, что этилмеркаптан (C2H5SH - одорант газа)
различаем человеком при концетрации природного газа (окрашенного) 1%, при 5%
эта смесь взрывоопасна. При 65% может вызвать удушение.
· ГТУ -
объект повышенной опасности, к эксплуатации могут быть допущены люди, прошедшие
специальную подготовку.
.3 Расчет дисконтных
затрат
Стоимость и количество
электрооборудования для выбранной схемы выдачи мощности
|
Вид оборудования
|
Тип оборудования
|
Кол-во
|
Цена за 1 шт. Тыс. руб.
|
|
Газо-турбинная установка.
|
ГТЭС Урал 2500
|
1
|
32 773
|
|
генератор
|
СГСБ-14-100-6У2
|
1
|
574
|
|
Трансформатор 35/6 кВ
|
ТМНС3600/6
|
1
|
37.55
|
|
Трансформатор 6/0,4 кВ
|
ТМ 1000/6/0,4
|
2
|
6.96
|
|
Генераторный выключатель
|
СГСБ-14-100-64
|
1
|
3.98
|
|
Модуль ППГ
|
|
1
|
75
|
|
Арматура, оснащение ППГ
|
|
1
|
105.35
|
|
Выключатели в цепи на 0,4 кВ
|
АВ-45/1000
|
2
|
6.7
|
Таким образом, капитальные затраты
составляют:
К=∑Кini=32773+574+37.55+6.96+3.98+75+105.35+6.7*2=33582.54 тыс. руб.
Годовые эксплуатационные издержки
определяются следующим образом:
;
;
Определим коэффициенты a и b.= 6,4%
- общая норма амортизационных отчислений= 2,0% - затраты на эксплуатацию
Иэкспл=(0,064+0,02)*К=0,084*33582540=2820
тыс. руб./год
Ипотр=вDWпот определим
годовые потери электроэнергии DWпот.
Определим коэффициент b.
b = 1.2 при
Tmax = (7100÷7400) ч.
Тогда t = 5900 при Tmax
= 7100 ч; t = 6200 при Tmax
= 7400 ч.
Определим плановое время ремонта
энергоустановки.
Где щ’ - параметр потока
отказов, n - удельное число остановов блока.
где Рх и Рк
- потери в трансформаторе при холостом ходе и коротком замыкании
соответственно; Smax и Sном - мощность
трансформатора в максимальном и номинальном режимах соответственно.
ДWпот ТВН=350
Ипотр=вDWпот=1,2*350=420 тыс. руб./год
Суммарные издержки составят:
И=2820+420=3240 тыс. руб./год
Ущерб от недоотпуска электроэнергии
В данном случае имеем Pрез
сист значительно больше вновь вводимых мощностей, следовательно, при
останове ГТУ дефицита активной мощности не возникнет.
Таким образом, ни ущерба от
отключения потребителей (Уоткл), ни частотного ущерба (Участ),
ни ущерба от действия автоматики частотного регулирования (УАЧР)
не будет.
Определим системный ущерб от
останова ГТУ. Определяем параметры потока отказов и время восстановления
основного силового электрооборудования проектируемой станции.
Параметры потока отказов и времени
восстановления для выбранного электрооборудования
|
Отказавший элемент
|
Тип
|
Поток отказов
|
Время восстановления
|
|
|
1/год
|
ч
|
|
1.
|
ГТЭС Урал 2500
|
0,15
|
24
|
|
2
|
СГСБ-14-100-6У2
|
0,02
|
7,5
|
|
3
|
ТМНС3600/6
|
0.05
|
10
|
|
4
|
ТМ 1000/6/0,4
|
0.02
|
5
|
|
5
|
СГСБ-14-100-64
|
0.02
|
5
|
|
6
|
АВ-45/1000
|
0.02
|
5
|
Усист=148,4 тыс.
руб./год
Тогда дисконтные затраты составят:
И+У=3240+148.400=3388 тыс. руб./год.
Заключение
В данной работе изучено
принципиальное устройство газовых турбин, применение их в энергетике, изучены
схемы утилизации тепла выхлопа ГТУ. На современном этапе турбостроения следует
отметить ряд преимуществ ГТУ:
· Не требуется
строительство дополнительных зданий, что ведет к снижению капитальных затрат
при строительстве объекта.
· Минимальное количество
обслуживающего персонала позволяет снизить эксплуатационные расходы.
· Имеют высокую степень
заводской готовности, что значительно снижает сроки монтажа, пусконаладочных
работ и ввода объектов в эксплуатацию.
· Все оборудование
полностью удовлетворяет экологическим требованиям по эмиссии вредных веществ и
шуму.
· Возможна работа как
параллельно в сеть, так и автономно, что существенно повышает
энергобезопасность объектов, позволяя при аварийном отключении потребителей от
сети автоматически переходить на локальную нагрузку, предотвращая тем самым
негативные последствия аварий в сети.
· Короткий срок
окупаемости ГТЭС - 3…5 лет.
· Блочно-модульная
конструкция.
· Высокая надежность,
подтвержденная опытом эксплуатации.
· Оперативное и
качественное техобслуживание специалистами компании.
· Высокая эффективность в
когенерационном цикле.
Для электротехнического персонала
разработаны на основании межотраслевых правил по электробезопасности
мероприятия по безопасным методам работы в электротехнических установках.
Внедрение проектов «малой
энергетики» с высоким КПД в условиях российской энергосистемы представляются
весьма перспективными.
Список литературы
1. Алиев И.И.
«Справочник по электронной технике и электрооборудованию». Москва, издательство
«Высшая школа», 2000 г.
2. Конюхова Е.А.
«Электроснабжение объектов». Москва, издательство «Мастерство», 2001 г.
. Липкин Б.Ю.
«Электроснабжение промышленных предприятий и установок». Москва, издательство
«Высшая школа», 1990 г.
. Методическое
пособие по выполнению экономической части дипломного проекта, Курочкина Н.В. -
Воткинск, ВМТ, 2008 г.
. Неклепаев
Б.Н. «Электрические части электростанции и подстанции». Москва, издательство
«Энергия», 1972 г.
. Рожкова Л.Д.
и Козулин В.С. «Электрооборудование станций и подстанций». Москва, издательство
«Энергия», 1975 г.
. Сибикин Ю.Д.
«Электроснабжение промышленных и гражданских зданий». Москва, издательство
«Академия», 2006 г.
. Федоров А.А.
и Сербиновский Г.В. «Справочник по электроснабжению». 1 и 2 том. Москва,
издательство «Энергия», 1974 г.
. Федоров А.А.
«Основы электроснабжения промышленных предприятий». Москва, издательство
«Энергия», 1972 г.
. Шеховцов И.А.
«Электроснабжение промышленных предприятий и установок». Москва, издательство
«Высшая школа», 1990 г.