|
Наименование
характеристик
|
Марки
теодолитов
|
|
Т30
|
2Т30
|
Т15
|
|
1.
Цена деления лимба
|
10'
|
1o
|
1
|
|
2.
Отсчётное приспособление
|
штриховой
микроскоп
|
шкаловой
микроскоп
|
шкаловой
микроскоп
|
|
3.
Длина шкалы отсчётного приспособления
|
-
|
1o
|
1o
|
|
4.
Количество делений в шкале
|
-
|
12
|
60
|
|
5.
Цена деления шкалы
|
-
|
5'
|
1'
|
|
6.
Точность отсчитывания
|
1'
|
0,5'
|
0,1'
|
Отсчитывание по лимбу с помощью штрихового
микроскопа теодолита Т30: в окуляре микроскопа (расположенном рядом с окуляром
трубы) найти отсчётный индекс (штрих с горизонтальной подсечкой) и взять по
шкале лимба отсчёт, соответствующий положению отсчётного индекса (рис. 2 -
отсчёт по горизонтальному кругу 135o12', по вертикальному кругу 356o36').
Рисунок 2 - Поле зрения микроскопа теодолита Т30
Рисунок 3 - Поле зрения микроскопа теодолита
2Т30
Отсчитывание по лимбу с помощью шкалового
микроскопа теодолита 2Т30: зафиксировать штрих градусного деления лимба внутри
шкалы микроскопа (между цифрами 0 и 6) - это будут градусы отсчёта; по
положению этого штриха взять отсчёт по шкале микроскопа с точностью до
полминуты (рис.5 - отсчёт по горизонтальному кругу 134o28.5', по
вертикальному кругу 7o47.0'). Следует помнить, что шкала микроскопа
вертикального круга имеет двойную оцифровку. Если у градусного деления
вертикального лимба нет знака, для отсчёта по шкале микроскопа используется
положительная оцифровка; если у градусного деления есть знак "минус",
то для отсчёта по шкале используется отрицательная оцифровка.
. Поверка уровня. Ось уровня при алидаде
горизонтального круга должна быть перпендикулярна оси вращения алидады. Эта
поверка включает следующие операции:
· вращая алидаду, установить уровень
параллельно линии, соединяющей два подъёмных винта; вращая эти винты в
противоположные стороны, привести пузырёк в нульпункт;
· повернуть алидаду точно на 180о;
сосчитать количество делений n, на которые пузырёк уровня отклонился от
нульпункта;
· вращая эти же два подъёмных винта,
сместить пузырёк уровня в сторону нульпункта на n/2 делений;
· вращая исправительные винты уровня,
привести пузырёк в нульпункт.
Если после поворота алидады на 180о
пузырёк уровня уходит за пределы шкалы, то отклонение пузырька следует измерять
в оборотах подъёмных винтов и исправлять уровень методом последовательных
приближений; кроме того, в этом случае можно применить способ Г.Ф. Лысова [7].
Порядок поверки уровня по способу Г.Ф. Лысова:
· вращая один (любой) подъёмный винт,
наклонить теодолит на 1о - 2о (около двух полных оборотов
винта);
· осторожно вращая алидаду, найти
такое её положение, когда пузырёк уровня будет точно в нульпункте (пользоваться
наводящим винтом алидады!); взять отсчёт N1 по горизонтальному
кругу;
· осторожно вращая алидаду, найти
второе её положение, когда пузырёк уровня будет точно в нульпункте
(пользоваться наводящим винтом алидады !); взять отсчёт N2 по
горизонтальному кругу;
· вычислить установочный отсчёт N =
1/2*(N1 + N2) + 90о и установить его на
горизонтальном круге;
· исправительными винтами уровня
привести пузырёк уровня в нульпункт.
После исправления уровня нужно заново привести
ось вращения алидады в вертикальное положение (выполнить горизонтирование
теодолита).
. Поверка коллимационной ошибки. Визирная ось
трубы должна быть перпендикулярна к оси вращения трубы. Для выполнения этой
поверки необходимо выполнить следующие операции:
· навести зрительную трубу при КЛ на
хорошо видимую точку вблизи горизонта, взять отсчёт по горизонтальному кругу NL;
· перевести трубу через зенит и,
вращая алидаду, навести трубу при КП на эту же точку, взять отсчёт по
горизонтальному кругу NR;
· вычислить двойную коллимационную
ошибку по формуле:
Пример: NL = 23о14,5'; NR
= 203о16,0'; 2С = -1,5'.
Если величина 2C превышает 5', то выполняются
следующие операции:
· вычислить правильный отсчёт при КП
· вращая алидаду микрометренным
винтом, установить этот отсчёт на лимбе горизонтального круга - в поле зрения
трубы точка сместится с вертикальной нити;
· отвернуть защитный чехол на окуляре
зрительной трубы и обеспечить доступ к исправительным винтам сетки нитей;
· ослабить вертикальные исправительные
винты и, вращая горизонтальные винты, навести вертикальную нить на точку;
зажать все исправительные винты:
· повторить определение коллимационной
ошибки.
. Поверка сетки нитей. Вертикальная нить сетки
нитей должна быть параллельна оси вращения алидады. Для выполнения поверки
нужно выполнить следующие операции:
· вращая алидаду, навести зрительную
трубу на хорошо видимую точку;
· наводящим винтом трубы плавно
смещать трубу по высоте сначала вниз, потом вверх; если изображение точки не
отклоняется от вертикальной нити, условие выполнено; если изображение точки
отклоняется от вертикальной нити, то при измерении углов следует всегда
наводить трубу на визирную цель так, чтобы цель была в центре поля зрения
трубы.
. Поверка места нуля. При горизонтальном
положении визирной оси зрительной трубы и пузырька уровня при вертикальном
круге в нульпункте (для теодолитов Т15 и Т5) отсчёт по вертикальному кругу
должен быть равен нулю. Для выполнения поверки места нуля выполняют следующие
операции:
· навести зрительную трубу на точку
при КЛ;
· с помощью микрометренного винта
алидады вертикального круга привести пузырёк уровня при вертикальном круге в
нульпункт, взять отсчёт по вертикальному кругу VL;
· перевести трубу через зенит и
навести трубу на эту же точку при КП;
· привести пузырёк уровня в нульпункт,
взять отсчёт по вертикальному кругу VR;
· вычислить место нуля; для теодолитов
2Т30 и Т15 для теодолита Т30.
Пример: теодолит 2Т30; VL = 7о14';
VR = -7о12'; M0 = +1,0'.
У теодолитов Т30 и 2Т30 нет уровня при
вертикальном круге, поэтому место нуля у них определяется после тщательной
установки оси вращения алидады в вертикальное положение.
Место нуля вертикального круга можно не
исправлять, но нужно регулярно его определять и следить за тем, чтобы в течение
дня значение места нуля было примерно постоянным.
. Поверка оптического центрира. Эта поверка
производится у теодолитов Т15 и Т5. Для этого нужно сначала установить штатив
примерно над центром пункта так, чтобы площадка головки штатива была
горизонтальна. Затем следует тщательно привести ось вращения алидады в
вертикальное положение и, глядя в окуляр оптического центрира и смещая теодолит
по площадке, ввести центр пункта в малый круг поля зрения центрира. После этого
повернуть алидаду точно на 180о и посмотреть в окуляр оптического
центрира, не вышел ли центр пункта из малого круга. Если смещение центра пункта
большое (за пределы малого круга), то теодолит следует сдать в ремонт или
попытаться отъюстировать оптический центрир в присутствии преподавателя.
.2 Поверки и исследования нивелира и реек
Перед выполнением поверок нивелира необходимо
привести его ось вращения в вертикальное положение с помощью подъёмных винтов и
установочного круглого уровня. Для этого нужно вращать подъёмные винты в
произвольном направлении до тех пор, пока пузырёк уровня установится в центре
малого круга.
Нивелирная рейка имеет чёрную шкалу на одной
стороне и красную шкалу на другой стороне. Деления оформлены в виде дециметров,
разделённых на 10 частей; каждый дециметр подписан двузначным числом, например,
03, 17, 29 - на чёрной стороне и 48, 57, 74 - на красной стороне. Начало
каждого дециметра фиксируется тонким горизонтальным штрихом, от которого
строится пятисантиметровая фигура в форме буквы Е; затем следуют ещё 5 делений:
три белых и два закрашенных (рис. 4). В трубе с перевёрнутым изображением
деления рейки возрастают сверху вниз.
Рисунок 4 - Изображение рейки в трубе нивелира
Отсчёт по нивелирной рейке берётся в миллиметрах
и всегда выражается четырёхзначным числом: первые две цифры - номер дециметра,
3-я цифра - число полных сантиметровых делений от начала дециметра до средней
нити, 4-я цифра - десятые доли следующего сантиметрового деления (на рис. 6
отсчёт по центральной нити 1058).
. Поверка главного условия нивелира с уровнем
при трубе. Ось цилиндрического уровня и визирная ось трубы должны лежать в
параллельных вертикальных плоскостях и быть параллельны.
Поверка первой части главного условия включает
следующие операции:
· установить ось вращения нивелира в
отвесное положение;
· вращая нивелир по азимуту,
установить трубу перпендикулярно линии, соединяющей два подъёмных винта (по
направлению третьего подъёмного винта);
· элевационным винтом привести пузырёк
уровня в нульпункт;
· вращая два подъёмных винта на 2-3
оборота в противоположных направлениях, наклонить нивелир сначала в одну сторону,
затем в другую; если пузырёк уровня остаётся на месте или отклоняется оба раза
в одну и ту же сторону, то условие выполнено; если пузырёк отклоняется в разные
стороны, то условие нарушено.
Вторая часть поверки выполняется двойным
нивелированием вперёд и включает следующие операции:
· на местности забивают два колышка на
расстоянии 40 - 50 метров;
· устанавливают нивелир над первым
колышком так, чтобы окуляр трубы находился с колышком на одной отвесной линии;
измеряют высоту i1 центра окуляра над колышком в миллиметрах; на
второй колышек вертикально устанавливают рейку;
· наводят трубу на рейку, с помощью
элевационного винта устанавливают пузырёк уровня в нульпункт и берут отсчёт по
рейке по центральной нити b1;
· меняют местами нивелир и рейку и повторяют
измерения - получают i2 и b2;
· вычисляют величину x по формуле x =
1/2*(i1 + i2) - 1/2*(b1 + b2) и
затем - угол непараллельности оси уровня и визирной оси трубы.
Пример: i1=1440;
b1=1172; nbspi2 =1380; b2=1643; nbspi1+i2
=2820; b1+b2=2815; S = 40 м;
x=+2,5мм;
i=12".
Если угол i превышает 20", то следует
исправить его, выполнив следующие действия:
· вычислить правильный отсчёт b2o=b2+x;
· элевационным винтом установить
среднюю нить на отсчёт по рейке b2o;
· исправительными винтами уровня при
трубе привести пузырёк уровня в нульпункт;
· заново выполнить поверку второй
части главного условия.
Исправление уровня, если это необходимо,
разрешается только в присутствии преподавателя.
. Поверка круглого уровня. Ось круглого уровня
должна быть параллельна оси вращения нивелира. Для выполнения этой поверки
нужно выполнить следующие операции:
· тщательно установить ось вращения
нивелира в вертикальное положение с помощью подъёмных винтов, элевационного
винта и цилиндрического уровня при трубе;
· исправительными винтами круглого
уровня привести его пузырёк в нульпункт.
. Поверка сетки нитей. Горизонтальная нить сетки
нитей должна быть перпендикулярна оси вращения нивелира, то есть быть
горизонтальной. Эта поверка выполняется так:
· поставить рейку в 30 м от нивелира;
· навести трубу на рейку; установить
изображение рейки в центре сетки нитей; элевационным винтом привести пузырёк
уровня в нульпункт; взять отсчёт по рейке bo;
· наводящим винтом трубы сместить
изображение рейки влево, затем вправо; оба раза взять отсчёты по горизонтальной
нити bл и bп соответственно.
Если отсчёты bл и bп
отличаются от bo более, чем на 1 мм, сетку нитей нужно развернуть;
эту операцию можно выполнять только в присутствии преподавателя. Для исключения
влияния наклона горизонтальной нити нужно всегда устанавливать изображение
рейки точно в центре сетки нитей.
. Осмотр нивелирных реек, мерной ленты и
штатива.
Рейка не должна быть изогнутой. Раскраска рейки
должна быть четкой. Для удобства измерений обе рейки должны иметь одинаковую
оцифровку по красным сторонам.
Точное определение длины мерной ленты может быть
выполнено на специальном базисе, длина которого измерена с повышенной
точностью.
Номинальная длина ленты 20 м.
Если лента имеет повреждения, то необходимо определить
ее фактическую длину и вычислить поправку, которую нужно вводить в результаты
измерений.
Ножки штатива должны быть надежно скреплены с
головкой штатива, металлические наконечники должны плотно прилегать к
заостренным концам ножек.
Поверки и исследования мерной ленты (рулетки)
. Внешний осмотр - убедиться в отсутствии
поломок в разных местах ленты, особенно в начале и в конце, и в отсутствии
сильных перегибов; в случае наличия заклёпок проверить непрерывность шкалы
ленты.
. Определение постоянной поправки
= LФ - L0,
где Lф - фактическая длина ленты; 0
- проектная длина ленты (подписана на корпусе ленте).
Поправка определяется путём измерения базиса с
известной длиной D0
l
= n*L0 + r.
Пример 1: L0=20,00 м; D0=19,941
м; n=0; r=Dl=19,92 м. l=+0,021 м; Lф=20,021 м. Пример 2:
L0=20,00 м; D0=74,473 м; n=3; r=14,51 м.  Dl=74,51
м; l=-0,010 м; Lф=19,990 м.
Значения Lф и l следует округлять до
0.001 м (до миллиметров).
Иногда поправку l и фактическую длину Lф
рабочей ленты определяют, сравнивая её длину с длиной другой мерной ленты или
рулетки, длина которой известна; то есть функцию базиса выполняет мерная лента
(рулетка) с известной длиной.
Определение поправки l называется
компарированием ленты (рулетки), а место фиксации базиса D0 - компаратором.
Фактическая длина ленты Lф принимается равной LФ = L0
+ l.
2. создание
геодезической съемочной основы
.1 Рекогносцировка местности, закрепление точек
планово-высотной основы
На учебном полигоне руководитель практики задает
каждой бригаде границы участка для топографической съемки и исходные пункты.
После детального ознакомления с участком, студенты составляют проект планово -
высотной основы, руководствуясь следующими требованиями:
· Хорошая взаимная видимость между
соседними пунктами основы;
· Пункты основы должны обеспечивать
хороший обзор местности для топографической съемки;
· Количество пунктов их взаимное
расположение выбирают с таким расчетом, чтобы с этих пунктов можно было снять
полностью весь участок съемки. При съемки расстояние от пункта основы до
снимаемой точки не должно превышать 100 м;
· Удобство установки инструмента;
· Удобство для линейных измерений и
нивелирования;
· Расстояние между соседними пунктами
должно быть не более 150 м и не менее 50 м.
Пункты закрепляются на местности предварительно
заготовленными деревянными колышками и сторожками диаметром 2 - 4 см (рис. 5).
Рисунок 5.
Колышек будет являться носителем координат и
высоты. Он в процессе всей практики должен оставаться жестко зафиксированным.
Колышек вбивают вровень с землей, оставляя не более 1-2 см над поверхностью. В
центре колышка забивают маленький гвоздик, над которым в дальнейшем будет
центрироваться теодолит. Если во время практики колышек изменит свое положение,
необходимо будет его закрепить заново и определить его координаты и высоту.
Сторожок служит для удобства отыскания пункта.
Его должно быть хорошо видно на местности. На сторожке топором делают срез, на
котором записывают номер бригады и номер пункта.
.2 Измерение горизонтальных углов
Рисунок 6.
В теодолитных ходах измеряют левые и
правые по ходу горизонтальные углы. В разомкнутом ходе (см. рисунок) 30, 31,
55, 56 - исходные пункты, 1 - 6 - пункты теодолитного хода.
- левые
горизонтальные углы.
- левые
примычные углы. В замкнутом ходе 42 - 43 - исходные пункты. 1 - 8 - пункты
теодолитного хода.
- левые
внутренние горизонтальные углы.
- левый примычный угол.
На практике во избежание путаницы
измеряют левые горизонтальные углы.
Методика измерений:
Рисунок 7.
q Теодолит центрируют над пунктом с
точностью не менее +5 мм;
q Приводят в рабочее положение (по
уровню);
q Добиваются резкого изображения сетки
нитей;
q Закрепляют лимб;
q На предыдущем и последующих пунктах
устанавливают вехи позади колышков (в створе наблюдаемых направлений);
q При положении КЛ снимают отсчет по
горизонтальному кругу а1 на предыдущую, затем отсчет а2
на последующую вехи, отсчеты записывают в журнал;
q Ту же операцию повторяют при
положении КП;
q Не снимая теодолит, вычисляют
горизонтальные углы.
Расхождение между л
и п не
должно превышать 2|.
q Если углы измеряются с повышенной
точностью, лимб поворачивают на 900 и повторяют все измерения.
При наведении на веху стараются навести трубу
как можно ниже, так как низ вехи всегда отклоняется меньше, чем верх.
.3 Измерение углов наклона
Вертикальные углы измеряют в прямом и обратном
направлениях. На каждой станции измеряют высоту инструмента с точностью до 1
см, отмечают эту высоту на вехе. Веху устанавливают вертикально сначала на
предыдущей, затем на последующей точках хода.
Рисунок 8.
При измерении вертикального круга должен быть на
середине. Среднюю горизонтальную нить наводят на верху на высоту инструмента
(рис.) при положении КЛ, затем КП и снимают отсчеты по вертикальному кругу КЛ и
КП, которые записывают в журнал. Затем вычисляют место нуля:
Значение
.
Затем вычисляют вертикальный угол КЛ
- М0. Вертикальные углы измеряют в прямом и обратном направлениях. Расхождение
между ними не должно превышать 2.
.4 Измерение длин сторон
хода
При измерении длин линий по разным причинам
возникают погрешности, поэтому для контроля и повышения точности результатов
измерений каждую линию измеряют дважды, в прямом и обратном направлениях.
Погрешность измерения линии 20 - метровой лентой
не должна превышать 1:2000, то есть не должна превышать 1 см на каждые 20 м
измеренной длины. Например, для линии длиной 70м допустимое расхождение между
прямой и обратной измеренными длинами не должно превышать 3,5 см. Если
расхождение не выходит за допустимые пределы, то вычисляют среднее арифметическое
значение длины:
Если расхождение больше допустимого,
линию измеряют заново.
Измерение линий заключается в
последовательном укладывании ленты в створе линии. Измерение производят два
человека. Один совмещает нулевой штрих ленты с началом линии, а другой,
протягивает ленту по створу измеряемой линии. При этом мерщик, находящийся
сзади, корректирует переднего, ориентируясь по вехе, установленной в конце
измеряемой линии. Следуя указаниям заднего мерщика, передний укладывает ленту в
створе линии и, натянув ее одной рукой, второй рукой через прорезь в ленте
вертикально вставляет шпильку в землю. После этого передний мерщик снимает
ленту со шпильки, которая остается в земле, и оба мерщика перемещают ленту
вперед по линии. Задний мерщик надевает прорезь в ленте на оставленную передним
мерщиком шпильку и направляет по линии переднего мерщика. Далее действия
повторяются в таком же порядке. Если длина линии более 100 метров и все шпильки
находятся у заднего мерщика, он передает шпильки переднему мерщику и измерения
продолжает. Когда передний мерщик подходит к концу линии, и остается отрезок
менее 20 метров, ленту протягивают за конец линии, и передний мерщик, натянув
ленту, определяет длину последнего отрезка с точностью до 1 см. Затем,
просуммировав все отрезки, вычисляют длину линии:
Д = l n + r,
Где: l -длина
ленты,
n -
количество уложений ленты (число шпилек у заднего мерщика),
r- длина
отрезка в конце линии.
После этого измеряют линию в
обратном направлении. Результат измерений записывают в журнал.
.5 Вычисление координат точек
теодолитного хода
Вначале проверяют все вычисления в
полевом журнале. Затем строят схему теодолитного хода, на которую выписывают
номера точек теодолитного хода, средние значения измеренных горизонтальных и
примычных углов и средние значения измеренных длин сторон. Вычисление координат
точек теодолитного хода выполняется в специальной ведомости в следующем
порядке.
1. В ведомость выписывают результаты
полевых измерений:
P Средние значения измеренных
горизонтальных и примычных углов;
P Средние значения измеренных длин
сторон;
P Средние значения измеренных
вертикальных углов.
Средние значения длины стороны находят как
полусумму ее измерений в прямом и обратном ходе. Средние значения вертикального
угла - как полусумму абсолютных его значений в прямом и обратном ходе.
. Определяют угловую невязку замкнутого
хода с измеренными внутренними углами по формуле:
Если в замкнутом ходе измерены
внешние углы, то:
В разомкнутом ходе:
где
и
- дирекционные углы начального и
конечного направлений;
3. Вычисляют допустимую угловую невязку
- для замкнутого хода,
- для разомкнутого хода.
Сравнивают полученную невязку с
допустимой. Если
, то
полученную угловую невязку распределяют на все измеренные углы поровну с
противоположным знаком, то есть поправки по формуле:
где
- поправка в измеренные углы.
Поправки округляют до 30, причем
сумма округленных поправок должна давать угловую невязку с обратным знаком.
Затем вычисляют исправленные углы:
Сумма исправленных углов должна быть
равна теоретической сумме: в замкнутом полигоне с внутренними углами:
,
В замкнутом полигоне с внешними
углами:
,
В разомкнутом полигоне:
.
4. Дирекционные углы сторон хода вычисляют
по формуле:
- для левых горизонтальных углов,
- для правых горизонтальных углов,
где
,
-дирекционные углы последующей и
предыдущей сторон хода. Если
получается больше 3600,
то из значения
вычитают
3600.
Вычисляют значение румбов согласно
схеме, приведенной на следующем рисунке.
Рисунок 9
Значение румбов записывают над
значениями дирекционных углов.
5. Вычисляют горизонтальные проложения:
,
где d-
горизонтальное проложение (округляют до 0,01 м),
l - измеренная
длина,
- вертикальный угол.
6. Вычисляют приращения координат:
,
, или
,
где при вычислении через румбы
значения
и
определяют
по шестизначным таблицам тригонометрических функций, а знаки 
и
- по схеме. Полученные 
и
округляют до 0,01 м.
7. Вычисляют линейные невязки:
,
- для замкнутого хода,
,
- для разомкнутого хода.
8. Вычисляют абсолютную невязку:
И относительную невязку:
,
где
, то есть периметр хода.
Относительная невязка не должна
превышать 1:1500 для замкнутого хода и 1:1000 для разомкнутого хода.
Если относительная невязка больше
допустимой, то сначала проверяют все вычисления. При отсутствии ошибок в
вычислениях перемеряют длины линий.
9. Вычисляют поправки:
Поправки округляют до 0,01 м с таким
расчетом, чтобы сумма поправок равнялась невязке с обратным знаком, то есть:
,
10. вычисляют исправленные значения
приращений координат:
,
.
11. Вычисляют координаты точек теодолитного
хода:
,
,
где
и
-исправленные приращения координат
стороны
.
Контроль вычислений: получение
точного значения координат конечного пункта.
Техническое нивелирование точек
теодолитного хода.
Техническое нивелирование выполняют
с целью получения высот точек съемочного обоснования.
Начальные и конечные точки хода
должны быть привязаны к реперам, планово-высотным пунктам или к условным
реперам.
Нивелирование пунктов съемочной
основы производят методом из середины. Неравенство расстояний от нивелира до
реек не должно превышать 5 метров.
Нивелирование на станции производят
следующим образом:
1. Устанавливают нивелир на штативе и
приводят его в рабочее положение;
. Совместив концы пузырька контактного
уровня, снимают отчеты по рейкам в следующем порядке:
P Отсчет по рабочей (черной) стороне
задней рейки (зч);
P Отсчет по рабочей стороне передней
рейки (пч);
P Отсчет по контрольной (красной)
стороне передней рейки (пк);
P Отсчет по контрольной стороне задней
рейки (зк);
Отсчеты беру с точностью до 1 мм
Высота визирного луча над поверхностью земли не
должна быть менее 0,2 м.
Рисунок 10
Результаты измерения заносим в журнал
нивелирования.
После снятия отсчетов, не уходя со станции,
производят следующие вычисления:
,
где hч, HК -
превышения по рабочей и контрольной сторонам реек. Расхождение между ними не
должно быть более 5 мм. Затем вычисляют среднее превышение hср:
hср округляют
до целых миллиметров, причем 0,5 мм округляют до четного числа. Таким образом,
нивелируют весь ход. Когда нет возможности изменить превышение между точками
хода с одной станции, применяют сложное нивелирование. Между точками хода закрепляют
иксовые (х1, х2) точки и
нивелируют эту сторону по частям. Нумерация иксовых точек единая по всему
нивелирному ходу.
Рисунок 11
Вычисление высот пунктов съемочной
основы.
Высоты пунктов съемочной основы
вычисляют в следующем порядке:
а) в полевом журнале нивелирования
делают постраничный контроль:
;
где
- сумма задних отсчетов по черным и
красным сторонам реек;
- сумма передних отсчетов по черным
и красным сторонам реек;
- сумма превышений, вычисляемых по
черным и красным сторонам реек;
- сумма средних превышений.
Расхождения в постраничном контроле допускаются
не более 1 мм за счет округления при вычислении;
б) вычисляют допустимую невязку хода:
или
по указанию преподавателя,
где L - длина
нивелирного хода в километрах, n - число измеренных превышений;
в) вычисляют фактическую невязку:
- для замкнутого хода,
- для разомкнутого хода,
где НК, НН -
высоты конечного и начального пунктов.
Фактическая невязка fH не должна
быть меньше или равна допустимой fh доп. Если fh>fh доп. Сначала
проверяют все вычисления. При отсутствии ошибок в вычислениях нивелирование
хода проверяют;
г) полученную невязку поровну
распределяют во все превышения с обратным знаком:
,
где
- поправка в превышениях,
n - число
превышений.
Поправки округляют до целых
миллиметров с таким расчетом, чтобы сумма всех поправок была равна невязке с
обратным знаком:
где
- алгебраическая сумма поправок;
д) вычисляют исправленные превышения
е) вычисляют высоты пунктов
съемочной основы H:
где
- исправленное превышение к, к+1ой
линии.
Контроль вычислений: получение
точного значения высоты конечного пункта.
3. Нивелирование поверхности
При нивелировании поверхности определяют
высотное положение точек земной поверхности, то есть нивелирование поверхности
является высотной съемкой.
Теодолитная съемка
Теодолитная съемка является горизонтальной, то
есть продуктом ее является контурный план местности. Данный вид съемки целесообразно
использовать для съемки четких контуров местности (угол зданий, линейных
сооружений и т.д.).
Основные способы теодолитных съемок:
P Угловая засечка;
P Полярный способ;
P Линейная засечка;
P Способ перпендикуляров (способ
прямоугольных координат);
1. Угловая засечка:
В этом способе измеряют с точек съемочного
обоснования на измеряемый пикет два горизонтальных угла. Результаты записывают
в журнал, составляют абрис (рисунок местности, на котором показывают точки
съемочного обоснования и все элементы местности). На абрисе все съемочные
пикеты нумеруются.
Рисунок 12.
По полученным направлениям проводят прямые, на
пересечении которых получится съемочный пикет.
Этот способ является самым трудоемким, поэтому
его применяют обычно в тех случаях, когда не возможно или трудно измерить
расстояние до съемочного пикета.
2. Полярный:
В нем на съемочный пикет с точки съемочного
обоснования измеряют горизонтальный угол, затем рулеткой измеряют расстояние d.

Этот способ является основным. При построении на
плане от пунктов съемочного обоснования откладывают угол, по полученному
направлению проводят прямую линию и откладывают расстояние d
при помощи транспортира и линейки.
В случаях необходимости в измеренные расстояния
вводят поправку за наклон местности, за температуру, за компарирование.
3. Линейная засечка:
Рисунок 14.
Этот способ применяют в том случае, если нет
теодолита. С пунктов съемочного обоснования до съемочного пикета измеряют два
расстояния.
При построении точки на плане циркулем проводят
две дуги, радиусом d1
и
d2.
На пересечении этих дуг будет находиться съемочный пикет.
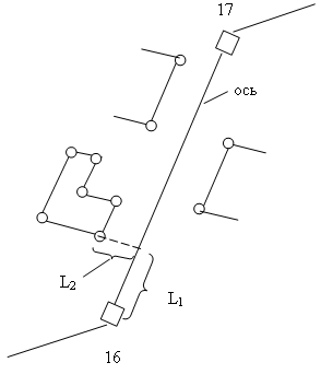
4. Способ прямоугольных координат
(перпендикуляров):
Рисунок 15
Его применяют на строительных площадках. За
опорную линию принимают главную ось сооружения, или какую - либо другую ось.
В этом способе для каждой точки измеряют две
длины:
P Первую длину измеряют по оси сооружения
(L1);
P Вторую длину - по перпендикуляру к
этой оси (L2).
4. Тахеометрическая съемка
Сущность тахеометрической съемки. Приборы
Рисунок 16
В основе тахеометрической съемки лежит идея
определения пространственного положения точки местности одним наведением
зрительной трубы прибора на рейку, установленную в этой точке. Так, положение
точек K и N
над условной горизонтальной плоскостью P,
проходящей через ось вращения трубы прибора, определяется измерением:
1. горизонтальных расстояний d1
и
d2,
между точками и вертикальной осью прибора;
2. превышения точек h1и
h2
над плоскостью P.
Величины d1
и
d2,
h1и
h2
могут быть получены непосредственно с помощью автоматических приборов,
называемых тахеометрами. Тахеометрическая съемка может выполняться и
теодолитом. В этом случае d1
и
d2
получаются по результатам измерений соответствующих расстояний нитяным
дальномером, а превышения h1
и
h2
- тригонометрическим нивелированием с использованием вертикальных углов.
Таким образом, тахеометрическая съемка
объединяет в себе два процесса:
P съемку ситуации;
P съемку рельефа.
Она выполняется в крупных (1:500 - 1:5000)
масштабах на небольших участках местности, а также при изысканиях трасс
линейных сооружений: дорог, каналов, линий электропередач.
Проложение тахеометрических ходов
Тахеометрические ходы прокладывают при создании
планового и высотного съемочного обоснования для производства тахеометрической
съемки. Они могут также применяться при создании съемочного обоснования для
топографических мензульных съемок и для привязки аэроснимков.
Тахеометрические ходы могут прокладываться в
виде одиночных замкнутых (полигонов) и разомкнутых ходов или в виде систем с
координатами и отметками, полученными из более точных измерений. Длина сторон в
тахеометрических ходах должна быть в пределах до 200 - 250 м. Так как
расстояния в ходах измеряются. Как правило, дальномерами, то ходы можно
прокладывать по пересеченной местности.
Предельная длина тахеометрического хода зависит
от масштаба съемки и от точности, с которой надо получить отметки точек или от
принятой высоты сечения рельефа. Так, при масштабе 1:5000 и высоте сечения
рельефа 1 м. Длину тахеометрического хода не следует принимать более 3 км.
Проект ходов и положение пунктов уточняют при
полевой рекогносцировке и закрепляют кольями длиной 30 - 40 см и толщиной 4 - 6
см с забитым в верхний торец каждого кола гвоздем.
Углы наклона, измеренные при помощи теодолита 2Т
- 30П вычисляют по формулам:
;
КЛВ - М0.
Измерение углов наклона контролируют
постоянством места нуля М0, колебание которого допускается в пределах 1|,5.
Превышения между точками вычисляют в
прямом и обратном направлениях, с допустимым расхождением между ними 4 см на
каждые 100 м расстояния.
Съемка ситуации и рельефа
Попутно с проложением
тахеометрического хода со станций производят съемку ситуации и рельефа,
применяя для этого исключительно полярный способ.
Если число точек тахеометрических
ходов недостаточно для съемки ситуации и рельефа, то допускается определять
положение дополнительных точек преимущественно полярным способом. При этом
измеряют оба примычных угла полным приемом. Углы наклона также полным приемом и
превышения вычисляют а прямом и обратном направлениях, как и в тахеометрическом
ходе.
Перед началом работы составляют
подробный абрис местности, на котором указывают станцию - точка съемочного
обоснования, с которой выполняется съемка данного участка местности.
Для удобств станцию обозначают в
центре абриса, на котором изображают все элементы местности (контур, реки,
здания), затем номеруют их. Все эти номера подписывают на абрисе, после
составления абриса приступают к съемке: теодолит устанавливают на станции, то
есть при помощи отвеса центрируют прибор таким образом, чтобы погрешность центрирования
не превышала 1 см.
Затем приводят теодолит в рабочее
положение. Определяют место нуля (М0), которое не должно превышать 2. Измеряют
высоту инструмента i. М0 и I записывают
в журнал съемки, затем устанавливают по теодолиту КЛ и ориентируют теодолит на
соседнюю точку съемочного обоснования таким образом, чтобы отсчет по
горизонтальному кругу был равен 00.
После этого последовательно
устанавливают на съемочные пикеты, согласно абрису, и производят следующие
измерения:
1. a и
b;
l = a - b;
2. по горизонтальной нити снимают отсчет по
рейке, которая называется высотой наведения, затем снимают отсчеты:
P по горизонтальному кругу;
P по вертикальному кругу.
Все измерения записываются в журнал съемки, где
обязательно указываются номер пикета и подписывается его характеристика
(дорога, контур).
Таким образом, производят съемку всех пикетов с
данной станции. После окончания съемки обязательно выполняют замыкание
горизонта, то есть теодолит наводят на начальное направление и проверяют отсчет
по горизонтальному кругу, который должен быть равен 00 00||,
допустимые погрешности до 10.
5. Методика построения плана тахеометрической
съемки
Результатом любой топографической съемки
является топографический план снимаемого участка местности, способ создания
которого зависит от метода съемки. При тахеометрической съемке план создается
камеральным путем на основании результатов полевых измерений полярных координат
и отметок снимаемых точек, кроки и абрисов.
Составление топографических планов по
результатам тахеометрической съемки выполняется, как правило, в полевых
условиях после обработки журналов и включает в себя следующие виды работ:
P построение координатной сетки;
P нанесение съемочных пунктов и точек
тахеометрических ходов по координатам;
P накладка реечных точек по данным
тахеометрического журнала и кроки.
Построение плана начинается с разбивки
координатной сетки, которую разбивают при помощи линейки Дробышева с
погрешностью 0,1 мм. Затем по вычисленным координатным пунктам теодолитного
хода наносят эти пункты на план с погрешностью не более 0,2 мм (контроль). Для
контроля измеряют горизонтальные проложения между пунктами теодолитного хода.
Допустимые расхождения с вычисленными значениями не должно превышать 0,2 мм.
После этого при помощи транспортира откладывают
горизонтальные углы с данной станции на все пикеты и по полученным направлениям
откладывают горизонтальные проложения на все съемочные пикеты. У каждого пикета
подписывают его номер, затем при помощи абриса на плане вычерчивают ситуацию:
изображение, все элементы местности. При этом зависимость пикетов стирают и
подписывают их отметки.
Затем при помощи отметок съемочных пикетов
проводят горизонтали, то есть изображают рельеф местности. При сложном рельефе
могут применяться следующие способы интерполяции:
P способ построения вспомогательных
профилей;
P способ определения следов
горизонталей с помощью кальки.
После чего вычерчивают контрольные измерения
выборочно на некоторые пикеты.
При этом погрешность элементов на плане не
должна превышать 0,2 мм. В случаях необходимости на плане производятся
соответствующие поправки и только потом план оформляют тушью в соответствии с
условными знаками.
В результате производства тахеометрической
съемки создается следующий материал:
P оригинал плана;
P журнал;
P ведомости координат (сгущения
съемочной сети);
P формуляр;
P выкопировка сводок по рамкам;
P пояснительная записка.
6. Разбивочные работы
Понятие о прямой и обратной геодезической задаче
Прямая задача:
По координатам «Х» у одной точки по
дирекционному углу и длине стороны вычисляют координаты второй точки.
Дано: ХА, УА, Д А-В.
Найти: Х В, УВ.
Решение:
Если используют r,
то знаки приращения координат (Х и У) определяют по схеме в зависимости от
величины дирекционного угла.
Обратная задача:
По известным координатам двух точек вычисляют
дирекционный угол точек и длину линий.
Дано: ХА, УА,
Х В, УВ.
Найти: Д А-В.
Решение:
;
где X А-В = ХВ
- ХА
- Знаки не учитываются.
У А-В = УВ - УА
Для того, чтобы вычислить значение
дирекционного угла вычисляют значение румба:
;
Затем по знакам X и У
определяют номер, после чего находят разбивочные углы как разницу дирекционных
углов, образующих его сторон.
7. Камеральное трассирование автодороги
Трассирование линий - проложение
продольной оси линейного сооружения. Трассой называют ось линейного сооружения.
Основные элементы трассы:
P план трассы;
P профиль трассы.
План трасы - проекция оси линейного сооружения
на горизонтальную плоскость.
Профиль трассы - вертикальное сечение местности
на проектируемой оси линейного сооружения.
При вычерчивании плана трассы необходимо учесть
следующие приемы проектирования:
P трасса должна проходить по
кротчайшему расстоянию между точками НТ и КТ;
P уклоны оси трассы, нарушения
ландшафта местности должны быть минимальными;
P при пересечении рек и железных дорог
нужно использовать существующие мосты и железные переезды.
Рассмотрим пример проектирования трассы на
примере автодороги.
Проектирование трассы осуществляется в два
этапа:
. Камеральное трассирование:
проектирование первоначально выполняют на топографическом плане или карте.
При проектировании трассы должны учитываться
следующие требования:
P Трасса должна проходить между
точками начала трассы и конца ее;
P Должны соблюдаться предельно
допустимые уклоны.
В связи с тем, что на местности имеются какие -
либо препятствия (инженерные сооружения, природные препятствия) приходится
проектировать трассу, обходя ломаную линию. Обычно при камеральном
трассировании намечают несколько углов трассы.
. Полевое трассирование: сначала на местность
выносят точки НТ, все вершины углов поворота. Затем по данным точкам
прокладывают теодолитный ход, в который все горизонтальные углы измеренные с
точностью 1 м.
На криволинейном участке трассы через каждые 100
метров закрепляют пикеты (ПК0, ПК1…). ПК0 соответствует НТ. Параллельно с
разбивкой пикетажа производят съемку местности в полосе, шириной 200 м под
трассой. Результаты съемки заносят в пикетажный журнал, в котором ось трассы
показывают в виде прямой линии снизу вверх, на которой отмечают все пикеты и
все характерные точки трассы: точки начала кривой середины и конца, все
плюсовые точки, углы поворота показывают стрелками и подписывают значение углов
поворота.
Затем выполняют техническое нивелирование трассы
в прямом и обратном направлениях. В прямом ходе нивелируют все точки трассы (то
есть все пикеты, все плюсовые точки). В обратном ходе нивелируют только пикеты.
Допустимая невязка в нивелирном ходе не должна
быть больше:
По результатам нивелирования трассы
вычерчивают продольный профиль трассы.
При построении профиля обычно
принимают вертикальный масштаб в 10 раз крупнее горизонтального, например,
если:
М г =1:2000;
М в = 1:200.
Построение профиля трассы автодороги
Для построения профиля трассы
принимают горизонтальный масштаб 1:2000, а вертикальный - 1:200. Построение
профиля трассы осуществляют следующим образом:
1. Производят разграфку профильной
сетки;
2. В графе «Расстояния» откладывают в
масштабе 1:2000 пикеты и плюсовые точки. Если между пикетами нет плюсовых
точек, то расстояние 100 м не пишут. При наличии плюсовых точек указывают
расстояние от пикета до плюсовой точки или между плюсовыми точками. Сумма
расстояний между плюсовыми точками всегда должна быть равна 100 м.
Необходимость нанесения плюсовых точек определяют по рельефу на плане трассы.
Если между соседними пикетами имеются характерные перегибы рельефа местности,
то а этих местах намечаются плюсовые точки, если же уклон местности равномерный
- то плюсовые точки отсутствуют.
. Подписывают номера пикетов под графой
«Расстояния» в строке «Пикеты».
. Над пикетами и плюсовыми точками в
графе «Отметки земли» выписывают до сотых долей метра отметки пикетов и
плюсовых точек, которые определяются по топографическому плану по формуле:
;
где H I - отметка
пикета или плюсовой точки;
H 0 - меньшая
отметка горизонтали, ближайшей к пикету или плюсовой точке, м;
H c - большая
отметка горизонтали, ближайшее расстояние или плюсовой точке, м;
L -
кротчайшее расстояние между соседними горизонталями по линии, проходящей через
пикет или плюсовую точку, м;
l -
расстояние от ближайшей горизонтали с меньшей отметкой до пикета или плюсовой
точки, мм.
5. От верхней линии профильной сетки
(линии условного горизонта) в масштабе 1:2000 на перпендикулярах к ней
откладывают фактические отметки пикетов и плюсовых точек. Отметку линии
условного горизонта выбирают с таким учетом, чтобы точка профиля, имеющая
наименьшую отметку. Отстояла от этой линии на 6-8 см.
Точки, полученные в результате построения,
соединяют между собой прямыми линиями и получают таким образом профиль
местности. От точек профиля до линии горизонта проводят ординаты черным цветом.
Проектирование трассы автодороги
Проектирование трассы автодороги осуществляется
в следующем порядке:
1. Заполняют строку «План трассы».
Посередине строки проводят красным цветом линию - ось трассы и, пользуясь
топографическим планом, строят контуры местности. Вместо условных знаков
разрешается записывать название контуров.
2. Заполняют строку «План прямых и кривых».
Посередине строки проводят красным цветом ось трассы. Начало и конец кривой
отмечают перпендикулярами, проведенными от линии пикетов до линии развернутого
плана трассы. Расстояние между этими линиями 1,5 см. На перпендикулярах
записывают расстояния от начала и конца кривой до ближайших пикетов.
. Наносят проектную линию красным цветом
с учетом соблюдения земляных работ (равенства объема насыпей объему выемки) при
минимальном их объеме и соблюдения уклонов на отдельных участках проектной
линии, не превышающих допустимых пределов. Проектная линия состоит из
нескольких участков с различными уклонами. Начальной проектной отметкой может
быть: отметка точки примыкания трассы к существующим или проектным сооружениям,
например, существующая автомобильная дорога.
В графе «Проектные уклоны» в местах изменения
уклонов проводят ординаты, разделяющие один участок проектной линии от другого,
на
ПК - 3 +74 и ПК - 5 +50. На каждом участке
внутри графы чертой показывают условно знак уклона - горизонтальная черта
означает нулевой уклон, а проведенные диагонали первых двух участков -
отрицательные уклоны. Над чертой, посередине, пишут величину уклона (в целых
тысячных долях - промилях), а под ней - расстояние, на котором действует данный
уклон. Проектный уклон вычисляется по формуле:
;
где H n - отметка
начальной точки участка;
H n+1 - отметка
конечной точки участка (снимается графически);
d - длина
участка с одинаковым уклоном.
Уклоны округляются до двух значащих
цифр. В графе «Проектные отметки» записываются проектные отметки всех пикетов и
плюсовых точек.
Сначала вычисляют проектную отметку
конца участка по формуле:
H n = H n+1 + I a;
Где H n - отметка
последующей точки;
H n+1 - отметка
предыдущей точки;
I - проектный
уклон;
d -
горизонтальное расстояние между точками.
4. Вычисляют рабочие отметки (высоты
насыпей или глубины выемок) на каждом пикете и плюсовой точке как разность
между соответствующими проектными и фактическими отметками.
5. Проводят ординаты от точек пересечения
проектной линии с линией профиля местности (от точек нулевых работ) до линии
условного горизонта и вычисляют горизонтальные расстояния от их точек до
ближайшего пикета или плюсовой точки. Горизонтальные расстояния определяют по
формуле:
;
a и b - рабочие
отметки соответственно на задней и передней точках профиля между которыми
находится точка нулевых работ; d - расстояние между точками с
рабочими отметками a и b.
После округления их до сотой доли
метра выписывают под линией условного горизонта справа и слева от ординаты
(синим цветом). Затем вычисляют проектную отметку нулевых работ по формуле:
H N = H ПК - 1
проек.
+ x I;
Где H ПК - 1
проек. -
проектная отметка заднего пикета;
х - расстояние от заднего пикета до
точки нулевых работ;
I -проектный
уклон.
8. Камеральная обработка результатов
нивелирования площади поверхности по квадратам и проектирование вертикальной
планировки
Нивелирование площади поверхности
производят для детального изображения рельефа участка местности, на котором
предполагается создание каких - либо инженерных сооружений. В зависимости от
характера рельефа и ситуации местности, а также от размеров площади
нивелируемой поверхности применяются следующие способы нивелирования:
P По квадратам;
P Параллельных линий;
P Полигонов и полярный.
Рассмотрим методику камеральной обработки
материалов нивелирования площади поверхности по квадратам. Размер площади 20х20
м, состоящей из девяти квадратов. Сторона квадратов 10х10 м. Нивелирование этой
площади выполнено с одной станций методом геометрического нивелирования.
Нивелирование площади поверхности способом
квадратов
Нивелир устанавливают в любую точку,
расположенную внутри площадки. За точку съемочного обоснования принимается
точка с известной абсолютной отметкой. Нивелирование на току съемочного
обоснования и вершины квадратов производится с одной станции, методом
геометрического нивелирования (отсчеты снимаются только по черной стороне
рейки). Отсчеты, произведенные по рейке записываются на схеме сети квадратов.
По полученным результатам вычисляют горизонт инструмента по формуле:
ГИ = Н16 + b16,
Где Н16 - абсолютная отметка точки
16;
b16
- отсчет по рейке в точке 16.
Затем через горизонт инструмента вычисляются
абсолютные отметки точек вершин квадратов:
Hi
= ГИ - Сi,
Где Hi
-абсолютная отметка вершины квадрата;
Сi
- отсчет по рейке для соответствующей вершины.
Полученные отметки записываются на схеме сети
квадратов к соответствующим вершинам.
Построение сетки квадратов выполняют при помощи
теодолита и ленты. Для этой цели по границе участка строят прямоугольник, на
сторонах которого закрепляют вершины квадрата через заданные интервалы.
Основной квадрат разбивают на заполняющие со
сторонами 10 м. Вершины основного квадрата закрепляют колышками со сторожками,
а заполняющие - колышками без сторожков.
Камеральная обработка материалов нивелирования
площади поверхности
По данным нивелирования площади поверхности
способом квадратов составляют план площадки в горизонталях в масштабе 1:500 с
сечением рельефа через 0,25 м.
Последовательность выполнения заключается в
следующем:
1. На листе чертежной бумаги формата 22
в масштабе 1:500 вычерчивают сетку квадратов со сторонами 20 м, подписывают
номера горизонтальных и вертикальных линий и выписывают отсчеты по черной
стороне рейке.
2. В масштабе 1:500 составляют план,
подписывают вычисленные отметки у вершин квадратов и строят горизонтали
поверхности земли с сечением через 0,25 м при помощи палетки или миллиметровки.
Каждую четвертую горизонталь утолщают (0,2 мм) и подписывают в разрыве;
основания цифр должны быть направлены в сторону понижения рельефа.
Проектирование горизонтальной и наклонной
площадок (вертикальная планировка)
Под вертикальной планировкой подразумевается
преобразование естественного рельефа при строительстве в горизонтальную или
наклонную площадки путем выполнения земляных работ по специальному проекту
вертикальной планировки.
1. Для проектирования горизонтальной
площадки вычисляют среднюю отметку всего участка по известным отметкам вершин
квадратов по формуле:
;
где N - число
квадратов;
H1, H2, H4 - отметки
вершин квадратов, относящихся к одному, двум и четырем квадратам. Результаты
заносят в таблицу.
Среднюю отметку Н 0
вычисляют с точностью до 0,01 м. Рабочие отметки всех вершин квадратов получают
как разности отметок поверхности земли в вершинах квадратов и отметки Н 0.
h раб = Н n - H 0.
Отрицательная рабочая отметка
указывает на насыпь грунта в данной точке, а положительная - на выемку. Рабочие
отметки подписываются красной тушью под отметками поверхности земли и с помощью
их строят линию нулевых рабочих отметок, называемую линией нулевых работ. Точки
нулевых рабочих отметок можно определить графоаналитическим или графическим
способами.
P Графоаналитический способ
заключается в вычислении расстояний х до точек нулевых рабочих отметок (нулевых
работ), а затем в графическом определении на плане по х положения искомой точки
на стороне квадрата или его диагонали. Расстояние до точек нулевых работ
определяют по известной формуле:
;
Для контроля
,
где d - сторона
квадрата (здесь d = 10 м);
h л,h п - рабочие
отметки вершин квадрата, расположенные слева и справа от точки нулевых работ.
Величины х и d-x,
вычисленные по формулам, должны составлять в сумме величину d.
P Графический способ состоит в
определении положения точки нулевых работ путем графических построений. Получив
таким образом ряд нулевых работ, соединяют их плавной пунктирной линией
красного цвета, которая будет являться линией нулевых работ. Она разделяет
площадку на участки выемки и насыпи. Участок насыпи показывают штриховкой.
Например, откладывая в заданном направлении от
вершин квадрата в противоположные направления рабочую отметку выемки (0,06) и
рабочую отметку насыпи (-0,09) в масштабе и соединив полученные точки, найдем
искомую точку С или m, которые
являются точками нулевых работ.
После вычисления рабочих отметок и построения
линии нулевых работ подсчитывают объемы земляных работ.
2. Для проектирования наклонной
площадки принимают уклон I
= 0,05 c севера на юг.
Проектную отметку начальной линии принимают равной Н 0. Эту линию
располагают посередине площадки.
Зная проектную отметку начальной линии Н 0
и заданный уклон I
проектируемой наклонной площадки, вычисляют проектные отметки Н к
вершин всех квадратов по формуле:
H k = H 0 +(
I a),
Где а - горизонтальное расстояние
между начальной и определяемой точками.
Учитывая направления уклона I, знак «+»
относится к точкам, лежащим выше начальной. А знак «-« - к точкам, лежащим ниже
ее.
Затем вычисляют рабочие отметки
вершин всех квадратов как разность между отметками поверхности земли H n в вершинах
квадратов и вычисленными проектными отметками Н к:
H раб = H n - Н к.
Подсчет объемов земляных работ при вертикальной
планировке
Для подсчета объемов земляных работ составляют
картограмму земляных работ, на которую выписывают отметки поверхности земли,
проектные и рабочие отметки всех вершин квадратов. Положительный знак hраб
рабочей
отметки указывает на необходимость выемки грунта в этой точке. А отрицательный
знак - на подсыпку. Линия нулевых работ является границей между площадью насыпи
и выемки.
Подсчет объемов земляных работ можно произвести
четырьмя способами:
1. Способ треугольных призм:
Для получения треугольных призм во всех
квадратах строят треугольники и объем насыпи V
н (в) каждой треугольной призмы подсчитывают по
формуле:
,
где SТ - площадь
основания треугольной призмы, м2;
h1,h2,h3 - рабочие
отметки в углах основания призмы (или отметки вершин квадратов), м.
Общий объем насыпи и выемки грунта
по всей площадке получают суммированием соответствующих объемов каждой
треугольной призмы. Способ четырехугольных призм:
Предполагается, что каждая
четырехугольная призма ограничена вертикальными плоскостями, плоским основанием
и наклонной верхней плоскостью. Высоту призмы принимают равной среднему
арифметическому hср из рабочих
отметок h1, h2, h 3, h4 - угловых
точек ее поверхности:
.
Тогда объем V в (н) выемки (или
насыпи) грунта для каждого квадрата сетки подсчитывают, пользуясь формулой:
V в (н) =S2 h ср,
Где S2 -площадь
основания четырехугольной призмы, м2. Общий объем насыпи и выемки
грунта по всей площадке также получают суммированием соответствующих объемов
всех четырехугольных призм.
2. Способ Стрельчевского:
Подсчет объемов земляных работ производят по
формулам:
,
.
Где vн, vв - объем
насыпи и выемки грунта в каждом квадрате, м3;
- арифметическая сумма рабочих
отметок насыпи и выемки грунта в квадрате, м;
d - сторона
квадрата, 10 м. Подсчет объемов земляных работ сводят в таблицу. Расхождение
объемов выемки и насыпи грунта по всей площадке не должно превышать 5%.
9. Инженерно-геодезические задачи
. Построение на местности угла
заданной величины
С технической точностью, порядка 1 |:
Для этого устанавливают теодолит в
рабочее положение в вершине угла: в точке О отрезка ОА, совмещают нуль алидады
горизонтального круга с нулем лимба и, при закрепленной алидаде, визируют на
точку А. Алидаду открепляют и поворачивают на отсчет, соответствующий заданному
углу.
По направлению визирной оси трубы на
заданном расстоянии выставляют шпильку (вешку), перемещая ее до совпадения с
вертикальной нитью сетки. Переводят трубу через зенит и повторяют те же
действия при другом положении вертикального круга.
По направлению визирной оси
устанавливают другую вешку. Расстояние между двумя точками, полученными при
двух положениях вертикального круга, делят пополам и закрепляют полученную
точку С. Для контроля угол измеряется при двух положениях вертикального круга.
С повышенной точностью, порядка 10.
После построения угла заданной
величины измеряют его несколькими приемами (не менее трех). Измеряют расстояние
от вершины угла по точке С.
Вычисляют величину отрезка С1С:
;
где 
.
Перемещая точку С перпендикулярно к
линии ОС на длину отрезка С1С, получаем на местности заданный
проектный угол. Необходимая точность построения угла может быть вычислена так:
,
где ОС - расстояние от вершины угла
до точки С;
ml - точность
измерения перпендикуляра С1С.
. Построение на местности проектного
расстояния или линии заданной длины
Задачу выполняют в следующем
порядке:
P От исходной точки О по направлению к
точке В откладывают проектное расстояние (горизонтальное) и закрепляют
колышками конечную и начальную точки отрезка;
P Измеряют длину отрезка несколько раз
(не менее трех) и вычисляют среднее значение Дср.;
P Измеряют угол наклона с точки О на
точку В или определяют превышение между этими точками;
P Вычисляют среднюю длину и поправки:
за наклон, компарирование, температуру. Поправку за компарирование Д к.
Берут из технического паспорта мерного прибора.
Поправка за наклон вычисляется по формулам:
где h -превышение
конечных точек измеряемой стороны,
- угол наклона, Д - измеренная
длина.
Поправку за температуру мерного
прибора вычисляют по формуле:
где Д - длина линий;
t -
температура воздуха во время производства измерений;
t0
-температура воздуха при компарировании мерного прибора.
P Подсчитывают суммарную поправку по
следующим формулам:
P Переносят точку В по направлению ОВ
на величину отрезка, равного /Д. Линию промеряют в двух направлениях и
вычисляют относительную погрешность.
3. Вынесение на местность точки с
заданной отметкой
Каждая бригада переносит на местность две - три
заданные преподавателем проектные отметки.
Задача выполняется следующим образом:
Устанавливают нивелир примерно посередине между
репером с отметкой H
RP
и выносимой точкой (рис.). По рейке, установленной на репере, берут отсчет a.
Вычисляют отметку горизонта инструмента:
ГИ = H
RP
+ а.
Вычисляют отсчет B,
который должен быть на рейке, установленной в точке с проектной отметкой Н
пр.
B=ГИ - Н пр.
(*)
В искомой точке ставят колышек выше проектной
отметки и забивают его до тех пор, пока отсчет по рейке не будет равен
вычисленному по формуле (*).
Для контроля измеряют превышение между забитым
колышком и репером по черной и красной стороне рейки.
4. Построение на местности линии и
плоскости заданного уклона
Пусть от точки А с отметкой Н А
требуется построить на местности линию длиной L
c уклоном i.
Над точкой А располагают теодолит и измеряют его
высоту iА.
Вычислив соответствующий данному уклону iвертикальный
угол устанавливают этот угол на вертикальном круге с учетом места нуля.
Затем, перемещая рейку по вертикали над другим
концом линии, пока отсчет по ней не станет равным высоте прибора, фиксируют
пятку рейки при помощи колышка. Таким же способом определяют положение
промежуточных точек линии.
Построение линии заданного уклона можно
осуществить при помощи нивелира. Для этого между точками А и В устанавливают
нивелир так, чтобы два его подъемных винта были параллельны заданной линии.
Вычисляют отметку
Н В = Н А +I
L;
Где I
- проектный уклон,
L - горизонтальное
расстояние от А до В.
Вычисленную отметку выносят на местность
способом, описанном в задаче 4. Затем, действуя подъемными винтами, наклоняют
трубу нивелира до тех пор, пока отсчеты по рейкам в точках А и В не станут
одинаковыми и равными а. В результате линия визирования будет параллельна линии
заданного уклона I.
Промежуточные точки линии определяют установкой рейки в точках С и Д и
получением по ним отсчета, равного b.
5. Передача отметки на дно котлована и
на монтажный горизонт
Решением задачи предусматривается передача
отметки с одного горизонта на другой, когда разность высот превышает длину
рейки. В этом случае применяют остальные рулетки или ленты с подвешенным
грузом.
На краю котлована подвешивают рулетку с помощью
кронштейна, внизу к рулетке прикрепляют груз.
Рейки устанавливают на репере и на колышке,
забитом в точке С на дне котлована. Нивелирование выполняют, как правило, двумя
нивелирами, один из которых устанавливают на дне котлована, а другой - на
исходном горизонте. Отсчеты по рулетке берутся по нивелирам одновременно двумя
наблюдателями. Рулетка во время снятия отсчетов должна быть неподвижна. Если в
распоряжении имеется только один нивелир, необходимо производить измерения
несколько раз (не менее трех), обеспечивая неподвижность рулетки на протяжении
всего цикла измерений.
Вычисляется отметка точки С на дне котлована:
Н С = Н RP
+ a - b1
+ b2
- c
Передача отметки на монтажный горизонт
осуществляется аналогично.
Вычисление отметки точки С производится по
формуле
6. Определение высоты объекта
В случае, если высоту объекта невозможно
измерить непосредственно, ее можно определить косвенным способом.
Для этого на местности устанавливают теодолит,
определяют горизонтальное расстояние от теодолита до объекта L,
измеряют вертикальные углы.
Затем теодолит устанавливают в другую точку (по
возможности в перпендикулярном положении) и высота объекта определяется
повторно.
Допустимое расхождение между
полученными высотами не должно превышать величины
.
7.
Определение расстояния до недоступного объекта
В случае, когда невозможно измерить расстояние
между точками непосредственно, его можно определить косвенным способом.
На местности разбивают базис b1
и измеряют его несколькими приемами в точках А и В устанавливают теодолит и
измеряют горизонтальные углы одним полным приемом. Затем вычисляют
горизонтальные расстояния L1
и L2:
Для контроля на местности можно
разбить базис b2 и
аналогично определить расстояния L2 и L3:
8.
определение высоты недоступного объекта
Для решения этой задачи необходимо
вначале определить расстояние от прибора до объекта, а затем найти высоту
самого объекта. С этой целью на местности разбивают базис b1 и измеряют
его несколькими приемами. В точках А и В последовательно устанавливают теодолит
и измеряют горизонтальные углы - одним полным приемом. Одновременно с этим
измеряют вертикальные углы в начале точки А, затем в точке В. Вычисляются
расстояния L1 и L2. Допустимое
расхождение между полученными высотами не должно превышать величины
.
Проверка вертикальности и определение крена
сооружений
9. Задача может решаться в двух
вариантах:
А) центры верхней части сооружения (точка С) и
нижней части (точка К) - четко обозначены (рис.);
В) центры верха и низа сооружения не имеют четкого
обозначения.
В варианте А) вертикальность сооружения
проверяется теодолитом, установленным в точках А и В во взаимно
перпендикулярных направлениях.
После приведения теодолита в рабочее положение,
визируют на точку С и проецируют её на нижнюю часть сооружения, отмечая
проекцию штрихом. Проецирование производим при двух положениях вертикального
круга. Находим среднее положение проекции (С/). Измеряют расстояние l
между центром низа сооружения (К) и центром проекции (С/).
Расстояние l измеряют с
точностью до 0,001 м. Угловую величину крена можно подсчитать по формуле:
,
где h - высота
сооружения;
.
В варианте В) проекции нижней и
верхней частей сооружения находят следующим образом. Теодолит устанавливают в
точке А. Измеряют двумя приемами горизонтальный угол между левым и правым
краями сооружения. При этом не измеряют установку зрительной трубы по высоте.
Устанавливают отсчет по горизонтальному кругу, равный половинному значению
измеренного угла
. При этом
отсчете проецируют визирным лучом на низ сооружения, отмечают точку С/.
Точка С/ будет являться проекцией оси верха сооружения. Измеряют
несколькими приемами горизонтальный угол
между левыми и правыми краями
сооружения. Устанавливают на горизонтальном круге отсчет, равный половинному
значению угла
. По направлению
визирного луча отмечают точку К - это проекция низа сооружения. Расстояние l между
точками С/ и К - линейная величина крена. Угловую величину крена
можно определить по формуле.
Как и в варианте А) работа должна
выполняться в двух взаимно перпендикулярных плоскостях.
Полевой контроль
После выполнения полевых работ
преподавателем выполняется полевой контроль, то есть проверяется точность и
качество выполнения полевых работ (точность построения планово - высотного
обоснования, точность выполнения съемки и построение плана местности, точность
нивелирования поверхности, трассирование автодороги, решения задач). За полевой
контроль бригаде выставляется оценка.
После полевого контроля мы сдали все
инструменты.
Заключение
Ну вот и окончилась яркая, интересная и
познавательная геодезическая практика.
Наша бригада ждала начала этой практики с
каким-то непонятным чувством. С одной стороны, было немного страшновато, ведь
мы ещё не имели большого опыта работы с приборами, а с другой стороны, все
понимали, что будет очень весело и интересно. На самом деле мы зря боялись, всё
оказалось намного проще. Но всё же были некоторые трудности, например, было
очень тяжело пройти огромное расстояние с приборами в руках, чтобы добраться до
места назначения (горы). На горе нас встретила ещё одна проблема - маленькие,
но очень уж противные мошки, которые то и дело пытались нас покусать. У самой
проворливой это получилось. Мошка укусила девушку из нашей бригады прямо в
глаз. Но всё закончилось благополучно. Благодаря своевременной помощи опухоль
от укуса быстро исчезла. Не менее серьёзную опасность для нас представляли
клещи и змеи. От клещей у всех студентов имелась прививка, а вот от змей никто
не был застрахован. К счастью, ни тех, ни других мы не встретили.
Нам повезло с погодой. Все дни были солнечные, и
лишь первый день практики напугал нас ливнем, громом и молнией. Хочется дать
небольшой совет организаторам практики, а именно: придумать на время работы на
полигоне какое-либо укрытие от дождя и солнца, ведь здоровье превыше всего!
После ливня многие ребята простыли и не смогли на следующий день приехать.
Перейдем к самой приятной части дня на полигоне
- к обеду! Это было самым желанным периодом в работе! Кто-то заготавливал
дрова, кто-то разводил костер, кто-то занимался с продуктами, но в итоге все
дружно садились за «стол» вокруг костра и наслаждались долгожданным обедом. Но
были и голодные дни, когда никто ничего не приносил из еды. Тут нам помогали
наши добрые друзья из других бригад. Они не дали нам оголодать. Хорошо, что в
наше время ещё имеются отзывчивые и понимающие люди!
В процессе всей геодезической практики наша
бригада работала дружно и слаженно. Каждый занимался своим делом: кто умеет
хорошо рисовать - работал с планом, кто лучше всего обращается с приборами -
производил измерения, кто отлично считает - делал камеральную обработку данных
и т.д. В общем, скучать не пришлось! На практике мы усовершенствовали и
укрепили свои знания по геодезии и повысили уровень работы с приборами. Мы
поняли на конкретных примерах, как делать теодолитные ходы, как осуществлять
трассирование, а также поняли многие другие инженерно-геодезические задачи.
Впечатление о практике осталось положительное,
яркое и незабываемое. Всем очень понравилось!!!
За время прохождения практики нашей бригадой
выполнено следующие виды работ:
. Получение инструментов, ознакомление с
программой практики;
. Поверки инструментов: теодолита,
нивелира, осмотр мерной ленты, реек, штативов, поверки выполнены индивидуально
каждым членом бригады;
. Создана геодезическая съемочная основа
в виде замкнутого полигона, состоящая из девяти точек;
. Выполнена теодолитная и
тахеометрическая съемки местности, площадью м2;
. По результатам съемки составлен
топографический план участка местности в масштабе 1:500;
. Выполнены разбивочные работы для одной
стороны квадрата, размером 20х20 м;
. Мы ознакомились с методикой выполнения
камерального и полевого трассирования автодороги;
. Мы ознакомились с методом решения
следующих инженерно-геодезических задач:
P Построение на местности проектного
расстояния или линии заданной длины;
P Вынесение на местность точки с
заданной отметкой;
P Построение на местности линии и
плоскости заданного уклона;
P Передача отметки на дно котлована и на
монтажный горизонт;
P Определение высоты объекта;
P Определение расстояния до
недоступного объекта;
P Определение высоты недоступного
объекта;
P Проверка вертикальности и
определение крена сооружений.