Задачі маркшейдерської служби

  • Вид работы:
    Дипломная (ВКР)
  • Предмет:
    Геология
  • Язык:
    Украинский
    ,
    Формат файла:
    MS Word
    307,71 Кб
  • Опубликовано:
    2013-10-27
Вы можете узнать стоимость помощи в написании студенческой работы.
Помощь в написании работы, которую точно примут!

Задачі маркшейдерської служби

ВСТУП

Раціональне використання запасів корисних копалин, правильне та безпечне ведення гірничих робіт не можливе без систематичного виповнення цілого комплексу маркшейдерських робіт. Це викликає необхідність створення на гірничих підприємствах маркшейдерської служби.

Маркшейдерська служба не тільки обслуговує гірничі роботи, але і виконує контроль за правильністю їх проведення, за раціональною організацією видобутку корисних копалин.

Основними задачами маркшейдерської служби є:

-         виробництво зйомки поверхні та гірничих виробок;

-        складання планово-графічної документації, необхідної для гірничого підприємства;

         завдання напрямку гірничим виробництвом;

         перевірка схилів та габаритів виробок;

         участь у міроприємствах по безпечному веденню гірничих робіт поблизу старих гірничих виробок та небезпечних зон та контроль за їх виробництвом;

         нагляд за здвиженням гірничих порід;

         розробка міроприємств по охороні споруд та гірничих виробок від шкідливого впливу гірничих розробок;

         вивчення з рудничною геологічною службовою структури та форми покладів;

         нагляд за правильним використанням родовищ.

1. ЗАГАЛЬНА ЧАСТИНА

.1 Коротка характеристика родовища

Родовище шахти ім. Фрунзе розташоване в південній частині Саксаганського району Криворізького залізорудного басейну.

Шахта ім. Фрунзе ВАТ «Суха Балка», відпрацьовуюча поклади багатих залізних руд, розташована в межах Жовтневого району міста Кривого Рогу Дніпропетровської області. Гірничий відвід шахти витягнутий впродовж лінії Придніпровської залізної дороги.

Графічні координати - 48000’45’’, та 48000’00’’ північної широти та 33006’00’’ і 33007’00’’ східної довготи.

На півдні шахта межує з гірничим відводом рудника імені Комінтерна, на півночі - з гірничим відводом рудника мені ХХ партз’їду.

Загальна довжина гірничого відвалу складає 2,8км, площина 6,25км2.

Родовище вскрите вертикальними стовбурами шахт, що пройдені у лежачому боці рудних покладів.

Водопостачання шахти питною водою здійснюється з Карачунівського водосховища, розташованого на річці Інгулець; технічною водою - з канала Дніпр-Кривий Ріг та Карачуновського водосховища.

На руднику розкриття рудних покладів здійснюється здвоєними поверхами з загальною височиною 160м.

Підготовка покладів до очисної виїмки виконується ортами, відстань між якими складає 50м.

Розкриття та підготовка горизонту здійснюється на протязі 3-3,5 років, тривалість виробки одного поверху, височиною 75-80м, складає 4роки.

1.1.1       Геологічне положення та економіка району

Шахта ім. Фрунзе входить в рудник «Суха Балка», розташований у центральній частині Криворізького залізорудного басейну.

З центром міста і сусідніми рудниками шахта ім.. Фрунзе з’єднана асфальтовою дорогою з тролейбусним та автобусним транспортом.

Найближча залізнопутєва станція «Вечірній Кут» знаходиться в 2,5км від центру рудника.

Електроенергією шахта поживлює від системи «Дніпроенерго».

Руда, що видобувається шахтою прямує на металургійний завод м.Кривого Рогу та інші заводи, а також експлуатується за кордон.

.1.2 Клімат, рельєф та водні ресурси

Район родовища розташований на північному склоні Інгулецько-Саксаганського розділу річки Дніпро.

Максимальні відмітки водорозділу досягають височин 220-225м, склони 120-140м.

Клімат району помірно-континентальний. Середня річна температура складає +8,30С0.

Середня річна кількість опадів складає 100-450мм рт. ст.

Максимальна температура у червні складає +3830С0.

Глибина промерзання землі 0,8-1м.

Хазяйнують східні, північно-східні та північні вітри, швидкість до 5м/с.

.1.3 Генезис та геологічна будова родовища, умови залягання рудних тіл

Родовище складено покладами Саксаганського та Глеюватського простягання.

Поклади Саксаганського простягання: «Западная ш.8», «V-VIII Северная», «Саксаганская ш.2», ш. «Северная-Новая», «Диагональная», «Центральная».

Основні характерні ознаки покладів:

-         пластоподібна форма з коливанням середньої потужності від 35 до 6 метрів;

-        велика кількість безрудних включень, що попадають у вийомний контур;

         кути падіння коливаються від 650 по покладу 6-го залізистого горизонту до 500 5-го залізистого горизонту;

         у багатьох випадках зближене розташування покладів 5-го та 6-го залізистих горизонтів.

Вміщуючи породи 6-го залізистого горизонту:

-         висячий бік - стійки мартитові кварцити, потужність 14-16;

-        лежачій бік - гематитові кварцити, потужністю 10-12, середньої стійкості.

Вміщуючи породи п’ятого залізистого горизонту:

-         висячий бік - гетит-гематитові кварцити, потужністю 10-12, середньої стійкості;

-        лежачий бік - стійкі джеспіліти, потужність 14-16 та гетито-гетитові сланці, потужність 8-10, низької стійкості.

Рудні тіла представляють собою стовбурообразні поклади, іноді окремі гнізда різноманітної конфігурації. Падіння рудних тіл в основному 500-600. Простягання різне від 80 до 300м.

Потужність покладів від 10м до 40м. глибина залягання від 895м окремими свердловинами до 1210м.

.1.4 Тектоніка родовища

Тектонічна структура родовища, що відробляється шахтою ім..Фрунзе, визначається пристосованістю її до східного крила Криворізького синкліналі, який складається з двох складок порядку Сакса ганської синкліналі та антикліналі, що мають субмеридіональне простягання.

Загальне крило цих структур зрізано Саксаганським розломом. В зв’язку з цих складки є однокрилими: у синкліналі відсутнє східне крило, а у антикліналі - західне.

Саксаганська синкліналь складає західну частину родовища та є основною рудоносною структурою.

Простягання синкліналі панічно-східне та азимуту від 100-150 до 350-400. падіня західне6, під кутом 350-500.

Падіння порід західного крила антикліналія північно-західне під кутом 300-750. Будова Саксаганської антикліналі значно ускладнена діянням Саксаганського розлому.

Родовище має розповсюджені складчасті структури, до яких відносяться флексурні, дисгармонічні та відкрити складки більш високих порядків.

Флексурні складки найбільш часто проявляються у західному крилі Саксаганського антикліналі, де вони складені складчастістю більш високих порядків.

Дисгармонічні складки зустрічаються у породах з різко різноманітною потужністю прослоїв.

На родовищі шахти розвинуті крупні розривні порушення: Саксаганський розлом, діагональний здвиг, східний надвиг та субширотні розлами.

Саксаганський розлом просліджений на простяганні більше 20км гірничими виробками шахти. Максимальна глибина підсічення Саксаганського розлому - 2000м від поверхні. Площина розлому падає на північно-західний бік під кутом 550-700.

Діагональний здвиг північно-східний напрямок. На глибині 100-300м кут падіння здвигу складає 520-580, на глибині 500-600м збільшується до 630-680.

Східний надвиг має північно-сідний напрямок. Кути падіння поблизу поверхні 400-450, але з глибиною стають більш крутими.

1.1.5 Фізичні властивості порід та руд

Баланс запасів по шахті ім. Фрунзе наступний:

А - 5170 тис.т.

В - 30720 тис.т.

С1 - 24583 тис.т

С2 - 13714 тис.т.

А+В+С1 - 60473 тис.т.

Структура балансових запасів:

А+В - 48,4%

С1 - 33,1%

С2 - 18,5%

Структура промислових запасів:

А+В - 59,3%

С - 40,7%

Потужність порід та руд:

-         мартитова руда f=5-6; 7-8; 9-10;

-        джеспілітові руда f=12-14; 14-16;

-        гетит-гематитова руда f=3-4; 4-5;

-        мартит-гематитова руда f=10-12;

-        кварцит-мартитова руда f=14-16;

-        кварцит-гетит-гематитова руда f=9-10; 11-13;

-        талькові сланці f=2-3;

Питома вага руди;

«Западная ш.8» - 3,63 т/м3;

«V-VIII Северная» - 3,61 т/м3;

«Диагональная» - 3,28 т/м3;

«Саксаганская ш.2» - 3,38 т/м3;

«Новая» - 3,46 т/м3;

«Северная ш.5» - 4,00 т/м3;

Питома вага вміщуючи порід:

Джеспіліт (К2) - 3,54 т/м3;

Кварцит марганця (К2) - 3,44 т/м3;

Гетит-гематит, кварцит (К2) - 3,26 т/м3;

Кварцит (К2) - 3,26 т/м3;

Кварцит-гематитова порода - 4,94 т/м3;

1.1.6 Гідрогеологічна характеристика

У межах гірничого відводу шахти ім. Фрунзе підземні води пристосовані до осадковим відкладенням у товщі кристалічних порід докембрійського віку. Основним джерелом обводнення корисних копалин у процесі відробки є водоносний горизонт кристалічних порід.

Спостереження за водопритоками систематично проводяться на водомірних постах по розкриваю чому експлуатаційному і раніше відробленому верхньому горизонті з частотою два, три рази на місяць.

Притоки вод з тріщин шпурів розвідувально-дренажних свердловин по стовбурам замірялись об’ємним методом. Контроль за виробничністю водовідливів здійснюється один раз в квартал комісією у складі: головного мехніка, головного енергетика і геолога.

По хімічному складу підземні води поряд Гданцівської світи відносяться до сульфатно-хлоридно-натрійному типу з мінералізацією 3-50г/л. з глибиною мінералізація зростає. Підземні води агресивні по відношень до бетону і металу.

Проби підземних вод на хімічний склад, відбирались поквартально з дренажних свердловин, тріщин та капежу, а також з водозбірників, стовбурів та блоків вибросу паводкових вод, басейну технічних вод.

Різниця в притоках води по шахті у порівнянні з даними геологічної служби і виробничістю наносів не перевищує 4-10%.

У звітному разі відсутність водовідливу на горизонті 985м призвело до ускладнення проходки гірничо-підготовчих виробок по південному крилу горизонту 910м, як по багатим, пористим, тріщинуватим мартиновим рудам, так і по вміщуючим доволі забрудненим породами.

2. ГІРНИЧА ЧАСТИНА

.1 Розкриття родовища

Схема розкриття родовища шахти ім. Фрунзе діагональна. Головний стовбур шахти знаходиться проти центру запасів лежачого боку: діаметр стовбур в світлі 44м2, закріплен спеціальним бетонним кріпленням. Обладнаний клітьовим та скіповим підйомом, драбинним ходом, трубним і кабельним відділенням.

Від стовбура шахти ім. Фрунзе до покладу пройдені двопуттеві квершлаги, січенням 13,6м2, обладнані двома нитями рельсових путів, ширина колії 750мм.

На флангах шахтного поля знаходяться шахти Південно-Вентиляційна, переріз якої 136м2, Північно-Вентиляційна, перерізом 7,5м2 та Північно-Глеюватська перерізом 7,5м2.

Розкриття рудних покладів здійснюється здвоєними поверхнями, загальна височина яких складає 160м та заклечається, з яких у лежачому боці родовища проходяться відкотні польові штреки.

.2 Підготовка горизонту

Від квершлагу на північ та південь проходять відкотні штреки, середня відстань яких до покладів 40-50м. із відкотних штреків проходяться відкотні орти, вкрест простягання покладу, відстань між ними змінюється від 40 до 80м, в залежності від розташування покладу. Відкотні орти проходяться далеко в породу вищого боку з метою розвідки.

Січення штреків та ортів 10,2м2, кріплення встановлюється в залежності від потужності порід.

Штреки та орти обладнані рельсовими путями, контактний дріт підвищений на височині 2000мм, по штреку та орту укладені повітряно-водяні мережі та водяні кабелі.

Ширина вільного проходу 1000мм, для стоку води є водовідливна канавка.

.3 Підйом, транспорт, вентиляція та водовідлив

Для вивозу гірничої маси із дільниці до стовбуру застосовуються електровозиК-14М, вагонетки, місткістю ВГ-4,5м3.

Для розвантаження вагонів з гірничою масою застосовуються круговий опрокид ОНЕ-2-4,5.

Для прийому. Дроблення та загрузки руди у скіпи проектом передбачається на горизонті 910м у стовбура шахти ім. Фрунзе будівництва дробільно-бункерного комплексу. Що забезпечує розділену видачу на поверхню розубоженої руди.

У скіповому руд дворі шахти ім. Фрунзе на двох горизонтах передбачається установка трьох опрокидувачів з пропуском електровозу. Загрузка потягів рудою виконується з рудовипускних підняттєвих, обладнаних автоматизованими люками.

Підйомні установки.

Скіповий підйом: СДНЗ-1861-40, потужність 4000кВт, об’єм скіпа 20т, підйомна машина БЦКБ-8/5-2,7. Клітьовий підйом: підйомний двигун типу ПБК-380/80, потужність 630кВт. Кліть інспекторська К1-2-16.

Провітрювання експлуатаційного блоку в осях 43-49горизонту 910м здійснюється наступним чином: свіже повітря по відкотному орту 41 осі поступає в штрек скреперування, після чого забруднений йде у вентиляційний підняттєвий, а по ньому на верхній горизонт.

Водовідлив на шахті ім. Фрунзе здійснюється наступним чином: на горизонті 410м насосна камера обладнана трьома насосами ЦНС-300. Об’єм водозбірника 950м3. На горизонті 755м встановлено два насоса ЦНС-300 та один насос ЦНС-180. Об’єм водозбірника 1766м3.

Вода горизонтів 490м, 755м самопливом по гезенкам зливається у водозбірник на горизонті 755м, звідки по двум ставам водопідйомних труб, діаметром 250мм подається в водозбірник горизонту 410м і з поверхню в колектор шахтних вод «Кривбасспромводоснабжение». З горизонту 835м двома насосами ЦНС-105 та одним насосом ЦНС-180 по ставу труб, діаметром 159мм вода подається у водозбірник горизонту 755м.

.4 Технологія робіт з виїмки блоку

.4.1 Геологічна характеристика родовища

Дана дільниця розташована у північній частині родовища «V-VIII Северная» приурочена до джеспілітів п’ятого горизонту основного простягання та маючого пластообразну форму.

Горизонтальна потужність 13-15, кут падіння 50-550, родовище представлене мартиновою рудою f=5-6 середньої тріщіноватості, середньої стійкості в лежачому боці сильно гідротизованою.

У лежачому боці просліджується примазка руди гетит-гематитової, потужність 1,5-3м, сильно тріщінуватої, низької стійкості.

Середній вміст заліза в масиві Fемас=60,86.

Вміщуючи породи представлені:

-         в лежачому боці, кварцитами гетит-гематитовими f=9-10, сильної тріщинуватості, низької стійкості, з середнім вмістом заліза Fе=24,4;

-        з висячого боку джеспілітами мартиновими f=17-18, середньої тріщинуватості, стійким з середнім, з середнім вмістом заліза Fе=40,1;

Обводненість по родовищу характеризується середньою, містами сильним капежам.

2.4.2 Підготовчі роботи

Ураховуючи гірничогеологічні умови родовища, фізико-механічні властивості руди та вміщуючи порід, проектом передбачається відробка родовища у вісях 43-49 виконати підетажно-камерну систему розробки з відбійкою віял свердловин на вертикальний компенсаційний простір.

Розрахунок параметрів блоку виконується згідно з інструкцією «Определение и контроль допустимых размеров конструктивных элементов систем разработками на рудниках Кривбаса «НИГРИ», 1987г.

Отримані геометричні параметри системи:

-         розмір камери по простяганню а=32м;

-        розмір камери по падінню в=45м;

         товщина потолочини h=15м;

         ширина між камерного целіка с=13м;

Підготовчі роботи починаються з проходки у лежачому боці покладу відкотного штреку з нього по вісям 41+17,5 та 47+10,0м, проходяться відкотні орти. Із штреку на верхній горизонт проходяться вентиляційний підняттєвий до верхнього відкотного горизонту 835м.

.4.3 Нарізні роботи

З відкотних ортів до горизонту 872м проходяться рудоспуски. На горизонт 872м із рудоспусків проходяться штреки скреперування, які з’єднуються з вентиляційно-ходовим підняттевим вентиляційними ортами, а з вентиляційним підняттевим - вентиляційним ортом.

Із штреку скреперування проходяться парні дучки до горизонту 864м. З горизонту 872м до горизонту 864 та 849м проходяться рудоспуски, з яких проходяться бурові штреки в породах лежачого боку. Бурові штреки з’єднуються з вентиляційним підняттевим вентиляційним ортом.

З дучки проходять відрізний підняттевий і із нього відрізні орти. Для виїмки потолочини із відкотних ортів 835м роблять бурові камери.

Після проходки нарізних виробок призволять здачц блока в експлуатацію.

Для здачі блоку в експлуатацію необхідно пройти та закріпили усі виробки у блоці, передбачені проектом. До моменту здачі блока в експлуатацію виробки основного горизонту повинні бути освітлені місця установки скреперних лебідок, обладнані засобами пожежегасіння, сигналізацією та пилеподавленням у відповідності з типовим паспортами-проектами.

Обладнати кладову ВМ, камери КАВС у відповідності з типовим паспортом.

Здача блоку оформлюється актами.

.4.4 Очисні роботи

Очисна виїмка у блоці починається після здачі блоку в експлуатацію, з утвореної підсічки.

Відрізна камера утворюється вибухом шарів руди на відрізний підняттєвий віял свердловин, пробурених із відрізних ортів.

Попередньо перед відсічною щілиною розгораються вороник.

Виїмка запасів камери виконується послойним вибухом віял глибоких свердловин, пробурених з бурових штреків 849м та 864м горизонтів. Порядок вибуху на відсічну щілину з попередженням розгортання воронок кільцевими віялами штангових шпурів.

Обвалення потолочини виконується на камеру, шляхом вибуху віял свердловин. Пробурених з 835м горизонту.

.4.5 Провітрювання

Свіже повітря повинно надходити в усі кутки виробок.

Свіже повітря у блоці надходить зі сторони ствола шахти ім. Фрунзе по горизонту 910м. Провітрювання виробок при проходці вертикальних - довжиною вище 6,0м горизонтальних - довжиною більше 10,0м призводиться за допомогою вентиляторів.

Забороняється провітрювати глухих забоїв струмом стиснутого повітря від загальної мережі без ежекторів.

На проходку вертикальних виробок складають проект організації робіт, затверджені головні інженером шахти.

Підняттєві повинні бути обладнані засобами дистанційного контролю якісного складу повітря згідно §148 ЕПВ.

3. СПЕЦІАЛЬНА ЧАСТИНА

.1 Характеристика опірних мереж

Підземні маркшейдерські опірні мережі в головною геометричною основою для виконання зйомок гірничих виробок та рішення гірничо-геометричних задач, зв'язок із забезпеченням правильної та безпечної розробки корисних копалин.

Для орієнтування та центрування підземних опірних мереж у якості підхідних пунктів використовуються пункти тріангуляції (полігонометрії) 1 розряду або опірних мереж більш високого класу.

Підхідні пункти розташовують не далі 300м від гирла шахтного стволу. На шахті ім. Фрунзе підхідний пункт розташований від гурла стовбуру на відстані 217,45м та закріплений постійним центром.

На промисловому майданчику шахти в 3 репери; крім того, в надшахтній будівлі, у безпосередній близькості від гирла стовбура, є два стінних репера. Висоти реперів визначають нівелюванням не нижче IV класу.

У період розробки родовища усі знов пройдені бути використані для примикання підземної опірної мережі до пунктів опірної мережі на поверхні.

Підземна опірна мережа шахти складається з полігонометричних ходів, які прокладають по головним підготовчим виробкам, розділених гіросторонами по секції.

Опірні мережі складаються у вигляді замкнених, розімкнутих та висячих ходів. Висячи ходи повинні бути прокладені двічі або примкнені до гіросторін. Розімкнені ходи прокладають між вихідними сторонами мережі.

Висоти пунктів визначаються геометричним або тригонометричним невілюванням.

Пункти підземних маркшейдерських опірних мереж у залежності від сторін їх існування та способу закріплення поділяються на постійні та тимчасові.

Точність вимірювань у полігонеметричних ходах характеризується наступним показниками:

-         середня квадратична похибка вимірювання горизонтальних кутів - 20’’, вертикальных - 30’’;

-        середня квадратична похибка гіроскопічного орієнтування - 1’’;

         розходження між двома вимірюваннями ліній світлодальномірами - не більше 3мм, сталевими рулетками - 1:3000 довжини сторони.

По мірі розвитку гірничих робіт опорні мережі при необхідності реконструюють. Після реконструкції опірної мережі зміни у положенні пунктів полігонометрії не повинні завищувати 1,2мм на плані, а при розробці світи крупних пластів - 1,5мм.

Орієнтування підземної маркшейдерської опірної мережі проводилося незалежно двічі. Розходження у результатах орієнтування однієї тієї самої сторони не повинно перевищувати 3'. За остаточне значення дрекційного кута приймають середнє взвішене значення.

Центрування мережі здійснюється примиканням до вісків, зпущених у вертикальні гірничі виробки. Координати вісків визначаються положенням від підхідних пунктів полігонометричних ходів 2 розряду.

Розходження в положенні пункта, визначеного по двум незалежним проектуванням через одну вертикальну виробку не повинно перевищувати 0,01Н при Н>500м, де Н - глибина стовбуру, м.

Кутові вимірювання

Кути у підземних полігонометричних ходах вимірюються теодолітами Т15.

При використанні шпурових вісків для центрування теодоліта або сигналу повинні бути прийняті міри по відгородженню віска від впливу повітряного струму.

Вимірювання кутів у виробках з кутом нахилу більше 300 рекомендується способом прийомів (не менше двох), ураховуючи наступні правила:

-         перед кожним прийомом встановлюють вертикальну вісь теодоліту у відвісне положення та повторно центрують приклад;

-        перед повторним вимірюванням кута початковий відлік змінюють на 1800;

         перед використанням постійних пунктів мережі вимірюють контрольний кут.

Результати вимірювань кутів заносять у журнал кутових та лінійних вимірювань.

Лінійне вимірювання.

Довжини сторін в полігонометричних ходах вимірюються сталевими компарированими рулетками, світлодальномірами та іншими приладами. Сталеві рулетки повинні бути прокомпарировані з відносною похибкою не більше 1:15000.

Лінійні вимірювання виконують при постійному натягу мірного приладу, що дорівнює натяги при ком парируванні. Силу натягу фіксують динамометром. Температуру повітря ураховують у тому випадку, якщо зміна її відносно температури компарування перевищує 50.

Сторони полігонометричних ходів вимірюють двічі в прямому та зворотному напрямках.

Визначення височин пунктів опорної мережі.

Висоти у гірничих виробках на пункти опорної мережі переказують незалежно двічі через вертикальні, похилі або горизонтальні гірничі виробки.

Передачу височин через вертикальні гірничі виробки рекомендується виконувати довгими шахтними стрічками, довжиноміром або іншими приладами.

При передачі висот довгою шахтною стрічкою, повторні вимірювання виконують після зміни положення стрічки та невіліру.

Температура повітря при передачі височин вимірюють на початку та кінці роботи на земній поверхні та на горизонті біля стовбурного двору.

Розходження між двома незалежними передачами висот по вертикальним виробкам не повинно перевищувати (мм):

Δh=(10+0.2H)

де H - глибина стовбура, м.

за остаточне значення висоти приймають по виробкам з кутом нахилу менше 50. Тригонометричне невілювання по похилим вирбкам рекомендується виконувати одночасно з прокладенням полігонометричного ходу.

При передачі висот тригонометричним нівелюванням вертикальні кути вимірюють теодолітами типа Т15 одним прийомом у прямому та зворотньому напрямках. Розходження значень місця нуля не повинно перевищувати 1,5’.

Висоти інструмента та сигналів вимірюють рулеткою двічі, відліки беруть до міліметрів.

Різниця привищень для однієї та тієї ж лінії не повинно бути більше 0,4lмм, де l - довжина лінії, м. Для усього ходу розходження в привищеннях не повинно перевищувати , де L - довжина ходу, км.

При технічному нівелюванні прокладають замкнуті ходи або висячі в прямому або зворотному напрямках. Відстань між нівеліром та рійками не повинна привищувати 100м. Відліки по рійкам беруть до міліметрів.

Розходження у привищенням на станції, визначених по чорним та червоним сторонам рійок або при двох горизонтах інструменту, не повинно перевищувати 10мм.

Нев’язки ходів технічного нівелювання не повинні перевищувати , де L - довжина ходу, км.

3.2 Обов’язки дільничного маркшейдера

Дільничний маркшейдер відповідає за стан маркшейдерських робіт на закріплений за ним дільниці гірничого підприємства та має право:

-         зупиняти гірничі роботи на підконтрольних йому дільницях у тому випадку, якщо вони ведуться з порушеннями або відхиленням від затверджених проектів або паспортів, а також якщо забої не підготовлені для виконання маркшейдерських робіт;

-        зупиняти проходку виробок при підході їх до небезпечних зон;

         давати передписання керівникам підконтрольних дільниці на зупинку і підготовку потрібного забою до маркшейдерської зйомки;

         вносити свої поправки по зміні проектів ведення гірничих робіт;

         давати вказівки керівникам, які обслуговують дільниці про повноту виїмки корисних копалин і якість проходки гірничих виробок.

Дільничний маркшейдер повинен:

-         виконувати роботи по виробництву опорних мереж, зйомці і замірах гірничих виробок, камеральній обробці матеріалів зйомки, складання с своєчасне виконання графічної документації, а також її поповнення з метою виносу в натуру проектів гірничих будівель;

-        задавати напрямок гірничим виробкам у горизонтальній та вертикальній площинах;

         наглядати за правильністю проходки виробок згідно проектів і заданих напрямків;

         контролювати по відкотним виробкам правильність настилу рельсового шляху;

         брати участь у складанні календарних планів розвитку гірничих планів по дільниці та шахті;

         складати маркшейдерський звіт по дільницям, дані пред’являти у інші відділи шати;

         бракувати гірничі виробки, які виконані з відхиленням від проекту або паспорта;

         на сонові маркшейдерських зйомок складати план і постійно його поповнювати;

         виконувати необхідні заміри для виконання схем та опису нещасних випадків;

         бути присутнім у комплексних цільових перевірках по охороні праці;

         контролювати проходку виробок зустрічними забоями і своєчасно попереджати начальника дільниці і головного інженера шахти про зближення забоїв;

         контролювати послідовність ведення гірничих робіт у блоках.

.3 Маркшейдерське обслуговування гірничих робіт у блоці

Для правильної підготовки та відробки рудного масиву необхідний своєчасний та постійний контроль зі сторони маркшейдерської служби.

Від маркшейдерської служби вимагається, щоб блокові виробки проводились у відповідності з проектом та фіксуванням у натурі направленням.

.3.1 Маркшейдерське обслуговування проходки підготовчих виробок

Основні роботи у період підготовки блоку заключаються:

1.        У завданні напрямку відкотним ортам.

2.      У завданні напрямку блоковим підняттєвим.

3.3.1.1 Завдання напрямку відкотному орту по вісі 41+17,5м

горизонту 910м

Підготовка блоку починається з проходки відкотних ортів по вісі 41+17,5м та 47+10м на горизонті 910м.

Для проходки ортів виконується завдання напрямку проходки у горизонтальній та вертикальній площинах.

Завдання напрямку у горизонтальній площині.

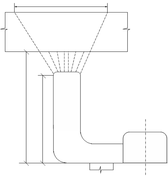
Сполучення орта з відкотним штреком виконується по кривій радіусом 25м. Криволінійна частина орта повинна бути пройдена особливо ретельно так як неправильно пройдена крива ускладнює роботу транспорту, призводить до частих аварій з руховим потягом.

Підготовка вихідних даних для завдання напрямку криволінійної частини орта, у горизонтальній площині, ведеться графічним способом, для чого складається креслення у масштабі 1:200 (мал.. 3.1).

Паралельними кривими викреслюються стінки орта. Точки перетину бокових стінок орта та штреку (а і б’) визначають місце розсічки орта.

Маркшейдер складає ескіз розсічки орта, який використовується проходчиком.

Після виконання розсічки проходчиком задається напрямок.

Завдання напрямку проходки орта виконується наступним чином: проти розсічки закладається точка 137, за знімається і наноситься на план через точку 137 проводимо прямий прямолінійний напрямок та обчислюємо дані для його закріплення у шахті.

Для цього графічно отримуємо його дирекцій ний кут α01 і враховуємо βн1

βн1 = α01 - α137-113

У шахті встановлюємо теодоліт у точці 137 відкладаємо βн (при КП і КЛ) та закладаємо напрямок точки Н. Заснімаємо її та наносимо на план.

Виконуємо контроль правильності завдання напрямку. Обчислюємо координати точи Нусл, яка знаходиться на відстані 320м від точки 137, та наносимо її на план, через точку Н, т. 137 та Нусл, проводимо лінію (мал. 3.2)

Мал. 3.2 - Контроль завдання напрямку

Завдання напрямку орту-заїзду


Детальне завдання напрямку

Виконується наступним чином: по прямолінійному напрямку відкладаємо відрізки по 2м, отримуємо точки 1, 2, 3,…,6. Через ці точки проводимо перпендикуляри від напрямку до перетину зі стінками орта. Відстань від точки по перпендикулярам вимірюємо графічно та заносимо на план (мал. 3.1).

Гірничому надзору видається ескіз завдання напрямку.

По досягненню забоєм точки 138 задається напрямок слідкуючої ділянки проходки орта аналогічно першому.

По досягненню забойом точки 139 призводиться завдання напрямку прямої частини орта.

Зйомка пройденої частини

Виконується від пунктів 137, 138, 139. результати зйомки наносяться на план, по якому судять о правильності проходки орта.

По мірі подвигання забоя орта, приблизно через 20-25м, виконують доповнювальну зйомку виробки та інструментальне завдання напрямку з закріпленням нових точок. Дозволяється відставання маркшейдерських точок від забоя виробки до 100м.

При поповню вальній зйомці, виконуються заміри січення виробки (ширину та висоту), контактові руди з порожніми породами, тектонічні порушення та їх елементи залягання. Заміри виконують методом ординат відносно сторін знімального полігону. Положення контактів різних порід і якісного складу руди встановлюються геологічною службою. Результати зйомки з ескізу переносять на маркшейдерські креслення.

Завдання напрямку у вертикальній площині призводиться наступним чином:

У бічних стінках орта на відстані 2,0м один від другого закладається дві пари реперів (мал. 3.3)

Мал. 3.3 - Завдання напрямку у вертикальній площині

а) план

б) розріз

Репери Rp розташовуються в протилежних стінках виробок на однаковій відмітці (на висоті 1м від підошви виробки).

Визначаються відліки другої пари реперів по формулі:

                                                   (3.2)

де Δz - проектне перевищення другої пари реперів над першим.

Перевищення обчислюється за формулою:

                                                   (3.2)

де l - відстань між парами реперів, м.

іпр - проектний схил орта.

Перевірка схилу орта виконується наступним чином: Між реперами Rp2п та Rp2л також натягується шнур. Створ цих шнурів проектується на забої виробки. Відстань по вертикалі від отриманої лінії до підошви повинно бути 1м до кровлі різниці височин виробки відняти 1м.

Перевірка виконується шляхом геометричного нівелювання. По результатам нівелювання складається проектний та фактичний профілі підошви та кровлі.

.3.1.2 Завдання напрямку проходки

У першу чергу проходяться вентиляційний підняттєвий (ВП1) по вісі 45+5м, рудоспускний підняттєвий (РС1) по вісі 41+8, рудоспускний підняттєвий (РС2) по вісі 47+12м, вентиляційно-ходовий підняттєвий (ВХП1) по вісі 41+13м, вентиляційно-ходовий підняттєвий (ВХП3) по вісі 49м, та господарчий підняттєвий (ГОСП) по вісі 47+12м.

Підняттєві ВП1, ВХП3 та ГОСП1 похилі, підняттєі РС1, РС2, ВХП1 - вертикальні.

Маркшейдерські роботи при проходці вертикальних підняттєвих

Поділяються на слідуючі етапи:

-         відмітка у натурі місць для розсічки підняттєвих;

-        завдання напрямку проходки у горизонтальній площині;

         зйомка фактичного положення.

Відмітка точок закладання підняттєвих призводиться графічним способом. На плані горизонту 910м показується проектне положення підняттєвих (олівцем).

Місця для розсічки підняттєвих визначаються на плані відносно точок теодолітного ходу. У польовому журналі складається ескіз (мал.. 3.4) позначенням точок полігона та відстані до вісей виробок.

У шахті від полігонометричних точок, у стволі їх відкладають відстань до вісі підняттєвого; окомірно встановлюють до створу перпендикуляр та на боковій стіні виробки крейдою прокреслюють риску, визначаючу вісь для розсічки підняттєвого.

Попутно з вказанням вісей для розсічки підняттєвих закладають прохідні точки (П1 та П2) та призводять їх зйомку.

О зроблених у натурі відмітках, о формі та розмірах заходах маркшейдер повідомляє гірничому надзору і записує у книзі маркшейдерських вказівок.

Проходчиком повинно бути повідомлено довжина та напрямок заходки (мал. 3.4).

Мал. 3.4 - Ескіз сполучення підняттєвих з ортом заїздом:

а) рудоспускний підняттєвий б) господарчій підняттєвий


Завдання напрямку

Для проходки вертикальних підняттєвих достатньо у натурі вказати положення його центру. По плану вимірюють відстань (S) від підхідної точки (П1) до центру вентиляційно-ходового підняттєвого (ВХП1) та відкладають його у натуру (мал. 3.5 б). А для рудоспускного підняттєвого обчислюється похила довжина

 (мал. 3.5)

Мал. 3.5 - Завдання напрямку вертикальним підняттєвим:

а) рудоспускному підняттєвому (РС)

б) вентиляційно-ходового підняттєвого (ВХП1)



Точка Ц відмічається у кровлі виробки (крейдою), проходчик відносно точки Ц розміщує шпури (У відповідності з паспортом проходки підняттєвих).

Зйомка підняттєвих

У центрі підняттєвого точки Ц опускають відвіс та заснімають його з підхідних точок. Висота забоя вимірюється рулеткою.

При значном відхілу підняттєвого від вертикального положення зйомка відвісь, не дойшового до основного горизонту, виконується теодолітом (мал. 3.6).

По виміряним величинам (β=<138-П2-а; δ-кут нахилу, S-відстань) обчислюють координати центру забоя.

Результати зйомки підняттєвих наносять на план горизонту 872м та розріз по вісі 43м (мал. 3.7 та мал. 3.8)

Мал. 3.6 - Зйомка вертикального підняттєвого


Мал. 3.7 - План горизонту 872м


Мал. 3.8 - Розріз по 43 вісі


.3.2 Маркшейдерське обслуговування проходки виробок

горизонту скреперування

На горизонті скреперування 872м зразу проходяться вентиляційні орти, потім штрек скрперування.

Маркшейдерське обслуговування виробок горизонту скреперування проходки заклечається у:

-         вказівці місця розсічки ортів (по висоті та по напрямку);

-        орієнтуванні горизонту 872м;

         завданні напрямку у горизонтальні площині та контролі правильності проходки;

         проходці дучок.

3.3.2.1 Вказівка місця розсічки вентиляційного орта по вісі 41+13м горизонту 872м

На розрізі по 43 вісі наносять проектне положення вентиляційного орта та визначають відстань від підошви орта-заїзду до підошви вентиляційного орта. Цей рівень позначається горизонтальною рискою (крейдою).

Вказівка місця розсічки по напрямку виконується окомірно. Напрямок вентиляційного орта збігається з напрямком відкотного орта.

Вказівка місця розсічки вентиляційних ортів по вісям 45+5м, 49м горизонту 872м виконується аналогічно.

.3.2.2 Орієнтування горизонту 872м

Орієнтування горизонту скреперування виконується після розсічки ортів.

Орт по вісі 41+13м орієнтується через вертикальний підняттєвий ВХП1, вентиляційний орт по вісі 45+5м через похилий підняттєвий ВП1, орт по вісі 49,00 орієнтуємо через похилий господарчий підняттєвий ГОСП1.

Орієнтування під поверхових виробок займає значний об’єм робіт у маркшейдерському обслуговуванні.

При наявності у блоці двух вертикальних піднтяттєвих та можливості їх використання для мети орієнтування останнє повинне виконане способом «через дві вертикальні шахти».

У всіх випадках повинен бути вибраний підняттєвий, найбільш прямолінійний, маючий невелике січення та не захарущуватий обладнанням.

Якщо для з’єднувальної зйомки може бути використаний тільки блоковий підняттєвий, то і у цьому випадку маркшейдер повинен його попередньо оглянути для рішення питання о методі зйомки та виборі місця розташування знімальних пунктів.

Значне зпрощення польових та обчислювальних робіт при орієнтуванні через один вертикальний підняттєвий досягається при примкнені до відвісів способом створа (мал. 3.9)

Мал. 3.9 - Орієнтировка горизонту 872м способом створених точок




На точність орієнтування цим способом впливає висота орієнтируємого горизонту, так як чим більше висота, ти більше коливальних рухів відвісів, що ускладнює установку теодоліта у їх створі.

Похибка передачі дирекційного кута складається з похибки проектування точок з одного горизонту на інший за допомогою відвісів та похибки встановлювання теодоліта у стволі.

Якщо прийняти відстань між відвісами L=0.7м та мінімальну похибку проектування е=0,0001м, то кутова похибка mα1 у передачі дирекційного кута по цій причині виразиться величиною:


Якщо урахувати, що при встановленні теодоліта у створі відвісів візування лінія проходить дотично до протилежних поверхонь відвісів, а не через їх центр, то при діаметрі відвісів, рівнем 0,001м, кутова помилка

та загальна похибка орієнтування при даних умовах буде рівна:


Ця помилка буде різко зменшуватись із збільшенням відстані між відвісами, до чого і слідує по можливості прагнути.

Одночасно з орієнтуванням виконується передача на горизонт скреперування висотної відмітки.

У вертикальних підняттєвих, де може бути спущена рулетка, виконується передача координати z геометричним способом (мал. 3.10)

                                                          (3.3)

де Δz=(b-a)+(m-n)

де а, b - відстань від візирної точки до візирної вісі нівеліра;

m, n - відмітка по рулетці проти візирної вісі нівеліра або горизонтально направленої візирної вісі теодоліта.

Мал. 3.10 - Передача координати Z

Орієнтування горизонту 872м через похилий вентиляційний підняттєвий (ВП1)

Для орієнтування горизонту 872м через вентиляційний підняттєвий (ВП1) проектую використати спосіб похилого шнура.

Схема робіт при орієнтуванні за допомогою похилого шнура представляється у слідуючому вигляді.

На орієнтуємому горизонті у точці 1 (мал. 3.11) закріплюється один кінець дроту, другий кінець протягується та закріплюється у точці П, на основний горизонт. У 3-4 метрах від точки П до дроту підвішуємо відвіс з легким тягарем. Теодоліт встановлюємо під точкою П та вимірюємо горизонтальний кут т.175 Па.

На орієнтуємому горизонті штатив теодоліту встановлюється у створі похилого дроту та відвісь в, що легко здійснити протяганням рулетки дотичною до них. Потім переміщенням теодоліта по доставці штативу досягається точне зміщення візирної площини інструменту, з похилим дротом та відвісам в. Спроектувати за допомогою відвісь центр інструменту на крівлю виробки, закріплюють точку 2.

Мал. 3.11 - Орієнтування горизонту 872м способом похилого шнура


Лінія 1-2 лежить у тій же вертикальній площині, що і похилий дріт 1-П, та має однаковий з нею дирекцій ний кут.

Для визначення координат точки 1 необхідно також виміряти довжину похилої лінії 1-П (вздовж дроту) та кут її нахилу.

копалина родовище маркшейдерський гірничий

3.3.2.3 Завдання напрямку вентиляційному орту по вісі 41+10м горизонту 872м

Після орієнтування цього горизонту виконується зйомка пройденої розсічки. Розсічка наноситься на план. Олівцем вказується положення орта.

Графічно визначається дирекційний кут вісі орта.

Значення горизонтального кута для вказівки напрямку на проходку орта (βн) визначається по формулі:

βнвісі - α2-1                                                       (3.4)

У шахті встановлюється теодоліт у точці 2 відкладаємо кут βн (при КП та КЛ) за закріплюємо точку Н1 (мал. 3.12)

Мал. 3.12 - Завдання напрямку вентиляційному орту


Потім відкладаємо кут βн-1800 та закріплюємо точку Н2 (при КП та КЛ). точки Н1 та Н2 зазнімаємо та наносимо на план горизонту 872м.

Контроль правильності завдання напрямку виконується аналогічно описаному у пункті 3.3.1.1.

Аналогічно задається напрямок усім вентиляційним ортам.

По мірі проходки вентиляційних ортів розсікається штрек скреперування та задається напрямок.

По мірі проходки ортів через 10-15м виконується поповнювальна зйомка та одночасно закріплюються точки у місцях сполучення їх зі штреком скреперування.

Кути для вказівки штреком обчислюються по різниці дирекцій них кутів підхідних сторін та проектного кута вісі штреку скреперування.

Штрек скреперування проектую проходить зустрічними забоями. Необхідно щоб відмітки підошви розсічки штреку були рівні. Допустима різниця не повинна перевищувати 0,25м.

Після проходки штреку скреперування проектую виконати контрольну орієнтировку через РС1 та РС2 методом «через два стовбури».

По мірі проходки штреку скреперування відмічається місця розсічки дучок.

.3.2.4 Проходка дучок

Випускні дучки проходять без інструментальних вказівок, але прохідника повідомляють про переріз та висоту дучок, про форму їх сполучення з ортами.

Приклад вірної з точки зору вимог нормального випуску руди, проходки випускних дучок наведений на (мал. 3.13).

Мал. 3.13 - Проходки дучки

Наявність проходки під дучку забезпечує збереження кріплення, збільшує над штрековий цілик та охороняє виробку від повного пересипання її відбитою рудою.

Дучку проходять вверх на висоту до 5м, а потім вибухом підняттєвих шпурів розташовують верхню частину дучок до рівня підсічного простору. Приймальна воронка створюється за рахунок розширеної частини дучок та трикутників з відбитої руди (мал. 3.14).

По закінченні проходки виконується зйомка устів та вибоїв випускних дучок наноситься на план горизонту 872м.

Мал. 3.14 - Проходка дучок на утворення воронки


Маркшейдерські роботи на горизонті скреперування вважаються закінченими після зйомки та нанесення на план усіх виробок цього горизонту, після замикання усіх теодолітних та нівелірних ходів.

3.4 Виконання маркшейдерських замірів гірничих робіт

Усі гірничі роботи повинні виконуватися згідно утвердженим проектом, річним планом розвитку гірничих робіт. Роботи виконані з порушенням проекту, виключаються із виконаних об’ємів і оцінюються як брак.

Маркшейдерські служби при виконанні маркшейдерських замірів виконаних об’ємів гірничих робіт надлежить встановити:

-         фактичне положення гірничих робіт на кінець звітного періоду;

-        об’єм гірничих робіт по виробці, горизонту та вцілому по шахті;

         наявність залишків корисних копалин на складах;

         розподілення виконаних об’ємів по видам робіт;

         відповідно виконаних гірничих робіт встановленої документації і плану розвитку гірничих робіт.

Усі проведені на місті заміри з відміткою відповідною їх проекту записуються у польовому книгу замірів, відмічаються забраковані роботи і підписуються лицем, проводящим заміри. Польова книга замірів являється основним начальним документом, заповнення її повинно бути чітким, без помарок, з обов’язковим веденням зарисовок, ескізів. Неправильно записані цифрові данні акуратно перекреслюються та пишуться нові.

Записи повинні вестись так, щоб інший маркшейдер міг встановити чи проконтролювати результати замірів.

Забороняється виконувати записи, не відносящі до заміру, записувати данні замірів і вести обрис на окремих листах.

Перед кожним заміром начальник відділу зобов’язаний провести гірничі виробки в безпечне положення. Забороняється проведення маркшейдерських замірів в умовах невідповідних техніці безпеки.

Спільна методика керівництва маркшейдерськими замірами виконується головним маркшейдером підприємства.

Головний маркшейдер гірничодобувного підприємства забов’язаний письмово ставити до відомого письмово ставити до відома головного маркшейдера вищестоящої організації про розпорядження керівників підприємства по веденню у виконанні роботи невиправного браку.

Для контролю якості проведення маркшейдерських робіт і заміром на дільниці головним маркшейдером не рідше одного разу у квартал, а старшим не рідше одного разу на місяць, проводиться виборочна перевірка покладу, обчислювальної та схематичної документації, а також виконується контрольні заміри.

Перевірка контрольних замірів і документації проводиться при обов’язковій присутності дільничного маркшейдера, робота якого перевіряється.

Пропонування та зауваження по результату перевірки запускається у перевірений документації.

Різниця між замірами першого (основного) і контрольного заміру не повинна перевищувати:

-         для підвивання забоя капітальних, підготовчих розвідувальних та нарізних виробок ±30см від останнього пункту з знімальної мережі до забою;

-        у визначенні основних розмірів виробленого простору (довжин забоя та підвигання) помилка не повинна перевищуватись 1:100.

Коли дата маркшейдерського заміра чи знімка не відповідають звітному періоду, то об’єм добичі, прохідних робіт за період між зйомкою (заміром) і кінцем звітного періоду приймається на основі справок, виданих за підписом особи, відповідної з звітний період; у об’ємі не преривного середньодобового плану підприємства поточного місяця. У випадку збільшення в ці дні фактичної добової добичі понадплан чим на 20%, підтверджувати прийнято об’єм актами комісії у складі представників відділу ВТК та бухгалтерії.

Маркшейдерські заміри залишків продукції на складах у кінці звітного місяця проводится не раніше чим за дів дні до його кінця.

Маркшейдерська служба гірничого підприємства відповідає за достовірність відповідних об’ємів виконаних гірничих робіт і залишків корисних копалин на складі у день заміру, за точність зйомки і замірів, за правильність контроля відповідаю чого геометричним параметрам гірничих виробок їх проектним даним в дотриманні напрямку, перерізу і габаритів, за якість ведення маркшейдерської документації.

Виконання маркшейдерських замірів.

При замірі виконаних гірничих робіт маркшейдерська служба перевіряє відповідність проектним даним розмірів очисних виробок, целіків та інших елементів систем розробок; як правила, у світлі проходки; геометричність параметрів гірничих виробок; витривалість проходки виробок, по напрямку та схилу; глибина вибухових свердловин, а також виконує необхідні вимірювання для визначення об’ємів виконаних гірничих робіт.

За 3-2 дні дільничний маркшейдер при необхідності виконує додаткову планову та висотну зйомку гірничих виробок.

Замір довжини, ширини та висоти виробки повинні виконуватись рулеткою або іншими забезпечующими необхідну точність інструментом з прив’язкою до маркшейдерських знаків.

Довжина криволінійних ділянок виробки визначається як середнє значення виміряної її лівої та правої сторони. При визначенні спільна довжина пройденої виробки при необхідності, диференційовано виділяються ділянки з різними характеристиками (по січенню, кріпленню).

Замір січення відкотних виробок виконується через 10-15м на прямолінійній ділянці та через 2-3м криволінійний, в залежності нерівності стінок виробки. Середнє значення січення виробок визначається у польовій книзі замірів гірничих робіт по натуральним вимірюванням цих величин.

Одночасно з вимірюванням ширини виробок визначають відстань, від головок рейсового шляху до стінок виробки. В брак за негабаритність відноситься частина гірничої виробки довжина якої визначається як сума довжин особистої не габаритної дільниці (відстань між країнами та габаритними точками) та півметра зліва і права від крайніх не габаритних точок. Розрив між двома негабаритними точками до двох метрів включається у негабаритну дільницю.

Попереднє січення вертикальних та круто падаючих гірничих виробок вимірюється у характерних містах (негабаритній дільниці, різкі переходки в січенні), але не раніше ніж 10м.при замірі стовбурів шахт січення стовбура вимірюється від проходческих відвісів.

Одночасно з січенням стовбурів шахт вимірюється «виїмка» під опорні башмаки (при бетонному кріпленні) та усі інші елементи, необхідні для складання проходки шахтного стовбура.

Замір кордонів очисних робіт при системі з виробленими просторами (камерні системи) з різними способами відбійки проводяться звичайним виміром рулетки з прив’язкою до постійних і тимчасових маркшейдерських точок. Зйомка очисних камер проводиться при допомозі спеціальних інструментів та приладів.

Контурні точки забоя визначаються із середньою квадратичною опискою ±0,15-0,25м.

Об’єм заклад очних робіт встановлюється по об’єму відробленого простіру з обліком визначеного із контрольно-оглядових виробок рівня закладки на кінець звітного періоду.

Облік об’ємів добутої руди.

При підземнім способі розробки родовищ корисних копалин добутих - вважається руда, видана на поверхню та відправлена споживачу або засклецирована на опальних складах або бункерах. Добута руда повинна бути опробувана та прийнята до обліку службою ВТК.

Кількість добутої руди за звітний період в цілому по шахті (руднику) визначається по даним вагового обліку відгрузки її споживачу, здійснює служба ВТК, з обліком остатків руди на складах (бункерах) та початку і вкінці звітного періоду, підтверджених актом наявності залишків на складі.

Облік добутої руди роздільно по камерах, блоках, дільницях та в цілому по шахті ведеться службою ВТК, або змінним гірничим надзором на основі вагового обліку руди у вагонетках. На шахті, не маючи вагів, кількість добутої руди визначається шляхом місткістю повагонетного або іншого методу оперативного обліку.

Контроль ведення робіт

Поточний кожнозмінний контроль за правильністю ведення гірничих робіт виконують гірничі майстри, начальник зміни, начальник дільниці або їх замісник.

Загальне методичне керівництво маркшейдерським контролем за вірним веденням гірничих робіт, а також виробництво маркшейдерських замірів виконує головний (старший) маркшейдер виробництва.

Маркшейдерський контроль за вірністю ведення гірничих робіт виконується у процесі виконання інструментальних зйомок гірничих виробок і маркшейдерських замірів шляхом зрівняння фактичних замірних величин і їх проектними розрізами.

Геометричні параметри гірничих виробок: висоти, ширини, форми, площа перерізу в проходці і світлі, а також положення у плані в схил, величина зазорів місця заложення, глибина (довжина) та виправлення свердловин.

Доступним відхиленням параметрів гірничих робіт приведена в таблиці 3.4.1.

Таблиця 3.4.1

Найменування

Одиниця величин

Поступ. відхилення

1

Гірничо-підготовці (відкотні) виробки



1.1

Відхилення у плані від заданого напрямку

мм

±250

1.2

Зменшення перерізу виробки проти проектного

-

не доступна

1.3

Відхилення фактичного схилу проти проектного

-

±0,002

2

Нарізні гірничі виробки



2.1

Відхилення виробок від заданого напрямку:




а) горизонтальних;

мм

не більше 300


б) підняттєвих

мм

не більше 500

3

Відхилення від проекту розмірів конвеєрних виробок по ширині і висоті у світлі (при ширині лінії 1,2м та швидкості більше 3м/сек)

мм

±50

4

Відхилення від проекту довжини підривних свердловин

м

±0,2


Маркшейдерський контроль за розкриттям та підготовкою запасів до очисної виїмки

З урахуванням перспективних планів розвитку гірничих порід ш. «Фрунзе» складений даний проект побудови підземної опорної мережі.

Даним проектом встановлюється принципова схема опорної маркшейдерської мережі, яка повинна служити геометричною основою розвитку знімальної мережі і зйомок гірничих вироблень гор. 1060м.

Відповідно до пункту 8.1.9 «Інструкція по виробництву маркшейдерських робіт» - погрішність положення найбільш віддалених пунктів не повинна перевищувати 1,2мм на плані, що відповідає 0,6м для плану масштабу 1:500.

Як початковий пункт на гор. 1060м ш. «Фрунзе» ЖКВ №178 стор. 101. Як початковий кут дирекції, є кущ крапок.

Опорної маркшейдерської мережі на гор. 1060 не існувало і остання створюється по ходу будівництва горизонту.

Схема побудови підземної маркшейдерської опорної мережі є впливом полігонометричного ходу, що спирається на сторони гіроскопічного орієнтування.

Точність вимірювання в полігонометричних ходах характеризується наступними показниками:

середні квадратичні погрішності вимірювання горизонтальних кутів ± 20''

вертикальних кутів - ± 30''

середня квадратична погрішність гіроскопічного орієнтування - 45''

розбіжність між двома вимірюваннями ліній сталевими рулетками 1:3000 довжини сторони.

У міру просування гірничих вироблень, підземну опорну мережу періодично поповнюють.

Пункти полігонометричних ходів не повинні відставати від забоїв вироблень більш ніж на 300м.

При введенні гірничих робіт поблизу затверджених меж небезпечних зон (при збійці з руддвором ш. «Північна-Вентиляційна») видалення пунктів полігонометричних ходів від забоїв підготовчих вироблень не повинне перевищувати 30м на відстані 50м до вказаних меж.

Після проходки с.п.ш. і квершлагу на стовбур ш. «Північна-Вентиляційна» теодолітний хід в північному штреку і квершлагу підлягає управлінню після додаткового центрування через стовбур ш. «Північна Вентиляційна».

Гіроскопічне орієнтування сторін полігонометрічеського ходу слід проводити

1)       у руддворі ш. «Фрунзе» МТ1 МТ8

)         по гл. квершглагу ш. «Фрунзе» МТ 45 МТ 51

3)      по ю.п.ш. МТ131 МТ 137

)        по ю.п.ш. МТ 224 МТ225

)        по с.п.ш. МТ131 - МТ137

)        по с.п.ш. МТ 210 МТ211

)        по квершлагу ш. «Північна Вентиляційна» МТ59 МТ 66

Кутова нев'язність в полігонометричних ходах не повинна перевищувати величин, обчислюваних по формулах:

у замкнутих полігонах:


у висячих полігонах пройдених двічі


У секціях полігонів і в розімкнених полігонах прокладених між гиросторонами


Где mβ - середня квадратична погрішність вимірювання кутів

mα - середня квадратична погрішність визначення кутів дирекцій гиросторон- число кутів полігонометрічеського ходу;+ n2 - число кутів в першому і другому ходах.

Лінійна відносна нев'язність в замкнутих полінонах не повинна перевищувати 1:3000 довжини ходу. У розімкнених полігонах 1:2000. розбіжність між двічі пройденими полігонометрічеськімі ходами (без попереднього зрівнювання кутів) не повинна бути більше 1:2000 сумарной довжини ходів.

При довжині ходу менше 500м, а абсолютна нев'язність в розімкнених полігонах не повинна перевищувати більш 25см.

На стадіях поповнення опорної мережі кожен полігонометричний хід зрівнюють окремо.

Зрівнювання окремих полігонометричних ходів (систем ходів) виконують роздільними способами: спочатку зрівнюють кутові, потім приріст координат.

При зрівнюванні замкнутих і розімкнених полігонах, кутову нев'язність розподіляють із зворотним знаком порівну на всі кути.

По виправлених кутом дирекції обчислюють прирости координат. Лінійна нев'язність узята із зворотними знаком розподіляє в прирості координат, пропорційно довжині кожної лінії.

Зрівнювання двічі прокладених висячих ходів залючаєтся в отриманні середніх значень кутів дирекцій загальних сторін і координат загальних пунктів.

Розрахунок точності положення пункту полігонометричного ходу №225, 59.

Загальна середня погрішність Мх по напряму виходить квадратичним підсумовуванням погрішностей від окремих джерел.


где Мхβm, Мхβn - середні квадратичні погрішності положення пунктів в наслідок погрішності вимірювання кутів в полігонометричних ходах на гор. 1060м.

Мхsm, Мхsn - середні квадратичні погрішності положення пунктів, унаслідок вимірювання довжин в полігонометричних ходах на гор. 1060м.

Мхо - середня квадратична погрішність стулення забоїв унаслідок погрішностей орієнтування.

Погрішність Мхβm точки МТ225 МТ59 по направленню Х, залежно від погрішності зрівняних секцій.


де zy - проекція відстані zi на вісь у

ρ = 206265 mβ - середні погрішності вимірювання горизонтальних кутів у відповідності кутів у відповідній секції.

Погрішність Мхβm=МТ 225 складе:

Мхβm=0,097

Муβm=0,088 Погрішність Мхо точки МТ225 складе


Стан

Ду

Ду2


Стан

Дх

Дх2

ц - о1

8

64


ц - о1

63

3969

о1 - о2

30

900


о1 - о2

422

178084

о2 - о3

282

79524


о2 - о3

371

137641


Σу2=80488



Σх2=319694


            

          

Погрішність Мхsm пункту МТ225 визвана помилками у вимірюванні довжин складе


I секція


II секція

Nточки

rx

rx2


Nточки

ry

ry2


Nточки

rx

rx2


Nточки

ry

ry2

1

90



1

9



51

356



51

1


7

77



7

9



58

309



58

2


37

44



37

9



74

261



74

2


43

9



43

10



77

221



77

2


46

34



46

9



79

163



79

2


55

51



55

2



81

113



81

2


57

71



57

22



84

63



84

3


51

64



51

26



89

11



89

2


Σ 28940


1588


97

9



97

2


III секція


93

54



93

3


Nточки

rx

rx2


Nточки

ry

ry2


94

107



94

2


131

2



131

274



103

151



103

0


132

14



132

266



106

205



106

4


134



134

257



119

265



119

6


139

20



139

240



123

333



123

8


140

19



140

223



131

373



131

10


164

16



164

191



Σ 782122


267

165

10



165

171



IV секція

166

1



166

151



Nточки

rx

rx2


Nточки

ry

ry2

178

8



178

124



131

67



131

247


185

16



185

97



137

21



137

248


215

16



215

39



146

5



146

226


216

15



216

13



156

4



156

194


217

15



217

64



162

2



162

164


218

17



218

93



171

1



171

113


219

16



219

114



186

1



186

72


220

16



220

165



198

4



198

23


221

9



221

219



205

7



205

36


222

2



222

272



206

6



206

82


223

4



223

317



207

11



207

136


224

10



224

364



208

13



208

191


225

14



225

406



209

16



209

240


Σ 3903


1006940


210

17



210

288










211

19



211

322










Σ 6274


 563828

 

V секція

 

 

Nточки

rx

rx2


Nточки

ry

ry2

 

 

211

386



211

55


 

 

212

387



212

18


 

 

213

381



213

3


 

 

214

366



214

5


 

 

196

345



196

5


 

 

167

303



167

4


 

 

155

253



155

4


 

 

144

205



144

4


 

 

133

156



133

4


 

 

130

110



130

5


 

 

124

51



124

4


 

 

117

8



117

4


 

 

110

35



110

4


 

 

104

82



104

4


 

 

99

136



99

4


 

 

91

181



91

4


 

 

86

220

 


86

3

 

 

 

80

267



80

4


 

 

78

332



78

3


 

 

76

368



76

3


 

 

66

419



66

3


 

 

61

434



61

3


 

 

59

479



59

3


 

 

Σ 1951752


3663

 


Лінії

l

α

cos2α

sin2α

l cos2α

l sin2α

1-7

13

0

1

0

13

0

7-37

33

0

1

0

33

0

37-43

35

0

1

0

35

0

43-46

43

0

1

0

43

0

46-55

20

29

0.765

0.235

15.299

4.701

55-57

28

45

0.5

0.5

14

14

57-58

41

4

0.995

0.005

40.800

0.2

58-74

48

0

1

0

48

0

74-77

40

0

1

0

40

0

77-79

58

0

1

0

58

0

79-81

49

0

1

0

49

0

81-84

50

0

1

50

0

84-89

52

0

1

0

52

0

89-97

21

0

1

0

21

0

97-93

45

0

1

0

45

0

93-94

53

0

1

0

53

0

94-103

44

4

0.995

0.005

43.786

0.214

103-106

53

4

0.995

0.005

52.742

0.258

106-119

60

3

0.997

0.003

59.836

0.164

119-123

68

3

0.997

0.003

67.814

0.186

123-131

40

3

0.997

0.003

39.890

0.110

131-132

14

31

0.735

0.265

10.286

3.714

132-134

11

63

0.206

0.794

2.267

8.733

134-139

17

87

0.003

0.997

0.046

16.953

139-140

17

87

0.003

0.997

0.046

16.953

140-164

32

85

0.008

0.992

0.243

31.757

164-165

21

72

0.095

0.905

2.005

18.995

165-166

22

61

0.235

0.765

5.171

16.826

166-178

28

71

0.106

0.894

2.968

25.032

178-185

28

75

0.067

0.933

1.876

26.124

185-215

58

90

0

1

0

58

215-216

52

90

0

1

0

52

216-217

51

89

0.0003

0.999

0.016

50.984

217-218

28

87

0.003

0.997

0.077

27.923

218-219

22

87

0.003

0.997

0.060

21.940

219-220

50

90

0

1

0

50

220-221

54

83

0.015

0.985

0.802

53.198

221-222

54

82

0.019

0.981

1.046

52.954

222-223

46

82

0.019

0.981

0.891

45.109

223-224

46

83

0.015

0.985

0.683

45.317

224-225

42

84

0.011

0.989

0.459

41.541

Σ





903.109

683.886


Загальна погрішність середня пункту 225 складе:

Що задовольняє технологію гірничих робіт.

Розрахунок точності положення пункту полігонометричного ходу №59

Загальна середня погрішність Мх по направленню виходить квадратичним підсумовуванням погрішностей від окремих джерел.


Погрішність Мхβ точки 59 по направленню х залежно від погрішності кутів зрівняних секцій


Погрішність Мхо точки МТ59 складе


Сторона

Ду

Ду2


Сторона

Дх

Дх2

ц - о1

8

64


ц - о1

63

3969

о1 - о2

30

900


о1 - о2

422

178084

о2 - о3

238

56644


о2 - о3

441

194481

о3 - о4

378

142884


о3 - о4

366

133956


Σу2=200492



Σх2=510490



 Лінії

l

α

cos2α

sin2α

l cos2α

l sin2α

1-7

13

0

1

0

13

0

7-37

33

0

1

0

33

0

37-43

35

0

1

0

35

0

43-46

43

0

1

0

43

0

46-55

20

29

0.765

0.235

15.299

4.701

55-57

28

45

0.5

0.5

14

14

57-58

41

4

0.995

0.005

40.800

0.2

58-74

48

0

1

0

48

0

74-77

40

0

1

0

40

0

77-79

58

0

1

0

58

0

79-81

49

0

1

0

49

81-84

50

0

1

0

50

0

84-89

52

0

1

0

52

0

89-97

21

0

1

0

21

0

97-93

45

0

1

0

45

0

93-94

53

0

1

0

53

0

94-103

44

4

0.995

0.005

43.786

0.214

103-106

53

4

0.995

0.005

52.742

0.258

106-119

60

3

0.997

0.003

59.836

0.164

119-123

68

3

0.997

0.003

67.814

0.186

123-131

40

3

0.997

0.003

39.890

0.110

131-137

47

2

0,999

0,001

46,943

0,057

137-146

27

55

0,329

0,671

8,883

18,117

146-212

586

88

0,001

0,999

0,714

585,286

212-213

17

67

0,153

0,847

2,595

14,404

213-214

17

26

0,808

0,192

13,733

3,267

214-61

800

0

1

0

800

0

61-59

45

0

1

0

45

0

Σ





1792,035

640,964


Погрішність Мхsm пункту МТ 59 визвана помилками у вимірюванні довжин складе


Загальна погрішність середня пункту МТ 59 складе:

Що задовольняє технологію гірничих робіт.

Попередня оцінка точності стулення забоїв по висоті від окремих джерел помилок між стовбурами шахт «Фрунзе» і «Північна-Вентиляційна» гор. 1060м

Граничну помилку стулення забоїв по висоті від помилки передачі висотної відмітки, через шахтні стовбури визначають по формулі  Δh=(10+0.2Н)мм., де Δh - гранична розбіжність між двома незалежними визначенням глибини шахтного стовбура; Н - глибина шахтного стовбура.

Підставивши значення Н1=75м, Н2=150м.

 

Помилка стулення забоїв по висоті від помилок геометричної нівеляції на гор. 910м складе:


Помилка стулення забоїв по висоті від помилок геометричної нівеляції на гор. 1060


Враховуючи, одержані помилки стулення від різних джерел, знаходимо загальну середню помилку стулення забоїв по висоті.

 

Заходи безпеки по орієнтуванню через один вертикальний стовбур

Роботи по орієнтуванню проводять в шахтному стовбурі і в безпосередній близькості від нього. У зв'язку з цим повинні бути вжиті необхідні заходи для забезпечення безпеки праці людей, що виконують орієнтування. Відступ від перерахованих нижче заходів безпеки можуть привести до важких нещасних випадків і навіть до людських жертв.

При сполучній зйомці повинні дотримуватися наступні заходи безпеки.

Приступаючи до орієнтування, маркшейдер повинен оголосити через технічний нагляд шахти про початок і кінець робіт, категорично забороняється знаходиться в околоствольному дворі і в надшахтній будівлі всім особам, що безпосередньо не беруть участі в орієнтуванні.

Робітникам, а також студентам на учбовій маркшейдерській практиці що беруть участь у виконанні орієнтування необхідно роз'яснити:

а) працюючим на поверхні про необхідність працювати над стовбуром шахти, не допускаючи падіння в шахтний стовбур предметів (трісок, цвяхів, шматків породи, інструментів і ін.)

б) працюючим в шахті про неприпустимість наближення до стовбура шахти без дозволу маркшейдера і знаходиться біля стовбура, коли це не потрібне по ходу роботи.

. Шахтний стовбур на поверхні повинен бути перекритий достатньо міцними дошками на весь час робіт включаючи час відпустки і підйому схилів.

. Зумпфер або частина стовбура шахти, що лежить нижче горизонту, повинна бути закрита тимчасовим полком.

. Приступаючи до спуску схилів, керівник робіт на поверхні повинні попереджати про це керівника підземної частини і одержати його підтвердження про ухвалення попередження.

. Спуск і зворотний підйом схилів повинен проводиться з малим навантаженням 3-5кг.

. Керівник орієнтування зобов'язаний особисто перевірити закріплення дроту і вантажів схилів.

. Отвори для пропуску схилів через тимчасові перекриття стовбура шахти на поверхні і на проміжних горизонтах повинні бути не більш 10-15см в діаметрі.

. Спуск і підйом схилів проводять рівномірно з швидкістю не більш 1м/сек.

При спуску схилів після кожних 50м повинна бути зроблена невелика зупинка для заспокоєння гойдання схилу, що спускається.

. Керівник робіт по орієнтуванню зобов'язаний особисто перевірити весь дріт і пропустити його «через руки».

. Дріт повинен витримати навантаження не менш двократної ваги робочого вантажу.

. Приступаючи до роботи в стовбурі шахти маркшейдер, що знаходиться в шахті повинен попередити про це маркшейдера на поверхні.

. При спуску і підйомі схилів ніхто не повинен знаходиться поблизу стовбура шахти.

. При виробництві орієнтування повинен бути забезпечений телефонний зв'язок горизонту, що орієнтується, з поверхнею.

. Перед початком орієнтування повинна бути визначена система звукової сигналізації по спуску і підйому схилів.

Заходи по забезпеченню безпечного ведення маркшейдерських робіт в гірничих виробленнях

Окрім загальних правил безпеки маркшейдера при зйомці гірничих вироблень повинні дотримувати спеціальні додаткові правила:

1.       Всі маркшейдерські інструменти повинні бути пристосовані для перенесення їх по гірничих виробленнях

2.       Пересування маркшейдерської групи по вертикальних похилих виробленнях проводяться в наступному порядку: по обладнаному ходовому восстающому одночасно може просуватися вся група, але по сходах між полицями поодинці; робочий, що переносе дрібний інструмент (блочки, вантажі, схили, молоток) при підйомі йде останнім, при спуску першим. Ящики з приладами переносять на спині, а штативи на плечі.

3.      По прибуттю на ділянку гірничих робіт маркшейдер зобов'язаний повідомити особу змінного гірничого нагляду в яких виробленнях будуть проводиться маркшейдерські роботи. Гірничий нагляд (начальник ділянки, гірничий майстер) допускає виробництво маркшейдерських робіт, лише в тих виробленнях, де перебування людей безпечне, із записом в книзі нарядів.

.        Вироблення, в яких проводяться зйомки повинні бути зроблені волани крівлі, у випадках необхідності роботи можна посилати тільки кваліфікованих наймачів і робітників, причому не менше двох чоловік одночасне.

.        При вимірюванні ліній сталевими рулетками у виробленнях, в яких підвішений контактний дріт, слід дотримуватися обережності не допускаючи торкань рулеткою дроту.

.        Для зйомки восстающих вироблень і круто падаючих вироблень, маркшейдер повинен зажадати від гірничого нагляду ділянку, належним чином обладнати вироблення, очистити полиці від шматків породи.

.        Перед початком зйомки маркшейдер (або наймач) повинен оглянути і вибрати місця для закріплення крапок. Під час огляду вироблення намічаються також місця установки додаткових розстрілів для розміщення наймачів. Забивання розстрілів і буріння шпуров для зйомки крапок проводяться робітниками відповідної кваліфікації.

.        Якщо восстающий знаходиться в проходці, маркшейдерська група, що прибула для зйомки або виміру його, може підійматися в забій лише з дозволу осіб змінного гірського нагляду. При цьому незалежно від того, був раніше провітрений восстающий чи ні, його слід провітрювати повторно. Якщо в забої восстающого знаходяться робітники перед підйомом в восстающий необхідно попередити їх про це.

.        При орієнтуванні підповерхових горизонтів через восстающі вироблення, останні повинні бути перекриті надійними полицями. Перекриття виконується виділеними для цієї мети кріпильниками.

4. ОРГАНІЗАЦІЯ МАРКШЕЙДЕРСЬКИХ РОБІТ

.1 Вимоги до приміщення маркшейдерської служби

Приміщення маркшейдерського відділу (бюро) є місцем, де маркшейдер виконує обчислювальні та графічні роботи, де зберігається важлива документація, необхідна не тільки під час роботи гірничого підприємства. Але і після його ліквідації. Крім того там зберігаються складні та цінні інструменти та прилади. Усе це змушує пред’явити приміщенню маркшейдерського відділу більш суворі вимоги, ніж до приміщень інших відділів підприємства, які повинні ураховуватись у проектах адміністративно-побутових комбінатів шахти.

Основні вимоги, пред’являємі до приміщень маркшейдерського відділу викладені в «Технической инструкции по производству маркшейдерских работ».

Приміщення маркшейдерської служби повинні мати добру освітленість і бути, по можливості, віддалені від шуму, вібрації та вологості повітря.

Маркшейдерська служба діючого гірничого підприємства повинна мати службове приміщення у співвідношенні з таблицею 4.1.1

Таблиця 4.1.1 - Вимоги до приміщення маркшейдерської служби

Призначення приміщення

Площа, м2, не менше

Обладнання приміщень

1

Кабінет головного маркшейдера

18

Письмовий стіл, стіл для роботи з графічною документацією, шафа, сейф

2

Кімнати дільничних маркшейдерів

6 на 1 людину

У кожній кімнаті розміщується 3-4 письмові столи (по кількості робітників), шафи

3

Кімнати для роботи з документацією та її збереження

20

Столи, сейфи, шафи

4

Кімната для розмноження гірничої документації

18

Множильна установка, прилад для прояву креслень, стіл для монтажу креслень

 

5

Кімната для збереження маркшейдерських приладів, їх чистки та мілкого ремонту

18

Стелажі для маркшейдерських приладів, столи і верстати для чистки та мілкого ремонту приладів, станки для штативів, реєк.

 


При фотограмметричній зйомці повинні бути виділені додатково приміщення, вимоги до яких приведені у таблиці 4.1.2.

Таблиця 4.1.2 - Вимоги до приміщень при фотограмметричній зйомці

Призначення приміщення

Площа, м2, не менше

Особливі вимоги до приміщення

1

Розміщення комплекту приладу для обробки фотограмметричної зйомки (прилад з координатографом, реєструючий апарат, інструментальна шафа та інше)

30 на 1 комплект при аерофотозйомці; 20 - при наземній

Світле. Сухе приміщення, навантаження на підлогу 5кПа; приміщення не повинно піддаватись вібрації та струсам. Повинні бути три сітьові розетки.

2

Фотолабораторія

20 - при аерофотозйомці; 8 - при наземній

Темне приміщення, обладнане неактинічним освітленням, 6-8 сітьових розеток, примусова вентиляція, гідроізоляція підлоги.

3

Розміщення фототрансформатора

16

Темне приміщення, 2-3 сітьові розетки, примусові вентиляція.

4

Обчислювальні та підготовчі роботи

20


5

Підсобне приміщення для зберігання зйомочної апаратури та приладів

16



.2 Перелік маркшейдерсько-геодезичних інструментів та приладів

. Прилади для кутових вимірювань та тахеометричної зйомки: теодоліт Theo 080.

2. Прилади для лінійних вимірювань: світлодальноміри, рулетки від 20 до 100м.

. Допоміжні прилади для лінійних та кутових вимірювань та зйомки: прилади центрувальні оптичні, відвіси шпурів, виски жорсткі штангові, штативи, термометри.

. Прилади для нівелювання: Нівелір високоточний, типу Н-05 для високоточних вимірювань при спостереженні за деформаціями споруд, деформаціями земної поверхні, при роботи з нівеліром Н-5 використовують штрихові інварні рейки типу РН-1 або РН-2, нівеліри середньої точності типу П-3 для нівелювання ІІІ та IV класів, при роботі з нівеліром Н-3 використовують двосторонні шашечні рейки типу РН-3 та РН-4, нівеліри технічної точності Н-10 для технічного нівелювання, при роботі з нівеліром Н-10 використовують складні і цільні шашечці рейки типу РН-4 та РН-Т та інші.

. Прилади для орієнтування і центрування маркшейдерської опірної мережі у підземних гірничих виробках: гірокомпаси типу МВТ-2, гіронасадки - для орієнтування сторін маркшейдерської опорної мережі, стальний дріт, центральні пластини, спеціальні важелі для геометричного орієнтування і центрування маркшейдерської опорної мережі у підземних гірничих виробках.

. Прилади для передачі висотної відмітки через вертикальні гірничі виробки: довжиноміри і довга шахтна стрічка.

. Прилади для зйомки нарізних виробок та очисних забоїв: кутоміри, висяча бусоль, проекційно-візуальні тахеометри.

. Прилади для завдання напрямку виробкам - лазерні вказівники напрямку.

.3 Визначення чисельності робітників маркшейдерської служби підприємства

Розрахунок штату працівників маркшейдерської служби гірничого підприємства починається з визначення кількості дільничних маркшейдерів, як основної категорії працівників маркшейдерської служби підприємства. Їх число залежить від кількості маркшейдерських дільниць, визначених на основі кількості добуваємих та підготовлених забоїв (механізмів) притягнення підтримуючих виробок та інших об’єктів роботи по обслуговуванню які може здійснити один дільничний маркшейдер з необхідним штати допоміжного персоналу. При цьому враховуються також запроектовані об’єми загальношахтні основних та поточних маркшейдерських робіт.

Загальне число маркшейдерських дільниць по підприємству визначається з виразу:

                                                         (4.1)

де N1 та N2 - число маркшейдерських дільниць по об’єму відповідно поточних та основних маркшейдерських робіт.

При підземному способі розробки:

                                          (4.2)

                                                     (4.3)

де поч., пос та пвп - число відповідно діючих очисних, основних та допоміжних підготовчих забоїв (визначаються по календарному плану) розвитку гірничих робіт;

Т1, Т2, Т3 - місячна норма часу, необхідна для обслуговування відповідно очисного, основного і допоміжного підготовчого забою;

Т - місячний бюджет робочого часу одного маркшейдера;

Тпос та Ткос - сумарні витрати часу ІТР на виконання відповідно польових та камерних операцій з плановий період при виконанні основних маркшейдерських робіт;

n - проводження планового періоду;

tп-з - час, витрачений маркшейдером протягом місяця на підготування заключних операцій.

Величини Т1, Т2, Т3 визначають наступною послідовністю:

а) усі забої (основні та підготовчі), які будуть знаходитись у роботі у запланований період, діляться на різні групи. В одну чергу включаються забої, виробки які обслуговуються однотипними маркшейдерськими роботами. У формулі (4.2) прийняті три групи забоїв, при розробці родовища їх може бути і більше.

б) по кожній групі забоїв визначають їх середні параметри: для підготовчих забоїв - середнє січення та середньомісячне місячне полірування, очисних середню довжину лінії очисного простору та середнє місячне посування.

в) керуючись вимогами тех. інструкції по підприємству маркшейдерських робіт і умовами розробки родовища, встановлюють перелік необхідних робіт, які потребують виконати по кожній групі забоїв.

г) користуючись нормами часу на маркшейдерські роботи, розраховують місячні витрати по кожному виду робіт та сумарно - по забою.

Для спрощення визначення показників Т1, Т2, Т3 можна окремитись тілько встановленням необхідного часу на польові роботи.

Час на підготовчі-заключні операції при польових роботах складається з витрат часу на підготовку до праці самого виконавця та перехід його до місця праці, тобто:

                                       (4.3)

По проведенним спостереженням t(п-з)1 на виробничий день складає приблизно 1,5 години, а t(п-з)2 визначається вираженням:

(п-з)1 = Scpt                                                  (4.5)

де Scpt - середня довжина шляху від стовбуру до забою, км

t - норма часу на перехід 1год/км;

при визначенні витрат часу на підготовчо-заключні операції виражені (4.4) t(п-з) слідує приймати 1год. На робочий день.

Цей показник може бути уточненим по конкретним умовам.

Загальний штат робітників маркшейдерської служби підприємства визначається додаванням до основної чисельності дільничних маркшейдерів допоміжного персоналу, під яким подрозумівають кресляри, технічні картографи та гірничо-робочі маркшейдерської служби (1 - 3-го розряду).

Кількість допоміжного персоналу визначається наступним чином: гірничо-робочі з розрахунку одного працівника на одного дільничного маркшейдера (передбачено затвердженими нормами);

Кресляри 1 - 3 людини в залежності від об’ємів графічних робіт та наявність картографічних секторів при спец бюро в об’єднання, але не менш одного кресляра (техніка картографа) на підприємство.

Ефективним методом визначення штату дільничних маркшейдерів являється використання нормативів, встановлених спеціальними дослідженнями при різних підприємських і гірничо-геологічних умовах.

5. ОХОРОНА ПРАЦІ ТА НАВКОЛИШНЬОГО СЕРЕДОВИЩА

.1 Вимоги до техніки безпеки

.1.1 Техніка безпеки при спуску у шахту та підйомі

Перед спуском у шахту кожний робітник повинен віддати свій табельний номер та отримати його після виїзду з шахти, це дозволяє робити облік людей що знаходяться у шахті.

У надшахтній споруді, рудничному дворі спуск та підйом людей контролюють сигналісти (стволові). їхній обов'язок - стежити за порядком та чергою при посадці та виході людей з кліті, закриванням дверей, споруд у клітях, ґрати у ствола та подавати сигнали. Люди, які спускаються або піднімаються в кліті, повинні чітко підкорятись вимогам стернового та стволового.

Забороняється перехід через підйомне відділення ствола. На усіх горизонтах шахти, перед стволами, повинні бути встановленні грати безпеки, для попередження переходу людей через підйомне відділення.

До початку посадки у кліть необхідно дотримуватись черги, не шуміти та не штовхатись. Заходити у кліть та виходити з неї можна тільки по одному.

Заборонено перевищувати кількість людей одночасно піднятих та спущених на кожному поверсі кліті поза нормою, установленої для кожної кліті. Заходити та виходити з кліті дозволяється тільки після її кінцевої зупинки дозволу рукоятчика або стволового.

У всякій забороні, або обмеженні в користуванні підйомної установки для спуску або підйому людей, у посадкових пунктах повинні бути вивішені об'яви.

Забороняється підйом та спуск людей у кліті повністю або частково заповненій.

Спуск та підйом людей повинен проводитись у кліті з освітленням.

Забороняється спуск та підйом у кліті з відкритим вогнем.

У кліті необхідно дотримувати порядок, тишу, не палити і не змінювати свого положення. Під час руху не висовуватись з кліті. У кліті необхідно триматися за поручні, а не за важелі та пружини парашутного пристрою, ноги повинні бути у колінах трохи зігнуті.

Вимоги до техніки безпеки під час замірів.

Велике значення для безпечного проведення підземних робіт має повний та своєчасний стан гірничих робіт на планах, розрізах та інших.

В залежності від інтенсивного виконання гірничих робіт на тій чи іншій дільниці, терміни періодичних замірів та повне поповнення маркшейдерських креслень можуть бути різними, але не менше одного разу на місяць.

При виявленні відступу від технічного проекту у виконанні гірничих робіт, слід терміново повідомити головного інженера рудоуправління або адміністрацію шахти, для прийняття необхідних засобів зареєстрованих у спеціальному журналі.

При виявленні відхилень проходження виробки від заданого напрямку, та профілю, маркшейдер зупиняє забій, проводить зйомку виробки і після зображення його на плані, вирішує разом з адміністрацією питання про подальший напрям проходки.

При проведенні виробки у напрямку старих гірничих робіт, водонасичених тріщин, затоплених дільниць і т.п., маркшейдер повинен заздалегідь попередити гірничий догляд про приближення забою до таких дільниць, не пізніше як за 20 метрів до зустрічі виробки з отриманими об'єктами.

При проведенні виробки зустрічними забоями, маркшейдер повинен попередити гірничотехнічний догляд дільниці про приближення забоїв за 10 м до їх зустрічі.

Подальший прохід виробки здійснюється одним забоєм, а вибухи здійснюються по особливому графіку.

У рівній мірі маркшейдер попереджує гірничотехнічний догляд і випадку однобічного забою, про приближення його до діючих гірничих робіт, тому під час вибуху забороняється пускати людей або машини, механізми до місця виходу проходжуючого виробку в здійснюючий.

Цілики руди, залишені під спорудженнями, водоймищами або навкруги то виробку не повинні відроблюватись.

Контури цих ціликів повинні бути накреслені на усіх маркшейдерських кресленнях, копії яких передаються особам гірничого нагляду для спостереження за збереженням розмірів охоронних ціликів.

Підріз охоронних ціликів може привести до руйнування охоронних об'єктів, а також: до нещасних випадків.

При підготовці блоків та очисних роботах елементів блоку, не повинні порушуватися розміри ціликів.

Не правильно проведені виробки у блоці і неправильний напрям очисних робіт може привести до зупинки робіт у блоці та нещасних випадків.

При виконанні замірів у виробках скрепіювання, робота скрепера повинна бути зупинена.

Маркшейдер проводить замір у присутності начальника дільниці (або його помічника).

Дозволяється проводити заміру тих виробках, де перебування людей безпечне, тобто де виробки провітрені, зроблена оббірка крівлі, прибрана порода і згідно з проектом проведено кріплення.

В разі виникнення небезпеки на дільниці, де працює маркшейдерська група, гірничий догляд дільниці попереджує маркшейдера про необхідність зупинення роботи і вихід із виробки.

При замірах виходу підняттєвого він повинен знову бути провітрений, належним чином обладнаний, повинна бути прибрана порода з полків і т.п.

5.1.2 Правила техніки безпеки при пересуванні по гірничим виробкам

Після виходу в шахті з кліті робітники повинні йти до місця роботи, не затримуючись в навколоствольному дворі. Забороняється перехід людей через піднімальні відділення стовбура. При пересуванні до місця роботи і назад по відкаточних виробках робітники повинні йти збоку рейкових шляхів по стороні, призначеної для проходу людей. Забороняється при пересуванні по гірничих виробках братися руками за кабелі, доторкатися до контактних проводів, до електроустановок і электромеханізмів. Працюючи і пересуваючись з довгими предметами (рейками, ломами) поблизу контактної мережі, необхідно дотримувати особливу обережність і уважність. Для попередження зачіпання довгим інструментом контактного проводу забороняється переносити його на плечі. Не дозволяється переходити між вагонетками потяга або перелазити через них. При наближенні потяга робітник повинен зупинитися в стінки виробки з боку проходу для людей і пропустити його. При необхідності робітник повинен дати сигнал машиністові про зупинку поїзда (круговим рухом світильника). Проходити під скреперними полками, люками і вібраційними доставочно-погрузочними установками (ВДПУ) під час навантаження руди не дозволяється. Прохід під ВДПУ можливий тільки при зупинених двигунах і після припинення падіння шматків руди у вагон.

Одним з важливих заходів щодо попередження нещасних випадків, зв'язаних із транспортом, є пристрій спеціальних проходів або окремих людських ходків для руху людей у виробках, де виконується транспортування вантажів.

При пересуванні по вертикальних виробках необхідно триматися руками за поручні сходів, ретельно перевіряючи їхню міцність. Між сходовими полками одного прольоту дозволяється підніматися тільки одній людині, При пересуванні по сходах нагору робітник з інструментом йде останнім, а при спуску - першим. Піднімаючись по підняттєвих виробках необхідно закривати за собою встановлені в сходовому відділенні ляди і стежити за справністю сход і полків. При пересуванні як по похилим, так і по вертикальних виробках ручний інструмент необхідно зв'язувати і прикріплювати до себе, при цьому всі гострі інструменти (сокири, пилки, кайла) повинні переноситися в захисних чохлах, а молотки, гайкові ключі й ін.- у спеціальних сумках.

Пересуваючи по виробках, необхідно висвітлювати світильником не тільки ґрунт, але і покрівлю. Ходіння по виробках одному без лампи або з погаслим світильником не дозволяється, крім виняткових випадків.

.1.3 Правила техніки безпеки при виконанні маркшейдерських робіт

Успішне проведення маркшейдерських робіт багато в чому залежить від утворення для їх виконання безпечних умов праці, від знань та дотримування працівниками маркшейдерської служби основних положень, викладених в "Єдиних правилах безпеки при розробці рудних, нерудних і розсипних родовищ".

Дотримання правил безпеки є необхідною умовою підтримування виробничої дисципліни й дозволяє працювати з високою продуктивністю.

Своєчасне й повне маркшейдерське обслуговування гірничих робіт має виключне і вирішальне значення в частині правильної організації гірничих робіт, попередження аварій і катастроф у гірничих виробках.

Тому, крім мір особистої безпеки, при виконанні маркшейдерських робіт, працівники маркшейдерської служби повинні суворо дотримуватись технічних вимог по зйомочним роботам і складанню планів.

Добре складений план гірничих робіт, своєчасне й ретельне його поповнення дає чітку картину всього того, що робиться під землею, що дуже важливо для безпечного проведення підземних гірничих робіт. Маркшейдерська документація зберігається дуже довгий час і має велике значення для характеристики старих горизонтів і покладів.

5.2 Охорона навколишнього середовища

Вплив гірничого виробництва на ландшафт. Загальні положення охорони земельних ресурсів.

Специфічна особливість розміщення гірничих підприємств полягає в тому, що вони можуть бути створенні тільки там, де є поклади родовищ корисних копалин. При цьому гірничі підприємства, як правило є основою для створення великих промислових комплексів і підприємств різних галузей промисловості зі складною інфраструктурою. У зв'язку з цим навантаження на оточуюче середовище збільшується.

Природні екосистеми здатні на самовідновлення, якщо трансформовано не більше 10% їх площі. Межу безпечного використання перейдено. Тому дуже важливо знати закономірності будови та функціонування природних та техногенних ландшафтів, щоб цілеспрямовано ними керувати.

У сучасній географічній науці «ландшафт» визначається як геосистема, що характеризується певною територією, однорідною за своїм походженням та історією розвитку, єдиним геологічним фундаментом, однотипним рельєфом, загальним кліматом, одноманітним поєднанням гідротермічних умов, грунтів, біоценозу та закономірним набором морфологічних частин - фацій та урочищ.

Більшість природних ландшафтів належить до біокисних систем, в яких живі організми та неорганічна матерія тісно пов'язані між: собЬю та взаємообумовлені. За рівнем організації матерії виділяють ряд біокисних систем.

До нижчого - «до ландшафтного рівня» - належать біокисні природні тіла - підсистеми ландшафту : ґрунт, кора вивітрювання, континентальні накопичення, поверхневі та ґрунтові води, підземна атмосфера.

Ф - наземний біоценоз; А - приземна атмосфера; Г- ґрунти;

а) алювіальний, б) супераквальний; М - мул; КВ - кора вивітрювання; ВГ - водоносний горизонт; КН - континентальні накопичення; ПВ - поверхневі води; зв'язки 1 - водні, 2 - повітряні, 3 - біотичні, 4 - біокисні, 5 - водневі та повітряні, 6 - центр ландшафту, 7 - нижня межа ландшафту, 8 - корінні породи.

У ґрунті відбуваються різні фізичні, хімічні та біологічні процеси, які внаслідок його забруднення порушуються. Забруднення ґрунту пов'язане із забрудненням атмосфери і вод.

Основними речовинами, що забруднюють ґрунт, є метали та їх сполуки, радіоактивні речовини, мінеральні добрива та пестициди.

Самоочищення ґрунтів, як правило - повільний процес. Токсичні речовини накопичуються і це сприяє поступовій зміні хімічного складу ґрунтів, порушенню єдності геохімічного середовища та живих організмів.

Нормування вмісту забруднюючих речовин у ґрунті відбувається у трьох напрямках:

• нормування вмісту отрутохімікатів в орному шарі ґрунту сільськогосподарських угідь;

• нормування накопичення токсичних речовин;

• нормування забруднення ґрунту в районах проживання, переважно в місцях тимчасового зберігання побутових відходів.

Раціональне використання земельних ресурсів передбачає виконання систем заходів, спрямованих на оптимізацію розміщення виробничих об'єктів, їх параметрів, щільності забудови, строків відчуження та використання земельних ділянок. Рекультивація земель, порушених гірничим підприємством, розглядається як основний спосіб відтворення земельних ресурсів, створення оптимальних культурних антропогенних ландшафтів.

Основними засобами зменшення прямого впливу на землі є управління кар'єрними відкосами, збільшення ємкості зовнішніх відвалів та хвостовищ, складування розкривних порід та відходів виробництва на непродуктивних та порушених землях, утилізація розкривних порід та відходів переробки корисних копалин.

Взаємодія цих тіл утворює нову якість, нову систему ландшафт. Ландшафт - це велика і складна не рівноважна динамічна система земної поверхні, і якій відбувається взаємодія та взаємопроникнення елементів літо- гідро- та атмосфери. До ландшафтного рівня організацій належать: «елементарний ландшафт» та «геохімічний».

Залежно від масштабу та інтенсивності антропогенного впливу виділяють такі типи змін ландшафтів:

• глобальні, в яких відбувається зміна природного середовища на значних територіях зі зміною якості атмосфери та вод Світового океану;

• зональні, в яких внаслідок тривалого антропогенного впливу змінюється ландшафтні зони;

• регіональні, в яких інтенсивного впливу зазнають природно географічні, господарська - економічні, соціальні - демографічні комплекси в межах адміністративного поділу території] і які характеризуються загальними особливостями антропогенного впливу на оточуюче середовище;

• локальні, в яких ландшафтні зміни відбуваються на відносно невеликих територіях.

Гірничодобувальна промисловість та гірничопереробна сприяє утворенню техногенних ландшафтів с контрастними формами рельєфу. Зміни природних ландшафтів мають в основному локальні, а в таких великих гірничопромислових регіонах, як Донбас, Крив бас зміни набули регіонального характеру.

Для формування та існування ландшафтів особливе значення має грунт.

Ґрунт зазнає найбільшої трансформації як поверхневий горизонт літосфери в межах суші. При неправильній експлуатації ґрунт безповоротно знищується внаслідок ерозії, засолення, забруднення промисловими та іншими відходами.

ЛІТЕРАТУРА

1.      Инструкция по производству маркшейдерских работ Москва, Недра, 1987г.

.        В.И. Борщ - Команиец Маркшейдерское дело - Москва, Недра, 1985г.

.        И.Н. Ушаков Маркшейдерское дело - Москва, Недра, 1989г.

.        А.Н. Омельченко Справочник по маркшейдерскому делу - Москва, Недра, 1979г.

.        М.И. Агашков. С.С. Борисов Разработка рудных и нерудных месторождений - Москва, Недра, 1983г.

Похожие работы на - Задачі маркшейдерської служби

 

Не нашли материал для своей работы?
Поможем написать уникальную работу
Без плагиата!
Без нейросетей!