Основы монтажа, ремонта и эксплуатации гидравлического и пневматического оборудования

  • Вид работы:
    Контрольная работа
  • Предмет:
    Физика
  • Язык:
    Русский
    ,
    Формат файла:
    MS Word
    64,55 Кб
  • Опубликовано:
    2014-03-29
Вы можете узнать стоимость помощи в написании студенческой работы.
Помощь в написании работы, которую точно примут!

Основы монтажа, ремонта и эксплуатации гидравлического и пневматического оборудования

Министерство науки и образования РФ

ФГОУ СПО «Череповецкий металлургический колледж»









 

Основы монтажа, ремонта и эксплуатации гидравлического и пневматического оборудования

Специальность 151031

«Монтаж и техническая эксплуатация промышленного оборудования»

151031 вариант № 6



Выполнил студент

группы ЗО-3-ТО,

Малышева С.Е.

Проверила: Кукучбаев Ф.Г.

Преподаватель Череповецкого


2013г.

Вопрос № 1. Объясните, какими силами обусловлено поверхностное натяжение жидкостей

Поверхностное натяжение, стремление вещества (жидкости или твердой фазы) уменьшить избыток своей потенциальной энергии на границе раздела с др. фазой (поверхностную энергию <#"705281.files/image001.gif">

Вопрос № 2. Сформулируйте закон Архимеда. Напишите формулу для определения подъемной силы

Закон Архимеда формулируется следующим образом: на тело, погружённое в жидкости (или газы), действует выталкивающая сила, равная весу вытесненной этим телом жидкости (или газа). Сила называется силой Архимеда.

Подъёмная сила - составляющая полной аэродинамической силы, перпендикулярная вектору скорости движения тела в потоке жидкости или газа, возникающая в результате несимметричности обтекания тела потоком. В соответствии с законом Бернулли <#"705281.files/image002.gif">

где: Y - это подъёмная сила,

·              P - это тяга <#"705281.files/image003.gif">- граница профиля,

·              p - величина давления,

·              n - нормаль к профилю

Вопрос № 3. Дайте определение ламинарного и турбулентного режимов движения. Перечислите факторы, от которых зависит характер течения жидкости в трубах

фильтр насос газ компрессор

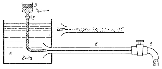
Рис.1. Схема установки Рейнольдса

Установка состоит из резервуара А с водой, от которого отходит стеклянная труба В с краном С на конце, и сосуда D с водным раствором краски, которая может по трубке вводиться тонкой струйкой внутрь стеклянной трубы В.

Первый случай движения жидкости. Если немного приоткрыть кран С и дать возможность воде протекать в трубе с небольшой скоростью, а затем с помощью крана Е впустить краску в поток воды, то увидим, что введенная в трубу краска не будет перемешиваться с потоком воды. Струйка краски будет отчетливо видимой вдоль всей стеклянной трубы, что указывает на слоистый характер течения жидкости и на отсутствие перемешивания. Если при этом, если к трубе подсоединить пьезометр или трубку Пито, то они покажут неизменность давления и скорости по времени. Такой режим движения называется ламинарный.

Второй случай движения жидкости. При постепенном увеличении скорости течения воды в трубе путем открытия крана С картина течения вначале не меняется, но затем при определенной скорости течения наступает быстрое ее изменение. Струйка краски по выходе из трубки начинает колебаться, затем размывается и перемешивается с потоком воды, причем становятся заметными вихреобразования и вращательное движение жидкости. Пьезометр и трубка Пито при этом покажут непрерывные пульсации давления и скорости в потоке воды. Такое течение называется турбулентным.

Если уменьшить скорость потока, то восстановится ламинарное течение. Свыше Критического числа Рейнольдса = 2320 Re режим меняется на турбулентный

Итак, ламинарным называется слоистое течение без перемешивания частиц жидкости и без пульсации скорости и давления. При ламинарном течении жидкости в прямой трубе постоянного сечения все линии тока направлены параллельно оси трубы, при этом отсутствуют поперечные перемещения частиц жидкости.

Турбулентным называется течение, сопровождающееся интенсивным перемешиванием жидкости с пульсациями скоростей и давлений. Наряду с основным продольным перемещением жидкости наблюдаются поперечные перемещения и вращательные движения отдельных объемов жидкости. Переход от ламинарного режима к турбулентному наблюдается при определенной скорости движения жидкости. Эта скорость называется критической υ кр.

Значение этой скорости прямо пропорционально кинематической вязкости жидкости и обратно пропорционально диаметру трубы.

Режим движения жидкости напрямую влияет на степень гидравлического сопротивления трубопроводов. Ламинарное течение является струйным течением без перемешивания жидкости. При этом в жидкости возникает трение, вызванное ее вязкостью. Теория ламинарного течения основывается на законе трения ньютона

Потери энергии (уменьшение гидравлического напора) можно наблюдать в движущейся жидкости не только на сравнительно длинных участках, но и на коротких. В одних случаях потери напора распределяются (иногда равномерно) по длине трубопровода - это линейные потери; в других - они сосредоточены на очень коротких участках, длиной которых можно пренебречь, - на так называемых местных гидравлических сопротивлениях: вентили, всевозможные закругления, сужения, расширения и т.д., короче всюду, где поток претерпевает деформацию. Источником потерь во всех случаях является вязкость жидкости.

Следует заметить, что потери напора и по длине и в местных гидравлических сопротивлениях существенным образом зависят от так называемого режима движения жидкости.

Вопрос № 4. Опишите принцип действия роторно-поршневых насосов

Роторно-поршневой насос - это роторный насос с вытеснителями в виде поршней или плунжеров. Роторно-поршневые насосы подразделяются на аксиально-поршневые, у которых возвратно-поступательное движение поршней параллельно оси вращения насоса, и радиально-поршневые, у которых возвратно-поступательное движение поршней происходит в радиальном направлении.

Аксиально-поршневой насос

Работает насос следующим образом. Вращение приводного двигателя через вал передаётся шатунам. Шатуны, опирающиеся на конические юбки поршней, приводят во вращение блок цилиндров.

При соосном расположении вала и оси поршни не совершают возвратно- поступательного движения и, следовательно, жидкость в напорную линию не подается. При отклонении оси блока на некоторый угол от оси вала поршни вращаются и движутся возвратно-поступательно. За один оборот приводного вала каждый поршень совершает один двойной ход. При выходе поршня из блока рабочая жидкость засасывается, в освобождаемый объем, а при движении поршня в обратном направлении - вытесняется в напорную линию. При изменении угла и направления наклона блока цилиндров изменяются подача и направление потока рабочей жидкости.

Принцип действия и конструкционные особенности радиально-поршневых насосов

Качающие узлы радиально-поршневого насоса, в каждом из которых содержатся всасывающий и напорный клапаны, закреплены в корпусе. Поршень каждого качающего узла опирается на шейку эксцентрического вала. При перемещении поршня в направлении оси вала, открывается всасывающий клапан, через специальную канавку жидкость поступает в рабочую камеру, т.е. происходит всасывание.

Размер и число поршней, а также величина их хода определяют рабочий объем радиально-поршневого насоса. Изменяя эксцентриситет вала насоса, можно регулировать подачу.

Вопрос № 5. Объясните, чем руководствуются при выборе гидроаппарутуры и фильтров

Основными параметрами гидроаппаратуры являются номинальное давление Pra(ном), номинальный расход Qra(ном) и условный проход Dy. Выбор гидроаппартов осуществляют в соответствии с принципиальной схемой по функциональному назначению и значению условного прохода Dy, проверяя при этом соответствие расчетных значений максимального расхода жидкости через гидроаппарат и максимального рабочего давления паспортным данным гидроаппарата.

При проектировании гидропровода гидроаппаратуру обычно не рассчитывают, а выбирают из промышленных каталогов производителей в соответствии с принципиальной схемой по функциональному назначению, значению условного прохода Dy и давлению.

При выборе гидроаппаратов следует соблюдать следующие условия:

Pra(ном) ≥ P(ном); Qra(ном)≥ Q(ном).

Предпочтение следует отдавать аппаратам, имеющим наиболее близкие к расчетным номинальные значения давления и расхода.

При определении типоразмера, тонкости фильтрации и конструкции фильтра следует руководствоваться следующими критериями:

чувствительность к загрязнению элементов гидросистемы с учетом тонкости фильтрации и требуемого класса чистоты. Класс чистоты гидросистемы зависит от класса чистоты, который требуется наиболее чувствительному к загрязнению элементу системы.

область применения гидросистемы

определение расхода жидкости, проходящей через фильтр

допустимый перепад давлений

гарантия совместимости фильтровального материала с рабочей жидкостью

желаемая надежность гидропривода.

Вопрос № 6. Опишите процесс охлаждения газа в компрессорах

Из термодинамики известно что для устройства, рабочий процесс которого в системе координат изображается в виде замкнутой линии, механическая работа пропорциональна площади, ограниченной этой линией, т.е. площади его индикаторной диаграммы.

Минимальная площадь будет в том случае, если процесс сжатия будет соответствовать изотермическому процессу.

В таком процессе постоянная температура газа поддерживается за счет отвода тепла, выделяющегося в компрессоре. На практике добиться изотермического процесса сжатия газа не удается из-за необходимости серьезных усложнений конструкции системы охлаждения.

В промышленных компрессорах различных типов система охлаждения обеспечивает политропический процесс сжатия, для которого показатель политропы l <n <k.

При этом чем эффективнее система охлаждения, тем ближе процесс сжатия к изотермическому.

Воздушное охлаждение малоэффективно и применяются в компрессорах малой мощности.

В промышленных компрессорных установках охлаждение происходит за счет циркуляции поп полостям в корпусе компрессора охлаждающей жидкости, обтекающей рабочие камеры. В центробежных компрессорах полости проектируют так, чтобы охлаждающая жидкость обтекала стенки направляющего аппарата каждой ступени.

Такое охлаждение называют внутренним или рубашечным, так как полости корпуса образуют как бы рубашку охлаждения.

В компрессорных установках, где используются объемные многоступенчатые компрессоры, помимо внутреннего охлаждения применяют внешнее с помощью охладителей, в которых газ отдает теплоту на пути между ступенями.

В качестве таких охладителей чаще всего используют обычные трубчатые теплообменники(радиаторы), в которых под напором циркулирует вода или специальная жидкость.

Использование и внутреннего, и внешнего охлаждения сжатого газа существенно повышает экономичность работы компрессоров.

Задача №1. Определить площадь рабочего окна дросселя, установленного в напорной линии магистрали, давление в которой =18МПа. Давление на сливе =0,5МПа. Расход жидкости через дроссель Q=467 /с, плотность жидкости p=900кг/

Решение. Расход жидкости через отверстие определяется по формуле:

=

Где Q- расход,

-коэффициент расхода (0,6-0,9)

площадь проходного сечения

 перепад давления на дросселе, Па

- плотность жидкости, кг/

Отсюда

S =

S = =4.59*

Ответ : 4.59* площадь рабочего окна дросселя

Задача 2 Уточнить режим течения воды в трубопроводе диаметром d=120мм при расходе Q=6 л/с. Коэффициент кинематической вязкости v= 1,01*

Решение. Определим число Рейнольдса по формуле:


Где Q- расход,

- кинематическая вязкость жидкости

 

d - внутренний диаметр трубопровода, м

- скорость потока в сечении, м/с

=0,53 м/с

==6,297*

Ответ: режим течения жидкости турбулентный.

Похожие работы на - Основы монтажа, ремонта и эксплуатации гидравлического и пневматического оборудования

 

Не нашли материал для своей работы?
Поможем написать уникальную работу
Без плагиата!
Без нейросетей!