Ремонт деталей поршневых и кривошипно-шатунных механизмов

  • Вид работы:
    Контрольная работа
  • Предмет:
    Другое
  • Язык:
    Русский
    ,
    Формат файла:
    MS Word
    532,66 Кб
  • Опубликовано:
    2012-07-05
Вы можете узнать стоимость помощи в написании студенческой работы.
Помощь в написании работы, которую точно примут!

Ремонт деталей поршневых и кривошипно-шатунных механизмов

МИНИСТЕРСТВО ОБРАЗОВАНИЯ РЕСПУБЛИКИ БЕЛАРУСЬ

УПРАВЛЕНИЕ ОБРАЗОВАНИЯ МОГИЛЕВСКОГО ОБЛИСПОЛКОМА

Учреждение образования «Бобруйский государственный профессиональный электротехнический колледж им. А.И. Черныша»








ПИСЬМЕННАЯ ЭКЗАМЕНАЦИОННАЯ РАБОТА

ПО ТЕМЕ: «РЕМОНТ ДЕТАЛЕЙ ПОРШНЕВЫХ И КРИВОШИПНО-ШАТУННЫХ МЕХАНИЗМОВ»


Учебная специальность: «Техническая эксплуатация оборудования»

Единичная квалификация: Слесарь-инструментальщик;

Слесарь механосборочных работ; Слесарь-ремонтник

Группа №906

Исполнитель: Бурдуков В.В.

Консультант: Пырх С.И.



Бобруйск 2012

Оглавление

Введение

. Ремонт деталей поршневых и кривошипно-шатунных механизмов

.1 Поршневая группа деталей

.2 Ремонт цилиндров

.3 Ремонт поршней

.4 Ремонт поршневых пальцев и поршневых колец

.5 Ремонт шатунов

. Технический раздел

. Техника безопасности

. Охрана труда

Список использованной литературы

Введение


Решающее значение в осуществлении реформы и подъеме экономики нашей страны имеет приоритетное развитие машиностроения как основы технического прогресса.

Создание и внедрение в промышленность, сельское хозяйство, строительство и другие отрасли народного хозяйства новой техники, эксплуатация современных машин, механизмов, приборов и аппаратов требуют подготовки специалистов высокой квалификации. Современный рабочий должен грамотно эксплуатировать сложную технику, оснащённую совершенными приборами, электрическими, гидравлическими и пневматическими устройствами. С ростом механизации и автоматизации меняется характер труда в современном производстве. В содержании труда рабочего все большее место занимают функции планирования, расчёта, наладки, управления сложной техникой и технологическими процессами.

Профессия слесаря является одной из наиболее распространенных. Слесарные работы нужны не только в машиностроении, но и во многих других отраслях промышленности и сельского хозяйства. Они очень разнообразны: слесари-сборщики собирают различные машины и механизмы, слесари-ремонтники выполняют техническое обслуживание и ремонт машин и механизмов, слесари-инструментальщики изготавливают инструменты, штампы и приспособления, слесари по монтажу техники, приборов и коммуникаций занимаются установкой оборудования, подводом к нему энергии и другими монтажными работами.

С ростом механизации и автоматизации значение слесарных профессий возрастает, так как от деятельности слесарей в значительной мере зависят качество изготавливаемой продукции и бесперебойная работа средств механизации и автоматизации производственных процессов.

Труд слесаря на современном предприятии- это творческий труд. Непрерывно усложняющееся оборудование, с которым имеет дело слесарь, требует от него теоретических знаний, умения разбираться в сложных механизмах и решать задачи, возникающие в процессе сборки, эксплуатации и ремонта техники.

1. Ремонт деталей поршневых и кривошипно-шатунных механизмов

.1 Поршневая группа деталей

Поршневая группа деталей входит в состав механизмов преобразования вращательного движения в поступательное. К основным деталям поршневой группы относится цилиндр, состоящий из так называемой рубашки и внутренней втулки или гильзы, и поршень с поршневыми кольцами. Поршень соединён с шатуном посредством поршневого пальца, второй конец шатуна имеет вкладыш, который соединяет шатун с коленчатым валом.

В процессе эксплуатации вследствие износа увеличивается зазор между стенками цилиндра и поршня; поверхность цилиндра приобретает нецилиндричность и некруглость на стенках цилиндра образуются задиры. Поршневые кольца становятся менее упругими, увеличивается зазор в замках т.е. в местах, где находится стык концов кольца. В результате всего этого в полости цилиндра уменьшается компрессия, т.е. степень сжатия газов, так как газы просачиваются между стенками поршня и цилиндра. Из-за износа нарушается также посадка поршневого пальца в бобышках поршня и головке шатуна и посадка шатуна на шейке вала, что влечёт за собой возникновение стука в сопряжениях.

Ремонт деталей поршневых и кривошипно-шатунных механизмов часто обходится дороже, чем изготовление новых. Поэтому в каждом конкретном случае судят о целесообразности и методе ремонта. Наибольший эффект достигается заменой изношенных деталей новыми запасными частями. При этом снижается время простоя машин из-за ремонта, снижается трудоёмкость и повышается качество ремонта. Однако в ряде случаев и особенно при ремонте крупных компрессоров, пневматических молотов и др. и при отсутствии запасных частей) детали поршневых и кривошипно-шатунных механизмов приходится ремонтировать. В таком случае рационально пользоваться методами, рассмотренными ниже.

При ремонте деталей поршневой группы необходимо строго выдерживать технические требования на ремонте.

.2 Ремонт цилиндров

цилиндр поршневой палец шатун

Изношенные цилиндры принято ремонтировать по системе ремонтных размеров. При восстановлении цилиндр-поршень производится механическая обработка отверстия цилиндра под больший ремонтный размер и соответственно подбирается новый поршень, диаметр которого больше диаметра прежнего.

Ремонтные размеры цилиндров, как правило, устанавливаются заводами-изготовителями. Эти размеры для цилиндров двигателей идут с градацией 0,5-1,0 мм в зависимости от диаметра цилиндра. Если, например, первоначальный (номинальный) диаметр цилиндра равен 101,57+0,06мм и т. д. до последнего-пятого-размера 104,07+0,06мм.

Последний ремонтный размер должен быть таким, чтобы цилиндр был достаточно прочным.

Восстановление рабочей поверхности цилиндра по системе ремонтных размеров имеет то преимущество, что многократно используется корпус цилиндра (или блок цилиндров). Изготовление же нового цилиндра требует больших трудовых затрат.

Цилиндры, износ которых вышел за пределы последнего ремонтного размера, в отдельных случаях можно восстановить растачиванием и последующей запрессовкой гильзы. Гильзу запрессовывают в расточенный корпус с натягом, затем обрабатывают ее отверстие до номинального размера отверстия цилиндра.

Если в цилиндре уже имеется гильза и она изношена, то ее растачивают до ближайшего ремонтного размера на расточном или токарном станке.

После расточки производят хонингование цилиндров. Припуски на хонингование должны быть в пределах 0,06-0,09 мм.

При отсутствии на предприятии хонинговального станка отделочную операцию отверстия цилиндра можно выполнить на токарном или сверлильном станке, применяя шлифовальную головку.

После окончательной обработки внутренняя поверхность цилиндра должна иметь 9-й класс шероховатости.

.3 Ремонт поршней

У поршней в результате эксплуатации изнашиваются канавки и отверстия под поршневой палец, а также образуются трещины на донышке и риски на поверхности поршня.

Отверстия для поршневого пальца развёртывают вручную специальной развёрткой в небольших поршнях и растачивают на расточном станке у поршней больших размеров. Расточку можно выполнить и на токарном станке, если применить специальное приспособление. Выбор посадки поршневого пальца в отверстие поршня-с натягом или зазором - зависит от конструкции поршня и условий, в которых он работает.

Места на цилиндрической поверхности 4 поршня, где имеются задиры или наплывы. А также днище 3 запиливают личным напильником, потом зачищают и полируют мелкозернистой наждачной бумагой.

Поршни с трещинами обычно выбраковывают. Значительному износу подвержены поршневые канавки 2, которые восстанавливают прочной на токарном станке до ремонтного размера.

Рис. 1. Поршень:

- отверстие для поршневого пальца, 2 - поршневые канавки, 3 - днище, 4 - цилиндрическая поверхность

.4 Ремонт поршневых пальцев и поршневых колец

У поршневых пальцев изнашивается наружная поверхность, сопрягаемая со втулкой шатуна и бобышкой поршня. Предельно допустимый зазор между пальцем и втулкой, в зависимости от типа машин, составляет от 0,1 до 0,15 мм, а зазор после ремонта должен составлять 0,02-0,025 мм. При ремонте изношенные пальцы часто заменяют новыми, поскольку трудоемкость их изготовления невелика, и пригоняют по восстановленным отверстиям в поршне и втулке шатуна. Иногда пальцы хромируют по наружному диаметру, с тем чтобы они соответствовали увеличенному ремонтному размеру. Если поршень заменен» новым, нужно исходить из того, что его отверстие под поршневой палец имеет номинальный размер.

Из всех деталей шатунно-поршневой группы наибольшему износу подвергаются поршневые кольца и особенно верхнее компрессионное кольцо. Об износе колец судят по зазорам между кольцом и канавкой и в стыке. Поршневые кольца, если зазор между кольцом и канавкой больше 0,3-0,4 мм, а в стыке больше 3-4 мм, обычно заменяют.

Кольцо, потерявшее упругость, также заменяют. Для определения упругости поршневого кольца пользуются специальным прибором и таблицами, указывающими соотношение между силой сжатия и зазором, который должен получиться при этом сжатии.

В ремонтной практике поршневые кольца обычно изготовляют так: обтачивают чугунный пустотелый цилиндр, затем его разрезают на кольца с припуском для последующей обработки колец по наружному и внутреннему диаметрам, а также по высоте. Из каждого кольца вырезают небольшой участок (рис. 2, а), образуя сквозную щель, позволяющую кольцу сжиматься и создавать стык.

В стыке устраивается так называемый замок, препятствующий просачиванию газов. Его делают либо с косым вырезом под углом 45°, либо с прямым вырезом е накладку. Второй способ более надежный, но следует иметь в виду, что у колец малого диаметра нельзя делать замок в накладку, так как его тонкие части тогда легко обламываются. Кольца диаметром 300 мм и более сжимают почти до соприкосновения поверхностей выреза (торцов) и спаивают, затем их окончательно протачивают по наружному и внутреннему диаметрам. После этого кольца распаивают.

Поршневые кольца растачивают и обтачивают на размер на специальных оправках, после того как у колец сделан вырез, устроен замок и окончательно обработаны торцы. На одной оправке (рис. 2, б) кольцо растачивают в размер, на другой оправке (рис. 2, в) его окончательно обрабатывают снаружи.

Зазор между кольцом и канавкой по высоте в отремонтированных сочленениях колеблется от 0,06 до 0,12 мм и зависит от типа машины. Проверяют зазоры щупом.

Поршневые кольца больших размеров пригоняют к канавкам шабрением с последующей притиркой торцов по плите. Если имеется возможность, то лучше шлифовать кольца на плоскошлифовальном станке. Небольшие кольца пригоняют шлифованием.

Поместив кольцо в восстановленном цилиндре, определяют зазор в замке щупом (рис. 2, г). Заключительные операции - пригонка замка и его зачистка - личным напильником либо оселком.

Рис. 2. Поршневые кольца:

а - формы замков колец, б - схема закрепления заготовки кольца для ее обработки по внутреннему диаметру, в - закрепление кольца для его обработки по наружному диаметру, г - измерение зазора в замке щупом

При установке колец на поршень необходимо добиться равномерного расположения замков по периметру цилиндра, что еще надежнее предотвращает прорыв находящихся в цилиндре газов или пара.

.5 Ремонт шатунов

В двигателях, компрессорах и паровых машинах применяются разные виды шатунов, однако условия, в которых они все работают, и предъявляемые к ним требования в основном одинаковы.

Рис. 3. Шатун:

а - комплект деталей шатуна, б - проверка параллельности осей верхней и нижней головок шатуна; 1 - стержень шатуна, 2 - болты, 3 - плоскости разъема большой головки, 4 - гайки, 5 - шплинты, 6, 9 - половинки большой головки, 7 - вкладыши, 8 - прокладки, 10 - втулка, 11 - малая головка шатуна, 12 - призма, 13 - опорная площадка, 14 - контрольная плита, 15 - щуп, 16, 17 - оправки

Шатун (рис. 3, а) состоит из ряда деталей, которые в работе изнашиваются. Стержень 1 изгибается или скручивается, повреждаются поверхности разъема 3 большой головки 9 шатуна и крышки. Могут изнашиваться вкладыши 7 или втулки 10, поверхности посадочного отверстия в малой головке 11, внутренняя поверхность большой головки под вкладыши 7.

Если стержень шатуна изогнут или скручен несильно, его выправляют на прессе.

Для проверки шатунов на изгиб и скручивание применяют специальное приспособление (рис. 3,6), основными частями которого являются контрольная плита 14 с оправками 16 и 17 и призма 12. В верхнюю головку устанавливают оправку 17 и надевают шатун нижней головкой на оправку 16. На цилиндрические выступы оправки 17 устанавливают призму 12, имеющую три опорные площадки 13. Если стержень шатуна не изогнут и не скручен, оси отверстий головок должны быть параллельны, при этом все три опорные площадки 13 будут соприкасаться с плитой. Возможный зазор между какой-либо из опорных площадок и плитой 14 контролируется щупом 15. Допустимая величина зазоров в каждом конкретном случае указывается в инструкционной карте.

Не разрешается править шатуны в сборе.

Шатуны с небольшим износом поверхностей отверстий большой головки и крышки ремонтируют так: опиливают или фрезеруют, или пришабривают по плите поверхности 3 разъема с учетом того, в результате последующего растачивания внутренних цилиндрических поверхностей диаметр этих отверстий несколько увеличиться поверхности разъема со значительными повреждениями можно восстановить наплавкой с последующим фрезерованием. При износе баббита вкладышей 7 производят перезаливку, и затем вкладыши растачивают. Изношенное отверстие головки 11 растачивают до следующего ремонтного размера и изготовляют новую втулку 10.

2. Технический раздел


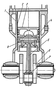
Поршневая группа деталей входит в состав механизмов преобразования вращательного движения в поступательное.

Рис. 3. Поршневая группа деталей

К основным деталям поршневой группы относится цилиндр, состоящий из так называемой рубашки 1 и внутренней втулки или гильзы 2, и поршень 3 с поршневыми кольцами 4. Поршень соединён с шатуном 5 посредством поршневого пальца 8, второй конец шатуна имеет вкладыш 7, который соединяет шатун с коленчатым валом 6.

3. Техника безопасности


При выполнении слесарных работ следует строго соблюдать правила техники безопасности: пользоваться только исправным инструментом; при сверлении хрупких металлов и заточке инструмента пользоваться защитными очками; мелкие детали сверлить только в тисках; поддерживать в исправном состоянии оборудование.

Для выполнения этих общих правил:

. Запрещается работать зубилами и крейцмейселями с косыми и обитыми затылками и с выкрошенной режущей кромкой;

. При работе с зубилом и крейцмейселем для защиты глаз от осколков применять защитные очки;

. Запрещается работать неисправными отвертками, напильниками, острогубцами, плоскогубцами, гаечными ключами и другим слесарным инструментом;

. Слесарные тиски должны быть в полной исправности, надежно укреплены на верстаке; зажимаемое изделие прочно захватывать и иметь на губках насечку;

. При распиливании металла ножовкой для предупреждения соскальзывания ее предварительно пропиливать трехгранным напильником углубление для полотна ножовки;

. Периодически зачищать заусенцы на молотках и других ударных инструментах;

. Пыль и стружку с рабочего места сметать щеткой; запрещается сдувать стружку сжатым воздухом или убирать ее голыми руками.

. При заточке инструмента необходимо проследить, чтобы подручник заточного станка был правильно установлен, т. е. зазор между краем подручника и рабочей поверхностью круга был меньше половины толщины затачиваемого изделия и не более 3-х мм.

. Рабочее место слесаря должно быть достаточно освещено.

. Во избежание самовозгорания промасленных тряпок и ветоши необходимо убирать их в специальные металлические ящики.

4. Охрана труда


При выполнении слесарно-монтажных, ремонтных и сборочных работ необходимо строго соблюдать охрану труда не только в мастерских и в цехах, но и на территории предприятия. Перед тем как приступить к работе, слесарь проходит инструктаж на рабочем месте. Инструктаж проводит мастер, который постоянно обязан контролировать выполнение требований техники безопасности. Обнаружив нарушения, мастер обязан немедленно остановить работу, устранить их и провести дополнительный инструктаж. При переводе на новое оборудование или новую технологию инструктаж также является обязательным.

После инструктажа проводится проверка того, на сколько хорошо он усвоен рабочим. Результаты проверки фиксируют в специальном документе, в котором рабочий расписывается в ознакомлении с правилами техники безопасности, а подпись инструктируемого удостоверяет мастер или начальник цеха, после чего разрешает приступить к работе. Ниже приведены общие правила безопасного выполнения работ.

Работать разрешается только на исправном оборудовании. Запрещается на ходу чистить, смазывать, ремонтировать станок. Не разрешается производить какие-либо измерения на работающем оборудовании.

В целях электробезопасности категорически запрещается касаться руками тех частей оборудования, которые находятся под напряжением, а также электрических установок. Запрещено поднимать упавшие оборванные провода и становиться на них ногами, прикасаться к висящим концам разорванного провода, так как последний может быть под напряжением.

При выполнении электросварочных работа также в иных случаях, когда имеют дело с электрической дугой, необходимо пользоваться защитными очками. В противном случае возможно заболевание глаз и даже потеря зрения.

Необходимо избегать прикосновения к горячему металлу. Надо помнить, что металл может быть горячим, хотя, охладившись до 400-500 градусов Цельсия, он по внешнему виду не отличается от холодного металла. Прикосновение к горячему металлу может привести к ожогам.

Тяжёлые и громоздкие грузы перемещают в цехе с помощью различных грузоподъемных механизмов и кранов, которые не реже чем 1 раз в год подвергают техническому освидетельствованию и испытаниям по правилам Госгортехнадзора. Груз крепят только исправными и проверенными на прочность тросами с захватами. При выполнении грузоподъемных работ запрещается находиться под поднятым грузом.

Безопасность эксплуатации машин и механизмов достигается так же применением разнообразных защитных устройств, например, ограждений. Ограждение может быть полным или частичным. Полное ограждение устанавливают, когда действие машины автоматическое. Для частичного ограждения опасной зоной используют неподвижные и подвижные ограждения (сплошные, решётчатые, сетчатые).

Неподвижное ограждение постоянно закрывает доступ в опасную зону и защищает работающего. Зубчатые передачи ограждаются сплошными кожухами. такие ограждения устанавливают, как правило, в том случае, если передаточные механизмы расположены на высоте до 2 метров над уровнем пола.

Подвижное ограждение закрывает рабочую зону при наступлении опасного момента и открывает ее, когда станок отключается. За этим ограждением необходим систематический контроль.

Весьма эффективно применение блокировки. Блокировочное ограждение представляет собой барьер (или дверцу),устроенный так, что машина может работать только тогда, когда барьер закрывает доступ в рабочую зону(или при закрытых дверцах).Если это условие нарушено, выключается питание машины.

Предупредительные надписи и плакаты, запрещающие те или иные действия, предупреждающие об опасности, обязательные в опасных зонах. Такие надписи устанавливают, например, на дверях трансформаторных будок.

Опасные последствия для человека может иметь воздействие на организм электрического тока. Ток силой до 1,5 мА можно считать безопасным. Работая в сухих помещениях(при влажности до 75%),пользуются током напряжением 36 В.Это напряжение используют для освещения переносными лампами, для привода ручного электроинструмента (в последнем случае иногда применяют то напряжение до 220 В)и др.Кроме сухих помещений, различают сырые(влажность от 75 до 100%)и особо сырые (влажность 100%).Опасность поражения электрическим током резко возрастает в сырых и особо сырых помещениях. Поэтому в них безопасным считается напряжение 12 В.

Для переохлаждения от поражения электрическим током напряжением 220 и 380 В в случае прикосновения к нетоковедущим частям, случайно оказавшимся под напряжением, используют защитное заземление, отключение и др.

Защитное заземление устраивают в сетях напряжением до 1000 В. Металлические части оборудованием соединяют стольным или медным проводом, с проводником, находящимся в земле.

Защитное отключение - это автоматическое устройство, выключающее ток при появлении на корпусе защищаемого оборудования напряжения 20-40 В.Для защиты широко используют также индивидуальные средства: резиновые перчатки, специальную одежду, изолирующие подставки, покрытие и др.

Правила охраны труда предусматривают также ограничение шума в цехе. Допустимый уровень шума цехе при воздействии его в течение 8 часов составляет 85 дБ. Уровни шума снижают глушителями и специальными кожухами. Стены покрывают щитами из стекловолокна или другого материала, обладающего высокой звукопоглощающей способностью. Такая звукоизоляция снижает общий уровень шума в цехе.

Список использованной литературы


1. Гельберг Б.Т. Ремонт промышленного оборудования: Учебник для средних профессионально-технических училищ 1977.

. Григорьев С.П. Практика слесарно-сборочных работ: Учеб. пособие для повышения квалификации рабочих. - М.: Машиностроение, 1985.

. Спиридонов Н.И. Общий курс слесарного дела: Учебно-методическое пособие 2011.

. Челноков А.А. Охрана труда: Учебник для учреждений, среднего специального образования.

Похожие работы на - Ремонт деталей поршневых и кривошипно-шатунных механизмов

 

Не нашли материал для своей работы?
Поможем написать уникальную работу
Без плагиата!
Без нейросетей!