Сцепление легкового автомобиля
Сцепление легкового
автомобиля
1. Обзор конструкций
проектируемого узла
1.1 Требования к
конструкции и классификация
Устанавливаемые на автомобилях сцепления
по характеру передачи крутящего момента разделяют на фрикционные и электромагнитные.
Работа фрикционного сцепления основана на использовании касательных сил трения,
возникающих в зоне контакта ведущих и ведомых элементов, при их относительном
угловом смещении. Сила трения пропорциональна нормальной силе, сжимающей эти
элементы. Электромагнитные сцепления передают крутящий момент за счет сил
магнитного притяжения частиц ферронаполнителя, расположенного между ведущими и
ведомыми элементами сцепления. Этот момент пропорционален силе тока,
протекающего в обмотке возбуждения, с помощью которой намагничивается
ферронаполнитель. Выключение сцепления достигается отключением обмотки от
источника питания.
Наибольшее распространение имеют
фрикционные сцепления. Электромагнитные сцепления иногда устанавливают на
микро- и малолитражных легковых автомобилях.
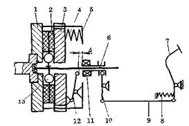
Основные элементы фрикционного сцепления
показаны на рисунок 1.1. Оно включает следующие узлы ведущую часть - маховик 1,
нажимной диск 3, кожух сцепления 5, нажимные пружины, ведомую часть - ведомый
диск - с гасителем крутильных колебаний 13, механизм выключения - отжимные
рычаги 12, выжимной подшипник 11 с муфтой выключения 6, привод сцепления -
педаль 7, оттяжную пружину 8, тягу 9, вилку 10. При необходимости в привод
встраивается усилитель, помогающий водителю управлять сцеплением.
Рисунок 1.1. Схема сцепления
Сжатие трущихся поверхностей
осуществляется нажимными пружинами. Зазор D в приводе (на рисунок
1.1 между подшипником 11 и рычагами 12) необходим для полного включения
сцепления и должен поддерживаться в определенных пределах. Если конструкция
привода не обеспечивает гарантированного зазора, вследствие изнашивания
трущихся поверхностей он уменьшается, а восстанавливается соответствующей
регулировкой. Выключение сцепления происходит следующим образом. При нажатии на
педаль 7 через систему рычагов и тяг перемещается выжимной подшипник 11 и
выбирается зазор D. Затем подшипник воздействует на отжимные рычаги
12 и нажимной диск отходит вправо, сжимая пружины 4. При этом между ведомым
диском 2, маховиком 1 и нажимным диском 3 образуются зазоры, что приводит к
выключению сцепления.
Сцепление должно обеспечивать: передачу
максимального крутящего момента двигателя без пробуксовки при полностью
включенном сцеплении; чистое выключение, необходимое для полного отключения
двигателя от трансмиссии; плавность включения для уменьшения динамических
нагрузок в трансмиссии и для плавного трогания автомобиля с места; минимальный
момент инерции ведомой части сцепления. Для уменьшения динамических нагрузок в
зубчатых зацеплениях коробки передач и скорости изнашивания синхронизаторов при
переключении передач; постоянство момента трения во включенном состоянии;
эффективный отвод теплоты при буксовании; гашение высокочастотных колебаний,
действующих на трансмиссию, в основном, со стороны двигателя; высокую
долговечность и технологичность изготовления; малые габариты (длина).
Конструкции сцеплений отличаются большим
разнообразием. По форме трущихся поверхностей они могут быть дисковыми,
колодочными или конусными; по способу создания нажимного усилия -
механическими, гидравлическими, пневматическими, электрическими; по состоянию
трущихся поверхностей - сухими или смазываемыми; по характеру работы -
постоянно замкнутыми или разомкнутыми. На автомобилях в подавляющем большинстве
случаев применяют сухие дисковые постоянно замкнутые сцепления с пружинным
нажимным устройством и гасителем в ведомом диске. Эти сцепления просты по
конструкции и долговечны.
В свою очередь сухие фрикционные сцепления
подразделяются по ряду признаков: по способу действия - на неавтоматические и
автоматические. В настоящее время обычно применяют неавтоматические сцепления.
Автоматические сцепления установлены на некоторых моделях легковых зарубежных и
отечественных автомобилей. Автоматическим может быть само сцепление
(центробежное) по принципу его работы или система управления, обеспечивающая
работу неавтоматического сцепления (обычно фрикционного или электромагнитного)
по заданному алгоритму без вмешательства водителя.
По числу ведомых дисков - на одно- и двух
- дисковые. Однодисковые сцепления используют на легковых и грузовых
автомобилях малой и средней грузоподъемности. Двухдисковые сцепления
устанавливают на автомобилях большой грузоподъемности.
По расположению нажимных пружин - на
периферийные и центральные. По периферии устанавливают ряд цилиндрических
пружин, а центрально - одну коническую, цилиндрическую или тарельчатую.
Последние получили распространение в сцеплениях легковых автомобилей, остальные
типы применяют в сцеплениях грузовых автомобилей и автобусов.
По типу привода - на сцепления с
механическим и гидравлическим приводом без усилителя и с усилителем. Усилители
выполняют механическими, гидравлическими, пневматическими или вакуумными.
1.2 Конструкции сцеплений
Конструкция, размеры и характеристики сцепления
в значительной степени определяются типом нажимных пружин. В автомобильных
сцеплениях применяют цилиндрические, конические и тарельчатые пружины. Их
сравнительные характеристики показаны на рисунок 1.3. Цилиндрические пружины
имеют линейную характеристику во всем рабочем диапазоне. Характеристика
конической пружины до посадки витков также является линейной, затем по мере
выключения витков из работы жесткость пружины увеличивается. Это является
недостатком, так как обусловливает увеличение усилия при выключении сцепления и
значительное снижение нажимного усилия при изнашивании фрикционных накладок.
Наиболее благоприятна характеристика тарельчатой пружины, усилие которой в
рабочем диапазоне изменяется незначительно при выключении сцепления и изнашивании
фрикционных накладок. Цилиндрические пружины в современных сцеплениях
устанавливают по периферии, что обеспечивает равномерное сжатие трущихся
поверхностей за счет симметричного расположения пружин относительно друг друга
и отжимных рычагов. В зависимости от их числа нажимные пружины располагаются на
одной или двух окружностях нажимного диска. Для центрирования пружин и
уменьшения их деформации при действии центробежных сил применяют стаканы,
бобышки или выступы на нажимном диске и кожухе сцепления. Бобышки нажимного
диска используют также для его балансировки. Для предотвращения нагрева пружин
устанавливают теплоизолирующие шайбы. Вместо периферийных пружин может
устанавливаться центрально одна цилиндрическая пружина.
Рисунок 1.2. Типовые конструкции
однодискового - ЗИЛ-130 (а) и двухдискового - ЯМЗ-236К (б) сцеплений с
периферийно расположенными пружинами, однодисковых сцеплений с центральной
конической пружиной - МАЗ-200 (в) и с тарельчатой пружиной - ВАЗ (г): 1 - ведомый
диск; 2 - нажимной диск; 3 - отжимные рычаги; 4-гаситель; 5 - кожух; 6 -
выжимной подшипник, 7 - нажимные пружины, 8 - пластины
При этом уменьшается диаметр сцепления, а
его осевые размеры увеличиваются. Использование более сложной в изготовлении
конической пружины, устанавливаемой центрально, позволяет уменьшить и осевые
размеры сцепления. В таких сцеплениях регулируется усилие сжатия пружины,
например, прокладками, как в конструкции.
Сжатая коническая пружина 7 расположена
между опорным фланцем и подвижной втулкой. На другом конце втулки закреплена с
помощью стопорного кольца обойма с шариками нажимных упругих рычагов
пластинчатого типа. Обойма состоит из двух шайб. В ней устанавливается до 20
рычагов, которые удерживаются шариками, помещаемыми в отверстия на внутренних
концах рычагов. Наружные концы рычагов опираются на кольцевые выступы опорного
фланца и нажимного диска 2.
Пружина 7 стремится переместить втулку
вместе с обоймой вправо. В результате внутренние концы рычагов также смещаются
вправо, сжимая наружными концами трущиеся поверхности сцепления. При выключении
сцепления втулка перемещается влево и упругие рычаги 3, перестают действовать
на нажимной диск. Упругие рычаги обеспечивают равномерное сжатие трущихся
поверхностей и плавность включения сцепления.
Рисунок 1.3. Характеристики нажимных
пружин: а-конической; б - цилиндрической; в-тарельчатой
Рисунок 1.4. Варианты установки нажимных
цилиндрических периферийных пружин: 1 - нажимной диск; 2 - теплоизолирующая
шайба; 3 - нажимные пружины; 4 - кожух сцепления
Тарельчатые пружины благодаря своим
достоинствам широко используются в автомобильных сцеплениях (особенно легковых
автомобилей). Тарельчатая пружина (рисунок 1.5) имеет форму усеченного конуса и
состоит из сплошного кольца с меридионально расположенными лепестками,
выполняющими функции упругих отжимных рычагов. Возможны два варианта установки
тарельчатой пружины (рисунок 1.6). В первом варианте на нажимной диск пружина
действует наружным краем сплошного кольца, во втором (рисунок 1.6, б) -
внутренним. Первый вариант наиболее широко применяется в силу простоты
механизма выключения сцепления. Во втором варианте упрощается конструкция
механизма установки пружины, уменьшаются усилие выключения и напряжения в
пружине. Однако в этом случае для выключения сцепления внутренние концы
лепестков пружины необходимо перемещать в направлении от нажимного диска, что
усложняет конструкцию механизма выключения.
Рисунок 1.5. Общий вид тарельчатой пружины
При использовании тарельчатых пружин
упрощается конструкция сцепления, уменьшаются его размеры, число деталей,
обеспечивается плавное включение, равномерная нагрузка на нажимной диск, малое
изменение нажимного усилия при изнашивании накладок.
Ведущие диски (нажимные и промежуточные)
передают крутящий момент двигателя ведомым дискам. Для обеспечения поглощения и
рассеивания теплоты они выполняются массивными, часто с радиальными или
спиральными вентиляционными каналами и ребрами. Ребра, помимо улучшения
теплопередачи, способствуют повышению жесткости нажимного диска. Ведущие диски
должны вращаться вместе с маховиком и иметь возможность перемещаться в осевом
направлении. При этом направляющими устройствами служат выступы, шипы, зубья
или пальцы. Кроме того, могут применяться шпоночные соединения, а также
равномерно располагаемые по окружности тангенциальные пружины.
Выступы нажимного диска, входящие в пазы
кожуха сцепления, обеспечивают их надежное соединение. Вследствие значительного
трения в соединении, возникающего при осевом перемещении диска, увеличивается
усилие выключения сцепления. Соединение при помощи упругих пластин 8
обеспечивает перемещение нажимного диска без трения. В этом случае один конец
пластины приклепывается к кожуху, а второй - крепится к нажимному диску. Такой
способ соединения широко используется в сцеплениях легковых и грузовых
автомобилей. В двухдисковых сцеплениях ведущие диски иногда перемещаются вдоль
пальцев, закрепленных в маховике. Промежуточные диски могут соединяться с
маховиком при помощи шлиц, шипов или пальцев, запрессованных в маховик. Эти
пальцы входят в пазы промежуточного диска, чем обеспечивается возможность его
осевого перемещения.
Рисунок 1.7. Варианты соединения ведущих
дисков с маховиком
Для обеспечения чистоты выключения
двухдискового сцепления промежуточный диск принудительно отводится при помощи
различных пружинных устройств. Некоторые варианты этих конструкций показаны на
рисунок 1.8. Конструкция (рисунок 1.8, а) отличается простотой и состоит из
пружин 2, установленных между маховиком 1, промежуточным 3 и нажимным 4
дисками. Чистота выключения сцепления достигается за счет правильного выбора
жесткостей пружин и их точного изготовления. В ряде сцеплений используются
пружины, расположенные между маховиком 1 и промежуточным диском3 (рисунок 1.8,
б). Среднее положение диска в выключенном сцеплении определяется упором 5,
ввернутым в кожух 6 сцепления. В современных сцеплениях часто применяют
устройства (рисунок 1.8, в), состоящие из рычагов 7, установленных в
промежуточном диске 3. При выключении сцепления рычаги под действием винтовых
пружин 8 поворачиваются против часовой стрелки, упираясь своими концами в
маховик 1 и нажимной диск 4, в результате чего промежуточный диск
устанавливается в среднее положение. Ведомый диск (рисунок 1.9) устанавливается
на шлицах первичного вала коробки передач и состоит из шлицованной ступицы,
стального диска толщиной 2…3 мм, фрикционных накладок и гасителя крутильных
колебаний. Для обеспечения лучшего контакта поверхностей трения, плавного
включения и предупреждения коробления при нагреве стремятся уменьшить осевую
жесткость ведомых дисков. С этой целью их выполняют разрезными. За счет
устройства Т-образных прорезей (рисунок 1.10, а) уменьшается ширина перемычек
между секторами, которые в свою очередь могут последовательно отгибаться в
разные стороны (рисунок 1.10, б). Между диском и фрикционными накладками часто
устанавливают пластинчатые пружины. Фрикционные накладки крепят независимо друг
от друга к диску или к диску и пластинчатым пружинам, приклепанным к диску.
Головки заклепок размещаются в отверстиях
противоположных накладок с зазором (рисунок 1.10, б, в). В выключенном
сцеплении диск и пластинчатые пружины находятся в свободном состоянии. При
включении сцепления они распрямляются, благодаря чему усилие сжатия трущихся
поверхностей нарастает более плавно. Поверхность трения фрикционных накладок
может иметь вентиляционные канавки (обычно прямолинейные с небольшим
увеличением глубины к периферии накладки) для удаления продуктов изнашивания.
Фрикционные накладки автомобильных
сцеплений изготовляют на асбестовой основе четырех типов: 1 - формованные, 2 -
тканые, 3 - картинно-бакелитовые, 4 - спирально навитые. Использование
прессованных накладок в автомобильных сцеплениях ГОСТ 1786-80 не
предусматривает. Фрикционные накладки должны иметь высокий и стабильный
коэффициент трения, быть износостойкими, не схватываться с контактирующей
поверхностью.
Рисунок 1.9. Ведомый диск сцепления
Рисунок 1.10. Элементы конструкции ведомых
дисков: 1 - диск; 2 - фрикционные накладки; 3 - пластинчатая пружина
Они способны выдерживать длительный нагрев
до 200 °С и кратковременный (продолжительностью не более 10 с) - до 350 °С. Для
улучшения механических свойств накладок используют различные добавки: цинк
способствует стабилизации коэффициента трения, медь - улучшению теплоотдачи,
свинец - уменьшению скорости изнашивания, предупреждению задиров ведущих дисков
(но при его добавлении уменьшается термостойкость накладок).
При изготовлении формованных накладок
используется низкосортный коротковолокнистый асбест
с большим количеством различных добавок.
Накладки способны выдерживать значительные нагрузки, и предназначены для
сцеплений грузовых автомобилей. Тканые накладки изготовляются из
хлопчатобумажной и асбестовой высокосортной длинноволокнистой пряжи с
металлическими и с неметаллическими наполнителями. В первом случае используют
проволоку, обычно латунную, реже медную или цинковую. Затем весь материал
пропитывается под давлением специальным связующим материалом, например
бакелитом. Такие накладки применяют в сцеплениях легковых и грузовых
автомобилей. Картонно-бакелитовые накладки изготовляют прессованием из
асбестового картона, пропитанного фенолформальдегидной смолой. Они обладают
невысокими фрикционными и механическими характеристиками. Спирально-навитые
накладки имеют высокие антивибрационные и прочностные свойства, повышенный
коэффициент трения за счет спирального расположения волокон. Они используются в
сцеплениях легковых автомобилей. Твердость по Бринеллю накладок составляет НВ
170…470.
В ведомый диск сцепления встраивают
гасители крутильных колебаний, которые предназначены для снижения или полного
устранения высокочастотных колебаний, возникающих в трансмиссии от действия
периодических возмущений. Они изменяют упругую характеристику трансмиссии и
уменьшают вероятность возникновения резонанса при совпадении собственных и
вынужденных частот крутильных колебаний. Все гасители вне зависимости от их
конструкции работают по принципу рассеивания энергии. Они состоят из упругого
элемента, обеспечивающего относительное перемещение ведущей и ведомой частей
диска, и диссипативного элемента, предназначенного для рассеивания энергии
колебаний за счет трения. Упругими элементами являются пружины, торсионы,
резина.
Наибольшее распространение в автомобилях
получили гасители, в которых используется трение без смазочного материала, с
применением пружин в качестве упругих элементов. Примеры конструктивного
оформления таких гасителей приведены на рисунок 1.11. Пружины 3 устанавливаются
в окнах ступицы 6 ведомого диска и в дисках 1 и 4 с предварительным натягом.
Рассеивание энергии происходит на поверхностях трения, образованных дисками 1,
2, 4 к 5, 9. Сжатие поверхностей трения осуществляется с помощью заклепок или
болтов 7.
Рисунок 1.11. Конструктивное оформление
гасителей
В последнем случае для придания
стабильности усилию сжатия устанавливают тарельчатые 8 или цилиндрические
пружины. С этой же целью диски гасителя могут выполняться в виде тарельчатых
пружин.
Рассматриваемые гасители имеют линейную
характеристику в пределах угла замыкания, под которым понимают максимальное
относительное смещение ведущих и ведомых элементов гасителя. Получили
распространение также гасители с нелинейной характеристикой, позволяющие более
эффективно устранять крутильные колебания. Они имеют различную конструкцию: в
одних - используют различной длины пружины, устанавливаемые в окнах одинаковых
размеров, которые включаются в работу последовательно; в других - последовательное
включение в работу пружин обеспечивается соответствующим выбором размеров окон
в дисках и ступице. В таких гасителях увеличено общее число пружин (обычно до
10); пружины одной жесткости равномерно чередуются с пружинами другой.
Существуют гасители, имеющие три комплекта пружин малой, средней и большой
жесткости (соотношение жесткостей 1:10:20). Нелинейность характеристики
гасителя может достигаться также использованием пластинчатых пружин или
резиновых упругих элементов.
Отжимные рычаги должны иметь высокое
передаточное отношение (в автомобильных сцеплениях - 3,8…5,5) при малом трении
в шарнирах. Число рычагов в сцеплении составляет 3…5, они устанавливаются по
окружности равномерно радиально или наклонно для увеличения передаточного
отношения. Чтобы не уменьшалось усилие сжатия трущихся поверхностей и не
затруднялось выключение сцепления, должен отсутствовать поворот отжимных
рычагов при действии центробежных сил.
Для уменьшения трения отжимные рычаги
устанавливают на ножевых опорах, перекатывающихся роликах, игольчатых
подшипниках. Одна из опор рычага выполняется жесткой, а вторая - должна
компенсировать изменение расстояния между ними (около 1 мм) при повороте
рычага. В старых конструкциях сцеплений отжимные рычаги устанавливали свободно
на отжимных пальцах (рисунок 1.12, б). Одной опорой служила ножевая кромка А
прорези в кожухе 7, а второй - торец самоустанавливающейся шайбы 8,
расположенной на пальце. Положение рычага определяется пружинами 5 и 9. Более
совершенными являются конструкции с использованием в качестве одной опоры
игольчатого подшипника 3 (рисунок 1.12, в), установленного в проушине нажимного
диска 1. Другая опора образована осью 10 и перекатывающимся роликом 11,
установленными на стойке 12, которая закреплена на внутренней стороне кожуха 7
сцепления.
Рисунок 1.12. Конструкции отжимных рычагов
В современных сцеплениях рычаги чаще всего
устанавливаются на двух игольчатых подшипниках 3 (рисунок 1.12, а). Одна опора
выполняется жесткой, обычно на нажимном диске 1, а конструкция второй опоры
должна обеспечить компенсацию изменения расстояния между опорами при помощи
гайки 4 с подвижной сферической опорой. Установка зазоров между рычагами 2 и
упорным кольцом 6 (или подшипником) осуществляется гайка ми 4. Для удержания с
некоторым усилием рычагов в определенном положении устанавливают оттяжные
пружины 5.
При выключении сцепления происходит
передача усилия от не вращающейся муфты к вращающимся отжимным рычагам. Для
уменьшения трения между этими деталями устанавливают подшипники скольжения или
качения. Подшипники скольжения, используемые иногда на легковых автомобилях,
представляют собой пропитанные специальными маслами угольно-графитовые втулки,
не требующие подвода смазочного материала в течение всего срока службы. Гораздо
чаще используют подшипники качения с защитным кожухом, а смазочный материал
подается по гибкому шлангу через масленку, которая устанавливается на корпусе
сцепления. В последнее время широко используют герметичные подшипники, заполненные
смазочным материалом, обеспечивающим их работоспособность в течение всего срока
службы автомобиля. Размеры выбираемого подшипника определяются конструктивно и
в первую очередь зависят от диаметра первичного вала коробки передач.
1.3 Привод сцепления
Качество привода, определяющее удобство и
легкость управления, оценивается: работой, которую необходимо совершить
водителю для полного выключения сцепления, Wвыкл (предельные значения
для легковых автомобилей 23 Дж, для грузовых - 30 Дж), максимальным усилием на
педали сцепления Fпед (для грузовых автомобилей. Fпед регламентируется ГОСТ
21398-75 и составляет не более 150 Н при наличии усилителя и 250 Н - без
усилителя сцепления), полным ходом педали сцепления Fпед (для легковых,
устанавливаются на грузовых и практически на всех легковых автомобилях, а также
автобусах).
Для снижения усилия на педали в привод
может встраиваться механический, гидравлический, пневматический или вакуумный
усилитель. Механические усилители устанавливаются на ограниченном числе марок
легковых и грузовых автомобилей. Гидравлические усилители получили большее
распространение на промышленных тракторах, пневматические - используются на
большегрузных автомобилях, вакуумные - устанавливают обычно в системе
управления автоматическим сцеплением малолитражных автомобилей.
Конструктивное оформление педали сцепления
и ее крепление определяются из условий компоновки. Для сцеплений с
гидроприводом характерно верхнее крепление педали на переднем щитке автомобиля.
При этом улучшается доступ к приводу, герметичность кабины. Механический
усилитель выполнен в виде пружины, соединенной с педалью при помощи крючка. На
начальном этапе пружина оказывает незначительное сопротивление перемещению
педали. Затем после перехода точки опоры через нейтральное положение, с помощью
пружины снижается усилие на педали.
В механическом приводе педаль обычно имеет
нижнее крепление. Верхнее крепление педали автомобилей МАЗ, имеющих
механический привод, обусловлено наличием опрокидывающейся кабины. Поэтому при
опрокидывании кабины система рычагов и тяг, остается практически неподвижной.
Положение деталей соответствует включенному сцеплению. Одна полость механизма
соединена с ресивером, а другая полость - с цилиндром пневмоусилителя. При
включенном сцеплении другая полость сообщается с атмосферой через отверстие, а
другие полости разобщены. При нажатии на педаль сцепления корпус следящего
механизма смещается относительно золотника на величину зазора 3,5 мм.
Рисунок 1.13. Схема гидропривода сцепления
с пневмоусилителем
При этом торец золотника упирается в
клапан, который затем отрывается от своего седла. В результате полость
отсоединяется от атмосферы, соединяется с полостью и сжатый воздух поступает в
цилиндр усилителя, чем облегчается выключение сцепления водителем. При
отпускании педали под действием пружин сцепления и оттяжной пружины рычаги и
тяги привода возвращаются в исходное положение, шток клапана следящего
механизма под действием пружины закрывает отверстие, через которое сжатый воздух
подводится к цилиндру, и рабочая полость цилиндра соединяется с атмосферой.
Если водитель включит сцепление не
полностью, т.е. педаль будет выжата не до упора, то при неподвижном корпусе
следящего механизма шток цилиндра усилителя будет стремиться смещать золотник
вправо до тех пор, пока не установится равновесное положение, зависящее от
соотношения приведенных усилий со стороны цилиндра FyC и нажимных пружин
сцепления Fн.
При Fус>Fн полость цилиндра будет
отсоединена от ресивера и атмосферы. При Fус<Fн полость цилиндра будет
соединена с ресивером и отсоединена от атмосферы.
Схема гидропривода сцепления с
пневмоусилителем и его конструктивное оформление показаны на рисунок 1.23…
1.25. Работа следящего механизма (КамАЗ) имеет некоторые особенности. При нажатии
на педаль сцепления 2 (рисунок 1.23) жидкость из главного цилиндра 1 подается к
цилиндру 8 следящего механизма и рабочему цилиндру 4, шток которого связан с
рычагом 3 вилки выключения сцепления. Шток цилиндра 8 в свою очередь
воздействует на клапан следящего механизма, через который воздух из ресивера
поступает в цилиндр 5 пневмоусилителя, за счет чего облегчается выключение
сцепления водителем.
При подводе воздуха в полость справа от
диафрагмы 7 усилитель осуществляет слежение по давлению в пневмоциллиндре и,
следовательно, по усилию на педали сцепления, а при наличии калиброванного
отверстия 6 - по скорости изменения усилия, что позволяет улучшить динамические
свойства привода.
Работоспособность приводов сцепления
сохраняется при выходе из строя пневмосистемы. В этом случае увеличивается
усилие на педали, необходимое для выключения сцепления.
Исходными данными для расчета привода
являются допустимое усилие на педали, ее полный ход и параметры сцепления.
U = lр/lн= uпед*uпр*uв*uсц,
где lp - рабочий ход педали
(140… 160 мм); lн - перемещение нажимного диска; ипед - передаточное
отношение педали, unp - то же части привода, расположенной между
педалью и вилкой сцепления; ив-то же вилки сцепления: uв= 1,4.. 2,2; uсц - то же отжимных рычагов
сцепления: uсц=3,8…5,5.
Рисунок 1.14. Привод сцепления КамАЗ
Для гидравлического привода:
Unp = lисп/lгл = Агл / Аисп = D2гл/ D2исп,
где lисп (гл), Aисп(гл), Dисп(гл) - перемещение,
площадь и диаметр исполнительного или главного цилиндра.
Диаметры поршней цилиндров составляют
19…32 мм и принимаются обычно одинаковыми, т.е. uпр=1,0. Полный ход поршня
главного цилиндра принимают на 20…25% больше исполнительного для обеспечения
перекрытия отверстия, соединяющего цилиндр с расширительным бачком (и для
подачи части жидкости к цилиндру следящей системы в приводах типа КамАЗ).
Максимальное усилие на педали
Fпед = FH/(Uh)
+Fот/(Uотhот),
где h - КПД привода; h»0,85; Uот и hот - соответственно передаточное отношение и КПД
части привода от оттяжной пружины с усилием Fот до педали. Если Fпед > Fдоп, необходима установка
усилителя. Усилие, развиваемое его цилиндром,
Fус= (Fпед - Fдоп) Uусhус,
где Uус и hус - соответственно передаточное
отношение и КПД части привода от педали до места установки цилиндра усилителя.
Диаметр цилиндра усилителя
где pw - давление воздуха в ресивере: pw = 0,65…0,75 МПа.
Диаметр цилиндра зависит от места его установки в кинематической
цепи: для автомобилей МАЗ - 52 мм, КамАЗ - 90 мм.
Рисунок 1.12. Пневмоусилитель сцепления КамАЗ
2. Обоснование выбора конструктивных параметров
.1 Выбор основных параметров сцепления
Сцепление проектируется для автомобиля, техническая характеристика
которого представлена в таблице 2.1. В качестве прототипа использовался
автомобиль ВАЗ-2108.
Таблица 2.1. Исходные данные легкового автомобиля
|
№п/п
|
Наименование
параметра
|
Обозначение
|
Значение
|
Размерность
|
|
1
|
Тип автомобиля
|
-
|
легковой
|
-
|
|
2
|
Колесная
формула
|
-
|
4x2
|
-
|
|
3
|
Полная масса
автомобиля
|
ma
|
1475
|
кг
|
|
4
|
Тип двигателя
|
-
|
Бензиновый
|
-
|
|
5
|
Максимальный
крутящий момент двигателя
|
Memax
|
118
|
Н×м
|
|
6
|
Скорость
коленчатого вала двигателя соответствующая максимальному моменту(Memax)
|
nM
|
3000
|
об/мин
|
|
7
|
Максимальная
скорость вращения коленчатого вала двигателя
|
nеmax
|
5500
|
об/мин
|
|
8
|
Передаточные
числа коробки передач: 1-ая передача
|
U1
|
3,75
|
-
|
|
9
|
Передаточные
числа главной передачи
|
4,3
|
-
|
|
10
|
Типоразмер шины
ведущих колес
|
-
|
175/70-R13
|
-
|
Основными параметрами являются: наружный D и внутренний d диаметры фрикционных
накладок ведомых дисков. Их мы вычисляем позже и принимаем согласно ГОСТа с
небольшим изменением (будет рассмотрено ниже). Коэффициент запаса сцепления b - это отношение
статического момента трения сцепления к моменту двигателя:
b = Mс/Mе max.
Значение b выбирают с учетом
неизбежного износа фрикционных накладок и уменьшения силы трения и коэффициента
трения, усадки пружин и т.д. Суммарное уменьшение b составляет около 23…25%.
Для легковых автомобилей b равно 1,2…1,75.
Основные размеры и параметры сцепления: наружный
и внутренний
диаметры фрикционных накладок ведомых
дисков; число ведомых дисков
; коэффициент запаса сцепления
; нажимное усилие пружин
; расчетный коэффициент трения
; число
и жесткость
нажимных пружин; удельная нагрузка
на фрикционные накладки.
При проектировании сцепления в первую очередь выбирают по ГОСТ
12238-76 число ведомых дисков и размеры фрикционных накладок (наружный,
внутренний диаметры и толщину) в зависимости от максимального момента двигателя
.
Так как автомобиль ВАЗ-2108 имеет
то принимается
.
Наружный диаметр фрикционной накладок ведомого диска
Внутренний диаметр фрикционной накладки ведомого диска
Толщина фрикционных накладок
.
Затем задаются коэффициентом запаса сцепления, равным отношению
момента трения сцепления к максимальному моменту двигателя
откуда
Значение
выбирается с учетом неизбежного изменения
(уменьшения) коэффициента трения накладок при эксплуатации, усадки нажимных
пружин, наличия возможности регулировки нажимного усилия, числа ведомых дисков.
Из-за усадки пружин уменьшение
составляет
, изнашивания накладок -
, суммарное падение
составляет
. Средние значения
для легковых автомобилей -
. Принимается
.
Тогда
Нажимное усилие
определяется исходя из момента трения
, выраженного через параметры сцепления.
Момент трения на поверхности диска (рисунок 2.1) определяется по формуле
где
- полная тангенциальная сила трения;
- радиус трения, эквивалентный плечу приложения силы
, которая равна сумме всех элементарных
сил трения.
Элементарные сила и момент трения:
где
- элементарная нормальная сила,
действующая на элементарную площадку
, которая расположена на радиусе
:
Схема для определения момента трения сцепления
Таким
образом
Тогда радиус трения будет определяться по формуле
Отсюда следует, что при постоянном значении
радиус трения зависит от закона
распределения нагрузки. Для металлических пар трения, а также пар металл -
металлокерамика установлено, что изнашивание поверхностей трения происходит
равномерно. Можно считать, что скорость изнашивания
пропорциональна произведению удельной
нагрузки на относительную скорость скольжения поверхностей трения
:
где
- коэффициент пропорциональности.
При равномерном изнашивании нагрузка
линейно уменьшается в радиальном
направлении к наружной кромке диска, т.е.
.
В этом случае
где
- средний радиус накладки.
Ведомые диски сцеплений автомобилей обладают существенной
податливостью в осевом направлении, что обусловливает
во всех точках поверхности трения. Тогда
Для легковых автомобилей отношение
составляет приблизительно
и
С учетом числа пар поверхностей трения для однодискового сцепления
.
где
- коэффициент, учитывающий уменьшение
нажимного усилия
, сжимающего трущиеся поверхности,
вследствие трения в направляющих устройствах и шлицах ведущих и ведомых дисков.
Для автомобильных сцеплений принимают
. Тогда
Коэффициент трения накладок зависит от ряда факторов: материала
фрикционных накладок, состояния их поверхностей, относительной скорости
скольжения, удельной нагрузки, температуры. Его определяют по вырезанным из
накладок образцам размером 22x27 мм на лабораторной машине трения при строгом
соблюдении условий: материал контртела - СЧ 15, средний радиус трения - 100 мм,
окружная скорость образцов по средней линии - 7,0…7,5 м/с, температура - (110±10)°С,
удельная нагрузка - (0,27±0,02) МПа. Определенный при этих условиях коэффициент
трения составляет в среднем 0,30…0,50, в реальных условиях эксплуатации
сцеплений он несколько ниже. Для расчетов принимают
.
Тогда
Удельная нагрузка определяется по формуле
где
- площадь рабочей поверхности одной
стороны фрикционной накладки.
При наличии отверстий под заклепки значение
несколько увеличивается (до 5%), но в
расчетах этим можно пренебречь. Давление должно быть равно
. Значение
у сцеплений легковых автомобилей составляет
. Число пар трения находится по формуле
по которому определяется необходимое количество ведомых дисков
сцепления:
Полученное значение
должно быть не более единицы для однодисковых сцеплений. Условие
соблюдается.
.2 Расчет сцепления
При расчете на прочность определяют напряжение в наиболее
нагруженном месте пружины - в середине основания В лепестка - при
Рисунок 2.2. Схема для расчёта тарельчатой пружины
деформации пружины, соответствующей ее плоскому положению по
формуле:
где
[2, с. 63]
(см. п. 3)
тогда
[2, с. 63]
Известно, что сила действующая на нажимной диск
и сила действующая на пружину при
выключении сцепления
связаны зависимостью:
[2, с. 63]
От сюда можно выразить
где
(конструктивно)
Тогда сила действующая на пружину при выключении сцепления будет
равна
Известно, что
[2, с. 63]
тогда
По рекомендации [2, с. 63] принимается
, тогда
[2, с. 63]
[2, с. 63]
[2, с. 64]
[2, с. 64]
Подставив все известные значения в исходную формулу, определим
напряжение в наиболее нагруженном месте пружины:
[2, с. 64]
т.е. прочность обеспечена.
.3 Определение показателей нагруженности
сцепления
К показателям нагруженности относят удельную работу буксования
при трогании автомобиля с места и повышение
температуры при нагреве
ведущего диска за одно включение.
На основании отечественного и зарубежного опыта для расчета
нагруженности сцеплений можно использовать для определения работы буксования
следующую формулу:
где
- момент инерции автомобиля, приведённый
к ведущему валу коробки передач;
- угловая скорость вращения коленчатого вала двигателя;
для карбюраторных двигателей; [2, с. 53]
- максимальный крутящий момент двигателя;
- момент сопротивления движению при трогании, приведённый к
ведущему валу коробки передач;
Момент инерции маховика определяется по формуле
где
- полная масса автомобиля;
- радиус качения колеса;
(по технической характеристике автомобиля).
Радиус качения колеса определяется по формуле
где
- коэффициент радиальной деформации шины
[5, с. 11]
- параметры автомобильного колеса, берутся из обозначения
автомобильной шины: 175/70-R13, т.е.:
Тогда момент инерции автомобиля будет равен
Угловая скорость вращения коленчатого вала двигателя определяется
по формуле
где
- скорость вращения коленчатого вала,
соответствующая максимальному моменту двигателя, определяется по формуле
где
- частота вращения коленчатого вала,
соответствующая максимальному моменту двигателя
(по технической характеристике автомобиля).
Максимальный крутящий момент двигателя
(по технической характеристике
автомобиля).
где
- коэффициент сопротивления дороги;
[1, с. 62]
- передаточное число трансмиссии;
- коэффициент полезного действия трансмиссии;
Передаточное число трансмиссии определяется по формуле
где
- передаточное число главной передачи;
- передаточное число коробки передач на первой передаче;
(по технической характеристике автомобиля).
(по технической характеристике автомобиля).
Получаем
Коэффициент полезного действия трансмиссии определяется по формуле
где
- коэффициент полезного действия
карданной передачи;
- коэффициент полезного действия главной передачи;
- коэффициент полезного действия коробки передач на первой
передаче;
Тогда
Тогда момент сопротивления движению при трогании, приведённый к
ведущему валу коробки передач будет равен
Подставив все рассчитанные значения в первоначальную формулу
определяется работа буксования
Удельная работа буксования равна работе буксования, отнесенной к
площади трения ведомых дисков:
где
- суммарная площадь накладок сцепления,
определяется по формуле
где
(см. п. 3)
(см. п. 3)
(см. п. 3)
Тогда удельная работа буксования равна


, условие выполняется.
Расчет на нагрев заключается в определении повышения средней
температуры нажимного диска
при трогании автомобиля с места. При этом принимают, что
теплоотдача в окружающую среду отсутствует и вся работа буксования
преобразуется в теплоту. Тогда
где
- доля теплоты, воспринимаемой нажимным
(промежуточным) диском;
- масса диска;
- удельная теплоемкость чугуна (стали);
Принимаются:
[2, с. 63]
[2, с. 63]
(по технической характеристике автомобиля).
Тогда средняя температура нажимного диска
будет равна

, условие выполняется.
3.
Расчет привода управления сцеплением
Качество привода, определяющее удобство и легкость управления,
оценивается: работой, которую необходимо совершить водителю для полного
выключения сцепления,
(предельное значения для легковых
автомобилей 23 Дж); максимальным усилием на педали сцепления
; полным ходом педали сцепления
(для легковых автомобилей
). На автомобиле ВАЗ-2108 привод сцепления
выполнен гидравлическим, как и на практически всех легковых автомобилях.
Конструктивное оформление педали сцепления
и её крепление определяются из условий компоновки. Для сцепления автомобиля
ВАЗ-2108 с гидроприводом характерно верхнее крепление педали на переднем щитке
автомобиля (рисунок 3.1). При этом улучшается доступ к приводу, герметичность
кабины. Механический усилитель выполнен в виде пружины 12, соединенной с педалью
при помощи крючка 10. На начальном этапе пружина оказывает незначительное
сопротивление перемещению педали. Затем после перехода точки опоры А через
нейтральное положение, когда точки А, О и Б лежат на одной линии, с помощью
пружины снижается усилие на педали.
Исходными данными для расчета привода
являются допустимое усилие на педали, ее полный ход и параметры сцепления.
Общее передаточное отношение привода от
педали до нажимного диска определяется по формуле
где
- передаточное отношение педали,
;
- передаточное отношение части привода, расположенной между
педалью и вилкой сцепления,
;
- передаточное отношение вилки сцепления,
;
-передаточное отношение отжимных рычагов сцепления,
.
Тогда,
Рисунок
3.1. Гидравлический привод сцепления ВАЗ-2108: 1 - пробка; 2 - корпус главного
цилиндра; 3 - перепускное (компенсационное) отверстие; 4 - прокладка штуцера; 5
- штуцер; 6 - стопорная пружинная шайба; 7 - поршень главного цилиндра; 8 -
уплотнительное кольцо; 9 - поршень толкателя; 10 - крючок; 11 - кронштейн
педалей сцепления и тормоза; 12 - пружинный усилитель привода сцепления; 13 -
оттяжная пружина педали сцепления; 14 - ограничитель хода педали; 15 - педаль
сцепления; 16 - толкатель поршня; 17 - защитный колпачок; 18 - стопорное
кольцо; 19 - впускное отверстие; 10 - уплотнительное кольцо; 21 - перепускное
отверстие поршня; 22 - рабочая полость цилиндра; 23 - пружина; 24 - прокладка
Максимальное усилие на педали определяется по формуле
где
- КПД привода;
¾ передаточное отношение части привода от оттяжной пружины до
педали;
- КПД части привода от оттяжной пружины до педали;
- оттяжное усилие.
[1, с. 70]
[см. п. 3]
Тогда,
Допускаемое усилие на педали не должно превышать 180 Н, т.е.
[3, с. 103]
так как
то установка усилителя не требуется.
4. Описание работы и регулировок проектируемого
узла
Техническое обслуживание спроектированного сцепления
заключается в регулировке его привода, своевременной подтяжке болтовых
соединений, смазывании вала вилки выключение сцепления и вала педали, очистке
деталей от грязи.
Нужно тщательно следить за затяжкой болтов крепления картера
сцепления к блоку цилиндров. Момент затяжки болтов должен быть
. Болты нужно затягивать равномерно
крест-накрест. Сцепление не должно пробуксовывать при включенном положении, а
при нажатии на педаль должно полностью выключаться. Свободный ход педали должен
составлять 35…50 мм, полный ход - не менее 180 мм.
По мере износа фрикционных накладок уменьшается свободный ход педали,
в результате чего сцепление может пробуксовывать. Это приводит к быстрому
износу ведомого диска износу подшипника выключения сцепления. В случае
чрезмерного свободного хода (свыше 50 мм) при нажатии на педаль не происходит
полного выключения сцепления. Это ведет к повышенному износу ведомого диска и
затрудняет переключение передач (повышается износ синхронизаторов в коробке
передач).
Свободный ход педали регулируется сферической гайкой привода. Для
уменьшения свободного хода гайку надо навернуть на тягу, затем затянуть
контргайку.
При ТО-2 автомобиля надо смазать пресс-масленки до появления
старой смазки в зазорах.
Заключение
В результате разработанной курсовой работе мы сконструировали
сцепление автомобиля ВАЗ-2108. Был произведен расчет сцепления, были определены
показатели нагруженности сцепления, а также был рассчитан привод управления
сцеплением. Таким образом нажимная пружина была рассчитана по напряжениям в
наиболее нагруженном месте и составило
. Показатели нагруженности сцепления составили: удельная работа
буксования
при трогании автомобиля с места составила
и повышение температуры при нагреве
ведущего диска за одно включение -
. При расчете привода мы определили
максимальное усилие на педали сцепления
.
Таким образом спроектированное сцепление автомобиля ВАЗ-2108
отвечает всем требованиям ГОСТа и тем самым пригодно для установки на
автомобиль.
Литература
сцепление усилие прочность автомобиль
1.
Автомобили: Конструкция, конструирование и расчёт. Трансмиссия / А.И.
Гришкевич, В.А. Вавуло, А.В. Карпов и др.; Под ред. А.И. Гришкевича. - Мн.:
Выш. Шк., 1985. - 240 с., ил.
.
Осепчугов В.В., Фрумкин А.К. Автомобиль: Анализ конструкций, элементы расчёта:
Учебник для студентов вузов по специальности «Автомобили и автомобильное
хозяйство». - М.: Машиностроение, 1989. - 304 с.: ил.
.
Вершигора В.А., Зельцер В.И., Пятков К.Б. Автомобили ВАЗ. - М.: Транспорт,
1973. - 368 с.
.
Вершигора В.А. и др. Автомобиль ВАЗ-2121. - М.: Транспорт, 1996. - 348 с.
.
Автомобили: Теория: Учебник для вузов.¾ Мн.: Выш. шк., 1986.¾208 с.: ил.