|
№п/п
|
Наименование параметра
|
Обозначение
|
Значение
|
Размерность
|
|
1
|
Автомобиль
|
-
|
TOYOTA CAMRY V4
|
-
|
|
2
|
Максимальный крутящий
момент двигателя
|
Memax
|
224
|
Н×м
|
|
3
|
Скорость коленчатого вала
двигателя соответствующая максимальному моменту(Memax)
|
nM
|
4000
|
об/мин
|
|
4
|
Максимальная мощность
двигателя Nemax
|
Nemax
|
123
|
кВт
|
|
5
|
Максимальная скорость
вращения коленчатого вала двигателя
|
nеmax
|
6000
|
об/мин
|
|
6
|
Полная масса автомобиля, кг
|
ma
|
1985
|
кг
|
|
7
|
Двигатель
|
-
|
-
|
|
8
|
Передаточные числа коробки
передач: 1-ая передача
|
U1
|
3,538
|
-
|
|
9
|
Передаточные числа коробки
передач: 2-ая передача
|
U2
|
2,045
|
-
|
|
10
|
Передаточные числа главной
передачи
|
U0
|
3,944
|
-
|
|
11
|
Типоразмер шины ведущих
колес
|
-
|
215/60-R16
|
-
|
. Обзор и анализ
конструкций сцеплений современных легковых автомобилей
Рассматривая преимущества и недостатки механизмов и деталей ведомых
дисков, можно сделать вывод о том, что современным требованиям в наибольшей
степени удовлетворяют диски с осевой податливостью, оснащенные
многоступенчатыми демпферами. В настоящее время вместо цилиндрических пружин
применяются тарельчатые пружины, так как они превосходят по многим параметрам
цилиндрические пружины. Рассмотрим несколько вариантов сцеплений, применяемых в
настоящее время на легковых автомобилях.
Сцепление Audi A4 / S4 (с 2000 года выпуска)
На рассматриваемых моделях установлено однодисковое сухое сцепление с
диафрагменной пружиной. Сцепление состоит из корзины с нажимным диском,
ведомого диска, подшипника выключения сцепления и гидравлического привода.
Корзина сцепления соединена болтами с маховиком, который в свою очередь
закреплён на коленчатом валу двигателя. Между нажимным диском и маховиком
находится ведомый диск сцепления, который прижимается к маховику нажимным
диском. Ведомый диск сцепления соединён через шлицевое соединение с первичным
валом коробки передач.
Рисунок 2.1 - Детали сцепления автомобиля Audi
- Маховик
- Болт для маховика.
- Ведомый диск сцепления
- Нажимной диск.
- Болт корзины
А/В Цветные точки. Если имеются, то белая точка (А) должна находиться со
стороны двухмассового маховика, а белая точка (В) - нажимного диска
При нажатии педали сцепления с помощью гидропривода подшипник выключения
сцепления нажимает на пружину нажимного диска. При этом разгружается нажимной
диск и ведомый диск больше не прижимается к маховику. Силовая связь между
двигателем и трансмиссией прерывается. Сцепление всех моделей с РКПП имеет
гидравлический привод. Рабочей жидкостью является тормозная жидкость, которая
поступает от общего резервуара тормозной жидкости. При каждом включении и
выключении сцепления вследствие трения происходит износ фрикционных накладок
ведомого диска. Ведомый диск является изнашивающимся элементом сцепления. Его
средний срок службы составляет свыше 100 000 км. Скорость износа зависит от
нагрузки (движение с прицепом) и стиля управления автомобилем. Сцепление не
требует обслуживания, т. к. оно самоустанавливающееся.
Большинство двигателей оборудовано двухмассовым маховиком. Такой маховик
имеет пружинно-демпфирующую систему, позволяющую гасить крутильные колебания,
возникающие при работе двигателя. Кроме того, таким образом снижается уровень
шума на низких оборотах. Диск сцепления при таком маховике состоит из ступицы,
ведомой платы и фрикционных накладок. Демпфирующие пружины не установлены.
Сцепление BMW 5-й серии E39 (с 1996 по 2001 год выпуска)
Сцепление в автомобиле выполняет две задачи: при включении какой-либо
передачи разъединяет силовую связь между двигателем и КПП, и, при трогании с
места, обеспечивает фрикционное проскальзывание, исключающее движение рывками.
Сцепление состоит из корзины с нажимным диском, ведомого диска и
механизма выключения сцепления. Корзина сцепления связана болтами с маховиком,
который в свою очередь закреплен на фланце коленчатого вала двигателя. Между
нажимным диском и маховиком находится ведомый диск, который прижимается к
маховику нажимным диском. Ведомый диск сцепления центрован с первичным валом
КПП.
При нажатии на педаль сцепления подшипник выключения сцепления через
гидропривод и рычаг нажимает на пружину корзины сцепления. Вследствие этого
освобождается нажимной диск и ведомый диск больше не прижимается к маховику.
Силовая связь между двигателем и КПП прекращается.
У всех моделей привод сцепления гидравлический. Гидросистема сцепления
снабжается через общий резервуар жидкостью тормозной системы.
Рисунок 2.2 - Детали сцепления автомобиля BMW
- ведомый диск сцепления
- корзина сцепления
- подшипник выключения сцепления
- рычаг выключения сцепления
- болт
- шаровая опора
- пружинная скоба
При каждом включении и выключении сцепления частично снашивается
фрикционная поверхность ведомого диска. Ведомый диск является изнашивающейся
деталью. Однако срок его службы составляет свыше 100 000 км пробега. Износ в
основном зависит от нагрузки (эксплуатация с прицепом) и характера управления
автомобилем. Сцепление не требует обслуживания. Оно самоустанавливающееся.
Сцепление Citroen Xantia
Сцепление состоит из фрикционного (ведомого) диска, сборки корзины с
нажимным диском, выжимного подшипника и механизма выключения сцепления. Все
компоненты помещены в большой картер из алюминиевого сплава, иногда именуемый
куполом сцепления/трансмиссии и установленный между блоками двигателя и коробки
передач. Выключение сцепления производится механически, посредством тросового
привода.
Фрикционный диск установлен между маховиком двигателя и нажимным диском
сборки сцепления и свободно перемещается вдоль шлицов первичного вала коробки
передач.
Сборка корзины сцепления приболчена к маховику. При работающем двигателе
и отпущенной педали сцепления вращение коленчатого вала передается через
маховик к фрикционному диску сцепления (последний плотно прижимается к маховику
сборкой нажимного диска). Так как фрикционный диск сцепления посажен на шлицы
цапфы первичного вала, последний обеспечивает передачу вращения коробке передач
и, далее на ведущие колеса автомобиля.
фрикционный диафрагменный сцепление автомобиль
Рисунок 2.3 - Корзина сцепления автомобиля Citroen
Для прекращения вращения коробки передач необходимо произвести выключение
сцепления. На описываемых в настоящем Руководстве моделях автомобилей
реализованы две различных конструкции механизма выключения сцепления. В первом
случае применяется механизм обычного типа с независимым выжимным подшипником,
надетым на цапфу первичного вала коробки передач и при срабатывании
прижимающегося к диафрагменной пружине нажимного диска сцепления такой механизм
устанавливается на все автомобили модельного ряда, исключение составляют лишь
дизельные модели с турбонаддувом и бензиновые модели с 16-клапанным двигателем
серии RFY, где применяется механизм вытяжного типа. В механизмах выключения
сцепления вытяжного типа используется встроенный в сборку корзины сцепления и
стоящий отдельно от фрикционного диска выжимной подшипник. В механизмах
обычного выжимного типа оболочка приводного троса со стороны коробки передач
заделана в опорный кронштейн, сердечник же подсоединен к рычагу вилки
выключения сцепления. При выжимании педали сцепления сердечник троса
оттягивается, разворачивая при этом за верхний конец рычага вилку выключения.
Вилка, разворачиваясь, прижимает выжимной подшипник к лепесткам диафрагменной
пружины нажимного диска. Пружина при этом деформируется, ослабляя прижим
фрикционного диска к маховику. На моделях с вытяжным механизмом выключения
сцепления в кронштейне на трансмиссии закреплен, наоборот, сердечник троса,
тогда как к рычагу вилки подсоединена его оболочка. При выжимании педали вилка
выключения заставляет подниматься на выжимной подшипник, закрепленный на
диафрагменной пружине нажимного диска. Деформация пружины приводит к отпусканию
фрикционного диска, который отходит от маховика, прекращая передачу вращения
двигателя первичному валу коробки передач. Гарантию исправности
функционирования сцепления дает правильность его регулировки.
Сцепление Daewoo Matiz
Сцепление, расположенное между двигателем и коробкой передач,
предназначено для разъединения и соединения маховика на коленчатом валу
двигателя и первичного вала коробки передач. Сцепление состоит из нажимного
диска с поверхностью трения, ведомого диска с фрикционными накладками и второй
поверхности трения, в качестве которой выступает маховик. Маховик и нажимной
диск непосредственно связаны с коленчатым валом двигателя, а ведомый диск
установлен на шлицах ведущего вала коробки передач. Диафрагменный пружинный
механизм создает усилие, объединяющее работу маховика, нажимного и ведомого
дисков для обеспечения совместного вращения. В этом случае сцепление включается
и передает крутящий момент от двигателя к коробке передач. Управление
сцеплением осуществляется педалью сцепления. Выключение сцепления производится
следующим образом. В результате нажатия на педаль сцепления перемещается
поршень в главном цилиндре, сжимая жидкость. Ее давление по шлангу передается к
рабочему цилиндру сцепления, поршень которого воздействует на вилку выключения
сцепления.
Вилка выключения сцепления перемещает подшипник выключения сцепления,
который нажимает на центр диафрагменной пружины, освобождая усилие включения по
периметру пружины, и перемещает нажимной диск назад. При этом освобождается
ведомый диск, после чего вал двигателя и вал коробки передач могут вращаться
независимо друг от друга.
Рисунок 2.4 - Сцепление Daewoo Matiz: 1 - диск сцепления; 2 - ведущая
часть сцепления с нажимным диском; 3 - подшипник выключения сцепления; 4 - вал
с вилкой выключения сцепления; 5 - верхняя втулка вала выключения сцепления; 6
- нижняя втулка вала выключения сцепления; 7 - сальник вала выключения
сцепления; 8 - рычаг выключения сцепления; 9 - регулировочная гайка троса
сцепления; 10 - трос сцепления; 11 - педаль сцепления
С двух сторон ведомого диска приклепаны фрикционные накладки. Ведущая
часть диска соединяется со ступицей через детали гасителя крутильных колебаний,
обеспечивающего упругую связь между ними. Гаситель колебаний уменьшает
динамические нагрузки, вызывающие закручивание (раскручивание) валов
трансмиссии, возникающие при резком изменении скорости движения автомобиля,
наезде на неровности дороги, резком включении сцепления, а также вследствие
неравномерности крутящего момента двигателя. Упругие колебания деталей
трансмиссии приводят к шуму в механизмах и агрегатах, а также к вибрациям. Если
амплитуда упругих колебаний достигнет значительных величин, могут повредиться
детали. Для поглощения энергии упругих крутильных колебаний используют
гаситель.
Сцепление Ford Escort
Сцепление предназначено для кратковременного разъединения двигателя и
трансмиссии при переключении передач или торможении и плавного их соединения
при трогании автомобиля с места, а также для предохранения деталей трансмиссии
от динамических нагрузок.
Сцепление однодисковое, сухое, постоянно замкнутого типа, с центральной
нажимной пружиной и гасителем крутильных колебаний на ведомом диске. В картере
коробки передач выступает первичный вал коробки передач, на котором
располагается выжимной подшипник, не требующий технического обслуживания, а
снаружи картера расположен рычаг выключения сцепления, к которому крепится трос
сцепления.
Принцип действия сцепления основан на передаче крутящего момента от
маховика и ведущей части сцепления на ведомый диск, а значит и на первичный вал
коробки передач, за счет сил трения, которые возникают между дисками при
включенном сцеплении. В этом положении, за счет упругости нажимной пружины,
нажимной диск зажимает между собой и маховиком ведомый диск с усилием, не
допускающим его пробуксовки. При этом выжимной подшипник и нажимная пружина не
соприкасаются.
Рисунок 2.5 - Сцепление Ford Escort
- сектор, 2 - педаль сцепления, 3 - трос, 4 - рычаг, 5 - вилка, 6 -
выжимной подшипник, 7 - корзина сцепления, 8 - ведомый диск.
Регулировка свободного хода - автоматическая и происходит при помощи
храпового механизма, расположенного около педали сцепления.
Сцепление Jeep Grand Cherokee
На всех автомобилях, оборудованных РКПП, установлено однодисковое
сцепление сухого типа с диафрагменной пружиной. Диск сцепления (ведомый)
оборудован шлицованной ступицей, обеспечивающей свободное его скольжение вдоль
шлицов первичного вала коробки передач. Ведомый и нажимной диски удерживаются
прижатыми друг к другу за счет усилия, развивамого диафрагменной пружиной нажимного
диска.
Рисунок 2.6 - Ведомый диск и корзина сцепления (с нажимным диском).
Система выключения сцепления функционирует за счет гидравлического
давления. Гидравлическая система выключения сцепления состоит из педали
сцепления, главного цилиндра с резервуаром гидравлической жидкости,
гидравлических линий, исполнительного цилиндра и рычага выключения сцепления,
который находится внутри корпуса сцепления.
При выжимании педали сцепления гидравлическое давление прикладывается к
выжимному подшипнику через рычаг выключения сцепления. Подшипник прижимается к
лепесткам диафрагменной пружины нажимного диска в сборке корзины, который, в
свою очередь, отпускает ведомый диск.
При обсуждении процедур, связанных с обслуживанием узлов сцепления могут
возникнуть проблемы, связанные с терминологией, так как общеупотребительные
названия многих компонентов отличаются от принятых изготовителями. Например,
ведомый диск может называться также диском сцепления или просто диском, выжимной
подшипник иногда называют сквозным или подшипником выключения сцепления,
цилиндр выключения сцепления чаще упоминается как исполнительный или рабочий.
Кроме смены очевидно поврежденных компонентов следует регулярно
производить профилактические проверки состояния сцепления с целью диагностики
его неисправностей.
Сцепление Mazda 6
Рисунок 2.7 - Компоненты рабочего контура сцепления автомобиля Mazda 6: 1 - педаль сцепления; 2 - главный цилиндр сцепления; 3 -
рабочий цилиндр сцепления; 4 - сцепление; 5 - кожух сцепления; 6 - ведомый диск
сцепления; 7 - подшипник выключения сцепления; 8 - маховик; 9 - бачок рабочей
жидкости гидропривода сцепления
Сцепление Opel Astra
На автомобили Opel Astra с механической КП устанавливают однодисковое
сухое сцепление с накладками, не содержащими асбест, и двухмассовым маховиком.
Управление сцеплением осуществляется посредством гидропривода. Автомобили с
автоматической КП оснащены гидравлическим многодисковым сцеплением.
В процессе эксплуатации не требуется обслуживание сцепления, так как при
его работе, изношенные части накладок сами выравниваются. Замену ведомого диска
сцепления нужно проводить примерно через 100 000 км, однако это во многом
зависит от режимов нагрузки автомобиля.
Рисунок 2.8 - Компоненты сцепления: 1 - маховик; 2 - болт крепления
маховика; 3 - ведомый диск; 4 - нажимной диск; 5 - болт крепления нажимного
диска; 6 - подшипник выключения сцепления; 7 - маркировка совмещения на
маховике; 8 - маркировка совмещения на нажимном диске
В зависимости от модели двигателя и типа коробки передач конструкция
сцепления может несколько изменяться.
Маховик
Маховик жестко соединен с коленчатым валом двигателя. Двухмассо-вый
маховик с помощью пружинно-демпферной системы обеспечивает максимальное гашение
крутильных колебаний.
Ведомый и нажимной диски
Ведомый диск установлен на первичном валу коробки передач. С обеих сторон
к нему приклепаны накладки.
Нажимной диск через диафраг-менную пружину и кожух сцепления жестко
соединен с маховиком. Нажимной диск служит для прижатия ведомого диска к
маховику. Поверхность нажимного диска обработана антикоррозионным составом. При
чистке нажимного диска надо обрабатывать только его рабочую поверхность - так
вы продлите срок службы сцепления.
Подшипник выключения сцепления
Подшипник выключения сцепления обеспечивает освобождение ведомого диска
от ведущего при нажатии на педаль сцепления.
Очевидно, что для легковых автомобилей малого класса наиболее оптимальным
(по параметрам стоимость и соответствие выполняемым функциям) является
применение однодисковых диафрагменных сцеплений с гидравлическим или тросовым
приводом и возможностью установки (по желанию потребителя) автоматического
привода управления.
Дистанционное управление фрикционным сцеплением осуществляется при помощи
привода. К основным требованиям, предъявляемым к приводам фрикционных
сцеплений, относятся: удобство и легкость управления, высокий КПД, наличие
следящего действия, надежность и простота обслуживания. Из неавтоматических приводов на легковых автомобилях, как
правило, применяются механический и гидравлический приводы сцепления.
Механический привод сцепления, реализуемый при помощи тяг и рычагов,
прост в изготовлении, надежен в эксплуатации, однако он обладает невысоким КПД,
через него передаются вибрации на ногу водителя. При этом трудно производить
уплотнение пола и изоляцию салона. В связи с этим на современных легковых
автомобилях такой привод не применяется.
Наиболее распространенным на легковых автомобилях является гидравлический
привод сцепления. Такой привод приспособлен для дистанционного управления,
имеет более высокий КПД, позволяет герметизировать кузов, обладает повышенной
плавностью включения фрикционного сцепления даже при резком отпускании педали и
тем самым снижает динамические нагрузки в трансмиссии автомобиля, обладает
значительной жесткостью, что приводит уменьшению свободного хода педали. Однако
этот привод более сложен в эксплуатации и, следовательно, дороже механического
привода.
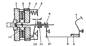
Рис. 215. Гидравлический привод сцепления: 1 - питающий бачок главного
цилиндра; 2 - главный цилиндр; 3 - рабочий цилиндр с выжимным подшипником; 4 -
штуцер; 5 - трубка; 6 - шланг
3. Выбор и расчет
основных размеров и параметров узла
Основные
размеры и параметры сцепления: наружный D и внутренний d
диаметры фрикционных накладок ведомых дисков; число ведомых дисков zд; коэффициент запаса сцепления 
;
нажимное усилие пружин 
расчетный
коэффициент трения 
;
удельная нагрузка q на фрикционные накладки.
Задаемся
коэффициентом запаса сцепления, равным отношению момента трения сцепления к
максимальному моменту двигателя
(3.1)
Откуда
Значение

выбирается
с учетом неизбежного изменения (уменьшения) коэффициента трения накладок при
эксплуатации, усадки нажимной пружины, наличия возможности регулировки
нажимного усилия, числа ведомых дисков. Из-за усадки пружины уменьшение 
составляет
8…10
, изнашивания накладок -15…20
суммарное падение 
составляет
23…30
. Средние значения 
для
легковых автомобилей - 1,2…1,75. [1] Принимаем
.
μ - коэффициент трения , μ = 0,25.
z - число
поверхностей трения z = 2 , т.к. сцепление однодисковое Находим момент
сцепления :
Определяем
внешний радиус накладки сцепления:
(3.2)
Принимаем
фрикционные накладки:
Наружный
диаметр : D = 280 мм;
Внутренний
диаметр накладок d определяется по формуле
к
=d/D=0,67,(3.3)
тогда
=0,67*280=187,6 мм;
Принимаем внутренний диаметр d =
180 мм и толщину накладок δ = 4мм.
Нажимное усилие Fн определяется исходя из момента трения 
,
выраженного через параметры сцепления.
Радиус трения будет определяться по формуле:
(3.4)
где

- средний
радиус накладки.
Ведомые
диски сцеплений автомобилей обладают существенной податливостью в осевом
направлении, что обусловливает q=const во всех точках поверхности трения. Тогда
(3.5)
Для
легковых автомобилей отношение r/R составляет приблизительно 0,55 тогда:
С
учетом числа пар поверхностей трения для однодискового сцепления 
.
(3.6)
где

-
коэффициент, учитывающий уменьшение нажимного усилия 
,
сжимающего трущиеся поверхности, вследствие трения в направляющих устройствах и
шлицах ведущих и ведомых дисков. Для автомобильных сцеплений принимают 
. Тогда
(3.7)
Коэффициент
трения накладок зависит от ряда факторов: материала фрикционных накладок,
состояния их поверхностей, относительной скорости скольжения, удельной
нагрузки, температуры. Определенный экспериментально коэффициент трения
составляет в среднем 0,30...0,50. В реальных условиях эксплуатации сцеплений он
несколько ниже. Для расчетов принимают 
.
Тогда
Удельная
нагрузка определяется по формуле

(3.8)

При наличии отверстий под заклепки значение q несколько увеличивается (до 5%), но в расчетах этим можно
пренебречь. Значение q у
сцеплений легковых автомобилей составляет 0,18….0,25. Число пар трения
находится по формуле:
(3.9)
по
которому определяется необходимое количество ведомых дисков сцепления:
(3.10)
Полученное
значение 
должно
быть не более единицы для однодисковых сцеплений. Условие соблюдается.
Ход
нажимного диска должен обеспечивать полное выключение сцепления. Зазор между
поверхностями трения принимают для однодисковых сцеплений 0,75...1 мм. Таким
образом, ход нажимного диска у однодисковых сцеплений составляет 1,5...2 мм.
4. Расчет тарельчатой пружины
Рис.3.1 Схема для расчета тарельчатой пружины.
Исходные данные получаем из чертежа:
De=241 мм Dа=176 мм Dс=220 мм
Di=55 мм δ=2,8 мм h=2,88
мм
Расчет пружин заключается в определении их размеров, обеспечивающих
требуемое нажимное усилие и прочность. Пружину изготовляются из сталей 65Г,
50ХФА,60С2А и др.
Принимаем
сталь 60С2А.
[1]
Схема
для расчета тарельчатой пружины приведена на рис. 3.1,где Fn- сила, действующая на нажимной диск, а Fвыкл - на пружину при выключении сцепления. Значения этих
сил связаны зависимостью:
Fн=Fвыкл(Dc-Di)/(De-Dc),(4.1)
где
Fн=5843
Н
При
расчетах на прочность определяют напряжение в наиболее нагруженном месте
пружины - в середине основания В лепестка при деформации пружины, соответствующей
ее плоскому положению:
где D=(De-Da)/ln(De/Da)
и ά=2h(De-Da)
Напряжение
в наиболее нагруженном месте пружины равно 144,5 МПа, что является допустимым.
. Расчет
показателей нагруженности сцепления
К
показателям нагруженности относят удельную работу буксования 
при
трогании автомобиля с места и повышение температуры при нагреве 
ведущего
диска за одно включение.
На
основании отечественного и зарубежного опыта формула для определения работы
буксования выглядит следующим образом:
;(5.1)
где
¾ момент инерции автомобиля, приведённый к ведущему
валу коробки передач;

¾ угловая скорость вращения коленчатого вала двигателя;

¾ максимальный крутящий момент двигателя;

¾ момент сопротивления движению при трогании, приведённый
к ведущему валу коробки передач;
Радиус
качения колеса определяется по формуле
(5.2)
где
¾ коэффициент радиальной деформации шины 
;
d, 
и B ¾ параметры автомобильного колеса, берутся из
обозначения автомобильной шины: 215/60-R16, т.е.:
d=16 дюймов;
H/В=60;
В=215
мм
(5.3)
.
Угловая
скорость вращения коленчатого вала двигателя определяется по формуле
(5.4)
где
¾ скорость вращения коленчатого вала, соответствующая
максимальному моменту двигателя, определяется по формуле
(5.5)
где
¾ частота вращения коленчатого вала, соответствующая
максимальному моменту двигателя
Момент
сопротивления движению при трогании, приведённый к ведущему валу коробки
передач определяется по формуле
(5.6)
где
¾ коэффициент сопротивления дороги; 
¾ передаточное число трансмиссии; 
¾ коэффициент полезного действия трансмиссии;
Передаточное число трансмиссии определяется по формуле
(5.7)
где
¾ передаточное число главной передачи;

¾ передаточное число коробки передач на i-ой
передаче;
;
; Uкп2 =
2,045 (по исходным данным).

Расчет производится для трех режимов:
1
режим - трогание на первой передаче при
,
режим
- трогание на первой передаче при
,
режим
- трогание на второй передаче при
.
Коэффициент полезного действия трансмиссии определяется по формуле
(5.6)
где
¾ коэффициент полезного действия подшипников качения;

¾ коэффициент полезного действия зубчатой передачи;
¾ коэффициент
полезного действия шарнира равных угловых скоростей;

=0,998
=0,98 [1]
Тогда
0,790;
Момент инерции автомобиля будет равен при трогании на первой передачи:
(5.7)
где

¾ полная масса автомобиля,
кг;

¾ радиус качения колеса;
δ = 1,03…1,05.
Для
трех случаев рассчитываем моменты сопротивления:
Подставляем
все рассчитанные значения в первоначальную формулу и определяем работу
буксования:

Удельная
работа буксования равна работе буксования, отнесенной к площади трения ведомых
дисков:
(5.8)
где
¾ суммарная площадь накладок сцепления, определяется по
формуле
(5.9)
Тогда
удельная работа буксования равна


[
]=180

условие
выполняется.
Расчет
на нагрев заключается в определении повышения средней температуры нажимного
диска 
при
трогании автомобиля с места. При этом принимают, что теплоотдача в окружающую
среду отсутствует и вся работа буксования преобразуется в теплоту. Тогда
(5.10)
где
¾ доля теплоты, воспринимаемой нажимным (промежуточным)
диском;

¾ масса диска;
¾ удельная теплоемкость чугуна (стали);
Принимаются:



[4].
Средняя температура нажимного диска будет равна
[
]=15
[1]

[
] условие
выполняется при трогании на первой передаче, температура при трогании на второй
передаче превышает допустимую на 6 градусов, следовательно, трогание на 2й
передаче не рекомендуется.
. Расчет деталей сцепления на прочность
Ступица ведомого диска крепится на валу при помощи шлицевого прямобочного
соединения. Шлицы ступицы должны выдерживать большие нагрузки. Расчет
представляет собой проверку условия работоспособности при расчете на смятие σ
=[σсм].
Номинальные давления σ определяются по окружной силе Ft., приходящейся на один зуб.
При
площади рабочей поверхности одного зуба hl получим
Допускаемое
напряжение из расчета на смятие
[σсм]= σt/skкрkд
Условие σ ≤[σсм]
выполняется.
. Регулировки
и техническое обслуживание узла
Рекомендуется выполнить следующие предварительные проверки, которые
позволяют определить состояние сцепления:
Проверка уровня жидкости, при необходимости восстановление (если бачок
пуст, то необходимо долить жидкость и прокачать гидропривод).
Для проверки сцепления необходимо нажать на педаль на холостом ходу
двигателя и спустя несколько секунд включить заднюю передачу. Скрежет укажет на
усиленный износ нажимного или фрикционного дисков.
Проверка полноты выключения сцепления. Для этого на работающем двигателе
необходимо нажать на педаль сцепления так, чтобы педаль не доходила до пола на
13 мм. Несколько раз переключитесь с 1-й передачи на заднюю. Затрудненное
переключение указывает на износ деталей. Проверяют ход штока рабочего цилиндра
при полностью нажатой педали. Если ход мал, то проверяют уровень жидкости.
Необходимо убедиться, что вилка сцепления не имеет люфта на сферической
опоре.
Проверка износа втулки педали в верхней части.
Регулировка
Необходимо регулировать величину свободного хода педали сцепления. Что
такое свободный ход педали сцепления? Свободный ход педали сцепления 2-3 см.
Свободный ход должен быть, но не слишком большой.
Если ход слишком велик, необходимо снять кожух, покрывающий сцепление, и
отпустить контргайку плоским гаечным ключом. Завернуть гайку таким образом,
чтобы она продвинулась на несколько миллиметров, и затянуть контргайку.
Короткая проверка тут же покажет, хорошо ли отрегулирована величина
свободного хода педали. Если регулировка удалась, то необходимо закрыть ранее
снятый кожух.
Проверка сцепления
Как правило замены требует только фрикционный диск. Тем не менее следует
осмотреть состояние всех деталей.
Проверяют состояние маховика. Рекомендуется снять маховик и прошлифовать
независимо от состояния поверхности.
Вместе с фрикционным диском как правило меняется и выжимной подшипник.
Проверяют состояние поверхности нажимного диска, диафрагменной пружины и
лепестков пружины. Небольшие дефекты диска можно зашлифовать шкуркой, при
значительных дефектах сцепление замените.
Вилка и выжимной подшипник
Снятие
Для снятия вилки и выжимного подшипника необходимо:
Отсоединить батарею от массы.
Снять трансмиссию.
Удалить пружину, достать вилку выключения сцепления, достаньте из вилки
выжимной подшипник.
Проверка
Удерживая наружную обойму проверяют свободу вращения подшипника.
Подшипник должен свободно вращаться в обойме. В противном случае подшипник
заменяют. Промывать подшипник в растворителе запрещается.
Установка
Смазывают внутреннюю канавку подшипника, шлицы первичного вала и
держатель переднего подшипника первичного вала КПП тугоплавкой смазкой.
Смазывают тугоплавкой смазкой выемку под шаровую опору.
Смазывают тугоплавкой смазкой места крепления подшипника и выемку под
толкатель рабочего цилиндра. Устанавливают пружинную скобу.
Устанавливают на вилку подшипник.
Надевают подшипник на первичный вал КПП. Пропускают вилку сквозь чехол и
надевают вилку на опору, надавив на нее до щелчка.
Слегка смазывают тугоплавкой смазкой поверхность подшипника, соприкасающуюся
с диафрагменной пружиной.
Далее сборка выполняется в обратном порядке.
Гидропривод сцепления
Прокачка
Прокачка системы потребуется всякий раз после проведения разборки и
сборки гидропривода сцепления.
Необходимо выполнить следующие операции:
Заполнить бачок свежей тормозной жидкостью DOT-3 (использование
отработанной жидкости запрещается).
Поднять перед автомобиля.
Одеть на штуцер цилиндра шланг и отпустить в емкость, заполненную
тормозной жидкостью на 5 см.
Попросить помощника нажать на педаль сцепления до отказа. Отвернуть
штуцер прокачки, выпустив жидкость, затянуть штуцер и попросить помощника
медленно отпустить педаль. Повторять процедуру до тех пор, пока из шланга не
перестанут выходить пузырьки воздуха.
При прокачке необходимо постоянно следить за уровнем, не допуская ухода
жидкости из бачка.
Пробуксовка
Пробуксовка сцепления проявляется в том, что при вполне исправном
двигателе автомобиль плохо преодолевает подъемы, медленно разгоняется. Это
может быть вызвано замасливанием дисков, их сильным износом, снижением
упругости пружин, отсутствием свободного хода педали сцепления.
Неполное выключение сцепления вызывает затруднение и шум при переключении
передач и может привести к преждевременному выходу из строя синхронизаторов и к
ускоренному износу зубьев коробки передач. Эта неисправность чаще всего
возникает при загрязнении, перекосе или деформации дисков, неправильной
регулировке положения рычагов выключения, а также при слишком большом свободном
ходе педали сцепления.
Следует иметь ввиду, что шум в коробке передач - это не всегда следствие
неполного выключения сцепления. Этот шум может возникать при износе или
неправильной регулировке подшипников, а также при износе или неправильном
зацеплении конических шестерен. Сильный стук в указанных местах говорит о
наличии серьезной неисправности, требующей немедленной остановки автомобиля и
ремонта агрегата.
Затруднение переключения передач или их самопроизвольное выключение -
результат износа замков и фиксаторов или привода механизма переключения
передач. Здесь без серьезного ремонта не обойтись.
Предупредить подобные неисправности можно следующими способами:
периодически тщательно проверять надежность крепления всех агрегатов и деталей
силовой передачи.
Заключение
В данной работе было разработано сухое фрикционное сцепление для
автомобиля аналога Toyota Camry V4.
Был произведен расчет сцепления, были определены показатели нагруженности
сцепления.
Также в работе рассмотрены различные варианты конструкций сцеплений
легковых автомобилей.
После
расчетов приведены краткие сведения о регулировке и техническом обслуживании
сцепления автомобиля Toyota Camry V4.
Литература
. Автомобили: Конструкция,
конструирование и расчёт. Трансмиссия / А.И.Гришкевич, В.А.Вавуло, А.В.Карпов и
др.; Под ред. А.И.Гришкевича. ¾ Мн.: Выш. Шк., 1985. ¾ 240 с., ил.
. Осепчугов В.В., Фрумкин А.К.
Автомобиль: Анализ конструкций, элементы расчёта: Учебник для студентов вузов
по специальности
. "Автомобили и автомобильное хозяйство". ¾ М.: Машиностроение, 1989. ¾ 304 с.: ил.
. Автомобили: Теория: Учебник для вузов.¾ Мн.: Выш. шк., 1986.¾208 с.: ил.
5. Ремонт обслуживание
эксплуатация Toyota Camry (с 1996 по 2001 год выпуска) [Электронный ресурс]. -
2007-2009. Режим доступа: www.autoprospect.ru. Дата доступа: 16.12.2009г.