Назначение, устройство и работа сцепления

  • Вид работы:
    Реферат
  • Предмет:
    Транспорт, грузоперевозки
  • Язык:
    Русский
    ,
    Формат файла:
    MS Word
    413,93 kb
  • Опубликовано:
    2011-10-28
Вы можете узнать стоимость помощи в написании студенческой работы.
Помощь в написании работы, которую точно примут!

Назначение, устройство и работа сцепления

Министерство общего и профессионального образования Ростовской области

ГОУ НПО "ПУ-97"








Реферат

Предмет: "Устройство автомобиля"

Тема: Назначение устройство и работа сцепления


Выполнил: В. Н.

Проверил: Котляревский Э. Р.

Трансмиссия

Трансмиссия автомобиля это совокупность агрегатов и механизмов, предназначенных для передачи крутящего момента от двигателя к ведущим колесам и изменения его по величине и направлению. Трансмиссия автомобиля состоит из сцепления, коробки передач, раздаточной коробки, карданной передачи, главных передач, дифференциалов, полуосей.

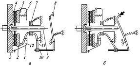
Схема механизма сцепления автомобиля.

При переключении скорости выжимается сцепление и рычаги 10 через подшипник 7, систему рычагов 6 отводят нажимной диск 3 и диски сцепления 2, отключая движение от двигателя. Передача переключается. Затем плавно отпускается педаль сцепления, рычаги 10 и 6 под действием пружин 4 плавно возвращают нажимной диск сцепления в исходное положение, обеспечивая движение от маховика 1 на вал 9 коробки скоростей и дальше на ведущий мост автомобиля. При этом плавность движения автомобиля определяется плавностью прижатия фрикционных дисков 2.

Сцепление - механизм передачи вращения, который может быть плавно включён и выключен (выжат), обеспечивающий безрывковое трогание автомобиля с места и бесшумное переключение передач.

Сцепление предохраняет детали трансмиссии от перегрузок. При неравномерном вращении коленчатого вала двигателя в трансмиссии возникают колебания. Для их гашения в сцеплении имеется гаситель колебаний, или демпфер.

Дисков сцепления: устройство и ремонт

Каждый раз, когда мы переключаем передачи на ходу, мы не думаем о том, сколько переменных одновременно должны принять требуемое значение. На самом деле всю мощность автомобиля (иногда далеко не маленькую) передают на трансмиссию диски сцепления. Они эксплуатируются просто в экстремальных условиях. При запуске какое-то короткое время диск пребывает в бездействии, а затем зажимается двумя алюминиевыми плашками и начинает вращаться с огромной скоростью - до 6000 оборотов в минуту. Этот процесс сопровождает вибрация, трение и сильный нагрев.

В стандартную систему сцепления входят два устройства - диск сцепления и кожух сцепления. Последний состоит из нажимного диска и тарельчатой нажимной пружины. Диски сцепления могут быть оборудованы амортизирующими элементами для уменьшения скручивания. У спортивных дисков более высокий коэффициент трения, но они обеспечивают более жесткое сцепление диска с маховиком. При нормальной эксплуатации автомобиля замена дисков потребуется только после 80 тыс. км пробега.

Если при скорости 40 км/ч при надавливании на педаль газа обороты двигателя увеличиваются, но машина продолжает движение с той же скоростью, то пора устанавливать новые диски. После установке новых дисков сцепления рекомендуется проехать в спокойном режиме 300 км для их "обкатки" и оптимального "притирания". Грубая работа с педалями, езда на предельной скорости, а также движение по плохим дорогам укорачивают срок службы всех частей автомобиля и дисков сцепления, в том числе.

На легковых автомобилях устанавливают однодисковые сухие фрикционные сцепления. Ведущая часть сцепления состоит из маховика двигателя, нажимного диска и кожуха. Ведомая часть представляет собой ведомый диск со ступицей и фрикционными накладками. На ведомом диске укреплен гаситель колебаний. Сцепление имеет механизм выключения, оснащенный муфтой, подшипником и пружиной. Во время включения сцепление пробуксовывает до тех пор, пока угловые скорости (частоты) вращения ведущих и ведомых частей не станут одинаковыми. Когда сцепление буксует, происходит изнашивание фрикционных накладок, на трущихся поверхностях выделяется большое количество тепла (при длительном буксовании температура поверхностей трения может превышать 300 °С). Причем при температуре 200 °С наблюдается резкое снижение коэффициента трения, сцепление начинает терять работоспособность, и для надежной его работы нужно позаботиться об отводе тепла от трущихся поверхностей.


Ведомый диск сцепления 1 - фрикционные накладки; 2 - заклепки; 3 - пружина ведомого диска; 4 - пластина демпфера; 5 - демпферная пружина; 6 - ступица; 7 - фрикционные кольца; 8 - регулировочные кольца; 9 - ведомый диск; 10 - упорный палец; 11 - балансировочный грузик;

Во фрикционных сцеплениях тепло поглощается массивным маховиком двигателя и нажимным диском, для отвода тепла предусматривается вентиляция, сцепления и удаления из него продуктов износа. Уменьшить буксование можно, если при трогании с места включать сцепление при небольшой частоте вращения двигателя. При переключении передач также нежелательно иметь большую частоту вращения двигателя. Сцепление может пробуксовывать, когда не до конца отпущена педаль привода.

Во время длительной эксплуатации автомобиля фрикционные накладки ведомого диска изнашиваются. Диск с накладками становится тоньше, и сила нажатия пружин, которые прижимают ведомый диск к маховику и нажимному диску, ослабевает. Уменьшение силы нажатия пружин приводит к тому, что сцепление не может передавать необходимый крутящий момент и начинает часто пробуксовывать. Чтобы этого не происходило, работу сцепления рассчитывают на передачу крутящего момента, в 1,5...2,0 раза превышающего максимальный момент двигателя. Такое увеличение передаваемого момента называется запасом по сцеплению. Однако излишний запас по сцеплению ухудшает плавность включения, а его уменьшение при длительной эксплуатации приводит к частому буксованию.

Для плавного включения сцепления используют упругие ведомые диски (например, разрезные), упругие элементы в механизме привода (диафрагменные пружины), накладки из специальных фрикционных материалов, обеспечивающие плавное нарастание сил трения. Полное выключение сцепления принято называть чистотой выключения, она достигается необходимым отводом нажимного диска. Чистота выключения и полное включение в эксплуатации поддерживаются регулировкой привода сцепления.

Конструкция любого сцепления, в том числе и фрикционного, должна обеспечивать: надежную передачу крутящего момента от двигателя к коробке передач, плавное включение и полное отключение, отвод тепла от трущихся поверхностей, минимальную массу и инерцию ведомых частей, предохранение трансмиссии от перегрузок.

Начиная с конца 1986 г. на автомобилях "ВАЗ-2108" и -2109" стали применять беззазорный привод, а сервопружины заменили обычными. В беззазорном приводе отсутствует зазор между муфтой с подшипником выключения и лепестками пружины. Такая конструкция привода позволила уменьшить полный ход педали и улучшить полноту выключения сцепления.

Схема 2 - Однодисковое фрикционное сцепление: а - включено; б - выключено; 1 - кожух; 2 - нажимной диск; 3 - маховик; 4 - ведомый диск; 5 - пластина; 6 - пружина; 7 - подшипник; 8 - педаль; 9 - вал; 10 - тяга; 11 - вилка; 12 - рычаг

Ведущими деталями являются маховик 3 двигателя, кожух 1 и нажимной диск 2, ведомыми - ведомый диск 4, деталями включения - пружины 6, деталями выключения - рычаги 12 и муфта с подшипником 7.

Кожух 1 прикреплен болтами к маховику. Нажимной диск 2 соединен с кожухом упругими пластинами 5. Это обеспечивает передачу крутящего момента от кожуха на нажимной диск и перемещение нажимного диска в осевом направлении при включении и выключении сцепления. Ведомый диск 4 установлен на шлицах первичного (ведущего) вала 9 коробки передач.

Сцепление имеет привод, в который входят педаль 8, тяга 10, вилка 11 и муфта с выжимным подшипником 7.

При отпущенной педали 8 сцепление включено, так как ведомый диск 4 прижат к маховику 3 нажимным диском 2 усилием пружин 6. Сцепление передает крутящий момент от ведущих деталей к ведомым через поверхности трения ведомого диска с маховиком и нажимным диском. При нажатии на педаль 8 сцепление выключается, так как муфта с выжимным подшипником 7 перемещается к маховику, поворачивает рычаги 12, которые отодвигают нажимной диск 2 от ведомого диска 4. В этом случает ведущие и ведомые детали сцепления разъединены, и сцепление не передает крутящий момент.

Однодисковые сцепления просты по конструкции, дешевы в изготовлении, надежны в работе, обеспечивают хороший отвод теплоты от трущихся поверхностей, чистоту выключения и плавность включения. Они удобны в обслуживании при эксплуатации и ремонте.

В однодисковых сцеплениях сжатие ведущих и ведомых деталей может производиться несколькими цилиндрическими пружинами, равномерно расположенными по периферии нажимного диска. Оно также может осуществляться одной диафрагменной пружиной или конической пружиной, установленной в центре нажимного диска.

Общие сведения.

Существует много различных типов сцепления, но большинство основано на одном или нескольких фрикционных дисках, плотно сжатых друг с другом или с маховиком пружинами. Фрикционный материал очень похож на используемый в тормозных колодках и раньше почти всегда содержал асбест, в последнее время используются безасбестовые материалы. Плавность включения и выключения передачи обеспечивается проскальзыванием постоянно вращающегося ведущего диска, присоединенного к валу двигателя, относительно ведомого диска, соединенного через шлиц с коробкой передач.

Усилие от педали сцепления передается на механизм путем гидравлического привода или троса. Выжимание педали сцепления разжимает диски сцепления, в итоге оставляя между ними свободное пространство, а отпускание педали приводит к плотному сжатию ведущего и ведомого дисков. Почти все стандартные типы сцепления содержат пружины демпфера крутильных колебаний (видны на снимке), служащие для выравнивания небольших постоянных колебаний момента, неизбежно возникающих при передаче его шестернями коробке передач.

Классификация сцеплений.

По виду энергии различают механические, гидравлические и электромагнитные муфты сцепления. Наиболее распространённые механические муфты сцепления подразделяют:

По виду трения - на сухие и работающие в масле (мокрые).

По режиму включения - постоянно замкнутые и непостоянно замкнутые.

По числу ведомых дисков - одно- , двух- и многодисковые.

По типу и расположению нажимных пружин - с расположением пружин по периферии нажимного диска и с центральной диафрагменной пружиной.

По способу управления - с механическим, гидравлическим, электрическим или комбинированным приводом (например, гидромеханическим).

Сколько дисковые сцепления бывают?

Однодисковые сцепления применяются на легковых автомобилях, автобусах и грузовых автомобилях малой и средней грузоподъемности, а иногда и большой грузоподъемности.

Двухдисковые сцепления устанавливают на грузовых автомобилях большой грузоподъемности и автобусах большой вместимости.

Многодисковые сцепления используются очень редко - только на автомобилях большой грузоподъемности.

Гидравлические сцепления, или гидромуфты, в качестве отдельного механизма на современных автомобилях не применяются. Ранее они использовались в трансмиссии автомобилей, но только совместно с последовательно установленным фрикционным сцеплением.

Электромагнитные сцепления имели некоторое применение на автомобилях, но широкого распространения не получили в связи со сложностью их конструкции.

Основные неисправности

Неполное выключение сцепления

Недопустимое увеличение свободного хода педали сцепления

Отрегулировать свободный ход педали сцепления

Коробление ведомого диска

Отрихтовать диск или заменить новым

Неровности на рабочих поверхностях дисков сцепления или маховика

Зачистить накладки металлической щёткой, поверхность маховика проточить, при необходимости заменить диск с кожухом и диафрагменной пружиной

Ослабление крепления или поломка фрикционных накладок ведомого диска

Заменить накладки

Заедание ступицы ведомого диска на шлицах ведущего вала коробки передач

Очистить шлицы и смазать. Заменить ведущий вал, а при необходимости и ведомый диск, если шлицевая часть изношена или смята

Наличие воздуха в системе гидропривода

Прокачать систему

Утечка жидкости из системы гидропривода через соединения или трубопроводы

Подтянуть соединения, заменить повреждённые детали, прокачать систему гидропривода

Засорение отверстия в крышке бачка, вызывающее разрежение в главном цилиндре и подсос воздуха в цилиндр через уплотнения

Прочистить отверстие в крышке бачка, прокачать систему

Нарушение герметичности при загрязнении или износе кольцевого клапана главного цилиндра

Очистить кольцевой клапан, при износе заменить

Заменить кожух сцепления с нажимным диском в сборе

Ослабление крепления диафрагменной пружины. Перекос или повреждение нажимного диска вследствие отгибания фиксаторов

Заменить кожух сцепления в сборе

Неодновременное нажатие подшипника муфты выключения сцепления на рычаги выключения сцепления

Отрегулировать взаимное расположение концов рычагов выключения сцепления

Неполное включение сцепления (сцепление "буксует")

Недостаточный свободный ход педали сцепления

Отрегулировать свободный ход педали сцепления

Повышенный износ фрикционных накладок ведомого диска

Заменить фрикционные накладки или ведомый диск в сборе

Замасливание фрикционных накладок ведомого диска, поверхностей маховика и нажимного диска

Тщательно промыть уайт-спиртом замасленные поверхности

Засорено или перекрыто кромкой уплотнительного кольца компенсационное отверстие главного цилиндра

Промыть цилиндр и прочистить компенсационное отверстие

Загрязнение или несоответствие техническим условиям тормозной жидкости, вызывающее заедание поршня рабочего цилиндра при его движении

Слить тормозную жидкость, систему гидропривода промыть, повреждённые детали заменить. Заполнить систему рекомендованной тормозной жидкостью

Повреждение или заедание привода сцепления

Устранить неисправности, вызывающие заедание

Неполный возврат педали сцепления при потере упругости оттяжной пружины

Заменить пружину

Неправильная установка фрикционных накладок на ведомом диске

Заменить накладки и проверить их торцевое биение

Ослабление нажимных пружин сцепления

Заменить пружины новыми

Разбухание манжет главного и рабочего цилиндра в результате применения тормозной жидкости несоответствующего состава либо попадания в жидкость бензина или минерального масла

Слить тормозную жидкость, всю систему гидропровода тщательно промыть, повреждённые резиновые детали заменить. Заполнить систему тормозной жидкостью соответствующего состава

Рывки при работе сцепления

Заедание ступицы ведомого диска на шлицах ведущего вала

Очистить шлицы и смазать. Если шлицевая часть изношена или смята, заменить ведущий вал, а при необходимости и ведомый диск

Замасливание фрикционных накладок ведомого диска, поверхностей маховика и нажимного диска

Тщательно промыть уайт-спиртом замасленные поверхности и устранить причину замасливания

Заедание в механизме привода выключения сцепления

Деформированные детали заменить

Недопустимый износ фрикционных накладок ведомого диска

Заменить накладки новыми

Коробление ведомого диска

Отрихтовать диск или заменить новым

Ослабление крепления накладок ведомого диска

Заменить неисправные заклёпки, при необходимости заменить накладки

Повреждение нажимного диска

Заменить кожух сцепления в сборе

Неодновременное нажатие подшипника муфты выключения сцепления (угольно-графитового подтяпника) на рычаги выключения сцепления

Отрегулировать взаимное расположение рычагов выключения сцепления

Потеря упругости пластинчатых пружин ведомого диска

Заменить ведомый диск в сборе

Заедание рычагов выключения сцепления в опорах или выступов нажимного диска в окнах кожуха

Заменить изношенные детали

Износ окон под пружины гасителя крутильных колебаний в ведомом диске, ступице и пластине демпфера. Осадка или поломка пружин гасителя крутильных колебаний

Заменить ведомый диск в сборе

Повышенный шум при выключении сцепления

Износ, повреждение или плохая смазка подшипника муфты выключения сцепления

Заменить подшипник

Недопустимый зазор в шлицевом соединении ступицы ведомого диска и ведущего вала коробки пердач

Заменить изношенные детали

Износ переднего подшипника ведущего вала коробки передач

Заменить подшипник

Повышенное биение пяты отжимных рычагов

Снять механизм сцепления и с помощью спец. приспособления регулировкой положения пяты отжимных рычагов устранить повышенное биение пяты

Задевание обоймы подпятника за пяту сцепления вследствие уменьшения высоты (повышенного износа) графитового подпятника

Заменить графитовый подпятник

Повышенный шум при включении сцепления

Поломка или потеря упругости пружин демпфера ведомого диска

Заменить ведомый диск в сборе

Недостаточный свободный ход педали сцепления

Отрегулировать свободный ход

Поломка, потеря упругости или соскальзывания оттяжной пружины вилки выключения сцепления

Заменить пружину новой или закрепить соскользнувшую

Недопустимый зазор в шлицевом соединении ступицы ведомого диска и ведущего вала коробки передач

Заменить изношенные детали

Скрип при нажатии на педаль сцепления при неработающем двигателе

Смазать пластмассовые втулки коллоидно-графитным препаратом или заменить изношенные новыми

Увеличение усилия, требуемого для выключения сцепления

Заедание в шарнирных сочленениях механизма сцепления или его привода

Устранить заедание или заменить изношенные детали

Дрожание педали в начальный момент выключения сцепления

Повышенное биение пяты отжимных рычагов

Снять механизм сцепления и регулировкой положения пяты отжимных рычагов устранить повышенное биение пяты

трансмиссия автомобиль сцепление двигатель

Наиболее характерные из них: пробуксовывание, неполное выключение (сцепление "ведет") и рывки при включении. Пробуксовывание сцепления - это проскальзывание ведомого диска относительно маховика и нажимного диска; при этом увеличение частоты вращения коленчатого вала двигателя не приводит к повышению скорости движения автомобиля или она повышается медленнее, чем увеличивается частота вращения коленчатого вала. Эта неисправность возникает из-за отсутствия свободного хода педали, сильного износа или замасливания фрикционных накладок сцепления. Устраняют ее регулировкой свободного хода педали, заменой или промывкой фрикционных накладок. При неполном выключении сцепления его ведомый диск и ведущий вал коробки передач не останавливаются, что затрудняет, а иногда делает невозможным включение передач в коробке передач. Эту неисправность устраняют уменьшением свободного хода педали сцепления. Рывки при включении возникают вследствие износа шлицев ступицы ведомого диска сцепления или ведущего вала коробки передач, а также поломки демпферных пружин. Для устранения неисправности следует заменить изношенные или поломанные детали.

Техническое обслуживание сцепление.

В процессе работы сцепления происходит износ фрикционных поверхностей, сопряжений привода управления, потеря герметичности усилителя, что ведет к нарушению регулировочных параметров. Расходуется также смазочный материал. Интенсивность перечисленных процессов зависит, главным образом, от дорожных условий, величины нагрузки в кузове и на крюке, количества транспортных средств на дорогах, а также от практических навыков водителей. Поэтому при эксплуатации автомобилей предусматривается обслуживание сцепления. При ТО-2: проверить герметичность привода, целостность оттяжных пружин педали сцепления и рычага нала вилки выключения сцепления; отрегулировать свободный ход толкателя поршня главного цилиндра привода и свободный ход рычага вала вилки выключения сцепления; смазать подшипники муфты выключения сцепления и вала вилки выключения сцепления; проверить уровень жидкости в бачке главного цилиндра привода сцепления, при необходимости долить жидкость; затянуть болты крепления пневмоусилителя; сменить жидкость в системе гидропривода сцепления (один раз в год осенью). При эксплуатации, по мере износа накладок ведомых дисков, необходимо регулировать привод сцепления для обеспечения свободного хода муфты выключения сцеплений. Регулирование привода сцепления заключается в проверке и регулировке свободного хода педали сцепления, свободного хода муфты выключения сцепления и полного хода толкателя пневмоусилителя. Свободный ход муфты выключения сцепления проверять перемещением вручную рычага вала вилки. При этом отсоединить пружину от рычага. Если свободный ход рычага, измеренный на радиусе 90 мм, окажется менее 3 мм, отрегулировать его сферической гайкой толкателя до величины 3,7...4.6 мм, что соответствует свободному ходу муфты выключения сцепления 3,2...4 мм." Полный ход толкателя пневмоусилителя должен быть не менее 25 мм. Проверить полный ход толкателя пневмоусилителя нажатием педали сцепления до упора. При меньшей величине хода не обеспечивается полное выключение сцепления. В случае недостаточного хода толкателя пневмоусилителя проверить свободный ход педали сцепления, количество жидкости в бачке главного цилиндра привода сцепления, а при необходимости прокачать гидросистему привода сцепления. Свободный ход педали, соответствующий началу работы главного цилиндра, должен составлять ... 15 мм. Измерять его надо в средней части площадки педали сцепления. Если свободный ход выходит за пределы, указанные выше, отрегулировать зазор между поршнем и толкателем поршня главного цилиндра эксцентриковым пальцем, который соединяет верхнюю проушину толкателя с рычагом педали. Регулировать зазор при положении, когда оттяжная пружина прижимает педаль сцепления к верхнему упору ч. Повернуть эксцентриковый палец так, чтобы перемещение педали от верхнего упора до момента касания толкателем поршня составило ... 15 мм, затем затянуть и зашплинтовать корончатую гайку. Полный ход педали сцепления должен составлять 185... 195 мм. Прокачку гидросистемы выполнять для удаления воздушных пробок, возникающих из-за нарушения герметичности гидропривода, в следующем порядке: снять с бачка главного цилиндра пробку и заполнить бачок рабочей жидкостью до уровня не менее 15... 20 мм от верхней кромки заливной горловины бачка. Заполнить систему рабочей жидкостью, применяя сетчатый фильтр во избежание попадания в систему посторонних примесей; снять с перепускного клапана на пневмоусилителе колпачок и надеть на головку клапана шланг для прокачки гидропривода. Свободный конец шланга опустить в стеклянный сосуд вместимостью 0,5 л, наполненный рабочей жидкостью на 1/4... 1/3 высоты сосуда; отвернуть на 1/2...1 оборот перепускной клапан и последовательно резко нажать на педаль сцепления до упора в ограничитель хода с интервалами между нажатиями 0,5... 1 с до прекращения выделения пузырьков воздуха из рабочей жидкости, поступающей по шлангу в стеклянный сосуд; при прокачке добавлять рабочую жидкость в систему, не допуская снижения ее уровня в бачке ниже 40 мм от верхней кромки заливной горловины бачка во избежание попадания в систему воздуха; по окончании прокачки при нажатой до упора педали сцепления завернуть до отказа перепускной клапан, снять с головки клапана шланг, надеть колпачок; после прокачки системы долить свежую рабочую жидкость в бачок до нормального уровня (15...20 мм от верхней кромки заливной горловины бачка). Качество прокачки определяется величиной полного хода толкателя пневмоусилителя. Для проверки уровня жидкости в процессе эксплуатации открыть пробку заливной горловины бачка. При этом уровень жидкости должен быть не ниже 15...20 мм от верхней кромки заливной горловины.

Похожие работы на - Назначение, устройство и работа сцепления

 

Не нашли материал для своей работы?
Поможем написать уникальную работу
Без плагиата!
Без нейросетей!