|
Вид
нагрузки
|
Нормативная
нагрузка, кН/м2
|
Коэффициент
надежности
|
Расчетная
нагрузка, кН/м2
|
|
ПОСТОЯННАЯ
Асфальтобетонное покрытие, dа=50мм
|
1,1
|
1,5
|
1.65
|
|
Бетонная
подготовка, dб=100мм
|
2,5
|
1,3
|
3.25
|
|
Собственный
вес панели hn=0,7
м
|
17,5
|
1,05
|
18,375
|
|
Собственный
вес ригеля
|
3,5
|
1,1
|
3,85
|
|
Итого
постоянная, q1
|
|
|
27,125
|
|
ВРЕМЕННАЯ
Длительная вертикальная нагрузка V1=50кН/м2
|
50
|
1,2
|
60
|
По этим данным можно рассчитать расчетный и
нормативный моменты:
, (23)
а также поперечную силу действующие на панель:
. (24)
По формулам (23), (24) находим нормативный
момент и поперечную силу, действующую на панель:
По формуле (23) находим расчетный момент:
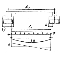
.2 Исходные данные
Номинальная ширина панели:
=
1,2 м;
Длина панели:
;
Высота панели:
Расчетный пролет панели:
Ширина панели поверху:
Определение прочностных и деформационных
характеристик материала: для панели перекрытия принимаем бетон тяжелый
естественного твердения класса по прочности на осевое сжатие В-25. Для него:
.
.
.
.
.
Продольная рабочая растянутая арматура класса А
- III:
Поперечная арматура А - I:
.
Коэффициент надежности по назначению сооружения γп=1,15,
так как панель является элементом гидротехнического сооружения III
класса капитальности; коэффициент сочетания нагрузок γlc=1,
так как в проекте рассматривается только первое основное сочетание нагрузок,
коэффициент условий работы арматуры γs2=1,1,
коэффициент условий работы бетона γb3=1,1.
.3 Расчет на прочность нормальных сечений
Цель расчета - определить площадь
сечения рабочей продольной арматуры, ее диаметр и количество стержней в
сечении, (рис10).
Рисунок 10 - Армирование панели.
Расчет производится как для изгибаемого элемента
прямоугольного профиля с одиночным армированием.
При I
предельном состоянии 
, где а=50мм по
п.3.7[1];
Расчет на прочность нормальных сечений для
прямоугольного профиля (расчет As)
производим по алгоритму рисунка 2 [6].
;
Из таблицы 3.1 [5] берем значения ξ=0,073
и ζ=0,964;
Так как класс арматуры А-III
и В-25, то в соответствии с [4], ξR=0,6.
ξ=0,073≤ ξR=0,6,
условие выполняется;
Принимаем 10 стержней Ø
16мм,
.
Подсчитаем коэффициента армирования по формуле:
, (25)
Этот коэффициент должен выполнять условия:
, (26)
Условие выполняется.
4.4 Расчет на прочность наклонных сечений
Цель расчета - определить диаметр
и шаг поперечной арматуры на приопорных участках панели длиной ¼
пролета. Расчет на прочность наклонных сечений по Q
производим по алгоритму рисунка 4 [6].
Исходные данные:
высота панели: h=0,7
м;
ширина панели b=113
м;
расчетный момент М=46480 кН·см;
поперечная сила Q=304,79
кН;
нормативные и расчетные сопротивления бетона Rb=1,45кН/см2;
Rbt=0,105кН/см2;
расчетное сопротивление поперечной арматуры Rsw=17,5
кН/см2; коэффициенты надежности, сочетания нагрузок, условий работы
арматуры, бетона, сооружения соответственно γп=1,15;
γlc=1;
γs2=1,1;
γb3=1,1;
γс=1;
Диаметр поперечной арматуры принимаем из условия
свариваемости с продольной. Диаметр стержня продольного направления 16 мм,
тогда наименьший допустимый диаметр поперечного направления 4 мм. По приложению
9 [5] принимаем 10 стержней Ø
4 мм,
,
а площадь одного поперечного стержня
.
Рабочая высота сечения
где
а=50мм по п.3.7[1];
Проверка
;
, условие
выполняется.
;
где
-
расчетное сопротивление продольной рабочей арматуры А-III,
;
- расчетное
сопротивление бетона по сжатию,
.
;
;
,5

1,5 =>, так как
,
и это число удовлетворяет условию, то принимаем
;
h
70
см; 95
70
см, условие выполняется.
, условие не
выполняется.
;
;

S
≤
Smax;
,5см <99,11см;
По п.3.18 [4] расстояние между вертикальными
поперечными стержнями в элементах, не имеющих отогнутой арматуры, и в случаях,
когда поперечная арматура требуется по расчету, необходимо принимать на приопорных
участках при высоте сечения более 450мм -
,
но не более 500мм. Таким образом, S=94,5
см, что более Sкон=23,3
см, поэтому принимаем S=Sкон=20см.
.5 Расчет панели по 2-ой группе предельных
состояний данного сечения
.5.1 Определение геометрических характеристик приведенного
сечения
Выполняем по алгоритму для определения
метрических характеристик приведенного сечения панели по рисунку 3 [6].
Исходные данные:
;
b1=113см;
hn=70см; а=5 см.
;
;
.
.5.2 Расчет на образование трещин, нормальных к
продольной оси
Выполняем в соответствии с алгоритмом расчета по
образованию нормальных трещин на рисунке 5 [6].
Исходные данные:
Мн=39698кН·см;
Rbt ser=1,6МПа=0,16кН/см2;
ξ=0,073;
γlc=1;
γс=1; γl=1
при однорядном армировании; h0=65
см.
;
, где с=6,1см , так
как класс бетона В25; а=5 см;
;
, условие не
выполняется.
Нормальные трещины образуются, необходим расчет
по раскрытию трещин.
.5.3 Расчет на раскрытие трещин, нормальных к
продольной оси
Выполняем в соответствии с алгоритмом расчета по
образованию нормальных трещин на рисунке 6 [6].
Исходные данные:
Мн=39698кН·см;
, для изгибаемых и
внецентренных сжатых элементах;
;
-
для стержневой арматуры периодического профиля;
b1=113см;
d=16мм; h0=65
см; Аs=20,11см2;
ξ=0,073
;
где
мм;
,
условие выполняется.
.5.4 Расчет по деформациям
Выполняем в соответствии с алгоритмом расчета по
деформациям на рисунке 7 [6]. Исходные данные:
Мн=39698·см;
Еb=3700кН/см2;
lп=654
см;
l0=610
см
Для нетрещиностойких элементов:
; т.к
,
то
;
;
;
f≤flim
,227<0.8175, условие выполняется.
. Расчёт и конструирование многоплолётного
ригеля
Расчет выполняется только 1-го
пролета ригеля по первой группе предельных состояний (на прочность) на действие
эксплуатационных нагрузок.
.1 Исходные данные
Ригель находится в зоне переменного уровня
морской воды, проектируется из тяжелого бетона класса по прочности на осевое
сжатие В25. Коэффициент условий работы бетона γb3=1,1.
Арматура продольная ненапрягаемая класса А-III,
коэффициент условий работы γs2=1,1.
Поперечная арматура класса А-II.
Расчетные усилия в сечениях ригеля берем из таблицы 3.
.2 Уточнение высоты сечения ригеля
Высота сечения ригеля hр
уточняется исходя из условия прочности на действие поперечной силы. Уточнение
высоты сечения производим по алгоритму рисунка 8 [6]. Исходные данные:
высота ригеля hр=1.2м=120см;
ширина полки ригеля bf=1,4м=140см;
высота полки ригеля hf=0,7м=70см;
ширина ребра b=0,36м=36см;
максимальная поперечная сила Q=1836,1
кН;
расчетное сопротивление бетона Rb=1,45кН/см2;
расчетное коэффициенты надежности, сочетания
нагрузок, условий работы арматуры, бетона, сооружения соответственно γп=1,15;
γlc=1;
γs2=1,1;
γb3=1,1;
γс=1.
Уточнение высоты сечения ригеля hр:
ho=hр-a=120-5=115см,
где а=5см;
;
-
условие не выполняется. Принимаем решение увеличить ширину ребра (b=0,52м=52см).
˃101.8 см - условие выполняется.
.3 Расчет на прочность нормальных сечений
Расчет продольной арматуры производится для трех
сечений: в первом пролете, у опоры А и у опоры В.
В пролете растянута нижняя грань ригеля,
расчетное сечение имеет прямоугольную форму, так как полка в растянутой зоне и
ее работа не учитывается. Расчет ведется по алгоритму на рисунке 2 [6]. У
нижней грани ригеля принимается двухрядное расположение арматуры с тем, чтобы
арматуру верхнего Аs1
оборвать в пролете (Рис.11):
Рис.11. Сечение ригеля в пролете
Расчет на прочность нормальных сечений для
прямоугольного профиля (расчет As)
производим по алгоритму рисунка 2 [6].
Исходные данные для первого пролета:
высота ригеля hр=1,2м=120см;
ширина ребра b=0,52м=52см;
максимальный расчетный момент М=М1=1284,4кН·м=128440кН·см
расчетное сопротивление бетона Rb=1,45кН/см2;
Коэффициенты надежности, сочетания нагрузок,
условий работы арматуры, бетона, сооружения соответственно γп=1,15;
γlc=1;
γs2=1,1;
γb3=1,1;
γс=1.
ho=hр-a=120-9=111см,
где а=9см;
;
Из таблицы 3.1 [5] берем значения ξ=0,156
и ζ=0,922;
ξ=0,156≤
ξR=0,6,
где ξR=0,6
в соответствии с [4];
Принимаем 8 стержней Ø
25мм,
.
У опор А и В растянута верхняя грань, расчетные
сечения тавровой формы с полкой в сжатой зоне. Расчет ведется по алгоритму на
рисунке 9 [6]. Арматура ставится у верхней грани ригеля в два ряда (Рис. 12):

Рис.12. Сечение ригеля у опоры А и опоры В
Исходные данные для опорного сечения А:
высота ригеля hр=120см;
ширина полки ригеля bf=140см;
ширина ребра b=52см;
максимальный расчетный момент М=1675,9кН·м=167590кН·см;
расчетное сопротивление бетона Rb=1,45кН/см2;
Коэффициенты надежности, сочетания нагрузок,
условий работы арматуры, бетона, сооружения соответственно γп=1,15;
γlc=1;
γs2=1,1;
γb3=1,1;
γс=1.
ho=hр-a=120-9=111см,
где а=9см;
Нейтральная ось пересекает полку -
1-ый расчетный случай:
Из таблицы 3.1 [5] берем значения ξ=0,073
ζ=0,964;
ξ=0,073 ≤
ξR=0,6,
где ξR=0,6
в соответствии с [4];
Принимаем 8 стержней Ø
28мм,
.
Исходные данные для опорного сечения В:
высота ригеля hр=120см;
ширина полки ригеля bf=140см;
ширина ребра b=52см;
максимальный расчетный момент М=2142,4кН·м=214240кН·см;
расчетное сопротивление бетона Rb=1,45кН/см2;
Коэффициенты надежности, сочетания нагрузок,
условий работы арматуры, бетона, сооружения соответственно γп=1,15;
γlc=1;
γs2=1,1;
γb3=1,1;
γс=1.
ho=hр-a=120-9=111см,
где а=9см;
Нейтральная ось пересекает полку -
1-ый расчетный случай:
;
Из таблицы 3.1 [5] берем значения ξ=0,094
и ζ=0,953;
ξ=0,094 ≤
ξR=0,6,
где ξR=0,6
в соответствии с [4];
Принимаем 8 стержней Ø
32 мм,
.
.4 Расчет на прочность наклонных сечений
Расчет поперечной арматуры выполняется по
алгоритму на рисунке 4 [6] по расчетным значениям поперечных сил QA
и QB из таблицы 3.
Приопорное сечение А:
Исходные данные приопорного сечения А:
высота ригеля hр=120см;
ширина полки ригеля bf=140см;
ширина ребра b=52см;
максимальная поперечная сила Q=1638,2кН;
нормативные и расчетные сопротивления бетона Rb=1,45кН/см2;
Rbt=0,105кН/см2;
расчетное сопротивление поперечной арматуры Rsw=22,5кН/см2;
коэффициенты надежности, сочетания нагрузок, условий работы арматуры, бетона,
сооружения соответственно γп=1,15;
γlc=1;
γs2=1,1;
γb3=1,1;
γс=1;
количество стержней 4, Ø
8 мм,
,
а площадь одного поперечного стержня
.
ho=hр-a=120-9=111см,
где а=9см;
;
;
;
;
,5

1,5 =>, так как
,
и это число удовлетворяет условию, то принимаем
;
h
60см;
120
60см,
условие выполняется.
, нет.
;
;
S≤Smax;
,13см <19,95см;
По п.3.18 [4] расстояние между вертикальными
поперечными стержнями в элементах, не имеющих отогнутой арматуры, и в случаях,
когда поперечная арматура требуется по расчету, необходимо принимать на
приопорных участках при высоте сечения более 450мм -
,
но не более 500мм. Таким образом, S=5,13см,
что менее Sкон=40
см, поэтому принимаем S=5
см.
Приопорное сечение B:
Исходные данные приопорного сечения B:
высота ригеля hр=120см;
ширина полки ригеля bf=140см;
ширина ребра b=52см;
максимальная поперечная сила Q=1836,1кН;
нормативные и расчетные сопротивления бетона Rb=1,45кН/см2;
Rbt=0,105кН/см2;
расчетное сопротивление поперечной арматуры Rsw=22,5кН/см2;
коэффициенты надежности, сочетания нагрузок, условий работы арматуры, бетона,
сооружения соответственно γп=1,15;
γlc=1;
γs2=1,1;
γb3=1,1;
γс=1; количество
стержней 4, Ø 8 мм,
,
а площадь одного поперечного стержня
.
ho=hр-a=120-9=111см,
где а=9см;
;
;
;
;
0,5

1,5 =>, так как
,
и это число удовлетворяет условию, то принимаем
;
h
60см;
120
60см,
условие выполняется.
;
;
S≤Smax;
,88≤18,7
По п.3.18 [4] расстояние между вертикальными
поперечными стержнями в элементах, не имеющих отогнутой арматуры, и в случаях,
когда поперечная арматура требуется по расчету, необходимо принимать на приопорных
участках при высоте сечения более 450мм -
,
но не более 500мм. Таким образом, S=4,88,
что менее Sкон=40
см, поэтому принимаем S=5
см.
.5 Построение эпюры арматуры. Определение длины
заделки обрываемых стержней
Цель расчета - определить точки
обрыва продольной арматуры в пролете. В целях экономии арматуры продольные
стержни верхнего ряда арматуры в пролете не доводятся до опор, т.к. у опор
пролетный момент близок или равен 0. С той же целью у верхней грани ригеля расчетную
арматуру ставят только у опор, а в средней части пролета ее заменяют
конструктивной арматурой Ø 12
14мм.
Для определения точек теоретического обрыва
стержней строится эпюра арматуры (рис.13). Ординаты ее определяются по формуле:
Мi=Rsγs2Asihoiηi,
(27)
где ηi
-
коэффициент из таблицы 3.1 [5] в зависимости от
;
Аsi,
hoi
- соответственно площадь сечения продольной
арматуры и рабочая высота в сечении ригеля, для которого определяется ордината Mi.
Для обеспечения анкеровки продольной обрываемой
арматуры требуется завести стержни за точки теоретического обрыва на длину:
, (28)
где d
-
диаметр обрываемого стержня в см; Qi
-
ордината эпюры поперечных сил в сечении, проходящем через точку теоретического
обрыва стержня;
, Si
-
шаг хомутов в сечении, проходящем через точку теоретического обрыва.
Исходные данные:
площадь ригеля Ар=0,932 м2=9320
см2;
расчетное сопротивление поперечной арматуры Rs=365
МПа=36,5 кН/см2;
нормативное сопротивление бетона Rb=14,5
МПа=1,45 кН/см2;
сопротивление поперечной арматуры Rsw=175
МПа=17,5 кН/см2;
количество стержней n=4,
площадь одного поперечного стержня fsw=0,503
см2, Ø8 мм;
коэффициенты надежности, сочетания нагрузок,
условий работы арматуры, бетона, сооружения соответственно γп=1,15;
γlc=1;
γs2=1,1;
γb3=1,1;
γс=1;
Нахождение ординат эпюры арматуры в приопорном
сечение А:
При двух рядах арматуры:
Площадь продольной арматуры в сечении Аs=49,26
см2; h0=111см
(при а=9 см)
Следовательно: ζ=0,935;
При одном ряде арматуры:
Площадь продольной арматуры в сечении Аs=24,63
см2; h0=111
см (при а=9 см)
Следовательно: ζ=0,965
Нахождение ординат эпюры арматуры в приопорном
сечение В:
При двух рядах арматуры:
Площадь продольной арматуры в сечении Аs=64,34
см2; h0=111см
(при а=9 см)
Следовательно: ζ=0,915;
При одном ряде арматуры:
Площадь продольной арматуры в сечении Аs=32,17
см2; h0=111
см (при а=9см)
Следовательно: ζ=0,955;
Нахождение ординат эпюры арматуры в пролетном
сечение 1:
При двух рядах арматуры:
Площадь продольной арматуры в сечении Аs=39,27
см2; h0=111
см (при а=9см)
Следовательно: ζ=0,945;
При одном ряде арматуры:
Площадь продольной арматуры в сечении Аs=19,635
см2; h0=111
см (при а=9см)
Следовательно: ζ=0,975;
Нахождение ординат в пролёте Ø
12 AIII
h0=111см
Следовательно: ζ=0,995;
Нахождение длины заделки продольной обрываемой
арматуры:
Ординаты эпюры поперечных сил в сечениях,
проходящих через точку теоретического обрыва стержня, Qi
(рис. 13):
Q1=1450
кН
Q2=900
кН
Q3=950
кН
Q4=850
кН
Q5=1200
кН
Q6=1600
кН
Шаг хомутов в сечениях, проходящих через точку
теоретического обрыва, Si
(рис. 13):
SА=5
смВ=5
см1=50
см
Диаметр обрываемого стержня в сечениях,
проходящих через точку теоретического обрыва, d
(рис. 13):
d1=2,8см
d2=2,8
см
d3=2,5
см
d4=2,5
см
d5=3,2
см
d6=3,2
см
) Длина заделки продольной обрываемой арматуры в
сечении, проходящем через точку 1 теоретического обрыва:
) Длина заделки продольной обрываемой арматуры в
сечении, проходящем через точку 2 теоретического обрыва:
3) Длина заделки продольной обрываемой арматуры
в сечении, проходящем через точку 3 теоретического обрыва:
) Длина заделки продольной обрываемой арматуры в
сечении, проходящем через точку 4 теоретического обрыва:
) Длина заделки продольной обрываемой арматуры в
сечении, проходящем через точку 5 теоретического обрыва:
) Длина заделки продольной обрываемой арматуры в
сечении, проходящем через точку 6 теоретического обрыва:
По найденной длине заделки строим на рис.13
анкеровку продольной обрываемой арматуры.
5.6 Расчет консолей ригеля
Консоли ригеля следует проектировать короткими,
то есть должно выполняться соотношение
.
Нагрузка на консоль - опорная реакция панели (собирается
с номинальной ширины панели
):
, (29)
где q1
-
полная расчетная нагрузка на 1м2 панели из таблицы 1, (q1=27,125
кН/м2);
- номинальная ширина
панели, (
=1,4м);
- длина плиты, (
=6,54
м).
Расчет консоли ведется согласно п.6.4[1].
Определяется вылет консоли. Длина опирания панели на консоль
;
вылет консоли:
(30)
Требуемая рабочая высота консоли определяется из
условия
,
откуда:
, (31)
где
,
При этом должно выполняться условие
:
Площадь сечения продольной арматуры у верхней
(растянутой) грани консоли:
, (32)
где
.
Найденная площадь сечения арматуры Аs
приходится на участок консоли ригеля, равный ширине панели bn=1,4
м. Рабочая продольная арматура ставится на участке с шагом S
=(20
30)см,
определяется ее количество и диаметр.
Принимаем:
;
n=4; d=14мм;
шаг S=30 см.
Поперечное армирование консоли принимается в
виде отгибов с углом наклона к горизонтали 45о. Площадь сечения отгибов,
приходящаяся на участок консоли ригеля длиной bn=1,4
м, As,inc≥0,002bnhf:
As,inc=0,002·1,4·0,7=0,00196
м2 =19,6см2.
Принимаем:
;
n=2; d=36мм;
шаг S=30 см.
Проверяется условие:
;
;
.81<3633.57
Условие выполняется.
. Расчет и конструирование сваи-оболочки
.1 Исходные данные
Сваю-оболочку следует
проектировать так, чтобы соотношение внутреннего и наружного радиусов было не
менее 0,5. Для расчета сечения сваи-оболочки необходимы
геометрические характеристики:
А - площадь кольцевого
сечения сваи-оболочки;
rm
-
средний радиус сечения;
J
-
момент инерции сечения относительно центральной оси;
i
-
радиус инерции сечения;
α - коэффициент
приведения.
r1 -
внешний радиус r1=0,7
м
r2 -
внутренний радиус r2=0,55
м
Геометрические характеристики определяются по
алгоритму на рисунке 11 [6].
1)
2)
3)
4)
;
5)
Определение прочностных и
деформационных характеристик материала: для сваи-оболочки принимаем бетон
тяжелый естественного твердения класса по прочности на осевое сжатие В-30. Для
него:
.
.
.
.
Продольная рабочая растянутая
арматура класса А - IV:
кН/см2.
Коэффициент надежности по назначению сооружения γп=1,15,
так как свая-оболочка является элементом гидротехнического сооружения III
класса капитальности; коэффициент сочетания нагрузок γlc=1,
так как в проекте рассматривается только первое основное сочетание нагрузок,
коэффициент условий работы арматуры γs2=1,1,
коэффициент условий работы бетона γb3=1,1.
Для принятия продольной арматуры следует задать
количество и диаметр рабочей и продольной арматуры сваи-оболочки
и по справочной таблице определить соответствующую площадь сечения арматуры Аs,tot.
Принимаем 24 стержня Ø 22 мм,
класса А-IV с площадью
Аs,tot=91,22
см2.
Определение потерь предварительного напряжения и
усилия обжатия производится по алгоритму рисунка 12 [6].
1) Натяжение арматуры на упоры: способ
натяжения - механический, бетон тяжелый, подвергнут
тепловой обработке.
2)
3)
4) 
5) Определение первых потерь
6) Определение вторых потерь
7)
8)
Определение относительной площади сжатой зоны
сечения
и
несущей способности сечения
.
1)
,
при механическом натяжении арматуры;
2)
3)
,
где
=1,1
4)
;
5)
6)
;
7)
нет
8)
,
где rs=62,5
см
;
)
;
;
)
;
.2 Расчет сваи оболочки на прочность
Расчет производим по алгоритму рисунка 14 [6].
1)
;
2)
;
, да
3)
,
где
=9,79м
нет
4)
7. Расчет и конструирование стыка ригеля со
сваей-оболочкой
Неразрезанность ригеля осуществляется
соединением выпусков арматуры с помощью ванной сварки. Монолитная пробка из
бетона В35 в голове сваи армируется цилиндрическим каркасом с рабочей арматурой
того же диаметра и в том же количестве, что и продольная рабочая арматура сваи-оболочки.
Внутри цилиндрического каркаса устанавливается дополнительный прямоугольный
каркас для восприятия изгибающего момента стойки по нижней грани ригеля.
Продольные (анкерные) стержни этого каркаса выпускаются из сваи-оболочки
и свариваются с продольными стержнями ригеля. Осуществляется последующие
замоноличивание стыка бетоном В30.
Диаметр анкерных стержней назначается из
условия, что они воспринимают полный момент стойки (в месте ее сопряжения с
ригелем).
(33)
где М - изгибающий момент
стойки, М=1610,4 кН*м; γп=1,15;
γlc=1;
γs2=1,1
-
коэффициенты надежности, сочетания нагрузок, условий работы арматуры
соответственно; Rs
- расчетное сопротивление продольной арматуры
растяжению, Rs=590
МПа; zs
-
плечо внутренней пары сил и приблизительно равно:
zs=r2-2a
(34)
где а=0,05 м - защитный слой.
zs=0,55-2.0,05=0,45
м
По формуле (33) находим:
8 стержней Ø
32мм.
Список литературы
1. Железобетонные конструкции:
Методические указания к курсовому проекту для студентов специальности 2904.
Часть1 / Т.К. Игнатенко, А.К. Адамчик. - Владивосток: ДВПИ,
1989. -
24с.
2. СНиП 2.06.04-82*.
Нагрузки и воздействия на ГТС (волновые, ледовые и от судов) / Госстрой СССР.-М.:
ЦИТП Госстроя СССР, 1986. - 40с.
. СНиП 2.06.01-86.
Гидротехнические сооружения. Основные положения проектирования / Госстрой СССР.
-
М.: ЦИТП Госстроя СССР, 1987. - 32с.
. СНиП 2.06.08-87.
Бетонные и железобетонные конструкции гидротехнических сооружений / Минэнерго
СССР. -
М.: ЦИТП Госстроя СССР, 1987. - 32с.
. Байков В.Н., Сигалов Э.Е.
Железобетонные конструкции: Общий курс. Учебник для вузов. -
М.: Стройиздат, 1985. - 728с.
. Железобетонные конструкции:
Методические указания к курсовому проекту для студентов специальности 2904.
Часть2 / Т.К. Игнатенко, А.К. Адамчик. - Владивосток: ДВПИ,
1989. -
19с.