Построение системы автоведения поездов
Содержание
Введение
1. Цель работы
2. Задание на курсовой проект
3. Концепция модели
3.1 Декомпозиция модели
3.2 Аппроксимация реальных процессов математическими выражениями
4. Составление имитационной модели
4.1 Назначение и характеристика
4.2 Используемая информация
4.3 Результаты решения
5. Выбор длины и профиля перегона
6. Координаты первого выключения и второго включения тяговых
двигателей. Параметры движения поезда по перегону
7. Пять траекторий движения поезда
8. Функциональная схема централизованной САВПМ, на перегоне с двумя
включениями тяговых двигателей
9. Временная диаграмма системы автоведения
10. Составление блок-схемы алгоритма модели
10.1 Описание алгоритма
11. Исследование качества управления по закону
Заключение
Список использованной литературы
Введение
Системы автоведения поездов (САВП) предназначены для
автоматизации процесса управления движением поездов. Они с успехом внедряются
как во многих метрополитенах мира, так и на железнодорожных магистралях.
На Московском Метрополитене некоторое время использовались
системы автоведения, но потом от этих систем вынуждены были отказаться из-за
ужесточения ограничений по выполнению заданных времён хода. Ограничения были
связаны с тем, что Московский Метрополитен получил статус скоростного
транспорта.
Современные системы автоведения в состоянии работать в
условиях тех ограничений, что ставит перед ними Московский Метрополитен, но
недостаточное финансирование не позволяет произвести внедрение таких систем на
указанное транспортное предприятие.
Высокая стоимость такого оборудования объясняется высоким
быстродействием, при котором сложнейшие расчёты ведутся в реальном времени, что
позволяет снизить всевозможные ошибки управления.
Целью же курсового проекта ставится исследование предыдущих
поколений САВП, в состав которых входят регуляторы времени хода. В таких САВП
расчёт ведётся не в реальном времени, а основывается на данных предварительного
расчёта. При исследовании даётся возможность оценить качество управления на основе
данных об ошибках управления, понять причину возникновения ошибок и увидеть
пути снижения этих ошибок.
1. Цель
работы
Целью курсового проектирования является изучение принципов
построения систем автоведения поездов, включая: выбор структурной схемы,
распределение функций между уровнями, законы управления регуляторов времени
хода, анализ качества управления с помощью имитационного моделирования. [1]
2. Задание на
курсовой проект
1. Выбрать длину и профиль перегона, на котором
потребовалось бы сделать два включения тяговых двигателей.
2. Выбрать координаты первого выключения тяговых двигателей,
второго включения тяговых двигателей и по программе "Исследование качества
управления регуляторов времени хода системы автоведения поездов" провести
расчеты для определения пяти времен хода по перегону при программной загрузке
вагона, заданной в таблице 5,
,
. Распечатать параметры движения поезда по
перегону.
. По результатам расчета построить на одном рисунке пять
траекторий движения поезда
.
. Разработать функциональную схему централизованной системы
автоведения поездов метрополитена на перегоне с двумя включениями тяговых
двигателей для вариантов согласно таблицы 5. Составить описание работы системы.
. Представить временную диаграмму работы централизованной
системы автоведения поездов метрополитена на перегоне с двумя включениями
тяговых двигателей.
. Разработать блок-схему и описание модели для исследования
качества управления регуляторов времени хода САВПМ на перегонах с двумя
включениями тяговых двигателей.
. Провести исследования качества управления регулятора
времени хода САВПМ, заданного в таблице 5, по способу управления №1 на перегоне
с двумя включениями тяговых двигателей при коэффициентах учёта основного
сопротивления движению поезда K=1, K=0,8, K=1,2. Ошибки управления представить
в виде таблицы.
. На одном рисунке построить зависимость одного из законов
управления St (Tx), Tt (Tx), Vвт (Tx), Vc (Tx), согласно таблице 1 при K=1,
K=0,8, K=1,2
. Провести исследование качества управления регулятора
времени хода, САВПМ заданного в таблице 5, по способу управления №2, на
перегоне с двумя включениями тяговых двигателей при коэффициентах учёта
основного сопротивления движению поезда K=1, K=0,8 K=1,2. Ошибки управления
представить в виде таблицы
. Сравнить качество управления РВХ при способах управления
№1 и №2.
3. Концепция
модели
Главными показателями качества и эффективности являются
экономический и временной. Но эти показатели мы не можем на данный момент
повысить в связи с дороговизной обновления элементной базы и др. Исходя из
вышеуказанных соображений и при учете таких случайных показателей как загрузка
вагона и напряжение на токоприемнике, требуется найти оптимальный вариант
движения поезда по перегону. Что касается самой модели, то для неё необходимо
обеспечить требуемое быстродействие, надежность, точность управления. Причём
чем выше точность модели, то есть чем меньше шаг интегрирования, тем дольше
производиться расчёт и тем хуже быстродействие, но данные трудности можно
преодолеть путём внедрения более современной техники.
3.1
Декомпозиция модели
Рассматриваемая модель включает в себя следующие подмодели:
ввод исходных данных (вводятся с клавиатуры либо путём
изменения программы начальные параметры движения поезда и параметры перегона
(см. п.1.3.), необходимые для расчёта траектории движения поезда и расхода
электроэнергии);
задание режима моделирования (определяется: моделирование
будет проводиться для движения поезда по перегону с одним включением тяговых
двигателей или с двумя включениями тяговых двигателей);
определение режимов ведения (в модели существует 7 режимов
ведения поезда (подтормаживание между 1-й и 2-й тягой, подтормаживание перед
прицельным торможением, прицельное торможение, выбег перед прицельным
торможением, выбег между 1-й и 2-й тягой, 1-я тяга, 2-я тяга), которые в
процессе движения сменяют друг друга (некоторые могут вообще отсутствовать),
поэтому необходимо определять, какой режим ведения используется в данный момент
времени);
модель движения поезда в режиме тяги;
модель движения поезда в режиме выбега;
модель движения поезда в режиме торможения;
вывод результатов моделирования на экран (вывод результатов
производится в графическом виде - семейство траекторий движения поезда для 5
времен хода, вид перегона в зависимости от элементов профиля, уклонов и кривой;
в виде таблицы, в которой печатаются путь, скорость, время и режим на каждом
шаге интегрирования; в виде списка основных параметров движения поезда на
перегоне).
3.2
Аппроксимация реальных процессов математическими выражениями
В данной модели кусочно-линейно аппроксимируются такие
электромеханические характеристики двигателя, как зависимость силы тяги Fд
двигателя от тока двигателя Iд - Fд (Iд) и
зависимость магнитного потока двигателя СФ от его тока - СФ (Iд), на
которые практически не влияет изменение напряжения на двигателе:
СФ = аoz+a1zIд,д
= boz+b1zIд,
где аoz, a1z, boz, b1z
- коэффициенты аппроксимации z-го куска характеристики. Магнитный поток
двигателя определяется путем пересчета характеристики V (Iд)
(которую предварительно аппроксимируют) по формуле:
где Uр - расчетное номинальное напряжение на двигателе;д
- сопротивление двигателя;- скорость движения.
С целью упрощения модели поезда в расчётах используется
кусочно-постоянную аппроксимацию зависимости силы тяги от скорости Fд
(V).
система автоведение поезд схема
4.
Составление имитационной модели
4.1
Назначение и характеристика
Данная имитационная модель предназначена для освоения навыков
моделирования движения поезда метрополитена, включая: изучение объекта
моделирования, изучение модели движения поезда, моделирование движения поезда
на перегонах с одним и двумя включениями тяговых двигателей, выбор режимов
ведения поезда, исследование влияния возмущений на процесс ведения поезда.
Разработанная программа написана на языке Borland Pascal.
Точность решения зависит от округлений в процессе вычислений и при выводе
информации на экран.
4.2
Используемая информация
а) Нормативно-справочная
Таблица 1. Нормативно-справочная информация.
|
Обозначение
|
Наименование
|
Примечание
|
|
РВ
|
Масса пустого вагона
|
Т
|
|
Sm
|
Ускорение (по модулю) при подтормаживании
|
м/с2
|
|
Sam
|
Ускорение (по модулю) при прицельном торможении
|
м/с2
|
Номинальное напряжение на контактном рельсе
|
В
|
|
RD
|
Активное сопротивление двигателя
|
Ом
|
|
СоlРoint
|
Количество точек аппроксимации
|
-
|
|
IaU
|
Массив значений тока в точках аппроксимации
зависимости скорости от тока, при номинальном напряжении на контактном рельсе
|
-
|
|
Vd
|
Массив значений скорости в точках аппроксимации
зависимости скорости от тока, при номинальном напряжении на контактном рельсе
|
-
|
|
Ft
|
Массив значений силы тяги в точках
аппроксимации зависимости силы тяги от тока
|
-
|
|
IaF
|
Массив значений тока в точках аппроксимации
зависимости силы тяги от тока
|
-
|
|
VР1,VР2,VPЗ
|
Значения скоростей в точках кусочно-постоянной
аппроксимации зависимости силы тяги от скорости
|
км/ч
|
|
FD1, FD2, FD3
|
Значения силы тяги в точках кусочно-постоянной
аппроксимации зависимости силы тяги от скорости
|
кГ
|
|
ТоkDv
|
Ток в двигателе при кусочно-постоянной
аппроксимации зависимости силы тяги от скорости
|
А
|
|
OmegaT1, OmegaT2
|
Коэффициенты для расчета основного
сопротивления в режиме тяги
|
-
|
|
КV1, КV2, КVЗ
|
Коэффициенты для расчета основного
сопротивления в режиме выбега
|
-
|
|
Sekvivalent
|
Площадь эквивалентной поверхности
|
М2
|
|
Colvagon
|
Количество вагонов в поезде
|
-
|
|
CooЕndDорV
|
Массив координат концов уровней допустимых
скоростей
|
-
|
|
DорV
|
Массив уровней допустимых скоростей
|
-
|
|
СооЕndРrоf
|
Массив координат концов элементов профиля
|
-
|
|
Рrоf
|
Массив уклонов элементов профиля
|
-
|
|
СооВеgRаd
|
Массив координат начал участков с кривизной
|
-
|
|
СооЕndRаd
|
Массив координат концов участков с кривизной
|
-
|
|
Rad
|
Массив радиусов участков с кривизной
|
-
|
|
СоlDорV
|
Количество уровней допустимых скоростей
|
-
|
|
Со1Prоf
|
Количество элементов профиля
|
-
|
|
Со1Rаd
|
Количество участков с кривизной
|
|
Dlina
|
Длина перегона
|
М
|
б) Оперативная информация
Таблица 2. Оперативная информация
|
Обозначение
|
Наименование
|
Примечание
|
|
СooОnеОff
|
Координата 1го выключения тяговых
двигателей
|
М
|
|
RealU
|
Реальное напряжение на контактном рельсе
|
В
|
|
Маssa
|
Масса загрузки вагона пассажирами
|
Т
|
|
СооKT
|
Координата контрольной точки
|
М
|
|
StерТ
|
Шаг интегрирования по пути в режиме тяги
|
М
|
|
StерV
|
Шаг интегрирования по пути в режиме выбега или
торможения
|
М
|
|
F1аgНаnd
|
Признак "ручного" управления
движением поезда
|
-
|
|
KoefWosn
|
Коэффициент учёта основного сопротивления
движению поезда
|
-
|
в) Промежуточная информация
Таблица 3. Промежуточная информация
|
Обозначение
|
Наименование
|
Примечание
|
|
ТекРrоF
|
Номер текущего элемента профиля пути
|
-
|
|
ТекRаd
|
Номер ближайшего (по ходу движения поезда)
участка с кривизной
|
-
|
|
ТеkDорV
|
Номер текущего уровня допустимой скорости
|
-
|
|
Rеgim 2 1 0 2
|
Режим ведения поезда: подтормаживание перед
прицельным торможением прицельное торможение выбег перед прицельным
торможением тяга
|
-
|
|
ТеkТok
|
Ток двигателя на данном шаге интегрирования
|
А
|
|
S
|
Текущая координата поезда
|
М
|
|
V
|
Текущая скорость поезда
|
км/ч
|
|
Т
|
Текущее время
|
С
|
|
dS
|
Приращение пути на данном шаге интегрирования
|
М
|
|
dV
|
Приращение скорости на данном шаге
интегрирования
|
км/ч
|
|
dT
|
Приращение времени на данном шаге
интегрирования
|
|
Pow
|
Мощность двигателя на данном шаге
интегрирования
|
кВт
|
|
Wosn
|
Основное сопротивление движению на данном шаге
интегрирования
|
кГ
|
|
Wdop
|
Дополнительное сопротивление движению на данном
шаге интегрирования
|
кГ
|
|
Uskor
|
Замедление на данном шаге интегрирования (если
поезд идет в режиме торможения или подтормаживания)
|
м/с2
|
|
Vtorm
|
Скорость начала торможения
|
км/ч
|
|
TekIter
|
Номер текущего варианта движения поезда по
перегону
|
-
|
|
КоеfA0
|
Массив свободных членов кусочно-линейной
аппроксимации зависимости магнитного потока от тока
|
-
|
|
КоеfA1
|
Массив коэффициентов при переменной
кусочно-линейной аппроксимации зависимости магнитного потока от тока
|
-
|
|
КоеfB0
|
Массив свободных членов кусочно-линейной
аппроксимации зависимости силы тяги от тока
|
-
|
|
КоеfВ1
|
Массив коэффициентов при переменной
кусочно-линейной аппроксимации зависимости силы тяги от тока
|
-
|
|
rvh
|
Признак закона РВХ
|
-
|
|
Vc
|
Текущее значение средней скорости в режиме тяги
|
м/с
|
|
Vcp
|
Программное значение средней скорости в режиме
тяги для закона Vc (Tx)
|
м/с
|
|
Tdt
|
Время дополнительного движения под тягой для
закона Тдт (Тос)
|
С
|
|
Tocp
|
Оставшееся время хода по перегону для закона Тдт
(Тос)
|
С
|
|
Stm
|
Массив свободных членов кусочно-линейной
аппроксимации закона Sт (Тх)
|
-
|
|
StmT
|
Массив коэффициентов при переменной
кусочно-линейной аппроксимации закона Sт (Тх)
|
-
|
|
Vvtm
|
Массив свободных членов кусочно-линейной
аппроксимации закона Vвт (Тх)
|
-
|
|
VvtmT
|
Массив коэффициентов при переменной
кусочно-линейной аппроксимации закона Vвт (Тх)
|
-
|
|
Vсm
|
Массив свободных членов кусочно-линейной
аппроксимации закона Vс (Тх)
|
-
|
|
VсmT
|
Массив коэффициентов при переменной
кусочно-линейной аппроксимации закона Vс (Тх)
|
-
|
|
Ttm
|
Массив свободных членов кусочно-линейной
аппроксимации закона Tт (Тх)
|
-
|
|
TtmT
|
Массив коэффициентов при переменной
кусочно-линейной аппроксимации закона Tт (Тх)
|
-
|
|
Tdtm
|
-
|
|
TdtmT
|
Массив коэффициентов при переменной
кусочно-линейной аппроксимации закона Tдт (Тос)
|
-
|
|
TZad
|
Массив заданных времён хода для расчета
кусочно-линейных аппроксимаций законов РВХ
|
-
|
|
TStopT
|
Массив фактических времён хода для расчета
кусочно-линейных аппроксимаций законов РВХ
|
-
|
|
Toc
|
Массив оставшихся времён хода для расчета
кусочно-линейной аппроксимации закон Tдт (Тос)
|
-
|
|
Stt1
|
Путь в режиме тяги J-ого времени хода
|
М
|
|
Ttt1
|
Время в режиме тяги J-ого времени хода
|
С
|
|
Stt2
|
Путь в режиме тяги (J+1) - ого времени хода
|
М
|
|
Ttt2
|
Время в режиме тяги (J+1) - ого времени хода
|
С
|
|
Stt
|
Текущий путь движения под тягой
|
М
|
|
Ttt
|
Текущее время движения под тягой
|
С
|
|
Stp
|
Массив программных значений пути движения под
тягой для закона St (Tx)
|
-
|
4.3
Результаты решения
Таблица 4. Переменные - результаты
|
Обозначение
|
Наименование
|
Примечание
|
|
TimeGo
|
заданное время хода по перегону
|
с
|
|
MasParam ConeOff CooTwoOn CooTwoOff
СТоrт Сstop VoпеОff VТоrт VКТ ТопеOff ТTоrт Тstoр ТКТ Еlесtro Osh
|
Массив параметров движения поезда со следующими
полями: координата 1го выключения тяговых двигателей Координата
второго включения тяги Координата второго включения тяги координата начала
прицельного торможения координата остановки поезда скорость при отключении
тяговых двигателей скорость в начале прицельного торможения скорость
прохождения контрольной точки время в момент отключения тяговых двигателей
время в момент начала прицельного торможения время в момент остановки поезда
время в момент проезда контрольной точки расход электроэнергии поездом Ошибка
управления
|
м м м м м км/ч км/ч км/ч с с с с кВт*ч с
|
|
MaxOsh
|
Максимальная ошибка управления
|
с
|
|
SrOsh
|
Средняя ошибка управления
|
с
|
|
SrKvOsh
|
Среднеквадратичная ошибка управления
|
с
|
5. Выбор
длины и профиля перегона
Таблица 5. Исходные данные
|
№ варианта
|
Программная загрузка вагона, т
|
Закон управления регулятора времени хода
|
Место распределения регулятора времени хода
|
|
1
|
5
|
ЦПУ
|
|
Заданием на данный курсовой проект предусматривается
индивидуальный подход к выбору исходных данных. В качестве исходных данных
рассматриваются параметры некоторого перегона, на котором требуется введение
двух включений тяговых двигателей. Были выбраны следующие данные:
Исходные данные для расчета траекторий по перегону с двумя
включениями тяги:
6. Координаты
первого выключения и второго включения тяговых двигателей. Параметры
движения поезда по перегону
Координата 1-го выключения тяговых двигателей: 155 м
Координата 2-го включения тяговых двигателей: 900 м

Рисунок 1. Пять траекторий движения поезда.
8.
Функциональная схема централизованной САВПМ, на перегоне с двумя включениями
тяговых двигателей
|
Управляющие
|
Информационные
|
|
У1. Диспетчерское управление
|
И1. Хранение графика движения
|
|
У2. Отправление поездов со станции (определение
времени стоянки ТС)
|
И2. Отображение информации о движении поездов
на линии
|
|
У3. Определение времени хода по перегону ТХ
|
И3. Регистрация исполненного (фактического)
графика движения
|
|
У4. Управление временем хода (определение
режимов ведения, реализация РВХ)
|
И4. Рекомендации корректировки графика
движения.
|
|
У5. Прицельное торможение
|
И5. Контроль параметров движения
|
|
У6. Подтормаживание
|
И6. Контроль работоспособности аппаратуры
системы.
|
|
У7. Исполнение команд управления
|
И7. Информирование пассажиров.
|
|
У8. Открытие и закрытие дверей
|
И8. Показатели работы линии.
|
|
И9. Передача информации между уровнями системы.
|
|
И10. Включение радио-информатора.
|
Функциональная схема ЦСАВПМ представлена на рисунке 2.
По заданию, регулятор времени хода расположен на центральном
посту управления. Тогда управляющая функция У4 (см. таблицу) будет "расположена"
на центральном посту управления. Отметим, что система будет являться централизованной,
так как управляющие функции У1, У2 и У3 расположены на центральном посту
управления (ЦПУ). Функции У5, У6, У7, У8 разместим на поездном устройстве.
Информационные функции расположим следующим образом:
И1, И2, И3, И4, И7, И8 будут расположены на ЦПУ, потому что
иначе полученная система не будет централизованной. И5 разместим на ЦПУ и на
ПУ. Таким образом, будет осуществляться контроль параметров движения каждого
поезда (поездным устройством) и всех поездов на линии (ЦПУ). Радио-информатор
расположен на поезде, а значит и управление им (И10) должно располагаться на
поездном устройстве. И6 будет расположена на ЦПУ. Информирование пассажиров
(И7) будет проводиться на СУ и ЦПУ. Показатели работы линии будут фиксироваться
на СУ. И9 (передача информации между уровнями системы) расположим на ЦПУ и ПУ.
На рисунке 6 показаны также сигналы, передаваемые в системе
автоведения между уровнями системы. Однако на рисунке показаны не все сигналы.
Так, например сигнал "Диагностическая информация", который
присутствует при контроле работоспособности ЦПУ, на рисунке не отображен -
система контролирует сама себя. Сигнал о выключении тяговых двигателей подается
сначала на СУ и далее на ПУ. Сигналы "Открытие дверей" и
"Закрытие дверей" также не отображены на схеме, но обязательно
присутствуют в системе.
Рисунок 2. Функциональная схема ЦСАВПМ
9. Временная
диаграмма системы автоведения
Рисунок 3. Временная диаграмма работы САВПМ
Как только поезд прибыл на станцию, формируется сигнал
прибытия поезда на станцию, на ЦПУ с ПУ передается информация о прибытии поезда
и о номере маршрута. Затем на ПУ происходит открытие двери, а в это время на
ЦПУ рассчитывается время стоянки и время хода по перегону. Далее время стоянки
передается на ПУ. После прохождения заданного времени стоянки машинист
закрывает двери поезда, затем отпускаются тормоза, и включаются тяговые
двигатели, одновременно с включением формируется сигнал об отправлении поезда и
вычисляется заданное время хода. При достижении координаты первого выключения
тяговых двигателей формируется сигнал и происходит выключение тяговых
двигателей, поезд переходит в режим выбега. Когда достигнута координата второго
включения тяговых двигателей, формируется сигнал и происходит включение тяговых
двигателей, поезд переходит в режим тяги. Далее определяется плановая скорость
поезда в момент второго выключения тяговых двигателей. Затем происходит
сравнение фактической скорости и плановой скорости поезда в момент выключения
тяговых двигателей, при равенстве этих скоростей формируется сигнал и
происходит отключение тяговых двигателей. Поезд переходит в режим выбега. При
подходе к станции начинается прицельное торможение. На станции весь этот
процесс повторяется заново.
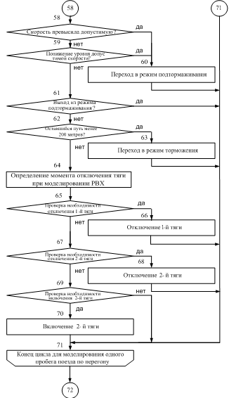
10.
Составление блок-схемы алгоритма модели
10.1 Описание
алгоритма
Целью алгоритма, представленного в виде блок-схемы, является
создание модели движения поезда для исследования качества управления
регуляторов времени хода САВПМ на перегонах с двумя включениями тяговых
двигателей.
Данный алгоритм включает в себя следующие пункты:
1 - начало программы;
2 - обнуление основных параметров движения поезда
в начальный момент времени;
3 - 79 - цикл по пяти временам хода по перегону (цикл
организуется, если управление автоматическое):
4 - установка параметров ведения поезда, установка
для РВХ;
5 - 77 - цикл для поиска заданного времени хода (при
автоматическом управлении: заданное время хода - время хода, кратное пяти и
отличное от реального менее чем на одну секунду);
7 - 71 - цикл для моделирования одного пробега поезда
по перегону. Включает в себя:
8 - определение силы тяги на данном шаге
интегрирования и тока (в программе это определяется в процедуре);
9 - 10 - расчет и корректировка основного сопротивления;
11 - расчет дополнительного сопротивления;
12 - 22 - выбор шага интегрирования;
24 - 29 - интегрирование по пути в режиме торможения;
30 - 34 - интегрирование по пути в режиме тяги или выбега;
37 - 51 - проверка перехода на уменьшенный шаг
интегрирования для поиска точки начала прицельного торможения;
52, 54 - 63, 65 - 70, 72 - проверки движения поезда
по перегону (проезда контрольной точки; смены элемента профиля, уровня допустимой
скорости и участка кривизны; условия на начало прицельного торможения; условия
на начало подтормаживание по факту превышения допустимой скорости, перед
понижением уровня допустимой скорости; выхода из режима подтормаживания;
условия отключения тяги рпи оставшемся пути менее 200 метров; необходимости
отключения 1-ой тяги, включения и отключения 2-ой тяги; остановки поезда на
перегоне);
53 - расчет для закона Тдт (Тос);
64 - определение момента отключения тяги при
моделировании РВХ;
73, 75 - проверка выполнения заданного времени хода и
корректировка координаты последнего отключения тяги для выполнения заданного
времени хода;
76 - проверка ситуации, когда 2-ое выключение тяги
наступает раньше, чем 2-ое включение тяги;
78 - проверка типа управления;
80, 81 - расчет ошибок управления;
82 - аппроксимация программных зависимостей РВХ.
11.
Исследование качества управления по закону
Графики зависимости времени движения в режиме тяги двигателей
от времени хода при 1-м и 2-м способах управления.
Исследование качества управления регулятора времени хода
при 1-м способе управления
|
K
|
 
|
|
|
|
0,8
|
7.8
|
9.61
|
7.91
|
|
1
|
5.23
|
5.27
|
|
1,2
|
2.39
|
2.7
|
2.41
|
|
|
|
|
|
K
|
  
|
|
|
|
|
0,8
|
6.13
|
7.08
|
8.39
|
9.61
|
|
1
|
4.45
|
4.88
|
5.59
|
6.01
|
|
1,2
|
2.7
|
2.53
|
2.52
|
1.8
|
Исследование качества управления регулятора времени хода
при 2-м способе управления
|
K
|
 
|
|
|
|
0,8
|
7.8
|
9.61
|
7.91
|
|
1
|
5.23
|
6.01
|
5.27
|
|
1,2
|
2.39
|
2.7
|
2.41
|
|
K
|
  
|
|
|
|
|
0,8
|
6.13
|
7.08
|
8.39
|
9.61
|
|
1
|
4.45
|
4.88
|
5.59
|
6.01
|
|
1,2
|
2.7
|
2.53
|
2.52
|
1.8
|
Качество управления РВХ при способах управления №1 и №2
расходятся незначительно.
Заключение
При выполнении курсового проекта были выбраны длина и профиль
перегона, на котором потребовалось бы сделать два включения тяговых двигателей,
выбраны координаты первого выключения и второго включения тяговых двигателей.
Определены пять времён хода по перегону, построены траектории и рассчитаны
параметры движения поезда по перегону. Была разработана функциональная схема
системы автоведения поезда метрополитена, составлена временная диаграмма и описание
работы системы на перегоне с двумя включениями тяговых двигателей. Разработана
блок-схема модели для исследования качества управления регуляторов времени хода
САВПМ на перегонах с двумя включениями тяговых двигателей. Были проведены
исследования качества управления указанного регулятора времени хода на перегоне
с двумя включениями тяговых двигателей при коэффициенте учёта основного
сопротивления K=1; K=0,8; K=1,2. При этом были рассчитаны ошибки управления,
возникшие при изменении основного сопротивления движению поезда. Была построена
зависимость закона управления
при K=1; K=0,8; K=1,2.
Несмотря на то, что РВХ на СУ является мерой экономии, существует
недостаток, связанный с обеспечением хорошего быстродействия, поскольку в этом
случае требуется постоянный обмен информацией о текущей скорости ПУ с СУ. В
некоторых случаях затраты на обеспечение быстродействия РВХ на СУ соизмеримы с
затратами на установку РВХ на все ПУ. К этому выводу приходим после составления
временной диаграммы функционирования ЦСАВПМ.
Список
использованной литературы
1.
Методические указания к курсовому проектированию по дисциплине "Системы
автоведения поездов" Е.В. Ерофеев. М.: МИИТ, 1994.
.
Курс лекций по дисциплине "Системы автоведения поездов" Е.В. Ерофеев.