Эксплуатация электрооборудования П/СТ 35/6 кВ 'куста-903'

  • Вид работы:
    Курсовая работа (т)
  • Предмет:
    Другое
  • Язык:
    Русский
    ,
    Формат файла:
    MS Word
    148,34 Кб
  • Опубликовано:
    2014-02-24
Вы можете узнать стоимость помощи в написании студенческой работы.
Помощь в написании работы, которую точно примут!

Эксплуатация электрооборудования П/СТ 35/6 кВ 'куста-903'















Курсовой проект

по дисциплине

Эксплуатация электрооборудования промышленных предприятий и гражданских зданий

Тема

Эксплуатация электрооборудования П/СТ 35/6 кВ «куста-903»

Разработал

Петренко Н.В

ВВЕДЕНИЕ

Электроэнергетика является ведущей отраслью хозяйства страны, существенным образом определяющей ее научный, промышленный и экономический потенциалы, ее положение на международном уровне. Современное производство, благосостояние человека немыслимы без потребления электрической энергии. Огромные потоки электрической энергии постоянно доставляются от мест ее производства к местам ее потребления. Чтобы энергетические системы и сети надежно и экономично работали, надо понимать сложные процессы, происходящие в линиях передачи сверхвысоких, высоких и низких напряжений. Необходимо уметь правильно проектировать эти сети: выбирать наиболее экономичные и надежные схемы и конфигурации, рациональные напряжения, оптимальные сечения токоведущих цепей, число и мощность трансформаторов, мощность и места расположения компенсирующих устройств; разрабатывать и правильно эксплуатировать системы релейной защиты и автоматики и т.д.

В конце 20 века были произведены подсчеты специалистами в области энергетики на ближайшие несколько лет по расходу электроэнергии, которые показывают, что в скором будущем может наступить энергетический кризис, а значит недостаточность электроэнергии для потребителей из-за нехватки мощностей электростанций.

В связи с этим в 1997 году ЭНИН во взаимодействии с РАО “ЕЭС России” начал разработку основных положений стратегии развития электроэнергетики до 2015 г., главные направления которой определены следующим образом:

обновление и развитие объектов электроэнергетики на базе новых эффективных технологий; повышение эффективности использования энергии;

сохранение целостности и развитие Единой энергосистемы России; ее интеграция с другими энергообъединениями на территории бывшего СССР и на Евроазиатском континенте;

повышение эффективности управления в электроэнергетике; осуществление поэтапного перехода в отрасли от существующего регулируемого рынка к конкурентному.

В России в 60-80-х годах вводилось в среднем более 6 млн кВт в год. После распада СССР вводы новых генерирующих мощностей существенно сократились, и установленная мощность электростанций за все эти годы, начиная с 1991 г., увеличилась менее чем на 2 млн кВт. Вместе с тем, оборудование электростанций вырабатывает свой проектный ресурс.

В целом к 2015 г. отработает свой проектный ресурс почти 70% существующих генерирующих мощностей.

Таблица 1 - Динамика выработки проектного ресурса электростанций

Тип электростанции

Мощность агрегатов, достигших предельного срока службы, млн кВт


2005

2010

2015

ТЭС

55

80

100

ГЭС

21

25

30

АЭС

3,8

8,4

15,4


В ходе разработки стратегии был выполнен широкий комплекс исследований по оптимизации развития генерирующих мощностей при различных исходных условиях: уровнях энергопотребления, ценах на

топливо, технико-экономических характеристиках электростанций.

Вместе с тем тысячи километров линий электропередачи напряжением 110-220 кВ и миллионы подстанций отработали срок службы и подлежат восстановлению.

Техническое состояние наиболее массовых электрических сетей сельскохозяйственного назначения (35 кВ и ниже) таково, что по меньшей мере треть сетей требует замены. Развитие электрических сетей в предстоящие 20 лет потребует значительного объема реконструкции и технического перевооружения сетевых объектов и нового сетевого строительства.

Важной задачей является повышение степени компенсации реактивной мощности до 100% в сетях 750 кВ и до 80-100% в сетях 500 кВ. Для распределительных электрических сетей предстоит решить задачи автоматизации и телемеханизации электросетевых объектов, разукрупнения центров питания, широкого внедрения изолированных проводов, внедрения автономных энергоисточников.

В связи с этими разработками будет произведен комплекс мероприятий по замене, монтажу электрооборудования, а значит увеличатся объемы по эксплуатации, что повлечет за собой увеличение рабочих мест, а это немаловажно. Даже с учетом прогресса в области электронных технологий электроснабжения объектов, нельзя с уверенностью сказать, что работоспособность оборудования обойдется без вмешательства людских ресурсов.

1. ИСХОДНЫЕ ДАННЫЕ

В исходных данных рассматривается эксплуатация электрооборудования, непосредственно связанного с приемом, преобразованием и распределением электроэнергии для дальнейшей передачи её по проводам к месту добычи нефти на кустовых площадках.

Исходные данные для эксплуатация подстанции 35/6 кВ зависят прежде всего, от типа, характера предприятия - владельца, т.е качество, современность, экономичность оборудования.

Большую роль в исходных данных проектируемого оборудования занимает эффективность работы с учетом многих факторов. Этими факторами являются объекты - потребители с их имеющимися технологическими процессами, категория электроприемников в отношении надежности электроснабжения, природно-климатические условия и географическое положение подстанции, потеря напряжения и компенсация реактивной энергии при передаче электроэнергии до дальних объектов - потребителей, коэффициент загрузки электрооборудования в часы максимума, а особенно в зимнее время, удобность в обслуживании персоналом с учетом расположения электрооборудования.

.1 Природно-климатические условия и географическое положение П/СТ 35/6 кВ «куста-903»

Подстанция 35/6 кВ « к - 903 » и её потребители непосредственно находится в районе КСП - 24 Самотлорского месторождения, что составляет 75 километров по автодороге от города Нижневартовск.

Самотлорское месторождение располагается на территории Нижневартовского района Ханты-Мансийского автономного округа Тюменской области. Географическое положение территории Самотлорского месторождения определяет ее климатические особенности. Над районом месторождения осуществляется меридианальная форма циркуляции воздушных масс, вследствие которой периодически происходит смена диаметрально противоположных воздушных потоков и отмечаются существенные изменения в распределении давления, что приводит к повышению температуры воздуха летом и понижению ее зимой. Зимой над территорией распространяется область повышенного давления в виде отрога Сибирского антициклона. Летом рассматриваемая территория находится под воздействием области пониженного давления, связанной с обширной областью континентальной азиатской термической депрессии, которая является результатом циклонической деятельности арктического и полярного фронтов воздушных потоков. Над рассматриваемой территорией, как летом, так и зимой преобладают континентальные воздушные массы. Рассматриваемый район отличается суровой продолжительной зимой с сильными ветрами, метелями, устойчивым снежным покровом и довольно жарким и коротким летом. Переходные сезоны коротки, с резкими колебаниями температуры. Многолетняя средняя годовая температура в районе равна -3,4 град.С. Самым холодным месяцем в году является январь с температурой - 22,4 град.С. Декабрь и февраль теплее января на 1,5 - 1,9 град.С. В течение всех зимних месяцев (XII - II) средняя суточная температура бывает ниже - 20 град.С. В отдельные дни почти ежегодно температура воздуха понижается до - 50 град. С. В наиболее холодные зимы температура воздуха может понизиться до - 57 град. С. От марта к маю наблюдается интенсивное повышение температуры воздуха и в среднем, с 6 мая устанавливаются положительные температуры. Продолжительность периода с температурой выше + 10 град.С. Период с температурой выше + 15 град. С длится всего 47 дней. В отдельные дни почти ежегодно температура воздуха повышается до + 30 (34) град. С. Наиболее сильные холода наступают после перехода средней суточной температуры воздуха через - 5 град. С (27 сентября) и образования устойчивого снежного покрова. Длится зима 6 - 7 месяцев, с октября по март - апрель. Продолжительность безморозного периода в среднем 98 дней. Район Самотлорского месторождения характеризуется влажным климатом. За год здесь выпадает 510 мм осадков, основное количество которых (399 мм) выпадает в теплое время года (с апреля по октябрь). Распределение осадков в течение года неравномерно. Основная масса осадков выпадает в теплую часть года (70 - 80 % от годового количества).

Наибольшее количество в теплый период наблюдается в августе - 78мм, наименьшее количество осадков бывает в феврале - 17мм. Изменчивость месячных осадков из года в год довольно велика, в отдельные годы месячные количества выпадающих осадков могут значительно отклоняться от среднего многолетнего значения. Относительная влажность воздуха, характеризующая степень насыщения воздуха водяным паром в районе месторождения изменяется от 66 до 82 %. Наибольшая относительная влажность наблюдается в зимние месяцы (октябрь - декабрь), наименьшая - в июне. Территория месторождения в соответствии с картой районирования территории СНГ по скоростным напорам ветра находится во втором районе, где скорость ветра, возможная один раз в 10 лет составляет 26 м/с, один раз в 5 лет - 24 м/с (на уровне флюгера - 12 м от земной поверхности). Большей части рассматриваемой территории в течение всего года преобладают ветры юго-западного и западного направлений. Средняя годовая скорость ветра равняется 3,6 м/с. В осенние и весенние месяцы скорость ветра наибольшая и достигает 4,0 м/с, наименьшая скорость ветра отмечается в феврале - 3,1 м/с. В этом же месяце больше отмечается и случаев штилевой погоды.

Район по гололеду - 1, где толщина стенки гололеда 5 мм. для высоты 10 метров от земли с повторяемостью 1 раз в 5 - 10 лет.

Район территории Самотлорского месторождения расположен в подзоне средней тайги. На этой территории, как и во всей лесной зоне Среднего Приобья, развиты моховые (сфагновые) болота. Уровни грунтовых вод на таких участках залегают на глубинах более 3,0 м. Эти леса в пределах рассматриваемой территории расположены на плоских придолинных участках и занимают склоны гривистых и увалистых поверхностей. Древесно-кустарничковая растительность пойменных территорий развита в основном на гривистых и притеррасных участках в сочетании с лугами. Представлена она ивово-осино-березовыми травянистыми лесами.

У грунтов проявляется пучинистые свойства, набухаемость, просадочность при дополнительных нагрузках и насыщении ; формируются особые типы структурных связей; грунтовые массивы характеризуются здесь контрастными геохимическими обстановками, переменным температурно-влажностным режимом и неполным водонасыщением. Грунт, состоящий из торфа, песка и местами глиной, имеет удельное сопротивление от 50 до почти 800 (Ом*м).

.2 Назначение и характеристика объекта с исходными данными на разработку проекта

Электроустановка, состоящая из трансформаторов или других преобразователей энергии, распределительных устройств напряжением до 1000 В и выше, служащая для преобразования и распределения электроэнергии, называется подстанцией.

Трансформаторные подстанции являются основным звеном системы электроснабжения. В зависимости от положения в энергосистемы, назначения, значения первичного и вторичного напряжения их можно подразделить на районные подстанции, подстанции промышленных предприятий, тяговые подстанции, подстанции городской электрической сети и др.

Каждая подстанция имеет распределительные устройства ( РУ ) содержащие коммутационные аппараты, устройства защиты и автоматики, измерительные приборы, сборные и соединительные шины, вспомогательные шины.

По конструктивному выполнению РУ делят на открытые и закрытые, они могут быть комплектными или сборными.

Разрабатывая проект выбираем двухблочную подстанцию 35/6 кВ типа ST - 7 ( производство Польша ) с ОРУ - 35 кВ № 1 и 2, отдельными блоками РУ - 6 кВ № 1 и 2, что имеет большие преимущества перед одноблочной. Преимущества очевидны, такие как, удобность в эксплуатации электрооборудования, безопасность при работах, так как блоки РУ - 6 кВ № 1 и 2 разделены, что имеет большое значение для объекта в целом.

Составим ведомость оборудования проектируемой подстанция с учетом установленной мощности электрооборудования на кустах нефтедобычи.

Выбираем высоковольтные вакуумные ( на 6 кВ ) и масляные на ( на 35 кВ ) выключатели:

выключатель вакуумный для отходящих ВЛ - ВБЭК 30-10-20/1000-УХЛ2;

выключатель вакуумный для вводов и секционных - ВБЭК 30-10-20/1600-УХЛ2;

выключатель масляный ввода 35 кВ - С-35М-630-10БУ1.

Данные выключателей сводим в таблицу 1.

Таблица 1 - Ведомость высоковольтных выключателей

№ п/п

Uном, кВ

Iном, А

Iмах, ударный КА

Ток термической устойчивости, кА

Время протекания тока термической устойчивости, С

Время отключения, сек

1

10

1000

54

20

0,7

20

0,06с

2

10

1600

54

20

0,7

20

0,06c

3

35

630

22

6

1

10

0,15c


Выбираем разъединители ( ЛР-35 кВ и СШР-35 кВ ) типа:

РНДЗ-2-35/1000У1 сносим в таблицу 1.1.

Таблица 1.1 Сравнение расчетных и каталожных данных разъединителя.

Расчетные

Допустимые

Uн=35кВ

Uн=35кВ

Iном = 49,6A

Iном = 1000A

Iуд. = 16,2кА

Iуд.м = 30кА

 

Выбор числа, мощности силовых трансформаторов на подстанции выбираем согласно категории электроснабжения потребителей 2 и технико-экономических показателей .

Учитывая наличие потребителей 2-й категории принимаем к установке два трансформатора. Таблица 1.2

Выбираем полную расчетную мощность для 2 трансформаторов с учетом коэффициента загрузки 80% (0,8)от номинального значения.

Выбираем два возможных варианта выбора мощности трансформатора:

Коэффициент загрузки в нормальном режиме ТМ - 2500/35: 0,61

Коэффициент загрузки в послеаварийном режиме ТМ - 2500/35: 1,23

Таблица 1.2 Сравнительные данные трансформаторов.

Тип тр-ра

Потери, Вт

Io, %

Iк, %

Стоимость, руб.


Рх

Рк




ТМ - 2500/35

5,1

25

1,1

6,5

313934,83

ТМ - 4000/35

6,7

33,5

1,0

7,5

556428,17


Итого выбрали:

разъединитель типа: РНДЗ-2-35/1000У1 (4 шт.)

выключатель ввода 35 кВ - С-35М-630-10БУ1 (2 шт.) трансформатор 35/6 кВ - ТМ - 2500/35 (2 шт.) выключатель ввода 6 кВ - ВБЭК 30-10-20/1600-УХЛ2 (2 шт.) выключатель отходящих ВЛ 6 кВ - ВБЭК 30-10-20/1000-УХЛ2 (5 шт.) выключатель секционный 6 кВ - ВБЭК 30-10-20/1600-УХЛ2 (2 шт.) выключатель резервный 6 кВ - ВБЭК 30-10-20/1000-УХЛ2 (5 шт.)

2. РАСЧЁТНО-ТЕХНИЧЕСКАЯ ЧАСТЬ

В разделе расчетно-технической части будут рассмотрены вопросы по выбору рационального напряжения для питающей сети и режима нейтрали, так как от этих факторов зависит нормальный режим работы электрооборудования КТПН 6/0,4 кВ и остального наземного электрооборудования потребителей.

Выбор схемы электроснабжения и конструкции подстанции с учетом категории по надежности электроснабжения потребителей. Этот вопрос находится на первом месте при разработке проекта питающего электрооборудования, так как затрагивает изначально суть работы проектируемого электрооборудования в целом.

Выбор релейной защиты подстанции означает предупреждение и реагирование на все ненормальные и аварийные ситуации, которые случаются или могут случиться в процессе работы разного электрооборудования подстанции как одного целого.

Заземление электрооборудования подстанции предназначено для защиты людей от поражения электрическим током, находящихся на подстанции и вблизи неё, а также для правильной защиты электрооборудования от повреждений при ненормальном режиме работы другого оборудования находящегося на подстанции.

2.1 Выбор рационального напряжения для питающей сети и режима нейтрали

Номинальные напряжения питающих и распределительных линий электроснабжения являются основным фактором, определяющим технико-экономические показатели (ТЭП) системы. Вопрос выбора напряжения для системы электроснабжения при реконструкции возникает в случаях изменения технических условий на подключение со стороны энергетической системы или значительного возрастания величины нагрузки подстанции, когда существующие напряжения не позволяют обеспечить требуемые показатели качества электрической энергии. Детальный анализ данного вопроса имеет смысл лишь при наличии нескольких источников питания. Целесообразность применения более высоких напряжений проверяется путем технико-экономического сравнения с вариантом усиления элементов системы электроснабжения на действующих напряжениях. При равенстве ТЭП или расхождения в пределах 10 - 15 % предпочтение отдается варианту с более высоким напряжением. Следует отметить, что простое технико-экономическое сопоставление вариантов усиления сети или перевода ее на повышенное напряжение может не выяснить целесообразность последнего. Дело меняется, если учитывается перспектива развития добычи нефти. Выбор напряжения для системы внешнего электроснабжения должен быть тесно увязан с выбором напряжения внешнего электроснабжения.

Ориентировочно величина рационального напряжения может быть выбрана по методике, основанной на теории планирования эксперимента, который позволяет учесть влияние таких факторов как величина нагрузки, его геометрические размеры и наличие ЭП напряжением 6 кВ.

Во всех случаях, особенно при значительном возрастании нагрузок потребителей следует проверить целесообразность перевода распределительных сетей 6 кВ на напряжения 10÷20 кВ, с сохранением высоковольтных электроприемников 6 кВ или одновременной заменой их на ЭП с более высоким напряжением. При переходе с 6 кВ на 10 кВ оборудование распределительных устройств и коммутационную аппаратуру, силовые трансформаторы, трансформаторы напряжения и тока, разрядники и предохранители меняются на новые с номинальным напряжением 10 кВ.

Распределительные сети 6-35 кВ по мерам электробезопасности и режиму нейтрали относятся к сетям выше 1000В с изолированной нетралью с малыми токами замыкания на землю. Это обусловлено длинной ВЛ и количеством потребителей, которые могут оставаться работоспособными даже при замыкании на землю или на корпус электрооборудования нормально не находящегося под напряжением.

.2 Выбор схемы электроснабжения и конструкции подстанции с учетом категории по надежности электроснабжения потребителей

Выбор рациональной схемы электроснабжения наряду с выбором напряжения является одним из главных вопросов, решаемых при разработке проекта реконструкции системы электроснабжения. Оба данных вопроса рассматриваются в неразрывной связи друг с другом.

Проектируемая схема должна включать в себя элементы существующей при соответствии их пропускной способности новым расчетным условиям. Равным образом это касается ТП, РУ высокого напряжения, кабельных линий, токопроводов и других элементов.

Схема распределения электроэнергии строится с соблюдением принципов приближения высокого напряжения к потребителям, отказа от холодного резерва, раздельной работы линии и трансформаторов, глубокого секционирования.

Схема должна быть простой, удобной в эксплуатации, ремонтопригодной, предусматривать применение комплектного электрооборудования и индустриальных способов монтажа. При выборе схемы обязательно учитывается перспектива развития объектов на 8-10 лет. Существующая схема внешнего электроснабжения анализируется с точки зрения обеспечения требуемой степени бесперебойности питания. При необходимости добавляются новые линии и трансформаторы.

В первую очередь рекомендуется широкое применение простых радиальных и магистральных схем. В последнем случае применение схемы двойной сквозной магистрали и наличие резервных перемычек на низшем напряжении позволяет обеспечить надежное питание потребителей любой категории. Окончательный выбор схемы производится путем сопоставления ТЭП двух-трех вариантов. Критерием выбора является минимум приведенных затрат.

Силовые трансформаторы, разъединители, токопроводы, шинопроводы подстанции, как правило, устанавливаются открыто (ОРУ), коммутационные аппараты низшего напряжения, релейные цепи и т.д - закрыто в комплектном устройстве (ЗРУ). Конструктивное выполнение подстанций 35/6 кВ определяется схемой, категорий по надежности электроснабжения потребителей и условиями окружающей среды. Подстанция ST-7 имеет 2 ОРУ-35 кВ и 2 ЗРУ-6 кВ, каждое ЗРУ состоит из 2 блоков скомплектованных на заводе-изготовителе, что облегчает монтажные работы и при этом экономически выгодно. Здесь же сокращаются сроки сдачи монтируемого объекта и ввода его в действие при скором развитии объектов нефтедобычи или планируемого месторождения.

Выбранная двухтрансформаторная подстанция 35/6 кВ обеспечивает надежное бесперебойное питание электроэнергией потребителей кустов нефтедобычи (скважин) согласно второй категории надежности энергоснабжения.

Имеет место технологический процесс добычи нефти, а порой и сложный у скважин с частотным регулированием большой мощности (от 180 кВт. и выше) и ГРП (гидроразрыв пласта),что и требует бесперебойного питания.

Нужно отметить, что плановые и внеплановые ремонты электрооборудования можно проводить без отключения потребителей, что естественно приводит к меньшим экономическим потерям.

При монтаже КТПН 6-20 кВ используют комплектные распределительные устройства (КРУ) двух исполнений: выкатные и стационарные. Выкатные КРУ применяют для наиболее ответственных электроустановок с большим числом камер (15 - 20), где требуется быстрое устранение неисправности. Выключатели нагрузки устанавливаются на трансформаторах 1000 кВ⋅А и выше. При сооружении и реконструкции цеховых ТП предпочтение следует отдавать комплектным трансформаторным подстанциям (КТП) полностью изготовленных на заводах. На таких подстанциях РУ низшего напряжения состоит из набора стандартных металлических шкафов с автоматами или предохранителями. Во всех случаях, при выборе схемно-конструктивного исполнения электрических сетей и подстанций следует руководствоваться нормативными и директивными документами.

.3 Выбор релейной защиты подстанции

Системы электроснабжения являются сложными производственными объектами кибернетического типа , все элементы которых участвуют в едином производственном процессе, основными специфическими особенностями которого являются быстротечность явлений и неизбежность повреждений аварийного характера. Поэтому надежное и экономичное функционирование систем электроснабжения возможно только при автоматическом управлении ими. Для этой цели используется комплекс автоматических устройств, среди которых первостепенное значение имеют устройства релейной защиты и автоматики.

В процессе эксплуатации возможны повреждения в трансформаторах и на их соединениях с коммутационными аппаратами. Могут быть также опасные ненормальные режимы работы, не связанные с повреждением трансформатора или его соединений. Возможность повреждений и ненормальных режимов обуславливает необходимость установки на трансформаторах защитных устройств.

Для силового трансформатора 35/6 кВ предусмотрены следующие виды защит: дифференциальная защита; газовая защита; максимальная токовая защита на стороне 35 кВ; токовая защита от перегрузок. Дифференциальный принцип позволяет выполнить быстродействующую защиту трансформатора, реагирующую на повреждения в обмотках, на выводах и в соединениях с выключателями, при этом она может иметь недостаточную чувствительность только при витковых замыканиях и «пожаре стали». Вторичные обмотки трансформаторов тока и реле соединяются в схему продольной дифференциальной защиты с циркулирующими токами. При этом в реле при отсутствии повреждения в защищаемой зоне проходит ток небаланса. Выбираем Д.З.Т для Т-1 Iс.з.=89,7А, W35=13в., W6=24в., Кт.т 100/5 на реле РНТ-565; Т-2 Iс.з.=89,7А, W35=13в., W6=24в., Кт.т 100/5 на реле РНТ-565.

Газовая защита основана на использовании явления газообразования в баке поврежденного трансформатора, либо от понижения уровня масла ниже уровня в камерах газового реле. Понижение уровня масла в верхней камере - на сигнал, в нижней - на отключение трансформатора. Также в нижней камере газового реле имеется подпорный клапан, спаренный с нижним поплавком, который срабатывает при выбросе масла и может быть отрегулирован на 3 скорости потока масла: 65, 100, 150 см/сек.

Выбираем Двухпоплавковое реле Бухгольца нормального исполнения типа BF 60/Q,R.

В качестве защит от внешних коротких замыканий применяются токовые защиты с выдержкой времени с включением реле на полные токи фаз и на их симметричные составляющие, таковой является максимальная токовая защита. Выбираем МТЗ на вводе 35 кВ Iс.з.=170А, Кт.т 100/5 с

выдержкой времени на отключение t=1,1 с., на вводе 6 кВ Кт.т 600/5 с

выдержкой времени на отключение t=0,8 с., на реле РТВ-1. МТЗ на СВВ-6 кВ Iс.з.=900А при t=0,5 с.

Токовая защита от перегрузок обычно является симметричной, поэтому выполняется одним реле тока, включенным в цепь одного из трансформаторов тока защиты от внешних замыканий. Выбираем Iс.з.=50А t=9 с. на сигнал, реле РТ=40/6.

Кроме основных защит может быть задействован температурный контроль по перегреву масла в верхних слоях трансформатора, который установлен на крышке трансформатора и сигнализирующий через промежуточное реле на блинкер указательного реле РУ-21.

.4 Выбор системы автоматики подстанции

Функции устройств АПВ, АВР определяются полностью или частично условиями работы энергосистемы в целом. Эти устройства должны проектироваться и эксплуатироваться соответствующими энергетическими предприятиями, энергообъединениями или по согласованию с ними.

В электрических сетях предприятий-потребителей электроэнергии следует применять такие устройства автоматики, которые по возможности не допускают нарушений наиболее ответственных технологических процессов при кратковременных перерывах электроснабжения, обусловленных действием защит и автоматики в сети внешнего и внутреннего электроснабжения, действия этих устройств должны быть согласованы между собой, а также с действием устройств и систем.

Устройства АПВ должны предусматриваться для быстрого восстановления питания потребителей или межсистемных и внутрисистемных связей путем автоматического включения выключателей, отключенных устройствами релейной защиты.

Должно предусматриваться автоматическое повторное включение:

воздушных и смешанных (кабельно-воздушных) линий всех типов напряжением выше 1 кВ. Отказ от применения АПВ должен быть в каждом отдельном случае обоснован. На кабельных линиях 35 кВ и ниже АПВ рекомендуется применять в случаях, когда оно может быть эффективным в связи со значительной вероятностью повреждений с образованием открытой дуги (например, наличие нескольких промежуточных сборок, питание по одной линии нескольких подстанций),

а также с целью исправления неселективного действия защиты:

шин электростанций и подстанций;

трансформаторов ;

ответственных электродвигателей, отключаемых для обеспечения самозапуска других электродвигателей.

Для осуществления АПВ должны также предусматриваться устройства АПВ на обходных, шиносоединительных и секционных выключателях.

Допускается в целях экономии аппаратуры выполнение устройства группового АПВ на линиях, в первую очередь кабельных, и других присоединениях 6-10 кВ. При этом следует учитывать недостатки устройства группового АПВ, например возможность отказа в случае, если после отключения выключателя одного из присоединений отключение выключателя другого присоединения происходит до возврата устройства АПВ в исходное положение.

Выбираем АПВ для отходящих фидеров 6 кВ, которое базируется на реле времени РВ-25 с промежуточным реле РП, контролирующего положение выключателя 6 кВ (включено, отключено), многократного действия, с выдержкой времени на повторное включение 6 секунд.

Устройства АВР должны предусматриваться для восстановления питания потребителей путем автоматического присоединения резервного источника питания при отключении рабочего источника питания, приводящем к обесточиванию электроустановок потребителя. Устройства АВР должны предусматриваться также для автоматического включения резервного оборудования при отключении рабочего оборудования, приводящем к нарушению нормального технологического процесса.

Устройства АВР также рекомендуется предусматривать, если при их применении возможно упрощение релейной защиты, снижение токов КЗ и удешевление аппаратуры за счет замены кольцевых сетей радиально-секционированными и т. п. Устройства АВР могут устанавливаться на трансформаторах, линиях, секционных и шиносоединительных выключателях, электродвигателях и т. п.

Устройство АВР, как правило, должно обеспечивать возможность его действия при исчезновении напряжения на шинах питаемого элемента, вызванном любой причиной, в том числе КЗ на этих шинах. При отключении выключателя рабочего источника питания должно включать, как правило, без дополнительной выдержки времени, выключатель резервного источника питания. Также должна быть обеспечена однократность действия устройства.

Выбираем устройство АВР однократного действия без обратного восстановления схемы электроснабжения, собранное в ячейке 10 с ключём АВР, реле времени РВ-25 и указательным реле РУ, реле напряжения контролирует напряжение на вводе 35 кВ (МВ-35 кВ) и ввода 6 кВ ( секция шин 6 кВ - НТМИ ). АВР отстроен по времени на 16 секунд, т.к это связано с питанием отходящих ВЛ-35, 110 кВ соответственно на подстанциях 110/35/6 и 220/110/35 кВ.

.5 Заземление подстанции

Устройство заземления подстанции определяет минимальное сечение стальных шин заземляющих проводников для присоединений 8x3 мм, а для магистралей - 30x4 или 40x3 мм. Магистрали всех этажей привариваются к нескольким стоякам здания, которые выводятся сквозь фундамент и привариваются к наружному, располагаемому в грунте на глубине 0,5-0,7 м кольцевому контуру заземления вокруг периметра здания. Контур предусматривается у каждого здания электрической установки на расстоянии 1-2 м от стен, а также вокруг площадок открытых РУ. Ограда ОРУ должна отстоять на 3 м от контура заземления с внешней стороны. Для контура применяется полосовая сталь сечением 40x4 мм, с прокладкой «на ребро». При агрессивных грунтовых водах берется оцинкованная сталь увеличенного сечения. Вдоль контура забиваются стержневые заземлители из круглой (арматурной) стали, труб или уголков, число которых определяется расчетом. Круглая сталь берется диаметром 12-15 мм, трубы диаметром 40-60 мм, уголки 50x50 или 60x60 мм. В нормальных условиях грунта длина стержневых заземлителей 2-3 м, расстояние между ними не менее 3-4 м, соединение с полосой контура осуществляется сваркой.

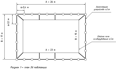
До начала расчета ЗУ подстанции определяются конфигурация и параметры сетки из горизонтальных заземлителей в соответствии с планом расположения на территории подстанции оборудования, конструкций РУ, зданий и сооружений и с учетом требований к конструктивному исполнению сетки из горизонтальных заземлителей. В результате вычерчивается план сложного горизонтального заземлителя с указанием необходимых размеров.(рис.1)

С учетом сезонного коэффициента, удельное сопротивление грунта составляет 190 Ом*м, размерами подстанции 23 х 15 м. Для равномерного распределения вертикальных электродов принимаем 28 штук из стального уголка 75х75, с расстоянием между ними в длину 3,4 м, в ширину 3,1м, для контура выбираем полосовую сталь сечением 60x4 мм, с прокладкой «на ребро». Для определения фактического сопротивления ЗУ берем уточненные значения сопротивлений вертикальных и горизонтальных электродов, которые равны: Rг = 21,73 Ом, Rв = 4,66 Ом. Из данных получаем фактическое сопротивление ЗУ равно 3,83 Ом. Чтобы ЗУ было эффективно, оно должно соответствовать ПУЭ максимального сопротивления ЗУ для электроустановок выше 1000В с изолированной нейтралью, которое равно не более 10 Ом.


3. ТЕХНОЛОГИЧЕСКАЯ ЧАСТЬ

За последние годы в организации и управлении производственной эксплуатацией и ремонтом оборудования на предприятиях, особенно промышленных, произошли коренные изменения. Одновременно с сокращением большинства промышленных министерств ликвидированы общеотраслевые и общесоюзные ремонтные организации (ремонтные объединения, тресты и т.д.), осуществлявшие централизацию ремонта основного энергетического оборудования. Упразднено централизованное обеспечение предприятий оборудованием, ремонтными материалами, запчастями и ремонтной оснасткой. Перестали существовать отраслевые управления главного механика и главного энергетика, осуществлявшие координацию ремонта оборудования в рамках отраслей. Большая часть энергетического оборудования (до 60 %) исчерпала свой амортизационный срок, требует замены или восстановительного капитального ремонта.

При всех недостатках и трудностях сегодняшнего времени можно быть уверенным в том, что многие организационные и технологические решения, давно научно обоснованные и поддержанные многими руководителями ремонтно-механических и энергетических служб на предприятиях различных отраслей, мучительно пробивавшие себе дорогу в течении десятилетий, в новых условиях будут быстро реализованы в силу их практической и экономической целесообразности.

В новых условиях уже больше нельзя оправдывать проведение сверхнормативных (три-четыре и более) капитальных ремонтов. Повсеместная практика проведения капитальных ремонтов путем полной разборки оборудования также обречена на быстрое саморазрушение. На смену ей должно прийти восстановление ресурса путем массовой замены неисправных узлов и агрегатов. Нынешние свободные промышленные мощности заводов-изготовителей энергооборудования в дальнейшем неизбежно будут загружены производством товарных запасных частей (сменных ремонтных элементов). Мировой опыт свидетельствует, что производство сменных ремонтных элементов- дело выгодное, цена на них всегда на 25-30 % выше, чем в собранном оборудовании. Заводы-изготовители будут заинтересованы в расширенном производстве и реализации своей продукции, и несомненно, пойдут на активное участие в ремонте своего оборудования, в результате чего агрегатно-узловой метод ремонта, который давно научно обоснован, но практически реализован лишь для 7-10 % оборудования (за рубежом подобный метод ремонта с обязательным участием предприятий-изготовителей называется фирменным), очень скоро станет обыденной практикой и в нашей стране на больший процент оборудования, чем раньше.

В сегодняшних условиях основная тенденция в планировании и организации ремонта характеризуется переносом всей ответственности за техническое состояние оборудования непосредственно на предприятия при одновременном расширении их прав в вопросах:

- применение различных систем технического обслуживания и ремонта;

- планирование технического обслуживания и ремонта;

финансирования ремонта и его материального обеспечения;

регулирование численности оперативного и ремонтного персонала.

.1 Определение основы организации технического обслуживания и ремонта электрооборудования, продолжительность межосмотровых и межремонтных периодов, периодичность технического обслуживания оборудования

Техническое обслуживание является основным и решающим профилактическим мероприятием, необходимым для обеспечения надежной работы оборудования между плановыми ремонтами и сокращения общего объема ремонтных работ. Оно предусматривает надзор за работой оборудования, уход за оборудованием, содержание оборудования в исправном состоянии, проведение плановых технических осмотров, технических испытаний, промывок, чисток, продувок и т.д. Техническое обслуживание проводится в процессе работы оборудования с использованием перерывов, нерабочих дней и смен. Допускается кратковременная остановка оборудования в соответствии с местными инструкциями.

Регламентированное техническое обслуживание реализуется в форме плановых технических обслуживаний, а также плановых технических осмотров, проверок, испытаний.

Регламентированное техническое обслуживание проводится по графикам, разработанным в энергослужбе предприятия на основе ПТЭ и ПТБ и инструкций заводов-изготовителей энергетического оборудования.

Основное значение ремонта состоит в восстановлении работоспособности и ресурса энергетического оборудования и сетей, устранение отказов и неисправностей, возникающих в процессе работы или выявленных при техническом обслуживании.

Ремонт может быть плановым и неплановым. В плановом порядке выполняются текущий и капитальный ремонты, в неплановом - аварийный и ремонт, осуществляемый без предварительного назначения срока выполнения.

В зависимости от производственной значимости оборудования, влияния его отказов на безопасность персонала и стабильность технологических процессов стратегия плановых ремонтно-профилактических воздействий реализуется в виде регламентированного ремонта, ремонта по техническому состоянию, либо в виде их сочетания.

В основе регламентированного ремонта лежат следующие основные стратегии замен (ремонта) составных частей (элементов) оборудования:

стратегия групповых (стандартных) замен;

стратегия индивидуальных замен.

Ремонт оборудования по техническому состоянию базируется на стратегии замен (ремонта) элементов по состоянию.

Периодичность ремонта - интервал наработки электрооборудования в часах между окончанием данного вида ремонта и начала последующего такого же ремонта или другого большей сложности.

В зависимости от условий работы с учетом технического состояния оборудования допускаются отклонения от норматива периодичности ремонта:

+ 15 % - для текущего ремонта;

+ 10 % - для капитального ремонта.

Продолжительность ремонта - регламентированный интервал времени (в часах) от момента вывода энергетического оборудования из эксплуатации для проведения планового ремонта до момента его ввода в эксплуатацию в нормальном режиме.

Трудоемкость ремонта - трудозатраты на проведение одного ремонта данного вида, измеряемая в человеко-часах (чел.ч).

.2 Объемы работ по техническому обслуживанию и видам ремонта электрооборудования подстанции

Трудоемкость ремонта определена на полный перечень типовых ремонтных работ аппаратов с параметрами - номинальными значениями, конструктивным исполнением, массой и т.д. На техническое обслуживание электрооборудования следует предусматривать 10 % трудоемкости их текущего ремонта. Составим таблицу нормативов периодичности, продолжительности и трудоемкости ремонта электрооборудования подстанции (таблица 3).

Таблица 3 - нормативы периодичности, продолжительности и трудоемкости ремонта электрооборудования подстанции

Наименование, тип, марка, техническая характеристика

Периодичность ремонта (числитель) и простой в ремонте (знаменатель), ч

Трудоемкость одного ремонта, чел/ч


Текущий ремонт

Капитальный ремонт

Текущий ремонт

Капитал.ремонт

Разъединители наружной установки U=35 кВ

17280 2

51840 8

4

16

Разъединители внутренней установки U=10 кВ

17280 1

51840 4

2

8

Открытые шинопроводы и ошиновки на 10м при токе 600А

8640 2

129600 4

2

8

Закрытые шинопроводы распределительные на секцию по 3м при токе 650А

8640 2

129600 5

3

9

Выключатели масляные наружной установки U=35 кВ на ток 630А

8640 4

25920 8

9

28

Выключатели вакуумные внутренней установки U=10 кВ на ток 1600А

8640 3

25920 6

7

21

Трансформаторы масляные двухобмоточные мощностью 2500 кВА (силовой)

25920 10

103680 268

89

447

Трансформаторы масляные двухобмоточные мощностью 63 кВА (ТСН)

25920 4

103680 96

21

103

Трансформаторы тока проходные U=10

25920 4

103680 11

6

20

Трансформаторы напряжения U=10

25920 2

103680 6

3

11

Разрядники вентильные U=35 кВ

8640 1

51840 3

1

Разрядники вентильные U=10 кВ

8640 1

51840 2

1

4

Пускатели магнитные второй величины

4320 2

43200 8

2

8

Контакторы на номинальный ток 400А

4320 5

60480 10

5

22

Приводы ручные рычажные для разъединителей

8640 1

51840 3

1

6

Приводы пружинно-грузовые для выключателей

8640 2

51840 10

4

19

Приводы автоматические, ручные для выключателей

8640 2

51840 5

2

11

Осветительные сети из кабеля, провода 3х1,5-4 мм2 На 100м

8640 4

120960 12

8

24

Вторичные цепи из кабеля, провода, контрольные от 4 до 7 (вторичные цепи)

8640 6

129600 19

15

48

Вторичные цепи из кабеля, провода, контрольные от 10 до 19 (вторичные цепи)

8640 7

129600 24

17

57

Распределительные сети заземления на 100м

-----

129600 4

-----

8

Заземляющие устройства подстанций на один контур

-----

129600 24

-----

47


.3 Планирование технических обслуживаний, осмотров и ремонтов электрооборудования подстанции. График ППР

Планирование технических обслуживаний, осмотров и ремонтов электрооборудования подстанции проводится по графику планово-предупредительных ремонтов в котором указывается: наименование электрооборудования; наименование присоединения или местонахождение; тип, марка, техническая характеристика; количество электрооборудования; дата ввода в эксплуатацию; дата последнего капитального ремонта; дата последнего текущего ремонта; 12 граф по месяцам года с указанием вида ремонта и трудоемкости. Составим график ППР для электрооборудования подстанции куста 903 (таблица 3.1).

3.4 Оперативное обслуживание электрооборудования подстанции

В оперативное обслуживание электрооборудования подстанций входит осмотр электрооборудования дежурным и административно-техническим персоналом. Вид оперативного обслуживания электроустановки, число работников из оперативного персонала в смене определяется руководителем организации или структурного подразделения и закрепляется соответствующим распоряжением. При осмотре электроустановок напряжением выше 1000 В не допускается входить в помещения, камеры, не оборудованные ограждениями или барьерами, препятствующими приближению к токоведущим частям на расстояние менее 0,6 м, также запрещается работать. Оперативное обслуживание электрооборудования подстанций производится из числа оперативного персонала с группой 4 закрепленным за ним оборудованием 1 раз в трое суток - с местным оперативным персоналом, 1 раз в месяц - с неместным оперативным персоналом, из числа административно-технического персонала с группой 5 - не реже 1 раза в месяц. При оперативном обслуживании электрооборудования подстанций производится осмотр электрооборудования, замер уровней напряжения и нагрузок, замер активной и реактивной мощности, показания счетчиков, также имеют место ежегодные всесоюзные замеры. В оперативное обслуживание электрооборудования подстанций входят и внеочередные осмотры, связанные со срабатыванием защиты, изменением температуры окружающей среды, погодных условий, стихийных бедствий и других факторов, влияющих на неправильную работу электрооборудования электроустановки.

3.5    Техническое обслуживание электрооборудования подстанции

Техническое обслуживание является основным и решающим профилактическим мероприятием, необходимым для обеспечения надежной работы электрооборудования между плановыми ремонтами и сокращения общего объема ремонтных работ. Оно предусматривает надзор за работой электрооборудования, уход за оборудованием, содержание электрооборудования в исправном состоянии, проведении плановых технических осмотров, технических испытаний, промывок, чисток, продувок и т.д. Техническое обслуживание проводится в процессе работы электрооборудования с использованием перерывов, нерабочих дней и смен. Допускается кратковременная остановка оборудования в соответствии с местными инструкциями.

Техническое обслуживание может быть регламентированным и нерегламентированным. Регламентированное техническое обслуживание реализуется в форме плановых технических обслуживаний, а также плановых технических осмотров, проверок, испытаний.

В ходе планового технического обслуживания проверяют техническое состояние электрооборудования, производят чистку, смазку, продувку, добавку или смену изоляционных материалов и смазочных масел, особое внимание уделяют уровням маслонаполненных аппаратов и вводов, т.к при изменении температуры окружающей среды масло расширяется или сужается, тем самым может повлечь за собой понижение уровня ниже нормы или выше. Выявляют дефекты эксплуатации и нарушения правил безопасности, уточняют составы и объемы работ, подлежащих выполнению при очередном текущем или капитальном ремонте. Проверяют и наносят диспетчерские наименования, что является немаловажным, т.к при отключениях или переключениях могут быть произведены ошибочные действия оперативным персоналом, которое повлечет отключение потребителей и нарушение технологического процесса. Проверяют ограждения, настил, замки, основание подстанции, коррозию металла металлосвязи сети заземления, проводят уборку на территории подстанции от посторонних предметов, снега.

После проведения технического обслуживания обнаруженные отклонения от нормального состояния электрооборудования, не требующих немедленной остановки для их устранения, должны быть занесены в «ремонтный журнал», дефекты узлов и деталей, которые при дальнейшей эксплуатации электрооборудования могут нарушить его работоспособность или безопасность условий труда, должны немедленно устраняться.

.6 Оценка технического состояния электрооборудования подстанции

В общем случае экспертная система оценки технического состояния электрооборудования определяет следующее: находится ли оборудование в нормальном состоянии, не требующем какого-либо вмешательства; требуется ли дополнительное внимание со стороны персонала или учащенный контроль параметров оборудования; необходимо ли выполнение дополнительных измерений, испытаний и других профилактических мероприятий с отключением и без отключения; требуется ли проведение ремонтов, модернизации, облегчение режимов работы или вывод электрооборудования из работы.

Оценка технического состояния подстанции выполняется на основании результатов обследования оборудования и сравнения реальных значений, определяющих параметров элементов с критериальными значениями, установленными в технической документации а также технического состояния электрооборудования, отработавшего установленный в стандарте минимальный ресурс службы с выдачей результатов испытаний, рекомендаций по дальнейшей эксплуатации электрооборудования и составление паспорта по результатам диагностики и остаточного ресурса с учетом исполнительной документации электрооборудования.

По результатам оценки технического состояния и остаточного ресурса

принимается решение о возможности и условиях ее дальнейшей эксплуатации, периодичности контроля технического состояния, технического обслуживания и ремонта. Результаты, полученные при оценке технического состояния и остаточного ресурса, вносятся в формуляры и паспорта на данное электрооборудование. Составляются дефектные ведомости на запасные части и узлы электрооборудования для частичной или полной замены частей и узлов, планируется период их замены согласно графика ППР. Если оборудование не терпит времени по замене частей и особенно находящееся в технологическом процессе, то замена должна быть произведена в кратчайшие сроки.

.6.1 Контроль технического состояния электрооборудования подстанции

Состояние силового электрооборудования характеризуется большим количеством параметров состояния (признаков) , значения которых можно получить, используя штатные средства измерения или же путем проведения дополнительных испытаний на работающем или отключенном оборудовании подстанции.

В связи с тем, что условия работы однотипного электрооборудования и сроки службы составляющих их элементов и узлов различны, и из-за ряда других факторов, техническое состояние их к моменту вывода в техническое обслуживание и ремонт также различно. Зачастую нельзя четко сказать, по каким признакам и критериям выведено то или иное электрооборудование, и какие виды работ при этом необходимо провести для того, чтобы их показатели надежности соответствовали определенным нормам. Все это влечет за собой с одной стороны увеличение затрат на проведение технического обслуживания и ремонта, а с другой не дает гарантии в устранении скрытых неисправностей.

Обладая информацией об истинном состоянии электрооборудования, имеется возможность прогнозирования заказа только необходимых запасных частей, исключая приобретение тех элементов и узлов, которые не будут востребованы. Так же имеется возможность проводить ремонты и замену только конкретных элементов и узлов электрооборудования, требующих ремонта или замены.

Проведение ремонта только той его части, требующей ремонта, позволит сократить время проведения ремонта, увеличит межремонтный период и сократит расходы, вызванные простоем оборудования, и сократит расходы на приобретение запасных частей, которые не будут востребованы. При соответствующем техническом состоянии электрооборудования возможны изменения периодичности ремонта в зависимости от технического состояния электрооборудования.

Нормы и сроки испытаний, вводимые ПЭЭП, привязывают капитальные и текущие ремонты к определенным срокам и не определяют критерии оценки технического состояния электрооборудования на текущий момент.

.6.2 Анализ аварийных режимов и отказов оборудования

Питающие электрические сети являются звеном большой электроэнергетической системы, все элементы которой участвуют в едином и непрерывном производственном процессе по выработке, преобразованию, передаче и распределению электрической энергии. Основной особенностью этого процесса является быстротечность явлений, неизбежность повреждений и отказов оборудования, что является причиной возникновения аварийных режимов.

Обычно, аварийные нарушения режима быстро ликвидируются действием защитных и автоматических устройств. Однако, в отдельных случаях, включающих один или более отказов, развитие аварии приводит к сложным аварийным ситуациям. Их ликвидация связана уже не столько с уровнем автоматического, сколько с уровнем оперативного управления. В этих условиях, перед диспетчером стоит задача выбора оптимального решения по восстановлению сети, под которым понимается: сокращение времени перерыва питания; уменьшение числа коммутаций в сети; недопущение дальнейшего развития аварии. Ошибочное решение по восстановлению в подобных сетях вызывает расширение границ аварии и усложняет ее ликвидацию. Поэтому, диспетчеру необходим детальный анализ телесигналов о работе РЗА и выключателей, являющийся составной частью задачи оценивания сложных аварийных ситуаций.

Оценивании сложные аварийные ситуации в питающих электрических сетях, к которым отнесем сети напряжением 35 кВ и выше, служащие для передачи электроэнергии от электрических станций и системообразующих сетей к распределительным. Такие сети, обычно, имеют сложнозамкнутую структуру и характеризуются как кибернетические системы, т.е. системы, состоящие из множества взаимосвязанных объектов с устройствами автоматического управления. Существующая тенденция к усложнению схем питающих сетей, к увеличению количества защитных и автоматических устройств с микропроцессорной базой, с одной стороны, повышает надежность работы этих сетей. Однако, с другой стороны, эксплуатация непременно связана со сложными режимами работы, сложными аварийными ситуациями и сложными процессами их ликвидации.

Анализируются аварийные режимы и отказы на конкретном оборудовании, а также на подобном, происходит исследование подетально частей и узлов оборудовании приведших к аварии с учетом времени прошедшего после технического обслуживания, текущего ремонта, капитального ремонта.

Составляются аварийные акты с подробным описанием развития и поврежденного оборудования, виновники развития и протекания аварии, недоотпуск продукции и т.д.

После полного анализа могут быть изданы соответствующие распоряжения и дополнительные инструкции для предупреждения подобных аварийных режимов и отказов оборудования.

.6.3 Дефекты трансформаторов и неисправности электрооборудования

Надежная работа силового трансформатора определяется техническим состоянием всех его узлов и элементов, в том числе и обмоток. При внезапных коротких замыканиях из-за больших электродинамических сил могут возникнуть недопустимо большие деформации витков обмотки, приводящие к выходу из строя трансформатора и, как следствие, к перерыву в электроснабжении. С целью выявления возникающих дефектов в активной части трансформатора на ранней стадии развития рекомендуется применять анализ растворенных газов в масле с помощью хроматографии.

Хроматографическим анализом можно определить такие виды повреждения трансформаторов: межвитковое замыкание обмотки; нагрев контактов избирателя РПН; подгар ПБВ; подгар шпильки НН; переток масла из бака контактора в бак трансформатора; скрутка отвода ВН нарушения схемы заземления трансформатора; повреждения маслонасосов в трансформаторах ДЦ; прогар текстолитовой перегородки клемника трансформатора тока; частичный пробой изоляции отвода на корпус; пожар магнитопровада трансформатора.

Образование газовых пузырей при заливке масла в бак трансформатора без строгого выполнения требований РДИ-34-38-058-91 (и, следовательно, опасности перекрытия изоляции при включении трансформатора), случайному повреждению отдельных элементов, загрязнению активной части, а также попаданию посторонних предметов в газовое реле, бак трансформатора при недостаточной культуре работ и слабом контроле за ходом ревизии.

С течением времени происходит естественный процесс старения диэлектрика. Старение приводит к постоянному ухудшению или потере изоляционных свойств диэлектрика и обусловлено химическими, тепловыми, механическими и электрическими воздействиями. К химическим процессам ухудшения органических диэлектриков относятся окисление и химические реакции с агрессивными компонентами окружающей среды, особенно при наличии влаги и повышенной температуры. В результате нагрева от внешних источников или диэлектрическими потерями происходит распад вещества, появляется хрупкость материала и снижается электрическая прочность диэлектриков.

К основным явлениям старения, вызванного электрическими причинами, являются физико-химические изменения изоляционных материалов, вызванные частичными разрядами. В результате механических воздействий нарушается целостность изоляционной конструкции из-за возникновения трещин, разрывов и расслоения. Подвержено старению также и изоляционное масло. Оно окисляется, что приводит к образованию органических кислот, растворимых в масле или создающих осадки. Увлажнение масла снижает электрическую прочность. Конечным результатом старения является изменение структуры диэлектриков, их свойств, появление дефектов. Для определения степени старения и влажности твердой изоляции применяются косвенные методы контроля. Определяется ряд параметров изоляции, таких как поляризация, абсорбция, ионизация, проводимость, характеризующие изменения, происходящие в диэлектриках. Используется также зависимость этих параметров от температуры, приложенного напряжения, времени и т.д. Значительное количество дефектов определяется по изменению физико-химических свойств изоляционного масла и наличию в нем продуктов разложения материалов изоляционной конструкции.

Большая часть технологических нарушений связана повреждениями маслонаполненных вводов, обмоток и устройств регулирования. Распределение технологических нарушений силовых трансформаторов в зависимости от периода эксплуатации: - до 10 лет-15% - от 10 до 20 лет-30,2% 5 - от 20 до 30 лет - 29,3% - от 30 до 40 лет-17,6% - свыше 40 лет - 8%. Максимальное и примерно равное число технологических нарушений наблюдается в период второго и третьего десятилетия их эксплуатации. Вдвое меньший уровень повреждаемости трансформаторов в период первых десяти лет эксплуатации объясняется тем, что в это время в основном проявляются наиболее существенные заводские дефекты конструкции и изготовления, а также закладывается эксплуатационным персоналом технологическая база для резких снижений эксплуатационных характеристик и повреждений трансформаторов в последующие два десятилетия.

3.7 Инфракрасная диагностика электрооборудования подстанции

До сих пор существует вольное употребление терминов «диагностика» и «мониторинг», а во многих случаях смешение понятий этих терминов. Между тем под «диагностикой» следует понимать область знаний, охватывающую теорию, методы и средства определения технического состояния объектов. А под «мониторингом» - способ сбора аппаратными средствами информации о диагностических параметрах контролируемых объектов для последующего анализа параметров средствами системы диагностирования.

Получили практическое применение новые оптикоэлектронные системы, чувствительные в ультрафиолетовой, видимой и инфракрасной

области спектра при контроле электрооборудования, широко используемые в распределительных сетях и подстанциях, а также оборудования генерирующих электростанций.

Тепловизионные системы завоевали прочное положение в инспекционном контроле электрооборудования под рабочим напряжением, и полезность их применения при контроле технического состояния не вызывает сомнений. Все шире начинают использоваться методы и аппаратура для контроля частичных разрядов на силовых и измерительных трансформаторах, электродвигателях и генераторах. Оптические методы и аппаратура занимают особое место при контроле электроразрядных и тепловых процессов, благодаря дистанционности и оперативности процесса измерения, а также высокой информативной способности.

Относительно высокий уровень повреждаемости опорных изоляторов, обрывы элементарных проводников линий электропередач снижают надежность подачи энергии потребителям и вызывают необходимость разработки новых измерительных приборов, создания и совершенствования методик по раннему обнаружению дефектов различного электрооборудования. Основной задачей оперативной диагностики действующих элементов сетей и подстанций является выявление на ранней стадии аппаратов, имеющих повышенный уровень частичных разрядов и тепловые аномалии, их своевременную профилактику или замену.

3.8 Оценка результатов тепловизионного метода диагностирования электротехнического электрооборудования подстанции

Важной составляющей при проведении измерений тепловизионного контроля является соблюдение ряда условий, невыполнение которых делает результаты измерений малодостоверными. Современные тепловизионные системы имеют широкую возможность определения статистических температурных параметров по значению минимальной, максимальной и средней температуры измеряемой поверхности, наряду с этим в действующих нормативных документах отсутствуют указания, какими значениями температур следует пользоваться в процессе оценки технического состояния, а также к какой области и зоне поверхности аппарата относить данные обработки. Как правило, результаты оценки состояния объекта оказываются достаточно субъективными и зависят от выбора характерных размеров зоны поверхности и выбора того или иного температурного параметра.

В основу развитого нового метода обработки термограмм положен принцип определения наиболее вероятного значения температуры поверхности объекта или его фрагмента, учитывающий, как статистические свойства излучающей поверхности, так и статистические

параметры оптико-электронного тракта используемой тепловизионной аппаратуры. Метод позволяет легко вводить критерии оценки технического состояния различного оборудования и проводить сравнение объектов при различных температурах окружающей среды.

Данный метод применялся для определения технического состояния измерительных трансформаторов тока и вводов трансформаторов маслонаполненных кабельных линий и показал на свою высокую эффективность (рис 2).

Рис.2. Обработка термограмм трансформаторов тока трех фаз методом «термографических функций»

Описанные методы диагностики при широком применении позволяют по совокупности измеряемых характеристик принимать взвешенные технические решения о поддержании эксплуатационной надежности действующего оборудования.

3.9 Основные направления энергосбережения на подстанции

Изменить тенденцию роста потерь электроэнергии и снизить суммарные потери в электрических сетях и подстанциях всех напряжений может быть достигнута в результате внедрения основных приоритетных мероприятий, предусматривающих:

а) оптимизацию режимов сетей и подстанций и совершенствование их эксплуатации;

б) ввод в работу энергосберегающего оборудования;

в) совершенствование расчетного и технического учета,

метрологическое обеспечение измерений электроэнергии;

г) уточнение расчетов нормативов потерь и балансов электроэнергии по фидерам, центрам питания и электрической сети в целом;

д) выявление, предотвращение и снижение хищений электроэнергии;

е) совершенствование организации работ, стимулирование снижения потерь электроэнергии, повышение квалификации персонала, контроль эффективности его деятельности.

Основные мероприятия по оптимизации режимов электрических сетей и совершенствованию их эксплуатации предусматривают:

оптимизацию установившихся режимов электрических сетей по реактивной мощности и уровням напряжения;

ввод в работу неиспользуемых средств автоматического регулирования напряжения;

выполнение ремонтных и эксплуатационных работ под напряжением;

сокращение продолжительности технического обслуживания и ремонта оборудования сетей.

При новом строительстве, реконструкции и техническом перевооружении электрических сетей и подстанций необходимо применять новое энергосберегающее оборудование и технологии, в частности:

трансформаторы с уменьшенными потерями электроэнергии; показателем качества силовых и измерительных трансформаторов являются потери электроэнергии холостого хода, которые не должны превышать 0,84-0,85 Вт/кг при индукции 1,7 Тл (трансформаторная сталь с ориентированной структурой, аморфные сплавы и др.);

автоматическое регулирование напряжения на трансформаторах или вольтодобавочные трансформаторы;

измерительные системы и приборы учета электроэнергии повышенной точности, в том числе, системы и приборы учета реактивной составляющей электроэнергии;

управляемые конденсаторные установки на закрытых подстанциях с трансформаторами 250 кВ.А и более, на остальных - конденсаторные батареи, подключаемые к шинам 0,4 кВ;

применять новые провода и электротехнические материалы;

осуществлять перевод линий электропередачи и подстанций на более высокое номинальное напряжение;

снижать долю низковольтных сетей и приближать сети среднего напряжения к потребителю.

Совершенствование расчетного и технического учета электроэнергии, метрологического обеспечения измерений электроэнергии и мощности должно осуществляться в направлениях:

разработки, аттестации и ввода в действие методик выполнения измерений электрической энергии и мощности;

обеспечения условий работы систем и приборов измерения электроэнергии в нормативных условиях и режимах их эксплуатации;

установки средств измерений повышенных классов точности (однофазных счетчиков, трехфазных счетчиков, трансформаторов тока и напряжения);

разработки и ввода в действие АИИС КУЭ, в том числе, АИИС КУЭ бытовых потребителей;

обеспечения своевременности и правильности снятия показаний с приборов учета;

исключения расчетов по приборам учета, установленным не на границе балансовой принадлежности, особенно для энергоемких потребителей;

оснащения метрологической службы современными образцовыми средствами, поверочным оборудованием, необходимой вычислительной техникой, специализированной мобильной метрологической лабораторией, транспортными средствами;

восстановления учета электроэнергии на подстанциях 6-20/0,4 кВ мощностью 160 кВ.А и более;

внедрения системы расчетов балансов электроэнергии и потерь электроэнергии, ведения баз данных учета электроэнергии и мониторинга технического состояния электрических сетей с использованием современного программного обеспечения и каналов передачи информации;

перехода от индукционных счетчиков к электроннымсчетчикам, обеспечивающим в том числе, измерение реактивной составляющей энергии с формированием профиля потребляемой мощности и возможностью интервального учета;

применения новых методов снятия показаний счетчиков, в том числе, автоматизированных систем коммерческого учета электроэнергии;

раздельного подключения к измерительным трансформаторам приборов учета и устройств РЗА;

оснащения подразделений РСК, осуществляющих контроль работы систем учета электроэнергии, средствами поверки счетчиков электроэнергии и измерительных трансформаторов, устройствами контроля подключения приборов учета электроэнергии, измерения сетевого тока, в том числе, переносными средствами необходимого класса точности для измерения нагрузок и напряжений в сетях 0,4 и 6-20 кВ для уточнения режимов их работы.

Уточнение расчетов нормативов потерь, балансов электроэнергии по фидерам, центрам питания и электрической сети в целом должно проходить по следующим основным направлениям:

выполнение расчетов балансов электроэнергии с определением количества неучтенной электроэнергии по фидерам 0,38 и 6-20 кВ; выявление фидеров с высоким уровнем коммерческих потерь электроэнергии;

расчет и анализ балансов электроэнергии по подстанциям и электрическим сетям в целом;

формирование и анализ балансов реактивной электроэнергии (мощности).

Основные мероприятия по выявлению, предотвращению и снижению хищений электроэнергии включают:

замену вводов в здания (от опоры ВЛ 0,38 кВ до счетчика потребителя), выполненных неизолированным ( изношенным изолированным) проводом, на изолированные провода или кабели с видимым вводом;

учет электроэнергии в шкафах учета за границей частного владения, доступ к которому будет иметь только ответственное лицо;

установку и ввод в действие системы учета электроэнергии в сетях среднего напряжения на границах балансовой принадлежности;

внедрение современных средств выявления несанкционированного потребления электрической энергии;

защиту систем и приборов учета электроэнергии от несанкционированного доступа.

Разработке мероприятий по снижению потерь электроэнергии должны предшествовать:

оценка технического состояния, метрологических характеристик и условий работы приборов учета, учитывающих поступление электроэнергии в сеть и полезный отпуск потребителям (периодичности поверки, ремонта, замены; режимов работы, условий применения и правильности включения систем измерения; наличия метрологического оборудования);

анализ схем расстановки систем учета, схем поступления и отпуска электроэнергии с указанием границ балансовой принадлежности и точек учета поступившей и отпущенной электроэнергии;

анализ организации работы по учету и контролю электроэнергии, а также характеристика метрологической службы, парка и условий работы приборов учета электроэнергии в сетях и подстанций.

Указанный выше анализ должен осуществляться на стадии энергетического аудита. По результатам аудита должна быть составлена среднесрочная и долгосрочная программа, которая должна представлять комплекс перечисленных выше и других мероприятий по снижению потерь электроэнергии в сетях и подстанциях.

.10 Меры безопасности при эксплуатации электрооборудования подстанции

В электроустановках выше 1000 В работники из числа персонала, единолично обслуживающие электроустановки или старшие по смене должны иметь группу по электробезопасности IV, остальные работники в смене - группу III.

Вид оперативного обслуживания электроустановки, число работников из числа оперативного персонала в смене определяется руководством организации и закрепляется соответствующим распоряжением.

В электроустановках не допускается приближение людей, механизмов и грузоподъемных машин к находящимся под напряжением неогражденным токоведущим частям на расстояния 0,6 и 1 метра соответственно.

Единоличный осмотр электроустановок, электромеханической части технологического оборудования может выполнять работник, имеющий группу не ниже III, из числа оперативного персонала, находящегося на дежурстве, либо работник из числа администаративно-технического персонала, имеющий группу V, для электроустановок напряжением выше 1000 В, и право единоличного осмотра на основании письменного распоряжения руководителя организации.

Работники, не обслуживающие электроустановки, могут допускаться в них в сопровождении оперативного персонала, имеющего группу IV, в электроустановках напряжением выше 1000 В, либо работника, имеющего право единоличного осмотра. Сопровождающий работник должен следить за безопасностью людей, допущенных в электроустановки, и предупреждать их о запрещении приближаться к токоведущим частям.

При осмотре электроустановок разрешается открывать двери щитов, сборок, пультов управления и других устройств. При осмотре электроустановок напряжением выше 1000 В допускается входить в помещения, камеры, не оборудованные ограждениями (требования к установке ограждений приведены в Правилах устройства электроустановок) или барьерами, препятствующими приближению к токоведущим частям на расстояние менее указанных в таблице 1.1. Не допускается проникать за ограждения и барьеры электроустановок.

Не допускается выполнение какой-либо работы во время осмотра.

При замыкании на землю в электроустановках напряжением 3 - 35 кВ приближаться к месту замыкания на расстояние менее 4 м в ЗРУ и менее 8 м - в ОРУ и на ВЛ допускается только для оперативных переключений с целью ликвидации замыкания и освобождения людей, попавших под напряжение. При этом следует пользоваться электрозащитными средствами.

Отключать и включать разъединители, отделители и выключатели напряжением выше 1000 В с ручным приводом необходимо в диэлектрических перчатках.

Под напряжением и под нагрузкой допускается заменять: предохранители во вторичных цепях, предохранители трансформаторов напряжения и предохранители пробочного типа.

В электроустановках, не имеющих местного оперативного персонала, ключи могут быть на учете у административно-технического персонала.

Ключи должны быть пронумерованы и храниться в запираемом ящике. Один комплект должен быть запасным. Ключи должны выдаваться под расписку: работникам, имеющим право единоличного осмотра (в том числе оперативному персоналу), - от всех помещений; при допуске по наряду-допуску - допускающему из числа оперативного персонала, ответственному руководитель и производителю работ, наблюдающему [работники, ответственные за безопасность работ.] - от помещений, в которых предстоит работать.

При несчастных случаях для освобождения пострадавшего от действия электрического тока напряжение должно быть снято немедленно без предварительного разрешения руководителя работ.

Работы в действующих электроустановках должны проводиться по наряду-допуску, по распоряжения, по перечню работ, выполняемых в порядке текущей эксплуатации.

Не допускается самовольное проведение работ, а также расширение рабочих мест и объема задания, определенных нарядом или распоряжением.

Ремонты электрооборудования напряжением выше 1000 В, работа на токоведущих частях без снятия напряжения в электроустановках напряжением выше 1000 В, а также ремонт ВЛ независимо от напряжения, как правило, должны выполняться по технологическим картам или ППР.

Не допускается работать в одежде с короткими или засученными рукавами, а также использовать ножовки, напильники, металлические метры и т.п.

Не допускается в электроустановках работать в согнутом положении, если при выпрямлении расстояние до токоведущих частей будет менее 0,6 метра от человека и 1 метр от ремонтной оснастки и приспособлений.

Не допускается при работе около неогражденных токоведущих частей располагаться так, чтобы эти части находились сзади работника или с двух боковых сторон.

Не допускается прикасаться без применения электрозащитных средств к изоляторам, изолирующим частям оборудования, находящегося под напряжением.

В пролетах пересечения в ОРУ при замене проводов (тросов) и относящихся к ним изоляторов и арматуры, расположенных ниже проводов, находящихся под напряжением, через заменяемые провода (тросы) в целях предупреждения подсечки расположенных выше проводов должны быть перекинуты канаты из растительных или синтетических волокон. Канаты следует перекидывать в двух местах - по обе стороны от места пересечения, закрепляя их концы за якоря, конструкции и т.п. Подъем провода (троса) должен осуществляться медленно и плавно.

Работы в ОРУ на проводах (тросах) и относящихся к ним изоляторах, арматуре, расположенных выше проводов, тросов, находящихся под напряжением, необходимо проводить в соответствии с ППР, утвержденным работодателем. В ППР должны быть предусмотрены меры для предотвращения опускания проводов (тросов) и для защиты от наведенного напряжения.

Персоналу следует помнить, что после исчезновения напряжения на электроустановке оно может быть подано вновь без предупреждения.

Не допускаются работы в неосвещенных местах. Освещенность участков работ, рабочих мест, проездов и подходов к ним должна быть равномерной, без слепящего действия осветительных устройств на работающих.

При приближении грозы должны быть прекращены все работы на ВЛ, ВЛС, ОРУ, на вводах и коммутационных аппаратах ЭРУ, непосредственно подключенных к ВЛ, на КЛ, подключенных к участкам ВЛ, а также на вводах ВЛС в помещениях узлов связи и антенно-мачтовых сооружениях.

Весь персонал, работающий в помещениях с энергооборудованием (за исключением щитов управления, релейных и им подобных), в ЗРУ и ОРУ, в колодцах, туннелях и траншеях, а также участвующий в обслуживании и ремонте ВЛ, должен пользоваться защитными касками.

Осмотр силовых трансформаторов, масляных шунтирующих и дугогасящих реакторов, должен выполняться непосредственно с земли или со стационарных лестниц с поручнями.

На трансформаторах (реакторах), находящихся в работе или резерве, доступ к смотровым площадкам должен быть закрыт предупреждающими плакатами «Не влезай! Убьет».

Отбор газа из газового реле работающего трансформатора (реактора) должен выполняться после разгрузки и отключения трансформатора (реактора).

При проведении работ конденсаторы перед прикосновением к ним или их токоведущим частям после отключения установки от источника питания должны быть разряжены независимо от наличия разрядных устройств, присоединенных к шинам или встроенным в единичные конденсаторы. Разряд конденсаторов - снижение остаточного напряжения до нуля - производится путем замыкания выводов накоротко и на корпус металлической шиной с заземляющим проводником, укрепленной на изолирующей штанге. Выводы конденсаторов должны быть закорочены, если они не подключены к электрическим схемам, но находятся в зоне действия электрического поля (наведенного напряжения).

Не разрешается касаться голыми руками конденсаторов, пропитанных трихлордифенилом (ТХД) и имеющих течь. При попадании ТХД на кожу необходимо промыть кожу водой с мылом, при попадании в глаза - промыть глаза слабым раствором борной кислоты или раствором двууглекислого натрия (одна чайная ложка питьевой соды на стакан воды).

ЗАКЛЮЧЕНИЕ

электрооборудование подстанция технический

В данном курсовом проекте были рассмотрены характеристики проектируемого электрооборудования подстанции 35/6 кВ куста 903.

В первом разделе проекта собраны данные для разработки проекта. Установлены природно-климатические условия на месте расположения подстанции, приведены технологические особенности производства.

Во втором разделе, определяющую основную роль проекта, определены основы организации технического обслуживания и ремонта электрооборудования, продолжительности межосмотровых и межремонтных периодов, периодичность технического обслуживания оборудования, объемы работ по техническому обслуживанию и видам ремонта электрооборудования подстанции, планирование технических обслуживаний и ремонтов, оперативное техническое обслуживание. Оценка и контроль технического состояния электрооборудования, основные направления энергосбережения на подстанции, а также меры безопасности при эксплуатации электрооборудования, что является первоочередным для любого вида работ.

Устойчивое функционирование единого сетевого электроэнергетического комплекса России невозможно без надежной и качественной работы распределительных электрических сетей, которые являются завершающим звеном в системе обеспечения потребителей электрической энергией и находятся в непосредственном взаимодействии с конкретным потребителем. Результатами работы во многом предопределяется качество, надежность и эффективность в период диагностирования, обслуживаний и ремонтов электрооборудования подстанции в целом, от которого зависит нормальный режим работы подстанции и соответственно потребителей.

Похожие работы на - Эксплуатация электрооборудования П/СТ 35/6 кВ 'куста-903'

 

Не нашли материал для своей работы?
Поможем написать уникальную работу
Без плагиата!
Без нейросетей!