Экспериментальные методы исследования тепловых свойств пленок из полимерных материалов

  • Вид работы:
    Курсовая работа (т)
  • Предмет:
    Другое
  • Язык:
    Русский
    ,
    Формат файла:
    MS Word
    1,01 Мб
  • Опубликовано:
    2014-01-24
Вы можете узнать стоимость помощи в написании студенческой работы.
Помощь в написании работы, которую точно примут!

Экспериментальные методы исследования тепловых свойств пленок из полимерных материалов

Министерство образования и науки Российской Федерации












Курсовая работа

по дисциплине «Экспериментальные методы исследования и метрология»

на тему: «Экспериментальные методы исследования тепловых свойств пленок из полимерных материалов»







Тольятти 2011


Содержание

Введение

. Общие сведения о полимерах и полимерных пленках

.1 История развития полимерных материалов

.2 Теплофизические свойства полимеров

1.2.1 Теплопроводность

.2.2 Теплоемкость

.2.3 Температуропроводность

. Экспериментальные методы исследования тепловодности и температропроводности

.1 Стационарные методы исследования

.2 Нестационарные методы исследования

3. Экспериментальные методы исследования теплоемкости

. Сферы применения полимерных пленок

Заключение

Список используемой литературы

Введение

Человек давно использует природные полимерные материалы в своей жизни. Это кожа, меха, шерсть, шелк, хлопок и т. п., используемые для изготовления одежды, различные связующие (цемент, известь, глина), образующие при соответствующей обработке трехмерные полимерные тела, широко используемые как строительные материалы.

В наши дни трудно найти область современной техники и быта, которая смогла бы обойтись без полимеров: это и посуда, и мебель, корпуса приборов, трубопроводы, игрушки, бытовая техника и многое другое. Даже в состав туши для ресниц входят полимеры, обеспечивающие, например, способность ресниц не склеиваться.

Актуальность темы курсовой работы, по теме «Экспериментальные методы исследования тепловых свойств пленок и покрытий из полимерных материалов» заключается в том, что необходимо исследовать покрытия и пленки из полимерных материалов, а также изучению их тепловых свойств. Работа направлена на изучение актуальных вопросов посвященных методам испытаний полимерных покрытий, так же областям применения пленок.

Объектом исследования в данной курсовой работе является пленки и покрытия из полимеров, а так же их разновидности.

Предметом исследования являются тепловые свойства пленки и покрытия из полимеров.

Цель работы: Подборка и систематизация информации по объекту данного исследования.

Задачи:

) Изучить понятие «полимерные покрытия»

) Изучить понятие «полимерные пленки»

) Подобрать информацию о тепловых свойствах

) Изучить методы испытаний полимерных материалов

Структура и объем курсовой работы.

Курсовая работа состоит из введения, 4 глав, заключения и списка литературы. Общий объем работы 52 страниц. Работа содержит 10 рисунков и список цитируемой литературы из 73 названий.

Содержание работы.

Во первой главе описываются общие сведения о полимерах и полимерных пленках, история их создания, тепловые свойства полимеров.

В второй главе описываются экспериментальные методы исследования тепловодности и температуропроводности.

В третьей главе описываются экспериментальные методы исследования теплоемкости.

В четвертой главе описывается применение полимерных пленок в различных областях производства.

1. Общие сведения о полимерах и полимерных пленках

Полимерами называют вещества, молекулы которых представляют собой цепь или пространственную решетку последовательно соединенных одинаковых групп атомов, повторяющихся большое количество раз. Молекулярная масса полимера очень велика - от 1000 до 1000000. молекулярная масса низкомолекулярных соединений обычно не превышает 500. Вещества, имеющие промежуточные значения молекулярной массы, называют олигомерами[1].

Общую формулу полимера можно записать в виде (-Х-)п, где Х -элементарное звено, п - степень полимеризации.

Рис. 1 Полиэтилен, линейная цепь

Исходные вещества, из которых синтезируют полимеры, называются мономерами. Степенью полимеризации называют число структурных единиц, содержащихся в одной молекуле [2].

Полимеризация (др.-греч. <#"701152.files/image002.gif"> (1)

где ρ - плотность вещества.

теплофизический полимерный пленка экспериментальный

1.2.1 Теплопроводность

Теплопроводность - это перенос тепловой энергии <#"701152.files/image003.gif">

Pиc. 2. Схематическое изображение температурной зависимости теплопроводности кристаллических (1) и аморфных (2) диэлектриков. [13]

Температурная зависимость к идеальной кристаллической решетки должна иметь вид, показанный на рис. 2, по следующим соображениям.

При нормальных и высоких температурах, когда возбуждено много фононов и взаимодействия между ними (процессы переброса) происходят достаточно часто, вероятность взаимодействия между фононами (фонон - квазичастица <#"701152.files/image004.gif"> (2)

где χ - температуропроводность, X - теплопроводность <#"701152.files/image005.gif">(3)

Единица измерения теплоёмкости в системе СИ <#"701152.files/image006.gif"> (4)

где  - удельная теплоёмкость,  - количество теплоты, полученное веществом при нагреве (или выделившееся при охлаждении),  - масса нагреваемого (охлаждающегося) вещества,  - разность конечной и начальной температур вещества.

Теплоемкость полимеров определяется их колебательным спектром. В соответствии с цепным строением макромолекул теплоемкость твердых линейных полимеров в первом приближении может быть представлена аддитивной функцией двух основных вкладов: решеточных колебаний и характеристических колебаний отдельных групп атомов в повторяющемся звене или их более или менее изолированного вращения и изомеризации.

Решеточные (скелетные) колебания являются низкочастотными колебаниями и вносят основной вклад в теплоемкость полимеров при низких температурах. Анализ решеточных колебаний может быть проведен на основе скелетного приближения, в котором макромолекула рассматривается как бесструктурная цепочка точечных масс, равных массе повторяющегося звена.

Поскольку для многих карбоцепных полимеров геометрия повторяющегося звена и силовые константы близки, единственным переменным параметром при переходе от одного полимера к другому является масса повторяющегося звена. [18] Характеристические колебания боковых радикалов являются оптическими колебаниями, их частоты существенно выше частот скелетных колебаний, и потому их вклад в теплоемкость становится ощутимым, начиная с умеренно низких температур, и зависит от соотношения масс атомов основной цепи и бокового заместителя. Характерное для полимеров существование поворотных изомеров, различающихся конформационными энергиями, приводит к возможности появления составляющей теплоемкости, обусловленной различными энергетическими состояниями.

Согласно квантовой теории, теплоемкость твердого тела в

 (5)

где к -постоянная Больцмана; h=L/2 - постоянная Планка; ω - круговая; Т - абсолютная температура;

Для вычисления температурной зависимости теплоемкости достаточно знать функцию распределения частот, т. е. колебательный спектр полимера. Проще всего определить вклад в теплоемкость характеристических колебаний, для которых можно использовать функцию Эйнштейна. [19]

Если усредненная характеристическая частота данного колебания данного радикала равна ад, то «спектр» такого колебания имеет вид

 (6)

Молярная теплоёмкость - это теплоёмкость одного моля <#"701152.files/image013.gif"> (8)

где сР - удельная теплоемкость; р-плотность; Т - температура; t-(Время; X - коэффициент теплопроводности.

2.1 Стационарные методы

В приборах, работа которых основана на стационарных методах [26-27], распределение температуры в образце не зависит от времени. Решение уравнения для тел простой геометрической формы, в которых температурное поле одномерно, с учетом закона Фурье приводит к уравнению [28, 29]

 (9)

где Q-количество тепла, проходящего в единицу времени от изо термической поверхности с температурой Т к изотермической поверхности с температурой Т2\ Кф-коэффициент формы образца.

Основные трудности при использовании приборов, работа которых основана на стационарных методах, связаны с созданием равномерного одномерного теплового потока: должны быть устранены утечки тепла и обеспечен идеальный контакт образца с другими элементами прибора.

Главным недостатком стационарных методов является длительность установления необходимого теплового режима при каждой заданной температуре. Это практически исключает возможность применения стационарных методов для исследования полимеров при повышенных температурах, когда длительная подготовка к измерению может сопровождаться окислительными и деструкционными процессами. Однако стационарные методы являются наиболее точными и позволяют надежно определять коэффициент теплопроводности как при отсутствии переходов, так и в области переходов и структурных превращений. Приборы, работа которых основана на закономерностях стационарного теплового потока, различаются геометрией образцов, способами учета и компенсации утечек тепла, характером нагрева, размещением нагревателей и др. Наряду с абсолютными методами [31-32], позволяющими на основании измеряемых величин определять значение коэффициента теплопроводности, используют также относительные методы [33-35], в которых для определения теплопроводности применяют эталонный материал с известными тепловыми характеристиками.

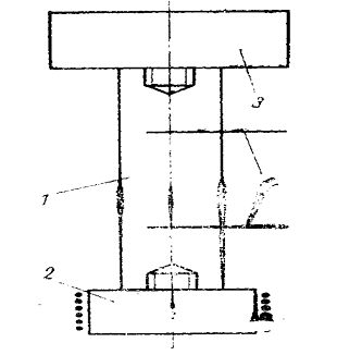
Для измерения коэффициента теплопроводности при низких температурах обычно используется [35, 36] следующая схема (рис. 3). При установившемся тепловом режиме определяется разность температур ΔT между двумя фиксированными точками цилиндрического образца, соединенного по торцам с источником и стоком тепла. Длина образца выбирается в пределах 5-10 см при диаметре l - 2 см. Тепловые потоки выбираются таким образом, чтобы ΔT составляла 2-8% от температуры образца. Точность определения коэффициента теплопроводности зависит от температуры и составляет 4-10%.

Большое число измерений коэффициента теплопроводности полимеров в температурном интервале от -180 до +100°С выполнено на приборе [38, 39], схема которого приведена на рис. 3.

Рис. 3. Стационарный метод измерения теплопроводности при низких температурах [37]:

- цилиндрический образец; 2 - источник тепла; 3 - теплоотводящая пластина; 4 - регистратор разности температур.

Два образца в виде пластин толщиной 5-10 мм, расположенные симметрично относительно нагревателя, зажаты между медными пластинами. Эта измерительная ячейка помещена в термостат. Перепад температур на образцах определяется термопарами, зачеканенными в медные пластины и на поверхности нагревателя.

Абсолютная точность определения коэффициента теплопроводности составляет ±2%.

Рис. 4. Стационарный метод измерения теплопроводности [МО]:

- образцы; 2 - медные блоки; 3 - нагреватель; 4 - изоляционная фольга. [40]

Насколько важен хороший тепловой контакт образцов с нагревателем и пластинами, особенно для полимеров в твердом состоянии, видно из рис. 5. При измерении в вакууме, когда существенную роль играют термические сопротивления воздушных прослоек между твердым полимером и металлом (контакт образца с пластинами носит точечный характер), происходит кажущееся резкое возрастание коэффициента теплопроводности в области размягчения; в действительности же причиной этого возрастания является резкое улучшение теплового контакта.

Использование при измерениях газообразного гелия, обладающего высокой теплопроводностью, приводит к принципиально отличной экспериментальной кривой с характерным для размягчения полимеров изломом.

Рис. 5. Теплопроводность аморфного полимера в области стеклования при измерении в вакууме (1) и в среде гелия (2) [41].

Экспериментальное исследование теплопроводности полимеров в расплавленном состоянии требует специальной аппаратуры. Лоэ разработал установку для исследования расплавов полимеров до 240 °С с использованием образцов цилиндрической формы [42]. В ней предусмотрена также возможность изучения влияния на теплопроводность давления в интервале от 0,1 до 35 МПа. Максимальная ошибка абсолютных измерений составляет ±6%.

2.2 Нестационарные методы

Уравнение теплопроводности в общем случае имеет бесконечное число решений, чему соответствует многообразие методов определения теплопроводности и температуропроводности. Изменение температурного поля во времени имеет начальный, чисто нестационарный период, когда существенны начальные условия, и более упорядоченные стадии, для которых начальные условия не играют роли [43-44]. Граница этих режимов характеризуется критерием Фурье:

Fo = at/82 (10)

Где: t - время, б- характеристический размер.

Для чисто нестационарных стадий Fo<0,5, а для регулярных Fo>0,5.

В соответствии с этими стадиями изменения температурного поля во времени нестационарные методы [45- 47] делятся на чисто нестационарные и методы регулярного режима. В чисто нестационарных методах изменение температурного поля во времени сложным образом связано с геометрией тела, его теплофизическими свойствами, с граничными и начальными условиями. Решения уравнения теплопроводности для начальных стадий позволяют определить из эксперимента одновременно несколько тепловых характеристик.

Методы регулярного режима основаны на изучении изменения температурного поля в образце, помещенном в среду с постоянной температурой (регулярный режим первого рода) или в среду, температура которой изменяется с постоянной скоростью (регулярный режим второго рода, или квазистационарный режим) [48-50].

Достоинством этих методов по сравнению с методами стационарного теплового потока является возможность комплексного и скоростного определения теплофизических характеристик, меньшие размеры используемых образцов и часто более простое конструктивное оформление приборов. Из чисто нестационарных методов наиболее часто для исследования полимеров применяется импульсный метод с использованием плоского источника постоянной тепловой мощности [51 - 53]. Схема измерений основаны на анализе начальной нестационарной стадии изменения температурного поля. По измерениям перепада температуры между нагревателем и фиксированной точкой, а также по изменению температуры нагревателя могут быть рассчитаны температуропроводность и тепловая активность

 (11)

Следовательно, и все три теплофизические характеристики (а, λ, cр) - типичные размеры образцов 35×35×60 мм. Продолжительность опыта 5-7 мин. Точность определения теплофизических характеристик по этому методу составляет: для α - 2%, для λ - 2,5%, для cр - 3% [54], однако реальная точность, по-видимому, значительно ниже. В приборах, работа которых основана на методе регулярного режима первого рода, проводится изучение закономерностей изменения распределения температуры в образце, внесенном в среду с постоянной температурой Тс, отличной от температуры образца Т [55]. Решение основного уравнения теплопроводности при соответствующих граничных условиях представляется в виде ряда

 (12)

где Ап - постоянные, зависящие от формы тела и определяемые из начальных условий; Un - функции координат; тп - положительные постоянные числа, зависящие от формы и размеров тела и его теплофизических характеристик, причем m n-1< mn < mn+1.

Этот ряд быстро сходится, и начиная с некоторого момента распределение температур в теле описывается выражением

 (13)

На этой стадии величина т, называемая темпом охлаждения, сохраняет постоянное значение для любой точки тела. В общем случае темп охлаждения представляется в виде

 (14)

где Bi - aδ/λ - критерий Био (λ - коэффициент теплоотдачи); δ - характеристический pазмер.

Наиболее простое решение уравнение имеет в случае интенсивного теплообмена на поверхности образца со средой, для которой Bi-мах. В этом случае

 (15)

где Кф - коэффициент формы.

При конечных значениях Bi используют один из вариантов метода, основанный на том, что отношение  постоянно для любых двух точек тела, где  а 0 B1:

 (16)

Для образцов простой геометрической формы известны аналитические значения В [56]:

 (пластина) (17)

 (цилиндр) (18)

 (шар) (19)

где J0 - функция Бесселя первого рода нулевого порядка;

Нахождение коэффициента температуропроводности а заключается в экспериментальном определении величины В по отношению, расчете величины е и расчете темпа охлаждения т по измерениям температуры в некоторой точке тела для двух моментов времени t и по уравнению, вытекающему из уравнения:

 (20)

После этого коэффициент температуропроводности получается из соотношения

 (21)

Установки для определения температуропроводности полимеров, работа которых основана на методе регулярного режима первого рода, описаны в работах [18, 28, 39, 57]. Для нахождения коэффициента теплопроводности по методу регулярного режима необходимо провести дополнительные измерения коэффициента теплоотдачи. Точность определения коэффициента теплопроводности составляет 4-8%.

Среди нестационарных методов определения коэффициента теплопроводности наиболее распространены квазистационарные методы, позволяющие определять температурную зависимость теплофизических характеристик в процессе нагрева с постоянной скоростью. В этом случае решение одномерного уравнения теплопроводности для тел простейшей формы при соответствующих граничных условиях начиная с определенного момента имеет вид [58]

 (22)

где Т0 - начальная температура тела;  - постоянная скорость нагрева; Кф - коэффициент формы, равный соответственно 1,2,3 для неограниченных пластины, цилиндра и шара. Стадия нагревания, описываемая этим уравнением, характеризуется постоянной скоростью изменения температуры всех точек тела. Перепад температуры между двумя произвольными точками тела Х\ и х2 (х£>х\) в этом случае обратно пропорционален температуропроводности:

 (23)

Таким образом, для определения температуропроводности необходимо измерить разность температур ΔT между двумя точками образца при постоянной скорости нагрева. Такой метод измерения температуропроводности полимеров использован, например, в работе [59].

Для определения коэффициента теплопроводности по методу квазистационарного режима необходимо кроме перепада температуры по толщине образца определить тепловой поток, пронизывающий образец в процессе нагрева. Это может быть сделано путем измерения скорости нагрева эталонного стержня с известной теплоемкостью [29, 36, 37]. Приборы, работа которых основана на этом принципе, применяются для определения тепло-физических характеристик полимеров в температурном интервале 300-650 К. Точность определения X равна 5%.

Обладая значительными преимуществами перед стационарными методами, нестационарные методы имеют одно существенное ограничение. В большинстве случаев теория этих методов предполагает слабую зависимость теплофизических характеристик от температуры. Поэтому их применение для изучения теплофизических характеристик в области резкого изменения с температурой требует специального обоснования.

3. Экспериментальные методы исследования теплоемкости

Очень низкие температуры (<30 К). Хотя исследования в этой области температур немногочисленны, тем не менее, они позволяют составить представление о характере изменения теплоемкости твердых полимеров с температурой в зависимости от структуры полимера и от некоторых других параметров. Наиболее детально в этой области температур исследован полиэтилен, и результаты, полученные различными авторами, суммированы и проанализированы Ризом и Такером [60, 61] и Вундерлихом [63].

В этой области температур наблюдается линейная зависимость теплоемкости от степени кристалличности (рис. 6). Эта зависимость, очень резкая при температурах ниже примерно 15 К, уменьшается при повышении температуры, исчезая примерно при 50 К. Экстраполяция(особый тип аппроксимации <#"701152.files/image035.gif">

Рис. 6. Зависимость низкотемпературной теплоемкости полиэтилена Г231:

а - от степени кристалличности при различных температурах (1-5 К; 2 - 1,5 К; 5-10 К; 4-15 К; 5 - 20 К; 6 - 25 К);

б -от температуры для различных степеней кристалличности (1 - 0%; 2 - 46%; 5 - 75%; 4-84%; 5-100%). [65]

Анализ обобщенных данных о теплоемкости кристаллического полиэтилена на основе модели Дебая при температуре ниже 10 К привел к значению температуры Дебая θd=260 К [66].

Низкие температуры (50-250 К). Детальное исследование температурной зависимости теплоемкости линейных полимеров в области низких температур, проведенное Сочавой и Трапезниковой [67-70], показало, что соответствующие кривые для всех исследованных ими полимеров единообразны. Близкие по смыслу результаты получены и для других полимеров [71]. Для всех исследованных полимеров в области не очень низких температур существует значительный интервал, в котором изменение теплоемкости близко к линейному.

Рис. 7. Зависимость теплоемкости полимеров от температуры [28, 29]:

- полиметилметакрилат; 2 - полистирол; 3 - поливинилиден-хлорид; 4 - политетрафторэтилен; 5 - поливиниловый спирт; 6 - полиэтилен.

Хотя экспериментальные закономерности изменения теплоемкости с температурой близки к линейным в области низких температур, это не может служить подтверждением теории и расчетов Тарасова, поскольку в этой области температур экспериментальные значения теплоемкости у большинства полимеров превышают «классические» значения, вычисленные при условии, что теплоемкость определяется лишь поперечными колебаниями скелета [29].

Это различие может быть обусловлено лишь теплоемкостью, связанной с колебаниями боковых групп. Как отмечалось выше, это означает, что экспериментально определяемые значения теплоемкости в рассматриваемом интервале температур представляют собой суммарную теплоемкость, обусловленную как колебательным спектром скелета, так и колебаниями боковых групп.

Лишь в случае полиэтилена, в согласии с теоретическими расчетами [3, 19], экспериментальные значения теплоемкости при этих температурах практически целиком определяются колебаниями скелета, что оправдывает сравнение экспериментальных данных с теоретическими расчетами, относящимися к колебательному спектру скелета.

Таким образом, линейная зависимость экспериментальной теплоемкости от температуры в области низких температур является результатом наложения нелинейно изменяющихся с температурой вкладов от низкочастотных составляющих колебательного спектра скелета и боковых групп.

В связи с этим естественно, что в большинстве случаев она не может служить критерием правильности модельных расчетов, относящихся лишь к скелету полимерной цепи. Для проведения такого сравнения из общей теплоемкости необходимо выделить теплоемкость, обусловленную колебательным спектром скелета полимерной цепи.

Такое разделение было выполнено для ряда полимеров [3], и к оставшейся части теплоемкости, связанной лишь с акустическим спектром скелета, было применено уравнение Тарасова.

Для некоторых полимеров, особенно для полиэтилена, было достигнуто хорошее совпадение расчетных и экспериментальных значений теплоемкости [24, 31]. Ниже приведены характеристические температуры θ1 и θ3, входящие в уравнение Тарасова [32]:

Таблица


θ1 , К

θ3, К

Полиэтилен

540

147

Полистирол

230

41

Полипропилен

480

-

Полибутадиен

580

-

Полиизоппен

580

-

Политетрафторэтилен

270

46

Поливинилиденхлорид

260

-

Поливинилхлорид

350

175


Несмотря на достаточно хорошее совпадение теоретических и экспериментальных значений теплоемкости, нельзя, вероятно, сделать никаких заключений относительно физической реальности модели Тарасова, так как теплоемкость нечувствительна к тонким изменениям колебательного спектра, особенно в области высоких частот.

В связи с этим даже самое грубое приближение для спектра частот может привести к удовлетворительному совпадению расчетных и экспериментальных данных. Еще раз детально проанализированная недавно экспериментальная температурная зависимость теплоемкости кристаллического полиэтилена [33] лучше выражается уравнением Лифшица, что совпадает с заключением Сочавы и Трапезниковой.

Теперь кратко рассмотрим возможное влияние боковых радикалов на температурную зависимость теплоемкости и на ее значение.

Выше уже отмечалось, что переход от заторможенного вращения радикалов к свободному может сопровождаться появлением максимумов на температурной зависимости теплоемкости.

В действительности же такие максимумы обычно не появляются, что обусловлено, по-видимому, недостаточной оперативностью такого перехода. В связи с этим температурная зависимость теплоемкости оказывается мало чувствительной к вращению радикалов. Очень важная информация о подвижности радикалов и об их вкладе в общую теплоемкость может быть получена на основании анализа экспериментальной теплоемкости и результатов теоретических расчетов. Плодотворность такого подхода для полимеров была продемонстрирована в работах Сочавы и Трапезниковой [26, 29], в особенности на примере изучения подвижности радикалов в акриловых полимерах [30].

С целью выяснения вклада в низкотемпературную теплоемкость подвижности боковых радикалов были исследованы три акриловых полимера: полиметилметакрилат (СН2ССН3СООСН3), полиметакрилат (СН2СНСООСН3) и полиметакриловая кислота (СН2ССН3СООН). Первый полимер отличается от второго наличием метильной группы в основной цепи, а от третьего - наличием метильной группы в эфирном радикале.

Изменение теплоемкости при переходе от полиметакрилата и полимет-акриловой кислоты к полиметилметакрилату может быть обусловлено увеличением доли скелетной теплоемкости за счет увеличения массы мономерного звена, низкочастотными колебаниями самой метальной группы и, наконец, вращением метальной группы вокруг оси симметрии третьего порядка.

Сравнение молярных теплоемкостей полиметилметакрилата и полиметакрилата показывает, что замена атома водорода метальной группой очень мало влияет на теплоемкость в области низких температур. Это позволило заключить, что метальная группа, соединенная со скелетом цепи в полиметилмет-акрилате, не вращается и что ее наличие тормозит возможное внутреннее вращение как эфирного радикала, так и входящей в его состав метальной группы. Напротив, сравнение теплоемкости полиметилметакрилата с теплоемкостью полиметакрилата и полиметакриловой кислоты позволило сделать вывод, что метильная группа эфирного радикала в полиметилметакрилате обладает свободным вращением вокруг оси симметрии и вокруг направления связи СО. Таким образом, сравнительный анализ теплоемкостей трех акриловых полимеров при низких температурах показал различие в подвижности метальных групп в полиметилметакрилате. Исходя из теоретических расчетов теплоемкости твердых полимеров, при низких температурах должна существовать область температур, в которой межмолекулярным взаимодействием можно пренебречь и где теплоемкость определяется лишь внутримолекулярными параметрами. После анализа экспериментальных данных для многих полимеров стало очевидно, что выше примерно 60 К различие в кристалличности, тактичности, плотности и других параметрах, характеризующих межмолекулярное взаимодействие, оказывает слабое влияние на теплоемкость [3]. Эти параметры опять начинают играть существенную роль выше температуры стеклования из-за различного теплового движения в аморфных и кристаллических областях.

Таким образом, при низких температурах имеется значительный температурный интервал, в котором различия в теплоемкостях твердых полимеров обусловлены массой повторяющихся звеньев макромолекулы и вкладами боковых групп. В связи с этим изменения теплоемкости, обусловленные изменением акустического спектра при переходе от одного карбоцепного полимера к другому, можно объяснить изменением массы повторяющегося звена, поскольку частоты обратно пропорциональны корню квадратному из массы.

Сочава и Трапезникова проанализировали с этой точки зрения изменения скелетной теплоемкости ряда полимеров (политетрафторэтилен, полистирол, полиме-тилметакрилат) по отношению к простейшему полимеру - полиэтилену и пришли к заключению, что эти изменения действительно обусловлены главным образом изменением массы повторяющегося звена [26]. Это заключение послужило в дальнейшем основой аддитивной схемы расчета теплоемкости твердых полимеров при низких температурах, предложенной Вундерлихом и Джонсом [32].

Рис 8. Теплоемкость атакти-ческого (1) и изотактического (2) полипропилена со степенью кристалличности около 0,6. Пунктиром показала теплоемкость кристаллического полиэтилена [31].

Средние и повышенные температуры. Большинство исследований теплоемкости твердых полимеров выполнено в этом температурном интервале.

Анализ теплоемкости в этой температурной области осложняется наличием переходов и релаксационных процессов, которые могут проявляться на температурной зависимости теплоемкости как в виде хорошо выраженных аномалий (пики, скачки, горбы), так и в замедленных дрейфах теплоемкости, обусловленных медленными тепловыми процессами. Характер аномалий теплоемкости в полимерах будет рассмотрен отдельно.

Для очень многих полимеров, как аморфных, так и кристаллических, в значительных интервалах температур наблюдается линейная зависимость теплоемкости от температуры [34] со средним температурным коэффициентом [35]

 (24)

Это позволяет оценивать теплоемкость твердого полимера при любой температуре на основании одного известного значения. Обычно бывают известны теплоемкости при комнатной температуре, которые могут быть определены как экспериментально, так и на основании аддитивной схемы вкладов отдельных групп атомов.

Такие таблицы вкладов, основанные на данных для низкомолекулярных соединений, составлены ван Кревеленом [35]. Для многих кристаллических полимеров аморфные области в этом температурном интервале находятся выше температуры стеклования. Теплоемкости стеклообразных и каучукоподобных полимеров значительно различаются, и это служит основой для расчета фс - степени кристалличности на основании данных о теплоемкости кристаллических полимеров. Расчеты основаны на предположении об аддитивности вкладов в теплоемкость аморфных и кристаллических областей (двухфазная модель) и проводятся по уравнению [36, 37]

 (25)

где ср - измеренная теплоемкость, а индексы «а» и «к» относятся соответственно к аморфной и кристаллической фазам.

Это уравнение справедливо при температурах, при которых степень кристалличности постоянна.

4. Пленки и сферы применения

Упаковочные пленки присутствуют в нашей жизни повсеместно: в них упакованы многие продукты питания, канцелярские товары, одежда, из пленок сделаны пакеты и мешки…Доказано, что рынок полимерных пленок и листов - наиболее важный сектор потребления пластиковой упаковки (около 25% всего пластика), который все еще продолжает расти.

Из этих, на первый взгляд, простых материалов можно получить много различных видов продукции, начиная от общих однослойных покрытий из полиэтилена, и до многослойных высокотехнологичных материалов из специальных пластиков или гибридов пластика/металла.

Причины для использования пленок различны:

1.       Технические: пленки обладают исключительным соотношением внешний вид/вес, располагая к тому же возможностями по герметизации, защите от проникновения газов, влаги и химических смесей. Пленки позволяют наносить на товары печать и информирующие потребителя надписи. Они выглядят эстетично и легки по весу.

.        Экономические: пленки могут производиться в массовом порядке по низким ценам, и особенно хороши для производства упаковки небольшими партиями.

.        Эстетические: пленки могут придать товару внешнюю привлекательность и предложить широкие возможности по дизайну - для нанесения рисунков и надписей.

.        Экологические: снижение веса упаковки, высокие защитные способности полимеров (по сравнению с бумажной упаковкой и картоном) делают пленки более благоприятными для окружающей среды.

Где используются пленки?

Пленки могут быть использованы в следующих сферах:

.        Упаковка

.        Пищевые продукты

.        Непищевая продукция

.        «Стрейч» и термоусадочная упаковка

.        Не упаковочные материалы

Упаковка в пищевой отрасли:

Пленка в пищевой отрасли используется:

.        В качестве пакетов в супермаркетах для упаковки хлеба и хлебобулочных изделий, овощей(см рис. 9).

.        Для обертывания подносов при доставке продуктов питания в учреждения.

.        Как «пакет-в-коробке» (например, для вина).

.        Пакеты, содержащие пищу для моментального приготовления.

.        Вкладыши в картонные ящики.

.        Упаковка для птицы, морепродуктов…

Непищевое использование упаковочной пленки:

.        Мешки для транспортировки и морских перевозок…

.        Обертывание.

.        Конверты.

.        Воздушно-пузырчатая пленка(см рис.10).

.        Рамочные пакеты, стеллажи.

Стрейч (растягивающаяся) и термоусадочная упаковка:

.        Стрейч пленка - это эластичная пленка, которая может принимать форму конкретного товара. Используется для сохранения свежести таких продуктов как мясо, а при перевозках - для дополнительной защиты паллет и картона. Обычно изготавливается из LDPE(Полиэтилен низкой плотности или по-другому полиэтилен высокого давления ), LLDPE(Линейный полиэтилен низкой плотности) и PVC(Поливинилхлорид).

.        Термоусадочная пленка (из полипропилена, LDPE, LLDPE) характеризуется степенью усадки. Ею оборачивают продукцию, затем запечатывают и усаживают нагреванием для придания формы содержимого продукта. Термоусадочная пленка может использоваться для групповой упаковки, для сохранения целостности паллет, упаковки журналов и бумаг, музыкальных дисков и кассет.

 

Рис 9. Пленки для упаковки хлеба и хлебобулочных изделий, овощей

Не упаковочное применение:

Спектр использования пленок не для упаковочной индустрии очень широк:

.        Пленки для применения в сельском хозяйстве

.        Пленки, используемые как барьеры для воды и влаги в конструкциях стен, крыш и потолков, в фундаменте зданий.

.        Защитная одежда

.        Медицинские пленки

.        Чехлы для одежды, пленки для домашнего хозяйства, пакеты самообслуживания в магазинах…

.        Одноразовые подгузники

Преимущества использования полимерных пленок:

1.       Отличная защитная способность: герметичность и непроницаемость ко многим химическим веществам гарантируют безопасность окружающей среды и обеспечивают защиту товаров от бактерий. Механические показатели пленок и их возможности по дизайну также весьма высоки.

.        Легкий вес: пластиковая упаковочная пленка, которую используют при доставках, в 85% случаев легче пластиковой бутылки того же объема. Кроме того, цены на материалы для полимерной пленки и расходы на переработку отходов меньше.

.        Без полимерной упаковки вес любых упаковок увеличился бы в 4 раза как минимум.

.        Снижение стоимости: благодаря удобному обращению и снижению материального веса и транспортных расходов. Без полимеров объемы отходов возросли бы на 150%, а производственные затраты и расходы на энергию удвоились бы.

.        Сопротивляемость пленки ударам:

·        Уменьшение неудач при транспортировке товаров и повреждений товаров на складах.

·        Уменьшение случаев повреждений упаковки (например, разбитое стекло).

.        Возможность объединить некоторые полимеры друг с другом для интеграции их свойств и функций (например, совместить PVAL - барьер к маслам и полиэтилен - барьер к воде).

.        Химическое сопротивление: сопротивляемость кислотам, ржавчине, органическим соединениям, инертность к содержимому, например, к продуктам питания.

.        Гибкость пленок и их хорошая сопротивляемость (по сравнению с бумагой и картоном) - причем это последнее свойство особенно касается термопластиков.

.        Пленки реже рвутся, чем бумага, и не бьются как стекло

.        Хорошая барьерная способность препятствовать проникновению газа

.        Уникальная способность пленки к сжатию и растягиванию

.        Легкие способы обработки: нанесение надписей, придание определенной формы.

Полимерные пленки различаются по своим оптическим, химическим и механическим характеристикам, возможностям нанесения печати, а также по уровню герметических свойств.

Название полимера

Свойства полимера

Как используется в пленках

LDPE/LLDPE (ПЭВД/ЛПЭВД - Полиэтилен низкой плотности/линейный полиэтилен низкой плотности)

Прочность при растяжении и сжатии; Морозостойкость Хорошая прозрачность Хорошая сопротивляемость влаге и пару Средняя устойчивость к проникновению газов Легко термосваривается.

Термоусадочная и «стретч» пленки, пакеты, текстильные пакеты, пакеты-в-коробке (для вина), предметы одежды, мешки для транспортировки, вкладыши в картонные коробки, мешки для мусора, воздушно-пузырчатая пленка, конверты.

HDPE (ПЭНД - Полиэтилен высокой плотности)

Хорошо препятствует проникновению жидкостей, средняя сопротивляемость газам, более прочен по сравнению с другими видами полиэтиленовых пленок, устойчив к проколам, но низкая стойкость к маслам и жирам, притягивает пыль.

Пакеты, вкладыши в картонные коробки, мешки для транспортировки, материалы для изготовления конвертов, такие как Tyvek.

PP (полипропилен)

Прекрасная прозрачность, средняя способность препятствовать проникновению газа, улучшенная комбинацией с PVDC покрытием или акрилом, Хорошая сила натяжения, Более высокая температура плавления в сравнении с полиэтиленом

Упаковка для пачек с сигаретами, картонных коробок с косметикой, пищевых продуктов, медицинских товаров. Стерильная упаковка, подгузники. ПП мешки для транспортировки хим. веществ, удобрений.

PVC (ПВХ - поливинилхлорид)

Отличная прозрачность и блеск, высокая прочность при растяжении. Паропроницаемость выше, чем у полиолефинов Хорошая барьерная защита от масел и жиров Полупроницаемость для кислорода Небольшая склонность к слипанию Устойчивость к проколам, хорошая усадка

Некоторые пленки для промышленной упаковки и паллет, пакеты и вкладыши, упаковка для свежего мяса, ярлыки, клейкие ленты.

PET (ПЭТ - полиэтилентерефталат)

Хорошие механические характеристики Хорошие термальные показатели Высокий предел прочности на растяжение Идеальные защитные свойства от жиров/масел Хорошие печатные свойства Но: непригодность к термосклеиванию Плохая открываемость

Металлизированная упаковка, упаковка для микроволновых печей, пачки для сигарет, брикеты, медицинская (стерильная) упаковка, этикетки, упаковка для электронных деталей.

PVDC (ПВДХ - поливинилденхлорид)

Отличные свойства сопротивляемости жидкостям и газам Хорошая оптическая прозрачность Устойчив к проникновению жира и масла Химическая стойкость

Пленки для домашних целей, Для упаковки единичных доз фармацевтических продуктов. Барьерный слой на другие материалы, такие как полипропилен.

EVOH (этилен-виниловый спирт)

Отлично препятствует проникновению газа, однако данное свойство при увлажнении теряется

Многослойные, соэкструзионные совместно с полиэтиленом, у которого хорошие увлажняющие и барьерные свойства, модифицированная «атмосферная» упаковка

Nylon (нейлон)

Хорошая сопротивляемость проникновению кислорода, Полупроницаем к двуокиси углерода. Относительно высокая температура плавления

Применение в кулинарии и для микроволновых печей, Покрытие для других материалов (проницаемых), упаковка для сыров.

EVA (СЭВ - этилен-винил ацетат)

Отличные свойства склеивания Хорошая сопротивляемость изгибам (изломам) Хорошая способность к запечатыванию при высоких температурах

Обычно используются вместе с полиэтиленом для изготовления пакетов-в-коробке, упаковка для мяса, птицы, мороженого…


Заключение

В данной курсовой работе мы достигли следующих целей: Мы произвели изучение и систематизацию информации относительно понятия покрытий и пленок из полимерных материалов, их тепловых свойств, методов испытаний покрытий и пленок, а так же рассмотрели области их применения.

Существует огромное количество возможностей применения полимерных пленок и покрытий - от упаковочных пленок для продуктов до дезактивационных покрытий для АЭС.

Полимерные материалы обладают превосходными свойствами, и могут быть использованы там, где не могут быть использованы других материалы. Варьирование их свойств в зависимости от структуры позволяет использовать их практически везде.

·        Долговечность - срок службы таких материалов составляет до 50 лет;

·        Высокая эластичность . До температуры -45°С растяжимость материала превышает 400%;

·        Низкое водопоглощение;

·        Устойчивость к химическому воздействию.

Основные «минусы» полимеров:

·        Низкий максимум рабочих температур;

·        Высокий коэффициент теплового расширения;

·        Зависимость прочности от давления и температуры;

·        Быстрое cтарение под воздействием прямых солнечных лучей;

·        Высокий коэффициент диффузии кислорода.

Но самым главным плюсом, по моему мнению который затмевает все минусы данных изделий - это выгодность их использования, а так же удобность их применения.

Изучение полимерных материалов продолжается, и регулярно делаются новые открытия, поэтому можно сказать что полимеры - один из "материалов будущего", который уже применяется в нашей жизни, и развивается, и пока что дать ему конкуренцию в отношении полезные свойства, стоимость никакие из материалов не в состоянии.

Список используемой литературы

1.Тадмор З.И. Теоретические основы переработки полимеров, 1984, 632 с.

. Аскадский А.А. Компьютерное материаловедение полимеров Т.1 Атомно-молекулярный уровень, 1999, 544 с.

. Тугов И.И. Химия и физика полимеров, 1989, 433 с.

. Рабек Я.И. Экспериментальные методы в химии полимеров Ч.2, 1983, 480 с.

. Перепечко И.И. Введение в физику полимеров, 1978, 312 с.

. Торнер Р.В. Основные процессы переработки полимеров Теория и методы расчёта, 1972, 455 с.

. Торнер Р.В. Теоретические основы переработки полимеров, 1977, 464 с.

. Клаин Г.И. Аналитическая химия полимеров том 2, 1965, 472 с.

. Липатов Ю.С. Теплофизические и реологические характеристики полимеров, 1977, 244 с.

. Привалко В.П. Справочник по физической химии полимеров том 2, 1984, 330 с.

. Кабанов В.А. Энциклопедия полимеров Том 3, 1977, 576 с.

. Каргин В.А. Энциклопедия полимеров том 1, 1972, 612 с.

. Каргин В.А. Энциклопедия полимеров Том 1, 1974, 609 с.

. Каргин В.А. Энциклопедия полимеров Том 3, 1977, 575 с.

.Разрушение/Под ред. Г. Либовица. Пер. с аигл. Под ред. А. Ю. Ишлинско-го. М., Мир, 1973. Т. 1, 616 с.

.Журков С. Н. - Вести. АН СССР, 1968, № 3, с. 46-52.

.        Ревель В. Р., Слуцкер А. И., Томашевский Э. Е. Кинетическая природа прочности твердых тел. М, Наука, 1974. 560 с.

.        Тамуж В. П., Куксенко В. С. Микромеханика разрушения полимерных материалов. Рига, Зинатие, 1978. 294 с.

.        Кауш Г. Разрушение полимеров. Пер. с англ./Под ред. С. Б. Ратнера. М., Мир, 1981. 440 с.

.        Индебом В. Л., Орлов А. Н. - Физика металлов и металловед., 1977, т. 43!, № 3, с. 469-492.

.        Ю. К. Годовский. Теплофизические методы исследования полимеров. М., Химия, 1976

.        Каргин В. А., Слонимский Г. Л., Липатов Ю. С, ДАН СССР, 1955, т. 104, № 1, с. 96-98.

.        Слонимский Г. Л., Дикарева Т. А., Высокомол. соед., 1965, т. 7, № 7, с. 1276-1278.

.        Слонимский Г. Л., Дикарева Т. А., Павлов В. И., Высокомол. соед., 1966, т. 8, № 10, с. 1717-1721.

25.     Kri'scher 6., VDI-Z., 1958, Bd. 100, Ns 23, S. 1085.

26.     Платунов Е. С, Изв. вузов. Приборостроение, 1961, № 4, с. 90-95.

.        Кириченко Ю. А., О лей ни к Б. Н., Чадович Т. 3., Инж.-физ. ж., 1964, т. 7, с. 70-74.

28.     Hattori М., Koll.-Z. u. Z. Polymere, 1965, Bd. 202, S. 11.

29.     Черкасова Л. H., Вестник электропром., 1957, № 6, c."54- * 57.

.        Замолуев В. К., Пласт, массы, 1960, № 8, с. 46-48.

.        Генгринович Б. И., Фогель В. О., «Каучук и резина», 1957, № 9, с. 27-30.

.        Замяткин А. А. Дилатометрия растворов белков. M., «Наука», 1973, 101 с.

.        Годовский Ю. К- В кн.: Успехи химии и физики полимеров. М., «Химия», 1970, с. 173-205.

.        Лыков А. В. Теория теплопроводности. М., «Высшая школа», 1967. 599 с.

.        Кондратьев Г. М. Тепловые измерения. М., Машгиз, 1957. 244 с.

.        Марей А. И. и др., «Механика полимеров», 1970, № 5, с. 780- 784.

.        Автоматический дилатометр для исследования температурных переходов в полимерах. Информ. письмо № 19 ИХВС АН УССР, Киев, «Наукова думка», 1973.

.        Бартенев Г. М., Лукьянов И. А., ЖФХ, 1955, т. 29, № 8, с 1486-1498.

.        Бартенев Г. М., Горбаткина Ю. А., Высокомол. соед., 1959, т. 1, № 5, с. 769-775.

.        Бартенев Г. М., Гарцман В. И., Зав. лаб., 1962, т. 28, № 2, с 245-247.

.        Сидорович А. В., Ку вши некий Е. В., Зав. лаб., 1959, т. 25, № 9, с 1124-1126.

.        Андрианов К. А., Слонимский Г. Л., Годовский Ю. К., Жданов А. А., Завин Б. Г., Свистунов В. С, Высокомол. соед., 1973, Б, т. 15, № 11, с. 837-841.

.        Бессонов Ю. С. Канд. дис. Свердловск, 1974.

.        Годовский Ю. К., Слонимский Г. Л., Алексеев В. Ф., Высокомол. соед., 1969, А, т. 11, № 5, с. 1181-1186.

.        Барский Ю. П., «Труды НИИСтройкерамики», 1953, вып. 8, с. 143-166; Капустинский А. Ф., Барский Ю. П. В кн.: Труды I совещания по термографии. М. - Л., изд-во АН СССР, 1955, с. 82-84.

.        Барский Ю. П., Фридман Н. Г., Ивницкая Р. Б. Там же, с. 87-90.

.        Барский Ю. П., «Труды НИИСтройкерамики», 1960, вып. 16, с. 149-162.

.        Барский Ю. П., «Труды НИИСтройкерамики», 1961, вып. 18, с. 126-142.

.        Барский Ю. П., «Труды НИИСтройкерамики», 1962, вып. 20, с. 99-117.

.        Годовский Ю. К. Канд. дис, М., НИФХИ им. Л. Я. Карпова, 1965.

.        Скуратов СМ., Колесов В. П., Воробьев А. Ф. Термохимия. М., изд-во МГУ, 1964, ч. I, 302 с; ч. II, 434 с.

52.     Wilhoit R. С, J. Chem. Education, 1967, v. 44, № 7, p. A571; № 8, p. A629; № 9, p. A685; № 10, p. A853.

53.     У э струм Э., Мак-Калл аф Д ж. В кн.: Физика и химия твердого состояния органических соединений. Пер. с англ. Под ред. Ю. А. Пентина. Т. I. М., «Мир», 1967, с. 9-160.

.        Попов М. М., Колесов В. П., ЖОХ, 1956, т. 26, с. 2385- 2390.

.        Сочава И. В., Трапезникова О. Н., Вестник ЛГУ, 1958, т. 13, № 16, с. 65-72.

.        Бартенев Г. М., Горбаткина Ю. А., Лукьянов И. А., Пласт, массы, 1963, № 1, с. 56-64.

.        Дол М., «Химия и технология полимеров», 1962, № 1, с. 3-49.

Похожие работы на - Экспериментальные методы исследования тепловых свойств пленок из полимерных материалов

 

Не нашли материал для своей работы?
Поможем написать уникальную работу
Без плагиата!
Без нейросетей!