Розробка педагогічного курсу професійного виховання 'Механізми та елементи трансмісії'

  • Вид работы:
    Курсовая работа (т)
  • Предмет:
    Педагогика
  • Язык:
    Украинский
    ,
    Формат файла:
    MS Word
    821,67 Кб
  • Опубликовано:
    2013-11-20
Вы можете узнать стоимость помощи в написании студенческой работы.
Помощь в написании работы, которую точно примут!

Розробка педагогічного курсу професійного виховання 'Механізми та елементи трансмісії'















Курсова робота

Розробка педагогічного курса професійного виховання «Механізми та елементи трансмісії»

1.Концепція професійної освіти в Україні

професійний освіта машинобудівний механізм

1.1 Основні цілі професійної освіти в сучасних умовах

Здійснення перебудови нашого суспільства, кардинальна економічна реформа, перехід до ринкової економіки викликали необхiднiсть переосмислення i чіткого визначення ролі професійної освіти, конкретизації її мети i завдань з урахуванням нинiшнiх особливостей i перспектив соцiально-економiчного розвитку України.

Сучасна професійна освіта як невід’ємна складова частина всієї системи народної освіти сформувалася в період переважно екстенсивного розвитку економіки i техніки, коли переважали валові показники, мали місце незбалансованість підготовки робітничих кадрів з професiйно-квалiфiкацiйною структурою зайнятих у народному господарстві, невiдповiднiсть зростаючих вимог рівню професійної компетентності робiтникiв i якості загальноосвітньої та професійної підготовки, відставання змісту освіти від розвитку науково-технiчного прогресу.

Розвиток професійної освіти гальмувався внаслідок вiдсутностi справжньої державної турботи про народну освіту, духовну культуру молодого поповнення трудiвникiв. Відставання згаданої системи від науково-технiчного прогресу, залишковий принцип фінансування соціально-культурної сфери, невiдповiднiсть змісту професійної освіти вимогам сучасного виробництва та інтересам особистості, надмірна унiфiкацiя навчально-програмної документації та регламентація дiяльностi iнженерно-педагогiчних працiвникiв усе це знижувало ефективність навчально-виховного процесу в ПТУ, якість підготовки робітничих кадрів.

Поряд з низьким рівнем органiзацiї праці та недосконалістю економічного механізму, недооціненням значення впровадження нової техніки i прогресивних технологій мали місце i незбалансованість професiйно-квалiфiкацiйної структури зайнятих у народному господарстві, недостатній рівень підготовки інженерно-педагогічних кадрів тощо. Таким чином, виникла об’єктивна потреба подолання відриву навчальних закладів профтехосвiти від перебудови народногосподарського механізму, вимог науково-технічного прогресу.

У зв’язку з цим винятково важливе значення має Концепція професійної освіти України, затверджена 24 липня I99Iр. колегіями Мiнiстерства народної освіти України, Мiнiстерства праці України та Президією Академії наук України. Концепція базується на положеннях декларації про державний суверенітет України i Закону «Про освіту».

Провiднi положення концепції професійної освіти на сучасному етапі розвитку суспільства визначають зміст та основні напрями дiяльностi майстра виробничого навчання та інших iнженерно-педагогiчних працiвникiв професійних навчально-виховних закладів. Керуючись цим документом у повсякденній роботі, здійснюючи поточне та перспективне планування дiяльностi професійних закладів різного типу, необхідно практично реалізовувати концепцію з Врахуванням конкретних галузевих i територіальних умов та особливостей історичного, соцiально-економiчного i національно-культурного розвитку кожного регіону. Протягом останніх років зміни в характері професійного навчання відбуваються в контексті глобальних освітніх тенденцій, які отримали назву "мегатенденцій". Серед них:

·   масовий характер освіти та її безперервність, як нова якість;

·   значимість як для індивіда, так і для суспільства його запитів і норм;

·   орієнтація на активне засвоєння учнями способів пізнавальної діяльності;

·   адаптація освітнього процесу до запитів і потреб особистості;

·   інноваційність навчання, як соціально-філософський аспект.

Цілі професійного навчання

До основних цілей професійної освіти в сучасних умовах треба віднести:

·   створення умов для набуття професії кожного людиною і включення її в суспільно корисну, продуктивну працю відповідно до її інтересів та здібностей;

·   задоволення поточних та перспективних потреб народного господарства в кваліфікованих, конкурентноздатних працівниках, що мають широкий політехнічний світогляд, професійну мобільність, загальну культуру;

·   забезпечення перепідготовки робітничих кадрів, підвищення їх кваліфікації відповідно до сучасних вимог науково-технічного прогресу та потреб виробництва, які швидко змінюються.

Таким чином:


Звернемося до основних принципiв професiйнї освiти. Це передусiм - гуманiзацiя, демократизацiя, науковiсть її змiсту, поєднання навчання з продуктивною працею, наступнiсть iз загальною середньою i вищою освiтою. Гуманiзацiя, як принцип сучасного розвитку професiйної освiти, є одним з важливих факторiв соцiального і духовного оздоровлення суспiльства. Вона зумовлює необхiднiсть перегляду всiх компонентiв навчально-виховного процесу, вимагає змiни характеру взаємовiдносин педагогiв та учнiв, передбачає взаєморозумiння і довiри в усiх видах їх спільної дiяльностi.

Такий пiдхiд змiцнює довiру до молодої людини, повагу до її гiдностi, сприяє розвитку iнiцiативи, соцiальної вiдповiдальностi перед суспiльством, колективами училища і пiдприємства. Зрозумiло, що названi принципи спрямовуються на те, щоб сформувати у майбутнiх трудiвникiв робiтничу честь, людянiсть, поряднiсть, доброту і милосердя, прагнення допомогти своїм ровесникам та старшим. Зауважимо, що важливим принципом концепцiї є також поєднання навчання з продуктивною працею майбутнiх робiтникiв.

Реалiзацiя цих принципів у сучасних умовах дозволяє здiйснити перехiд вiд досить жорсткої регламентацiї змiсту освiти та органiзацiї навчально-виховного процесу до розробки певних стандартiв змiсту базисної частини професiйної пiдготовки, зменшення кiлькостi обов’язкових нормативних показникiв навчально-програмної документацiї. Важливе значення для майстрiв, як і iнших iнженерно-педагогiчних працiвникiв, має вимога постiйного оновлення змiсту професiйної освiти. Безумовно, все це створює бiльш широкi можливостi для творчої дiяльностi майстрiв виробничого навчання, формування в учнiв професiйної майстерностi.

Провiднi принципи, на яких побудована концепцiя, знайшли своє вiдображення в рядi важливих положень:

. Наступнiсть i взаємозв’язок загальної, професiйної і вищої освiти як ланок системи безперервної освiти.

. Неперервнiсть розвитку професiйно-освiтнього комплексу вiдповiдно до потреб особи та сучасних вимог до неї; випереджуючий характер професiйної пiдготовки у порiвняннi з науково-технiчним рiвнем виробництва.

. Рiзноманiтнiсть органiзацiйних структур, типiв навчальних закладiв, у тому числi професiйно-технiчнi, професiйно-художнi, професiйно-торговелънi, вищi професiйнi училища, центри пiдготовки та перепiдготовки робiтникiв, iнтегрованi навчальнi комплекси на базi навчальних закладiв, наукових установ, пiдприємств, радгоспiв, колгоспiв та iнших господарських органiзацiй. При професiйних навчально-виховних закладах створюються навчально-виробничi обєднання, навчальнi пiдприсмства, у тому числi й такi, що працюють за принципом самоокупностi.

. Диференцiацiя освiтнього процесу, що передбачає багатоварiантнiсть i гнучкiсть в конструюваннi змiсту, форм, методiв i засобiв навчання та виховання з врахуванням нацiональних особливостей i традицiй, специфiки пiдприємств (органiзацiй), для яких здiйснюється пiдготовка робiтничих кадрiв.

. Децентралiзацiя функцiй управлiння системою навчальних закладiв при одночасному здiйсненнi єдиної державної полiтики у галузi професiйної освiти. Розвиток форм державно-громадського управлiння профтехучилищами.

. Змiна системи фiнансування i матерiально-технiчного забезпечення навчальних закладiв, розвиток госп-договiрних основ у їх дiяльностi, перехiд до часткової виплати пiдприємствами послуг по пiдготовцi, перепiдготовцi та пiдвищенню квалiфiкацiї робiтничих кадрiв.

В умовах децентралiзацiї функцій управлiння навчальними закладами необхiдною умовою реалiзацiї концепцiї є обов’язковiсть базової загальної освiти. Водночас слід підкреслити i важливiсть забезпечення державного стандарту професiйної пiдготовки, що вiдповiдає вимогам мiжнародних сертифiкатiв про професiйну квалiфiкацiю.

Робiтничої квалiфiкацiї молодь набуває, як правило, в професiйних навчально-виховних закладах рiзного типу. При цьому слiд враховувати й те, що навчанню в ПТУ може передувати профiльна професiйна пiдготовка випускникiв основної та середньої загальноосвiтньої школи. Це обумовлює необхiднiсть об’єднання та координацiї зусиль педагогiчних та учнiвських колективiв шкiл i профтехучилищ, майстрiв виробничого навчання училищ та вчителiв трудового навчання шкiл.

Виходячи з основної мети професiйної освiти, принципiв i визначених положень, спрямованих на реалiзацiю концепцiї, органи народної освiти, iнженерно-педагогiчнi колективи училищ i базовi пiдприємства можуть визначати змiст, органiзацiйнi структури, форми, методи, засоби навчання i виховання. Це необхiдно здiйснювати на основi врахування вiкових, психофiзiологiчних особливостей учнiв, галузевих i територiальних потреб в робiтничих кадрах, нацiональних i регiональних особливостей, а також iсторiї розвитку i традицiй навчальних закладiв i галузей промислового i сiльськогосподарського виробництва, для яких здiйснюється пiдготовка квалiфiкованих робiтничих кадрiв.

Новi пiдходи до органiзацiї дiяльностi iнженерно-педагогiчного колективу, в тому числi й майстра виробничого навчання, вимагають постiйного оновлення змiсту освiти, гнучкостi у доборi форм i методiв навчання, врахування потреб особистостi i суспiльства.

Змiст освiти у професiйних навчально-виховних закладах визначається за трьома рiвнями:

Початкова професiйна освiта надає можливiсть здобування молоддю робiтничої квалiфiкацiї i однiєї або кiлькох нескладних професiй. Вона здiйснюється в основній i повнiй середнiй загальноосвiтнiй школi, на виробництвi.

Середня професiйна освiта передбачає пiдготовку квалiфiкованих робiтникiв з однiє або групи складних професiй. Вона здiйснюється на базi знань основної або повної середньої школи. Крiм того, забезпечується можливість здобути молоді разом з професiєю i повну середню освiту.

Вища професiйна освiта формує професiйну робiтничу квалiфiкацiю зі складних професiй i квалiфiкацiю молодших спецiалiстiв, якi потребують фундаментальних теоретичних знань i розвинутого технологiчного мислення. Вона здiйснюється на базi змiсту освiти повної загальноосвітньої школи та закладiв профтехосвiти.

Концепцією визначено три цикли навчальних предметiв:

. Професiйно-технiчний цикл включає загальнотехнiчнi i спецiальнi предмети та виробниче навчання. Вiн спрямований на формування робiтника широкого профiлю в рамках iнтегрованої групи професiй i на спецiалiзацiю з конкретних видiв робiт. Кожна група навчальних предметiв професiйно - технiчного циклу формується в залежностi вiд складностi професiй, заданого рiння квалiфiкацiї та термiнiв навчання.

. Природничо-науковий цикл є диференцiйованим за змiстом залежно вiд освiти i рiвня пiдготовки учнiв, профiлiв професiйної пiдготовки, можливостi здобування в училищi загальної середньої освiти. Механiчне перенесення в профтехучилища змiсту освiти середньої загальноосвiтньої школи виключається.

. Гуманiтарний цикл базується на базi освiти, здобутої за програмами основної або повної середньої школи, i спрямований на оволодiння учнями загальнолюдськими цiнностями, подальший духовний саморозвиток. Поряд з iншими предметами вiн включає українську мову й літературу, iсторiю та географiю України, дає знання про її суспiльний i державний устрiй, мiжнародне становище, про населення, природнi умови i ресурси, економiку, науку, народну творчiсть, звичаї, традицiї народiв, що проживають у рiзних регiонах.

Визначенi цикли змiсту професiйної освiти тiсно пов’язані мiж собою. Ось чому наукова обгрунтованiсть, повноцiннiсть та ефективнiсть одного з них вiдповiдно позначається на iнших. Тому майстрам виробничого навчання доцiльно брати участь у розробцi всього комплексу навчально-виховних завдань з кожного циклу.

Винятково важливе значення має диференцiацiя кожного курсу з врахуванням складностi професiї, визначених вимог до рiвня квалiфiкацiї та певних строкiв навчання. У навчальних планах i програмах училищ рiзного типу виділяються загальнодержавний та училищний компоненти. Систематичне оновлення змiсту професiйної освiти вимагає нових пiдходiв в обгрунтуваннi та розробцi навчальних планiв i програм. Як вiдомо, органи управлiння освiтою передали зазначенi функцiї iнженерно-педагогiчним колективам навчальних закладiв рiзного типу та пiдприємствам, для яких здiйснюється пiдготовка квалiфiкованих робітничих кадрів.

Кiлькiсть навчальних годин регiонального (мiсцевого) компонента змiсту певної робiтничої професiї може бути використана, по-перше, для спеціальних предметiв чи виробничого навчання, по-друге, для введення нових навчальних предметiв з метою вивчення нових та перспективних технологiй i технiки.

Безумовно, виконання цього вiдповiдального завдання потребує врахування державних стандартiв, визначених вiдповiдними квалiфiкацiйними характеристиками з кожної професiї для рiзних рiвнiв квалiфiкацi. У зв’язку цим зростає значення спiльної роботи iнженерно-педагогiчного колективу, особливо майстрiв, та спецiалiстiв вiдповiдного пiдприємства чи органiзацi щодо творчого доповнення цих стандартiв, йдеться, зокрема, про розділи «Робiтник повинен знати» та «Робiтник повинен умiти». Саме тут доцiльно максимально враховувати специфiку конкретного виробництва певної галузi народного господарства, новi технологiї, технiку та перспективи їх розвитку.

У зв’язку з цим динамiчна (варiативна) частина змiсту професійної освiти, що визначає спецiалiзацiю майбутніх робiтникiв вiдповiдно до конкретних умов виробництва, розробляється iнженерно-педагогiчними працівниками навчальних закладiв спiльно з базовими пiдприємствами та їх конкретними пiдроздiлами, на яких покладено вирiшення питань, пов’язаних з пiдготовкою кадрiв. У визначеннi змiсту варiативної частини програм на кожний навчальний рiк важливу роль покликаний вiдiгравати майстер виробничого навчання. Тут багато залежить вiд його професійної компетентності, знання потреб та перспектив розвитку базового підприємства, передового виробничого досвiду як вітчизняного, так i зарубiжного, а також вiд його творчостi та активностi.

Широкого застосування набуває варiативно-модульний пiдхiд до побудови навчальних планiв i програм, використання альтернативних пiдручникiв i методики навчання. До навчальних планiв вводяться предмети за вибором учнiв та окремi факультативнi курси. На кожному з трьох рiвнiв професiйної освiти важливе значення має перехiд вiд жорсткої регламентацiї змiсту освiти до розробки стандартiв базисної частини професiйної пiдготовки, до зменшення кiлькостi нормативної навчально-програмної документацiї. В училищах створюються умови для планування резерву навчального часу. Це дозволяє гнучко пiдходити до його використання з урахуванням нових педагогiчних i виробничих завдань.

Концепцiя виходить з того, що необхiдний рівень професiйної освiти майбутнiх робiтникiв забезпечується широтою профiлю пiдготовки, вiдповiдним рiвнем квалiфiкацiї, а також їхньою спецiалiзацiєю пiд час виробничого навчання безпосередньо в цехах, бригадах, ланках, тобто на конкретних робочих мiсцях пiдприємства. При цьому зростає значення наступностi, ускладнення навчально-виробничого процесу, його ступiнчастостi та поетапної атестацi учнiв.

Однiєю з особливостей навчально-виховного процесу в сучасних умовах є те, що заклади освiти мають право самостiйно обирати форми i методи органiзацї навчально-виховного процесу, а педагогiчнi працiвники - самостiйно визначати засоби i методи навчання i виховання учнiв з урахуванням положень загальної педагогiки та методики навчання.

Поряд з цим учням надано можливiсть самостiйно обирати факультативи, частину навчальних предметiв, достроково чи екстерном складати екзамени з навчальних предметiв, а також випускнi квалiфiкацiйнi екзамени, навчатися в разi необхiдностi за iндивiдуальним графiком. Це зумовлює необхiднiсть розширення функцiй iнженерно-педагогiчних працiвникiв, особливо майстрiв виробничого навчання. Їхнi поради необхiднi вихованцям не лише на початку навчання в училищi, а й на всiх його етапах вiд першого i до останнього дня.

Вiдповiдно до Закону «Про освiту» навчально-виховний процес у державних закладах вiльний вiд втручання полiтичних партiй, громадських, релiгiйних органiзацiй. Залучення неповнолiтнiх до участi в полiтичних акцiях пiд час навчально-виховного процесу не допускається.

Незалежно вiд рiвня професiйної пiдготовки чи типу закладу викладачi й майстри покликанi збагачувати змiст навчально-виховного процесу, посилювати увагу до задоволення національно-культурних потреб особистостi, врахування специфiки iсторiї, традицiй i досвiду базового пiдприємства чи галузi народного господарства, а також соцiально-економiчних, культурних, національних та iнших особливостей того регiону, краю, мiста чи селища, в якому знаходиться профтехучилище чи iнший навчальний заклад. Iнженерно-педагогiчнi колективи мають сприяти вiдродженню i збереженню декоративно-прикладного мистецтва, розвитку народних промислiв тощо. Зростає значення краєзнавчої роботи, народних традицiй, етнографiї, музичного та образотворчого мистецтва у формуванні особистості майбутнього робiтника.

Майстри мають великi можливостi для виховання в учнiв нацiональної самосвiдомостi, глибокої поваги до народу, його iсторiї i культури. В основу цiєї дiяльностi важливо покласти положення про діалектичне поєднання національного та iнтернацiонального, пріоритет загальнолюдських цiнностей. Залучення майбутнiх робiтникiв до скарбницi духовних та культурних багатств світової цивiлiзацiї, до розвитку духовного потенціалу українського та iнших народiв, творче опанування скарбами минулого i сучасностi, конкретна участь в охоронi пам’яток iсторiї i культури, в розвитку культурних зв’язків з усiма народами свiту - почесне завдання сучасної професiйної школи України.

Навчально-виховний процес в училищi будується на принципах демократизації i гуманізації вiдносин педагогiв та учнiв, а також учнiвського самоврядування i спiвуправлiння з урахуванням iнтересiв, нахилiв i здiбностей пiдлiткiв. При цьому слiд особливо наголосити на зростаннi ролi спiвробiтництва, спiльної творчої дiяльностi iнженерно-педагогiчних працiвникiв та учнiв, батькiв, громадських органiзацiй i трудових колективiв підприємств.

Формування громадянської зрiлостi майбутнiх робiтникiв вимагає цiлiсного пiдходу до органiзацiї навчально-виховного процесу, забезпечення гармонiйного поєднання рiзноманiтних напрямiв, засобiв, форм виховання на основi гуманiстичного осмислення внутрiшнього свiту особистостi, взаємозв’язків загальнолюдських характеристик i iндивiдуальної неповторностi, а також врахування вiкових, психологiчних та фiзiологiчних особливостей. Вiдповiдно до Концепції професійної освіти України кожен професійний навчально-виховний заклад, незалежно вiд вiдомчого пiдпорядкування, розробляє на основi дiючого законодавства свiй Статут, в якому визначаються мета i завдання його дiяльностi, органiзацiйна структура, права та обов’язки членiв iнженерно-педагогiчного та учнівського колективiв. Отже, всю навчально-виховну i виробничу дiяльнiсть слiд спрямовувати на формування в молодi високої професійної майстерності, відповідального ставлення до наслiдкiв своєї працi, потреби активної участi в охоронi навколишнього середовища. Рівень професiоналiзму, моральної i загальної культури майбутнього робітника залежить вiд спiльної дiяльностi, творчого пошуку iнженерно-педагогiчного та учнівського колективів.

Перебудова професiйної освiти на основi врахування сучасних i перспективних вимог суспiльства, науковотехнiчного прогресу вимагає змiни статусу керiвникiв, викладачiв i майстрiв. В цих умовах значно підвищується їхня особиста вiдповiдальнiсть у виборі форм i методiв навчання i виховання, органiзацiї суспiльно корисної i продуктивної працi учнiв, забезпеченнi їхньої участi у рiзних навчально-виробничих госпрозрахункових кооперативах, технiчних, рацiоналiзаторських, спортивних, художніх та iнших самодiяльних об’єднаннях. А це вимагає вiд майстрiв постiйного творчого пошуку, високої педагогічної i професійної майстерності.

Для цього в профтехнічному навчанні необхідно правильно використовувати методи і принципи.

2.Системи та методи професійно-технічного навчання

.1 Характеристика професійного навчання машинобудівного профілю

Враховуючи різноманітність робітничих машинобудівних професій, їх можливо умовно розподілити на такі групи: група верстатних; група слюсарних; група професій, які пов'язані з обслуговуванням технологічного обладнання; контролери верстатних і слюсарних робіт.

Група верстатних професій поділяється на дві підгрупи: робітники вузькоспеціалізованих верстатних професій (токар, фрезерувальник, свердлувальник, шліфувальник і таке інше), і робітники інтегрованих верстагнил професій: верстатник широкого профілю, який може виконувати обов'язки контролера ВТК; фрезерувальник з правом виконувати роботи як на універсальних, так і на вузькоспеціалізованих фрезерних верстатах (шліцефрезерувальних, зубофрезерувальних і ін.).

Друга група - це слюсарні професії, які пов'язані з основним виробництвом: слюсар-збиральник двигунів, слюсар-збиральник літаків, слюсар-збиральник автомобілів тощо.

Є також слюсарі допоміжного виробництва: слюсар-ремонтник, слюсар-інструментальник, слюсар з ремонту контрольно-вимірювальних приладів і інше.

Третя група - це наладчики і оператори технологічного устаткування: наладчик верстатів-автоматів і напівавтоматів, наладчик верстатів з ЧПК, оператор хімічних апаратів та ін.

Четверта група - це контролери з різних напрямків: верстатних, слюсарних робіт тощо.

В зв'язку зі скороченням загального виробництва зараз існує тенденція до подальшої інтеграції професій і поєднання декількох з них в одну: верстатник широкого профілю і водночас наладчик верстатів з ЧПК. Однак і в цьому випадку, як правило, відокремлюється основна і додаткова професії.

Розподіл машинобудівних робочих професій дозволяє зменшити і згрупувати їх за ознаками спільної діяльності і функцій, які виконують робітники.

Так, для верстатних професій характерними є такі елементи, як часте повторювання основних операцій при невеликій їх варіативності, можливість розчленування їх і варіювання окремими складовими у виробничих умовах, об'єднання окремих операцій у комплекси і інше. Для них навчання на перших стадіях може бути організоване безпосередньо у навчально-виробничих майстернях ПТУ.

Для іншої групи професій (наприклад операторів технологічного обладнання) навчання навіть на перших стадіях дуже важко проводити безпосередньо у ПТУ (потрібні складні тренажери-імітатори), і тому треба його проводити безпосередньо на виробництві в існуючому технологічному процесі або на окремих спеціалізованих дільницях.

Зміст навчання робітничої машинобудівної професії викладається у освітньо-професійній характеристиці.

Структура типової освітньо-професійної характеристики повинна мати такі розділи:

-й розділ - Виробничо-технічні умови:

·        предмет праці;

·        знаряддя праці;

·        зміст праці;

·        результат праці;

·        умови праці;

·        організація праці.

-й розділ - Психологічні і фізичні особливості праці:

·        сенсорні процеси і перцептивні дії;

·        розумова діяльність, яка пов'язана зі зберіганням і переробкою інформації;

·        моторні дії;

·        нервово-психологічна напруга;

·        якості особистості, які допомагають у праці;

·        фізична важкість праці;

·        існуючі протипоказання щодо цієї професії.

·        3-й розділ - Вимоги виробництва до загальної і професійної підготовки навчаемих:

·        потрібний рівень загальноосвітньої підготовки;

·        рівень загальнотехнічної підготовки;

·        рівень спеціальної (фахової) підготовки;

·        необхідні уміння та навички;

·        масовість кваліфікації;

·        спеціальний порядок допуску до виконання окремих робіт (якщо це » потрібно);

·        перспектива зросту.

Умови праці складаються з двох частин: виробничі і санітарно-гігієнічні Перша частина - це безпосередньо робоче місце робітника, його освітленість, мікрокліматичні умови, спецодяг, спецвзуття, індивідуальні засоби захисту (наприклад, для верстатників - це обов'язково використання окулярів), вентиляція на робітничому місці при обробці чавунних деталей і ін.).

Політехнічне навчання ставить собі за мету засвоєння тими, хто навчається, основних закономірностей побудови та функціонування технічних систем, вивчення основ техніки і технології, а також формування навичок, які необхідні кожній людині під час взаємодії з технікою. Цей компонент змісту освіти є наскрізним і міститься у навчальних планах підготовки фахівців будь-якого рівня і профілю. Предметом забезпечення політехнічної підготовки є вивчення загальних основ техніки і технології.

Політехнічна підготовка посідає проміжне значення між загальноосвітньою та професійною підготовками. Це проявляється у тому, що знання про основи техніки і технології є фундаментом, на якому будується вивчення спеціальних дисциплін. З другого боку, для оволодіння дисциплінами політехнічного циклу потрібні знання «Математики», «Фізики», «Хімії» та інших загальноосвітніх («шкільних») дисциплін.

Політехнічна підготовка виконує систематизуючу функцію, узагальнюючи конкретно-технічні та конкретно-технологічні знання.

Розглянемо далі дисципліни, які є політехнічними (або загальнотехнічними) для більшості робітничих професій машинобудівного профілю.

«Креслення» - одна з найважливіших загальнотехнічних навчальних дисциплін. Креслення» теоретично обґрунтовує і практично реалізує способи побудови зображень просторових фігур та їх елементів на площині, вчить прийомам побудови технічних зображень з використанням символіки, що прийнята. За допомогою креслень технічні науки здобувають можливість створювати наочний образ машини, апарату, приладу, пристосування. Якщо навчаючий знає креслення і усі необхідні при цьому умовності, він добре може при цьому зрозуміти структуру і закономірності дії різних технологічних систем ще до їх матеріальних створень. Вивчення «Креслення», яке є язиком техніки, розвиває у навчаемих просторову уяву, спостережливість, технічну творчість.

«Матеріалознавство» розглядає фізичні, хімічні, технологічні якості матеріалів, які використовуються у виробництві, допомагає розширенню політехнічного кругозору навчаемих. Воно також встановлює закономірні зв'язки між властивостями матеріалів і засобами їх обробки та використання.

«Матеріали і технологія машинобудування» вивчає якості і властивості окремих матеріалів, які використовуються у машинобудуванні, способи їх обробки . Ця дисципліна є основою «Спеціальної технології» і водночас однією з стрижньових дисциплін загальнотехнічного циклу. Вивчення цього предмету допомагає навчаемих зрозуміти основи цієї галузі виробництва, сприяє розширенню їх політехнічного кругозору.

«Електротехніка з основами промислової електроніки» є прикладною галуззю фізики. її закони використовуються тут у технічних цілях для обгрунтування розрахунків при створенні електричних машин і приладів, апаратури керування і захисту різних механізмів.

«Електротехніка» також вивчає способи одержання, передачі, перетворення, розподілу і використання електричної енергії. Електроенергетика є найважливішою частиною господарства тому, що вона використовується в усіх ланках машинобудівного виробництва.

Для усіх загальнотехнічних навчальних дисциплін важливим є принцип практичного використання природних явищ в інтересах розвитку продуктивних сил суспільства. На підставі загальних ідей і принципів технічних наук створюється об'єктивна картина світу, яка відображає загальні закономірності природи у плані практичного їх використання. Вони, разом з тим, несуть в собі поняття про людину як суб'єкт праці, який перетворює дійсність і поняття про техніку як фактор суспільного розвитку.

Функція техніки - бути засобом праці. Технічні знання займають у загальній системі наук проміжне положення між природними і суспільними галузями знань. Технічні дисципліни використовують ідеї природознавства для створення засобів праці.

Професійна освіта є одним з наскрізних компонентів змісту освіти. Мета професійної освіти - підготовка людини до виконання певних функцій у межах суспільного розподілу праці. Машинобудування - одне з головних підрозділів народного господарства. Воно налічує дуже багато робітничих професій, класифікація яких була наведена вище.

В Україні у відповідності з законом "Про освіту" в структуру професійно-технічної освіти входять: одержання навчаємими професії, їх перепідготовка і підвищення кваліфікації.

Існують такі кваліфікаційні рівні:

■ кваліфікований робітник (випускник професійно-технічного училища);

■ молодший спеціаліст (випускник технікуму або вищого професійного училища);

■ бакалавр (випускник коледжу або іншого навчального закладу другого рівня акредитації);

■ спеціаліст (випускник вищого навчального закладу третього рівня акредитації);

■ магістр (випускник вищого навчального закладу четвертого рівня акредитації).

Структура технологічної діяльності робітника будь-якої машинобудівної професії містить предмет діяльності, засоби і результат. Функція діяльності-це те, що робить робочий у процесі своєї діяльності.

Для того, щоб систематизувати функції діяльності робочого машинобудівного профілю, їх слід розподілити по таким компонентам.

Перший - це підготовча функція, куди входять допоміжні дії робітника, пов'язані з підготовкою його безпосередньо до роботи: одержання необхідної технічної і технологічної документації, перевірка наявності і справності технологічного обладнання, одержання та підготовка до роботи необхідного контрольно-вимірювального інструменту та деяке інше.

Цей компонент є обов'язковим для усякої робітничої професії. Його структура може змінюватися в залежності від конкретної професії. Наприклад, для верстатника, сюди додатково входить визначення способу складування заготовок і готових деталей, знятих з верстата, уяснення технологічної послідовності обробки заготовок і інше.

Для слюсаря-ремонтника це: перевірка готовності до роботи механізованого інструменту, перевірка забезпечення робочого місця необхідними запасними деталями і комплектуючими елементами і інше.

Друга функція - це технологічна .Вона передбачає безпосереднє ведення самої роботи. Для верстатника вона має такі складові елементи, як стеження за процесом обробки заготовок, перевірка додержання заданих режимів різання, визначення можливих неполадок у роботі верстата, визначення моменту заміни ріжучого інструменту з-за його зносу, керування підйомним і технологічним транспортом і деякі інші.

Для слюсаря це: виконання безпосередньо слюсарних операцій: розмітки, рубки, правки, шабрування, складання або розбирання збірних одиниць різного призначення, складання роз'ємних або нероз'ємних з'єднань тощо.

Третя функція - це контрольна. Вона містить у собі контрольні дії по здійсненню відповідних операцій: верстатних, слюсарних і інших, виконання контролю лінійних та діаметральних розмірів деталей, перевірку шорсткості їх робочих поверхонь, якості виконання складальних робіт тощо.

І нарешті, організаційна функція: виконання вимог безпеки праці на конкретному робочому місці, забезпечення електробезпеки і пожежної безпеки і таке інше.

Другим елементом структури діяльності робінника є предмет діяльності, тобто те, яку конкретну роботу виконує кожний робітник.

Наприклад, на підготовчому етапі для верстатника предметом діяльності є: креслення деталі і операційна технологічна карта (одержання і знайомство з технічною документацією), різальний інструмент і заточний верстат (підготовка до роботи ріжучого інструменту).

На технологічному етапі для того ж верстатника предметом діяльності є: заготовка, що обробляється . Для слюсаря це: інструмент або деталь , що використовується.

На етапі контролювання це може бути готова деталь або складений робітниками вузол.

На організаційному етапі це: необхідна інструкція або текстовий документ, правила (або вимоги) Держнагляду України, відповідний державний стандарт, технічні вимоги до виготовлення виробу і ін.

Нарешті, третім елементом структури технологічної діяльності робітника є засоби діяльності, тобто знаряддя праці і уміння по іх використанню.

Наприклад, при підготовці робочих поверхонь заготовки до розмітки (підготовча функція діяльності слюсаря) - це необхідний інструмент і уміння виконувати відповідні слюсарні операції.

Для верстатників умовою виконання робіт з використанням плазмено-механічної обробки (технологічна діяльність) є відповідні знаряддя праці і уміння користуватися плазмено-механічними пристосуваннями, які встановлюються на універсальний токарний верстат.

Знання структури технології діяльності робітника будь-якої машинобудівної професії допомагає педагогу раціонально планувати і організовувати процес теоретичного навчання.

.2 Методи професійного навчання

Метод (буквально шлях до чогось) означає спосіб досягнення мети, певним чином упорядковану діяльність.

Методом навчання називають спосіб упорядкованої взаємозв’язаної діяльності викладача, направленої на рішення завдань виховання і розвитку учнів в процесі навчання.

Методи навчання є одним з найважливіших компонентів навчального процесу. Без відповідних методів діяльності неможливо реалізувати мету і завдання навчання, досягнути засвоєння учнями певного змісту навчального матеріалу.

Основні групи методів

Слід виділити три основні групи методів навчання:

·        методи організації і здійснення навчально-пізнавальної діяльності;

·        методи стимулювання і мотивації навчальної діяльності;

·        методи контролю і самоконтролю за ефективністю навчально-пізнавальної діяльності.

Класифікація методів навчання є відносно цілісною тому, що вона враховує всі основні структурні елементи діяльності (її організацію, стимулювання і контроль). В ній цілісно показані такі аспекти пізнавальної діяльності, як сприймання, осмислення і практичне застосування. Вона враховує всі основні функції і сторони методів, виявлені педагогічною наукою, не відкидаючи не одну з них. Але вона не просто механічно з'єднує відомі підходи, а розглядає їх у взаємозв'язку і єдності, вимагаючи вибору їхнього оптимального поєднання. Нарешті, підхід, що пропонується до класифікації методів, не виключає можливості доповнення його новими приватними методами, що виникають в ході вдосконалення процесу навчання в сучасній школі.

Перш ніж перейти до характеристики окремих методів навчання, необхідно відзначити, що кожний метод може складатися з сукупності методичних прийомів. На цій підставі часом методи визначають як сукупність методичних прийомів, що забезпечують рішення завдань навчання.

Перейдемо до більш докладного опису всіх основних груп методів навчання в освіті.

Словесні методи навчання

До словесних методів навчання відносяться оповідання, лекція, бесіда і ін. В процесі їхнього роз'яснення викладач шляхом слова викладає, пояснює навчальний матеріал, а студенти шляхом слухання, запам’ятовування і осмислення активно його сприймають і засвоюють.

Розповіді.

Цей метод припускає усну розповідь викладання навчального матеріалу, яка не переривається питаннями учнів.

Можливі декілька виглядів розповіді - розповідь-вступ, розповідь-викладання, розповідь-висновок. Мета першого - підготовка до сприймання нового навчального матеріалу, що може бути проведене іншими методами, наприклад, бесідою. Цей вигляд оповідання характеризується відносною стислістю, яскравістю, емоціональністю викладення, що дозволяє викликати інтерес до нової теми, порушити потребу в її активному засвоєнні.

Під час другого методу викладач розкриває зміст нової теми, здійснює виклад по певному логічному плану, що розвивається, в чіткій послідовності, з вичлененням головного, істотного, з застосуванням ілюстрацій і переконливих прикладів.

Розповідь-висновок звичайно проводиться в кінці заняття. Викладач в ньому резюмує головні думки, робить висновки і узагальнення, дає завдання для подальшої самостійної роботи по цій темі.

В ході застосування методу розповідь використовуються такі методичні прийоми, як викладення інформації, активізація уваги, прийоми прискорення запам’ятовування (мнемонічні, асоціативні), логічні прийоми порівняння, виділення головного, резюмування, форми діалогу.

Умовами ефективного застосування розповіді є ретельне продумування теми, вдалий підбір прикладів і ілюстрацій, підтримання належного емоційного тонусу викладення, використання навчаючих запитань-підказок.

Навчальна лекція.

Як один з словесних методів навчання навчальна лекція припускає усне викладення матеріалу, що відрізняється великою ємністю, ніж розповіді, великою складністю логічних побудов, образів, доказів і узагальнень. Лекція, як правило, займає все заняття, в той час як оповідання займає лише його частину.

В ході лекції використовуються прийоми усного викладення інформації, як в розповіді, підтримання уваги протягом тривалого часу, активізації мислення слухачів, прийоми забезпечення логічного запам’ятовування, переконання, аргументації, доказів, класифікації, систематизації і узагальнення. Найкращім прикладом може бути лекція-діалог.

Подібним методом легше всього користуватися за допомогою аудіокасет, а також за допомогою відеотехніки, а також супутникового телебачення, хоча лекцію можна ще доповнювати за допомогою конспекту, книги чи комп'ютерного пакету.

Бесіда.

Метод бесіди припускає розмову викладача з учнями. Бесіда організується з допомогою ретельно продуманої системи питань, що поступово підводять учнів до засвоєння системи фактів, нового поняття або закономірності.

В ході застосування методу бесіди використовуються прийоми порушення питань (основних, додаткових, навідних і ін.), обговорення відповідей і думок учнями, корегування їх відповідей, прийоми формулювання висновків з бесіди.

Питання до бесіди повинні бути достатньо ємними для цілісного сприймання. Питання не повинні вимагати односкладових відповідей. Викладач може використати допоміжні, навідні запитання, що дозволять продовжити обговорення проблеми.

Наочні методи навчання

Наочні методи достатньо важливі для учнів, це є візуальним сприймання дійсності. Сучасна дидактика вимагає більш раціональних варіантів застосування методів наочності, що дозволять досягнути більшого освітнього і виховного результату, а так ж розвиваючого ефекту. Як говориться у роботі дидактика орієнтує педагогів на таке застосування наочних методів навчання, щоб водночас мати можливість розвивати мислення учнів.

Особливістю наочних методів навчання є те, що вони обов'язково пропонуються в тій або іншій мірі, сполучаючись зі словесними методами. Тісний взаємозв'язок слова і наочності випливає з того, що діалектичний шлях пізнання об'єктивної реальності припускає застосування в єдності живого споглядання, абстрактного мислення і практики. Вчення І. П. Павлова про першу і другу сигнальні системи показує, що при пізнанні явищ дійсності вони повинні застосовуватися у взаємозв'язку.

Існують різноманітні форми зв'язку слова і наочності. Віддати якійсь з них повну перевагу було б помилковим, бо в залежності від особливостей завдань навчання, змісту теми, характеру наявних наочних методів, а також рівня підготовленості учнів, необхідно в кожному конкретному випадку обирати найбільш раціональне поєднання.

Практичні методи навчання

Практичні методи навчання охоплюють надто широкий діапазон різноманітних виглядів діяльності учнів. Під час використання практичних методів навчання застосовуються прийоми: постановка завдання, планування його виконання, оперативного стимулювання, регулювання і контролю, аналізу підсумків практичної роботи, виявлення причин недоліків, корегування навчання для повного досягнення мети.

До практичних методів відносяться також вправи, що виконуються учнями зі звукозаписною, звуковідтворювальною апаратурою, сюди ж відносяться комп'ютери.

Проблемно-пошукові методи

Проблемно-пошукові методи застосовуються в ході проблемного навчання. Слід зауважити, що під проблемною ситуацією треба вважати невідповідність між тим, що вивчається і вже вивченим. При використанні проблемно-пошукових методів навчання викладач використовує такі прийоми: створює проблемну ситуацію (ставить питання, пропонує задачу, експериментальне завдання), організує колективне обговорення можливих підходів до рішення проблемної ситуації, стимулює висування гіпотез, тощо. Студенти роблять припущення про шляхи вирішення проблемної ситуації, узагальнюють раніше набуті знання, виявляють причини явищ, пояснюють їхнє походження, вибирають найбільш раціональний варіант вирішення     проблемної ситуації. Викладач обов'язково керує цим процесом на всіх етапах, а також за допомогою запитань-підказок.

Проблемно-пошукові методи навчання дуже ефективні для дистанційного навчання. В зв'язку з цим прийнято говорити про методи проблемного викладання навчального матеріалу, про проблемні і евристичні бесіди, про застосування наочних методів проблемно-пошукового типу, про проведення проблемно-пошукових практичних робіт дослідницького виду. На думку І.Я. Лернера, цей вид методів включає в себе такі його окремі випадки, як метод проблемного викладання, частково-пошуковий, або евристичний, дослідницький методи навчання. Окремими випадками проблемно-пошукового методу частково є запропоновані М.І. Махмутовим бінарні методи: пояснювально-спонукальний і частково-пошуковий, спонукальний і пошуковий.

Проблемно-пошукові методи в дистанційному навчанні застосовуються здебільшого з метою розвитку навиків творчої навчально-пізнавальної діяльності, вони сприяють більш осмисленому і самостійному оволодінню знаннями. Особливо ефективно застосовуються ці методи в тих випадках, коли у студентів сформована культура пізнавальної діяльності, інтересів і здібностей, а також глибокі і міцні знання.

Наочно-демонстраційний

У профтехучилищах застосовуються рiзнi види демонстрацiй, якi можна подiлити на три основнi групи:

демонстрацiя об’єктiв i процесiв, що вивчаються, у натуральному, природному виглядi (роздатковий матерiал, макети, моделi, показ прийомiв роботи, проведення дослiдiв);

демонстрацiя зображень, у тому числi символiчних, умовних (креслення, принципові монтажнi, кiнематичнi, електро-, радiотехнiчнi схеми та iн.);

демонстрацiя за допомогою iнформацiйних технiчних засобiв навчання, у тому числi навчального кінематографа i телебачення, комп’ютерів, кадрiв дiафiльмiв тощо.

До засобiв наочностi фактично можна вiднести виробничо-технiчнi документи - робочі креслення, технологiчнi картки, технiчнi iнструкцiї, схеми, графiки, виготовленi, як правило, у виглядi планшета досить великих розмiрiв. Зупинимося на основних дидактичних вимогах до застосування засобiв наочностi у навчально-виховному процесi.

По-перше, учнi повиннi знати, що саме i з якою метою вони мають спостерiгати, на що треба звернути особливу увагу.

По-друге, необхiдно забезпечити чiтку видимiсть засобу наочностi з усiх робочих мiсць учнiв. Скажiмо, якщо кiлькiсть одиниць роздаткового матерiалу, технологiчних карток збiгається з кiлькiстю учнiв у навчальнiй групi, то це забезпечує виконання правила бiльшою мiрою, нiж у випадку демонстрацiї плаката невеликих розмiрiв з нерозбiрливим на вiдстанi текстом.

По-третє, результати навчання полiпшуються у тому разi, коли засоби наочностi впливають не тiльки на зiр, а й на iншi органи чуття, скажiмо, слух, дотик.

По-четверте, слiд використовувати всi можливостi для показу явища або процесу в русi. Так, дiюча модель радiомовного приймача, розгорнута на площинi, має незаперечнi переваги щодо цього перед реальним зразком радiоприймача. Такi самi висновки можна зробити, порівнюючи плакат з рисунком двигуна i його дiючу модель.

Окремим видом демонстрацiї слiд вважати практичний показ майстром трудових процесiв. Зрозумiло, навiть квалiфiкований словесний коментар не може замiнити реальний показ процесiв, а детальнi пояснения прийомiв монтажу електротехнічної схеми з допомогою електропаяльника мало кориснi, якщо учнi нiколи не бачили, як працюють з паяльником досвiдченi робiтники. Практичний показ необхiдно використовувати у тих випадках, коли треба сформувати у свiдомостi учнiв правильний спосiб використання трудових дiй. Цей висновок справедливий як при роботi з ручними iнструментами, так i при управлiннi машинами i механiзмами.

Самостійної роботи.

Самостійність - це здібність окремої особистості систематизувати та регулювати свою діяльність без безпосереднього постійного керівництва і практичної! допомоги з боку керівника (при навчанні - викладача).

Самостійна робота має велике виховне значення: вона формує самостійність не тільки як сукупність визначених умінь і навичок, але й як рису характеру, яка відіграє дуже важливу роль у структурі особистості фахівця.

Самостійна робота навчаємих - це специфічна діяльність, головною метою якої є формування у них знань, умінь і навичок. Воно відбувається опосередковано через зміст і методи навчальних занять.

Самостійність базується на таких особистих якостях, як упевненість у своєму успіху, наполегливості, упертості у досягненні мети, самоволодінні у різних умовах^ діяльності, критичності, ініціативності, дисциплінованості.

Самостійна робота повинна бути організована таким чином, щоб ці і інші якості, особистості мали прояв у діяльності навчаємих.

Вимірювати «міру розвитку самостійності» можливо по кількості навчальних тижнів, на протязі яких навчаємий займається нею.

Один з можливих напрямків самостійної роботи, який розроблений проф. В.А. Казаковим, це задачносна концепція виконання самостійноїроботи. Такий підхід дозволяє вирішувати багато організаційно-мєтодичних проблем самостійної роботи. В.А. Казаков запропонував покласти в осмосу самостійної роботи при професійному навчанні систему типових завдань по спеціальності, тобто в цих завданнях треба сформулювати комплексні запитання, які охоплюють знання з більшості навчальних дисциплін, що вивчає майбутній фахівець. Наприклад, типове завдання зі спеціальності .Технологія і обладнання механоскладального виробництва» при цьому виглядає як розробка технології виготовлення конкретної деталі, на яку є креслення.

Навчаємий, який виконує таке завдання, повинен проявити знання з багатьох фахових і фахово орієнтованих дисциплін, у тому числі таких, як: «Метрологія, стандартизація і технічні вимірювання» (при вирішенні питань вибору інструменту для контролю і вимірювання), «Металоріжучі верстати» (вибір обладнання для обробки цієї деталі), «Технологія машинобудування» (встановлення послідовності обробки заготовки), «Економіка і менеджмент» (вибір раціонального варіанту виго говлення заг отовки) і таке інше. Імітуючи професійну діяльність, таке комплексне завдання вимагає від навчаємого знань на рівні їх практичного використання. Ніякі підручники у даному випадку не можуть надати безпосередню допомогу при їх виконанні.

Є ще одна система типових завдань - завдання з конкретної навчальної дисципліни. Вони є більш вузькими, ніж перші. Але методичні підходи до їх створення і вирішення такі ж самі.

Ці завдання розподіляються на два рівня. Завдання першого рівня вирішують проблеми формування вмінь і навичок самостійної роботи: пошуку і обробки навчальної інформації, планування своєї діяльності, визначення інтенсивності особистої праці і інше.

Завдання другого рівня допомагають формуванню вмінь у вирішенні проблем наступної професійної діяльності фахівців різного рівня.

.3 Системи професійно-технічного навчання

Під системою виробничого навчання розуміємо порядок розчленування змісту виробничого навчання, групування його частин і послідовність засвоєння їх учнями. Для того, щоб полегшити тлумачення сутності цього важливого поняття, коротко охарактеризуємо кожну з найпоширеніших систем навчання.

Виробниче навчання на різних етапах розвитку професійної освіти в нашій країні проводиться на основі різних систем. Вибір кожної з них залежить від умов, в яких здійснюється навчальний процес, від того, наскільки вони наближаються до реальних умов праці на конкретному виробництві, від рівня розвитку продуктивних сил.

Порядок розчленування змісту і його групування набули такого великого значення через те, що вони визначають реальні співвідношення виробничого навчання і виробництва. Сучасний підхід до визначення сутності системи виробничого навчання такий: система це об’єктивна єдність змісту, форм, методів навчання і дидактичних засобів професійної підготовки, яка забезпечує учням можливість послідовно оволодіти трудовими прийомами, комплексами трудових операцій і видами робіт, характерних даної професії.

Позитивні якості операційно-комплексної системи незаперечні. З 30-х років цю систему вперше впровадили у радянську професійно-технічну школу, вона і тепер досить широко застосовується в ПТУ нашої держави. Однак не можна вважати, що ця система позбавлена будь-яких недоліків. Багато в чому вона віддзеркалює той етап розвитку техніки і технології, коли найбільшого поширення набули професії, орієнтовані на ручні і машинно-ручні операції.

Операційно-комплексна система найбільш поширена порівняно з іншими системами виробничого навчання. Переважна більшість програми виробничого навчання з професій металообробки, обробки деревини, електротехніки базується саме на операційно-комплексній системі. Сутність цієї системи така: учні спочатку вивчають і засвоюють загальні прийоми роботи, а далі послідовне вивчення операцій поєднується з виконанням комплексних робіт, що включають усі вивчені операції. Операції підбирають з урахуванням їхньої типової технологічної послідовності, але у такий спосіб, що спочатку засвоюються більш прості і легкі операції, а далі складніші, тобто враховуються і дидактичні, і технологічні ознаки.

Із психологічної точки зору певні недоліки операційно-комплексної системи полягають у тому, що важко забезпечити чіткий і надійний зв'язок операційних вправ і комплексних робіт з відповідними темами предметів профтехциклу, зокрема, спеціальної технології. Узагальнення педагогічного досвіду ряду майстрів виробничого навчання і науково-педагогічні дослідження довели, що операційно-комплексна система не забезпечує повною мірою виконання вимог до формування професійної майстерності. Деякі з цих недоліків можна усунути з переходом до проблемно-аналітичної системи, запропонованої академіком С.Я. Батищевим на початку 60-х років. Теоретичні засади цієї системи, на думку цього вченого, мають ряд переваг порівняно з іншими системами. Весь матеріал програми виробничого навчання розділяють на окремі навчальні проблеми, кожна з яких має, наскільки це можливо, самостійне значення. Учні засвоюють відповідні вміння і навички, вивчають проблему за проблемою у чітко визначеній послідовності. Фактично послідовність навчання залежить від логіки технологічного процесу і характеру участі у ньому робітника відповідної професії.

3.Конструювання педагогічних технологій по темі «Механізми та елементи трансмісії»

.1 Поняття про урок теоретичного навчання

Урок - форма організації навчання, за якої навчальні заняття проводяться вчителем із групою учнів постійного складу, одного віку й рівня підготовленості протягом точно встановленого часу, за сталим розкладом. Умовно кажучи, урок - це «відрізок» навчального процесу, який є закінченим за смислом, у часі й організаційно.

Від якості уроку залежить ефективність функціонування всього навчального закладу. Тому багато теоретиків і практиків працюють над його вдосконаленням.

Загальні вимоги до уроку такі:

• проведення уроку на основі сучасних наукових досягнень, передового педагогічного досвіду, закономірностей навчального процесу;

• проведення уроку на основі методик гуманних дидактичних концепцій;

• особистісна спрямованість, тобто забезпечення учням умов для самореалізації та ефективної навчально-пізнавальної діяльності з урахуванням їхніх інтересів, потреб, нахилів, здібностей та життєвих настанов;

• оптимальне поєднання і системна реалізація на уроці дидактичних принципів;

• встановлення міжпредметних зв'язків, які усвідомлюються учнями;

• зв'язок із раніше засвоєними знаннями, навичками, уміннями, опора на досягнутий рівень розвитку учнів;

• актуалізація, стимулювання й активізація розвитку всіх сфер особистості учня: мотиваційної, пізнавальної, емоційно-вольової, фізичної, моральної тощо;

• логічність, вмотивованість і емоційність усіх етапів навчально-пізнавальної діяльності учнів;

• ефективне застосування сучасних дидактичних засобів, особливо - комп'ютерних;

• тісний зв'язок із життям, першою чергою - з особистим досвідом учня;

• формування практично необхідних знань, навичок, умінь, ефективної методики навчально-пізнавальної діяльності;

• формування мотивації навчально-пізнавальних дій, професійного становлення, потреби постійної самоосвіти;

• діагностика, прогнозування, проектування і планування кожного уроку.

Окрім цього, кожен урок має сприяти ефективній реалізації основних функцій дидактичного процесу - освітньої, розвиваючої, виховної та самовдосконалювальної. В контексті сучасних концепцій навчання на перший план, замість освітньої, виходить виховна функція дидактичного процесу - формування всебічно та гармонійно розвинутої особистості. Це вимагає, безумовно, змінити парадигми уроку з метою формування духовного світу учня, допомоги в його самоактуалізації та самореалізації, визнання права бути суб'єктом навчального процесу і формування суб'єкт-суб'єктних взаємин на кожному уроці. Така парадигма має бути гуманною і особистісно-спрямованою. Відповідно, ґрунтовно змінюється зміст цих функцій та вимоги до уроку.

Виховні вимоги до уроку:

формування і розвиток в учнів національної свідомості, самосвідомості та ментальності, провідних рис громадянина своєї держави;

формування в учнів високої духовності, підвалину якої мають становити загальнолюдські, національні та професійні цінності, широка моральна, правова, екологічна, політична, художньо-естетична й фізична культура;

формування і розвиток в учнів активної життєвої настанови, допомога в самоактуалізації та самореалізації у навчальному процесі та майбутній професійній діяльності;

вміле поєднання дидактичних, розвиваючих і виховних завдань кожного уроку та їх творче спрямування на формування і розвиток всебічно і гармонійно розвиненої особистості;

формування і розвиток мотивації постійного самовдосконалення і змістовної професійної діяльності шляхом реалізації потенційних інтелектуальних, фізичних та інших можливостей;

підпорядкування виховної мети кожного уроку загальній меті виховання тощо.

Розвиваючі вимоги до уроку:

спрямованість кожного уроку на максимальний розвиток духовних, інтелектуальних, фізичних і творчих здібностей кожного учня, його провідних психічних рис;

- направленість кожного уроку на «зону найближчого розвитку» учня та її творче проектування і реалізація;

- проведення занять з урахуванням індивідуально-психічних особливостей кожного учня та активна допомога в його самовдосконаленні тощо.

Дидактичні вимоги до уроку:

чітке визначення освітніх завдань кожного уроку та їх творче поєднання із загальною метою вивчення конкретного предмета й формування особистості учня в навчально-виховному процесі;

оптимальне визначення змістового компонента кожного уроку з урахуванням особистісної спрямованості навчально-виховного процесу;

широке використання методів, прийомів і способів активізації навчально-пізнавальної діяльності учнів та їхнього творчого розвитку;

творчий підхід до обґрунтування методики проведення кожного уроку;

опора на загальнолюдські цінності в застосуванні принципів навчання;

забезпечення активного зворотного зв'язку, дієвого контролю і управління тощо.

Крім зазначених, обов'язково слід мати на увазі й інші вимоги до уроку: - організаційні (чіткість, раціональне використання часу, обладнання, дисципліна тощо);

управлінські (цілеспрямованість, оперативність, конкретність, стиль управління тощо);

санітарно-гігієнічні (температура, освітленість, працездатність, перевтома тощо);

етичні (рішучість, вимогливість, принциповість, справедливість, тактовність тощо);

психологічні (врахування індивідуально-психічних особливостей учнів, психічного стану учнів і вчителя, настрою вчителя та ін.) тощо.

Класифікацій уроків є десятки. Проблема ця дуже складна і не вирішена остаточно ні у світовій, ні у вітчизняній дидактиці.

Сучасна класифікація уроків здійснюється на основі дидактичної мети. Авторами такої класифікації є В.О. Онищук, М.А. Сорокін, М.І. Махмутов та ін.

Типи уроків теоретичного навчання:

• комбіновані (змішані) уроки;

• уроки засвоєння нових знань;

• уроки формування навичок і вмінь;

• уроки узагальнення і систематизації знань;

• уроки практичного застосування знань, навичок і умінь;

• уроки контролю і корекції знань, навичок і вмінь.

Така класифікація є найзручнішою для планування, прогнозування діяльності вчителя, обґрунтування методики кожного уроку.

Кожен тип уроку має свою структуру, тобто етапи побудови уроку, їх послідовність, взаємозв'язки між ними. Характер елементів структури визначається завданнями, які слід постійно вирішувати на уроках певного типу, щоб найбільш оптимальним шляхом досягти тієї чи іншої дидактичної, розвиваючої та виховної мети уроку. Визначення і послідовність цих завдань залежать від логіки і закономірностей навчального процесу. Зрозуміло, логіка засвоєння знань відрізняється від логіки формування навичок і вмінь, а тому і різниться структура уроків відповідних типів. Кожний тип уроку має свою структуру.

• Комбінований урок: перевірка виконання учнями домашнього завдання практичного характеру; перевірка, оцінка і корекція раніше засвоєних знань, навичок і вмінь; відтворення і корекція опорних знань учнів; повідомлення теми, мети і завдань уроку та формування мотивації учіння; сприймання й усвідомлення учнями нового матеріалу; осмислення, узагальнення і систематизація нових знань; підсумки уроку і повідомлення домашнього завдання. З усіх зазначених типів комбінований урок найпоширеніший у сучасній загальноосвітній школі. Йому належить 75-80 відсотків загальної кількості уроків, що проводяться. Цей тип уроку здебільшого використовується в початкових і середніх класах.

Розкриємо зміст основних етапів комбінованого уроку.

Підготовка вчителя до уроку. Цей етап передбачає: вивчення учнів класу; стилю викладання інших вчителів у цьому класі; докладне вивчення змісту навчального матеріалу; планування навчальної роботи; підготовку навчально-матеріальної бази.

Підготовка вчителя до конкретного уроку. В.О. Сухомлинський зазначав, що вчитель до уроку готується все своє життя. Його підготовка до конкретного уроку включає: формулювання теми; визначення виховної, розвиваючої та дидактичної цілей уроку; підбір конкретного матеріалу до теми; визначення структури вибраного типу уроку; визначення методики уроку; підготовку дидактичних засобів і матеріалів; визначення форми контролю й оцінки знань, навичок і вмінь; визначення місця й ролі спостереження, демонстрування засобів наочності і опитування в рамках уроку; перевірку своєї готовності до уроку; перевірку готовності учнів до уроку.

Тематичне планування передбачає визначення типу уроку; визначення обсягу навчального матеріалу; підготовку засобів наочності, використання технічних засобів навчання й підбір фактичного матеріалу.

Поурочний план включає дату проведення уроку, його порядковий номер за тематичним планом; назву, тип уроку і його мету; структуру уроку; зміст уроку; методи роботи вчителя й учнів; навчальне обладнання і домашнє завдання.

Початок уроку. Організація активної участі учнів в уроці є важливою методичною проблемою. Вона не повинна забирати багато часу, тому учнів бажано залучати до навчально-пізнавальної діяльності з першої хвилини уроку. Для цього початок уроку має бути динамічним, давати учням заряд енергії, бадьорості, діловитості. Урок починається так: взаємне вітання вчителя й учнів; перевірка відсутніх; перевірка зовнішнього стану приміщення; перевірка робочих місць та зовнішнього вигляду учнів; організація уваги.

Важливість повторювально-навчальної роботи зумовлена трьома причинами:

) більш відповідальним ставленням учнів до підготовки до уроку, бо їхні знання обов'язково перевіряються;

) актуалізацією знань учнів під час перевірки, що сприяє усвідомленню, поглибленню, систематизації та закріпленню навчального матеріалу;

) спрямованістю повторення і перевірки знань на розвиток мовлення та мислення учнів. Тому ця робота має бути творчою і, водночас, націленою як на окремого учня, так і на весь клас.

З цією метою можна застосувати індивідуальне усне опитування, фронтальне та інші види опитування з поурочним оцінюванням.

Повідомлення теми, цілі й завдань уроку. Тему кожного уроку вчитель повідомляє на початку заняття або роботи над новим матеріалом. При цьому важливо чітко її сформулювати, визначити завдання уроку й основні питання, які учні мають засвоїти.

Мотивування вчителем навчально-пізнавальної діяльності учнів має відбуватися протягом всього уроку. Воно спрямоване на формування і розвиток в учнів широких інтересів, потреб в різноманітних знаннях, чітких життєвих перспектив, професійної орієнтації та самовдосконалення. Мотиви - це внутрішні імпульси, які спонукають учня до активної навчально-пізнавальної діяльності.

Пояснення матеріалу. Цей етап повинен відповідати таким вимогам: учитель має продумати своє місце в класі, щоб його було чути і видно всім учням; не ходити по класу; говорити голосно і чітко; темп розповіді має бути розміреним; мова доступною. При цьому важливо спиратися на попередній досвід учнів; виділяти істотне й головне в навчальному матеріалі; послідовно викладати тему; використовувати ілюстративний і демонстраційний матеріал.

Сприймання, осмислення і засвоєння нового матеріалу. Сприймання є першим етапом процесу засвоєння учнями нового матеріалу. Воно найбільш успішне, коли правильно поєднано виклад матеріалу, наочні посібники та самостійну роботу учнів. Осмислення знань - це заглиблення в суть явищ, процесів, які вивчаються. Воно передбачає насамперед розкриття внутрішніх закономірностей цих явиш. Основними прийомами такої роботи є аналіз і синтез, абстрагування і конкретизація, порівняння й узагальнення, моделювання, класифікація тощо.

Формування навичок і вмінь. Разом із засвоєнням навчального матеріалу учні засвоюють різноманітні навички та вміння, що формуються на основі знань. Основні компоненти формування навичок і вмінь: розбір і засвоєння правила, яке лежить в основі навички; подолання труднощів під час набуття навички; вдосконалення й автоматизація навички; закріплення досягнутого рівня навички та використання її на практиці. Основним методом формування навичок є вправи.

Підбиваючи підсумки уроку, вчитель коротко повідомляє цілі уроку і визначає, чи досягнуті вони, оцінює дисципліну як окремих учнів, так і всього класу.

Домашнє завдання. Методика передбачає чітку систему домашніх завдань; визначення і конкретизацію окремого домашнього завдання; визначення часу на ознайомлення з ним учнів; дохідливість домашнього завдання; інструктаж про його виконання.

• Урок засвоєння нових знань: перевірка домашнього завдання, актуалізація і корекція опорних знань; повідомлення теми, цілей і завдань уроку; мотивування учіння; сприймання й усвідомлення учнями фактичного матеріалу, осмислення зв'язків і залежностей між елементами вивченого матеріалу; узагальнення і систематизація знань; підсумки уроку; повідомлення домашнього завдання.

• Урок формування навичок і вмінь: перевірка домашнього завдання, актуалізація і корекція опорних знань, навичок і вмінь; повідомлення теми, цілей і завдань уроку; актуалізація мотивації учіння учнів; вивчення нового матеріалу (вступні, мотиваційні та пізнавальні вправи); первинне застосування нових знань (пробні вправи); самостійне застосування учнями знань у стандартних ситуаціях (тренувальні вправи за зразком, інструкцією, завданням); творче перенесення знань і навичок у нові ситуації (творчі вправи); підсумки уроку і повідомлення домашнього завдання.

• Урок узагальнення і систематизації знань: повідомлення теми, цілей та завдань уроку; актуалізація мотивації учіння учнів; відтворення й узагальнення понять і засвоєння відповідної їм системи знань; узагальнення та систематизація основних теоретичних положень і відповідних наукових ідей; підсумки уроку і повідомлення домашнього завдання.

• Урок практичного застосування знань, навичок і вмінь: перевірка домашнього завдання, актуалізація і корекція опорних знань, навичок і вмінь; повідомлення теми, цілей і завдань уроку; актуалізація мотивації учіння учнів; осмислення змісту й послідовності застосування способів виконання дій; самостійне виконання учнями завдань під контролем і за допомогою вчителя; звіт учнів про роботу і теоретичне обґрунтування отриманих результатів; підсумки уроку й повідомлення домашнього завдання.

• Урок контролю і корекції знань, навичок і вмінь: повідомлення теми, цілей та завдань уроку; актуалізація мотивації учіння учнів; перевірка знання учнями фактичного матеріалу й основних понять; перевірка глибини осмислення учнями знань і ступеня їх узагальнення; застосування учнями знань у стандартних і змінних умовах; перевірка, аналіз і оцінка виконаних під час уроку робіт; підсумки уроку і повідомлення домашнього завдання.

Методика визначених типів уроків складається з трьох частин:

організація роботи - 1-3 хв.;

основна частина (формування знань, навичок і вмінь; їх засвоєння, повторення, закріплення і контроль; застосування на практиці тощо) - 35-40 хв.;

- підведення підсумку уроку і повідомлення домашнього завдання - 2-3 хв.

Творчі педагоги постійно вдосконалюють методику проведення класичного уроку, в результаті чого в навчальний процес впроваджуються нестандартні уроки.

Нестандартний урок - це імпровізоване навчальне заняття, що має нетрадиційну структуру. Назви уроків дають деяке уявлення про цілі, завдання і методику проведення таких занять. Найпоширеніші серед них - уроки-прес-конференції, уроки-аукціони, уроки-ділові ігри, уроки-занурення, уроки-змагання, уроки типу КВК, уроки-консультації, комп'ютерні уроки, уроки-консиліуми, уроки-твори, уроки-винаходи, уроки-заліки, театралізовані уроки, уроки взаємного навчання учнів, уроки творчості, уроки-сумніви, уроки-конкурси, уроки-фантазії, уроки-концерти, уроки-екскурсії, інтегральні уроки тощо.

Нестандартні уроки спрямовані на активізацію навчально-пізнавальної діяльності учнів, бо вони глибоко зачіпають емоційно-мотиваційну сферу, формують дух змагальності, збуджують творчі сили, розвивають творче мислення, формують мотивацію навчально-пізнавальної та майбутньої професійної діяльності. Тому такі уроки найбільше подобаються учням і викликають у них творчий інтерес.

Отже, форма організації навчання є важливою дидактичною проблемою, яка безпосередньо впливає на результатів ний компонент навчального процесу. Вона тісно пов'язана з методами і засобами навчання, бо кінцевий результат визначається комплексом дидактичних умов, серед яких важливе місце посідають організаційні форми навчання.

.2 Дидактичні проекти занять уроків теоретичного навчання

Поурочно тематичний план

Урок № 30

Тема: Муфти. Постійні. Зчіпні муфти

Мета: навчити загальним поняттям про муфти;вивчити різновиди муфти;розвивати просторову уяву;виховувати інтерес до даної теми;виховувати вміння до самостійної роботи

Матеріали і обладнання: посібники, технічна література, плакати.

Тип уроку: урок засвоєння нових знань.

Методи:словесний, проблемно-пошуковий,наочно-демонстраційний .

Між предметні зв’язки: деталі машин.

Хід уроку:

І. Організаційний момент.

ІІ. Актуалізація опорних знань:

1.  Аналіз контрольної роботи по вивченій темі.

ІІІ. Активізація нового матеріалу:

1.   Визначення теми, мети та завдань уроку.

2.       Зв'язок теми уроку з деталями машин.

IV. План вивчення нового матеріалу:

1.       Загальні відомості про муфти.

2.       Постійні муфти.

.        Жорсткі та компенсаційні муфти

.        Розсувні та пружні мути

.        Зчіпні муфти

.        Кулачкові та зубчасті муфти

.        Фрикційні муфти

V. Самостійна робота на уроці:

. Мотиваційна робота з підручниками.

VI. Закріплення нового матеріалу.

1. Фронтальне опитування по вивченій темі.

. Інтегроване тестове опитування по темі уроку.

VII. Домашнє завдання (пояснення домашнього завдання):

Вивчити тему уроку та підготуватися до опитування на наступний урок.

VIII. Підсумок уроку. Оцінка знань та аналіз відповідей учнів.

Урок № 31

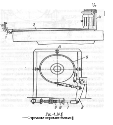
Тема: Гальма

Мета: навчити загальним відомостям про гальма;вивчити класифікацію гальм;розвивати просторову уяву та спостережливість;виховувати відповідальність та самостійність

Матеріали і обладнання: посібники, технічна література,плакати.

Тип уроку: комбінований.

Метод: словесний, проблемно-пошуковий,наочно-демонстраційний .

Між предметні зв’язки: деталі машин

Хід уроку:

І. Організаційний момент.

ІІ. Актуалізація опорних знань:

Опитування по матеріалу пройденої теми.

.Вибіркове тестове завдання для слабких учнів.

ІІІ. Активізація нового матеріалу:

Визначення теми,мети, завдань уроку.

.Зв'язок теми уроку з деталями машин.

IV. План вивчення нового матеріалу:

.Загальні відомості про гальма

.Колодкове гальмо та його характеристика

.Стрічкове кероване гальмо

V. Самостійна робота на уроці:

. Робота з підручниками за варіантами.

VI. Закріплення нового матеріалу.

1. . Робота з картками.

. Фронтальне опитування нового матеріалу

VII. Домашнє завдання (пояснення домашнього завдання):

Вивчити тему уроку та підготуватися до опитування на наступний урок.

VIII. Підсумок уроку. Оцінка знань та аналіз відповідей учнів.

Тема: Коробки передач та механізми реверсу .

Мета: Навчити учнів основним теоретичним поняттям про коробки передач та механізми реверсу;розвивати логічне мислення та просторову уяву;виховувати вміння самостійної роботи.

Матеріали і обладнання: Посібники, технічна література, плакати, картки-завдання.

Тип уроку: комбінований.

Метод: словесний, практичний, проблемно-пошуковий.

Між предметні зв’язки: Деталі машин, основи автоматизації машин.

Хід уроку:

І. Організаційний момент.

ІІ. Актуалізація опорних знань:

. Перевірка домашнього завдання.

. Фронтальне опитування по пройденій темі.

. Робота біля дошки для слабких учнів.

ІІІ. Активізація нового матеріалу:

. Визначення теми,мети, завдань уроку.

.Визначення зв’язку теми уроку з деталями машин та основами автоматизації машин.

IV. План вивчення нового матеріалу:

.        Коробки передач

.        Механізми реверсу

V. Закріплення нового матеріалу.

1.       Технічний диктант

2.       Робота з картками.

2. Фронтальне опитування нового матеріалу.

VI. Домашнє завдання (пояснення домашнього завдання):

Пояснити виконання домашнього завдання.

VII. Підсумок уроку. Оцінка знань та аналіз відповідей учнів.

Урок № 33

Тема: Вантажні лебідки .

Мета: навчити учнів загальним поняттям про вантажні лебідки;дати поняття про класифікацію вантажних лебідок;розвивати уяву, увагу, логічне мислення.

Матеріали і обладнання: Посібники, технічна література, плакати.

Тип уроку: урок засвоєння нових знань.

Метод: словесний, наочно-демонстраційний, проблемно-пошуковий.

Між предметні зв’язки: деталі машин.

Хід уроку:

І. Організаційний момент.

ІІ. Актуалізація опорних знань:

. Опитування по матеріалу пройдених тем.

. Вибіркове тестове завдання для слабких учнів.

ІІІ. Активізація нового матеріалу:

. Визначення теми,мети, завдань уроку.

.Визначення зв’язку теми уроку з деталями машин.

IV. План вивчення нового матеріалу:

.        Загальні відомості про вантажні лебідки.

.        Класифікація вантажних лебідок

.        Фрикційні та гідравлічні лебідки

.        Електричні лебідки

V. Самостійна робота на уроці:

1.Самостійна робота з підручником за варіантом.

VI. Закріплення нового матеріалу.

1. Бліцопитування.

2. Фронтальне опитування нового матеріалу.

VII. Домашнє завдання (пояснення домашнього завдання):

Мотивоване пояснення домашнього завдання.

VIII. Підсумок уроку. Оцінка знань та аналіз відповідей учнів.

Урок № 34

Тема: Механізми повороту кранів .

Мета: навчити загальним відомостям про механізми повороту кранів;вивчити основні класифікації механізмів повороту кранів;розвивати просторову уяву та спостережливість; виховувати вміння самостійної роботи.

Матеріали і обладнання: посібники, технічна література;плакати

Тип уроку: комбінований.

Метод: словесний, проблемно-пошуковий, наочно - демонстраційний.

Між предметні зв’язки:деталі машин.

Хід уроку:

І. Організаційний момент.

ІІ. Актуалізація опорних знань:

. Взаємоперевірка домашнього завдання.

. Фронтальне опитування по пройденій темі.

ІІІ. Активізація нового матеріалу:

. Визначення теми, мети та завдань уроку.

. Зв'язок теми уроку з деталями машин.

. Техніка безпеки

IV. План вивчення нового матеріалу:

. Загальні відомості про механізми повороту кранів.

2.Механізми повороту кранів з механічним приводом.

Механізми повороту кранів з електричним приводом.

.Механізми повороту пневмоколісних і гусеничних кранів

.Механізми повороту баштових кранів.

V. Самостійна робота на уроці:

.Тестові завдання.

VI. Закріплення нового матеріалу.

Робота з підручником над проблемним питанням.

VII. Домашнє завдання (пояснення домашнього завдання):

Вивчити тему уроку та підготуватися до опитування на наступний урок. Індивідуальне завдання: замалювати механізми повороту кранів.

VIII. Підсумок уроку. Оцінка знань та аналіз відповідей учнів.

Урок № 35

Тема: Механічна силова передача автонавантажувача .

Учбова ціль: перевірка дії розподільної коробки з реверсом; практичне вивчення приладу і взаємодії деталей розподільної коробки з реверсом.

Матеріальне забезпечення уроку:розподільна коробка з реверсом; ключі гайкові, воронка для злиття мастила, слюсарний молоток, пасатижі, викрутка.

І. ОРГАНІЗАЦІЙНА ЧАСТИНА(3-5хв)

. Перевірка явки учнів, їх зовнішнього вигляду.

. Розподіл робіт між учнями та розміщення їх на робочих місцях

ІІ. ВСТУПНИЙ ІНСТРУКТАЖ(30-40хв)

.        Визначення цілі уроку.

.        Ознайомлення з обладнанням та інструментами.

.        Пояснення та демонстрація прийомів виконання робіт.

.        Перевірка засвоєння учнями прийомів виконання робіт.

.        Розбір з учнями правил техніки безпеки

ЗМІСТ ВСТУПНОГО ІНСТРУКТАЖУ

.Фронтальне опитування по пройденому матеріалу.

.Повідомлення теми, мети та завдань уроку

.Показ дії розподільної коробки з реверсом

.Часткове розбирання і збирання приладу

.Розбір типового ускладнення під час виконання роботи

.Вивчення правил техніки безпеки в майстерні під роботи розподільною коробкою з реверсом.

ІІІ. САМОСТІЙНА РОБОТА УЧНІВ ТА ПОТОЧНИЙ ІНСТРУКТАЖ(5-6 годин)

.Обхід робочих місць майстром.

.Перевірка організації робочих місць учнів та дотримання ними правил техніки безпеки на робочому місці.

.Перевірка виконання робочих прийомів розбирання і збирання приладу.

.Розяснення та показ прийомів роботи по відділам два відділу по 10 учнів у кожному.

.Перевірка щоденників та виставлення оцінок підведення підсумків практичної роботи та прийоми виконання завдань

IV ЗАКЛЮЧНИЙ ІНСТРУКТАЖ (25хв.)

.Підведення підсумків роботи за день.

.Об’явлення оцінок учням.

.Розбір типових помилок.

.Ознайомлення учнів з темою наступного виробничого навчання.

.Завдання додому.

.Виховна робота.

Урок №36

Тема уроку: Система керування колесами.

Виробнича робота: Вивчити систему керування колесами.

Мета: Навчити учнів загальному розумінню про систему керування колесами.

Формувати вміння застосовувати раніше вивчений матеріал на практиці.

Розвивати технічне мислення, мову, грамотність викладу думок.

Виховувати любов до праці, бережливе ставлення до інструменту.

Матеріали і обладнання: механізм для системи керування колесами,плакати та підручники.

Тип уроку: Виробниче навчаня.

Метод: демонстраційний, словесний, практичний.

Міжпредметні зв’язки: деталі машин, охорона праці.

Хід уроку:

І. Організаційний момент.

ІІ. Матеріально-технічне забезпечення уроку:

) Механізм для системи керування колесами.

) Необхідні плакати та підручники.

ІІІ. Хід дня:

) Темою уроку є «система керування колесами»

) Метою є навчити учнів загальному розумінню про систему керування колесами

) Ознайомитись з планом виробничого навчання.

) Проведення попереднього інструктажу.

) Проведення поточного інструктажу.

) Проведення заключного інструктажу.

IV. Культура праці майстра та учнів.

) Підтримувати зразкову поведінку учнів.

) Зацікавити учнів поданою темою.

) Слідкувати за правильністю виконання учнями завдання роботи.

) За виконану роботу виставити відповідні оцінки.

V. Висновки по уроку:

Мету уроку досягнуто.

Урок № 37

Тема: Гальмівна система .

Практична робота: розрахунок основних параметрів гальмівних пристроїв

Мета: навчити розраховувати основні параметри гальмівних пристроїв, розвивати вміння застосовувати формули розрахунку роботи механізму, виховувати вміння самостійно працювати з підручником.

Обладнання: схеми, типові формули, макети.

Наочність, матеріали в схемах та таблицях.

Між предметні зв’язки: деталі машин

Об’єкт праці: розрахунок за формулами.

Тип уроку: практична робота.

Хід заняття

І. Організаційний момент.

- перевірка наявності учнів;

перевірка готовності до уроку.

ІІ. Активізація опорного матеріалу.

Визначення понять вивчених в темі.

IІІ. Мотивація навчальної діяльності:

Навчити розраховувати основні параметри гальмівних пристроїв.

ІV. Повідомлення теми уроку.

V. Постановка задач учням на урок (знати, вміти)

Учні повинні знати як розрахувати гальмівну систему

Учні повинні вміти визначати основні параметри гальмівних пристроїв

VI. Формування умінь та навичок (80% уроку)

Практична робота.

1.       Вступний інструктаж

2.       Забезпечення матеріалами та схемами.

.        Правила техніки безпеки, санітарії і гігієни при виконанні практичної роботи.

.        Самостійне виконання роботи за інструкційно-технічними картами.

.        Контроль вчителя з метою виявлення недоліків в знаннях та умінні учнів

.        Поточний інструктаж: індивідуальний, ґрунтовий

.        Контроль та взаємоконтроль учнів

.        Підвищення підсумків практичної роботи

VII. Підвищення підсумків уроку:

. Індивідуальний контроль.

. Мотивація оцінок за заняття

VIІ.Оголосити, що потрібно принести на наступний урок.

ІХ. Прибирання робочого місця та приміщення.

Урок № 38

Тема: Колеса і шини,рама.

Мета: Навчити учнів теоретичним основам про колеса, шини, рами. Розвивати логічне мислення, виховувати відповідальність та самостійність.

Матеріали і обладнання: Плакати, підручники, ілюстрації.

Тип уроку: урок засвоєння нових знань

Метод: лекція диспут

Між предметні зв’язки: деталі машин.

Хід уроку:

І. Організаційний момент.

ІІ. Актуалізація опорних знань:

Технічний диктант.

ІІІ. Активізація нового матеріалу:

.Визначення теми, мети та завдань уроку.

. Визначення зв’язку теми уроку з деталями машин.

IV. План вивчення нового матеріалу:

. Загальні відомості про колеса, та їх різновид.

2. Загальні відомості про шини. Види шин.

. Рама.

V. Самостійна робота на уроці:

1. Самостійна робота біля дошки( з навмисне десінформованим матеріалом)

VI. Закріплення нового матеріалу.

1. Диспут про використання шин в українському та закордонному машинобудуванні.

VII. Домашнє завдання (пояснення домашнього завдання):

Підготувати реферат на задану тему.

VIII. Підсумок уроку. Оцінка знань та аналіз відповідей учнів.

Урок № 39

Тема: Механізми та елементи трансмісії.

Мета: Перевірити знання учнів по темі «Механізми та елементи трансмісії», розвивати вміння самостійної роботи за індивідуальним планом, виховувати вміння самостійно розв’язувати подані завдання.

Матеріали і обладнання: схеми, типові формули.

Тип уроку: контрольна робота

Метод: фронтально-письмовий.

Міжпредметні зв’язки.

Хід уроку

І. Організаційний момент.

ІІ. Актуалізація опорних знань:

. Нагадати про вимоги до виконання і оцінювання контрольної роботи учнів.

ІІІ. Активізація нового матеріалу.

IV. План вивчення нового матеріалу:

. Робота за варіантами по питаннях(4 варінанти)

V. Самостійна робота на уроці.

VI. Закріплення нового матеріалу.

VII. Домашнє завдання (пояснення домашнього завдання).

VIII. Підсумок уроку. Оцінка знань та аналіз відповідей учнів.

Розгорнутий конспект уроку теоретичного навчання

Урок № 31

Тема: Гальма

Мета: навчити загальним відомостям про гальма;вивчити класифікацію гальм;розвивати просторову уяву та спостережливість;виховувати відповідальність та самостійність

Матеріали і обладнання: посібники, технічна література,плакати.

Тип уроку: комбінований.

Метод: словесний, проблемно-пошуковий,наочно-демонстраційний .

Між предметні зв’язки: деталі машин

Хід уроку:

І. Організаційний момент.

ІІ. Актуалізація опорних знань:

Опитування по матеріалу пройденої теми.

.Вибіркове тестове завдання для слабких учнів.

ІІІ. Активізація нового матеріалу:

Визначення теми,мети, завдань уроку.

.Зв'язок теми уроку з деталями машин.

IV. План вивчення нового матеріалу:

.Загальні відомості про гальма

.Колодкове гальмо та його характеристика

.Стрічкове кероване гальмо

V. Самостійна робота на уроці:

. Робота з підручниками за варіантами.

VI. Закріплення нового матеріалу.

1. . Робота з картками.

. Фронтальне опитування нового матеріалу

VII. Домашнє завдання (пояснення домашнього завдання):

Вивчити тему уроку та підготуватися до опитування на наступний урок.

VIII. Підсумок уроку. Оцінка знань та аналіз відповідей

ХІД УРОКУ

І.Організаційний момент

.Зайти, привітатися (зосередити увагу учнів)

. Видати завдання старості подати список відсутніх.

ІІ. Актуалізація опорних знань

.Опитування по матеріалу пройденої теми

.1Що належить до основних елементів трансмісії?

До основних елементів трансмісій належать муфти, гальма, коробки передач та механізми реверсу, з яких складаються такі збірні одиниці, як лебідки (вантажні, змінення вильоту, висування секцій) та механізми повороту кранів.

.1       Для чого призначенні муфти?

Муфти призначені для з'єднання двох валів або вала з установлюваними на ньому деталями (зубчастими колесами, зірочками, шківами тощо).

.2       Муфти поділяються на…

За призначенням муфти поділяють на постійні, що застосовуються для постійного з'єднання валів, та зчіпні, які дають змогу з'єднувати й роз'єднувати обертові вали або деталі з валом на ходу.

.3       Класифікація постійних муфт

За конструкцією постійні муфти бувають жорсткі, компенсаційні, розсувні та пружні

.5Класифікація зчіпних муфт

Зчіпні муфти можуть бути: кулачкові, зубчасті та фрикційні

.Вибіркове тестове завдання для слабких учнів

.1 Жорсткі муфти виконуються:

А)втулковими та фланцевими;

Б) з двох пів муфт;

В) з двох зірочок-півмуфт;

Г)з рухомої пів муфти.

.2 Чим відрізняється зубчаста муфта від кулачкової?

А)не рекомендується вмикати і вимикати, якщо елементи трансмісії обертаються і перебувають під навантаженням;

Б) замість кулачків має зубці.

ІІІ. Активізація нового матеріалу

.Визначеня теми, мети, завдань уроку

Тема: Гальма

Мета:навчитися загальним відомостям про гальма;вивчити класифікацію гальм

Учні повинні знати:

загальні поняття про гальма;

різновиди гальм.

.Звязок теми уроку з деталями машин

Ви повинні знати з курсу ДЕТАЛІ МАШИН загальні відомості про гальма.

ІV. План вивчення нового матеріалу

.Загальні відомості про гальма

Гальмом називається механізм, який служить для зупинення елементів крана, а також для тривалого утримування вантажу, стріли, поворотної платформи та ходового пристрою в заданому положенні. У механічних трансмісіях кранів гальмо використовують для зниження швидкості пересування або для повного зупинення машини.

У трансмісіях кранів гальма встановлюють на ведучих валах редукторів або на валах двигунів, що приводять у рух механізми в разі відсутності між ними з'єднувальних муфт.

Гальма засновані на використанні сил тертя, що виникають між рухомими та тими нерухомими елементами, що притискаються до них. При цьому кінетична енергія рухомих елементів перетворюється у теплову енергію, завдяки чому можливе їх використання за будь-якої швидкості.

За способом дії розрізняють гальма нормально закриті (замкнені) та нормально відкриті (розімкнені).

Нормально закрите гальмо постійно ввімкнене за допомогою пружини. Ввімкнення механізму крана одночасно супроводжується вимкненням (розімкненням) гальма. Коли механізм припиняє роботу, негайно вмикається гальмо.

Нормально відкрите гальмо постійно вимкнене (розімкнене) і вмикається, коли потрібно знизити швидкість або повністю зупинити механізм.

За принципом дії гальмо являє собою фрикційний механізм, який використовує силу тертя колодок чи стрічок по обертовій частині механізму - шківу чи диску.

За способом керування гальма поділяються на керовані й автоматично діючі. До автоматично діючих належать переважно нормально закриті гальма, які застосовуються головним чином на стрілових кранах.

За конструкцією гальма бувають колодкові та стрічкові. На кранах використовують в основному колодкові гальма, рідше -стрічкові.

Розрізняють гальма з коротко - та довго ходовими силовими органами.

.Колодкове гальмо та його характеристика

Колодкове гальмо (рис. 4.12) складається з гальмового шківа, двох колодок, штока, тяги, пружин і силового органа.

У ролі короткоходового силового органа застосовують однофазний електромагніт змінного струму типу МО або постійного струму типу МП. Крли вмикається механізм крана, якір електромагніту відхиляє. шток ліворуч, гальмова пружина стискується і важелі повертаються, відводячи колодки від шківа. Проміжок між колодками та шківом регулюють гайками 12, а самочинному доторканню колодок до гальмового шківа запобігають гайки 7.


Електромагніт характеризується ходом, тяговим зусиллям (моментом) якоря та допустимою кількістю вмикань.

Рис. 4.13. Електрогідравлічний штовхач: 1 - електродвигун: 2 - ротор: З - корпус; 4 - крильчатка; 5 - поршень: 6 - циліндр; - шток: 8-ущільнення: 9 - пробка заливного отвору; 10 - колодка затискачів.

У гальмі з довгоходовим силовим органом розгальмування здійснюється електрогідроштовхачем (рис. 4.13). Цей агрегат об'єднує електродвигуна та штов-хача і являє собою привід з прямолінійним переміщенням виконавчого органа. Він перетворює електричну енергію в обертання ротора двигуна і далі в поступальний рух штока.

Принцип дії електрогідроштовхача такий. Коли обертається ротор електродвигуна, крильчатка гідронасоса переганяє мастило з корпусу штовхача під поршень, підвищуючи тиск. Внаслідок цього поршень починає переміщуватися в циліндрі й піднімає зв'язаний з ним шток штовхача, який діє на важільну систему гальма. Важелі, переборюючи зусилля пружини, дають змогу колодкам відійти від гальмового шківа. Коли вимикається двигун, ротор зупиняється, а поршень внаслідок зникнення надлишкового тиску й дії власної ваги опускається.

Важільна система гальма від дії пружини змикає колодки, притискуючи їх до шківа.У гальмах стрілових кранів застосовують електричні -штовхачі

Рис. 4.13. Електрогідравлічний штовхач: і - електродвигун: 2 - ротор: З - корпус; 4 - крильчатка; 5 - поршень: 6 - циліндр; - шток: 8-ущільнення: 9 - пробка заливного отвору; 10 - колодка затискачів.

ТЗ-25У2 та ТЗ-50У2 з такими основними характеристиками: зусилля підіймання - 500 Н; хід штока - 50 мм; споживана потужність - 200 Вт; об'єм робочої рідини 3,5л. У штовхачах типу ТЗ за температури навколишнього повітря від-15 до +40 °С за робочу рідину служить трансформаторне мастило, за більш низької температури -рідина ПЗС-ЗД. Вгорі корпусу штовхача є отвір для заливання робочої рідини, а в нижній частині - отвір для її зливання. Електрогідроштовхач порівняно з електромагнітами дає змогу плавніше гальмувати механізми завдяки більшій тривалості спрацьовування. Гнучкий зв'язок між двигуном і штоком виключає поломки навіть у разі заклинювання колодок. Крім типу ТЗ, використовують штовхачі типів ТЗГ і ТГМ. На кранах застосовують гальма з довго-ходовими силовими органами таких типів: ТКГ-200 (ТКТГ-200) - гальмо колодкове трифазного струму з електроштовхачем; ТКТ-300 - гальмо колодкове з електромагнітом МО змінного струму; ТКП-200 - гальмо колодкове з електромагнітом МП постійного струму. Цифра у марці гальма -діаметр гальмового диска.

У механізмах електричних кранів, що працюють на змінному струмі, використовуються гальма типів ТКГ та ТКТ, а в кранах, що експлуатуються на постійному струмі, - типу ТКП. На пневмоколісних кранах у механізмах пересування встановлюють колодкові нормально відкриті гальма, якими керують за допомогою пневмосистеми.

.Стрічкове кероване гальмо

Рис. 4.14. Стрічкове кероване гальмо: 1 - педаль; 2 - тяга; З - гальмова стрічка; 4 - канат; 5 - шків; б - важіль; 7 - шток: 8 - скоба; 9 - пружина.

Стрічковими нормально відкритими гальмами (рис. 4.14) додатково до колодкових гальм можна обладнувати крани, механізми повороту яких зазнають впливу значних інерційних зусиль. У кабіні керування зусилля від педалі передається жорсткою тягою й канатом через важелі скобі, яка стискує пружину. Внаслідок цього шток переміщується й повертає важіль з закріпленими на ньому кінцями стрічки. Рухом важеля ліворуч стрічка відтискується від шківа й починається процес розгальмовування. Змінюючи зусилля натиску на педаль, можна регулювати ступінь гальмування механізму повороту крана.

V.Самостійна робота на уроці

.Робота з підручниками за варіантами

Для кращого закріплення нового матеріалу, відкрийте будь-ласка підручник «Будівельні крани» на ст.74 та прочитайте §4.2. По матеріалу цього параграфа Ви зараз будете самостійно працювати з картками .

VІ.Закріплення нового матеріалу

.        Робота з картками.

Для перевірки засвоєного матеріалу Ви на отриманих картках підписуєте позиції на рисунках.

.        Фронтальне опитування нового матеріалу

Для повного закріплення нового матеріалу проведемо фронтальне опитування. Дайте будь-ласка відповіді на такі питання:

·        Що таке гальма?

·        Де встановлюються гальма у трансмісіях?

·        За способом дії розрізняють гальма…

·        Що являє собою гальмо за принципом дії?

·        Які гальма бувають за способом керування?

·        Які гальма бувають за конструкцію?

·        З чого складається колодкове гальмо?

·        Що називається стрічковими нормально відкритими гальмами?

VII. Домашнє завдання (пояснення домашнього завдання):

Домащнє завдання: Вивчити із підручника Л.А.Хмара «Будівельні крани» §4.2 ст 74-77

VIII. Підсумок уроку. Оцінка знань та аналіз відповідей

Підсумок уроку. На сьогоднішньому уроці Ви вивчили і зрозуміли: загальні відомості про гальма;що таке колодкове гальмо та його класифікацію; стрічкове гальмо.



Урок № 39

Тема: Механізми та елементи трансмісії.

Мета: Перевірити знання учнів по темі «Механізми та елементи трансмісії», розвивати вміння самостійної роботи за індивідуальним планом, виховувати вміння самостійно розв’язувати подані завдання.

Матеріали і обладнання: схеми, типові формули.

Тип уроку: контрольна робота

Метод: фронтально-письмовий.

Міжпредметні зв’язки.

Хід уроку

І. Організаційний момент.

ІІ. Актуалізація опорних знань:

ІІІ. Активізація нового матеріалу.

IV. План вивчення нового матеріалу:

. Робота за варіантами по питаннях(4 варінанти)

V. Самостійна робота на уроці.

VI. Закріплення нового матеріалу.

VII. Домашнє завдання (пояснення домашнього завдання).

VIII. Підсумок уроку. Оцінка знань та аналіз відповідей учнів.

ХІД УРОКУ

І. Організаційний момент

.Зайти, привітатися (зосередити увагу учнів)

. Видати завдання старості подати список відсутніх

.Перевірити готовність учнів до уроку.

ІІ. Актуалізація опорних знань

.Нагадати про вимоги до виконання і оцінювання контрольної роботи учнів.

Контрольна робота складається із 4 варіантів. Кожен варіант містить по 6 запитань, з яких перших два запитання тестового характеру і оцінюються у 1бал за питання;наступних два питання середнього рівня складності і оцінюється одне питання у 2 бала;останніх два питання складного рівня і оцінюються у 3 бали за питання.

ІІІ. Активізація нового матеріалу

Тема контрольної роботи: Механізми та елементи трансмісії.

Мета:перевірення знань по темі: «Механізми та елементи трансмісії»

Завдання: учні повинні самостійно вміти виконувати завдання на уроці.

IV. План вивчення нового матеріалу

Варіант 1

.Муфти призначенні для з’єднання двох:

А) валів; В)втулок;

Б)шестерень; Г) вала і втулки.

.Які шини найбільш розповсюдженні завдяки своїй надійності, меншій масі та експлуатації:

А) радіальні;

Б) діагональні;

В) безкамерні.

.Продовжить визначення:

Вантажні лебідки служать…..

. Для чого призначений і де застосовується механізми реверсу.

.Дайте коротку характеристику розподільній коробці передач з реверсом

.Дайте загальну характеристику зубчастій муфті.

Варіант 2

.За способом керування гальма поділяють на:

А) колодкові та стрічкові;

Б) автоматичної дії та керовані;

В) керовані та нормальні;

Г)замкнені та розімкнені.

. За якою формулою визначають момент тертя зчеплення:

А) М=Рп×µ;

Б) Мс= R÷в;

Г) Мс=в×Ммах.

. Продовжить визначення

Гальмом називається…….

.Для чого служать коробки передач

.Дайте коротку характеристику вантажній лебідці з планетарним редуктором

. Як відбувається кріплення осі з управляючими колесами до рами навантажувача 4045Р

Варіант 3

.Пружні муфти застосовують:

А) для зменшення ударних навантажень, що передаються через з’єднувальні вали;

Б) у разі значних зміщень з’єднуваних валів;

В)для компенсування перекосів валів до 1º;

Г)для жорсткого з’єднання співвісних валів.

. Зчеплення складається із ведучих елементів які з’єднуються з:

А) двигуном;

Б)передачею;

В)муфтою.

.Продовжіть визначення:

Муфти призначенні для….

.Для чого застосовуються компенсаційні муфти.

. Для чого служать і з чого складаються синхронізатори.

.Дайте коротку характеристику гальмівної системи

Варіант 4

.Що входить до складу механізму висування:

А) лебідка та поліспастна система;

Б) барабан та втулково-пальцева муфта;

В)гальмо та барабан з нарізкою;

Г) лебідки обладнані гальмом.

.Яку масу коробки передач має навантажувач при вантажопідйомності 5000кг:

А)76кг;

Б)49кг;

В)95кг.

. Продовжить визачення:

Механізми висування секцій башти використовуються для…….

.Для чого призначена стрілова лебідка

.Дайте коротку характеристику багатодисковій муфті.

.Дайте коротку характеристику механізму повороту баштових кранів.

V. Самостійна робота на уроці.

Ви повинні самостійно виписати незрозумілі вам терміни із даної теми.

VI. Закріплення нового матеріалу.

Фронтальне опитування по пройденій темі.

.Для чого призначені муфти?

.Який механізм називається гальмом?

.Для чого служать коробки передач?

.Яке призначення механізмів реверсу?

.Для чого служать вантажні лебідки?

. Для чого служить візкова лебідка?

.Призначення механізму повороту кранів?

. Які шини виготовляє український виробник?

VII. Домашнє завдання (пояснення домашнього завдання).

Мотивоване пояснення домашнього завдання

VIII. Підсумок уроку. Оцінка знань та аналіз відповідей учнів.

3.3 Поняття про уроки виробничого навчання

Виробниче навчання - це не тільки навчальний, але у значній мірі і виробничий процес. Свою навчальну діяльність навчаємі реалізують у вигляді дидактично організованого трудового процесу, що існує у відповідній галузі.

Виробниче навчання відбувається паралельно з теоретичним. Це забезпечує навчаємим більш усвідомлене оволодіння практичними уміннями та навичками.

Навчаємі при цьому не тільки оволодівають основами професійної майстерності, але й одночасно беруть участь у продуктивній праці і виступають у деякій мірі як творці матеріальних цінностей.

Відомо, що до основних показників, які визначають рівень професійної майстерності робітників, відносяться:

·        якість виконання робіт;

·        забезпечення у процесі праці відповідних технічних вимог;

·        одержання у праці сталих позитивних результатів;

·        забезпечення необхідної продуктивності праці;

·        прагнення до засвоєння високопродуктивної техніки і технології, прогоесивних форм організації праці;

·        виробнича самостійність: уміння вибрати найбільш раціональні методи виконання робіт самостійно розібратися в виробничих обставинах;

·        уміння виконувати раціональний самоконтроль хода і наслідків роботи;

·        культура праці: навички планування своєї діяльності, забезпечення технологічної дисципліни на кожному робочому місці, додержання правил техніки безпеки тощо.

Виробниче навчання - це сполучення навчального і виробничого процесу. Розглянемо деякі найважливіші визначення.

Виробничий процес - це сукупність дій людей і знарядь праці, необхідних для виготовлення і ремонту продукції. Виробничий процес охоплює усі стадії виготовлення продукції: від одержання заготовок до упаковки і відправлення замовнику її у готовому вигляді.

Основним виконавцем виробничого процесу є робочий, який на своєму місці виконує трудову діяльність.

Трудова діяльність - це сукупність трудових дій робітника (фізичних і розумових), за допомогою яких від діє на предмет праці і керує роботою обладнання.

До трудових дій робочого відносяться такі: планування, підготовка, виконання, контроль і обслуговування виробничого процесу. Найбільш суттєвим і дидактично значущим елементом трудової діяльності є трудовий процес.

Трудовий процес - сукупність послідовних дій робочого, пов'язаних з виконанням визначеного виду закінчених робіт, які є типові для конкретної професії. Наприклад, для токаря - це обробка заготовки і виготовлення готової деталі, для наладчика - наладка відповідного технологічного обладнання тощо.

Трудовий процес можна розподілити на окремі елементи :операції, прийоми, робочі рухи.

Трудова операція - це частина трудового процесу, яка характеризується використанням однакових інструментів, пристосувань, і засобів праці.

Трудовий прийом - це закінчена трудова дія робочого, яка має чітко визначену технологічну ціль. Наприклад, трудовими прийомами є: установка заготовки у патрон верстата, контроль розмірів готової деталі та ін.

Робочій рух - це елемент трудового прийому. (Робочий рух: включення верстата, затиск заготовки і ін.)

Рівень пристосування виробничого процесу до навчального залежить від таких факторів:

•від можливості відокремлювання у виробничому процесі окремих його елементів: операцій, прийомів, рухів;

•від можливості їх групування у визначеній послідовності;

•від рівня повторювання основних трудових операцій. В залежності від цих факторів існують три групи робочих професій.

Перша група - це професії, навчання котрим може бути організовано безпосередньо у навчальних майстернях професійно-технічних училищ. До них відносяться професії верстатників, слюсарів, монтажників і деякі інші. Для цієї групи характерним є дуже частий повтор основних операцій при малій їх варіативності, можливість відокремлення і варіювання операціями у виробничих умовах, створення їх комплексів.

До другої групи відносяться професії, трудові процес яких не можуть бути самостійними частинами навчання. Для них є характерною невелика повторюваність операцій при незначній їх варіативності, неможливість їх відокремлення, відсутність комплексів операцій. До них відносяться такі професії: слюсар контрольно-вимірювальних приладів, наладчики і оператори автоматичних ліній тощо.

До третьої групи відносяться професії, які займають проміжне положення між першою і другою групою: великі повторюваність і різновидність операцій і робіт. До неї відносяться робітники будівельних професій (муляр, плиточник), транспортні робочі (машиністи, водії інші.)

Системою виробничого навчання зветься доцільне сполучення теоретичного і практичного навчання, яке обумовлене специфікою теоретичних і практичних знань і послідовністю формування професійних умінь і навичок.

Предметна система виникла першою. Вона передбачає одразу виготовляти готові вироби без ретельного вивчення окремих складових операцій. За такою системою навчання побудована підготовка робочих з деревообробних і деяких інших професій.

Позитивним елементом цієї системи є то, що навчаємі, відразу бачать результати своєї праці. Негативним - виготовлення одразу повністю готових предметів заважає навчаємим послідовно освоювати окремі операції, з яких складається виготовлення усього предмету.

Операційна система створена вперше в Росії у XIX сторіччі і широко використовувалась у всьому світі. Вона полягає у ретельному аналізі змісту праці і відокремленні її окремих компонентів. Ці компоненти - операції, і вони приймаються за основу тематичної побудови виробничого навчання. За цією системою можна будувати навчання на першому етапі при оволодінні професіями слюсарного та верстатного профілю.

При організації робіт за цією системою для кожної робочої професії існують типові операції, вивчення яких відбувається у наперед визначеної послідовності. Негативними сторонами її є те , що навчання відбувається на предметах, які потім викидаються, що значно знижує її дидактичне навантаження. Крім цього, було дуже важко вивчені трудові операції з'єднати для учнів у готовий продукт праці.

Операційно-предметна система є логічним продовженням операційної системи. Суть її полягає у тому, що навчання відбуваються на виготовленні готових виробів. Вони підбираються таким чином, щоб в їх виготовленні були здебільш визначені операції. В цьому випадку засвоєння операцій є тільки як уведення до засвоєння ремесла.

Моторно - тренувальна система - це варіант операційної системи, коли уся операція розподіляється на окремі робочі прийоми і рухи. Ці малі елементи відпрацьовувалися до автоматизму за допомогою окремих спеціальних пристосувань. Іноді ця система зветься системою ЦІП (Центральний інститут праці). Саме там розроблялась ця система у 30-х роках теперішнього сторіччя.

Операційно-комплексна система виникла в 30-ті роки. Вона організаційно втілена у системі трудових резервів країни, яка була створена в 1940 році. Суть її полягає в тому, що учні спочатку вивчають окремі операції, а потім -виконують комплексні роботи, до яких як складові входять ці операції. Потім засвоюються нові операції, які у подальшому складаються у нові комплекси, і так постійно, відбувається нарощення складності і обсягу робіт, що виконуються.

У 60-х роках акад. А.Я. Батишев запропонував проблемно-аналітичну систему виробничого навчання. Суть її полягає у тому, що увесь навчальний матеріал розподіляється на окремі навчальні проблеми. Учні оволодівають навичками і уміннями по кожній проблемі, яка існує реально і відповідає ходу технологічного процесу виготовлення деталей.

Більш загальний характер має система дидактичного навчання, яка запропонована К.Н. Катхановим і зветься - прийомо - комплексно -видов о ю.

У неї відокремлюються два основних елементи, які є характеристиками для більшості робітничих професій: прийоми праці і види робіт. У самої назві цієї системи закладена послідовність виробничого навчання: міцне оволодіння прийомами праці у межах кожного її різновиду і потім подальше поєднання прийомів між собою аж до створення комплексів.

При виробничому навчанні уміння - це здатність навчаємих виконувати відповідні дії у визначених умовах. Уміння виконувати будь-які дії з'являються тільки тоді, коли сформуються уміння виконувати рухові елементи, які відносяться до усієї дії. Ці елементи звуться простими рухами.

Уміння виконувати прості руху зветься елементарним (простим) умінням. Декілька простих рухів, які виконуються у визначеної послідовності, складають функціональні (складні) уміння. Наприклад, настроювання верстату на обробку конкретної деталі - це функціональне (складне) уміння. Окремі елементи цієї дії: встановлення необхідної частоти обертання шпинделю, підвід різця до заготовки, встановлення необхідної подачі, глибини і ін. - це прості (елементарні) рухи.

Навичка -це вміння, яке доведене до автоматизму, але виконується під контролем розуму. Навичка - це створений динамічний стереотип рухів.

Навички поділяються на такі:

·        сенсорні - виконання дій за допомогою органів почуття (наприклад, по характерному шуму верстата можливо визначити його перевантаження).

·        перцептивні - навички цілісного сприйняття зовнішніх предметів, їх відокремлення і ідентифікація (пізнання). Наприклад, швидке «читання» того, що показують вимірювальні прилади, зоровий контроль за обробкою заготовки на верстаті і ін.

·        імажинативні - навички репродуктивної уяви на підставі словесног опису предмета або дії (наприклад, на підставі операційної технологічної карі розумове створення реального процесу обробки)

·        сєнсо -мотор ні навички -виконання деяких моторних дій у відповідь н зорове або слухове сприйняття інформації. Наприклад, перегрів токарного різця його почервоніння викликає у токаря автоматичні рухові дії по зупиненню верстат;

·        розумові навички - «читання» креслення, виконання розрахунків ін. Вони мають велике значення при обслуговуванні складних автоматичних устроїн

Успішне формування навичок можливе при забезпеченні таких вимог:

·        зацікавленості навчаємих в успіху навчання;

·        наявності у навчаємих необхідних знань;

·        активному характері дій навчаємих;

·        урахуванні особливості окремих видів навичок.

Під тренажерами у виробничому навчанні розуміється такий засіб навчання, який дозволяє штучно створювати сприятливі умови для цілеспрямованого формувань умінь та навичок.

До цих сприятливих умов відносяться:

•можливість безперервного контролю і самоконтролю за виконанням трудових дій;

•можливість відокремлення окремих робочих прийомів і організація їх систематичного повторення;

•виключення можливостей виникнення нещасних випадків;

можливість імітування усіх виробничих операцій.

Тренажери мають таку класифікацію:

по спеціалізації вони можуть бути універсальні та спеціальні;

по охопленню навчаємих: індивідуальні та групові;

по рухомості: стаціонарні і рухомі;

по рівню адаптивності: адаптивні та неадаптивні;

по автоматизації: автоматизовані та неавтоматизовані;

по стану зворотнього зв'язку: з зовнішнім, з внутрішнім або комбінірованим контурами;

по цільовому призначенню: для початкового навчання, для поточного тренування, для підвищення кваліфікації.

Навчальний процес з використанням тренажерів може існувати удвох режимах: у навчальному і режимі контролю.

У режимі навчання тренажер повинен мати такі можливості:

·        працювати в нормальному режимі;

·        моделювати можливі відхилення від експлуатаційних параметрів;

·        контролювати на усіх етапах вірні та помилкові дії навчаємих;

·        регламентувати час на усунення технічних неполадок або на виконання інших навчальних операцій;

·        надійно блокувати помилкові дії навчаємих.

Будь-який тренажер для виробничого навчання має таку функціональну структуру:

·        блок пред'явлення навчальної інформації, який забезпечує навчаємих необхідною інформацією. Вона може бути у такому вигляді: статистична проекція діапозитивів або текстів; динамічна проекція (наприклад, кінофрагмент), пред'явлення різних вказівок за допомогою переговорного пристрою або візуально з використанням індикаторів, контрольних устроїв тощо;

·        блок вводу інформації - це система технічних устроїв, яка забезпечує виконання навчальних дій. В цю систему входять: кнопки, важелі, перемикачі, тумблери і інші.

·        блок аналізу якості і характеру навчальних дій - це сукупність технічних устроїв, які дозволяють виконувати технічний контроль і аналіз проміжних і кінцевих результатів діяльності тих хто, навчається;

·        блок керування, який призначений для керування функціюванням усіх попередніх блоків у єдиній навчальній системі.

До тренажерів пред'являються такі педагогічні вимоги:

.Процес навчання повинен бути керованим, тобто замкнутим: необхідно мати прямі і зворотні зв'язки. Зовнішній його контур: учні - тренажер - інженер-педагог, внутрішній: тренажер - учень.

.Інформація, яку пред'являє тренажер, повинна відповідати реальній виробничій діяльності: по швидкості і ритму зміни ситуації, по емоційно-вольовим навантаженням тощо.

.Тренажери повинні забезпечувати зміну послідовності і швидкості пред'явлення навчальної інформації.

.Тренажер повинен давати можливість навчаємим виконувати самоконтроль за такими показниками:

·        послідовність виконання операцій;

·        швидкість пред'явлення інформації.

.Тренажер повинен мати устрої для стимулювання вірних дій навчаємих іодночасного блокування їх можливих помилок.

3.4 Дидактичний проект педагогічних технологій уроку виробничого навчання на тему: «Механічна силова передача»

Урок № 35

Тема: Механічна силова передача автонавантажувача .

Учбова ціль: перевірка дії розподільної коробки з реверсом; практичне вивчення приладу і взаємодії деталей розподільної коробки з реверсом.

Матеріальне забезпечення уроку:розподільна коробка з реверсом; ключі гайкові, воронка для злиття мастила, слюсарний молоток, пасатижі, викрутка.

І. ОРГАНІЗАЦІЙНА ЧАСТИНА(3-5хв)

. Перевірка явки учнів, їх зовнішнього вигляду.

. Розподіл робіт між учнями та розміщення їх на робочих місцях

ІІ. ВСТУПНИЙ ІНСТРУКТАЖ(30-40хв)

.        Визначення цілі уроку.

.        Ознайомлення з обладнанням та інструментами.

.        Пояснення та демонстрація прийомів виконання робіт.

.        Перевірка засвоєння учнями прийомів виконання робіт.

.        Розбір з учнями правил техніки безпеки

ЗМІСТ ВСТУПНОГО ІНСТРУКТАЖУ

.Фронтальне опитування по пройденому матеріалу.

.Повідомлення теми, мети та завдань уроку

.Показ дії розподільної коробки з реверсом

.Часткове розбирання і збирання приладу

.Розбір типового ускладнення під час виконання роботи

.Вивчення правил техніки безпеки в майстерні під роботи розподільною коробкою з реверсом.

ІІІ. САМОСТІЙНА РОБОТА УЧНІВ ТА ПОТОЧНИЙ ІНСТРУКТАЖ(5-6 годин)

.Обхід робочих місць майстром.

.Перевірка організації робочих місць учнів та дотримання ними правил техніки безпеки на робочому місці.

.Перевірка виконання робочих прийомів розбирання і збирання приладу.

.Розяснення та показ прийомів роботи по відділам два відділу по 10 учнів у кожному.

.Перевірка щоденників та виставлення оцінок підведення підсумків практичної роботи та прийоми виконання завдань

IV ЗАКЛЮЧНИЙ ІНСТРУКТАЖ (25хв.)

.Підведення підсумків роботи за день.

.Об’явлення оцінок учням.

.Розбір типових помилок.

.Ознайомлення учнів з темою наступного виробничого навчання.

.Завдання додому.

.Виховна робота.

Розгорнутий конспект уроку виробничого навчання

ІІ ВСТУПНИЙ ІНСТРУКТАЖ

.        Фронтальне опитування по пройденому матеріалу

.1       Що включає механічна силова передача?

Механічна силова передача включає зчеплення, коробку передач, механізм повторного ходу, ведучий міст, редуктор приводу насоса і карданні вали. Виконані в блоці двигун, зчеплення і коробка передач називають силовим агрегатом.

.2       Для чого служать коробки передач?

Коробки передач служать для змінення частоти обертання ведених частин трансмісії при незмінній частоті обертання її ведучої частини. Вони дають змогу змінювати частоту обертання, а отже, й крутний момент, що передається, за значенням і напрямком (задній хід).

Коробки передач використовуються переважно в шасі будівельних кранів з механічним та електричним приводами для передавання крутного моменту від двигуна до ведучих мостів.

.3       Для чого призначені механізми реверсу?

Механізм реверсу призначений для змінення напрямку обертання веденого вала при незмінному напрямку обертання ведучого вала. Механізми реверсу застосовують лише на будівельних кранах з механічним приводом для змінення напрямку обертання механізмів, введених у кінематичний ланцюг. З механізмом реверсу з'єднано розподільний механізм, який залежно від потреби уможливлює ввімкнення одного з механізмів крана - повороту або пересування.

.4       З чого складається зчеплення і для чого воно призначене?

Зчеплення складається із ведучих елементів, з’єднаних з двигуном, і ведучих, з’єднаних з передачею. Воно призначене для передачі крутного моменту за допомогою сил тертя.

.5       Формула тертя зчеплення?

Мс=в×Ммах

де Ммах - максимальний момент двигуна;

в- коефіцієнт запасу зчеплення

.6       Як вибирається коефіцієнт запасу зчеплення?

Коефіцієнт запасу зчеплення вибирають з урахуванням передачі максимального моменту двигуна, зносу фрикційних накладок при експлуатації, а також для захисту передачі від перевантаження інерційним моментом.

.7       Наведіть кінематичну схему коробки передач крана КС-5363Б


.        Повідомлення теми, мети та завдань уроку

Тема нашого уроку: Механічна силова передача

Мета уроку:навчити учнів практичним знанням розбирання і збирання розподільної коробки передач; навчити перевіряти дію розподільної коробки з реверсом.

Завдання:учні повинні засвоїти і навчитися правильно на практиці користуватися розподільною коробкою передач.

.Показ дії розподільної коробки передач з реверсом

Коробка передач являє собою двоступінчастий циліндричний редуктор. Електродвигун обертає вхідний вал, рух від якого передається шестернями вихідному валу. Якщо зубчаста муфта перемикання передач займає ліве положення,' то утворюється перша передача, а якщо праве - друга передача. Швидкість руху на першій передачі менша, ніж на другій. Зубчаста муфта керується гідроциліндром, який діє на вилку для переміщення рухомої частини муфти. Через фланці коробка передач приєднується до карданних валів. Зубчастою муфтою можна від'єднувати привід переднього моста від електродвигуна.

.Часткове розбирання і збирання приладу

Для початку із механізму реверса зливається масло,для цього ми викручуємо пробки і болти на коробці передач. Потім знімається кришка із прокладкою. За допомогою слюсарного молотка вибиваємо штифти, відкручуємо болт і знімаємо пружину. За цим ми виймаємо вал і вилку включення. Викручуємо болти і виймаємо верх , за кришкою центральний вал із верхньою шестерною і кулачковою муфтою із корпуса реверса. Виймаємо нижню шестерню реверса із корпуса через боковий люк. Збирання реверса відбувається навпаки.

.        Розбір типового ускладнення під час виконання роботи

При перевірці дії розподільної коробки з реверсом можуть виникнути проблеми закріплення кришки, що призведе до не правильного спрацювання механізму, тому потрібно після закріплення перевірити закріплення кришки і відсутність протікання масла.

При розбирання обов’язково потрібно в першу чергу злити мастило із картера механізмів реверсу.

.Вивчення правил техніки безпеки в майстерні під час роботи з розподільною коробкою

При роботі з розподільною коробкою передач потрібно дотримуватися таких вимог:

·   чітко виконувати завдання по пунктах ні в якому разі не можна виконувати перший, а потім третій пункт роботи це призведе до пошкодження механізму, і можливо навіть учня;

·   ні в якому разі не можна сунути в коробку передач, а особливо між вали ключі та інші предмети це може призвести до поранення учня;

·   перед вибиванням штифта потрібно перевірити правильність закріплення молотка на рукоятці.

ІІІ.САМОСТІЙНА РОБОТА УЧНІВ ТА ПОТОЧНИЙ ІНСТРУКТАЖ

.Обхід робочих місць майстром

. Перевірка організації робочих місць учнів та дотримання ними правил техніки безпеки на робочому місці.

. Перевірка виконання робочих прийомів розбирання і збирання приладу.

. Роз’яснення та показ прийомів по відділам.

відділи у кожному по 10 учнів

Перший відділ:Робота дії розподільної коробки з реверсом

Послідовність виконання роботи:

.        Залити мастило в картер механізму розподільної коробки і картер механізму реверса

.        Змастити підшипники верхньої конічної шестерні через прес-маслянку мастилом УС-1 або УС-2

.        Провірити закріплення кришок і відсутність протікання мастила.

.        У випадку великого шуму в механізмі реверсу потрібно відкрути болти, зняти верхню кришку і збільшити або зменшити кількість прокладок під нею

.        Відрегулювати фіксатори ричагів включення механізму. Ричаги повинні переміщатися вільно, без заїдання.

Другий відділ: Розбирання і збирання приладу

Послідовність виконання роботи:

.        Відкрутити пробки і злити мастило із картера механізмів реверса і розподільної коробки.

.        Відвернути болти, зняти кришку із манжетами і стопорне кільце

.        Відвернути болти і зняти кришку із прокладкою

.        Вибити штифти, відвернути болт, витягнути пружину, шарик і зняти фіксатор.

.        Витягнути вал і вилку включення

.        Відвернути болти

.        Витягнути верх, за кришку центральний вал із верхньою шестернею і кулачковою муфтою із корпуса реверса

.        Витягнути нижню шестерню реверса із корпуса через боковий люк.

Збір коробки передач відбувається в протилежному порядку.

.Перевірка щоденників та виставлення оцінок підведення підсумків практичної роботи та прийоми виконання завдань

IV.ЗАКЛЮЧНИЙ ІНСТРУКТАЖ

.Підведення підсумків роботи за день

.Обявлення оцінок учням

.Розбір типових помилок

При перевірці дії коробки передач з реверсом, та її розбиранні і збирані важливе значення має послідовність виконання роботи.

.Ознайомлення учнів з темою наступного практичного заняття

. Завдання додому

.Виховна робота.

Заключна частина

В розробку даної курсової роботи на тему: «Механізми та елементи трансмісії» мною було включено дидактичні розробки теоретичних, виробничих та практичного уроків,розгорнуті конспекти теоретичного та виробничого уроків, а також структурна схема уроків та опорний конспект до розгорнутого уроку теоретичного навчання.

При дидактичній розробці уроків я використала такі методи професійного навчання: словесний, проблемно-пошуковий, наочно-демонстраційний, метод самостійної роботи, практичний та лекція - диспут.

У розгорнутому конспекті теоретичного навчання на тему : «ГАЛЬМА» було використано тип уроку - комбінований. В якому були використані словесний, проблемно-пошуковий та наочно-демонстраційний методи навчання. В цьому уроці було розглянуто загальні відомості про гальма, та їх класифікації.

У розгорнутому конспекті виробничого навчання на тему «МЕХАНІЧНА СИЛОВА ПЕРЕДАЧА» була використана операційно-комплексна система за допомогою якої учні повинні спочатку вивчити і засвоїти загальні прийоми роботи, а далі послідовно вивчені операції поєднують з виконанням комплексних робіт, що включають усі вивчені операції.

Похожие работы на - Розробка педагогічного курсу професійного виховання 'Механізми та елементи трансмісії'

 

Не нашли материал для своей работы?
Поможем написать уникальную работу
Без плагиата!
Без нейросетей!