Виробництво алюмінію

  • Вид работы:
    Контрольная работа
  • Предмет:
    Химия
  • Язык:
    Украинский
    ,
    Формат файла:
    MS Word
    485,76 Кб
  • Опубликовано:
    2014-01-16
Вы можете узнать стоимость помощи в написании студенческой работы.
Помощь в написании работы, которую точно примут!

Виробництво алюмінію

 

 












Виробництво алюмінію

 


1. Характеристика галузі за останні 10 років

Первинний алюміній і сплави на його основі

Показники

Роки (1999-2003)


1999

2000

2001

2002

2003

Загальний обсяг виробленої продукції, тис. т.

115

104

106

112

114

Показники

Роки (2007-2011)


2007

2008

2009

2010

2011

Загальний обсяг виробленої продукції, тис. т.

113

113

50

25

7


2. Розміщення підприємств галузі

Структура галузі

В Україні сформувалися два райони кольорової металургії - Донецький і Придніпровський.

У Придніпровському районі кольорова металургія представлена Дніпровським алюмінієвим заводом і магнієвим комбінатом, які були прив'язані до енергетичного комплексу "Дніпрогес". Алюмінієвий завод забезпечується сировиною з Миколаївського глиноземного заводу, який працює на імпортованих гвінейських бокситах.

Алюміній - легкий, порівняно міцний метал. Як сировина для виробництва алюмінію можна використовувати боксити, алуніти, сієніти, нефеліни, а також каолін, запаси якого на території дуже великі. Основною алюмінієвою рудою є боксити. Запаси бокситів на території України незначні. Промислове значення має родовище Смілянське (Черкаська обл.) Та Високопільське (Дніпропетровська обл.). Вони можуть забезпечити сировиною лише Запорізький Алюмінієвий завод протягом деякого часу, але їх запасів недостатньо для збільшення виробництва алюмінію на Україні. Цінною сировиною для виробництва алюмінію є алуніти. Значні запаси їх відкриті в Закарпатській області (родовище Берегівське і Беганське). Ніфілінові сієніти як сировина для виробництва алюмінію є в Дніпропетровській області та Приазов'ї. Дуже важливою сировиною для виробництва алюмінію є каолін. Його родовища є в багатьох областях України, а видобувається він переважно у Вінницькій, Хмельницькій, Дніпропетровській і Запорізькій областях.

Вироби з кольорових металів і їх сплавів вживають в основному при обробці монументальних адміністративних і культурно-побутових будівель, а також при зведенні споруд, що відносяться до першого класу. Для цих цілей використовують мідь, латунь, бронзу, алюміній і сплави з алюмінію та інших кольорових металів для художнього лиття.

Найбільш широке застосування в сучасному будівництві знаходить алюміній. З нього виготовляють віконні і дверні коробки, віконні рами і обрамлення скляних дверних полотен; з міцних алюмінієвих сплавів (дюралюміній та ін.) роблять легкі стінні і перегородкові панелі, плити перекриттів, кроквяні і мостові ферми і т. п.

Зараз вийшло, що практично ні по одному виду кольорових металів в Україні немає замкнутого циклу виробництва - від сировини до готових металовиробів. Кольорова металургія та її посередники вже переорієнтовані на експортний збут сировинної чи напівсировинної продукції.

Алюмінієва промисловість України включає в себе Миколаївський глиноземний завод, Запорізький алюмінієвий комбінат, заводи з виробництва вторинного алюмінію та Броварський завод алюмінієвих будівельних конструкцій, що входить в систему Київміськбуду.

3. Основні проблеми галузі

Внутрішній попит на алюмінієву продукцію в 1990-1996 рр.. знизився з 464 тис. т. до 360 тис. т. У той же час попит виріс в будівельній галузі з 164 до 280 тис. т.; авіакосмічної з 25 до 52 тис. т.; виробництві пакувальних матеріалів. Миколаївський глиноземний завод та Запорізький алюмінієвий комбінат - одні з небагатьох підприємств Мінпрому, на яких після розпаду СРСР практично не було спаду виробництва. Підприємства вторинної кольорової металургії у зв'язку зі скороченням обсягів збору алюмінієвого брухту та його постачань з Росії скоротили випуск вторинного алюмінію в середньому на 50%.

У перерахунку на душу населення виробництво алюмінію складає близько 7 кг, що значно менше, ніж у промислово розвинених країнах (ФРН - 21,7, США - 19,4, Японія - 18,8, Франція - 15,2, Італія - 10,4, Великобританія - 8,1 кг).

Якщо виходити з того, що в найближчі роки економічна ситуація в Україні стабілізується і надалі середньорічні темпи збільшення обсягів виробництва складуть 3-4%, то можна прогнозувати, що рівень використання алюмінієвої продукції зросте до 500 тис. тонн на рік. Потреба в первинному алюмінії зросте до 400 тис. тонн на рік. Тому введення в дію нових потужностей для виробництва первинного алюмінію і різних видів напівфабрикатів з алюмінію вкрай необхідний.

Головною сировиною для виробництва алюмінію в Україну, як і в усьому світі, служать боксити із вмістом глинозему 48-60%. Як показало детально проведена в 50-х роках геологорозвідка, Україна не має такої високоякісної сировини. Потенційні ресурси сировини, що вміщує алюміній (залізисті боксити Високопільського родовища Дніпропетровської обл., Нефелінові руди у Приазов'ї, Закарпатські алуніти, каолін та ін.) відповідно до виконаних техніко-економічних розрахунків за своїми показниками не конкурентоспроможні порівняно з імпортною сировиною (Гвінея, Ямайка, Австралія, Бразилія і т.д.) і не можуть бути перероблені за діючими на МГЗ і ЗАлК технологіями. У зв'язку з цим одним з найбільш важливих завдань, виконання яких дасть можливість забезпечити потребу України в бокситах, є створення міждержавного комплексу з видобутку та переробки бокситів унікального родовища Діан-Діан в Гвінеї.

Додаткових потужностей з виробництва глинозему в Україну створювати не потрібно: діючий МГЗ має можливість забезпечити сировиною виробництво первинного алюмінію до 500 тис. тонн на рік. При вирішенні питання про створення потужностей з виробництва первинного алюмінію слід враховувати, що з-за багаторазового зростання вартості енергоносіїв внутрішні ціни на первинний алюміній в СНД практично відповідають світовим. Враховуючи, що витрата дефіцитної в Україні електроенергії на виробництво однієї тонни первинного алюмінію складає близько 15 тис. кВт-год, а на все виробництво такого алюмінію (400-500 тис. тонн на рік) - 6-7,5 млрд. кВт-год, як один з можливих джерел первинного алюмінію слід розглядати імпорт від традиційних експортерів (Росія, Канада, Норвегія, Австралія, Бразилія).

4. Основні екологічні проблеми

Серед усіх кольорових металів алюміній сьогодні займає перше місце. Поряд з виробництвом алюмінію підприємства алюмінієвої промисловості випускають кристалічний кремній, алмазно-кремнієві сплави (силуміни), содові продукти, мінеральні добрива, цемент, п’ятиокис ванадію, металевий галій.

Сучасне виробництво алюмінію складається з двох основних продуктів: отримання глинозему Al2O3 з бокситів та отримання металевого алюмінію шляхом електролізу розплавленого глинозему.

В Україні діють два провідних підприємства алюмінієвої промисловості: Дніпровський алюмінієвий завод (м. Запоріжжя). та Миколаївський глиноземний завод.

До чинників, що здійснюють значний негативний вплив на стан навколишнього середовища, належать газоподібні, рідкі та тверді відходи виробництва.

При виробництві глинозему шляхом переробки алюмінієвих руд утворюється сірчаний ангідрид, а при переробці нефелінів містяться майже всі компоненти, необхідні для виробництва цементу. Тому в першому випадку викидається велика кількість пилу. Джерелом забруднення повітря є також термічні переділи: випал вапняку, спікання шихти і кальцинація - зневоднення. Піч спікання за годину викидає до 300 тис.м3 газу, а в кожному з них міститься до 150 мг пилу; піч кальцинації - до 72 тис. м3 газу, тобто в 4 рази менше, але пилу в них у стільки ж разів більше.

Викиди алюмінієвої промисловості містять токсичні пилоподібні речовини, миш’як, свинець та інші, тому є особливо небезпечними. При отриманні металевого алюмінію електролізним способом відбувається бурхливе виділення анодних газів, збагачених пилом та шкідливими складовими. Пил містить глинозем і кріоліт. Діапазон розмірів часток пилу від 1 до 50 мкм. Склад газів: фтористий водень, оксиди вуглецю, смоли, сірчаний газ, пил. Концентрація цих речовин в газах залежить від типу електролізера, виду анодів, способів завантаження глинозему, режиму роботи електролізера та інших. Температура анодних газів досягає 150°С, тому має місце теплове забруднення атмосфери.

При отриманні 1 т алюмінію в залежності від типу і потужності електролізера витрачається, 38...45 кг фтору, при цьому приблизно 65% його потрапляє в повітря. Забруднювачами слугують джерела втористого водню - кріолін, тобто сполука без якої неможливий електроліз. В газах його міститься до 200…300 мг/м3.

Заходи боротьби з шкідливим впливом газів різноманітні. На нових глиноземних заводах застосовують двоступеневу схему очищення газів від печей спікання і кальцінації глинозему: батарейні циклони і чотирипильні сухі електрофільтри типу УГ зі швидкістю руху газів в електричному полі 1,0..1,3 м/с. При загальному ККД очистки 99…99,9% в очищених газах міститься пилу 0,1…0,2 г/м3.

Димососи встановлюють в кінці системи або перед електрофільтрами. Звичайно батарейні циклони монтують над печами, а вловлений в них пил самоплавом повертається в піч низьконапірним пневмотранспортом, і процес повторюється. Аналогічну схему очищення застосовують для очищення газів вапняково-випалювальних печей.

Аспіраційні гази вузлів пересипки і дроблення спіку очищають за один ступніь в горизонтальних електрофільтрах типу УГ за швидкістю руху газів в електричному полі до 0,7 м/с. Залишкова запиленість газів, що надходять до атмосфери, становить 0,1…0,15 г/м3.

Гази, що надходять від електролізерів, з домішками таких забруднюючих речовин як фтористий водень, пил і смолисті речовини, очищають за допомогою слабкого содового розчину (4…6%). Пил і смолисті речовини можуть також видалятись за допомогою електрофільтрів, а фтористий водень в форсуючних скруберах із зрошенням розчином соди. Ступінь очищення таким способом від різних забруднювачів становить: фтористий водень - 97-98%, пил - 95%, смоли - 60%.

В електролізерах з обпаленими анодами газ очищають в два етапи: спочатку у вертикальних електрофільтрах, а потім в мокрих скруберах. Ступінь очищення - 92% від пилу і 96…97% від фтористого водню.

Електролізери обладнані також пальниковими пристроями для допалювання оксиду вуглецю.

Забруднені води при виробництві алюмінію очищають на локальних очисних спорудах з подальшим використанням їх в системах зворотного водопостачання. Свіжа вода необхідна лише для підживлення системи.

Основна частина забруднюючих речовин в стічні води потрапляє при очищенні газів. Але значне забруднення води відбувається через поверхневий стік з території підприємства. Алюмінієве виробництво належить до тих виробництв, на яких за умовами технології неможливо у повній мірі виключити надходження у стік специфічних домішок з токсичними властивостями.

Так як стічні води алюмінієвого виробництва мають високу температуру, то в системах зворотнього водопостачання передбачаються споруди для очищення води від завислих і токсичних речовин (відстійники, фільтри та інші) для охолодження (градирні, бризкальні басейни), для пом’якшення (катіонітові фільтри), для видалення токсичних речовин (адсорбери).

При виробництві багатьох кольорових металів є шлам, що накопичується у шламовідстійниках, і який може використовуватись у промисловості будівельних матеріалів. Наприклад, при виготовленні алюмінію з нефелінів з відходів виготовляють нефеліновий цемент, з якого отримують конструкційний ізоляційний газобетон високих марок, зі шламу отримують вогнетривкий бетон і цеглу, а також випалені плити, блоки, легковаговий ізоляційний матеріал. У дорожньому будівництві його використовують для зміцнення ґрунтів підстилаючого шару, а також як в’яжучий асфальтобетон.

Розроблені методи використання шламів алюмінієвої промисловості при виробництві шлакощебеню, шлакокристалів, в’яжучих матеріалів, будівельної кераміки, глиняної і силікатної цегли, а також цементу і керамзиту як залізовмісної добавки замість дефіцитних піритних недогарків. Шлами можуть слугувати перспективною сировиною для багатьох інших будівельних матеріалів. Червоний шалам алюмінієвого виробництва знайшов своє застосування як реагент в металургійній промисловості при виробництві агломерату і залізорудних окатишів, як пігмент для зафарбування ламінованих деревостружкових плит. Дослідження виявили, що червоний шлам алюмінієвої промисловості є добрим сорбентом для очищення промислових газів від сполук сірки, фтору, азоту та інших, для уловлення пестицидів із забруднених вод. Червоний шлам все ж тієї алюмінієвої промисловості має складну будову. Вміст в ньому великого набору макро- і мікроелементів (фосфору, заліза, магнію, марганцю, міді, кобальту, титану, нікелю, сірки, хлору і бору), що знаходяться в рухливому стані і легко засвоюється рослинами, відсутність небезпечних токсичних речовин дають можливість застосовувати червоний шлам як мінеральні добрива для підживлення сільськогосподарських культур. Мікроелементи, що входять у червоний шлам, значно поліпшують якість і харчову цінність врожаю. Враховуючи лужні якості червоного шламу, його застосування особливо перспективне на засолених грунтах. Значним внеском у захист навколишнього середовища є реутилізація використаного металу. В аналогічному ступені відбувається забруднення повітря та води на підприємствах кольорової металургії, що займаються виготовленням міді, цинку, свинцю та інших металів. Важливою проблемою для підприємств кольорової металургії є забруднення ландшафтів. На територіях заводів накопичується дуже велика кількість твердих відходів та шламів. Шламосховища часом досягають за площею 200 га. Ці шламонакопичувачі на поверхні висихають і вітер розносить пилюку на прилеглі до заводів території. Відходи також інфільтруються у ґрунт і потрапляють в підземні води, забруднюючи їх.

5. Перспективні напрямки розвитку галузі

У Міністерстві промислової політики України було представлено Стратегію розвитку кольорової металургії України, в якій головною метою є задоволення внутрішнього попиту у кольорових металах і сплавах та розширення присутності вітчизняної продукції на зовнішніх ринках.

Звертається увага на те, що державна політика у кольоровій металургії має бути спрямована на розробку стратегічних та структурних перетворень у промисловості, яка дозволить якісно поєднати можливості держави з цілями власників великого промислового бізнесу, тим самим підвищуючи інвестиційну привабливість галузі.

Однією з умов ефективної інтеграції вітчизняних метпідприємств у глобальні процеси світового ринку докорінне їх технічне переозброєння, ключовим моментом якого має стати впровадження автоматизованих систем управління виробництвом.

Було підкреслено, що для досягнення поставленої мети Управління кольорової металургії та вторинних металів Мінпромполітики України зосереджує увагу на вирішенні наступних завдань:

·        Підвищення конкурентоспроможності продукції кольорової металургії на базі використання передових технологій;

·        Підвищення інвестиційної привабливості галузі, в тому числі для іноземних інвестицій;

·        Технічне переозброєння та реструктуризація підприємств кольорової металургії, безпосередньо наукових організацій, покращення забезпечення науковими та робітничими кадрами.

Для поліпшення стану алюмінієвої підгалузі Державною програмою розвитку та реформування гірничо-металургійного комплексу були передбачені і частково досягнуті наступні заходи:

·        Розширення потужностей ТОВ "Миколаївський глиноземний завод" до 1600 тис. т на рік глинозему;

·        Організація на ВАТ "Запорізький алюмінієвий комбінат" виробництва алюмінієвої фольги та стрічки загальною потужністю 25,6 тис. т на рік, у тому числі гладкою фольги - 9,6 тис. т на рік, алюмінієвої стрічки - 16 тис. т на рік.

Крім того, розглядається можливість будівництва в Україні нового алюмінієвого заводу виробничою потужністю не менш ніж 100 тис. т на рік.

У зв'язку із зростанням цін практично на всі основні метали, вирішено розглянути питання про перехід від експорту брухту і відходів кольорових металів і сплавів до їх імпорту.

6. Принципова технологічна схема виробництва

Одержання глинозему з руд

Глинозем одержують трьома способами: лужним, кислотним і електролітичним. Найбільше поширення має лужний спосіб (метод К.І.Байєра, розроблений у Росії наприкінці позаминулого сторіччя й застосовуваний для перероблення високосортних бокситів з невеликою кількістю до 5-6% кремнезему). З того часу технічне виконання його було істотно поліпшене. Схема виробництва глинозему за способом Байєра подана на рис. 1.

Рисунок 1 - Схема одержання окису алюмінію за способом Байєра

Сутність способу полягає в тому, що алюмінієві розчини швидко розкладаються при введенні в них гідроокису алюмінію, а розчин, що залишився від розкладання, після його випарювання в умовах інтенсивного перемішування при 169-170°С може знову розчиняти глинозем, що утримується в бокситах. Цей спосіб складається з таких основних операцій:

) підготовки бокситу, що полягає в його дробленні й подрібнюванні у млинах; у млини подають боксит, їдкий луг і невелику кількість вапна, що поліпшує виділення А12О3; отриману пульпу подають на вилуджування;

) вилуджування бокситу (останнім часом застосовувані до цього часу блоки автоклав круглої форми частково замінені трубчастими автоклавами, у яких при температурах 230-250°С (500-520 К) відбувається вилудження, що полягає в хімічному його розкладанні від взаємодії з водним розчином лугу; гідрати окису алюмінію при взаємодії з лугом переходять у розчин у вигляді алюмінату натрію:

+ NaOH → NaAl2+ Н2О,(OH)3 + NaOH → NaAlО2 + 2H2O.

Кремнезем, що міститься у бокситі, взаємодіє з лугом і переходить у розчин у вигляді силікату натрію:

іО2 + 2NaOH →Na2SіО3 + H2O.

У розчині алюмінат натрію й силікат натрію утворюють нерозчинний натрієвий алюмосилікат; у нерозчинний залишок переходять окисли титану й заліза, що віддають залишок червоного кольору; цей залишок називають червоним шламом. По закінченні розчинення отриманий алюмінат натрію розбавляють водним розчином лугу при одночасному зниженні температури на 100°С;

) відділення алюмінатного розчину від червоного шламу звичайно здійснюється шляхом промивання у спеціальних згущувачах, у результаті цього червоний шлам осідає, а алюмінатний розчин зливають і потім фільтрують (освітлюють). В обмежених кількостях шлам знаходить застосування, наприклад, як добавка до цементу. Залежно від сорту бокситів на 1 т отриманого оксиду алюмінію припадає 0,6-1,0 т червоного шламу (сухого залишку);

) розкладання алюмінатного розчину виконують шляхом фільтрації і перемішування у великих ємностях з мішалками (декомпозити). З пересиченого розчину при охолодженні на 60°С (330 К) і постійному перемішуванні видаляється гідрооксид алюмінію А1(ОН)3. Оскільки цей процес відбувається повільно й нерівномірно, а формування й ріст кристалів гідроокису алюмінію мають велике значення при його подальшій обробці, у декомпозити додають велику кількість твердого гідроокису - запалу:

O·А12О3 + 4Н2О → Al(OH)3+2NaOH;

) виділення гідроокису алюмінію і його класифікації; це відбувається у гідроциклонах і вакуум-фільтрах, де від алюмінатного розчину виділяють осад, що містить 50-60% часток А1(ОН). Значну частину гідроокису повертають у процес декомпозиції як затравочний матеріал, що і залишається в обороті в незмінних кількостях. Залишок після промивання водою йде на кальцинацію, фільтрат також повертається в оборот (після концентрації у випарних апаратах - для вилуджування нових бокситів);

) зневоднювання гідроокису алюмінію (кальцинації); це завершальна операція виробництва глинозему. Її здійснюють у трубчастих обертових печах, а останнім часом також у печах з турбулентним рухом матеріалу при температурі 1150-1300°С; сирий гідроокис алюмінію, проходячи через обертову піч, висушується й зневоднюється; при нагріванні відбуваються послідовно такі структурні перетворення:

(OH)3 →A1OOH → γ-А12О3 → α-А12О3

°С 950°С 1200°С.

У остаточно прожареному глиноземі утримується 30-50% α-А12О3 (корунд), інше γ-А12О3.

Цим способом витягується 85-87% від усього одержуваного глинозему. Отриманий окис алюмінію становить міцну хімічну сполуку з температурою плавлення 2050°С.

Одержання алюмінію з його окису

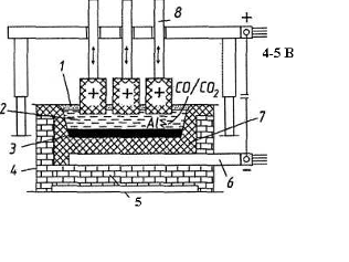
Електролітичне відновлення окису алюмінію, розчиненого в розплаві на основі кріоліту, здійснюється при 950-970°С у електролізері. Електолізер складається з футерованої вуглецевими блоками ванни, до поду якої підводиться електричний струм (рис.2).

Рисунок 2 - Схема електролізної ванни: 1 - окис алюмінію (Al2O3); 2 - кріолітоглиноземний розплав; 3 - рідкий алюміній; 4 - ванна зі сталевого листа; 5 - шамот; 6 - струмопровідна шина; 7 - вугільні подові блоки; 8 - аноди

Рідкий алюміній, що виділився на поді, служить катодом важче розплаву солі електроліту, тому збирається на вугільній основі, звідки його періодично відкачують. Зверху в електроліт занурені вугільні аноди, які згоряють в атмосфері алюмінію, що виділяється з окису кисню, виділяючи окис вуглецю (СО) або двоокис вуглецю (СО2) (рис. 3). На практиці знаходять застосування два типи анодів:

Рисунок 3 - Схема електролізера: 1 - алюмінієвий розплав; 2 - електроліт; 3 - рафінований алюміній високої чистоти; 4 - катод із графіту; 5 - магнезитова стіна; 6 - передній горн; 7 - ізолюючий шар; 8 - бічна ізоляція; 9 - вугільний под; 10 - анодний струмопідвід; 11 - ізоляція поду; 12 - залізний короб; 13 - кришка

а) аноди, що само обпалюються, складаються із брикетів, так званих "хлібів" маси Зедерберга (малозольне вугілля з 25-35% кам'яновугільного пеку), набитих в алюмінієву оболонку; під дією високої температури анодна маса обпалюється (спікається);

б) обпалені, або "безперервні", аноди з більших вугільних блоків (наприклад, 1900,600,500 мм масою близько 1,1 т).

Сила струму на електролізерах становить 150000 А. Вони включаються в мережу послідовно, тобто виходить система (серія) - довгий ряд електролізерів.

Робоча напруга на ванні, що становить 4-5 В, значно вища напруги, при якій відбувається розкладання окису алюмінію, оскільки в процесі роботи неминучі втрати напруги в різних частинах системи.

Окис алюмінію перетворюється спочатку у хлорид алюмінію. Потім у щільно ізольованій ванні відбувається електроліз АlСl3, розчиненого в розплаві солей КСl, NaCl. Хлор, що виділяється при цьому, відсмоктується й подається для вторинного використання; алюміній осаджується на катоді.

Перевагами даного методу перед існуючим електролізом рідкого кріолітоглиноземного розплаву (А12О3, розчинений в кріоліті Na3Al6) вважають: економію до 30% енергії; можливість застосування окису алюмінію, що не придатний для традиційного електролізу (наприклад, АlО3 з високим вмістом кремнію); заміну дорогого кріоліту більш дешевими солями; зникнення небезпеки виділення фтору.

7. Характеристика сировини, основної продукції, побічної продукції та відходів виробництва алюмінію

Таблиця 2

Сировина

Допоміжні матеріали

Основна продукція

Побічна продукція

Відходи

Боксит

Водний розчин лугу

Глинозем (Оксид Алюмінію)

Червоний шлам

Йдуть на повторне використання в циклі

Глинозем

Розчин на основі кріоліту

Алюміній

солі КСl, NaCl.

окис вуглецю (СО) або двоокис вуглецю (СО2); обпалені аноди



8. Характеристика основних стадій технологічного процесу одержання глинозему та алюмінію

Таблиця 3

Стадія (процес)

Основні параметри (хімізм)

Технологічне обладнання

Вхідні продукти

Вихідні продукти

Одержання глинозему з руд

Сутність способу полягає в тому, що алюмінієві розчини швидко розкладаються при введенні в них гідроокису алюмінію, а розчин, що залишився від розкладання, після його випарювання в умовах інтенсивного перемішування при 169-170оС може знову розчиняти глинозем, що утримується в бокситах.

Млини; Автоклави; Згущувачі; Декомпозити; Гідроциклони; Вакуум-фільтри; Обертові печі; Печі з турбулентним рухом;

Боксит

Глинозем (Оксид Алюмінію); Червоний шлам

Одержання алюмінію з його окису

Електролізер

Глинозем (Оксид Алюмінію);

Чистий алюміній

алюміній екологічний сировина сплав

9. Контроль якості продукції: глинозему, алюмінію первинного і алюмінієвих сплавів

Продукт

Показники відповідного ТУ, ДСТУ або ГОСТ

Сировина

ГОСТ 30558-98 - Глинозем металургійний.

Готова продукція

ГОСТ 11069-2001 Алюміній первинний. Марки  ГОСТ 11069-74 Алюміній первинний. Марки ГОСТ 21132.1-81 Алюміній і сплавий алюмінієві. ГОСТ 21132.0-75 Алюміній і сплавий алюмінієві. ГОСТ 21132.1-98 Алюміній і сплавий алюмінієві. ГОСТ Р 50965-96 Алюміній і сплавий алюмінієві. ГОСТ 4784-74 Алюміній і сплавий алюмінієві.



Висновок

На закінчення даної роботи можна зробити висновки, що комплекс кольорової металургії України являє собою базову галузь економіки України.

Комплекс кольорової металургії відіграє важливу роль в господарстві нашої країни. Це пов'язано з тим, що він визначає її економічний потенціал і зумовлює розвиток інших галузей господарства, передусім машинобудування і металообробки.

У металургії зосереджена велика частина промислово-продуктивних основних фондів. Галузь впливає також на розвиток територіальної структури країни - на утворення промислових районів, вузлів і центрів.

Однією з найгостріших проблем на сучасному етапі розвитку кольорового металургійного комплексу України є раціональне природокористування і охорона навколишнього середовища.

Похожие работы на - Виробництво алюмінію

 

Не нашли материал для своей работы?
Поможем написать уникальную работу
Без плагиата!
Без нейросетей!