Проект автоматичного фільтра-пресу ФПАКМ для фільтрування культуральної рідини
Зміст
ВСТУП
. Теоретична частина
.1 Характеристика способів і
обладнання для процесу фільтрування
.2 Різновиди фільтрів
.2.1 Фільтри періодичної дії
.2.2 Фільтри безперевної дії
.3 Фільтр-прес автоматизований
камерний модифікований (ФПАКМ)
.4 Опис технологічної схеми
. Розрахункова частина
ВИСНОВОК
СПИСОК ВИКОРИСТАНОЇ ЛІТЕРАТУРИ
ВСТУП
Фільтри - апарати призначені для
розділення неоднорідних сумішей методом фільтрування через перегородку
(тканину, металічну сітку, картон, пористу кераміку, зернистий шар піску,
діатоміт) називають фільтром. За принципом дії фільтри поділяють на періодичні
і безперервні.
До фільтрів періодичної діїи
відносяться фільтри, які працюють під тиском стовпа рідини,- гравітаційні (з
зернистим шаром, листові,фільтрувальні чаши); фільтри працюючі під вакуумом
(нутч-фільтри).
До фільтрів безперервної дії
відносяться фільтри, працюючі під вакуумом (барабанні, дискові, стрічкові), та
фільтри,які працюють під тиском (барабанні).
Фільтр-прес - апарат для
фільтрування тонкозернистих шламистих пульп з незначним вмістом твердих
частинок (наприклад, флотаційних відходів збагачення вугілля). Виготовляють
камерні і стрічкові фільтр-преси.
Фільтри преси типу ФПАКМ
призначені для розділення тонко дисперсних суспензій з розмірами частинок не
більше 3 мм і вмістом твердої фази від 10 до 500 
при температурі до 80⁰С.
Цей фільтр дозволяє здійснювати за заданої програми в автоматичному режимі всі
технологічні і допоміжні операції: фільтрування, промивання, пресування і
зняття осаду, підйом і спускання фільтрувальних плит. Фільтр-прес ФПАКМ має ряд
переваг перед іншими фільтрами та фільтр-пресами.
1.
Теоретична частина
1.1 Характеристика способів і
обладнання для процесу фільтрування
Фільтри - апарати призначені для
розділення неоднорідних сумішей методом фільтрування через перегородку
(тканину, металічну сітку, картон, пористу кераміку, зернистий шар піску,
діатоміт) називають фільтром.
За принципом дії фільтри поділяють
на періодичні і безперевні. Фільри класифікують за тиском на гравітаційні,
працюючі під тиском стовпа рідини, вакуум-фільтри та фільтри-преси.
До фільтрів періодичної діїи
відносяться фільтри, які працюють під тиском стовпа рідини,- гравітаційні (з
зернистим шаром, листові,фільтрувальні чаши); фільтри працюючі під вакуумом
(нутч-фільтри).
До фільтрів безперервної дії
відносяться фільтри, працюючі під вакуумом (барабанні, дискові, стрічкові), та
фільтри,які працюють під тиском (барабанні). У мікробіологічних виробництвах
фільтрування використовується в процесах розподілення біомаси від культуральної
рідини, для знебарвлення розчинів, які містять біологічно активні речовини, для
стерелізуючого фільтрування, для осаджених з розчину біологічно активних
речовин. Всі ці процеси можно поділити на три основні види: розподілення
суспензій з ціллю розподілення рідкої і твердої фази; освітлення з ціллю
очистки рідини від дрібних часток, які забруднюють рідину або уловлювання
цільової твердої фази, вміст якої в розчині невеликий. Згущення суспензії з
цільюпідвищення концентрації твердої фази.
Принципова схема роботи будь-якого
фільтра проста: суспензія подається на пористу перегородку, а тверда фаза
затримується на перегородці в вигляді ущільненого шару осаду.
1.2 Різновиди фільтрів
.2.1 Фільтри періодичної дії
Друк-фільтри. Сучасні
конструкції друк-фільтрів с підйомною S-подібною мішалкою застосовуються для
фільтрування під тиском у виробництві напівпродуктів органічного синтезу.
Фільтр не складною будови, складається з циліндричного корпуса з сферичним
дном, до якого прилаштована теплова рубашка і фільтрувальна перегородка. Дно
кріпиться до корпуса відкидними гвинтами. Для перемішування і гідро
вивантаження осаду встановлена S-подібна мішалка , яка з допомогою
гідролітичного чи механічного приводу може підніматися і опускатись. Мішалка
має реверсивний привод. При обертанні мішалки в оду сторону відбувається
загладжування тріщин в осаді, в протилежний бік- каламучення і переміщення
осаду до штуцера гідро розгрузки фільтри. При «сухому» видаленні осаду його
розрихлюють мішалкою і згребають до люка для вивантаження.
Суспензія подається у фільтр через
верхній штуцер корпуса, фільтрат видаляють через штуцер у дні, а осад видаляють
через бічний штуцер чи люк. Фільтрувальним матеріалом в друк-фільтрах може бути
фільтрувальна тканина чи керамічна пориста плитка. Увипадку використання
фільтрувальної тканини її закріплюють затискаючи між фланцами дна і корпуса.
При використанні керамічної плитки фільтр не може мати дна, що опускається, так
як фільтрувальна перегородка замінюється дуже рідко. Але в цьому випадку
необхідно використовувати рідину, яка розчинює тверду фазу, яка здатна
закупорювати пори плиток, чи видувати плитки гострою парою. Використання
друк-фільтрів в виробництві органічного синтезу зумовлено їх повною
герметизація і можливістю проведення фільтрування і промивання осаду при певній
температурі процесу фільтрування.
Перевагою друк-фільтрів з
мішалкою є можливість ретельної відмивання осаду з промивною рідиною і
можливістю проведення подальшого фільтрування всієї суспензії. До недоліків цих
фільтрів можно віднести їх невелику продуктивність (до 3 
), не зручності закріплення
фільтрувальної тканини і не можливість повної регенерації її фільтруючих
властивостей.
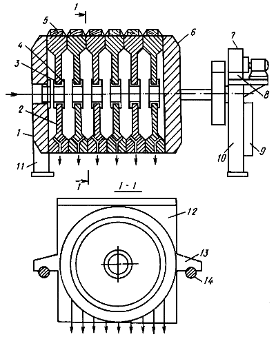
Камерний
фільтр-прес (рис.2.1.1.1.).
Фільтр-преси складаються з
набору камер і функціонують таким чином.Фільтрувальна плита 1 перекривається
перфорованим листом 2, який покритий фільтруючою тканиною 3. Між плитою і рамою
4 укладається ґумова діафрагма 5. Фільтр-прес функціонує періодично. Повний
цикл роботи фільтра складається з таких основних операцій (рис.2.1.1.2.).
Пульпу (рис.а) під тиском подають по каналу 6 в простір 7, який обмежений
діафрагмою і фільтруючою тканиною. Частинки твердого утримуються на поверхні
тканини, а фільтрат протікає крізь шар осаду і тканину і видаляється по каналу
8. За визначеним часом подачу пульпи припиняють і в простір 9 між днищем плити
і діафрагмою під тиском подають воду (рис. б). В результаті подачі води
діафрагма розтягується і відбувається віджимання осаду (вода видавлюється з пор
між частинками). Після віджиму осаду плити розсовують (рис. в), включають
привод, що переміщує фільтруючу тканину, і при огинанні тканиною направляючих
роликів шкребками знімають осад. Після цього плити ущільнюють і цикл операцій
фільтрування повторюється. Тривалість циклу фільтрування залежить від
ґранулометричного складу матеріалу і знаходиться в межах від 3 до 200 хв.
Рис. 2.1.1.1. Схема камерного
фільтр преса
Рис.2.1.1.2. Схема камери
фільтр-преса в режимі фільтрування (а), віджиму (б) і вивантаження (в) осаду.
-фільрувальна плита;
2-перфорований лист; 3-фільтруюча тканина; 4-рама; 5-діафрагма; 6,8- канали;
7,9- робочі простори.
1.2.2 Фільтри безперервної дії
Найбільш перспективні для
мікробіологічних виробництв є барабанні фільтр-преси і по менший мірі-
стрічкові фільтри.
Стрічковий вакуум-фільтр
(рис.1.2.2.1.).
Вакуум-фільтр стрічковий-
вакуум-фільтр, в якому робочим органом є нескінченна сітчаста стрічка, яка при
своєму русі між обертовими барабанами послідовно навантажується пульпою
зневоднюваного матеріалу, проходить зону вакуумного фільтрування та просушування,
розвантажується та реґенерується. Продуктивність стрічкових вакуум-фільтрів і
вологість осаду суттєво залежать від гранулометричного складу, ступеня
попереднього згущення живлення і вмісту тонких глинистих частинок. Застосування
флокулянту приводить до збільшення швидкості зневоднення у 5 разів.
Стрічковий фільтр складається
з ряду нерухомо розташованих вакуумних камер, уздовж яких пересувається
конвеєрна гумова стрічка з вирізами. На стрічку натягнута фільтрувальна тканина
. По центру стрічки передбачені дренажні отвори. Пройшовши послідовно всі
операції фільтрування , осад знімається з тканини у кінцевого ролика .
Стрічковий фільтр має ті ж переваги , що й горизонтальні фільтри , в той же час
холостий пробіг тут становить більше 50%. До початку процесу фільтрації тканина
безперервно промивається . Цей фільтр дорожче інших горизонтальних фільтрів.
Поверхня його зазвичай становить південь 0,1 до 9 
.
Схема стрічкового фільтра
фірми Філіп ( Франція ) наведена на рис. 1.2.2.1. Гумова конвеєрна стрічка
приводиться в рух провідним баранчиком 3. Ведучий барабан приводиться від
електродвигуна через редуктор варіатор швидкості таким чином , що час повного
циклу фільтрації становить від 1 до 10 хв. Рідина для фільтрації надходить
через лійку розподіляється в зоні між заслонами 6 і 7, де фільтрат
відсмоктується, що утворився на стрічці осад проходить під заслоном 7, який має
тик з тонкої гумової стрічки. У наступних зонах ( 8 і 9) проводиться промивка
водою. Перегородки у вакуумному просторі 10 знімні. Патрубки 11-14 з'єднані з
ресиверами , в яких газ і рідина розділяються під вакуумом. Наприкінці ходу
стрічки осад зневоднюється і знімається близько ведучого барабана. Ресивери
спорожняються за допомогою барометричних конденсаторів або відцентрових
насосів.
Рис. 1.2.2.1. Схема
стрічкового фільтра.
-фільтрувальна стрічка;
2-конвєрна стрічка; 3- провідним барабан; 4- електродвигун приводу;
5-живильник; 6- гвинтовий заслон; 7- маятниковий заслон; 8- впускання води
першого промивання; 9- впуск води другого промивання; 10-вакуумний ящик;
11-видалення маточного розчину;12- видалення води першого промивання; 13-
видалення води другого промивання; 14- видалення води зневодненням.
Поверхня фільтрації таких
фільтрів до 30 
, передбачено випуск фільтрів з
поверхнею 60
. Переваги вакуумного стрічкового
фільтру безперервної дії основному наступні: фільтр простий по конструкції ,
так як в ньому відсутнє розподільна головка , а весь він може бути виконаний з
антикорозійних матеріалів .Жодна з частин фільтра не піддається значному зносу,
полегшений доступ до всіх частин фільтра. Продуктивність такого фільтра зростає
внаслідок того , що в першу чергу відкладаються більші частки і зникає
небезпека забивання пор тканини дрібними частками. Завдяки горизонтальному
розташуванню поверхні можна також отримувати більший шар осаду (до 12 см). Цих
переваг немає у фільтрах із зовнішньою поверхнею фільтрації. Важливі також
зручна промивка завдяки горизонтальному розташуванню апарату, а також
можливість промивання фільтрувального полотна під час холостого ходу. Така
промивка проводиться трубчастими форсунками з соплами для подачі води в
напрямку , зворотному напрямку фільтрації. Завдяки цьому тканина менше
зношується і подовжується термін її служби. Заміна фільтрувального полотна тут
також не представляє утруднень. Область застосування стрічкових фільтрів та ж ,
що і горизонтальних тарілчастих і карусельних , проте, за деякими даними ,
продуктивність стрічкового фільтру вище за більшої швидкості переміщення
стрічки.
Барабанний
вакуумний фільтр з зовнішньої фільтруючою поверхнею (рис.1.2.2.2.)
застосовують у промисловості за порівняння з обертовими фільтрами інших
конструкцій. Фільтр має високу продуктивність. Він працює таким чином. На
горизонтальному валу насаджений обертовий барабан 1 , що складається з двох дисків
, з'єднаних по колу планками. На планки натягнута металева сітка і понад сітки
- фільтруюча ткань.1 У радіальних площинах барабана встановлені перегородки ,
що розділяють внутрішню порожнину барабана на ізольовані відсіки. Звичайно
мається від 12 до 24 відсів ков . Кожен відсік спеціальної трубкою з'єднаний з
золотниковим механізмом розподільної головки 2 . При обертанні барабана тиск
усередині даного відсіку змінюється залежно від того , з якою частиною
розподільчої головки він з'єднується . Барабан занурений у резервуар з з
фільтрованої рідиною приблизно на 1 / 3 висоти.
Рис.1.2.2.2. Барабанний
вакуумний фільтр з зовнішньої фільтруючою поверхнею
Розглянемо процес в одному
відсіку . Спочатку в ньому створюється вакуум і рідина засмоктується всередину
відсіку (зона фільтрації I). Після того як відсік виходить з фільтрованої
рідини , в нього засмоктується повітря для просушування осаду (зона
просушування II). Якщо потрібно промивання, то після цього підводиться промивна
вода (зона промивки IV). Потім всередині відсіку створюють надлишковий тиск, і
повітря проходить крізь шар осаду - на фільтрує тканини (зона отдувки VI).
Після цього осад зрізається ножем з фільтруючою тканини, а залишилася після
зрізання плівка осаду видаляється при продуванні фільтра стисненим повітрям
(зона продувки VIII). Потім цикл повторюється. Ніж для знімання осаду не
стикається з поверхнею барабана - він є лише направляючої площиною . III , V ,
VII і IX - мертві зони , що перешкоджають повідомленням між собою робочих зон.
Відплив повітря з барабана,
подача стиснутого повітря в барабан, відкачка відфільтрованої рідини
виробляються через труби, з'єднані з золотниковим механізмом. Таким чином, за
один оборот барабана безперервно автоматично чергуються цикли роботи фільтра -
фільтрування, промивання, сушіння і розвантаження .
Максимальна продуктивність
досягається при найбільшому зануренні барабана (-40 % поверхні); розміри
поверхні фільтрації таких апаратів змінюються від 0,25 до 85 
. Барабани діаметром більше 3,7 м
звичайно не застосовують. Товщина шару осаду в барабанних вакуумних фільтрах
безперервної дії підтримується 20-40 мм, а при важко фільтровану опадах досягає
всього 5-10 мм. Товщина шару осаду залежить від частоти обертання барабана, яка
може змінюватися від 0,1 до 1,5 об/хв. Вологість осаду рідко буває нижче 10%,
частіше 30 % і більше. Пара і гази з верхньої частини апарату відводяться в
конденсатор. Якщо висота приміщення дозволяє встановити барометрическую трубу
висотою -10,5 м, то вакуумний насос з'єднують безпосередньо з апаратом, що
усуває необхідність установки конденсатора. Витрата енергії на обертання
фільтра становить від 0,4 до 4 кВт .
Фільтри виготовляють з
гумованої або спеціальної сталі. Прокладки між осередками замінюються швидко;
їх можна виготовити із сталі, ебоніту, полівінілхлориду, поліетилену незалежно
від матеріалу самого барабана. Фільтри мають шість різних систем для знімання
ущільненого осаду, обираних залежно від характеру продукту. Це з'їм шнурової,
ланцюгової, вальцьовий, ножовий з віддачею і без віддачі, шаберний з попереднім
фільтром і з'їм зі сходять фільтрувальним полотном. Фільтр забезпечений
маятникової мішалкою.
Барабанний вакуумний фільтр з
зовнішньої фільтруючою поверхнею належить до типу фільтрів, в яких напрямок
руху фільтрату і дія сили тяжіння протилежні. Це змушує вживати заходів, що
перешкоджають осіданню частинок або сповільнюють його. Для взмучивания твердої
суспензії з дна корита вакуумного фільтра і рівномірного розподілу її в
перемішувати обсязі найчастіше застосовують хитну. Можна також підвищити
концентрацію суспензії, внаслідок чого збільшується в'язкість і швидкість,
осідання твердих частинок зменшується.
1.3 Фільтр-прес автоматизований
камерний модифікований (ФПАКМ)
Фільтр-прес (рис.1.3.1.) - апарат
для фільтрування тонкозернистих шламистих пульп з незначним вмістом твердих
частинок (наприклад, флотаційних відходів збагачення вугілля). Виготовляють
камерні і стрічкові фільтр-преси.
Застосування фільтр-пресів
для зневоднення флотаційних відходів вуглезбагачувальних фабрик дозволяє
вирішити проблему обігового водопостачання без використання зовнішніх шламових
відстійників. Фільтр-преси дозволяють одержати відносно чистий фільтрат, який
містить менше 1
твердої фази, і зневоднений до
транспортабельного стану осад, який складують разом з відходами гравітаційного
відділення.
Фільтри преси типу ФПАКМ
призначені для розділення тонко дисперсних суспензій з розмірами частинок не
більше 3 мм і вмістом твердої фази від 10 до 500 
при температурі до 80⁰С.
Цей фільтр дозволяє здійснювати за заданої програми в автоматичному режимі всі
технологічні і допоміжні операції: фільтрування, промивання, пресування і
зняття осаду, підйом і спускання фільтрувальних плит. Фільтр-прес ФПАКМ має ряд
переваг перед іншими фільтрами та фільтр-пресами. Він володіє розгорнутою
фільтрувальною по верхньою; для його ромішення потрібна незначна виробнича
площа (наприклад установка, яка має поверхню фільтрування 25 
, займає площу 8
); віджим окремого осаду, який
виробляється під тиском 0,8-1,5 МПа, дозволяє отримати біомасу вологістю 60-70%
при порівняно малій витраті електроенергії (0,8-1 кВт 
фільтрувальній поверхні); не
великий час проведення допоміжних операцій, що підвищує питоме виробництво
установки в 6-8 раз по рівняно з іншими фільтр-пресами.
Управління технологічними
операціями на фільтрах-пресах здійснюється з допомогою електрогідравлітичного
пристрою, повністю виключаючи витрати ручної праці, що забезпечує високу
культуру виробництва.
Автоматичний камерний
фільтр-прес ФПАКМ складається з горизонтальних фільтрувальних плит,
розташованих одна над іншою між опорною і нажимною плитами. Плити можуть
переміщуватись вгору та вниз вздовж чотирьох направлених за рахунок переміщення
нажимної плити, яка приводиться в дію електродвигуном через систему механізмів.
При опусканні плит між ними утворюється щілина в 45 мм, а розташовані зверху і
знизу опорна і нажимна плити, які мають бічні патрубки, утворюють колектори
подачі суспензії і відведення фільтрату. У щілинах між плитами протягнута
нескінчена стрічка фільтрувальної тканини марки Ф товщиною 1,5-2 мм. Кожна фільтрувальна
плита має зверху решітку, на якій міститься тканинна стрічка з осадом, що
утворився, а під решіткою - піддон для прийняття фільтрату. Під піддонами
закріплена еластична гумова діафрагма, за допомогою якої під тиском води
здійснюють віджимання осаду.
При збиранні фільтра між
сусідніми плитами утворюються робочі камери з каналами над стрічкою для підводу
суспензії, каналами під решіткою для відводу фільтрату, а між діафрагмами і
піддонами - канали, через які піддається вода для відтиснення і пресування
осаду при тиску до 1,5 МПа. Основи плит мають гумові ущільнюванні прокладки.
Фільтр-пресс працює наступним
чином. Культуральна рідина піддається по бічним па цівкам колектора одночасно
до всіх плит. Де відбувається фільтрування. Фільтрат поступає в збірник, а осад
залишається на поверхні фільтрувальної тканини. Відділення культуральної рідини
від біомаси відбувається достатньо добре, і фільтрат виходить прозорим при
фільтрації і відтисненні осаду при тиску 0.4 МПа. При подальшому підвищуванні
тиску відтиснення до 0,8 МПа і витримуванні на протягом 5-6 хв. залишкова
вологість осаду досягає 65-70%. Винесення твердої фази з фільтром при тиску 0,4
МПа не відбувається, а при відтиснені оосаду під тиском 0,8 МПа максимальне
винесення складає не більш 0,09 г/л фільтрата. За необхідності осад перед
відтисненням можна промити і далі пресован діафрагмою чи обробити стисненим
повітрям. Рідина для промивання осаду подають на фільтр-пресс спеціальним
насосом, яка потім самопливом спускається в резервуар промивного фільтра.
Стрічка, на якій в робочих
камерах утворюється осад, починає працювати після припинення подачі суспензії
та розкриття фільтра, коли між плитами утворюється щілина до 45 мм для виходу
стрічки з осадом. При русі стрічки осад виноситься з міжплиточного простору і
вивантажується з двух сторін. Фільтрувальна тканина промивається холодною водою
за допомогою форсунок під тиском 0,3 МПа і очищується скребками чи щітками. При
русі стрічки між плитами чергується положення її сторін, що забезпечує її повне
очищення. Після очищення стрічки фільтрувальні плити затискаються і цикл
повторюється.
Питома продуктивність
фільтр-пресса ФПАКМ при концентрації твердої фази в суспензії 4-7 г/л складає
близько 100 
, тиск- 1,2 МПа.
Рис. 1.3.1. Схема
фільтр-преса.
-шарнітарна головка; 2-
упорна плита; 3-фільтрувальні плити; 4- фільтрувальна тканина; 5-гумове кільце;
6-ланцюг механізму переміщення плит; 7- напрямлені ролики; 8- притискна плита;
9- опорна балка; 10- привід ланцюгової передачі; 11-гідропривод; 12-жолоб для
відводу фільтрату.
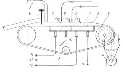
1.4 Опис
технологічної схеми
фільтр прес
вакуум
У змішувачі 1 готується
поживне середовище, яке за допомогою гріючої колони 5, витримувала 6 та
теплообмінника 7 стерилізується. У змішувачі 8 готується поживне середовище для
посівного матеріалу. В цей час за допомогою посівного апарату 9 вирощують сам
посівний матеріал, з використанням якого у ферментері 10 вирощують виробничу
культуру. Потім отриману культуральну рідину обробляють в ректорі 13 30%-вим
розчином концентрованої соди. Отриманий осад хлортетрацикліна та міцеліальної
маси відділяли у фільтр пресі 15 від розчину. Після використовували стрічкову
сушильну установку 19 для сушіння отриманої біомаси та осаду. Отриманий продукт
фасують.
2. Розрахункова
частина
Вихідні дані до розрахунку:
Продуктивність G=5
Вихід фільтрату першої
сатурації Р= 120% маси
Фільтр працює при постійному
тиску Δр=0,3
МПа
Масовий вміст сухих речовин
СВ=20%
Вологість осаду після стадії
фільтрування W=60%
Тривалість обезводнення і
просушки 
Густина: 
; 
; С=6%; 
;
1. Відношення об’єму осаду до
об’єму фільтрату:
α=
2. Маса твердої фази,
що відкладається під час отримання 1 
фільтрату:
. Пористість осаду:
.
Сталі 
|
τ ,с.
|
q* 
|
|
|
68,5
|
0,5
|
11,4
|
|
230
|
1
|
19,2
|
|
485
|
1,5
|
22,8
|
|
826
|
2
|
27,5
|
Із графіку отримуємо :

; 
5. Найбільша питома
продуктивність фільтра (за фільтратом):
Таким чином:
. Оптимальна товщина шару
осаду:
Оптимальний об’єм фільтрату має дути
у межах:
. Тривалість стадії
фільтрування:
. Тривалість стадії
промивання:
. Тривалість основної стадії
. Тривалість циклу
фільтрування
. Оптимальна питома
продуктивність фільтрату по суспензії:
12. Загальна кількість не
фільтрованої суспензії першої сатурації:
. Сумарна поверхня
фільтрування
. Об’єм промивної води
На основі розрахованих даних
проектується апарат, загальний вигляд якого зображений на графічному матеріалі.
ВИСНОВОК
Автоматичний камерний фільтр-прес
ФПАКМ складається з горизонтальних фільтрувальних плит, розташованих одна над
іншою між опорною і нажимною плитами. Плити можуть переміщуватись вгору та вниз
вздовж чотирьох направлених за рахунок переміщення нажимної плити, яка
приводиться в дію електродвигуном через систему механізмів.
Питома продуктивність
фільтр-пресса ФПАКМ при концентрації твердої фази в суспензії 4-7 г/л складає
близько 100 
, тиск- 1,2 МПа.
СПИСОК ВИКОРИСТАНОЇ ЛІТЕРАТУРИ
1) Проектирование
процессов и аппаратов пищевых производств. Под ред. В. Н. Стабникова. - Киев:
Вища школа. Головное изд-во, 1982. - 199с.
) Основные процессы и
аппараты химической технологии: Пособие по проектированию. Под ред. Ю. И.
Дытнерского. - М.: Химия, 1983. - 272с., ил.
) Стабников В.Н.,
Лысянский В.М., Попов В.Д. процессы и аппараты пищевых производств - М.:
Агропромиздат, 1985. - 258 с.
) Калунянц К.А.
Оборудование микробиологических производств. - М.: Агропромиздат, 1987 - 398 с.
) Лекції з дисципліни
«Процеси і апарати біотехнологічних виробництв» Горупа В.В.