Электронно-микроскопические методы исследования материалов

  • Вид работы:
    Курсовая работа (т)
  • Предмет:
    Информатика, ВТ, телекоммуникации
  • Язык:
    Русский
    ,
    Формат файла:
    MS Word
    1,08 Мб
  • Опубликовано:
    2014-02-09
Вы можете узнать стоимость помощи в написании студенческой работы.
Помощь в написании работы, которую точно примут!

Электронно-микроскопические методы исследования материалов

Федеральное агентство по образованию

ГОУ ВПО «САРАТОВСКИЙ ГОСУДАРСТВЕННЫЙ ТЕХНИЧЕСКИЙ УНИВЕРСИТЕТ ИМ Гагарина Ю.А.»









КУРСОВАЯ РАБОТА

по дисциплине «Напылённые покрытия. Технология и оборудование»

на тему: «Электронно-микроскопические методы исследования материалов»


Выполнил: студент группы ВМТ-51

Куртаков И. В.

Проверил: д.т.н., профессор каф. ФМТМ

Лясников В.Н.



Саратов 2013

Содержание

Введение

Электронная микроскопия

Принцип действия электронных микроскопов

Растровая электронная микроскопия

Атомно - силовая микроскопия

Атомно-силовой микроскоп

Способы сканирования

Преимущества и недостатки сканирующей зондовой микроскопии по отношению к другим методам диагностики поверхности

Режимы сканирования

Применение АСМ

Литература

Введение

Разрешающая способность человеческого глаза - около 100 микрометров (0,1 мм), что примерно соответствует толщине волоска. Чтобы увидеть более мелкие предметы, требуются специальные устройства. Изобретенный в конце XVII века микроскоп открыл человеку новые миры, и в первую очередь мир живой клетки. Но у оптического микроскопа есть естественный физический предел разрешения - длина волны света, и этот предел (приблизительно равный 0,5 мкм) был достигнут к концу XIX века. Следующим этапом погружения в глубь микромира стал электронный микроскоп, в котором в роли луча света выступает пучок электронов. Его разрешение достигает нескольких ангстрем (0,1 нм), благодаря чему ученым удалось получить изображение вирусов, отдельных молекул и даже атомов. Но и оптический и электронный микроскоп дают лишь плоскую картинку

Увидеть трехмерную структуру микромира удалось только тогда, когда на смену оптическому лучу пришла тончайшая игла. Вначале принцип механического сканирования с помощью микрозонда нашел применение в сканирующей туннельной микроскопии, а затем на этой основе был разработан более универсальный метод атомно-силовой микроскопии.

Оба метода активно используются в исследовании структуры поверхности материала.

Электронная микроскопия

Принцип действия электронных микроскопов

В настоящее время различают просвечивающую электронную микроскопию (ПЭМ) и растровую электронную микроскопию (РЭМ). Данные для сравнения РЭМ, ПЭМ и световой микроскопии (СМ) приведены в таблице 1.

Табл. 1. Сравнительные характеристики световых и электронных микроскопов


Просвечивающий электронный микроскоп представляет собой вакуумную камеру, изготовленную в виде вертикально расположенной колонны (рис. 1). Вдоль центральной оси этой колонны сверху вниз внутри колонны расположены электронный прожектор, определенный набор электрических катушек с проводом - электрических магнитов, выполняющих роль электромагнитных линз для пучка электронов, проходящего вдоль центральной оси колонны до ее основания, и флуоресцирующего экрана, поверхность которого бомбардируют электроны пучка.

Рис.1. Просвечивающий электронный микроскоп JEM-200CX

ПЭМ является фактическим аналогом светового микроскопа. Его схема показана на рис.2. Исследуемый образец располагается в области объективной линзы 5. Проекционная и промежуточная линзы выполняют функцию окуляра. Изображение формируется на флуоресцирующем экране.

Рис. 2. Схема просвечивающего электронного микроскопа:

- катод, 2 - управляющий электрод, 3 - анод, 4 - конденсорная линза, 5 - объектная линза, 6 - апертурная диафрагма, 7 - селекторная диафрагма, 8 - промежуточная линза, 9 - проекционная линза, 10 - экран

Объект АВ располагают обычно на микросетке. Проходя через объект, электроны рассеиваются в некоторый телесный угол, который ограничивается апертурой диафрагмой объектной линзы. Изображение объекта, формируемое объектной линзой (А’В’) увеличивается промежуточной (А’’В’’) и проекционной (А’’’В’’’) линзами. Контраст изображения обуславливается поглощением (амплитудный контраст) и рассеянием (фазовый контраст) электронов в объекте (рис. 3).

Рис. 3. Электронные изображения биологической ткани, полученные при различной степени увеличения. На первом изображении с увеличением в 170 раз видна графитовая микросетка, на которой располагают исследуемый объект

В ПЭМ объект исследования должен пропускать пучок электронов. Первостепенная задача исследователя - обеспечение двух условий: малой толщины образца и избирательного взаимодействия электронов с разными деталями образца. Микроскоп снабжается камерой, в объёме которой создаётся необходимый вакуум (10-5 - 10-6 Па). Ускоряющее напряжение, прикладываемое между катодом и анодом, находится в пределах от 20 до 200 кВ, что обеспечивает режим работы «на просвет». В РЭМ это напряжение значительно меньше (до 20 кВ). Весьма эффективно применение ПЭМ для анализа микроструктуры материалов, установление в ней нарушений, контроля правильности заполнения узлов кристаллической решётки, наличия пустот, дислокаций и т.д. (рис. 4).

Рис. 4. Двумерное электронное изображение кристалла Nb, полученное при 200 кэВ ускоряющего напряжения и увеличении в 6.000.000 раз. Черные точки соответствуют позициям атомов Nb, белые - каналам межатомного пространства.

Растровая электронная микроскопия


В отличие от ПЭМ растровая электронная микроскопия позволяет дефектоскопировать образцы практически любых размеров по толщине. В её основе лежат физические явления, наблюдающиеся при бомбардировке поверхности твёрдого тела пучком электронов с энергией до нескольких десятков килоэлектронвольт, разворачиваемым в двумерный растр на поверхности исследуемого образца. К таким явлениям относятся: эмиссия вторичных электронов (рис. 5); рентгеновское излучение; оптическое излучение (катодолюминесценция); образование отражённых электронов (рис. 6); наведение токов в объекте дефектоскопирования (рис. 7 а); поглощение электронов (рис. 7 б); электроны, прошедшие сквозь образец (рис. 7 в); образование объёмного заряда; образование термоволны при модуляции электронного пучка по амплитуде. Регистрация и последующее преобразование сигналов, вызванных вторичными эффектами, позволяет получить разнообразные по информативному содержанию "электронные" изображения объекта.

Рис. 6. Контроль дефектов изготовления интегральных схем по электронным изображениям, полученным в режиме контроля отраженных электроном при различных ускоряющих напряжениях и увеличении в 250 раз

Рис. 7. Электронные изображения, полученное в режимах контроля наведенных токов в кристалле интегральной схемы (а), поглощенных электронов (сквозного сопротивления) в пленке сплава четырех металлов Ti-Fe-Ni-Ag (б), электронов, прошедших сквозь тонкий слой каучука (в)

Если после бомбардировки образца электронным пучком измерить энергетическое распределение всех эмиттированных из него электронов в диапазоне энергий от 0 до Е0 (Е0 - энергия первичных бомбардирующих поверхность исследуемого образца электронов), то получится кривая, подобная изображённой на рис. 8. Высокоэнергетическая часть распределения (область I) имеет широкий максимум и соответствует отраженным электронам, меньшая часть которых имеет низкие энергии (область II). Увеличение числа эмиттированных электронов, которые образуют область III, происходит за счёт процесса вторичной электронной эмиссии.

Рис. 8. Энергетическое распределение электронов, эмиттированных из исследуемого образца после его бомбардировки первичным электронным пучком

Вторичные электроны возникают в результате взаимодействия между высокоэнергетичными электронами пучка и слабо связанными электронами проводимости. При взаимодействии между ними происходит передача электронам зоны проводимости лишь нескольких электронвольт энергии, но вполне достаточных для того, чтобы они покинули кристаллическую решётку. В состав вторичных электронов входят также электроны, возникающие в результате выбивания из внутренних оболочек атомов и Оже-электроны, возникающие в результате безизлучательной рекомбинации. Энергия этих электронов характеризуется энергией определённых электронных уровней конкретного атома.

В процессе неупругого рассеяния электронов пучка при взаимодействии его с исследуемым образцом может возникать рентгеновское излучение. Это происходит за счёт двух различных процессов:

торможения электрона пучка в кулоновском поле атома, приводящего к возникновению непрерывного спектра электромагнитного излучения с энергией от нуля до энергии падающего электрона (в этот диапазон входит и энергия рентгеновских квантов);

взаимодействия электрона пучка с электронами внутренних оболочек, приводящего к возникновению характеристического рентгеновского излучения (энергия испускаемого рентгеновского кванта характеризуется разностью энергий между чётко определёнными электронными уровнями).

Когда некоторые материалы, такие как диэлектрики и полупроводники, подвергаются электронной бомбардировке, то возникает длинноволновое электромагнитное излучение в ультрафиолетовой и видимой части спектра. Это излучение, известное как катодолюминесценция.

Для анализа рабочего состояния активных и пассивных элементов ИС представляет интерес режим наведённых токов. При сканировании электронным пучком поверхности кристалла ИС, подключенного к источнику питания, часть поглощённых в кристалле электронов превращается в свободные носители заряда и генерируют электрические сигналы, обнаруживаемые в цепи питания. Эти сигналы имеют максимальное своё значение при пересечении электронным пучком областей потенциальных барьеров на кристалле (p-n переходов), что позволяет их визуализировать на экране видеомонитора (рис. 7 а).

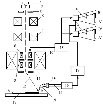
Конструктивно РЭМ от ПЭМ отличается наличием отклоняющей системы для электронного луча, датчиков отражённых и вторичных электронов, датчиков других вторичных сигналов с блоком формирования видеосигнала и электронным видеоблоком для наблюдения и фотографирования изображения (рис. 9, 10).

Рис. 10. Схема растрового электронного микроскопа:

- термоэмиссионный катод; 2 - управляющий электрод; 3 - анод, 4 - ЭЛТ(электронно-лучевая трубка) для наблюдения; 5 - ЭЛТ для фотографирования; 6,7 - первая и вторая конденсорная линзы; 8 - отклоняющие катушки; 9 - стигматор; 10 - объективная линза; 11 - объективная диафрагма; 12 - электронный пучок; 13 - генератор развёртки электронного луча микроскопа и ЭЛТ видеоблока; 14 - сцинтиллятор; 15 - светопровод; 16 - ФЭУ(фотоэлектронный умножитель); 17 - видеоусилитель; 18 - исследуемый образец; 19 - регистрируемый сигнал (оптический, рентгеновский или электронный)

В РЭМ необходимо применять излучающую систему, формирующую на образце пятно очень малого размера и позволяющую перемещать его по всей поверхности образца. Вследствие того, что диаметр пучка электронов поддерживается в пределах нескольких микрометров на достаточно большом расстоянии от поверхности образца, глубина резкости велика, что очень важно при исследовании рельефных поверхностей микрообъектов (рис. 6). Эта особенность РЭМ, которой полностью лишены световые и просвечивающие электронные микроскопы, обеспечивает РЭМ большое практическое значение и при небольших увеличениях (рис. 11).

Плюсы данных методов микроскопии заключаются в исключительной способности увеличения, которая может достигать размеров атома, которая помогает в исследованиях поверхностей практически любых материалов, но при всех достоинствах так же присутствуют существенные недостатки. А именно: электронные микроскопы дороги в производстве и обслуживании, но общая и эксплуатационная стоимость конфокального оптического микроскопа сравнима с базовыми электронными микроскопами. Микроскопы высокого разрешения должны содержаться в стабильных(без вибраций) помещениях, зачастую под землей, и без внешних электромагнитных полей. В большинстве случаев образцы должны наблюдаться под вакуумом, так как молекулы атмосферы иначе будут рассеивать электроны.

Атомно - силовая микроскопия

В связи с этим неоспоримым достижением стало открытие 1982 году (момент опубликования в Phys. Rev. Lett.) Генрихом Рорером и Гердом Биннигом метода сканирующей туннельной микроскопии, которая положила начало развитию сканирующей зондовой микроскопии. Работая над микроскопическими исследованиями роста и электрических свойств тонких диэлектрических слоев в лаборатории IBM в Рюмликоне в Швейцарии, авторы думали использовать туннельную спектроскопию. В то время были известны работы Янга о полевом излучающем микроскопе, Томпсона по туннелированию в вакууме с управляемым остриём, так что мысль о способности измерения с помощью эффекта туннелирования не только спектроскопических свойств поверхности, но и её рельефа, была основана на трудах немалого количества исследователей[2].

И вот когда авторы получили атомное изображение давно волновавшей всех поверхности кремния с периодом 7 на 7, - в 1986 году мир отметил их Нобелевской премией. Множество трудностей, которые усложняли исследование образцов в СТМ, побудили к 1986 году разработать их первый атомно-силовой микроскоп, который мог использовать те самые силы взаимодействия между образцом и остриём, которые так мешали в случае СТМ. Атомно-силовой микроскоп позволял проводить измерения не только в вакууме, но и в атмосфере, заранее заданном газе и даже сквозь плёнку жидкости, что стало несомненным успехом для развития биологической микроскопии. Так было положено начало эры сканирующей зондовой микроскопии. Вскоре была представлена микроскопия ближнего поля, которая задействовала оптические волны для разрешения объектов до 10 ангстремм

Сканирующая зондовая микроскопия - это метод исследования поверхности, основанный на взаимодействии микрозонда (кантилевера в случае АСМ) с поверхностью образца. Микрозонд или кантилевер (англ. - балка) представляет собой кремниевую пластинку (3х1.5х0.3 мм) с торчащей из торца балкой (как прямоугольной, так и треугольной формы), - на конце балки находится шип, конец которого и зондирует поверхность.


Одной из наиболее распространенных разновидностей «сканирующей зондовой микроскопии», является атомно-силовая микроскопия.

Первый микроскоп такого типа был сконструирован Г. Биннигом, Х. Гербером и С. Квайтом в 1986 году, после того как годом ранее Г. Бинниг показ принципиальную возможность неразрушающего контакта зонда с поверхностью образца.

Кантилеверы разделяются на жёсткие и мягкие, - по длине балки, а характеризуется это резонансной частотой колебаний кантилевера. Процесс сканирования микрозондом поверхности может происходить как в атмосфере или заранее заданном газе, так и в вакууме, и даже сквозь плёнку жидкости. СЗМ измеряет как нормальное к поверхности отклонение зонда (субангстремное разрешение) так и латеральное - одновременно. Для детектирования отклонения используется полупроводниковый лазер с длинной волны 670 нм и оптической мощностью 0,9 мВт. Лазерный луч направляется на обратную к по отношению к поверхности сторону кантилевера (на самый кончик), которая покрыта специальным алюминиевым зеркальным слоем для наилучшего отражения, и отраженный луч попадает в специальный четырёхсекционный фотодиод. Таким образом, отклонения кантилевера приводят к смещению луча лазера относительно секций фотодиода, - изменение разностного сигнала с фотодиода и будет показывать амплитуду смещения кантилевера в ту или иную сторону. Такая система позволяет измерять отклонения лазера в угле 0,1", что соответствует отклонению кантилевера на угол 2•10-7 рад[2,5].

Способы сканирования

Сканирование поверхности может происходить двумя способами, - сканирование кантилевером и сканировение подложкой. Если в первом случае движения вдоль исследуемой поверхности совершает кантилевер, то во втором относительно неподвижного кантилевера движется сама подложка. Для сохранения режима сканирования, - кантилевер должен находиться вблизи поверхности, - в зависимости от режима, - будь то режим постоянной силы, или постоянной высоты, существует система, которая могла бы сохранять такой режим во время процесса сканирования. Для этого в электронную схему микроскопа входит специальная система обратной связи, которая связана с системой отклонения кантилевера от первоначального положения. Уровень связи (рабочая точка) кантилевер-подложка задается заранее, и система обратной связи отрабатывает так, чтобы этот уровень поддерживался постоянным независимо от рельефа поверхности, а сигнал, характеризующий величину отработки и является полезным сигналом детектирования.

Образец (поверхность) и кантилевер сближаются с помощью шагового двигателя до тех пор пока поверхность и кантилевер не начнут взаимодействовать, что приведёт к такому смещению лазерного луча на секциях фотодиода,а значит к такому разностному току, что обратная связь прекратит сближение.

Кантилевер непосредственно связан с четырёхобкладочной пьезотрубкой, подавая напряжение на противоположные обкладки, можно соответственно менять изгиб трубки, а значит и область сканирования кантилевера (горизонтальтное отклонение пьезотрубки) вдоль соответственно оси абсцисс и оси ординат. Внутри трубки находиться также пьезоэлемент, который отвечает за смещение кантилевера вдоль нормали к поверхности, то есть оси аппликат. При сканировании поверхности задается рабочая точка, физический смысл которой есть величина выдвижения пьезотрубки по отношению в максимальной амплитуде (обычно около 50 %). Обратная связь отрабатывает величину выдвижения пьезотрубки для поддержания режима (постоянной силы или постоянной высоты, в случае СТМ - постоянного туннельного тока) сканирования. В случае сканирования подложкой такая система присоединена к подложке.

Преимущества и недостатки сканирующей зондовой микроскопии по отношению к другим методам диагностики поверхности

Перемещаясь в плоскости образца над поверхностью, «кантилевер» изгибается, отслеживая ее рельеф. Однако при сканировании образца в контактном режиме поверхность образца частично повреждается, а разрешение метода оказывается достаточно низким. Разработка методов полуконтактного и бесконтактного сканирования, когда, зонд входит в контакт с поверхностью только в нижней точке траектории собственных резонансных колебаний или не входит в контакт вообще, позволили увеличить разрешение АСМ, значительно снизив давление на образец со стороны зонда. Для регистрации отклонения «кантилевера» предложены различные системы, основанные на использовании емкостных датчиков, интерферометров, систем отклонения светового луча или пьезоэлектрических датчиков. В современных приборах угол изгиба «кантилевера» регистрируется с помощью лазера, луч которого отражается от внешней стороны консоли и падает на фотодиодный секторный датчик (Рис.2). Система обратной связи отслеживает изменение сигнала на фотодетекторе и управляет «системой нанопозицонирования». Использование «пьезодвигателей» и атомно-острых зондов позволяет добиться атомного разрешения АСМ в высоком вакууме.

Помимо непосредственного исследования структуры поверхности методом контактной АСМ, можно регистрировать силы трения и адгезионные силы. В настоящее время разработаны многопроходные методики, при которых регистрируется не только топография, но и электростатическое или магнитное взаимодействие зонда с образцом. С помощью этих методик удается определять магнитную и электронную структуру поверхности, строить распределения поверхностного потенциала и электрической емкости, и т.д. Для этого используют специальные «кантилеверы» с магнитными или проводящими покрытиями. АСМ также применяются для модификации поверхности. Используя жесткие зонды, можно делать гравировку и проводить «наночеканку» - выдавливать на поверхности крошечные рисунки. Применение жидкостной атомно-силовой микроскопии позволяет локально проводить электрохимические реакции, прикладывая потенциал между зондом и проводящей поверхностью , а также открывает возможность применения АСМ для исследования биологических объектов.

Рис. 13.

Необходимо было решить множество технических проблем: как избежать механических вибраций, приводящих к столкновению острия с поверхностью (мягкая подвеска), какие силы действуют между образцом и остриём (к созданию АСМ), как перемещать остриё с такой высокой точностью (пьезоэлектрик), как приводить образец и остриё в контакт (специальный держатель), как избежать тепловых флуктуаций (использование не нитевидных кристаллов с большими упругими константами, низкие темепературы), форма острия и её получение (на поверхности основного острия существуют миниострия - сначала использовались они, потом с помощью самого процесса туннелирования - сильное вакуумное электрическое поле при напряжении всего лишь несколько вольт вызвало миграцию ионов (испарение).

Принципиальным свойством электронной, оптической, ядерной микроскопий является, то что каждая частица, провзаимодействовавшая с образцом, будь то атом или субатомные объекты, является зондом. Однако, у данного метода есть свои минусы и плюсы. Так квантовый принцип неопределённости, гласящий, что определение одновременно импульса и координаты объекта исследования, возможно только с определённой точностью, заставляет увеличивать импульс регистрирующих частиц (энергию), что связано с созданием специальных технологий. Увеличение импульса регистрирующих частиц (например, электроны в ПЭМ достигают энергий до 1000 КэВ) создаёт проблемы с устойчивостью объекта к разрушению. Однако плюсом является тот факт, что одновременно получается информация сразу с относительно большого участка поверхности, что позволяет использовать данный метод для in-situ исследований. Так же главным недостатком данного вида микроскопии можно назвать условие относительного вакуума, для получения более менее качественного изображения.

Атомно-силовая микроскопия позволяет обрабатывать образцы в атмосфере, однако, главным её недостатком является отсутствие одновременной информации о всей поверхности, - в каждый момент времени мы имеем информацию только от участка непосредственно регистрируюемого зондом. Это не позволяет использовать in-situ методику. Атомно-силовая микроскопия позволяет получать информацию о поверхностном заряде, о поверхностной емкости, о поверхностной проводимости, о магнитных свойствах. Позволяет измерять эти параметры даже сквозь плёнку жидкости.

Режимы сканирования

Существуют контактный, безконтактный и полуконтактный или резонансный режимы сканирования поверхности. Контактный метод заключается в том, что кантилевер непосредственно касается поверхности и повторяет её форму по мере прохождения поверхности.

Бесконтактный и полуконтактный режим характеризуются дополнительным условием сканирования, которое позволяет осуществить более щадящее и более тонкое сканирование поверхности. Кантилевер жестко связывается с отдельным пъезоэлементом и колеблется со своей резонансной частотой. При взаимодействии с поверхностью сбивается фаза, и специальный синхронный детектор старается выровнять частоту с помощью сигнала обратной связи. Таким образом, теперь детектируется кроме отклонения амплитудного также отклонение фазовое. В этом режиме кантилевер как бы постукивает по поверхности.

Основные моды работы:

.Контактная мода.

Топография. F=const.

Измерение сил. Z=const.

Измерение сил трения.

Измерение локальной жесткости (модуляционная методика).

Измерение сопротивления растекания.

Резонансная мода.

Топография.

Фазовый контраст.

Магнито-силовая микроскопия.

Электристатическо-силовая микроскопия.

.Бесконтактная мода.

Литография.

Механическая.

Электрическая.

Применение АСМ

Специалисты из Massachusetts Institute of Technology и Stanford University предложили терабитную плотность записи для ЗУ с помощью АСМ технологии при комнатной температуре и на воздухе (локальное окисление на поверхности титана). Специалисты лаборатории Lindsay Florida Institute of Technology активно исследуют ДНК и РНК с помощью метода АСМ. Специалисты Institute of Applied Physics and Microstructure Research Center, University of Hamburg исследуют плёнки фуллеренов С60 на различных поверхностях.

В Laboratory of Applied Physics, Linkoping University (Швеция) изучается взаимодействие в полиэлектролитах.

Таким образом, очень разнообразная тематика может быть затронута в исследованиях с помощью метода сканирующей силовой микроскопии.

Одной из наиболее распространенных разновидностей «сканирующей зондовой микроскопии», является атомно-силовая микроскопия (Рис. 1). Первый микроскоп такого типа был сконструирован Г. Биннигом, Х. Гербером и С. Квайтом в 1986 году, после того как годом ранее Г. Бинниг показ принципиальную возможность неразрушающего контакта зонда с поверхностью образца. световой электронный микроскоп зондовый

Действительно, если подвести зонд к образцу на расстояние в несколько ангстрем, то между атомами, образующими острие, и атомами, расположенными на поверхности образца, начнет действовать Ван-дер-Ваальсова сила притяжения. Под действием этой силы зонд будет приближаться к образцу до тех пор, пока не начнется электростатическое отталкивание одноименно (отрицательно) заряженных электронных оболочек атомов зонда и поверхности.

В первых атомно-силовых микроскопах зонд (иголку кристаллического сапфира) закрепляли на тонкой платиновой фольге, за перемещением которой следили по изменению туннельного тока, по аналогии со сканирующей туннельной микроскопией. В настоящее время зонд закрепляют на гибкой балке, называемой «кантилевером» или консолью. При подводе зонда к образцу на расстояние в несколько ангстрем и возникновении отталкивающего взаимодействия «кантилевер» изгибается до тех пор, пока давление со стороны зонда (определяемое силой упругости консоли) не окажется больше предела упругой деформации материала образца или зонда. Таким образом, основным свойством «кантилевера» является его жесткость, а подбор материала и геометрических характеристик «кантилевера» позволяет использовать метод АСМ для самых различных приложений.

Перемещаясь в плоскости образца над поверхностью, «кантилевер» изгибается, отслеживая ее рельеф. Однако при сканировании образца в контактном режиме поверхность образца частично повреждается, а разрешение метода оказывается достаточно низким. Разработка методов полуконтактного и бесконтактного сканирования, когда, зонд входит в контакт с поверхностью только в нижней точке траектории собственных резонансных колебаний или не входит в контакт вообще, позволили увеличить разрешение АСМ, значительно снизив давление на образец со стороны зонда. Для регистрации отклонения «кантилевера» предложены различные системы, основанные на использовании емкостных датчиков, интерферометров, систем отклонения светового луча или пьезоэлектрических датчиков. В современных приборах угол изгиба «кантилевера» регистрируется с помощью лазера, луч которого отражается от внешней стороны консоли и падает на фотодиодный секторный датчик (Рис. 1). Система обратной связи отслеживает изменение сигнала на фотодетекторе и управляет «системой нанопозицонирования». Использование «пьезодвигателей» и атомно-острых зондов позволяет добиться атомного разрешения АСМ в высоком вакууме.

Помимо непосредственного исследования структуры поверхности методом контактной АСМ, можно регистрировать силы трения и адгезионные силы. В настоящее время разработаны многопроходные методики, при которых регистрируется не только топография, но и электростатическое или магнитное взаимодействие зонда с образцом. С помощью этих методик удается определять магнитную и электронную структуру поверхности, строить распределения поверхностного потенциала и электрической емкости, и т.д. Для этого используют специальные «кантилеверы» с магнитными или проводящими покрытиями. АСМ также применяются для модификации поверхности. Используя жесткие зонды, можно делать гравировку и проводить «наночеканку» - выдавливать на поверхности крошечные рисунки. Применение жидкостной атомно-силовой микроскопии позволяет локально проводить электрохимические реакции, прикладывая потенциал между зондом и проводящей поверхностью (рис. 2), а также открывает возможность применения АСМ для исследования биологических объектов. АСМ уже стал одним из основных «наноинструментов» нанотехнологов.


Литература

Миронов В.Л. Основы сканирующей зондовой микроскопии. 2004. Мир.

Рашкович Л.Н. Атомно-силовая микроскопия процессов кристаллизации в растворе // Соросовский образовательный журнал, 2001, №10, с. 102-108.

Р. Хейденрайх Основы просвечивающей электронной микроскопии, Москва, Мир, 1966, с.472.

Takashi Nishino, Akiko Nozawa, Masara Kotera, and Katsuhiko Nakamae In situ observation of surface deformation of polimer films by atomic force mikroskopy // Rev. Sci. Instrum 71, 5, 2094-2094(2000).

Хирш П., Хови. И др. Электронная микроскопия тонких кристаллов. М.: Мир, 1968.

Похожие работы на - Электронно-микроскопические методы исследования материалов

 

Не нашли материал для своей работы?
Поможем написать уникальную работу
Без плагиата!
Без нейросетей!