|
№ п/п
|
Структурная схема
|
Номера звеньев, образующих группу
|
Класс, порядок, вид
|
|
1
|
0-1
|
Механизм, I класс
|
|
|
2
|
2-3
|
II класс,
2 порядок, 2 вид
|
|
|
3
|
|
4-5
|
II класс,
2 порядок, 2 вид
|
18. Определяем класс сложного
механизма поршневого компрессора. Механизм относится ко II классу.
2. Кинематический анализ
механизма поршневого компрессора
Кинематический анализ
графоаналитическим методом
Определение скоростей и ускорений
точек и угловых скоростей звеньев механизма методом полюса
При использовании
данного метода исследования можно определить мгновенные значения скоростей
точек и угловых скоростей звеньев для заданного положения механизма,
определяемого углом поворота
ведущего звена. Основной
недостаток данного метода заключается в том, что угловая скорость ведущего
звена принимается равной постоянному значению. Проанализируем механизм,
используя метод полюса.
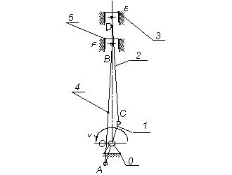
Механизм состоит из
следующих звеньев: кривошипа (AO;
OC)=l1=0,3
м; шатунов AB=l4=0,6 м, CD=l2=0,6 м; поршней F,
E.
=30°,
n=1000 об/мин.
Угловая скорость звена 1:
(8)
Скорость точки C:
(9)
Скорость точки E:
(10)
(11)
Спроецируем равенства на оси
координат:
(12)
Т.к. механизм построен в масштабе,
углы
,
замеряем
на схеме:
,
(13)
(14)
(15)
Направление угловой скорости
определим по направлению
.
Аналогично определяем скорости
второй части механизма:
(16)
(17)
(18)
(19)
,
(20)
(21)
(22)
Направление угловой скорости
определим по направлению
.
Ускорение точки C:
(23)
Ускорение точки E:
(24)
(25)
Спроецируем равенство на
оси координат:
(26)
Так как механизм построен
в масштабе, углы
и
замеряем
на схеме:
,
(27)
(28)
Направление
определяем по
.
Аналогично определяем ускорения для
второй части механизма:
(29)
(30)
(31)
(32)

(33)
(34)
(35)
Направление
определяем по
.
Определение скоростей
точек звеньев механизма методом мгновенного центра скоростей
Изобразим схему
механизма в масштабе:
Скорость точки C:
(36)
МЦС звена 3 находится на
пересечении перпендикуляров, проведенных к скоростям
и
.
Скорости точек прямо пропорциональны расстояниям до МЦС:
(37)
Так как механизм построен в
масштабе, расстояния
и
измеряем на схеме:
,
.
(38)
(39)
Направление
определим по
.
Аналогично находим скорости для
второй части механизма:
(40)
(41)
,
.
(42)
(43)
Направление
определим по
.
Кинематический анализ аналитическим
методом
Определение крайних (мертвых)
положений механизма
Для данного
кривошипно-ползунного механизма крайними являются положения, когда кривошип OA
и шатун AB то вытягиваются, то складываются в одну прямую линию. Тогда
и
будут
углами рабочего и холостого хода механизма соответственно. На рисунке 6
показаны ход поршня
,
AH, BH,
CH и AK,
BK, CK - точки, определяющие крайние положения звеньев 1, 2, 3 рабочего
хода.
Построение планов
положений исследуемого механизма
Выбираем масштабный
коэффициент длин
и
рассчитываем чертежные размеры звеньев:
Планы механизма строим
следующим образом:
─ отмечаем
на чертеже неподвижную точку O, рисуем в ней вращательную кинематическую пару;
─ проводим
окружность радиусом OA, которая является траекторией движения точки A;
─ на
траектории движения точки A отмечаем крайние положения A0 и A6,
которые соответствуют крайним положениям исследуемого механизма;
─ начиная
от точки A0 - начала рабочего хода ползуна, окружность радиуса OA
делим на 12 равных частей;
─ точки
деления обозначаем через A1, A2, A3 и т.д. в
направлении вращения кривошипа;
─ строим
положения кривошипа, соединяя точки Ai с точкой O;
─ методом
засечек строим план положений механизма для каждого положения кривошипа;
─ при
построении планов механизма отмечаем положение центра масс звена 2 и строим его
траекторию;
─ проверяем
с помощью линейки и транспортира углы наклона и длины звеньев;
─ определяем
крайние положения B0 и B6 точки B;
─ строим
над траекторией движения ползуна 3 график действия силы давления воздуха (
).
Метод замкнутых векторных контуров
Структурную схему механизма
располагаем в прямоугольной системе координат, начало которой помещаем в точку O. Со звеньями механизма связываем
векторы так, чтобы их последовательность образовала замкнутые контуры OABCO и OAS2O. При образовании контура следует
учитывать, что в него должно входить не более двух неизвестных. Углы,
определяющие положения векторов, отсчитываем от положительного направления оси OX против хода часовой
стрелки.
Записываем уравнение
замкнутости контура OABCO в векторной
форме. Для этого обходим его периметр, например, в направлении вектора
,
причем все векторы, совпадающие с направлением обхода, ставятся со знаком «+» и
не совпадающие - со знаком «-»:
. (44)
Проецируем (44) на оси OX и OY:
(45)
Среди величин, входящих
в уравнения (45), переменными являются
,
и
.
Угол
является
обобщенной координатой механизма, и поэтому должен быть задан. Из уравнений
(45) величина
равна:
(46)
Для расчёта возьмём ц1=300:
Из (45):
. (47)
Кинематические свойства
механизма, когда закон движения начального звена еще не известен, находят с
помощью кинематических характеристик, называемых аналогами скоростей и
ускорений, которые не зависят от времени, а являются функциями обобщенной
координаты.
Так как аналоги
скоростей и ускорений не зависят от закона изменения обобщенной координаты,
принимаем
и
.
Аналитическое
определение аналогов скоростей основано на дифференцировании по обобщенной
координате уравнений (45). После дифференцирования уравнений (45) получим:
(48)
Из (48) следует, что:
(49)
Из (48):
. (50)
Аналитическое
определение аналогов ускорений основано на дифференцировании по обобщенной
координате уравнений (48):
(51)
Из (51):
. (52)
Из (51):
. (53)
Записываем уравнение
замкнутости контура OAS2O в векторной форме:
(54)
Проецируем (54) на оси OX и OY и определяем
координаты центра масс:
(55)
Среди величин, входящих
в уравнения (55) неизвестна только
, равная
,
так как за центр масс, по условию, принимаем центр звена.
Аналог скорости центра
масс звена 2 получаем в проекциях на оси координат, дифференцируя по обобщенной
координате уравнения (55):
(57)
Дифференцируя по
обобщенной координате уравнения (57), устанавливаем аналог ускорения центра
масс звена 2 в проекциях на оси координат:
(58)
Составляем таблицу
(Приложение 1) и заносим в нее значения
,
,
,
,
,
,
,
,
,
,
,
.
Значение
берем
из промежутка
с
шагом в
.
. Динамический анализ
механизма поршневого компрессора
Изображаем схему механизма в любом
положении, кроме крайних. Массы сосредотачиваем посередине звена. Обозначаем
моменты инерции звеньев относительно центров масс звеньев. Прикладываем силы
тяжести. Рисуем индикаторную диаграмму.
Внутри цикла установившегося
движения угловая скорость начального звена машины периодически меняется из-за
постоянного изменения нагрузок, что приводит к нежелательной неравномерности
движения. Неравномерность движения начального звена характеризуется
коэффициентом неравномерности движения d, который не должен превышать допустимого значения [d]. Для снижения колебаний угловой скорости начального звена до
допустимых пределов в машине предусматривают маховик, который с целью
уменьшения его размеров устанавливают на быстроходном валу.
При анализе динамики
машины и определении момента инерции маховика
вместо реального
механизма рассматривают его одномассовую динамическую модель. Динамическая
модель механизма состоит из одного, обычно начального звена, к которому
приведены силы, движущие
и
(моменты) сопротивления
,
действующие на звенья машины, а также все моменты инерции звеньев
.
Начальное звено часто называют звеном приведения.
Данные к расчету
Определение параметров
динамической модели
Для построения динамической модели
исследуемого компрессора в качестве звена приведения выбираем начальное звено
1, к которому приводим все силы (моменты), действующие на механизм и моменты
инерции подвижных звеньев.
1. Приведенный
момент инерции и его производная
Приведенный момент инерции
определяется по формуле, которая имеет следующий вид:
, (59)
где
-
число подвижных звеньев, массы и моменты инерции которых заданы;
-
масса i-го звена;
-
момент инерции i-го звена относительно оси, проходящей через центр масс;
,
-
проекции на оси координат аналога скорости центра масс i-го звена;
-
аналог угловой скорости i-го звена.
Для рассматриваемого
механизма компрессора формула (54) принимает вид:
; (60), для
ц=300

Дифференцируя по
обобщенной координате j1 выражение (60), находим производную приведенного момента инерции:
. (61)
Считаем значения
и
для
всех положений механизма. Полученные данные заносим в Приложение 1 и по ним
строим графики функций
=f(ц1)
и
=f(ц1)
(Приложение 2).
2. Приведенный
момент сил сопротивления
Приведенный момент сил сопротивления
определяется по формуле, которая имеет следующий вид:
, (62)
где n - общее число подвижных звеньев;
- число сил
,
действующих на i-е звено;
,
-
проекции силы на соответствующие оси координат;
,
-
проекции на соответствующие оси координат аналога скорости точки приложения
силы;
-
число моментов M, действующих на i-е
звено.
Для исследуемого
компрессора формула (62) при рабочем и холостом ходе принимает вид:
. (63)
В этой формуле
-
проекция на ось Y сил тяжести звена 2, а
- проекция на ось Х,
которые соответственно равны:
,
Сила
действует
при рабочем ходе ползуна. При перемещении поршня от начального положения до 2/3H
;
при перемещении поршня от 2/3H
до H постоянна и равна:
.
Все остальные
составляющие, входящие в формулу (63), соответственно равны нулю.
Вычисляем приведенный
момент сил сопротивления для всех положений и записываем значения в Приложение
1.
3. Определение
приращения кинетической энергии механизма
Построив динамическую
модель исследуемого механизма, приступим к ее анализу. Анализ машины будем
проводить с помощью графоаналитического метода Виттенбауэра. Для построения
диаграммы Виттенбауэра необходимо знать законы изменения приведенного момента
инерции
,
который найден выше, и приращения кинетической энергии
.
Найдем закон изменения приращения кинетической энергии
.
Сначала строим график
функции
.
При построении графика
координатную
систему располагаем в начале рабочего хода исследуемого механизма (Приложение 3).
Затем находим работу АС приведенного момента сил сопротивления MПС.
Работу АС определяем численным интегрированием функции
.
Численное интегрирование проводим, используя метод трапеции:
(64)
Здесь j = 1,2,… - номер
положения механизма, для которого вычисляется работа. В начальном (нулевом)
положении AС0 = 0. Значения углов
подставляем в (64) в
радианах.
Значения AС,
найденные по формуле (64), заносим в таблицу 1 и по ним строим график функции
(Приложение
3).
В установившемся режиме
работа АС приведенного момента сил сопротивления за цикл равна
работе приведенных движущих сил АПД. Считая, что привод развивает
постоянный по величине приведенный момент движущих сил МПД, найдем
его величину:
.
Строим график функции МПД
= f(ц1) (Приложение 3)
Работу АД приведенного
момента движущих сил МПД вычисляем по формуле
, (65)
где i = 1, 2… - номер
положения механизма, для которого определяется работа АД. В
начальном (нулевом) положении AД=0.
Рассчитанные по формуле
(65) значения работы движущих сил АД заносим в таблицу 1 и по ним
строим график функции АД = f(ц1) (Приложение 3).
Находим закон изменения
приращения кинетической энергии
, для чего алгебраически
складываем работы Ад и Ас:
, (66)
где j = 0, 1, 2… - номер положения механизма. Результаты вычислений
заносим в таблицу 1 и по ним строим график зависимости
(Приложение
3).
4. Определение
момента инерции маховика
Подсчитываем величины сjmax и
сjmin соответственно:
(67)
где
- средняя угловая скорость начального звена механизма.
Найденные значения сjmax
и cjmin заносим в таблицу (Приложение 1). Из величин сjmax
выбираем наибольшую величину сmax= -9530,78448 (Дж), а из cjmin
- наименьшую cmin = -19089,49182 (Дж).
Необходимый момент
инерции маховика:
.
5. Определение
закона движения начального звена и момента инерции маховика по диаграмме
Виттенбауэра
Строим диаграмму
Виттенбауэра в системе координат
(Приложение 4).
Находим масштабные
коэффициенты:
;
.
Вычисляем углы
и
наклона
касательных к диаграмме Виттенбауэра, при реализации которых в механизме будет
обеспечена требуемая неравномерность движения:
.
Проводим под углами
и
к
оси
касательные
к диаграмме Виттенбауэра до пересечения их с координатной осью
в
точках а и b или осью
в
точках q и p (Приложение 4). Если отрезок ab
находится далеко за пределами чертежа, то
. Необходимый момент
инерции маховика подсчитываем по формуле:
.
Очевидно, что IM, найденное в п. 5, практически
совпадает со значением, определенным в п. 4.
6. Определение
угловой скорости и углового ускорения начального звена механизма
Угловую скорость звена приведения
механизма находим по следующей формуле:
(68)
Для определения углового
ускорения e1
запишем дифференциальное уравнение движения звена приведения:
(69)
Из последнего уравнения
находим e1:
(70)

Список использованной
литературы
поршневой
компрессор звено ускорение
1. Смелягин А.И.
«Структура механизмов и машин», Издательство «Высшая школа», Москва, 2006.
2. А.И. Смелягин
«Теория механизмов и машин. Курсовое проектирование: Учебное пособие»,
Издательство «НГТУ», Новосибирск, 2008.
. Артоболевский
И.И. «Теория механизмов и машин», Издательство «Наука», Москва, 1988.