Розрахунок Т-з'єднання з переходом компланарної лінії на щілинну
ВСТУП
Сучасний етап науково-технічної революції характеризується широким
використовуванням ідей, методів та приладів РЕ. В теперішній час все більша
кількість радіоелектронних апаратів НВЧ виконуються на основі широкого
використання ІС. Традиційний розвиток радіоелектроніки йде по шляху
неперервного розвитку в області все більш коротких хвиль. При чому найчастіше
вивчення й технічне освоєння нових діапазонів приходиться практично одночасно.
На сьогодні РЕА, визначена для роботи в діапазонах коротких сантиметрових,міліметрових
й субміліметрових хвиль.
В результаті інтенсивного розвитку в різних країнах НВЧ-електроніки
великих потужностей (особливо в 3- і 10-сантиметрових діапазонах хвиль) увага
дослідників була обернена на передачу НВЧ-енергії за допомогою сфокусованих
пучків електромагнітних хвиль («безпровідна» передача). Сучасні аерокосмічні і
військові вимоги з'явилися стимул-реакцією для розробки нових типів приймальних
антен у вигляді випрямних діодних грат з відносно великою поверхнею при
надзвичайно малій фазі.
Такі антени, мабуть, можуть використовуватися для підтримки аерокосмічних
літальних апаратів і, можливо, навіть для орбітальних або синхронних
супутників. Використання для цих цілей важчих і громіздкіших прецизійних
параболічних дзеркальних антен практично виключено. Площа таких антен обмежена
величиною порядку 100 м2, і для підтримки аерокосмічних і (або) космічних
апаратів на необхідних відстанях (наприклад, в ближньому космосі або на
синхронній орбіті) цього явно недостатньо.
В даній роботі викладено основну теорію ліній передачі та розрахунки
з'єднань між ними.
РОЗДІЛ 1
1.1 Основні тенденції розвитку сучасної
радіоелектроніки
Інтегральні схеми у радіоелектроніці виникли в результаті прогресу
великої чисельності суміжних наук (фізики, хімії,математики та ін.)
Цікаво подивитися на роль й місце ІС у загальному ході історичного
розвитку радіоелектроніки. До теперішнього часу сформувалось та можуть бути в
значній степені умовно виділені основні умовні тенденції радіоелектроніки.
Нижче опишемо основні тенденції.
Вивчення й технічне освоєння нових,усе більш коротко хвильових діапазонів
електромагнітних хвиль. Великі успіхи останніх двох десятиліть - освоєння
короткохвильової частини сантиметрового діапазону, а також
міліметрових,субміліметрових та оптичних діапазонів - засвідчують про
стабільність даного напрямку радіоелектроніки. Визначну цікавість представляє
також освоєння діапазону дуже довгих електромагнітних хвиль. Ці два напрямки
являють собою картину діелектричної єдності розвитку як радіоелектроніки,так й
науки в цілому.
Укорочення
довжини хвилі пов'язано, насамперед з необхідністю різкого збільшення швидкості
передачі інформації. Відомо , що швидкість передачі інформації пропорційна
полосі частот 
радіосигналу.
Звичайним вимогам до радіоканалу являється малість відношення полоси 
до
деякої середньої частоти радіосигналу

Воно
засновано на забезпечення мінімального впливу дисперсії каналу зв'язку на
радіосигнал.
Збільшення
здатності розширення радіолокаційних, радіоастрономічних і т.д. систем
визначається шириною діаграми направленості антени, котра пропорційна
відношенню λ/D, де λ-довжина хвилі, D-розмір апертури антени. Цікавим прикладом
використання коротких довжин хвиль для передачі великих об'ємів інформації
являються волоконно оптичні лінії зв'язку.
В
даний час використовують лінії протяжністю в декілька сот кілометрів. Втрати
складають величину порядком декілька децибел на кілометр. Окрім передачі
сигналів на великі відстані, волоконні світлопроводи знаходять найширше
вживання в системах так званого внутрішньо об’єктивного зв'язку(виробництво,
літаки, кораблі, медична апаратура),впливаючи істотному збільшенню пропускної
спроможності каналу зв'язку, економі ї метала і багато чому іншому. Іншими
додатками радіоелектроніки коротких хвиль є дослідження властивостей речовини,
оцінки впливу електромагнітних випромінювань на хід хімічних і біологічних
реакцій.
Підвищення
рівня потужності випромінювання. Ця тенденція сучасної радіоелектроніки добре є
видимою, хоча і не є очевидною, і може бути, необхідною. Насправді збільшення
дальності радіотрас в радіозв'язку дійсно вимагає,на перший погляд,
безперервного збільшення потужності радіо передавальних пристроїв. Ще в більшій
мірі представляється обґрунтованою необхідність збільшення потужності в
промислових апаратах, які предназначені для високочастотного нагріву, сушки,
плавки, зварки, різання. Останнім часом з'являються відомості про грандіозні
програми з космічної енергетики,термоядерному синтезу, в котрих передбачають
використовувати великі потужності НВЧ. В той же час відомо, що якщо відносно
малі рівні потужності НВЧ випромінювання не представляють небезпеки або навіть
роблять благотворний вплив на живі організми, то великі рівні потужності
випромінювання є шкідливими.
1.2
Класифікація ліній передачі НВЧ
Відповідно до ГОСТ лінією передачі НВЧ називається пристрій, що обмежує
область поширення електромагнітних коливань і що направляє потік
електромагнітної енергії в заданому напрямі. Напрям поширення визначається
взаємним розташуванням джерела електромагнітних коливань і навантаження в лінії
передачі. Джерелом електромагнітних коливань може служити, наприклад,
генератор, підключений до лінії передачі, приймальна антена або пристрій
збудження лінії передачі що відбирає частину електромагнітної енергії від іншої
лінії передачі або якого-небудь пристрою НВЧ. Навантаженням лінії передачі може
служити пристрій, що перетворює електромагнітну енергію (наприклад, в тепло),
випромінююча (передавальна) антена, вхідні ланцюги приймача і тому подібне До
НВЧ-пристроїв відносяться лінії передачі і перетворювачі НВЧ-енергії,
відгалужувачі, фільтри, вентилі і так далі.
Сукупність НВЧ-пристроїв, зчленованих певним чином, утворює тракт НВЧ.
Розрізняють регулярні і нерегулярні лінії передачі. В регулярної лінії передачі
в подовжньому напрямі незмінні поперечний перетин і електромагнітні властивості
заповнюючих середовищ. Якщо одна з умов регулярності відсутня, то така лінія є
нерегулярною. Лінія передачі, заповнена однорідним середовищем, називається
однорідною. Інакше - неоднорідною. Лінії передачі класифікуються по діапазонах
частот. Прийнята і закріплена Гостами термінологія (таблиця. 1.2.1), що
визначає довжини, хвиль і частоти електромагнітних коливань. Приведена
термінологія обмежена діапазоном частот від 3 кГц до 3000 ГГц (1ГГц = 109 Гц).
Така класифікація обумовлена особливостями поширення радіохвиль в різних
діапазонах частот. У таблиці. 1.2.1 діапазон НВЧ відповідає сантиметровим
хвилям. Проте на практиці цим терміном визначають діапазон з ширшими кордонами,
який включає хвилі від метрових до міліметрових. Лінії передачі класифікуються
по типах використовуваних хвиль:
лінії передачі з поперечною електромагнітною хвилею (T-хвилею);
лінії передачі з магнітною хвилею (Н хвилею);
лінії передачі з електричною хвилею (Е хвилею);
лінії передачі з гібридною хвилею.
Таблиця 1.2.1 - Термінологія
Направивши вісь z прямокутної системи координат уздовж лінії передачі,
кожного типу хвилі, можна визначити умовами, представленими в таблиці. 1.2.2 і
що накладаються на подовжні Ez і Нz складаючі векторів електричного і
магнітного полів відповідно.
Таблиця 1.2.2 - Умови визначення
|
Типи хвиль
|
Умови на продольні складові
полів
|
|
Т-хвилі
|
Еz=0, Hz=0
|
|
Н-хвилі
|
Еz=0, , Hz¹0
|
|
Е-хвилі
|
Еz¹0, , Hz=0
|
|
Гібридні хвилі
|
Еz¹0, , Hz¹0
|
З таблиці. 1.2.2 витікає, що в t-хвилі вектори напруженості електричного
і магнітного полів лежать в плоскості, перпендикулярній напряму поширення; у Н
хвилі вектор напруженості магнітного поля має подовжню і поперечну складові, а
вектор напруженості електричного поля має лише поперечну складову; у Е- хвилі
вектор напруженості електричного поля має подовжню і поперечну складові, а
вектор напруженості магнітного поля лежить в плоскості поперечного перетину
лінії передачі; у гібридній хвилі вектори напруженості електричного і
магнітного полів мають і подовжні, і поперечні складові.
Рисунок 1.2.1- Класифікація ліній передачі
Класифікація ліній передачі за видами представлена на Рисунку 1.2.1.
Лінія передачі, конструкція якої не допускає пружного або пластичного вигину,
називається жорсткою; інакше - гнучкою. Хвилеводом називається лінія передачі,
що має одну або декілька провідних поверхонь, з поперечним перетином у вигляді
замкнутого провідного контуру, що охоплює область поширення електромагнітної
енергії. Якщо такий провідний контур відсутній, то лінія передачі називається
відкритою.
лінія
передача електромагнітний хвиля
Рисунок 1.2.2 - Поперечні перетини дротяних ліній: а) - двопровідною; б)
- чотирьох провідно
До дротяних ниток передачі відноситься повітря дво і чотирьох провідні
лінії передачі. На мал. 1.2.2 представлені поперечний перетин таких ліній
передачі. Провідники лінії можуть бути покриті діелектриком. Основним типом
хвилі в них є Т-хвиля. В чотирьох провідних лініях збуджуються попарно
сполучені провідники, наприклад вертикальні, горизонтальні або діагональні.
Такі лінії передачі використовуються в діапазонах гектометрів, декаметрові і
метрових хвиль. До смужкових ліній передачі відносяться несиметрична і
симетрична смужкова лінії, щілинна і копланарна лінії. Поперечні перетини таких
ліній і структура полів в них представлені на мал. 1.2.3. Вони застосовуються в
діапазонах дециметрових, сантиметрових і довгохвильовій частині міліметрових
хвиль. Основною хвилею несиметричною і симетричною смужкових ліній є t-хвиля. У
щілинній і копланарній лініях основною є Н-хвиля.
Рисунок 1.2.3 - Поперечні перетини смужкових ліній передачі
а) - несиметричною; б) - симетричною; у) щілинною; г) компланарною
1.3 Основні характеристики лінії передачі
Регулярна лінія передачі - лінія передачі, параметри якої не змінюються
вздовж напряму поширення хвилі.
Основна хвиля - хвиля, що має найменшу критичну частоту серед усіх хвиль,
які можуть поширюватися у регулярній лінії.
Основними хвилями у однозв’язних лініях передачі (хвилеводи,щілинні
лінії) є Е або Н - хвилі, у багатозв᾽язних лініях без втрат з однорідним
заповненням (коаксіальні лінії, симетричні смужкові лінії) - ТЕМ - хвиля,у
багатозв᾽язних лініях з неоднорідним
заповненням (несиметричні смужкові лінії або мікросмужкові лінії) - квазі - ТЕМ
- хвиля. Усі хвилі з більшими критичними частотами є хвилями вищих типів і
вважаються небажаними (паразитами).
Е - хвиля (ТМ - хвиля) - хвиля у якої вектор Н, має нульову поздовжню
складову. Інші складові векторів Е та Н відмінні від нуля.
Н - хвиля (ТЕ - хвиля) - хвиля у якої вектор Е, має нульову поздовжню
складову. Інші складові векторів Е та Н відмінні від нуля.
ТЕМ - хвиля ( Т- хвиля) - хвиля у якої поздовжні складові векторів Е та Н
дорівнюють нулю, тобто вектори Е та Н лежать у площині, яка перпендикулярна
напряму пиширення хвилі. Критична частота Т - хвилі дорівнює нулю. Параметри
хвилі не залежать від частоти.
Квазі - ТЕМ - хвиля ( квазі - Т - хвиля) - гібридна хвиля, поздовжні
складові векторів Е та Н якої набагато переважають поперечні складові. Критична
частота квазі - ТЕМ - хвилі дорівнює нулю. Ця хвиля має значну дисперсію, але
на низьких частотах вона практично співпадає по параметрам та властивостям з Т
- хвилею.
Гібридна хвиля - хвиля, усі складові векторів Е та Н якої відмінні від
нуля. В усіх лініях передачі з неоднорідним заповненням поширюються саме
гібридні хвилі.
Критична
частота - 
яка,у
регулярних повністю екранованих лініях без втрат відповідає частоті, на якій
стала поширення - 
-дорівнює
нулю.
Стала
поширення 
-
величина,яка характеризує процес поширення хвиль вздовж регулярної лінії і може
бути визначена як

(1)
де

-
коефіцієнт згасання, 
- фазова
стала.
Фазова
стала 
[1/м ] -
величина, що чисельно дорівнює фазовому зсуву, який набуває хвиля при
проходженні у регулярній лінії відстані одиничної довжини.
Коефіцієнт
згасання 
- [дБ/м]
- величина , що обернено пропорційна відстані, яку повинна пройти хвиля вздовж
регулярної лінії для того, щоб її амплітуда зменшилася у e разів.
Довжина
хвилі у лінії - 
-величина,
що чисельно дорівнює відстані, яку повинна пройти хвиля вздовж регулярної лінії
, щоб ії фаза змінилася на 
.
Фазова
швидкість -
- [м/с]-
швидкість переміщення фронта хвилі (поверхні рівних фаз) вздовж повздовжньої
вісі z регулярної лінії. Фазова швидкість визначається таким співвідношенням

(2)
Нормована
погонна ємність - С - величина, яка визначається за формулою

(3)
і
чисельно дорівнює нормованої на 
подвійної
енергії електричного поля, що зосереджена у регулярній лінії одиничної довжини.
Добротність
лінії - Q - безрозмірна величина,яка дорівнює власній добротності
напівхвилевого резонатора з відрізка лінії і визначається за формулою
Поверхневий
опір провідника - 
-
величина,яка чисельно дорівнює опору, що зустрічає струм у шарі провідника з
товщиною 
на
частоті f=0.
Глибина
скін-шару 
-
відстань, при проходженні якої хвилею напруженість її поля у провіднику
зменшується в e-разів.(e
).
Гранична
потужність лінії 
-
потужність, при передачі якої виникає електричний пробій. Гранична потужність
і, таким чином електрична міцність лінії визначаються максимальною напруженістю
електричного поля, перевищення якої веде до пробою.
1.4 Основні типи лінії передачі
В
радіосистемах використовуються різні типи лінії передачі. Вибір конкретного
типу лінії визначається призначенням і параметрами радіосистеми,умовами її
роботи та вирішуючим чином залежить від використовучого діапазону довжини хвиль
і передаваючої потужності. Найбільш розповсюджені типи ліній передачі для
різних діапазонів довжин хвиль представлені на Рисунку 1.4.1. Роздивимось деякі
значення ліній передачі.
Рисунок 1.4.1- Типи ліній передачі для різних діапазонів
Дротові лінії передач відкрита лінія передачі з двох однакових
паралельних провідників з Т-хвилею, використовується на гектометрових та
метрових хвилях для підключення антен к приймаючим та передаючим приладам. На
більш коротких хвилях використовування двох ліній перешкоджає помітне
випромінювання ,яке створює перешкоди й робить більшим затухання.
Коаксіальні лінії передачі. Область використовування таких ліній охвачує
хвилі довжиною від 3-5 см до 10 м. Коаксіальні хвилеводи являють собою жорсткі
конструкції з металевих трубок, закріплених одна в іншій за допомогою
діелектричних шайб або металевих ізоляторів,або мають вид гнучких коаксіальних
кабелів.
Смужкові й мікросмужкові лінії передачі широко використовуються на
дециметрових й сантиметрових хвилях в загальному для створення разветвлених
трактів , об’єднуючих в єдиний прилад НВЧ багатьох елементів. Розрізнюють
симетричні та несиметричні смужкові лінії передачі. Симетричні лінії мають в
поперечному перерізі дві перпендикулярні плоскості симетрії, несиметричні лінії
- одну.
РОЗДІЛ 2
2.1 Щілинна лінія. Види щілинної лінії
До смужкових ліній передачі відносяться також щілинні та копланарні лінії
передач. Щілинна лінія буває симетрична та несиметрична.
Рисунок 2.1 - Симетрична щілинна лінія
.2 Симетрична щілинна лінія
Щілинна лінія(ЩЛ) (симетрична щілинна лінія) уявляє собою вузьку щілину у
провідному шарі ,який нанесено на поверхню діелектричної підкладки. Друга
поверхня підкладки залишається вільною від металізації. Поперечний переріз
щілинної лінії зображено на Рисунку 2.2.1.
Рисунок 2.2.1- Поперечний переріз щілинної лінії
Основна хвиля лінії за характером близька до хвилі Н10 прямокутного
хвилеводу. Силові лінії електричного поля спрямовані перпендикулярно до щілини.
Завдяки використанню підкладок з високим значенням діелектричної проникності
досягають концентрування поля основної хвилі в підкладці близ щілині і
зменшення втрат енергії на випромінення. Порівняно з МСЛ щілинна лінія має
більший хвилевий опір при рівних геометричних параметрах. Тому, ЩЛ
використовують в пристроях ,де необхідно забезпечити великі значення хвилевого
опору. В ЩЛ сильніше ніж в МСЛ проявляється дисперсія. Втрати у провідниках ЩЛ
нижче, тому що струм розподілено по більшій поверхні. Конструкція лінії і
характер основної хвилі обумовлює зручність приєднання вздовж щілини
різноманітних зосереджених елементів. Крім того,щілинна лінія може
використовуватись разом із МСЛ, яка нанесена на зворотній бік підкладки.
У щілинній лінії і копланарному хвилеводі тип коливань відмінний від Т -
хвилі, в них існує подовжнє і поперечне магнітні поля.
За допомогою щілинної лінії можна легко отримати високий хвилевий опір за
рахунок розширення щілини.
Зупинимося детальніше на щілинній лінії.
Слід звести наклеп поняття хвилевого опору щілинній лінії. Оскільки поле
в щілинній лінії не потенційне, хвилевий опір тут вводиться як хвилевий опір
лінії, еквівалентний хвилеводу. Тут же дана крива хвилевого опору несиметрична
мікросмужній лінії. (Рисунок 2.2.2,2.2.3)
Рисунок 2.2.2- залежність ефективної діелектричної проникності від
відносної ширини щілини на різних частотах
Рисунок 2.2.3- Залежність хвильового опору щілинної лінії від частоти
Лінії
електричного поля (при 
)
концентруються у підложці, а магнітного поля - мають вид еліпсів,переходящіх у
криві типу «сідло» Рисунку 2.2.4., утворюючи таким чином основну хвилю СЩЛ,що
нагадує конструкцію поля хвилі типу Н10 прямокутного хвилеводу.
Рисунок
2.1.4-Щілинна лінія магнітного поля
Розподіл
струму в шарі на металевих полу плоскостях (Рисунку2.2.5) - експоненціальне.
Рисунок
2.2.5 - Експоненціальний розподіл струму
Для
розрахунку параметрів СЩЛ необхідно знати основні компоненти електричного та
магнітних полів. При 
напругу
між кромками нескінченно протяжної регулярної щілини можна замінити
еквівалентним лінійним магнітним струмом. При цьому подовжня складова
магнітного поля для будь-якої точки простору поза щілиною записується у вигляді
вирушаючої хвилі

(5)

(6)
де

-
функція Ханкеля першого роду n-го порядку, 
-подовжнє
хвильове число, 
-
хвильове число для повітря, 
- довжина
хвилі у СЩЛ, 
-
ефективна діелектрична проникність СЩЛ.
Поперечна
складова поля СЩЛ у циліндричних координатах визначаються з рівнянь Максвела
наступним чином

(7)

(8)
Використовуючи
властивості функції Ханкеля й умову 
,
визначимо відстань 
від
плоскості щілини до місця знаходження плоскості кругової поляризаціі

(9)
Напругу
в довільній крапці шару метала нормоване на напругу в щілині, визначається
таким чином

(10)
При
розрахунках ефективної діелектричної проникності і хвильового опору СЩЛ часто
використовується модель лінії з електричними і магнітними стінками(Рисунку
2.2.6),це дозволяє з відомою мірою точності представити СЩЛ у вигляді
прямокутного хвилеводу і вирішити завдання в прямокутних координатах.
Рисунок
2.2.6 - Лінії з електричними і магнітними стінками
Хвилеводні
моделі зображені на мал.2.2.6 , передбачають поширення хвилі без втрат в
подовжньому напрямі СЩЛ. Введення електричних стінок на відстані a, рівному
половині довжини хвилі , і магнітних стінок симетрично осьової лінії щілини на
чималій відстані b, не спотворюють в СЩЛ компоненти поля. В результаті з
первинної структури ми виділили ділянку, яку можна розглядати як прямокутний
хвилевід, з ємкісною діафрагмою, розміщеною на діелектричній підкладці. У
подібній структурі повний спектр хвиль, задовольняючий граничним умовам, складається
з хвиль 
для

для 
.
Хвилі

і всі
вищі типи хвиль в хвилеводі без дієлектрика не поширюються, оскільки величина а
менше половини довжини хвилі в повітрі. У дієлектріке поширюються хвилі 
, а
поширення вищих типів хвиль залежить від ширини хвилеводу а .
За
умови "поперечного резонансу" полів сума реактивної провідності в
плоскості діафрагми має бути рівною нулю

(11)
де

-
реактивна провідність у плоскості діафрагми (х=0) зі сторони підложки товщиною
d, 
- зі
сторони повітря.
Треба
відзначити, що в назві щілинної лінії є термінологічна неточність. З цієї точки
зору щілинна лінія є хвилеводом.
У
електродинаміці і техніці свч хвилеводом прийнято називати тракт, структура
поля якого має подовжні складові полів Е та Р (металевий, діелектричний,лучевий
хвилеводи). З цієї точки зору щілинна лінія є хвилеводом.
2.3 Несиметрична щілинна лінія
Несиметрична
щілинна лінія утворюється металевими на пів площинами ,нанесеними в різних шарах
плоско паралельних діелектричних підложок. Залежно від взаємного розташування
на пів площин відносно одна одної можливі різні модифікації НЩЛ: лінія з
перекриттям або лінія без перекриття (Рисунок 2.3.1) а також з нульовим
перекриттям, коли края на півплощин знаходяться один проти одного.
Рисунок
2.3.1 - Лінія з перекриттям та без перекриття
Необхідно
відзначити що в НЩЛ відсутній конструкторська технологічна особливість,
пов'язана з реалізацією вузьких провідників і щілин. Це дозволяє виконувати НЩЛ
з практично будь-якою величиною хвилевих опорів. Обмеження накладаються
наявністю випромінювання енергії (відкрита НЩЛ) з боку великих хвильових опорів
(велика відстань між на півплощинами),а з боку малих - можливістю виникнення
хвиль хвилеводного типу і поверхневих хвиль.
Крім
того, НЩЛ володіє великою широкосмуговістю і простотою конструктивної
реалізації.
РОЗДІЛ 3
.1 Копланарна лінія
Копланарна лінія(КЛ) являє собою трьох провідну смужкову лінію передачі,
в якій електромагнітна хвиля поширюється вздовж щілин між смужковими
провідниками, розташованими в одній площині. Середній провідник є провідником
по якому йде струм, а два крайніх - «заземленими» (Рисунок 3.1.1). Вся система
провідників розташована на одношаровій діелектричній підкладці або на
багатошаровій підкладці з різних матеріалів.
Рисунок 3.1.1 - Копланарна лінія
Копланарна лінія складається з двох напів нескінченних металевих шарів
між якими знаходиться струмопровідна смужка. Металеві провідники КЛ нанесені на
один бік діелектричної підкладки. Напів нескінченні шари металу є заземленими і
часто звуться бічними екранами КЛ. Поперечний переріз зображено на Рисунку
3.1.2.
Рисунок 3.1.2 - Поперечний переріз КЛ
Хвилі компланарної лінії поширюються вздовж щілин між металевими
поверхнями. В КЛ існують два основні типи коливань - парний та непарний, які
відрізняються розподіленням електромагнітного поля. У випадку коливань парного
типу центральний провідник та бічні екрани знаходяться під різними
потенціалами. При непарному типі коливань бічні екрани мають один потенціал, а
центральний провідник - другий. Використання підкладок з високим значенням
діелектричної проникності забезпечує зменшення дожини хвилі і концентрацію
електромагнітного поля близ межі розподілу діелектрик-повітря. Це дозволяє розміщувати
на КЛ пасивні та активні зосереджені елементи таким же чином, як і на щілинній
лінії.
.2 Неоднорідності в КЛ
Копланарна лінія являє собою симетричну(відносно вертикальної площі)
структуру,й хвилі в ній можна віднести до двох класів: парне й не парне.
Найбільш легко аналізується нижчий парний тип хвилі. Дійсно, якщо товщина
діелектрика набагато більша поперечних розмірів КЛ, то поперечна структура поля
у КЛ нагадує структуру поля основної хвилі коаксіального хвилеводу. Тому можна
у якості парної хвилі обрати КХ (на основній хвилі). Використовуючи умови
рівності хвильових опорів та фазових швидкостей в моделі й прототипу,отримаємо

(12)

(13)
Де
k=
; D1,2
зовнішній та внутрішній діаметри КХ, а 
та 
- ширина
вузького провідника й відстань між широкими провідниками в КЛ.
Відношення
(12),(13) по заданим геометричним розмірам 
й 
КЛ,
дають можливість визначити параметри КХ.
Більш
важким є моделювання КЛ на не парному типі хвилі. При цьому потрібно врахувати
, що структура першого не парного типу хвилі КЛ нагадує структуру хвилі H11 КХ,
а також врахувати наявність відсічки(тобто врівноважити критичні довжини хвиль
в моделі та прототипі).
РОЗДІЛ 4
.1 З'єднання ліній передачі НВЧ
Роз'єми не повинні знижувати електричну міцність тракту і вносити значні
віддзеркалення до тракту. Крім того, роз'єми повинні забезпечувати необхідний
рівень електро герметичності тракту, тобто мінімальний рівень випромінювання
електромагнітних хвиль з місця з'єднання ліній передачі.У хвилеводних трактах
застосовують двох типів з'єднань: контактне і дросельно-фланцеве. Контактне
з'єднання може бути нерозбірним і розбірним. Нерозбірне з'єднання хвилеводів
здійснюється за допомогою зовнішніх муфт, що надіваються на місце з'єднання з
подальшою зваркою або пропаюванням. Розбірне з'єднання виконується у вигляді
гладких фланців, що припаюються до кінців хвилеводу. Направляючі штифти
забезпечують необхідну точність установки хвилеводів. Фланці мають отвори,
через які за допомогою болтів здійснюється стягання з'єднання. Для поліпшення
контакту і забезпечення електрогерметичності між хвилеводами, що сполучаються,
поміщають тонку контактну прокладку, що виконується з берилієвої бронзи. Краї
цієї прокладки, що примикають до стінок хвилеводу, розітнуті і відігнуті в
різні боки. При необхідності герметизації тракту використовують також гумові
прокладки. Контактне роз'ємне фланцеве з'єднання - |Г| < 0.1в смузі роботи
хвилеводу.
Дроссельно-фланієве з'єднання забезпечує надійний контакт між
хвилеводами, що сполучаються, електричним дорогою. Таке з'єднання показане на
Рисунку 4.1.1, а і відрізняється від контактного наявністю кільцевої канавки у
фланці завглибшки d і шириною в і радіальної проточки з розміром l і шириною z.
Канавка є коротко замкнутим коаксіалом, в якому збуджується хвиля Н11, а
радіальна проточка - ділянка так званого радіального хвилеводу. Структура
силових ліній електричного поля в хвилеводі і канавці з хвилею Н11 показана на
Рисунку 4.1.1, б. На Рисунку 4.1.1, в представлена еквівалентна схема
дросельно-фланцевого з'єднання. Місце механічного контакту на цій схемі
відмічене стрілкою. Дросельна канавка разом з радіальною проточкою представлені
на еквівалентній схемі як два послідовно включених короткозамкнутих шлейфа. Для
того, щоб вхідний опір цих шлейфів на робочій частоті дорівнював би нулю,
необхідно узяти їх загальну довжину λл/2, а механічний контакт розташувати
в нулі струму, тобто на відстані λл/4 від коротко замикаючої перемички.
Таким чином, глибину канавки d слідує узяти рівноюλH11/4, а розмір проточки l = λ/4. Діапазонність дросельного
з'єднання збільшується, якщо у>z. Зазвичай в = (2...5)z. Дросельно-фланцеві
з'єднання забезпечують |Г|<0.01 у смузі частот 20 %. - еквівалентна схема.
Рисунок 4.1.1 - Дросельно-фланцеве з'єднання хвилеводів: а - конструкція
з'єднання; б - структура електричною поля в з'єднанні; в - еквівалентна схема
з'єднання
У коаксіальних трактах як з'єднання використовують високочастотні роз'єми
штепсельного типа. При цьому з одного боку коаксиалов, що сполучаються,
розміщується штирьовий контакт, а з іншого боку - гніздовий. На практиці
знаходять вживання різні типи коаксіальних високочастотних роз'ємів.
РОЗДІЛ 5
5.1 Розрахунок Т-З'єднання СЩЛ та КЛ
Найчастіше в об'ємних інтегральних схемах зустрічаються комбінації різних
типів ліній. В області їх стиковки виникають Т- з'єднання, побудовані на
одночасному включенні послідовних і паралельних відрізань різних типів ПЛП.
Точність розрахунку визначається правильним вибором еквівалентної схеми. У
даних випадках ми обмежимося аналізом фізичних властивостей деяких типів Т -
з'єднань і їх топологією на підставі еквівалентних схем.
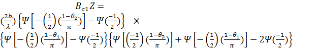
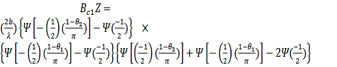
Т-
з'єднання СЩЛ. Розглянемо симетричне Т- з'єднання СЩЛ. (5.1.1а). Еквівалентна
схема приведена на мал. (5.1.1б). Параметри еквівалентної схеми при довільних
кутах 
і 
між вхідним
і вихідним плечим

-1 ,(14)

(15)

(16)

(17)
Рисунок
5.1.1- (а,б) Розрахунок Т- з’єднання СЩЛ
У
випадку 
та
розкладення логарифмічної похідної Ψ(ζ) у ряд отримаємо більш прості вирази для параметрів
еквівалентної схеми

(18)

(19)

(20)

(21)
де

,

,

,

,

З
цих виразів видно, що значення реактивних провідностей ВС1 , ВL1 , BL2 , BC2
одного порядку. Наслідком цього є можлива поява резонансів різних послідовних і
паралельних ланцюжків. Тому хід кривих модулів і фаз коефіцієнтів
віддзеркалення і проходження в даному випадку буде складнішим.
Складніше
Т- з'єднання здійснюється з виходом на СЩЛ, в якому для вирівнювання
потенціалів необхідно ввести чвертьхвильовий розімкнений відрізок НПЛ або
гальванічно закоротіть НПЛ на протилежний шар металу СПЛ в крапці А (Рисунок
5.1.2 ). Опір включений паралельно в лінії, що сполучаються, складається з
вхідного опору розімкненого шлейфу і індуктивного опору провідника в області
пересічення СЩЛ і НПЛ.
Рисунок
5.1.2 - Закорочення НПЛ
Складна
ситуація створюється в Т- з'єднанні з вихідними плечима на КЛ. Залежно від
конструкції включення НПЛ в КЛ можуть збуджуватися парний і непарний типи
хвилі. При включенні за точкою пересічення НПЛ з КЛ чвертьхвильового
розімкненого відрізання крапки, що виникають на краях двох напів безконечних
шарів металу КЛ, матимуть протилежні напрями. Еквівалентний опір даного
переходу на Рисунку 5.1.3
Рисунку
5.1.3 - Еквівалентний опір
Т
-з'єднання з вхідним плечем на КЛ. трійники з вхідним плечем на КЛ за принципом
роботи аналогічні Т з'єднанням з плечима НПЛ: збудження вихідних плечей
здійснюється синфазний. Крім того, при розробки цього БЕ необхідно враховувати,
що будь-яка проста неоднорідність, у тому числі і мікронеоднорідності,
приводять до небажаного збудження хвилі непарного типа. Тому в область Т
з'єднання необхідно вводити металеву перемичку, що сполучає краї двох напів
безкінечних шарів металу КЛ. Топологія і еквівалентна схема трійника з виходом
на СЩЛ приведені на Рисунку 5.1.4 Смуга робочих частот даного з'єднання Т в
деякій мірі обмежена великою відмінністю дисперсійних характеристик КЛ і СЩЛ.
Це обмеження є принциповим, і тому для забезпечення частотного діапазону зверху
октави необхідно або підсогласовувати трійник, або перераховувати його
топологію.
Рисунок
5.1.4- Т з’єднання СЩЛ на КЛ за допомогою чверть хвильового закороченого
шлейфу(а),або кола вирізаного у шарі металу (б),еквівалентна схема(в)
При
виконанні Т- з'єднання з вихідними плечима на КЛ за областю пересічення з СЩЛ
необхідно включати чвертьхвильовий закорочений шлейф( Рисунок 5.1.4а)
Збільшення робочих частот т з'єднання можна досягти шляхом заміни шлейфу на
круг, вирізаний в шарі металу (Рисунок 5.1.4.б.) Придушення хвиль вищих типів
досягається гальванічним з'єднанням навісною перемичкою в крапці А крайніх
провідників КЛ. Еквівалентна схема приведена на Рисунку 5.1.4.в . Тому
розрахунок даного трійника на КЛ можна проводить по

. (21)
Рисунок
5.1.5 - Включення КЛ у СЩЛ(а), еквівалентна схема (б)
ВИСНОВКИ
Отже,
можна з впевненістю заявити, що майбутнє радіоелектроніки належить інтегральним
структурам і технічній реалізації. Так вже склалося, що розвиток
радіоелектроніки з перших її кроків йшло у бік освоєння усе більш
короткохвильових діапазонів. І в той же час радіоапаратура "старих"
частотних діапазонів, оновлювалася не лише за рахунок введення нової
технології, матеріалів і ін., удосконалювалася,набувала нові якісні
властивості.
Таким
чином, довгохвильовий діапазон в кожен історичний період розвитку
радіоелектроніки був своєрідним полігоном для відробітку нових принципів
проектування і конструювання радіоапаратури.
В
даній курсовій роботі були розглянуті такі поняття як: лінії передачі,іх
класифікація та основні характеристики й типи ЛП. Ознайомились з тенденціями
розвитку сучасної радіоелектроніки.
Детальніше
було розглянуто щілинну лінію та копланарну лінію передачі, іх розрахунки та
властивості. Неоднорідності ліній.
Також
ознайомились з властивостями з’єднання різних типів ліній і розрахунком їх
Т-з'єднань .
СПИСОК
ВИКОРИСТАНИХ ДЖЕРЕЛ
1. Сазонов,
Д. М. Антенны и устройства СВЧ. Учебник для вузов. Москва «Высшая школа»,
1988.- 431 с.
. Лебедев,
Н.Д. Техника и приборы СВЧ:техника сверхвысоких частот, Том 1. [Текст] [под
редакцией академика Н.Д. Девяткова] Москва «Высшая школа»,1970.-440 с.
.
Нефёдов,Е.И. Объемные интегральные схемы СВЧ [Текст] / [В.И. Гвоздев] Москва
«Наука» Главная редакция физико-математической литературы,1985.-130 с.
. Методичні
вказівки до розрахунку ліній передачі інтегральних схем НВЧ .-Дніпропетровськ
ДДУ,1998.-30 с.
1. Вайнштейн,
Л. А. Электромагнитные волны [Текст]/Л. А. Вайнштейн.-М.: Советское радио.-
1957.
. Силаев, М.
А., Брянцев, О. Ф. Приложение матриц и графов к анализу СВЧ- устройств [Текст]
/ М. А. Силаев, О. Ф. Брянцев.- М.: Советское радио.- 1970.
. Вадья, В.
П., Дубров, М. Н., Коршунов, И. П., Матвеев, Р. Ф., Радиотехника и электроника
[Текст] / В. П. Вардьян, М. Н. ДубровИ.В.Коршунов, 1978.-23с., 10с., 2069с.
. Вардья, В.
П., Коршунов, И. П., Вопросы радиоэлектроники [Текст] / В. П., Вардьян, И. В.
Коршунов, 1975.- 1с., 62с.
. Справочник
радиолюбителя-конструктора. - 3-е изд., перераб. и доп. [Текст] - М.: Радио и
связь, 1984. - 560 с. - (Массовая радио-библиотека; Вып. 1043).
. Горошков,
Б. И. Элементы радиоэлектронных устройств: Справочник. - М.: Радио и связь,
1988. - 176 с. - (Массовая радиобиблиотека; Вып. 1125).
. Горошков,
Б. И. Радиоэлектронные устройства: Справочник. - М.: Радио и связь, 1984. - 400
с. - (Массовая радиобиблиотека; Вып. 1076)