Проектування польового транзистора з ізольованим затвором та індукованим каналом p-типу (КП301Б)
ПЕРЕЛІК УМОВНИХ ПОЗНАЧЕНЬ
ОПЗ - область просторового затвору
В - витік
С - стік
З - затвор ЗВ - напруга
на затворі - виток
Uпор
- напруга порогова
UСВ
- напруга стік-витікC - струм стока
S - крутість характеристики
ВАХ - вольт-амперна характеристика
Uпор- напруга при
якій створюється канал
МОН- метал-окисел-напівпровідник
МДН - метал - діелектрик -
напівпровідник транзистор
ВСТУП
Польовим транзистором називається електроперетворювальний
прилад, в якому струм каналу управляється
електричним полем, що виникає
з прикладенням напруги між
затвором і витоком, і який призначений для посилення потужності
електромагнітних коливань.
Каналом називається центральна область
транзистора. Електрод, з якого в канал входять носії заряду, називається
витоком, а електрод, через який основні носії йдуть з каналу - стоком.
Електрод, що служить для регулювання
поперечного перерізу канал
називається затвором..
Так як у польових транзисторах струм
визначається рухом носіїв тільки одного знака, раніше їх називали уніполярними,
що підкреслювало рух носіїв
заряду одного знака.
Польові транзистори виготовляють з кремнію і, в
залежності від електропровідності вихідного матеріалу, підрозділяють на
транзистори з p-каналом і транзистори з n-каналом.
Головні
переваги
польових транзисторів - високий вхідний опір.
Ідея пристрою польового транзистора з керуючим p-n-переходом
належить У. Шоклі (1952 р.), а транзистора з ізольованим затвором - М. Атолл і
Д. Кангу (1960 р.).
В даній роботі розраховано та
експериментально підтверджено властивості польового транзистора КП301Б.
1. ТЕОРЕТИЧНА ЧАСТИНА
.1 Класифікація та умовні позначення
транзисторів
Класифікація і умовні графічні позначення
польових транзісторів наведено на рисунку 1.1
Рисунок 1.1-
Класифікація та умовні графічні позначення польових транзисторів
1.2 Польові
транзистори з ізольованим затвором
У транзисторах з ізольованим затвором затвор
відділений від напівпровідникового
каналу тонким шаром діелектрика. Інакше ці прилади називають МДН-транзистори
(метал-діелектрик-напівпровідник). МДн-транзистори
виготовляють
з кремнію. В якості діелектрика використовують оксид (оксид) кремнія
SiO2, звідси й інша
назва - МОН-транзистори
(метал-оксид-напівпровідник). Наявність діелектрика забезпечує високий вхідний
опір (1012-1014 Ом).
Принцип дії МДН-транзисторів
заснований на ефекті зміни провідності приповерхневого шару напівпровідника на границі
з діелектриком під впливом
поперечного електричного поля. Приповерхневий шар напівпровідника є
струмоведучих каналом.
1.3 МДН-транзистори
з вбудованим каналом
Структура та схема включення МДН-транзистора
з вбудованим каналом наведено на рисунку 1.2.
У вихідній пластині чистого або слаболегованого
кремнію (p-типу), званого
підкладкою, створені області стоку, каналу і витоку n-типу.
Четвертий електрод - підкладку в більшості схем з'єднують з витоком .
Подачею керуючої напруги Uзв
на затвор транзистора, за рахунок створюваного електричного поля в його структурі,
здійснюється керування
величини струму стоку Iс.
Розглянемо характеристики МДН-транзистора
з вбудованим каналом. ВАХ польових транзисторів з ізольованим затвором в
основному аналогічні характеристикам транзисторів з керуючим p-n-переходом.
Стокові (вихідні) характеристики транзистора Ic
= f (Uси)
при Uзи = const
наведено на рисунку
1.3.
Ізольований затвор дозволяє працювати в області
позитивних зна-чення напружень затвор-витік Uзв.
На рисунку 1.3
показані три сімейства ви-хідні характеристик залежно від значень напруги Uзв.
Рисунок 1.2 - Схема
включення МДН-транзистора
з
вбудованим каналом
Перше сімейство (Uзв
= 0). Струм стоку Iс
визначається вихідною провідністю
каналу. При малих значеннях вплив напруги Uсв
на провідність каналу мало, тому що в міру наближення до стоку, потенціал
зростає і збільшується
запірний шар (модуляція). При збільшенні значень напруги Uсв
канал звужується, струм зменшується. У точці б канал звужується до мінімуму.
Рисунок 1.3 - Стокові
(вихідні) характеристики МДН-транзистора
з
вбудованим каналом
Друге сімейство (Uзв
<0). При Uзв
<0 електричне поле виштовхує електрони, що призводить до зменшення
концентрації їх у каналі, знижуючи його провідність. Цей режим називається
режимом «збідніння» каналу.
Третє сімейство (Uзв>
0). При Uзв>
0 електричне поле притягує елек-трони з p-області, збільшується концентрація їх
і підвищується провідність каналу. Цей режим
називається режимом «збагачення» каналу носіями.
Стоко-затворна (передавальна) характеристика Ic
= f (Uзв)
при Uсв
= const наведена на рисунку
1.4.
Рисунок 1.4
Стоко-затворна (передаточна) характеристика МДН-транзистора
з вбудованим каналом
Змінюючи полярність і значення
напруги затвор-витік Uзв,
можна викликати провідність каналу і, отже, струм стоку Iс
при незмінному значені напруги стік-витік Uсв.
На
відміну від польових транзисторів з керуючим
p-n-переходом,
при цьому змінюється не площа перерізу каналу, а концентрація основних носіїв
заряду.
.4 МДН-транзистор
з індукованим каналом
Схема включення МДН-транзистора
з індукованим каналом приведена на рисунку 1.5.
Рисунок
1.5
Структурна схема МДН-транзистора
з
ізольованим затвором індукованим каналом
p-типу
Канал провідності струму в цьому типі
транзистора не створюється, а індукується
завдяки припливу електронів з p-області
при прикладеній до затвору напруги
позитивної полярності. Транзистор з індукованим каналом працює тільки в режимі
збагачення. ВАХ транзистора з індукованим каналом наведено на рисунку
1.6.
А
еквівалентна схему МДН- транзистора з ізольованим затвором та індукованим
каналом зображено на рисунку 1.7.
.5 Переваги і недоліки польових транзисторів
Перевагами
польових транзисторів є:
1) високий вхідний опір, що
відповідає підвищеному коефіцієнту підсилення по потужності керування;
2) обумовленість робочого струму тільки
основними носіями заряду і, як наслідок, висока швидкодія. Час перемикання
сучасних МОН-транзисторів
Рисунок
1.6
Вольт-амперные характеристики транзистора з
індукованим
каналом:
а - стокова Ic
= f(Uсв)
при Uзв
= const (вихідна);б -
стоко-затворна Iс
= f(Uзв)
при Uсв
= const (передаточна)
Рисунок 1.7 - Еквівалентна схема
складає одиниці наносекунд . Така швидкість перемикання
обумовлена тим, що в них практично виключені струми накопичених
зарядів неосновних носіїв;
) майже повне розділення вихідного сигналу від
вхідного;
) малий рівень шумів;
) можливість роботи на високій частоті (до 100
кГц).
До недоліків польових транзисторів можна
віднести:
) низькі значення комутованого струму (десятки
ампер) і напруги (до 500-600 В);
) високі значення прямих втрат внаслідок
великого опору у включеному стані (0,2-0,5 Ом).
Польові транзистори мають таке
ж маркування як і біполярні, але з заміною другої літери на букву П. Наприклад,
КП-302 А, КП-904 Б.
1.6 Польові транзистори на сучасному
етапі
Про реальний вид нових приладів можна судити по
мікрофотографії ділянки мікросхеми з такими транзисторами (рис.1.8).
На малюнку видно, що області приладу геометрично чітко помітні і що їх
виготовлення поки досить добре контролюється.
Ми вживаємо слово „пока” тому, що розміри деяких
областей таких приладів (перш за все товщина діелектрика затвора) наблизилися
до розмірів атомів і товщина діелектрика складає декілька атомних шарів.
В своїй доповіді один із засновників
корпорації Intel Гордон Мур
приводить унікальні мікрофотографії вирізки області каналу у польових
транзисторів. Отримані за допомогою електронного мікроскопа з величезним
збільшенням (сотні тисяч разів) ці мікрофотографії (рис.1.9) дозволяють
спостерігати окремі атоми, які виглядають, як сфери

У звичайних польових транзисторів, виконаних по
90 нм технологічному процесу (рис. 1.9
зліва), товщина діелектрика досягає 1,2 нм, а у нових транзісторов- всього 5
атомів. Такий тонкий шар не дуже контрольований, що веде до появи помітних
струмів витоку. У нових транзисторів (рис.
1.9
справа) товщина нового діелектрика
помітно збільшена (до 3 нм).
Рисунок 1.9 - Вирізки
області каналу у польових транзисторів
Це різко (приблизно у сто разів) зменшило струми
витоку, що також дозволяє зменшити робочі струми транзисторів. Дія затвора
збережена,
оскільки новий діелектрик має підвищену діелектричну проникність.
В цілому всі ці тонкощі структури і технології
виготовлення інтегральних польових транзисторів означають зменшення їх розмірів
і підвищення робочих частот при одночасному зниженні робочої напруги, струмів і
розсіюваної потужності. Розрахунки показують, що щільність упаковки
транзисторів в мікросхемі зростає в тисячі разів, і це означає новий
технологічний прорив у виробництві СБІС.
В роботі B. Doyle, представленою в матеріалах
другого форуму IDF в Москві (кінець 2003 р.), були представлені матеріали по
дослідженню і математичному моделюванню транзисторів трьохзатворів.
Досліджуваний зразок приладу (рис.1.10)
має нікчемно малі розміри.
Рисунок 1.10 -
Трьохзатворний транзистор
На рисунку
1.11
представлено сімейство вольт-амперних вихідних і передавальних характеристик
цього приладу. Вони наочно показують нам
можливість роботи нових приладів при робочій напрузі 1В і нижче. Услід за Intel
про розробку швидкісного польового транзистора трьохзатвора оголосила і
компанія AMD. Її транзистори також створюються на основі структури SOI- кремній
на ізоляторі.
Надтонка струмопровідна підкладка,
створена із збідненого кремнію на ізоляторі (FDSOI),
оточена з трьох боків затворами з силіциду нікелю. У такій структурі також
відбувається розтягування кремнію на підкладці і збільшується рухливість носіїв
струму. AMD
стверджує, що досягнутий додатковий приріст швидкодії транзисторів на 50%.
Рисунок 1.11 -
сімейство ВАХ трьох затворного транзистора
Перспективи розвитку напівпровідникової
промисловості встановлюються в проекті ITRS (Міжнародний технологічний план
випуску напівпровідників). Нові польові транзистори трьохзатворів перевершують
показники, представлені в цьому проекті на 2009 рік.
2. ПРАКТИЧНА ЧАСТИНА
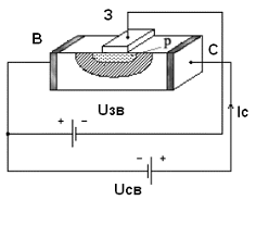
.1 Схема та вихідні дані
МОП-транзистора
Маємо польовий транзистор на основі
кремнію з ізольованим затвором та алюмінієвою металізацією і підзатворним
діоксидом кремнію з індукованим каналом p-типу
електропровідності.
Таблиця 2.1 - Вихідні дані МОП-
транзистора
|
Геометричні розміри
|
Електрофізичні параметри
|
|
d, 10
м
|
L, 10
м
|
z, 10
м
|
Na, 10 м
|
Nпов,
10 м
|
мp,
м\В*С
|
цмдн, В
|
еd,
|
е
|
цt,
В
|
ni, 10 м
|
q, Кл/м
|
|
1
|
5
|
5
|
3
|
2
|
0,05
|
-0,95
|
4
|
12
|
0,025
|
1,6
|
1,6
|
Схема транзистора зображена на
рисунку 2.1
Рисунок 2.1 - Схема польового
транзистора з ізольованим затвором і каналом p-типу
2.2 Розрахунок основних електричних
параметрів
Розрахуємо питому ємність між
затвором і підложкою:

Напруга на ОПЗ буде складати:

Тепер розрахуємо ширину ОПЗ:

Густину заряду ОПЗ розрахуємо за
наступною формулою:

і густину поверхневого заряду в
діоксиді кремнію

Тепер маємо всі дані для розрахунку
порогової напруги, яку розрахуємо наступним чином:

Ємність затвор- канал склала:

.3 Розрахунок передаточних
характеристик
В передаточні характеристики входять
струм стоку , напруга затвор-витік, та крутизна.
Струм стоку отримаємо за формулою:
Для того, щоб розрахувати струм
стоку необхідно задати значення напруги на затворі - витік. Запишимо ці
значення у вигляді таблиці:
Таблиця 2.2 - Напруга на затворі
|
Uзв, В
|
-3
|
-4,95
|
-8
|
-9
|
-10
|
-11
|
-13
|
-15
|
-16
|
На основі таблиці 2.2 та формули
(2.1) розрахуємо струм стоку:
Аналогічно розрахуємо Ic1, Ic2, Ic3
і т.д. Отримані дані занесемо до таблиці 2.3.
Запишимо формулу для крутизни
характеристик:
(2.2)
Використовуючі дані з таблиці 2.2
маємо:

Змінюячи значення напруги Uзв
отримаємо відповідні S,
які також занесемо до таблиці 2.3.
Таблиця 2.3 - Таблиця передаточних
характеристик і крутизни
|
Uзв, В
|
-3
|
-4,95
|
-6,96
|
-8
|
-9
|
-10
|
-11
|
-13
|
-15
|
-16
|
|
Ic, мА
|
0,0032
|
0,136
|
0,628
|
1,023
|
1,494
|
2,051
|
2,698
|
4,257
|
6,17
|
15
|
|
S, мА\В
|
0,143
|
0,311
|
0,666
|
0,851
|
1,028
|
1,202
|
1,382
|
1,736
|
2,09
|
2,267
|
2.4 Розрахунок вихідних
характеристик
Розрахуємо вихідні характеристики за
допомогою формули:
Підбираючи значення Uзв
та Uсв
отримаємо наступні значення струму:

В

та занесемо їх до таблиці 2.4.
Таблиця 2.4 - Дані вихідних
характеристик
.5 Розрахунок максимальної робочої
частоти, вхідного і вихідного опору
Максимальну робочу частоту отримаємо
за формулою (2.4) при UЗВ
= 2 Uпор
= 6, 38 В


Вхідний і вихідний диференціальний
опір розрахуємо за формулами (2.5) та (2.6)


Опори склали відповідно Rвх = 531 Ом
Rвих= 2,2 КОм
.6 Експериментальні дані
Таблиця 2.5 - Передаточні
характеристики
Таблиця 2.6 - Вихідні характеристики
|
UЗВ, В
|
Iс, мА
|
UСВ, В
|
UЗВ, В
|
Iс, мА
|
UСВ, В
|
|
-8,97
|
0
|
0
|
-13
|
0
|
0
|
|
0,6
|
-0,81
|
|
0,59
|
-0,3
|
|
0,87
|
-1,81
|
|
1,13
|
-0,6
|
|
1,02
|
-2,81
|
|
1,46
|
-0,8
|
|
1,19
|
-5,84
|
|
2,89
|
-1,78
|
|
1,33
|
-9,87
|
|
3,99
|
-2,77
|
|
|
|
|
5,34
|
-4,78
|
|
|
|
|
6,18
|
-7,78
|
|
|
|
|
6,57
|
-9,8
|
На основі математичних та
експериментальних даних збудуємо ВАХ стокових та стоко-затворних характеристик
(додаток А).
ВИСНОВКИ
польовий транзистор
схема канал
В даному курсовому проекті визначили
всі основні характеристики польового транзистора КП301: вхідний та вихідний
диференціальний опори Rвх = 531 Ом, Rвих = 2,2 КОм, крутизну S
= 1, 028 мА\В, максимальну частоту fmax = 119 МГц. На основі одержаних даних
побудували ВАХ.
Як бачимо, польовий транзистор має
високі властивості і тому значна частина вироблених в даний момент польових
транзисторів входить до складу КМОП-структур, які будуються з польових
транзисторів з каналами різного p-і n-типу провідності і широко
використовуються в цифрових і аналогових інтегральних схемах.
За рахунок того, що польові
транзистори управляються полем (величиною напруги прикладеного до затвора), а
не струмом, що протікає через базу (як в біполярних транзисторах), польові
транзистори споживають значно менше енергії, що особливо актуально в схемах
малого споживання та енергозбереження (реалізація сплячих режимів).
Грандіозними темпами розвиваються
галузі застосування потужних польових транзисторів. Їх застосування в
радіопередавальних пристроях дозволяє отримати підвищену чистоту спектру
випромінюваних радіосигналів, зменшити рівень перешкод і підвищити надійність
радіопередавачів. У силовій електроніці ключові потужні польові транзистори
успішно замінюють і витісняють потужні біполярні транзистори. У силових
перетворювачах вони дозволяють на 1-2 порядки підвищити частоту перетворення і
різко зменшити габарити і масу енергетичних перетворювачів. У пристроях великої
потужності використовуються біполярні транзистори з польовим управлінням (IGBT)
успішно витісняють тиристори. У підсилювачах потужності звукових частот вищого
класу HiFi і HiEnd потужні польові транзистори успішно замінюють потужні
електронні лампи, які мають малими нелінійними і динамічними спотвореннями.
ПЕРЕЛІК ПОСИЛАНЬ
.Л. Росадо
«Физическая электроника и микроэлектроника»
М.-«Высшая школа» 1991 - 351 с.: ил.
. И.П.
Степаненко «Основы теории транзисторов и транзисторных схем», изд. 3-е,
перераб. и доп. М., «Энергия», 1973. 608 с. с ил.
. http://transistor.dp.ua/