Применение интегрированных АСУ для ТЭС

  • Вид работы:
    Курсовая работа (т)
  • Предмет:
    Физика
  • Язык:
    Русский
    ,
    Формат файла:
    MS Word
    194,05 Кб
  • Опубликовано:
    2013-06-27
Вы можете узнать стоимость помощи в написании студенческой работы.
Помощь в написании работы, которую точно примут!

Применение интегрированных АСУ для ТЭС

РЕФЕРАТ

Пояснительная записка: 40 с., 9 иллюстраций, 3 табл.

ИАСУ, СИСТЕМА УПЛОТНЕНИЙ, КОНТРОЛЬ, РЕГУЛЯТОР, ДАВЛЕНИЕ, ЦВД, ЦНД, ДАТЧИК

Объект разработки - система регулирования давления в камерах уплотнений.

Цель работы - разработка структуры автоматизированной системы управления ТЭС, разработка функциональной схемы системы регулирования давления в камерах уплотнений.

В работе представлена структура автоматизированной системы управления ТЭС с указанием уровней управления по иерархии. Изображена схема управления, указаны составляющие модули и их назначение.

Разработана функциональная и структурная схемы системы регулирования давления в камерах уплотнений. Произведён подбор датчиков, их сравнительный анализ и выбор по параметрам и характеристикам наиболее подходящего из них.

СОДЕРЖАНИЕ

1. Перечень условных сокращений и обозначений4

. Введение

. Предприятие - как объект автоматизации

. ИАСУ - решение проблемы комплексной автоматизации. Определение ИАСУ, назначение, функции, преимущество перед существующими системами

. Стадии разработки ИАСУ

. Применение ПТК для создания АСУ ТП

7. Анализ и выбор современных средств управления и обработки информации. Разработка функциональной схемы системы управления за параметрами. Вариант №7. Управления расходом воды на выходе из регенеративных подогревателей

8. ЗАКЛЮЧЕНИЕ

. СПИСОК ЛИТЕРАТУРЫ

1. Список сокращений и выражений

АСУ - автоматическая система управления.

АСУП - АСУ предприятием.

АСУТП - АСУ технологическим процессом.

ИАСУ - интегрированная автоматизированная система управления.

ЛВС - локальная вычислительная сеть.

ПТК - программно-технический комплекс.

СУ - система управления.

ТП - технологический процесс.

ЦВД - цилиндр высокого давления.

ЦНД - цилиндр низкого давления.

ЭВМ - электронно-вычислительная машина.

2. Введение

Автоматизированная система управления (сокращённо АСУ) - комплекс аппаратных и программных средств, предназначенный для управления различными процессами в рамках технологического процесса, производства, предприятия. АСУ применяются в различных отраслях промышленности, энергетике, транспорте и т. п. Термин "автоматизированная", в отличие от термина "автоматическая" подчёркивает сохранение за человеком-оператором некоторых функций, либо наиболее общего, целеполагающего характера, либо не поддающихся автоматизации. АСУ с Системой поддержки принятия решений (СППР), являются основным инструментом повышения обоснованности управленческих решений.

Создателем первых АСУ в СССР является доктор экономических наук, профессор, член-корреспондент Национальной академии наук Белоруссии, основоположник научной школы стратегического планирования Николай Иванович Ведута (1913-1998). В 1962-1967 гг. в должности директора Центрального научно-исследовательского института технического управления (ЦНИИТУ), являясь также членом коллегии Министерства приборостроения СССР, он руководил внедрением первых в стране автоматизированных систем управления производством на машиностроительных предприятиях. Активно боролся против идеологических PR-акций по внедрению дорогостоящих ЭВМ, вместо создания настоящих АСУ для повышения эффективности управления производством.

Важнейшая задача АСУ - повышение эффективности управления объектом на основе роста производительности труда и совершенствования методов планирования процесса управления. Различают автоматизированные системы управления объектами (технологическими процессами - АСУТП, предприятием - АСУП, отраслью - ОАСУ) и функциональные автоматизированные системы, например, проектирование плановых расчётов, материально-технического снабжения и т.д.

Цели автоматизации управления. В общем случае, систему управления можно рассматривать в виде совокупности взаимосвязанных управленческих процессов и объектов. Обобщенной целью автоматизации управления является повышение эффективности использования потенциальных возможностей объекта управления. Таким образом, можно выделить ряд целей:

Предоставление лицу, принимающему решение (ЛПР) релевантных данных для принятия решений

Ускорение выполнения отдельных операций по сбору и обработке данных

Снижение количества решений, которые должно принимать ЛПР

Повышение уровня контроля и исполнительской дисциплины

Повышение оперативности управления

Снижение затрат ЛПР на выполнение вспомогательных процессов

Повышение степени обоснованности принимаемых решений

Жизненный цикл АС. Стандарт ГОСТ 34.601-90 предусматривает следующие стадии и этапы создания автоматизированной системы:

. Формирование требований к АС

Обследование объекта и обоснование необходимости создания АС

Формирование требований пользователя к АС

Оформление отчета о выполнении работ и заявки на разработку АС

. Разработка концепции АС

Изучение объекта

Проведение необходимых научно-исследовательских работ

Разработка вариантов концепции АС и выбор варианта концепции АС, удовлетворяющего требованиям пользователей

Оформление отчета о проделанной работе

. Техническое задание

Разработка и утверждение технического задания на создание АС

. Эскизный проект

Разработка предварительных проектных решений по системе и ее частям

Разработка документации на АС и ее части

. Технический проект

Разработка проектных решений по системе и ее частям

Разработка документации на АС и ее части

Разработка и оформление документации на поставку комплектующих изделий

Разработка заданий на проектирование в смежных частях проекта

. Рабочая документация

Разработка рабочей документации на АС и ее части

Разработка и адаптация программ

. Ввод в действие

Подготовка объекта автоматизации

Подготовка персонала

Комплектация АС поставляемыми изделиями (программными и техническими средствами, программно-техническими комплексами, информационными изделиями)

Строительно-монтажные работы

Пусконаладочные работы

Проведение опытной эксплуатации

Проведение приемочных испытаний

. Сопровождение АС.

Выполнение работ в соответствии с гарантийными обязательствами

Послегарантийное обслуживание

Эскизный, технический проекты и рабочая документация - это последовательное построение все более точных проектных решений. Допускается исключать стадию «Эскизный проект» и отдельные этапы работ на всех стадиях, объединять стадии «Технический проект» и «Рабочая документация» в «Технорабочий проект», параллельно выполнять различные этапы и работы, включать дополнительные.

Данный стандарт не вполне подходит для проведения разработок в настоящее время: многие процессы отражены недостаточно, а некоторые положения устарели.

Состав АСУ.

В состав АСУ входят следующие виды обеспечений: информационное, программное, техническое, организационное, метрологическое, правовое и лингвистическое.

Основные классификационные признаки. Основными классификационными признаками, определяющими вид АСУ, являются:

сфера функционирования объекта управления (промышленность, строительство, транспорт, сельское хозяйство, непромышленная сфера и т.д.)

вид управляемого процесса (технологический, организационный, экономический и т.д.);

уровень в системе государственного управления, включения управление народным хозяйством в соответствии с действующими схемами управления отраслями (для промышленности: отрасль (министерство), всесоюзное объединение, всесоюзное промышленное объединение, научно-производственное объединение, предприятие (организация), производство, цех, участок, технологический агрегат).

Функции АСУ. Функции АСУ устанавливают в техническом задании на создание конкретной АСУ на основе анализа целей управления, заданных ресурсов для их достижения, ожидаемого эффекта от автоматизации и в соответствии со стандартами, распространяющимися на данный вид АСУ. Каждая функция АСУ реализуется совокупностью комплексов задач, отдельных задач и операций. Функции АСУ в общем случае включают в себя следующие элементы (действия):

планирование и (или) прогнозирование;

учет, контроль, анализ;

координацию и (или) регулирование.

Необходимый состав элементов выбирают в зависимости от вида конкретной АСУ. Функции АСУ можно объединять в подсистемы по функциональному и другим признакам.

Функции при формировании управляющих воздействий:

Функции обработки информации (вычислительные функции) - осуществляют учет, контроль, хранение, поиск, отображение, тиражирование, преобразование формы информации;

Функции обмена (передачи) информации - связаны с доведением выработанных управляющих воздействий до ОУ и обменом информацией с ЛПР;

Группа функций принятия решения (преобразование содержания информации) - создание новой информации в ходе анализа, прогнозирования или оперативного управления объектом.

Классы структур АСУ. В сфере промышленного производства с позиций управления можно выделить следующие основные классы структур систем управления: децентрализованную, централизованную, централизованную рассредоточенную и иерархическую.

Децентрализованная структура. Построение системы с такой структурой эффективно при автоматизации технологически независимых объектов управления по материальным, энергетическим, информационным и другим ресурсам. Такая система представляет собой совокупность нескольких независимых систем со своей информационной и алгоритмической базой.

Для выработки управляющего воздействия на каждый объект управления необходима информация о состоянии только этого объекта.

Централизованная структура. Централизованная структура осуществляет реализацию всех процессов управления объектами в едином органе управления, который осуществляет сбор и обработку информации об управляемых объектах и на основе их анализа в соответствии с критериями системы вырабатывает управляющие сигналы. Появление этого класса структур связано с увеличением числа контролируемых, регулируемых и управляемых параметров и, как правило, с территориальной рассредоточенностью объекта управления.

Достоинствами централизованной структуры являются достаточно простая реализация процессов информационного взаимодействия; принципиальная возможность оптимального управления системой в целом; достаточно легкая коррекция оперативно изменяемых входных параметров; возможность достижения максимальной эксплуатационной эффективности при минимальной избы­точности технических средств управления.

Недостатки централизованной структуры следующие: необходимость высокой надежности и производительности технических средств управления для достижения приемлемого качества управления; высокая суммарная протяженность каналов связи при наличии территориальной рассредоточенности объектов управления.

Централизованная рассредоточенная структура.

Основная особенность данной структуры - сохранение принципа централизованного управления, т.е. выработка управляющих воздействий на каждый объект управления на основе информации о состояниях всей совокупности объектов управления. Некоторые функциональные устройства системы управления являются общими для всех каналов системы и с помощью коммутаторов подключаются к индивидуальным устройствам канала, образуя замкнутый контур управления.

Алгоритм управления в этом случае состоит из совокупности взаимосвязанных алгоритмов управления объектами, которые реализуются совокупностью взаимно связанных органов управления. В процессе функционирования каждый управляющий орган производит прием и обработку соответствующей информации, а также выдачу управляющих сигналов на подчиненные объекты. Для реализации функций управления каждый локальный орган по мере необходимости вступает в процесс информационного взаимодействия с другими органами управления. Достоинства такой структуры: снижение требований, к производительности и надежности каждого центра обработки и управления без ущерба для качества управления; снижение суммарной протяженности каналов связи.

Недостатки системы в следующем: усложнение информационных процессов в системе управления из-за необходимости обмена данными между центрами обработки и управления, а также корректировка хранимой информации; избыточность технических средств, предназначенных для обработки информации; сложность синхронизации процессов обмена информацией.

Иерархическая структура. С ростом числа задач управления в сложных системах значительно увеличивается объем переработанной информации и повышается сложность алгоритмов управления. В результате осуществлять управление централизованно невозможно, так как имеет место несоответствие между сложностью управляемого объекта и способностью любого управляющего органа получать и перерабатывать информацию.

Кроме того, в таких системах можно выделить, следующие, группы задач, каждая из которых характеризуется соответствующими требованиями по времени реакции на события, происходящие в управляемом процессе:

задачи сбора данных с объекта управления и прямого цифрового управления (время реакции , секунды, доли секунды);

задачи экстремального управления, связанные с расчётами желаемых параметров управляемого процесса и требуемых значений уставок регуляторов, с логиче­скими задачами пуска и остановки агрегатов и др. (время реак­ции - секунды, минуты);

задачи оптимизации и адаптивного управления процессами, технико-экономические задачи (время реакции - несколько секунд);

информационные задачи для административного управления, задачи диспетчеризации и координации в масштабах цеха, предприятия, задачи планирования и др. (время реакции - часы).

Очевидно, что иерархия задач управления приводит к необходимости создания иерархической системы средств управления. Такое разделение, позволяя справиться с информационными трудностями для каждого местного органа управления, порождает необходимость согласования принимаемых этими органами решений, т. е. создания над ними нового управляющего органа. На каждом уровне должно быть обеспечено максимальное соответствие характеристик технических средств заданному классу задач.

Кроме того, многие производственные системы имеют собственную иерархию, возникающую под влиянием объективных тенденций научно-технического прогресса, концентрации и специализации производства, способствующих повышению эффективности общественного производства. Чаще всего иерархическая структура объекта управления не совпадает с иерархией системы управления. Следовательно, по мере роста сложности систем выстраивается иерархическая пирамида управления. Управляемые процессы в сложном объекте управления требуют своевременного формирования правильных решений, которые приводили бы к поставленным целям, принимались бы своевременно, были бы взаимно согласованы. Каждое такое решение требует постановки соответствующей задачи управления. Их совокупность образует иерархию задач управления, которая в ряде случаев значительно сложнее иерархии объекта управления.

Виды АСУ:

Автоматизированная система управления технологическим процессом или АСУ ТП - решает задачи оперативного управления и контроля техническими объектами в промышленности, энергетике, на транспорте

Автоматизированная система управления производством (АСУ П) - решает задачи организации производства, включая основные производственные процессы, входящую и исходящую логистику. Осуществляет краткосрочное планирование выпуска с учётом производственных мощностей, анализ качества продукции, моделирование производственного процесса. Для решения этих задач применяются MIS и MES-системы, а также LIMS-системы.

Примеры:

Автоматизированная система управления уличным освещением («АСУ УО») - предназначена для организации автоматизации централизованного управления уличным освещением.

Автоматизированная система управления наружного освещения («АСУНО») - предназначена для организации автоматизации централизованного управления наружным освещением.

Автоматизированная система управления дорожным движением или АСУ ДД - предназначена для управления транспортных средств и пешеходных потоков на дорожной сети города или автомагистрали

Автоматизированная система управления предприятием или АСУП - Для решения этих задач применяются MRP,MRP II и ERP-системы. В случае, если предприятием является учебное заведение, применяются системы управления обучением.

3. Предприятие - как объект автоматизации

Тема промышленных приложений волнует многих. В условиях жесткой конкуренции, динамичного рынка даже самые консервативные и/или небогатые предприятия не могут позволить себе отказаться от столь мощного средства эволюции, как автоматизация. Выгода от использования современных информационных компьютерных технологий в промышленности столь велика, что об этом можно написать несколько томов с рисунками, диаграммами и примерами из жизни. Эпоха агитации за автоматизацию давно прошла. И теперь возник больной вопрос: "Как?" Чтобы грамотно на него ответить, надо сначала проанализировать, что и в каком состоянии есть в наличии.

Приступим к "инвентаризации". Вспомним, что и как делалось на предприятиях в последние годы (рис. 1). Итак, были реализованы отдельные задачи, в основном на больших ЭВМ серии ЕС клонах мэйнфреймов IBM и отечественных аналогах мини- и микрокомпьютеров СМ ЭВМ, "Электроника-60", ДВК. (Не будем вспоминать ужас вычислительных центров "Наири".) Век рапортов: режимные листы оператора, ТЭПы, ведомости на зарплату, учет товаров на складах. (Режимные листы оператора статистические характеристики технологического процесса, ТЭП технико-экономические показатели.)

рис. 1. Автоматизированное предприятие: как это было

Теоретические попытки классифицировать решаемые задачи привели к разделению их на две группы:

технологические производственные;

экономические, административные и логистические.

Первая относится строго к производственной деятельности предприятия, вторая к административно-хозяйственной. Сотрудники вычислительных центров постановщики задач и программисты решали задачи обеих групп, ориентируясь, естественно, на те технические и программные средства, которые были доступны в текущий момент на данном предприятии. Если новая задача требовала модернизации существующих систем, происходила частичная замена устаревшего оборудования и/или программного обеспечения. Связь между двумя группами задач была "человеко-бумажной", т. е. данные между ними курсировали на бумажных носителях через персонал предприятия.

Системы SCADA/DCS. В сегодняшней интерпретации "нижнюю" группу задач в иерархии управления производством относят к системам типа SCADA (Supervisory Control and Data Acquisition) или DCS (Distributed Control Systems). Оба указанных типа систем принадлежат классу MMI (Man-Machine Interface), что означает "человеко-машинный интерфейс" в смысле обеспечения двусторонней связи "оператор технологическое оборудование". Системы MMI все чаще называют HMI (Human-Machine Interface). Это не меняет существа дела, но снимает легкую дискриминацию по отношению к женскому полу (Man по-английски и человек и мужчина).

Вечные проблемы с переводом! Если делать его дословно, то технический термин часто превращается в абракадабру. Если "олитературить" перевод подбором близких терминов, то скоро станет непонятно, с чем мы, собственно, имеем дело. Если оставлять английские термины, то забываешь, на каком языке написан текст. Особенно вредны аббревиатуры, имеющие одинаковое написание, но разный смысл. Его, конечно, можно "выудить" из контекста, но уж больно противно вместо разбора сути дела решать шарады и ребусы. Уважаемые любители аббревиатур! Вы даже не представляете, как раздражает читателя их обилие! Но как же быть? Предлагаю отчасти волюнтаристский подход: руководствоваться общепринятыми нормами там, где они определены, и собственным (где взять другой?) здравым смыслом там, где их нет.

Но вернемся к управлению производством. Чтобы покончить наконец с аббревиатурой MMI, раскрою ее смысл так, как его понимаю я: технический персонал может наблюдать за ходом технологического процесса и оказывать влияние на него. То есть MMI это средство отображения и представления технологической информации.

Теперь относительно SCADA и DCS. Я сомневаюсь, что эти два наименования обозначают одно и то же. К сожалению, встречающиеся в литературе идентификации систем меня не удовлетворяют. После тщательного рассмотрения доводы авторов рассыпаются, как карточные домики, и оказывается, что никакой разницы между системами нет. Единственное, в чем я уверена, так это в том, что одни фирмы представляют свои продукты как системы SCADA, а другие как DCS. Ниже приведена встречающаяся в специализированной литературе классификация этих систем в зависимости от фирмы-производителя.

Табл. 1. Классификация систем АСУТП

Основываясь на некотором знании систем из обеих колонок таблицы, я думаю, что к классу DCS можно отнести однородные системы, распределенные не только территориально, но и композиционно в том смысле, что они состоят из равноправных разнофункциональных узлов (рис. 2б). Это могут быть подсистемы контроллеров, узел ведения архива, операторские станции, узел связи с другими системами, инженерные станции. Системы же типа SCADA (рис. 2а) тяготеют к серверной архитектуре. Выделенный узел осуществляет сбор информации от контроллеров, ее обработку и передачу им управляющих значений. Этот же узел может быть рабочим местом оператора или сервером отдельной операторской станции. Кто за, кто против такого деления? Предлагаю вынести этот вопрос на обсуждение.

Рис. 2. Обобщенные структуры систем типа SCADA (а) и DCS (б)

Итак, первая группа задач управления промышленным предприятием то, что в СССР именовалось АСУТП (Автоматизированные системы управления технологическими процессами).

Я совсем забыла упомянуть о группе задач программирования логических контроллеров PLC (Programmable Logic Controller). Эти задачи, естественно, относятся к сфере АСУТП и реализуются чаще всего с использованием методики Ladder Logic, которая представляет собой специализированный язык, близкий по типу к мнемонике электрических схем.

4. ИАСУ - решение проблемы комплексной автоматизации

В настоящее время для предприятий ставится задача повышения эффективности производства и повышения качества продукции, а также обеспечение нового качества управления за счёт единого информационного пространства. Достичь этого можно, обладая полной достоверной информацией обо всех объектах производства. Это можно осуществить путём интеграции отдельных подсистем всего предприятия.

) повышение производительности возможно на основе объективной картины всего технологического процесса;

) существующие барьеры между управленческим и технологическим уровнями не дают возможность провести анализ деятельности предприятия в целом;

) современный рынок систем автоматизации позволяет осуществить комплексную интеграцию, т.е. создать интегрированную АСУ (ИАСУ). ИАСУ - человеко-машинная многоуровневая иерархическая территориально и функционально распределённая совокупность взаимосвязанных систем управления, объединённых в единую систему локальными и внешними связями для достижения единой цели.

Управление технологическими процессами и управление финансово- хозяйственной деятельностью (бизнес-процессы) должны строиться в рамках единой системы на основе единого информационного пространства. Только такая единая система позволяет поддерживать интегрированную модель промышленного предприятия и на основе этой модели строить управление в соответствии с главным критерием - рентабельностью производства.

Единое информационное пространство подразумевает оперативный доступ (при наличии, разумеется, соответствующих прав доступа) с любого рабочего места ко всем видам данных, возникающих и накапливаемых в системе. Информация, порождаемая в любой точке предприятия, тут же становится доступной всем заинтересованным службам и отделам. Например, сведения по состоянию технологических установок, их загрузке, параметрам и объему исходной и конечной продукции, поступающие непосредственно с контрольно-измерительной аппаратуры, могут быть сразу же обработаны как на уровне диспетчера цеха, так и экономической или производственно-технической службами завода. Приказы и распоряжения руководства предприятия, решения и выводы специалистов доставляются средствами электронной почты до всех адресатов (с подтверждением приема). Становится возможной групповая работа специалистов одного или нескольких отделов над общими проектами или документами на их рабочих местах.

ИАСУ на современном этапе характеризует:

) функциональная полнота, обеспечивающая автоматизацию всех видов деятельности - от технической подготовки производства до реализации готовой продукции;

) открытость и адаптивность в отношении изменения состава функций и приспособленность к изменениям параметров объекта;

) применение большого числа вариантов алгоритмов и методов управления;

) представление в распоряжение пользователя персональных средств;

) высокая скорость реакции на запросы, очень малые задержки в обработке данных;

) возможность общения пользователя с системой в активном режиме;

) использование средств искусственного интеллекта и экспертных систем для консультирования персонала в случае принятия управленческих решений;

) применение средств регулярного обучения пользователей;

) децентрализация выполняемых функций по функциональному, организационному и территориальному признакам;

) широкое применение средств управления распределенными данными и процессами обработки данных;

) использование сетевых методов организации коммуникации разнородной вычислительной техники, обрабатывающего оборудования и промышленных контроллеров на базе стандартных процедур взаимодействия ЭВМ в сетях (сетевых протоколах).

ИАСУ будущего имеет многоуровневый многомашинный иерархический комплекс средств автоматизации.

Сложность и комплексный подход в проектировании и эксплуатации ИАСУ требует разработки новых методик расчета экономической эффективности, которые позволят устранить имеющиеся противоречия между организациями-разработчиками и пользователями.

5. Стадии разработки ИАСУ

автоматизация управление параметр система

Проектирование ИАСУ включает несколько стадий:

·              предпроектную стадию,

·              технический проект,

·              рабочий (технорабочий) проект,

·              ввод ИАСУ в действие.

Предпроектная стадия. Основным назначением предпроектной стадии является определение требований, которым должна удовлетворять создаваемая ИАСУ. Предпроектные работы выполняются заказчиком, который отвечает за обоснованность предъявляемых требований к создаваемой ИАСУ. К выполнению предпроектных работ, при необходимости может привлекаться организация - предполагаемый исполнитель проекта ИАСУ.

В результате проведения предпроектных работ должны быть установлены:

·              концептуальная модель системы (глобальная цель ИАСУ и пути достижения поставленной цели, т.е. основные задачи, которые необходимо решать для оптимизации глобального критерия эффективности системы);

·              предполагаемые технико-экономические показатели предприятия и остальных объектов автоматизации в условиях функционирования ИАСУ;

·              технические требования к ИАСУ и всем ее компонентам, достаточные для разработки технических заданий на их создание (модернизацию);

·              техническое задание на ИАСУ и ее компоненты.

При разработке аванпроекта ИАСУ выполняются:
- выбор и обоснование средств и методов интегрированного управления организационными и технологическими процессами;

·              разработка генеральной схемы ИАСУ;

·              разработка укрупненной схемы и структуры комплекса технических и программных средств.

В ТЗ на создание ИАСУ должны быть определены:

·              назначение создаваемой ИАСУ;

·              состав функций ИАСУ, их краткие характеристики;

·              состав АС, входящих в ИАСУ, их характеристики;

·              требования к общесистемным решениям, обеспечивающим интегрированное управление предприятием;

·              перечень и основные характеристики комплексов задач (функций), реализуемых в ИАСУ, распределение их по АС, входящим в ИАСУ;

·              требования по адаптации и оптимизации автоматизированных функций управления;

·              график выполнения работ участниками разработки с распределением работ по стадиям и этапам;

·              ожидаемая экономическая эффективность разработки.
Технический проект. Технический проект ИАСУ разрабатывается на основании технического задания на создание ИАСУ и частных технических заданий на разработку компонентов ИАСУ. Технический проект ИАСУ должен содержать:

·              общесистемные проектные решения,

·              проектные решения по компонентам ИАСУ,

·              проектные решения по общесистемным средствам обеспечения совместимости и взаимодействия компонентов ИАСУ.

Все проектные решения должны содержать необходимые расчеты и обоснования, определяющие технико-экономические показатели создания ИАСУ и обеспечивающие возможность разработки рабочей документации ИАСУ.

На стадии ТП можно выделить следующие этапы работ:

1.      разработка общесистемной документации и функциональной части проекта ИАСУ,

2.      разработка математического обеспечения (МО ) ИАСУ,

.        разработка информационного обеспечения ИАСУ,

.        разработка технического обеспечения ИАСУ.

На этапе разработки общесистемной документации и документации функциональной части проекта выполняются следующие работы:

·              выбор и обоснование проектных решений по ИАСУ в целом,

·              выполнение технико-экономических расчетов,

·              разработка модели постановок функциональных задач управления, а также задач, обеспечивающих взаимодействие АС, входящих в состав ИАСУ,

·              синтез функциональной структуры ИАСУ.

На этапе разработки МО выполняются следующие работы:
 На этапе разработки ИО выполняются следующие работы:

·              выбор необходимых систем классификации и кодирования,

·              выбор типа банка данных,

·              разработка структуры базы данных;

·              разработка процедур сбора и передачи данных,

·              разработка форм документов (видеограмм),

·              составление и оформление технической документации. На этапе разработки ТО выполняются:

·              выбор и обоснование структуры КТС ИАСУ,

·              разработка планировок размещения ТС на объекте,

·              оценка надежности КТС,

·              составление и оформление технической документации.

Рабочий (технорабочий) проект Стадия РП включает следующие этапы:

·              разработка рабочей документации по КТС ИАСУ.

6. Применение ПТК для создания АСУ ТП

Применение современных программно-аппаратных цифровых комплексов для построения систем управления технологическими процессами позволяет повысить качество управления, снизить риск аварий, создать более экономичные режимы эксплуатации создаваемых систем и снизить их стоимость. Однако это не снимает с повестки дня одну из основных проблем автоматизированного управления - проблему обеспечения надежности систем. Особенно остро проблема надежности стоит для автоматизированных систем управления технологическими процессами, так как их неверное функционирование зачастую приводит к тяжелым социальным, экологическим и экономическим последствиям.

Согласно ГОСТ, под надежностью автоматизированной системы управления понимается свойство системы сохранять во времени в установленных пределах значения всех параметров, характеризующих способность системы выполнять требуемые функции в заданных режимах и условиях эксплуатации.

Надежность АСУ включает свойства безотказности, ремонтопригодности, а в некоторых случаях, и долговечности.

Известно, что надежность любого изделия закладывается на стадии проектирования. При создании программно-аппаратных комплексов - компонентов будущих систем управления необходимо придерживаться некоторых базовых принципов, следование которым позволит обеспечить высокие показатели надежности «по построению». Речь идет не о том, чтобы подменить традиционно используемые методы повышения надежности, такие как использование надежных элементов, резервирование, непрерывный контроль и диагностика и т.д. Напротив, следование предлагаемым принципам наряду с применением традиционных методов и средств, позволяет получить максимальный эффект от их использования.

По мнению авторов статьи, важнейшим базовым принципом «надежного проектирования» является принцип открытости. При создании комплексов и систем автоматизации он реализуется в двух аспектах:

применение международных открытых стандартов и спецификаций;

использование программных средств с открытыми исходными кодами.

Применение открытых стандартов и спецификаций. Одним из методов повышения надежности является стандартизация и унификация. Напомним, что по определению ISO стандарт - это технический стандарт или другой документ, доступный и опубликованный, коллективно разработанный или согласованный и общепринятый в интересах тех, кто им пользуется, основанный на интеграции результатов науки, технологии, опыта, способствующий повышению общественного блага и принятый организациями, признанными на национальном, региональном и международном уровнях. В свою очередь, открытая спецификация - это «общедоступная спецификация, которая поддерживается открытым, гласным согласительным процессом, направленным на постоянную адаптацию новой технологии»[2]. Открытая спецификация доступна любой заинтересованной стороне и находится под контролем общественного мнения.

Открытые спецификации принято называть промышленными стандартами или стандартами «defacto». С точки зрения надежности, применение открытых стандартов и спецификаций при проектировании дает следующие преимущества:

• применение отработанных и апробированных на мировом уровне повторно-используемых технических решений;

• отсутствие зависимости от конкретного производителя, возможность интеграции в систему компонентов различных отечественных и зарубежных фирм совместно с изделиями собственной разработки;

• возможность «безболезненного» расширения состава компонентов и функций системы с максимально возможным сохранением имеющегося программного и аппаратного задела;

• доступность развитых средств проектирования.

Таким образом, следование открытым стандартам и спецификациям позволяет разработчику системы выйти на новый уровень разделения труда, на котором в качестве его соисполнителей прямо или косвенно задействованы мировые лидеры в области средств автоматизации.

7. Анализ и выбор современных средств управления и обработки информации. Разработка функциональной схемы системы управления за параметрами. Вариант №7. Управления расходом воды на выходе из регенеративных подогревателей

Регенеративным подогревом питательной воды паровых котлов электростанции называют подогрев ее паром, проработавшим в турбине. На КЭС для этого используют пар из отборов турбин, специально выполненных для регенеративного подогрева конденсата и питательной воды. Тепло отбираемого пара используется в начале в турбине, где он совершает работу, а затем передается воде, с которой возвращается в парогенератор («горячий источник»). Таким образом, тепло отработавшего паpa регенеративных отборов турбины не теряется в конденсаторе турбины с охлаждающей водой, а сохраняется на электростанции; передаваясь конденсату или питательной воде, как бы восстанавливается, регенерируется.

Тепловая экономичность и энергетическая эффективность регенеративного подогрева воды (регенеративного процесса) определяется, следовательно, уменьшением потери тепла в конденсаторе турбины вследствие отбора части пара для указанного подогрева. Следовательно, к. п. д. паротурбинной электростанции благодаря регенерации возрастает.

Существенным при этом является производство электрической энергии в результате работы пара регенеративных отборов в турбине.

Подогреть питательную воду (до возможной наивысшей температуры) можно и свежим паром, отводимым, например, из линии между паровым котлом и турбиной. Однако такой подогрев без совершения работы в турбине греющим паром не уменьшает пропуска пара в конденсатор турбины заданной мощности, не снижает потери тепла в холодном источнике и, следовательно, не является регенеративным, не может повысить к. п. д. процесса производства электроэнергии на электростанции

Производство электроэнергии на электростанции с регенеративным подогревом питательной воды происходит в результате усложнения простейшего цикла Ренкина, на основе так называемого регенеративного цикла. В теоретическом регенеративном цикле весь пар, поступающий в турбину, поочередно проходит через ступени турбины и подогреватели конденсата (питательной воды). Пропуск пара в конденсатор не сокращается. Однако конечная энтальпия пара и, следовательно, потеря отработавшего тепла в конденсаторе уменьшаются.

Если, в частности, свежий пар перед турбиной сухой насыщенный, а число ступеней работы и соответственно подогрева конденсата в пределе бесконечно велико (работа ступени и подогрев бесконечно малые), то получим известный из термодинамики «обобщенный» цикл Карно, состоящий из двух изотерм (подвода и отвода тепла) и двух условных политроп (последовательной работы и охлаждения пара и сжатия подогрева воды). Такой цикл характеризуется уменьшением потери тепла в холодном источнике (по сравнению с циклом Ренкина) и расхода тепла горячего источника на образование пара вследствие регенеративного подогрева воды до температуры насыщения свежего пара.

Таким образом, при предельном теоретическом регенеративном подогреве воды происходит «карнотизация» простейшего цикла Ренкина насыщенного пара.

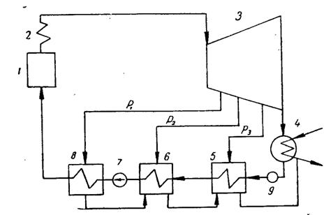
Теоретическая схема регенеративного подогрева воды не осуществлена из-за конструктивных трудностей и большой влажности охлажденного пара в последних ступенях турбины. В действительности регенеративный процесс осуществляется паром, отбираемым между ступенями турбины, в простейшем случае паром из одного отбора турбины (рисунок 3).

Рисунок 3 - Схема паротурбинной установки с регенеративным подогревом питательной воды. 1 - паровой котел; 2 - пароперегреватель; 3 - турбина; 4 - конденсатор; 5 - подогреватель низкого давления; 6 - подогреватель среднего давления; 7 - питательный насос; 8 - подогреватель высокого давления; 9 - конденсаторный насос.

Рисунок 4 - Функциональная схема объекта управления расхода воды на выходе из регенеративных подогревателей

На функциональной схеме (рис.3.) ОУ 4 объект управления - поступающая вода. ВО - воспринимающий орган - датчик температуры воды на входе, настроенный на расчетное значение температуры наружной воды, СО - сравнивающий орган - адаптер, преобразующий значение температуры воды в токовый сигнал. УО - усилительный орган - преобразователь частоты с коммутатором, БП - блок питания, ИО - исполнительный орган-электродвигатель.

Произведем выбор датчика температуры воды.

Датчик №1:

3260, Danfoss с несменным чувствительным элементом.

Датчик температуры, предназначенный для облегченных условий эксплуатации, который можно использовать для измерения и регулирования в трубопроводных и вентиляционных системах, а также в других областях промышленности, где отсутствует агрессивное воздействие на средства измерения.

Благодаря тому, что защитная трубка изготовлена из меди, датчик MBT 3260 отличается малой инерционностью (постоянная времени для воды до t0,5 = 2 сек.). В этом датчике используется стандартизованный термометр сопротивления Pt100 или Pt1000, обеспечивающий надежное и точное измерение.

Его преимущества:

· Диапазон температур от -50 до 120 °С

· Медная защитная гильза

· Малая постоянная времени

· Позолоченные электрические контакты

· Незаменяемый чувствительный элемент

· Различные длины погружной части: 50, 100 или 250 мм

Датчик №2.

 DS18B20 со встроенным преобразователем.

Dallas DS18B20 предназначен для использованияв тех случаях, когда требуется надежное, прочное и точное оборудование в средах, оказывающих жесткое воздействие. Предлагаются версии с разнообразными технологическими и электрическими соединениями. Возможна поставка с надставкой длиной 33 мм, позволяющей измерять температуру до 200 °С без повреждения встроенной электроники.

Преимущества:

· Сверхкомпактная конструкция

· Кожух из кислотоупорной нержавеющей стали (AISI 316L)

· Диапазон температур от -50 °C до +200°C

· Термометр сопротивления Pt 1000

· Выходные сигналы: 4 - 20 мА или логометрические

· Защитная трубка: диам. 8 мм

· Различная длина вставки: 50, 100, 150, 200 или 250 мм.

Выбираем датчик №2, так как у него диапазон температур шире чем у датчика №1.

Теперь произведем выбор адаптера, преобразующего значение температуры воды в токовый сигнал.

Адаптер №1: ЛИН-RS485/232


Выполнен в пластмассовом корпусе . Оснащен дополнительными клеммами для транзитного подключения к линии СИ СЕНС. Принцип работы: Адаптер осуществляет двухстороннее преобразование сигналов линии СИ СЕНС в сигналы интерфейсов RS-232 и RS-485. По протоколу СЕНС осуществляется настройка устройств СИ СЕНС и обмен данными; по протоколу ModBus-RTU - обмен данными (адаптер является ведомым (slave) в сети ModBus). Схема соединений по RS-485 - 2-х или 4-х проводная.

Технические параметры:

Скорость обмена: 19200 или 9600 бит/с.

Длина линии связи RS-485: до 1200 м.

Длина линии СИСЕНС:до1500м.

Напряжение питания: 6..13 В (от линии СИ СЕНС).

Потребляемый ток: 30 мА.

Гальваническая изоляция цепей линии СИ СЕНС и порта RS-485/232: не менее 500 В.

Температура окружающей среды: (-20 ... +70)°С (без конденсации влаги).

Степень защиты от внешних воздействий: IP20.

Габаритные размеры, мм: 85х67х17,5.

Средний срок службы - не менее 10 лет.


Назначение: Предназначен для подключения СИ СЕНС к компьютеру по интерфейсу USB для обмена данными и настройки устройств СИ СЕНС.

Устройство: Выполнен в пластмассовом корпусе.

Оснащен дополнительными клеммами для транзитного подключения к линии СИ СЕНС.

Принцип работы: Адаптер осуществляет двухстороннее преобразование сигналов линии СИ СЕНС в сигналы интерфейса USB по протоколу СЕНС.

Технические параметры:

Скорость обмена: 19200 бит/с.

Тип последовательного порта: USB c эмуляцией COM-порта.

Длина линии СИ СЕНС: до 1500 м.

Напряжение питания: + 6..13 В (от линии СИ СЕНС) и + 5 В от порта USB.

Потребляемый ток: 5 мА (от линии); 10 мА (от USB);

Гальваническая изоляция цепей линии СЕНС и порта USB: не менее 500 В.

Температура окружающей среды: (+5 ... +60) °С.

Степень защиты от внешних воздействий: IP54.

Габаритные размеры, мм: 94х94х57.

Средний срок службы - не менее 10 лет.

Сравниваем технические характеристики, и выбираем Адаптер №2, так как потребляемый ток у этого адаптера значительно ниже, чем у первого.

8. Заключение

В работе проведен анализ существующих АСУ, рассмотрена их структура. Представлена система автоматизации на предприятии. Рассмотрена интегрированная автоматическая система управления. Найдено решение проблемы комплексной автоматизации. Разобраны стадии разработки ИАСУ. Рассмотрен вопрос применения программно технических комплексов для создания АСУ ТП.

Представлена структура управления расходом воды на выходе из регенеративных подогревателей. Изображена схема управления паротурбинной установки с регенеративным подогревом питательной воды.

Рассмотренная схема является открытой, имеет проекцию в будущее и перспективы развития.

9. Список используемой литературы

1.   Новые радиохимические технологии переработки ОЯТ / Волк В.И., Ватулин А.В., Вахрушин А.Ю., Полуэктов П.П. // Сборник докладов Выездного заседания секций № 2 и № 3 Научно-технического совета № 4 Федерального агентства по атомной энергии, Екатеринбург, 7-9 дек., 2004. - Екатеринбург, 2005. - С. 352-359.

2.      Википедия - справочная система [Электронный ресурс]. - Режим доступа: <http://ru.wikipedia.org/>, свободный.

.        Технические характеристики двухканального дозирующего устройства / Гатчина: Конструкторское бюро, 2009. - 10 с.

.        Технические характеристики пневматического дозатора / М: Конструкторское бюро, 2008. - 10 с.

5.   Половко А.М., Бутусов П.Н. MATLAB для студента. - СПб.: БХВ-Петербург, 2005. - 320 с.

6.      Спецификация электронного оборудования [Электронный ресурс]. - Режим доступа: www.chip&dip.ru <http://www.chip&dip.ru>, свободный.

.        Научно-производственная фирма Электропривод [Электронный ресурс]. - Режим доступа: www.elektroprivod.ru <http://www.elektroprivod.ru>, свободный.

.        Технические характеристики контроллера универсального «PIC 8616» - Железногорск: Издательство ГХК, 2006. - 30 с.

.        СТО ТПУ 2.5.01-2006 работы выпускные квалификационные, проекты и работы курсовые. Структура и правила оформления - Томск: Издательство ТПУ, 2006 - 62 с.

.        Научно - производственный журнал Радиотехника [Электронный ресурс]. - Режим доступа: www.radiotechnika.ru <http://www.radiotechnika.ru>, свободный.

Похожие работы на - Применение интегрированных АСУ для ТЭС

 

Не нашли материал для своей работы?
Поможем написать уникальную работу
Без плагиата!
Без нейросетей!