Монтаж и эксплуатация кабельных линий внутри цехов
Введение
Трудно назвать область
производственной деятельности человека, которая не была бы связанна с
применением электроэнергии. С её помощью приводят в движение станки, выплавляют
металлы, сушат древесину, ведут электросварку, шьют одежду, производят продукты
питания и т. п. Электрическую энергию применяют на железнодорожном и городском
транспорте, в сельском хозяйстве и в быту. Радиосвязь, радиолокация,
телевидение, исследование атомного ядра и освоение космического пространства
немыслимы без ее использования.
Электроэнергетика - ведущая отрасль
социалистической индустрии, в значительной степени определяющая современный
научно-технический прогресс.
Составной и неотъемлемой частью
энергетического потенциала страны является электрификация - глубокое и эффективное
внедрение электрической энергии во все отрасли народного хозяйства.
Современные установки электрического
освещения, в том числе различные виды электропроводки, силовые установки -
электродвигатели, шинопроводы, кабельные линии - сложный комплекс самых
разнообразных электрических устройств. Монтаж их требует от рабочего больших
знаний и профессионального мастерства. Высокий темп, отличное качество, высокая
производительность труда на монтаже осветительных и силовых электроустановок
возможны лишь при условии, что этой работой будет заниматься образованные и
технически хорошо подготовленные рабочие, в совершенстве овладевшие профессией
электромонтера по ремонту и обслуживанию электрооборудования.
Цель курсового проекта «Монтаж и
эксплуатация кабельных линий внутри цехов» изучить способы прокладки и виды
электропроводок, монтаж, обслуживание, и возможность модернизации в будущем.
Для выполнения данной цели
поставлены следующие задачи:
· изучить способы прокладки
кабельных линий, техническую документацию, инструкции.
· рассмотреть организацию монтажа
кабельных линий.
· изложить технологию монтажа,
обслуживания кабельных линий
· ознакомиться правила безопасной
работы на электроустановках.
1. Общая часть
1.1 Внутрицеховые сети. Общие
сведения
Электрическая энергия на
промышленные предприятия передается из энергосистемы по электрической сети.
Электрическая сеть - это набор электрических установок для для передачи и
распределения электрической энергии на заданной географической площади, которая
состоит из подстанций, линий электропередач и распредустройств.
Электрические сети низкого
напряжения на предприятиях служат для распределения электрической энергии к
электроприемникам при напряжении до 1000 В. Они делятся на внешние и внутренние
(цеховые).
На сегодняшний момент подача
электрической энергии к электрическим приемникам как правило происходит по
внутрицеховым электросетям, т.к. основные ТП расположены в цехе завода или
расположены в специальном здании, расположенным около цеха.
Электрические сети напряжением до
1000 В отличаются по типу используемых передающих устройств, а так же методам
изоляции этих проводников, которые в свою очередь делятся на голые
(неизолированные) и изолированные проводники, а так же конструктивному
исполнению. Конструктивное отличие электрических проводников электросети
является разделение на провода, кабели и шины.
Токопроводы, которые относятся к
голым проводникам, на ряду с проводами воздушных линий, изготавливают на
подобие самостоятельных шинопроводов, смонтированных на изоляторах и выглядят
как комплектные шинопроводы. Шинопроводаы делятся по своим техническим
характеристикам на магистральные, распределительные, осветительные, троллейные.
Кабельные линии бывают:
открытыми, такая прокладка
происходит по воздуху, как правило по фасадам зданий и сооружений, по
эстакадам.
скрытыми, такая прокладка кабелей
монтируется в полах, трубах, в земле.
прокладка в кабельных сооружениях
говорит сама за себя, монтаж происходит в кабельных каналах, тоннелях.
Электропроводка - это электрическая
сеть с сечением провода до 16 кв.мм, монтаж электропроводки происходит как
скрытой прокладкой в помещении, так и снаружи здания.
Схемы цеховых электрических сетей
Внутренние электросети бывают:
питающие электросети, которые
подходят к электрическим приемникам от трансформаторных подстанций;
распределительные электрические
сети, отходят от распределительных пунктов к электрическим приемникам.
Схемы электрических сетей бывают:
радиальными, магистральными и смешанными.
а - радиальная схема; б -
магистральная схема; в - смешанная схема
Рисунок 1. - Схемы электрических
сетей
Радиальная схема электросети
показана
на рисунке 1, а. Такие схемы применяются в условиях неравномерного
электроснабжения по территории цеха, а так же не в благоприятных условиях:
пажаро и взрывоопасных, а так же агрессивных средах. Еще одним весомым
преимуществом радиальных схем является высокая надежность электроснабжения и
удобные условия эксплуатации электросети. В аварийной ситуации выключенным оказывается
тот приемник, на электросети которого произошло отключение.
Но при всех достоинствах радиальной
схемы, она является очень дорогой, за счет большого расстояния прокладки
электросети и связанных с этим затрат на монтаж и материалы.
Магистральные схемы электросети
показаны на рисунке 1, б. Они используются при электроснабжении нескольких
электрических приемников одной технологической установки. Технологическое
установки, размещаются равномерно по помещению.
При электроснабжении одиночных
электроприемников применяются два вида магистральных линий: питающая
(магистральный шинопровод) и распределительная (распределительный шинопровод).
Магистральные схемы часто
используются в системе «блок трансформатор-магистраль». Подключение к
трансформатору магистрали производится с помощью шкафа с встроенным
автоматическим выключателем. Магистрали выполняют, как правило, магистральными
шинопроводами. К магистральному шинопроводу подключаются распределительные
шинопровода и отдельные электроприемники.
За счет монтажа электросети
шинопроводами, что придает конструкции гибкость, такие электрические сети
являются менее затратными и трудоемкими, чем радиальные электросети. А такое
свойство, как гибкость электросети позволяют развивать электросеть или
уменьшать количество присоединений. Отрицательным свойством использования
магистральной электросети, является отключение всех электрических приемников
при аварии.
Кольцевые схемы, на сегодняшний
момент применяются очень редко. Их преимуществом являются низкие потери
мощности и напряжения. Недостаток кольцевой электросети является наличие
огромные показатели токов короткого замыкания. Участки электрических сетей в
кольцевую схему собираются с помощью разъединителей.
1.2 Кабельные линии. Назначение.
Общие элементы конструкции
Кабели разделяют на силовые и
контрольные. Кроме того, выпускают кабели специального назначения, например для
горных разработок.
Силовые кабели служат для передачи и
распределения электрической энергии и изготавливаются на напряжение 0,66; 1; 3;
6; 10 кВ и выше. Они могут быть с пропитанной бумажной изоляцией и
герметической оболочкой из свинца или алюминия, с бумажной изоляцией,
пропитанной нестекающим составом, с резиновой изоляцией и пластмассовой
изоляцией в пластмассовой оболочке.
Силовой электрический кабель состоит
из токопроводящих жил 1, изоляции 2 и 4, герметической защитной оболочки 5 и
защитных покровов 6, 7 и 8 (Рисунок 2).
1 - алюминиевая токопроводяшая жила;
2- жильная изоляция; 3 - бумажный заполнитель; 4 - поясная бумажная изоляция;
5- защитная алюминиевая оболочка; 6 защитный покров оболочки (полушка); 7 -
броня из двух стальных лент; 8 - наружный защитный покров
Рисунок 2. - Силовой трехжильный
кабель марки ААБ
Токопроводящне жилы изготавливаются
из мягкой меди марки ММ или алюминия марки AT. Сечения жил могут быть круглыми,
сегментными и секторными. Стандартом предусмотрены следующие размеры сечений
токопроводящих жил силовых кабелей: 1,5; 2,5; 4, 6; 10; 16; 25; 35; 50; 70; 95;
120; 150; 185; 240; 300; 400; 500; 625 и 800 мм2.
Медные и алюминиевые токопроводящне
жилы изготавливают однопроволочными и многопроволочными. Сечения однопроволочных
жил из меди могут был» до 50 мм2, из алюминия - до 240 мм2. В марках кабелей,
имеющих однопроволочные жилы, дополнительно указывают: (ож).
Силовые кабели могут иметь одну,
две, три и четыре жилы. В четырехжильных кабелях все жилы имеют одинаковое сечение
или же одна из жил может иметь меньшее сечение и использоваться как нулевая или
заземляющая.
Для электроснабжения
электроустановок используют трехжильные и четырехжильные кабели: первые - в
трехфазных системах сети с изолированной нейтралью питающего трансформатора,
вторые - в трехфазных системах напряжением 380/220 В с глухозаземленной
нейтралью.
В большинстве случаев питание
осветительных установок осуществляется от трехфазных систем электроснабжения с
глухоза заземленной нейтралью и подводится четырехжильными кабелями. у которых
три жилы одинакового сечения являются токопроводящими, а четвертая жила
значительно меньшего сечения - нулевой.
Изоляцию жил силовых кабелей
выполняют из резины, пластика и наиболее часто из пропитанной кабельной бумаги.
В силовых кабелях на напряжение до
10 кВ изолируют каждую жилу в отдельности (жильная изоляция) и все жилы вместе
относительно оболочки (поясная изоляция). Промежутки между изолированными
жилами заполняют бумажным жгутом (заполнителем).
Для уменьшения неравномерности
электрического поля в качелях, которая обусловлена наличием воздушных
включений, между верхним слоем изоляции и оболочкой накладывают экран и 1 слоя
полупроводящей бумаги.
Бумажную изоляцию кабелей
пропитывают изоляционным со- « миом МП-1 (80% брайтстока и 20% канифоли),
значительно повышающим ее электрическую прочность. Для вертикальных прокладок
используют кабели с обедненно-пропитанной изоляцией или с изоляцией,
пропитанной нестскающим составом. Обедненно-пропитанную изоляцию получают
дополнительно нагревая в вакууме обычно пропитанную изоляцию, в результате чего
удаляйся значительная часть пропиточной массы.
Нестекаюший состав для кабелей
изготавливают из церезина, вязкого минерального масла, канифоли и
полиизобутилена. Церезин, являющийся продуктом переработки нефти и сланцевого
масла, обеспечивает нестекание пропиточного состава.
Толщина бумажной изоляции зависит от
рабочего напряжения кабеля и сечения жил. Так, толщина жильной и поясной
изоляции (и зависимости от сечения жил) кабелей со свинцовой и алюминиевой
оболочками, рассчитанными на напряжение 1 кВ, должна составлять соответственно
0,75...0,95 мм и 0,5...0,6 мм, на напряжение 6 кВ - 2,0 и 0,95 мм, а на
напряжение 10 кВ - 2,75 и 1,25 мм.
В многожильных кабелях для различия
фаз верхние ленты изоляции каждой жилы разного цвета: красного, черного и цвета
изоляционной бумаги.
Для предохранения кабеля от
попадания влаги и воздуха поверх изоляции накладывают герметическую защитную
оболочку, выполняемую из свинца, алюминия, поливинилхлорида или негорючей
резины.
На герметическую оболочку кабеля
накладывают несколько слоев защитного покрова для предохранения ее от коррозии
и механических повреждений. Защитные покровы состоят из подушки, брони и
наружного защитного покрова.
Подушка, предохраняющая оболочку от
повреждений при наложении брони и изгибах кабеля, состоит из нескольких
последовательно наложенных концентрических слоев: битумного состава,
пропитанных лент кабельной бумаги и пропитанной кабельной пряжи. В кабелях с
броней из стальных лент вместо пряжи применяются пропитанные в битумном составе
сульфатные бумажные ленты, которые предохраняют металлическую оболочку от
коррозии. Для зашиты от коррозии алюминиевой оболочки кабеля дополнительно
накладывают нагретые сплошной поливинилхлорил-ный шланг или две
поливинилхпоридные ленты.
На подушку наматывают броню из двух
стальных лент или стальных оцинкованных проволок прямоугольной либо круглой
формы. Стальная броня предохраняет оболочку кабеля от механических повреждений,
а проволочная - и от растягивающих усилий. Стальные ленты накладываются на
кабель так, чтобы одна перекрывала другую на 1/3 их ширины. При изгибах кабеля
верхняя лента не должна иметь зазоров между витками.
На броню накладывают наружный
защитный покров, состоящий из битумного состава, пропитанной кабельной пряжи и
медного покрытия, или шланг из поливинилхлоридного либо полиэтиленового
пластиката. В небронированных кабелях (например, марки ААШв) шланг из
поливинилхлоридного или полиэтиленового пластиката накладывается на герметическую
оболочку.
Для полной характеристики кабеля
кроме его марки необходимо указывать номинальное напряжение, на которое он
рассчитан, число и площадь сечения жил.
Контрольные кабели предназначены для
присоединения к электрическим приборам и аппаратам в электрических
распределительных устройствах переменного тока с напряжением до 660 В и
частотой до 100 Гц или постоянного тока напряжением до 1000 В. Кабели любых
марок могут прокладываться на открытом воздухе при условии обеспечения их
защиты от механических повреждений и воздействия прямых солнечных лучей. Также
контрольные кабели используются в цепях вторичной коммутации и цепях
управления. Например, кабели сигнализации и блокировки предназначены для
железнодорожных электрических цепей, цепей пожарной автоматики, телеграфа и
других систем, рассчитанных на номинальное переменное напряжение 380 В и
постоянное напряжение 700 В при условии эксплуатации в неподвижном состоянии.
Кабели прокладывают в траншеях,
блоках, а также на специальных сборных конструкциях и в лотках. Прокладка в
траншеях и блоках применяется при прохождении кабельной трассы по территории
предприятия. Прокладка на опорных конструкциях и в лотках осуществляется при
монтаже кабелей в помещениях, туннелях, а также по стенам зданий и сооружений.
Независимо от способа прокладки
кабеля трассу выбирают так, чтобы расстояние между начальной и конечной точками
линии было кратчайшим. Прокладку кабельных линий осуществляют в соответствии с
проектно-технической документацией, в которой описывается трасса линии, а также
приводятся се геодезические отметки, позволяющие судить о разности уровней
расположения её отдельных участков.
2. Общая часть
2.1 Конструкции кабельных линий
Системы кабельных конструкций,
предназначенных для прокладки кабелей и установки на них иного
электротехнического оборудования электрических установок и/или коммуникационных
сетей, также могут быть использованы для разделения кабелей и формирования их в
потоки (группы). В систему кабельных конструкций входят монтажные лотки ЛМ (кабельные
лотки), несущие лотки НЛ (кабельные лестницы), кабельные стойки и опоры
(консольные кронштейны), скобы и соединители.
Каждый вид специального сооружения
для прокладки кабелей характеризуется максимальным количеством силовых кабелей,
которое можно в нём проложить. Траншея - 6 кабелей, канал -24, блок - 20,
туннель - 72, эстакада - 24, галерея - 56.
Кабельные линии промышленных
предприятий можно разделить на внутрицеховые и внецеховые. К внутрицеховым
кабельным сетям относятся прокладки кабелей открыто на конструкциях, в лотках,
коробах, каналах, туннелях и в трубах.
В помещениях скрытая прокладка
проводов и кабелей в стальных трубах постепенно вытесняется открытыми
прокладками. Открытая прокладка кабелей почти полностью исключают зависимость
производства монтажных работ по прокладке кабелей от готовности строительной
части сооружения. Открытые прокладки кабелей позволяют закончить нулевой цикл
строительных работ, не дожидаясь производства электромонтажных работ, что
невозможно при скрытых прокладках. Открытые прокладки кабелей наглядны,
доступны, удобны для осмотра и замены кабелей, отличаются гибкостью при
изменении трасс во время реконструкции электроустановок.
При открытой прокладке кабелей
следует соблюдать меры по пожарной безопасности, обосновывать выбор марок
кабелей и оболочек, правильно выбирать кабель по нагреву, контролировать
качество присоединений и порядок раскладки кабелей, отделять зоны массовой
прокладки кабелей от оборудования. При открытой прокладке кабелей в
электротехнических и производственных помещениях следует стремиться к
совмещению трасс, объединению кабелей различного назначения (силовых,
осветительных, кабелей управления) в общие потоки, прокладывая их на общих
конструкциях, лотках или коробах.
2.2 Прокладка кабельных линий по
стенам и кабельным конструкциям
В производственных помещениях и
кабельных сооружениях применяют различные конструкции для прокладки кабелей и
проводов. Установка конструкций на объекте составляет значительный объем
электромонтажных работ, поэтому конструкции должны отвечать высокой степени
сборности и иметь незначительную массу. Кабельные конструкции выпускают в
нормальном и химически стойком.
а - кабельная стойка, б - полка, в -
скоба для крепления кабельной стойки, г - ключ для крепления полки к стойке
Рисунок 3. - Сборные кабельные
конструкции
Сборные кабельные конструкции
(рисунок 3) предназначены для прокладки электрических кабелей, а также
установки на них лотков и коробов. Их устанавливают вдоль стен помещений,
каналов, туннелей, колодцев и других строительных сооружений. Расстояние между
кабельными конструкциями на горизонтальных участках трассы 0,8 - 1 м, на
вертикальных - 2 м.
В состав кабельной конструкции
входят стойки, полки, скобы и ключ. Стойки изготовляют высотой Н 400-1800 мм
(рис. НУМЕРАЦИЯ, а) из листовой стали с перфорацией, которая имеет шаг 50 мм,
что позволяет устанавливать полки с расстояниями между ними 100, 150 мм и т. д.
Кабельная конструкция не требует приварки полок к стойкам. Полка вставляется в
стойку и механически закрепляется ключом. Надежность механического сцепления
полки со стойкой обеспечивает необходимый электрический контакт для заземления
полок. Стойки прикрепляют к строительным основаниям скобами пристрелкой или
приваркой к закладным деталям.
Для получения кабельной конструкции
необходимой высоты стойки можно стыковать между собой по вертикали в любом
сочетании. Полки изготовляют длиной (вылетом l) 160- 450 мм (рисунок 3, б), что
позволяет комплектовать стойку с полками разной длины.
- перфорированный швеллер, 2 -
закладная подвеска
Рисунок 4. - Кабельные конструкции
для одиночных кабелей
Для прокладки одиночных кабелей
применяют кабельные конструкции, состоящие из перфорированных швеллеров и
закладных подвесок (рисунок 4), которые вставляют в отверстие перфорации
швеллера узкой стороной хвостовика и поворачивают их на 90°. Подвески
изготовляют трех типоразмеров для кабелей с наружным диаметром 20, 35 и 50 мм.
Для крепления кабелей к различным
основаниям применяют однолапчатые и двухлапчатые скобы (рисунок 5).
а, б - однолапчатая и двухлапчатая
для крепления винтами или болтами, в - двухлапчатая под пристрелку
Рис. 5 - Скобы для кабелей
Лотки применяют для прокладки силовых
и контрольных кабелей и проводов напряжением до 1000 В и изготовляют из
перфорированного гнутого металлического листа. Ширина лотка 50, 100, 200 и 400
мм, длина 2 м. В номенклатуру лотков входят готовые для сборки элементы,
обеспечивающие создание трассы с необходимыми поворотами и разветвлениями в
горизонтальной и вертикальной плоскостях (рисунок 6).
, 2- прямые шириной 50, 100 или 200,
400 мм, 3 - угловые. 4, 5 - переходные и шарнирные соединители, 6 - прижимы, 7 -
подвески
Рисунок 6 - Лотки
Соединение лотков выполняют болтами,
благодаря этому обеспечивается надежная электрическая цепь, необходимая для
сети заземления. Крепят лотки на кронштейнах, подвесках и сборных кабельных
конструкциях. Лотки, установленные на опорных конструкциях, крепят так, чтобы
была исключена возможность сползания, опрокидывания и падения их.
При пересечении лотков с другими
коммуникациями лотки прокладывают с отступом от стен, если это невозможно,
выполняют обходы.
Короба имеют назначение, аналогичное
лоткам.
Для прямых участков трассы применяют
прямой короб, для разветвления на четыре направления - крестообразный, для
изменения направления трассы в горизонтальной и вертикальной плоскостях -
угловой, для ввода в электротехнические устройства - присоединительный. Кроме
того, в комплект короба входят: торцовая заглушка для закрывания конца короба и
зажим для фиксации проводов и кабелей. Короба изготовляют одноканальными длиной
2 и 3 м и рассчитывают на равномерно распределенные нагрузки (растояние между
местами крепления 3 м).
Короба рассчитаны на укладку в них
проводов и кабелей с радиусом изгиба до 50 мм.
.3 Прокладка кабельных линий в
кабельных каналах
Каналом кабельным называется
замкнутое непроходное подземное сооружение, предназначенное для прокладки
небольшого количества кабелей. Применение кабельных каналов /может быть
обосновано не более чем для 15 кабелей. На участках, где могут быть пролиты
расплавленный металл, жидкости с высокой температурой или вещества, разрушающе
действующие на металлические оболочки кабельных линий, устройство каналов не
допускается.
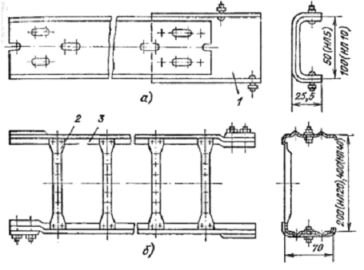
Способ прокладки кабелей в канале
позволяет положить новый или заменить действующий кабель без производства
земляных работ, обеспечивает возможность осмотров и ремонта линий в процессе
эксплуатации, а также надежную защиту кабелей от механических повреждений.
Недостатком этого способа прокладки является необходимость вскрытия верхнего
перекрытия при прокладке кабеля, производстве ремонтных работ и осмотре.
Ограниченные размеры канала затрудняют движение воздуха и отвод тепла, а
скученность кабелей создает опасность их взаимного повреждения в случае
возникновения дуги.
а - на 3, 4, 5 и 6 кабелей,
размещаемых на дне канала; б - на 8 и 10 кабелей с односторонним расположением
полок; в - на 12 и 16 кабелей с двусторонним расположением полок.
Рисунок 7. - Общий вид и
конструктивные размеры кабельных каналов.
Применение монолитного железобетона
или кирпичной кладки при сооружении кабельных каналов требует значительных
затрат труда и материалов, поэтому основными требованиями, предъявляемыми к
конструктивным решениям для кабельных каналов, являются применение сборного
железобетона, унификация сборных элементов и индустриализация методов
строительства.
Общий вид и конструктивные размеры
кабельных каналов с учетом количества размещаемых в канале силовых кабелей
приведены на рисунке 7.
Перекрытие каналов вне зданий может
быть скрыто в грунте на глубину от 300 мм и более во всех случаях, где это
вызывается соображениями охраны. В местах пересечения каналов с
железнодорожными подъездными путями или проездов для транспорта перекрытия
стенки канала должны быть рассчитаны на ожидаемую нагрузку, а в электромашинных
и тому подобных помещениях - на передвижение по нему соответствующего
оборудования.
Пол канала не должен иметь резких
уступов и порогов. Согласно требованиям ПУЭ допускается перекрытие кабельных
каналов в распределительных устройствах и в помещениях съемными несгораемыми
плитами, а каналов, в которых прокладываются только контрольные кабели,- также
деревянными щитами. В электромашинных помещениях каналы могут перекрываться
рифленым железом, а в помещениях щитов управления с паркетными полами -
деревянными щитами с паркетом. Каналы в местах входа в здания должны быть
отделены от последних несгораемыми перегородками.
.4 Прокладка кабельных линий на
лотках и в коробах
В цехах и помещениях, где допускают
открытую прокладку проводов и кабелей, применение лотков позволяет значительно
снизить трудоемкость и стоимость монтажных работ.
Лотки для электропроводок выпускают
заводы электромонтажных изделий двух видов: перфорированные марок НЛ5, НЛ10 и
сварные марок НЛ20, НЛ40 (рисунок 8) секциями длиной 2; 2,5 и 3 м и шириной 50,
100, 200 и 400 мм. Лотки выпускают комплектно с готовыми для сборки элементами,
позволяющими создавать трассы с необходимыми поворотами и разветвлениями в
горизонтальной и вертикальной плоскостях. Соединение элементов лотков выполняют
болтами, этим обеспечивают непрерывность цепи заземления (зануления). Крепление
лотков предусматривается: на полках сборных кабельных конструкций, на
кронштейнах и на подвесках. Пример использования лотков показан на рис. 38.
Кабели на лотках укладывают, как правило, в один ряд с расстоянием между ними в
свету 5 мм.
а - серии HЛ5, HЛ10 перфорированные;
б - серии НЛ20, НЛ40 сварные; 1 - соединитель; 2 - планка: 3 - борт
Рисунок 8. - Секции прямых лотков
Допускают прокладку на лотках
проводов и кабелей в пластмассовой оболочке малых сечений без зазора вплотную и
пучками в два-три слоя в пучке. Пучок проводов скрепляют бандажами или
обоймами. Расстояние между пучками проводов, уложенных в один ряд, выдерживают
не менее 20 мм.
Крепление кабелей и проводов на
прямых участках трассы выполняют с интервалом не более 1 м. Для крепления
применяют металлические полоски с пряжками или пластмассовую ленту с кнопками.
При сближении лотков с трубопроводами должны быть выдержаны расстояния: 250 мм
от трубопровода до ближайшего кабеля или провода при параллельной прокладке;
100 мм при пересечениях. Пример прокладки кабелей на лотках, в горизонтальной и
вертикальной плоскостях показан на рис. 52.
Короба предназначены для прокладки в
них проводов и кабелей на напряжение до 1 кВ; их изготавливают заводы
электромонтажных изделий одноканальными, секціями
длиной
2 и 3 м, шириной 100, 150 и 200 мм, высотой 50 и 100 мм.
Короба поставляют комплектно со
всеми элементами, необходимыми для проектируемых трасс, указанных в заказной
спецификации: угловые элементы для перехода верх и вниз, угловые
горизонтальные, тройниковые, крестообразные и др. (рисунок 9). В коробах
имеются планки для крепления проложенных в них проводов и кабелей.
Соединение элементов коробов
выполняют болтами, это обеспечивает непрерывность цепи заземления. Общий вид
электропроводок в коробах показан на рисунке 10.
Электропроводки с защищенными
проводами и небронированными кабелями. Защищенные провода имеют резиновую
изоляцию жил и наружную металлическую оплетку (панцирную марки ПРП).
Небронированные кабели для
электропроводок имеют резиновую или пластмассовую изоляцию жил с различными
оболочками: свинцовой (СРГ и АСРГ), поливинилхлоридной (ВРГ, АВРГ, АВВГ) и из
негорючей найритовой резины (НРГ, АНРГ).
а - прямые; б - крестообразные; в -
тройниковые
Рисунок 9. - Элементы коробов
Оболочки из свинца и пластмассы при
отрицательных температурах деформируются, в связи с этим нельзя вести монтаж
небронированных кабелей в свинцовой оболочке при температуре ниже -20°С и
кабелей в пластмассовой оболочке ниже -15 °С. При необходимости ведения монтажа
кабелей в свинцовой и пластмассовой оболочках при отрицательной температуре
ниже указанных пределов требуется предварительный их подогрев.
Отечественная электропромышленность
выпускает кабели с алюминиевыми и медными жилами в оболочке из специальной
пластмассы для холодного климата марок ВРГ-ХЛ и АВРГ-ХЛ, допускающие их монтаж
при температурах до -50 °С без подогрева.
Крепления небронированных кабелей и
защищенных проводов зависят от материала оснований (бетон, кирпич, металл) и
диаметра оболочек кабелей; их выполняют: стальными скобками с одной или двумя
лапками (скобки предварительно по разметке укрепляют на основаниях), стальными
полосками на стальной полосе или проволоке (катанке), которые предварительно
крепят к основанию с помощью строительно-монтажного пистолета (рисунок 11).
Наименьшие допустимые радиусы изгиба для кабелей с пластмассовой оболочкой и
проводов в металлической оболочке составляет 10 наружных диаметров.
В местах пересечений на один из
кабелей надевают изоляционную трубку.
а - по технологическому оборудованию;
б - к силовым шкафам и щитка м с электрооборудованием; 1 - магистральный
шинопровод; 2 - короб с проводами; 3 - распределительный шинопровод; 4 - труба
с проводами; 5 - шкафы управления технологическим оборудованием; б -
технологическое оборудование: 7 - колонна: 8 - антресоль для шкафов с
электрооборудованием; 9 - мостик обслуживания
Рисунок 10. - Электропроводки в
коробах
а - па стальной полосе; 6 - на
натянутой проволоке; 1 - стальная полос 2 - кабель; 3 - дюбель-гвоздь; 4 -
полоски с пряжкой; 5 - натяжная пластинка; 6 - проволока (катанка); 7 -
промежуточное крепление проволоки
Рисунок 11. - Крепление проводов и
кабелей к строительным основаниям
Пересечения кабелей и защищенных
проводов могут быть выполнены в металлических или пластмассовых коробках.
При закреплении кабелей стальными
скобками или полосками под них подкладывают защитные прокладки из прессшпана,
выступающие на 1,5-2 мм с обеих сторон.
Перед прокладкой кабели рихтуют с
помощью деревянного бруска. Брусок подкладывают под кабель в месте его правки.
При установке ответвительных коробок
на кабелях и проводах с металлической оболочкой необходимо обеспечить
непрерывность цепи заземленной (зануленной) оболочки. Для этого в обход
ответвительной коробки ставят перемычку из многожильного медного провода,
которую припаивают к металлической оболочке кабеля или провода по обе стороны
коробки. Сечение провода перемычки должно быть 1,5-2,5 мм2. Заземление оболочек
пучка проложенных кабелей выполняют одним гибким луженым медным проводом,
пересекающим пучок под прямым углом и припаянным к оболочке каждого кабеля в
пучке.
Кабели, проложенные на высоте менее
2 м от уровня пола, а также в местах, где они могут подвергнуться повреждению,
защищают угловой сталью или металлическим коробом. В электротехнических
помещениях такая защита не требуется.

Рисунок 11. - Крепление проводов и
кабелей к строительным основаниям
2.5 Прокладка кабельных линий в
трубах
Проводки в трубах применяют там, где
надо защитить проводя от механических и других воздействий: при малой высоте
прокладки, в пожароопасных и взрывоопасных помещениях, на чердаках и на вводах.
Водогазопроводные трубы применяют только во и взрывоопасных помещениях, в
остальных случаях используют тонкостенные стальные трубы с накатной резьбой по
концам.
Не разрешается использовать трубы
при неравномерной нагрузке фаз, когда разность по току превышает 25 А. При
четырехпроводной линии запрещается прокладывать нулевой провод отдельно. Нельзя
прокладывать одиночные провода в трубе, если нагрузка превышает 25 А.
Трубы для электропроводки должны
быть без вмятин, трещин н шероховатостей внутри (грата, ржавчины, окалины).
Грат удаляют специальным ножом. Допускается притупленный грат, выступающий по
более чем на 0,5 мм. Внутренние заусенцы, ржавчину, окалину удаляют стальным
ершиком. После очистки перед механической обработкой трубы окрашивают изнутри.
Перед монтажом свободные концы труб
заглушают деревянными, полиэтиленовыми или металлическими заглушками. Трубные
трассы прокладывают с уклоном в сторону протяжных шкафов и коробок так, чтобы
внутри труб не накапливалась влага от конденсации паров. Длина трассы от одной
протяжной коробки до другой или до токоприемника зависит от числа изгибов и
составляет при одном изгибе до 50 м, при двух - до 40 м, при трех и более - до
20 м.
Патрубок для ввода стальных труб в
корпуса аппаратов (а) и царапающие гайки (б)
Рисунок 12. - труба для
электропроводки
В местах пересечения труб с
осадочными швами зданий устанавливают компенсаторы в виде двух протяжных
коробок, соединенных металлорукавами.
Для поворота трассы трубы изгибают
по шаблонам. Радиусы изгиба для скрытой прокладки должны быть более 10
диаметров трубы, для открытой прокладки - более 6 диаметров. Рекомендуется
применять стандартные размеры радиусов изгиба; 160, 200, 250, 400, 800 мм. Углы
поворота трассы также должны быть стандартными: 90°, 105е, 120°, 135° и 150°.
Трубопровод может быть уплотненным
или неуплотненным. Уплотненный трубопровод имеет герметичные соединения всех
звеньев и защищает проводку от воздействия агрессивной среды, не воспринимает и
не распространяет взрыва или огня.
К аппаратам трубопроводы крепят
сваркой, гильзами или царапающими гайками (рисунок 12, б). Промежуточные
крепления выполняют скобами, полускобами, накладками или закрепами. Расстояния
между точками крепления зависят от диаметра труб, составляют для малых
диаметров 2,5 м, а при диаметре 50 мм и более - 4 м.
Все сварочные работы на трубной
трассе выполняют до затягивания проводов в трубы. Перед прокладкой проводов
трубы очищают от пыли и влаги, продувая их сжатым воздухом. Для облегчения
протаскивания проводов в трубы вдувают тальк, протягивают стальную проволоку -
стальку. В тех случаях, когда это не удается, стальку зацепляют второй, встречной
проволокой. Для предохранения изоляции проводов при протаскивании применяют
защитные оконцеватели - разъемные втулки.
При монтаже проводок сечением до 10
мм2 усилие протягивания не должно превышать 1 кН, а сечением 35 мм2 - не более
5 кН.
2.6 Эксплуатация кабельных линий
внутрицеховых сетей
При эксплуатации внутрицеховых
электрических сетей состояние электроизоляционных материалов, применяемых в
электрических проводах и кабелях, имеет большое значение. При запылении и
загрязнении понижаются электроизоляционные свойства изоляции. Перегрев изоляции
одновременно с понижением электроизоляционных свойств делает ее хрупкой и
механически менее прочной. Как следствие этого возникают электрические пробои,
приводящие к преждевременному выходу из строя электропроводок.
Другим элементом внутрицеховых
электрических сетей, обеспечивающим надежную их эксплуатацию, являются
электрические контакты, которые при эксплуатации постепенно окисляются и
ослабевают. В результате этого переходное сопротивление контактов увеличивается,
что вызывает их недопустимый перегрев и понижение качества. Чтобы обеспечить
бесперебойную работу внутрицеховых электрических сетей и нормальный срок их
службы, в процессе эксплуатации проводят надзор и необходимую проверку и, если
после этого требуется, проводят своевременный ремонт. Необходимая частота
осмотров внутрицеховых электросетей зависит в основном от условий эксплуатации
и окружающей среды.
В цехах влажных, пыльных и
содержащих пары и газы, вредно действующие на изоляцию электрических сетей,
осмотр производят чаще, чем в цехах с нормальной средой. Сроки и содержание
осмотров электросетей утверждает главный энергетик предприятия в соответствии с
действующими правилами технической эксплуатации с учетом специфических
особенностей каждого предприятия.
В помещениях с нормальной средой
осмотр внутрицеховых электрических сетей обычно производят один раз в шесть
месяцев, а в помещениях с неблагоприятной средой (сырые с едкими парами и др.)
- один раз в три месяца. Ремонт внутрицеховых электрических сетей проводят по
мере необходимости, на основе результатов осмотров и проверок.
Осмотр внутрицеховых электрических
сетей разрешают проводить персоналу соответствующей квалификации с обязательным
соблюдением осторожности. При осмотрах запрещается, в частности, снимать
электротехнические предупредительные плакаты и ограждения, а также приближаться
к частям электроустановок, находящимся под напряжением. Если при осмотре
электрических сетей выявлены неисправности, то об этом ставят в известность
непосредственного начальника и одновременно делают соответствующую запись в
эксплуатационном журнале.
При осмотре внутрицеховых
электрических сетей проверяют общее состояние наружной части электрической
изоляции и отсутствие в ней видимых повреждений: прочность закрепления
электропроводки и конструкций, поддерживающих кабели и другие элементы
электросети, отсутствие натяжения проводки в местах ответвлений.
При осмотре автоматов, станций
управления и предохранителей проверяют их исправность и соответствие нагрузке и
сечению проводов и кабелей. В местах, опасных в отношении поражения
электрическим током, проверяют наличие предупреждающих плакатов, надписей и
заграждений, а также состояние кабельных воронок, отсутствие в них течи,
наличие бирок, плотность контактов в местах присоединения жил кабелей.
При осмотре электрических сетей
необходимо также проверять состояние заземляющих устройств и надежность
контактных соединений в них. Во время осмотра внутрицеховых электросетей
дежурному электромонтеру разрешается производить включение автоматов, замену
трубчатых и пробочных предохранителей без снятия напряжения. Замену плавких
вставок открытого типа и мелкий ремонт осветительной электропроводки можно
производить лишь при отключенном напряжении.
Кроме указанных осмотров необходимо
вести контроль за состоянием внутрицеховых электрических сетей с помощью
периодических измерений величин сопротивления их электрической изоляции,
нагрузок и электрического напряжения сети в различных точках. Периодичность
указанных измерений, а также выбор точек для измерений зависят от местных
условий. Они приводятся в инструкциях предприятий. Обычно величину
сопротивления изоляции электросетей проверяют в сырых и пыльных помещениях два
раза в год, а в помещениях с нормальной средой - один раз.
Принимая внутрицеховые электрические
сети после капитального ремонта, их изоляцию испытывают напряжением 1000 В
промышленной частоты в течение 1 мин. Если сопротивление изоляции, измеренное
мегаомметром на напряжение 1000 В, составляет не менее 0,5 МОм, то испытание
повышенным напряжением промышленной частоты можно,заменить испытанием изоляции
с помощью мегаомметра на 2500 В. При величине сопротивления изоляции менее 0,5
МОм испытание повышенным напряжением промышленной частоты является
обязательным.
Рассматривая состояние изоляции
электрической сети, следует иметь в виду, что даже при самых благоприятных
условиях эксплуатации электросетей их изоляция под влиянием различных причин
постепенно ухудшает свои свойства (стареет) и периодически электропроводку
приходится заменять новой.
Во время эксплуатации внутрицеховых
электрических сетей контролируют электрические нагрузки, которые могут
изменяться. Перегрузки электрических сетей в течение продолжительного времени
приводят к ухудшению их изоляции и сокращению длительности работы. Если
произведенные проверки покажут, что перегрузки электрических сетей являются
систематическими, то необходимо принять меры к разгрузке сетей или к их
реконструкции. При усилении электросети надо следить за тем, чтобы токи в новых
проводах и кабелях не превышали значений, установленных для них ПУЭ.
Важное значение для правильной
эксплуатации электрооборудования имеет напряжение, подводимое к
электроприемникам, так как оно не остается постоянным в течение суток. В часы
максимального потребления электроэнергии напряжение в электросетях понижается,
а в часы минимального потребления повышается. Колебания напряжения в сети могут
вызываться и другими причинами.
Электроприемники нормально работают
до тех пор, пока колебания напряжения не выходят за определенные пределы.
Допустимыми для внутрицеховых электрических сетей считаются колебания: для
электродвигателей в пределах +5 % от номинального напряжения (в отдельных
случаях допускаются отклонения от номинального от -5 до +10 %), для наиболее
удаленных ламп рабочего освещения в промышленных предприятиях - от -2,5 до + 5
%. Если проверками установлено, что колебания напряжения превышают указанные
значения, то необходимо принять меры, например применить трансформаторы,
допускающие регулирование напряжения. прокладка
кабель электроизоляционный
Если во время эксплуатации
какая-либо линия свыше месяца находится без напряжения, то перед ее включением
внимательно осматривают и проверяют состояние ее изоляции.
Мелкий ремонт внутрицеховых
электросетей включает следующие работы: замену неисправных изоляторов,
выключателей и штепсельных розеток, закрепление провисшей электропроводки,
восстановление электросети в местах ее обрывов, смену автоматов и
предохранителей и т. п.
В объем текущего ремонта входят:
ремонт неисправных участков внутрицеховой электрической сети, в том числе
замена электропроводки с поврежденной изоляцией, включая и в трубопроводах,
перетяжка проводов, имеющих недопустимо большой провес.
Содержанием капитального ремонта
является полное переоборудование внутрицеховых электрических сетей, включая
восстановление всех изношенных элементов.
.
Экономическая
часть
Сметно-финансовый расчет стоимости
электрооборудования
|
Наименование и характеристика
электрооборудования
|
Ед. измерения
|
Количество
|
Сметная стоимость, руб.
|
Полная сметная стоимость электрооборудования,
руб
|
|
|
|
Единицы
|
Общая
|
|
|
|
|
Оборудования
|
Монтажные работы
|
Оборудования
|
Монтажные работы
|
|
|
|
|
|
Всего
|
в т.ч. з/пл
|
|
Всего
|
в т.ч. з/пл
|
|
|
2
|
3
|
4
|
5
|
6
|
7
|
8
|
9
|
10
|
11
|
|
Разрядник РВО-6
|
шт
|
6
|
759
|
75,9
|
37,9
|
4554
|
455,4
|
227,7
|
|
Кабель AКBBГ 27x2,5
|
м
|
95
|
55,1
|
2,5
|
1,2
|
5142
|
719,3
|
359,6
|
5862,9
|
|
Кабель КВВГ 5x2,5
|
м
|
216
|
44,6
|
5,7
|
2,8
|
14093,6
|
1832,1
|
916,08
|
15925,7
|
|
LPZ-50 Лоток перфорированный замковый PNK-50
борт 50
|
м
|
500
|
2784.9
|
7,2
|
3,6
|
556980
|
52896,4
|
27948,2
|
25176,4
|
|
Кабель КВВГ 19x1,5
|
м
|
180
|
105,8
|
12,6
|
6,3
|
19044
|
2285,2
|
1142,6
|
21329,2
|
|
Кабель MКэШ 5x0,5
|
|
90
|
23,5
|
3,5
|
1,5
|
2115
|
274,9
|
137,4
|
2389,9
|
|
Кабель МКэШ 14x0,5
|
м
|
50
|
55,5
|
6,6
|
3,3
|
2775
|
333
|
166,5
|
3108
|
|
Провод НВ4 0,2
|
м
|
240
|
1,55
|
0,1
|
0,7
|
372
|
37,2
|
18,6
|
409,2
|
шт
|
10
|
18,2
|
1,8
|
0,9
|
182
|
18
|
9
|
200
|
|
Итого
|
79404,7
|
Заключение
В данном курсовом проекте изложены
основы монтажа и эксплуатации кабельных линий внутри цехов.
Изучили назначение, виды кабельных
линий, способы их прокладки, инструменты, приборы и оборудование, используемые
при выполнении работ, требования к монтажу кабельных линий внутри цехов в
соответствии с ПУЭ;
Рассмотрели эксплуатацию кабельных
линий внутри цехов, правила безопасности при экстпуатации кабельных линий;
Описали организацию электромонтажных
работ, обязанности и виды работ, выполняемых электромонтером;
Выполнили сметно-финансовый расчет
электрооборудования, полная его стоимость составила 79404,7 руб.
Литература
Атабеков,
В.Б Ремонт трансформаторов электрических машин и аппаратов: Учеб. Для ПТУ /
Атабеков В.Б.- Мл Высшая школа 1994
Зюзин,
А.Ф. Монтаж, эксплуатация и ремонт электрического оборудования промышленных
предприятий и установок. Учеб. пособие для учащихся электротехн. спец.
техникумов. - 3-е издание, перераб. и доп. / Зюзин А.Ф., Поконов Н.З., Антонов
М.В. -Мл Высшая школа 1996
Кацман,
М.М. Электрические машины: Учеб. пособие для учащихся электротехн. спец.
техникумов. - 2-е изд., перераб. и доп. / Кацман М.М. - М/. Высшая школа 1990
Князевский,
Б.А. Монтаж и эксплуатация промышленных электроустановок: Учеб. пособие для
студ. учреждений проф. образования / Князевский Б.А. - М.: Высшая школа 1994
Нестеренко,
В.М. Технология электромонтажных работ: Учеб. Пособие для нач. проф.
Образования / Нестеренко В.М., Мысьянов A.M. - Академия 2004
Трунковский,
JI.E. Электромонтер по эксплуатации промышленных электроустановок: Учеб.
пособие для студ. учреждений проф. образования / Трунковский JI.E.-M.: Высшая
школа 1994
Федорова,
А.А. Справочник по электроснабжению и электрооборудованию: Учеб. пособие для
студ. учреждений проф. образования / Федорова А.А - М.: Энергоатомиздат 1997
Правила
устройства электроустановок: Библия электрика: ПУЭ (шестое и седьмое издания,
все действующие разделы МПОТ, ПТЭ. - Новосибирск: .Сиб. Унив. Изд-во. 2010
Межотраслевые
правила по охране труда (правила безопасности) при эксплуатации
электроустановок: Библия электрика: ПУЭ (шестое и седьмое издания, все
действующие разделы МПОТ, ПТЭ. - Новосибирск: Сиб. Унив. Изд-во. 2010
Правила
технической эксплуатации электроустановок потребителей: Библия электрика: ПУЭ
(шестое и седьмое издания, все Действующие разделы МПОТ, ПТЭ. - Новосибирск:
Сиб. Унив. Изд-во.
П.
Филатов, А. А. Обслуживание электрических подстанций Оперативным персоналом:
Учеб. пособие для студ. учреждений проф. образования / Филатов А.А -
М.:Энергоатотмиздат 1999