Модернизация электропривода подачи станка 16К20Т1

  • Вид работы:
    Дипломная (ВКР)
  • Предмет:
    Физика
  • Язык:
    Русский
    ,
    Формат файла:
    MS Word
    1,61 Мб
  • Опубликовано:
    2013-06-04
Вы можете узнать стоимость помощи в написании студенческой работы.
Помощь в написании работы, которую точно примут!

Модернизация электропривода подачи станка 16К20Т1

Аннотация

Загиров Ф.Ф. Модернизация электропривода подачи станка 16К20Т1.- Усть-Катав: У-КМТ,ЭМ4-98; 2012,77

В данном дипломном проекте обоснована необходимость замены гидропривода подач на электропривод серии КЕМРОН. Выполнен проверочный расчет двигателя по мощности. Произведен выбор силового согласующего трансформатора и проверка его по запасу напряжения для статического режима работы. Решены вопросы охраны труда, экологии, гражданской обороны. В связи с модернизацией электрооборудования, в экономической части, произведено сравнение базового и проектного вариантов, рассчитаны экономические показатели.

Введение

 

Технический уровень машиностроительного оборудования определяется следующими основными показателями: гибкостью, производительностью, точностью, надежностью, удельной металлоемкостью и удельным энергопотреблением.

Развитие в машиностроении прогрессивных технических средств, обеспечивающих значительное сокращение вмешательства обслуживающего персонала в процесс функционирования оборудования, требует создания и внедрения принципиально новых систем автоматизированного электропривода.

Современные электроприводы базируются на широком применении специализированных электрических машин, силовой полупроводниковой техники, средств микроэлектроники.

За последние годы произошли качественные изменения в номенклатуре и техническом уровне электроприводов, применяемых в станкостроении.

Создаются и внедряются в машиностроительном оборудовании качественно новые электроприводы, построенные на базе двигателей постоянного и переменного тока. Принципиально новые решения в области автоматизированного электропривода позволяют существенно повысить эксплуатационные характеристики станков и машин.

Разрабатываются и внедряются в ГПМ бесколлекторные электроприводы переменного тока с асинхронными двигателями для механизмов главного движения и вентильными (синхронными) двигателями для механизмов подачи станков и промышленных роботов с цифровыми и цифроаналоговыми регуляторами, с микропроцессорным управлением и развитой диагностикой, с энергонезависимой памятью. Это позволяет увеличить скорость резания в 2 - 3 раза; уменьшить время вспомогательных перемещений в 1,5 - 2 раза; сократить время поиска и устранения неисправностей в электроприводах в 3 - 5 раз; уменьшить время технического обслуживания приводов в 2 - 4 раза; повысить точность обработки в 1,5 - 2 раза; уменьшить массогабаритные показатели приводов в 1,5 - 2 раза.

Новым подходом в области станочного электропривода является создание локально - распределительных электромеханических систем, представляющих собой унифицированные узлы ГПМ (поворотные и координатные столы, инструментальные головки, шпиндели и т.д.) со встроенными элементами двигателя и системы управления.

Основные тенденции в развитии электромашиностроения:

переход от двигателей постоянного тока в регулируемых электроприводах к бесколлекторным специальным двигателям переменного тока асинхронным и синхронным (вентильным) двигателям;

понижение удельных массогабаритных показателей двигателей путем применения новых электротехнических и магнитных материалов и специальной системы охлаждения;

увеличение максимальной скорости двигателя, в том числе создание высокоскоростных электромеханизмов;

оснащение двигателя особо точными датчиками положения и другими компонентами, обеспечивающими работу механизмов станков с ЧПУ и ГПМ;

повышение эксплуатационных свойств двигателя в части снижения уровня вибрации, снижения уровня шума, повышения степени защиты двигателя от условий окружающей среды.

Особенностью преобразователей практически всех электроприводов является применение силовых блоков (тиристорных или транзисторных), смонтированных в теплопроводящем изолирующем (не токопроводящем) корпусе, что позволяет монтировать их на едином охладителе (радиаторе). В системах управления широко применяются микросхемы средней и высокой степени интеграции, а также термостабильные элементы. С целью экономии производственных площадей, занимаемых электрооборудованием, наметились тенденции выполнения конструктивов преобразователей, вертикального исполнения с уменьшенной шириной преобразователя.

Конструкция большинства преобразователей унифицирована по конструктивам на основе 19-й системы.

Преобразователи выпускаются открытого исполнения (степень защиты IP00) и предназначены для встройки в электрошкаф. В ряде электроприводов предусмотрены встраиваемые устройства диагностики.

Наиболее совершенной является модульная конструкция преобразователя. Преобразователь для управления синхронными двигателями состоит из модуля питания (одного для всех осей) и отдельных осевых модулей. Модуль питания осуществляет выпрямление напряжения питающей сети и сглаживание пульсацией выпрямленного напряжения с помощью конденсаторов. Осевой модуль осуществляет бесконтактную коммутацию обмоток статора в функции задающего сигнала и положения ротора.

Современной тенденцией является применение микропроцессорной системы управления. Большинство преобразователей имеют развитую систему диагностики, возможность подключения к дисплейным устройствам с цифровым отображением информации по скорости, току, текущей координате положения механизма и другим параметрам. Преобразователи имеют интерфейсные устройства, обеспечивающие возможность стыковки с цифровыми управляющими машинами, персональными компьютерами.


1. Общая часть

.1 Назначение и технические характеристики станка 16К20Т1

Станок токарный с числовым программным управлением модели 16К20Т1 предназначен для выполнения разнообразных токарных работ наружных и внутренних поверхностей деталей тел вращения со ступенчатым и криволинейным профилем в один или несколько проходов по замкнутому автоматическому циклу в условиях мелкосерийного и серийного производства.

На станке можно производить наружное точение, растачивание, а также нарезание резьбы при оснащении станка соответствующей системой ЧПУ. Форма образующих обрабатываемого изделия: цилиндрическая, конусная и фасонная. Диапазон регулирования чисел оборотов шпинделя и подач позволяет производить обработку изделия, как из обычных черных, цветных металлов, так и жаропрочных сталей.

Токарный станок мод. 16К20Т1 аналогичен по конструкции станку мод. 16К20Ф3, но оснащен 2-координатной контурной оперативной системой числового программного управления с УЧПУ Н22-1М с УШП.

Система обеспечивает линейно-круговую интерполяцию и является замкнутой: перемещения рабочих органов по обеим координатам (X и Z) осуществляются с помощью следящих приводов подач с фотоимпульсными датчиками обратной связи.

Система ЧПУ станка - Н22-1М

Класс точности станков - П ГОСТ 8-71.

Технические характеристики станка 16К20Т1 представлены в таблице 1

Таблица 1 Технические характеристики станка 16К20Т1

Наименование параметров


Данные

1

2

3

Наибольший диаметр обрабатываемого изделия,мм

Над станиной

500


Над суппортом

220

Наибольшая длина обрабатываемого изделия,мм


1000

Наибольшая длина обработки, мм


900

Конец шпинделя по ГОСТ 12593-72, м


Диаметр прутка проходящего через отверстие шпинделя, мм


53

Размер центра в пиноли задней бабки по ГОСТ 13214-67

Конус Морзе

5

Число управляемых осей координат всего/управляемых


2/2

Предельное число оборотов шпинделя,об/мин.


12,5-2000

Число ступеней скоростей шпинделя


24/12

Пределы рабочих подач,мм/об.

продольных

0,01-120


поперечных

0,005-10

Скорость быстрого перемещения, мм/мин.

продольной

7500


поперечной

5000

Пределы шагов резьб, мм


0,01.. 40,95

Дискретность отсчета по осям координат, мм

продольной

0,010


поперечной

0,005

Габариты станка,мм

длина

3700


ширина

1700


высота

2145

Масса станка,кг


3800


.2 Кинематическая схема станка

От электродвигателя помещенного на стенке станины, вращение передается клиновыми ремнями на приводной шкив автоматической коробки скоростей (далее АКС), которая обеспечивает получение 12 чисел оборотов выходного вала. С выходного вала АКС вращение передается упругой муфтой на входной вал шпиндельной бабки изделия. Шпиндель получает 36 ступеней скоростей вращения.

Кинематическая схема главного движения станка представлена на рисунке 1.

Данные к кинематической схеме представлены в таблице 2

Таблица 2 Перечень к кинематической схеме

Куда входит

Позиция

Число зубьев зубчатых колес, мм

Модуль, мм

Ширина обода зубчатого колеса, мм

Материал

Автоматическая коробка скоростей АКС

1

47

3

27

Сталь 40Х ГОСТ 4543-71 HRC48-52


2

47

3

27



3

45

3

25



4

45

3

25



5

60

3

25



6

30

3

54



7

18

3

25



8

72

3

25



9

30

3

25



10

48

3

27


Автоматическая коробка скоростей АКС

11

60

3

25

Сталь 40Х ГОСТ 4543-71 HRC48- 52


12

60

3

25



13

60

4

25



14

56

3

25



15

30

4

25



16

24

4

26



17

48

4

46



18

24

4

40



19

50

4

22



20

50

3.5

52/32


Бабка шпиндельная

21

42

3,5

32



22

30

4

50



23

36

4

27



24

14

4

29

Сталь 40Х ГОСТ 4543-71 HRC58-62


25

30

4

49

Сталь 20Х ГОСТ 4543-71 HRC58-62


26

48

4

22

Сталь 40Х ГОСТ 4543-71 HRC 50


27

48

4

22



28

48

4

49



29

90

2

36



30

40

2

15



31

40

2

15


Рисунок 1. Кинематика привода подачи

1.3 Описание электрооборудования

Питание электрооборудования осуществляется от цеховой сети переменного тока 380 В, 50 Гц от четырехпроводной линии.

Питание цепей управления переменного тока осуществляется напряжением 110 В от понижающего трансформатора Тр2.

Вся аппаратура управления и питания электрооборудования смонтирована в одном электрошкафу, расположенном около станка.

Управление электроприводом станка при работе вручную кнопочное дистанционное осуществляется со следующих мест:

пульта управления на передней бабке,

пульта управления на ограждении,

пульта управления на устройстве Н22-1М,

пульта управления станине станка.

Подсоединение электрооборудования к цеховой сети осуществляется посредством вводного автомата ВА1 с током уставки 430А.

Защита электродвигателей и цепей управления от токов короткого замыкания и перегрузок производится автоматическими выключателями, тепловыми реле и реле максимального тока.

Главный привод на станке реверсивный и осуществляется от асинхронного электродвигателя М1.

Пуск электродвигателя в соответствующую сторону осуществляется с помощью кнопок КНЧ «Влево» и КНБ «Вправо», причем предварительно необходимо включить станцию смазки и гидростанцию.

При нажатии на кнопку КНЧ (КНБ) включается реле РП1(РП2), которое своими контактами включает тиристорный пускатель Р1, после чего включается электродвигатель М1.Останов М1 осуществляется нажатием на кнопку КН5 «Стоп».

Для включения шпинделя в работу в ручном режиме необходимо после включения электродвигателя М1 поставить в одно из шести положений переключатель скорости ВП1 и в соответствующее 1 или 2 положение переключатель ВТ1, затем нажать на кнопку КН 9 «Пуск шпинделя».При этом включается промежуточное реле РП4, которое своим контактом замыкает цепь питания на блок управления АКС. В зависимости от положения переключателей ВП1 и ВТ1 замыкаются цепи питания соответствующих электромагнитных муфт из ряда ЭМ1-ЭМ6, ЭМ17.

При работающем электродвигателе М1 шпиндель начинает вращаться с заданной скоростью.

Для быстрого останова шпинделя при его отключении предусмотрена схема торможения , которая срабатывает при нажатии на стоповую кнопку КН10, а также при нажатии на кнопки КН2,КН3,КН5,КН8,КН15.В результате цепь «Торможение» становится замкнутой, включаются муфты ЭМ6,ЭМ17, одновременно загорается сигнальная лампа Л1. Происходит торможение и останов шпинделя.

Схема управления главным приводом предусматривает ограничение времени холостого хода электродвигателя М1. Если шпиндель не включен , то через 2 минуты двигатель М1 отключается за счет реле времени РВ7.

В автоматическом режиме электродвигатель М1 включается по команде МО3 или МО4 от устройства ЧПУ. Включается реле РП20 или РП21. В зависимости от включения данных реле подается питание на РП1 или РП2. В этом режиме РП4 обесточено. Включение любой из 12 скоростей поддиапазонов шпинделя осуществляется контактами ходовых реле РП13..РП15.

В качестве привода подач суппорта по оси X (поперечное перемещение) применяют шаговый двигатель М2 типа ШД-5М в комплекте с гидромотором.

Кинематическая цепь привода подач суппорта по оси Z (продольное перемещение)- шаговый двигатель М3 типа ШД-5М в комплекте с гидромотором.

Кинематическая цепь поворота шестипозиционной револьверной головки: асинхронный электродвигатель М4 - зубчатые колеса z = 20 и z = 62 - червячная передача z = 1 и z =38.

Асинхронный электродвигатель М5 приводит во вращение шестеренный насос ВГ-11-11 А, осуществляющий централизованное смазывание станка.

Торможение шпинделя происходит автоматически при выключении электродвигателя М1.

Электросхема управления электромагнитными муфтами АКС бесконтактная ,выполненная на тиристорах 1Т5,1Т11.

При установке переключателей ВП1 и ВТ1 в положение требуемой скорости и нажатии на кнопку КН9 «Пуск шпинделя» подаются управляющие потенциалы на открывание соответствующих тиристоров.

В автоматическом режиме включается реле 1РП2, которое своим размыкающим контактом управляет тиристорами 1Т2,1Т3, а замыкающим контактом включает реле времени 1РВ1, которое с выдержкой времени дает ответ в ЧПУ.

При переключениях скоростей шпинделя одни муфты отключаются, другие включаются.

Для исключения замков при переключениях скоростей необходимо одновременно с отключением напряжения управления отключать кратковременное напряжение на тиристорах. С этой целью размыкающий контакт реле РП2 отключает управляющие потенциалы тиристоров 1Т2,1Т3.

Тиристоры 1Т2, 1Т3 закрываются и прерывают питание электромагнитных муфт.

После выдачи ответа в УЧПУ с помощью замыкающего временного контакта реле 1РВ1 реле 1РП2 отключается и своим размыкающим контактом включает цепь управляющих напряжений тиристоров 1Т2, 1Т3. Тиристоры открываются и напряжение питания электромагнитных муфт восстанавливается.

В ручном режиме для отключения анодного напряжения на тиристорах 1Т5..1Т11 используется реле 1РП3, которое своим размыкающим контактом при переключении ВП1 разрывает цепь управляющих напряжений тиристоров 1Т2, 1Т3.

Привод подач с шаговыми двигателями (ШД) можно разделить на две группы: 1) привод с силовым ШД, соединенным через кинематическую цепь с исполнительным механизмом; 2) привод с управляющим ШД и промежуточным усилителем момента, выполненным в виде автономной следящей системы (обычно гидравлической). В первой группе динамические и статические характеристики привода определяются параметрами ШД, во второй - зависят от параметров следящей системы, которой управляет ШД.

Преимущества шагового привода по сравнению с приводом следящим имеют значение лишь при малых мощностях приводов. К таким преимуществам относятся отсутствие датчика обратной связи по пути и тахогенератора, а также отсутствие коллектора с щетками. Именно это обусловило применение ШД в приводе подач малых токарных и шлифовальных станков, а также для управления различными вспомогательными механизмами станков и гибких производственных модулей.

Современные быстродействующие ШД являются модифицированными синхронными электрическими машинами, обмотки которых возбуждаются несинусоидальными сигналами, т. е. прямоугольными или ступенчатыми импульсами напряжения с изменяющейся в широких пределах частотой. Ступенчатому характеру напряжений на фазах ШД соответствует дискретное вращение электромагнитного поля в воздушном зазоре двигателя. Вследствие этого движение ротора на низкой частоте слагается из последовательности элементарных перемещений, совершаемых по апериодическому или колебательному закону. При возрастании управляющей частоты неравномерность частоты вращения ротора ШД сглаживается.

Шаговые двигатели с электронным коммутатором осуществляют преобразование последовательности управляющих импульсов (унитарного кода) в угол поворота вала. Каждому импульсу управления соответствует поворот вала на фиксированный угол (шаг двигателя), величина которого однозначно определена конструкцией ШД и способом переключения его обмоток. Частота вращения и суммарный угол поворота вала пропорциональны соответственно частоте и числу поданных импульсов управления. В отличие от синхронных двигателей в ШД переход в синхронное движение из состояния покоя осуществляется без скольжения, а торможение- без выбега ротора. Благодаря этому ШД (в рабочем диапазоне частот) обеспечивают внезапный пуск, остановку и реверсирование без потери информации, т. е. без пропуска шагов.

Гидропривод представляет собой совокупность устройств, предназначенных для приведения в движение механизмов посредством рабочей жидкости под давлением. В качестве рабочей жидкости в гидроприводах используют минеральные масла. Гидроприводы обеспечивают высокую плавность движения исполнительных механизмов, а также широкий диапазон скорости их перемещения. Гидропривод позволяет надежно защитить систему от перегрузки, что позволяет механизмам работать по жестким упорам. К недостаткам гидроприводов следует отнести наличие наружных утечек жидкости, приводящих к повышенному расходу масла и загрязнению рабочего места.

В станках с ЧПУ и ГПМ гидропривод используется для автоматизации вспомогательных механизмов.

Широко используется гидропривод и в промышленных роботах для привода механизмов, осуществляющих как основные перемещения заготовок по координатам, так и вспомогательные движения, связанные с их захватом, фиксацией, расфиксацией, поворотом и т. д.

Гидроприводы станков с ЧПУ и промышленных роботов включают в себя: насосы; направляющую гидроаппаратуру; регулирующую гидроаппаратуру; вспомогательные элементы; исполнительные механизмы (гидроцилиндры, гидродвигатели, комплектные электрогидравлические шаговые приводы).

1.4 Основные требования, предъявляемые к станочным приводам


Требования к электроприводам и системам управления станками определяются технологией обработки, конструктивными возможностями станка и режущего инструмента.

Основными технологическими требованиями являются обеспечение:

·   самого широкого круга технологических режимов обработки с использованием современного режущего инструмента;

·   максимальной производительности;

·   наибольшей точности обработки;

·   высокой чистоты обрабатываемой поверхности;

·   высокой степени повторяемости (стабильности) размеров деталей в обрабатываемой партии.

Удовлетворение всем этим и другим требованиям зависит от характеристик станка и режущего инструмента, мощности главного привода и электромеханических свойств приводов подач и систем управления.

1.5 Электроприводы подач

Расширение технологических возможностей и, в первую очередь, многооперационных, а также освоение нового твердосплавного и быстрорежущего инструмента обеспечили возможность проведения на одном станке различных технологических операций: фрезерование, сверление, растачивание и т.д. Это в свою очередь привело к усложнению приводов подач, вследствие увеличения вращающегося момента на валу двигателя, расширения диапазона рабочих подач и установочных перемещений, увеличения быстродействия привода, как при управляющем воздействии, так и при возмущении по нагрузке.

В последнее время конструкция станков претерпела существенные изменения, вследствие значительного сокращения механической части привода подач.

Исключение коробки передач привело не только к сокращению механической части привода, но также к повышению коэффициента полезного действия и снижению момента инерции электромеханического привода. В связи с этим снизилась нагрузка на двигатель при холостых перемещениях и возросла составляющая от резания в общей нагрузке приводов подач. В большинстве современных станков средних размеров нагрузка на двигатель при рабочих подачах без резания составляет не более 20 - 30 % от номинальной.

Полный диапазон регулирования в станках фрезерной, расточной и токарной групп составляет 100 - 1000, а в карусельной расширяется до 30000 40000. Реальный диапазон регулирования привода подачи каждой оси станка с ЧПУ при контурном фрезеровании бесконечен, так как минимальная подача от каждой оси в двух точках обрабатываемой поверхности (окружности) равна нулю.

Скорость быстрых перемещений зависит от характеристик механической части привода, дискретности управления, максимальной частоты вращения приводного электрического двигателя, коэффициента усиления по скорости следящего привода и максимального значения ошибки, запоминаемой системой числового программного управления.

На небольших токарных и сверлильных станках, в том числе для сверления печатных плат с большим количеством операций и малым ходом, наибольшее значение имеет быстродействие привода и систем ЧПУ. В этих случаях часто производительность ограничена самим станком.

Система ЧПУ также вносит ограничение минимального времени разгона и торможение привода. Как известно, система может запомнить ограниченную ошибку между заданным и действительным положением координатных осей станка. Эта ошибка в разных системах составляет от ± 5мкм до ± 10мкм. Из-за неудовлетворительных динамических свойств регулируемого электрического привода, особенно при возмущении по нагрузке, появляется недопустимая шероховатость поверхности, поэтому весьма важно обеспечить высокое быстродействие привода, особенно при сбросе и наброске нагрузки, а также при реверсе двигателя под нагрузкой при самых малых частотах вращения. Стабильность характеристик комплектного электропривода при достаточно большом коэффициенте усиления определяется стабильностью входного усилителя и датчика скорости - тахогенератора. Причем наибольшая нестабильность имеет место при малых частотах вращения, когда полученный сигнал соизмерим с дрейфом нуля усилителя и падения напряжения в щеточном контакте тахогенератора.

Таким образом, основные требования, предъявляемые к современным станочным электроприводам следующие:

·   минимальные габариты электрических двигателей при высоком вращающем моменте;

·   высокая максимальная скорость;

·   значительная нагрузочная способность в режиме кратковременной и повторной кратковременной нагрузке;

·   широкий диапазон регулирования;

·   высокая стабильность характеристик и, в первую очередь усилителей и тахогенератора;

·   высокое быстродействие при апериодическом характере переходных процессов разгона и торможения;

·   высокое быстродействие при наброске и сбросе нагрузки и при реверсе под нагрузкой на самых малых частотах вращения;

·   высокая равномерность движения при различной нагрузке на всех скоростях, вплоть до самых малых;

·   высокая надежность и ремонтопригодность;

·   удобство конструктивной установки двигателя на станке и встройки преобразователей в шкафы и ниши станков;

·   малые габаритные размеры и расход активных материалов;

·   небольшой расход дефицитных материалов;

·   простота наладки, ремонта и эксплуатации;

·   высокая унификация узлов отдельных элементов;

·   высокая экономичность и малая стоимость.

Как видно из перечисленных требований совмещение всех их в одном устройстве принципиально не возможно. Поэтому при проектировании и применении станочных приводов в каждом конкретном случае удовлетворение одним требованиям достигается в ущерб другим.

.6 Обоснование модернизации

Шпиндель, система охлаждения, смазки и вентиляции работают от асинхронных двигателей и являются неуправляемыми.

По истечении лет электрооборудование отработало свой ресурс и вышло из строя.

Нехватка финансовых средств на предприятии обуславливает неполную замену станка, а лишь отдельные его части: замена шагово-гидравлического привода.

Основными недостатками привода являются: низкие динамические показатели.

В качестве приводов подач в станках с ПУ, в настоящее время, большое применение, находят тиристорные преобразователи (ТП).

Основное преимущество ТП - высокий КПД (95 - 99%) и высокое быстродействие (они практически безинерционы), ремонтопригодность.

ремонт электропривод станок преобразователь

2. Расчетная часть

.1 Выбор двигателя и преобразователя

Для выбора мощности ЭД необходимо рассчитать силы, которые действуют на заготовку и режущий инструмент. На рисунке 2 представлен схематический процесс обработки с размещением сил резания.

Рисунок 2 - Схематический процесс обработки

Воспользуемся методикой расчета, которая применяется при конструировании ЭП подач станков.

Произведем расчеты для выбора двигателя привода подачи по координате Z для нахождения момента сопротивления на валу двигателя и требуемой мощности.

Фактическая мощность ЭД определяется по формуле:

                                                                         (1)

где nном- номинальная частота вращения ЭД, мин-1;

Мv- суммарный момент сопротивления перемещению, приведенный к валу двигателя, Нм.

Величина момента Мz рассчитывается по формуле

                                                                       (2)

где Fv- тяговая сила, необходимая для преодоления сил полезного сопротивления, Н;шаг винта, принимаем hs=0.02м;

 - КПД редуктора, - передаточное число редуктора, т.к. редуктор убирается из модернизированного станка, то принимаем ,.

Сила Fv определяется по формуле:

                                                                          (3)

где Kп- коэффициент, учитывающий влияние опрокидывающего момента, который возникает вследствие несимметричного приложения силы подачи, для суппортов горизонтально - расточных станков принимаем Кп=1.1;z- составляющая сила резания, действующая в направлении подачи, Н;сила трения в направляющих, определяется по формулам, рекомендуемым нормалью станкостроения Н48-61:

                                                           (4)

где Qc- вес суппорта:

                                                                                  (5)

=1300·9.84=12,7кН=0.01 приведенный коэффициент трения;, Pz- составляющие силы резания Н, определяются по предложенным режимам резания базового ТП.

Рассчитаем силы резания по формуле:

                                                  (6)

где t- глубина резания, t=0.02м;

s- подача, s=2мм/об;, x, y, n- постоянные коэффициенты и показатели степени для расчетных условий, которые соответственно равны: 339, 0.5, 0.55, 0.5;поправочный коэффициент, учитывающий фактические условия обработки, Kp=1.1;

v - Скорость резания, v=15м/мин.

Осевая сила резания составляет:

Тангенциальную Pz и радиальную Py составляющие силы резания определяем из соотношения:

Px: Py: Pz= 1: 0.4: 0.25                                                                           (7)

отсюда Pх=1,16 кН; Py= 0,725 кН.

Таким образом, необходимая тяговая сила составляет:

Момент сопротивления, приведенный к валу двигателя:

Рассчитанное значение момента используем для определения серии ЭД.

Расчетное значение требуемой мощности ЭД:

кВт.

Определив момент сопротивления на валу двигателя, требуемую мощность привода подач с номинальным вращающим моментом Мн=10,5 Нм, частотой nн=1500 об/мин и расчетным значением мощности  выбираем привод взамен старого АОЛ-11.Проанализировав возможные варианты принимаем решение установить тиристорный преобразователь серии КЕМРОН исходя из следующих данных.

Основное преимущество ТП - высокий КПД (95 - 99%) и высокое быстродействие (они практически безинерционы), возможность управления , ремонтопригодность.

Применение ТП в электроприводе главного движения позволит:

улучшить удельные энергетические показатели на 50%;

достичь повышенной управляемости и быстродействия объекта регулирования;

уменьшить габариты и массу;

сократить число сбоев оборудования, вследствие своей высокой надежности и меньшего диапазона изменения своих параметров в случае непостоянства температуры.

Выбираем преобразователь тиристорный с частотным управлением двигателем постоянного тока.

2.2 Назначение, технические данные и устройство электропривода

типа «Кемрон»

Электроприводы типа «Кемрон» находят широкое применение в приводах подач металлорежущих станков благодаря высоким статическим и динамическим характеристикам, а также большому количеству типоразмеров (от 1,5 Нм до 170 Нм).

В комплект привода входят:

тиристорный преобразователь;

высокомоментный двигатель- постоянного тока со встроенными тахогене-ратором, резольвером, электромагнитным тормозом и позистором;

силовой трансформатор;

уравнительные дроссели;

быстродействующие силовые предохранители.

Наличие тормоза, резольвера и величины передаточного отношения к нему определяются, заказчиком, так же как и количество координат при одном общем силовом трансформаторе. Он представляет собой однокоординатный модуль, выполненный по блочной конструкции, обеспечивающей свободный доступ ко всем элементам и контрольным точкам.

Комплектные электроприводы с высокомоментными электродвигателями постоянного тока типа 23МВН2СР-М(1М).

номинальная частота вращения 750 мин

максимальная частота вращения 1500 мин

полоса пропускания частот  ≥20 Гц

номинальный ток 40А

максимальный кратковременный ток 250А

коэффициент неравномерности при

= 0.15 мин -1 ≤0,3

среднее ускорение 1300/2000 рад/сек

управляющие напряжение при максимальной частоте вращения ±10V

пульсации управляющего напряжения  ±2%

напряжение питания 3 ~ 38ОV

частота напряжения питания 50Н2 + 2%

Тиристорный преобразователь типа 4AEBL6.

Напряжение питания 205V

максимальное выпрямленное напряжение 160V

номинальный ток 40А

максимальный кратковременный ток     , 250

управляющее напряжение ;  О-10V

пульсации управляющего напряжения ≤2%

масса 11 кг

Силовой трансформатор7,7-380/205

Технические параметры

Номинальное входное напряжение (V) 3-380

Допустимое отклонение +10..-15

Частота сети 50 ± 2%

Номинальное линейное выходное напряжение 205

Номинальная мощность (кYA) 7,7

Описание работы преобразователя

Преобразователь выполнен по двухконтурной схеме подчиненного регулирования с регуляторами скорости и тока. Управление преобразователем - согласованное нелинейное на низких скоростях и раздельное на высоких скоростях (более 300 об/мин). Предусмотрено адаптивное управление коэффициентами усиления контура скорости на низких скоростях.

Большое число электронных защит исключает выходы из строя элементов преобразователя в аварийных ситуациях.

Приступим к подробному описанию принципиальной схемы привода.

Силовая схема (рисунок 4) преобразователя выполнена по реверсивной шести-пульсной однополупериодкой схеме выпрямления с уравнительными дросселями. Такая схема обеспечивает высокую полосу пропускания привода (до 40 Гц) и высокие динамические свойства, что оправдывает ее повышенную сложность.

Силовой трансформатор осуществляет согласование напряжения электродвигателя с напряжением сети питания. Обмотки трансформатора включены по схеме «треугольник - двойной зигзаг», чем достигается исключение потока вынужденного намагничивания и, как следствие, экономия стали. Векторная диаграмма напряжений силовой части приведена на рисунке 4.

Следует сделать некоторые пояснения к маркировке выводов силового трансформатора и построению векторной диаграммы. Применен трехфазный трансформатор с четырьмя обмотками на каждом стержне. Маркировка обмоток, расположенных на одном стержне, имеет однотипные буквы, например, первого стержня:

(А-X) - первичная обмотка;

(а-х, а1-х1, а2-х2) - вторичные обмотки.

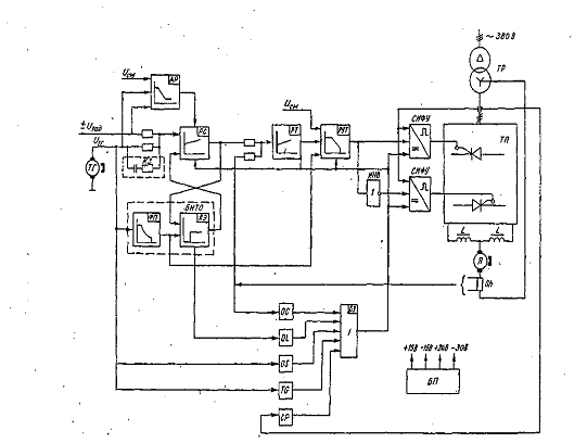
Рисунок 3 - Блок-схема привода «Кемрон»

Рисунок 4 - Силовая схема

Соединения в точках а2-b2-с2, сделаны внутри намотки и недоступны при эксплуатации.

Пофазный принцип маркировки выводов вторичной обмотки трансформатора может вызвать затруднения при анализе фазировок силового напряжения и управляющих импульсов СИФУ, поэтому на рисунке 5 указано двойное обозначение.

Физической прямой последовательности фаз R-S-Т-R-S-Т шестипульсиого напряжения соответствует последовательность Z1-Z-Х1-X-Y1-Y по фактическим обозначениям на выводных клеммах силового трансформатора.

При монтаже привода к выводам выпрямителя 1, 2, 3 подключаются инверсные фазы R, S, Т (или X, У, Z), а к выводам 4, 5, 6 прямые фазы R, S, Т (или Z1, X1, Y1) соответственно.

Для защиты тиристоров от коммутационных перенапряжений они охвачены RС-цепочками. Общая защита выполнена на быстродействующих предохранителях во вторичной цепи силового трансформатора.

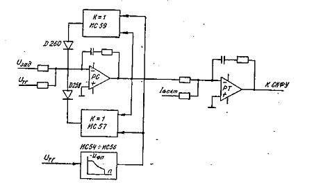
Регулятор скорости (рисунок 6) представляет собой пропорционально-интегральный (ПИ) регулятор и выполнен на трех операционных усилителях с раздельной регулировкой коэффициентов пропорционального усиления и времени интегрирования.

Первый каскад, на микросхеме ИС62, осуществляет пропорциональное усиление, второй каскад, на микросхеме ИС63,- регулирование времени интегрирования, и третий каскад, на микросхеме ИС64,- суммирование ошибки и ее интеграла. Регулятор скорости инвертирует входной сигнал (рисунок 7). Предусмотрен «ключ» на встречно включенных полевых транзисторах Т106-Т107, блокирующий регулятор скорости при срабатывании защиты. Он же создает нулевые начальные условия интегрирования при первоначальном включении привода. В цепи обратной связи по скорости предусмотрено корректирующее звено (С247, R353), подстраивать ускорение и уменьшить перерегулирование (рисунок 8). Параметры RС-цепочки подбираются иа заводе-изготовителе для конкретного приводного двигателя.

Рисунок. 5 - Векторная диаграмма силовых напряжений

Рисунок 6 - Регулятор скорости

Рисунок 7 - Диаграмма работы PC

Наладочное сопротивление R423 позволяет сделать регулятор пропорциональным, что полезно при первоначальном пуске привода.

Назначение регулировочных потенциометров следующее:

П17-балансировка регулятора скорости; П18, - регулирование пропорционального усиления; П20 - регулировка времени интегрирования.

Предусмотрено два входа для задающего сигнала Узад - прямой и дифференциальный. Подключение осуществляется перемычками М23, М24 и М25. Регулирование максимальной скорости электродвигателя осуществляется изменением величины обратной связи по скорости при помощи потенциометра П14.

Рисунок 8 - Регулятор тока

Регулятор тока (рисунок 8) также представляет собой ПИ-регулятор и выполнен на операционном усилителе ИС65. Входным сигналом РТ является выходное напряжение регулятора скорости, определяющее величину тока двигателя. В качестве датчика тока применен шунт Sh, сигнал которого через дифференциальный усилитель, выполненный иа ОУ ИС69, ИС70. подается в цепь обратной1 связи РТ. Сопротивление R415 позволяет регулировать величину тока.

Предусмотрена блокировка регулятора «ключом» на полевых транзисторах.

Запайкой сопротивления R397 регулятор можно сделать пропорциональным.

Сопротивления R4-24 и R425 предназначены для задания начальной величины тока при остановленном двигателе, т. е. для задания при необходимости момента, удерживающего, например, вертикальные координаты от падения. Однако, как правило, эти сопротивления не запаиваются.

При настройке PC и РТ следует помнить, что сопротивления, помеченные знаком *, подобраны на заводе-изготовителе для конкретного типа двигателя и менять их не следует.

Потенциометрами П18 и П20 добиваются оптимального переходного процесса на высоких скоростях, при этом в кривых скорости и тока не должно быть перерегулирования, а ток должен достигать максимального значения между 2-м и 3-м пульсами. Однако при снижении величины задающего напряжения, на низких скоростях, вновь появится перерегулирование. Для его уменьшения необходимо увеличить коэффициент пропорционального усиления и уменьшить время интегрирования. Для этой цели в приводе предусмотрен адаптивный регулятор коэффициента усиления.

Адаптивный регулятор предназначен для изменения коэффициента усиления и постоянной времени интегрирования PC в функции частоты вращения, что позволяет обеспечить высокие динамические характеристики привода. Принцип действия АР основан на широтно-импульсной модуляции (ШИМ). Параллельно потенциометрам П18-пропорционального и П20 - интегрирующего усилителей PC через «ключи» на полевых транзисторах включены потенциометры П19 и П21 соответственно (рисунок 9). Ключи и, следовательно, время параллельного включения потенциометров П19 и П21 управляются от АР. При этом выделяется три зоны (рисунок 10).

Рисунок 9 - Фрагмент регулятора скорости

Средние скорости, плавное изменение усиления и постоянной времени в функции скорости. Большие скорости, малое усиление, большая постоянная
времени, ключ разомкнут, потенциометры П19 и П21 отключены.

Блок-схема узла адаптации показана на рисунке 10 и включает в себя следующие элементы:

генератор треугольного напряжения, выполненный на ОУ ИС51 и ИС52;

сумматор входных сигналов ИС66;

схема выделения модуля входного сигнала ИС67;

компаратор ИС68, ИС53;

Преобразователь уровня напряжения, транзистор Т101;

ключи на полевых транзисторах 7104, Т105 и Т108, Т109. На вход компаратора подается три напряжения:

Напряжение треугольной формы от автономного генератора частотой около 10 кГц;

Отрицательное напряжение смещения, регулируемое потенциометром П23 и запирающее выход компаратора;

Выпрямленная сумма напряжений задания и тахогенератора положительного знака.

Скорость изменения этого напряжения регулируется потенциометром П22.

Работа узлов адаптации поясняется диаграммой рисунок 11. При малых скоростях положительное напряжение ИС67 меньше напряжения смещения с потенциометра П23. ОУИС68 насыщен в положительном направлении. Напряжение, на неинвертирующем входе ИС53 больше, чем. амплитуда треугольного напряжения на инвертирующем входе, следовательно, ИС53 насыщен также в положительном направлении. Транзистор. Т101 открыт, на входе ключей напряжение + 15 В, ключ замкнут, подключено параллельное сопротивление, усиление большое.

Рисунок 10 - Блок-схема узла адаптации

При больших скоростях напряжение ИС67 больше напряжения смещения. ИС68 и ИС53 насыщены в отрицательном направлении. Транзистор Т101 закрыт, на входе ключей напряжение - 30 В, ключ разомкнут, параллельное сопротивление не подключено, усиление малое.

На средних скоростях напряжения ИС67 и смещения соизмеримы, под действием треугольного напряжения ОУ ИС53 переключается по закону широтно-импульсной модуляции, обеспечивая плавное изменение коэффициента, усиления и соответственно времени интегрирования.

Чем больше коэффициент усиления ОУ ИС66, тем уже зона адаптации.

Следует отметить, что адаптивный регулятор работает только при малой сумме задающего напряжения и напряжения тахогенератора, при пуске и торможении с больших скоростей АР не работает, что обеспечивается суммированием указанных сигналов на ОУ ИС66.

Влияние регулировочных потенциометров на зависимость коэффициента усиления от скорости показана на рисунке 11.

В качестве ГТН применена типовая схема, состоящая из генератора линейно-изменяющегося напряжения на ИС52 и компаратора ИС51 с гистерезисной характеристикой за счет положительной обратной связи. Подробное описание его работы приведено в главе III.

Рисунок 11 - Диаграмма работы адаптивного регулятора

Рисунок 12 - Блок-схема нелинейного токоограничеиия

Рисунок 13 - Схема функционального преобразователя

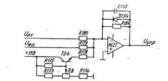
Блок нелинейного токоограничения обеспечивает ограничение тока якоря в функции частоты вращения, близкой к коммутационной кривой высокомоментного двигателя. Принцип работы БНТО поясняется схемой рисунок 12. Регулятор скорости PC охвачен двумя цепями обратной связи, выполненными на операционных усилителях ИС57 и ИС59, на входы которых подаются напряжения выхода PC и напряжение функционального преобразования, выполненного на ОУ ИС54+ИС56. Напряжение является функцией частоты вращения, причем форма кривой Un=f(n) копирует коммутационную кривую электродвигателя.

Если UРс<Uфп, то выход цепей обратной связи имеет полярность, запирающую диоды Д258, Д260, и токоограничение не работает.

При UРо>Uфп открывается один из диодов, в зависимости от направления вращения, и шунтируется вход регулятора скорости. Соответственно уменьшается напряжение на выходе PC, т. е. задание для регулятора тока РТ, и происходит ограничение величины тока.

Схема функционального преобразователя приведена на рисунке 13. Операционный усилитель ИС54 осуществляет выпрямление входного сигнала, и на его выходе формируется модуль напряжения |UТг|.

При нулевой скорости выходное напряжение ИС55 определяется величиной сопротивления R320, а напряжение ИС56 - напряжением смещения, снимаемого с потенциометра Ш2. До точки А при положительном напряжении ИС55 диод Д257 заперт, напряжение на выходе ИС56 отрицательное и постоянное. По мере повышения скорости, после точки А напряжение на выходе ИС55 становится отрицательным, диод Д257 открывается, напряжение на выходе ИС56 начинает уменьшаться по абсолютной величине. Открывающиеся последовательно диоды Д256, Д254, Д252 в цепи обратной связи ИС55 уменьшают его коэффициент усиления, формируя тем самым кривую токоограничения.

Рисунок 14 - Блок-схема СИФУ

В идеале - это кривая постоянной мощности , реально -на высоких скоростях нужно несколько уменьшить нагрузку, а на низких скоростях ее можно увеличить. Заштрихованная зона не используется, так как на практике максимальный ток в худшем случае достигается на 3-м пульсе, и при этом двигатель набирает такие обороты, что уже нужно ограничивать ток. Максимальная величина тока отсечки обычно Iотс = (4-6) Iном.

Способность двигателя выдерживать большие перегрузки - до (10-12) Iном - говорит лишь об общем качестве двигателей, их защищенности от размагничивания и не может быть реализована на практике.

Напряжение коммутационной кривой Uфл подается также в СИФУ, где суммируется с напряжением регулятора тока РТ, уменьшая величину уравнительного тока.

Модуль напряжения |Uтг| с потенциометра ПИ подается в схему защиты от превышения максимальной скорости.

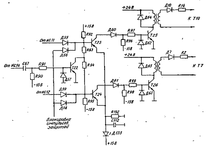
Система импульсно-фазового управления (СИФУ) привода выполнена по вертикальному принципу и состоит из трех одинаковых каналов управления для каждой из фаз питания R, S и Т.

Рисунок 15 - Диаграмма работы СИФУ

Рисунок 16 - Схема формирования управляющего напряжения СИФУ

Блок-схема СИФУ показана на рисунке 14, а диаграмма ее работы - на рисунке 15 и особых пояснений не требуют.

Напряжение синхронизации Ux (Uу, Uг) подается на каналы СИФУ с трансформаторов Т13, T14, Т15 соответственно. Это напряжение задерживается цепочкой П1 - С31 приблизительно на 63 эл. град, и подается на ключи ИС11 и ИС12. Напряжения на выходах ключей взаимоинверсны, однако фронты этих напряжений сдвинуты за счет rJ подачи разнополярного сме щения, регулируемого потенциометром П7. Формируемый на элементе «Я» короткий отрицательный импульс запускает ждущий генератор пилообразного напряжения, выполненный на ОУ ИС13 и транзисторе 721.

На элементах ИС14 и ИС15 осуществляется сравнение величины пилообразного напряжения с управляющими напряжениями, поступающими с ОУ ИС27 и ИС28. Выходные напряжения ИС14, ИС15 дифференцируются и через схемы управляют усилителями Т25, Т26 анодной группы тиристоров и ТЗО, Т31 катодной группы.

Рисунок 17 - Схема совпадения и генератора пилообразного напряжения

Следует особо отметить, что в формировании управляющего напряжения СИФУ (рисунок 16) участвует напряжение функционального преобразователя.

Потенциометром П8 устанавливается начальный угол запаздывания зажигания , чему соответствует Uупр=5 В.

Рисунок 18 - Усилитель управляющих импульсов

Диод Д134 в цепи ООС ИС27 ограничивает положительное напряжение на выходе до уровня 0,7 В, что исключает возможность «срыва» генерации управляющих импульсов, так как амплитуда положительного выброса напряжения пилообразной формы составляет большую величину - 2 В.

Конденсатор СИЗ предназначен для фильтрации пульсаций тока. На рис. 18показана схема и генератор пилообразного напряжения. При закрытом транзисторе Т21 конденсатор С60 заряжается от источника питания + 15 В, формируя линейно-изменяющееся выходное напряжение. Его крутизна, и следовательно амплитуда, регулируются потенциометром П72. В короткие моменты открытия транзистора Т21 конденсатор С60 быстро разряжается.

Сопротивление R88 и диод Д54 формируют положительный импульс «пилы» амплитудой 2 В.

Схема совпадения и усилителя управляющих импульсов приведена на рис. 18. Положительный фронт напряжения ИС14 дифференцируется, конденсатором, открывая транзистор Т22 и один из транзисторов Т23 или Т24, у которого на обоих входных диодах Д55, Д56 или Д58, Д59 отрицательные напряжения. Коллекторный ток транзисторов Т23 или Т24 открывает соответствующий выходной усилитель 7*25 или Т26, формируя управляющий импульс силовых тиристоров длительностью около 200 мкс. Каналы Y и Z работают аналогично.

Система защит преобразователя

В приводе предусмотрены следующие защиты:

от обрыва или неправильного чередования фаз;

отсутствия пилообразного напряжения;

отсутствия напряжения питания -30 В.

Эти три защиты объединены общим усилителем и индикацией СР-connecting protection:

превышения максимально допустимого тока и обрыва обратной связи по току ОС ;

обрыва обратной связи по скорости TG - taxogenerator;

длительной перегрузки OL - overload;

превышения максимальной частоты вращения OS - overspeed. Предусмотрено запоминание сигналов защит ОС, TG, OL и OS.

При срабатывании какой-либо из защит пуск привода возможен только после новой, подачи сигнала включения привода.

Рисунок 19 - Схема защиты от неправильного чередования и обрыва фаз

Готовность привода к работе индикатируется светодиодом RD - ready. При включении преобразователя загорается светодиод ON. Все защиты при срабатывании блокируют регуляторы скорости и тока, а также управляющие импульсы в СИФУ.

Рисунок 20 - Схема защиты СР

Схема защиты от обрыва или неправильного чередования фаз приведена на рис. 19. Здесь же показана векторная диаграмма шестифазного напряжения, поясняющая принцип действия защиты. При правильном включении R+R-0, S+S=0 и Т+Т=0. В случае обрыва фазы или неправильного соединения появляется неуравновешенное напряжение, отрицательная полуволна которого через один, из диодов Д13-Д16 поступает в схему защиты СР и вызывает ее срабатывание.

Ниже приведена схема защиты СР (рисунок 20).

Канал контроля пропадания напряжения -30 В одновременно является опорными напряжением для компаратора иа ОУ ИС41. Нормально, когда на выходе ИС41 отрицательное напряжение - транзистор Т66 закрыт.

Рисунок 21 - Блок-схема защиты ОС

При обрыве фазы на выходе ИС41 появляются импульсы положительного напряжения, транзистор Т66 открывается, снимаются сигналы включения ON и готовности RD. Конденсатор С153 осуществляет задержку при восстановлении защиты около (0,5-7-0,8) c.

Принцип работы защиты от пропадания пилообразного напряжения аналогичен. При нормальной работе на входе транзистора Т65 большое отрицательное напряжение и он открыт, что соответствует нулевому напряжению на входе ОУ ИС41 по данному каналу. При пропадании одного из пилообразных напряжений СИФУ транзистор Т65 периодически закрывается, и на выходе ИС41 появляются положительные импульсы, вызывающие срабатывание защиты СР.

Защита от пропадания напряжения питания -30 В работает следующим образом. При отсутствии напряжения -30 В входное напряжение неинвертирующего входа ОУ ИС41 становится равным нулю и защита срабатывает по каналу обрыва фаз.

Блок-схема защиты от превышения максимально допустимого тока ОС показана на рисунке 21, а развернутая принципиальная схема усилителя тока и компаратора - на рисунке 22.

Итак, коэффициент передачи усилителя модуля тока равен 3, а напряжение на его выходе всегда положительно и равно:

U= 3∙1,25 = 3,75В.

Порог срабатывания компаратора ИС42 настраивается несколько выше, Uоп=4В. Двигатель при этом не размагничивается.

При превышении максимально допустимой величины тока напряжение иа выходе ИС72 превышает опорное, что приводит к срабатыванию защиты ОС.

Схема памяти (рисунок 23) представляет собой бестоковый триггер, выполненный на транзисторах Т70 и Т71. В исходном положении оба транзистора закрыты под действием напряжения смещения- 15В.

Положительный импульс с компаратора ИС42 включает транзистор Т70 и, как следствие, транзистор 771.

Выключение триггера осуществляется отрицательным сигналом сброса от схемы деблокировки привода.

Снятием перемычки Мб можно исключить влияние защиты ОС на схему готовности RD и отключение привода.

Схема защиты от обрыва обратной связи по скорости показана на рис.24. Она включает в себя автоколебательный мостовой генератор Вина, выполненный иа ОУ ИС43, компаратор иа ИС44 и память иа транзисторах Т72, Т73.

При нормальной работе низкое омическое сопротивление тахогенератора ТГ через конденсатор С161 закорачивает генератор по высокой частоте и колебания отсутствуют.

На выходе ИС43 нулевое напряжение. При обрыве цепи тахогенератора возникают колебания частотой fs(1,2-7-1,3) кГц, вызывающие срабатывание защиты. Амплитуда и форма колебаний определяются величиной сопротивления R261. При малом R261 - колебания имеют прямоугольную форму, среднем - синусоидальную, а большом - колебания срываются.

Небольшой фильтр С162 исключает срабатывание защиты от ложных помех и отскоках щеток тахогенератора.

Схемы памяти и индикации аналогичны защите ОС.

Запайкой перемычки МП действие защиты TG можно исключить.

Схема защиты от длительной перегрузки OL и осциллограмма ее работы показаны на рисунке 24.

Рисунок 22 - Принципиальная схема защиты ОС

Здесь ИС57 и ИС59 - операционные усилители цепей обратной связи нелинейного токоограничения.

Если Uр.с<Uфп, т. е. токоограничение не работает, то на выходе ИС57 напряжение имеет положительный знак, а на выходе ИС59 - отрицательный. В этом

Рисунок 23 - Схема элемента памяти сигналов защит

Рисунок 24 - Принципиальная схема защиты 0L

Рисунок 25- Схема защиты OS

Насыщены в положительном направлении, диоды Д259 и Д261заперты,а конденсатор С224 заряжен от положительного       напряжения +15В источника питания. На выходе компаратора ИС45 отрицательное напряжение, диод Д227 заперт защита не работает.

Если Upc>Ubu, т. е. работает токоограничение, то на одном из ОУ, ИС57 или ИС59, в зависимости от полярности тока, напряжение на выходе станет равным -0,7 В или +-0,7 В соответственно. Эти напряжения превышают опорные ОУ ИС58 и ИС60 от делителей R338, R339 и R343, R344, следовательно, сработает одни из компараторов - ИС58 или ИС60.

Рисунок 26 - Принципиальная схема формирования сигналов готовности RD и включения привода ON

Напряжение на их выходе станет равным -15 В и конденсатор С224 начнет разряжаться через диоды Д259 и Д261. Второй цепью разряда конденсатора С224 является сопротивление R331» подключенное к напряжению UфП. Этим достигается определенная адаптация, так как при малой частоте вращения величина отрицательного напряжения СфП увеличивается и разряд происходит быстрее, соответственно при больших скоро стях- медленнее.

Если привод перегружен в течение времени больше Uзад, то переключается компаратор ИС45, что приводит к срабатыванию защиты.

Схемы памяти и сигнализации аналогичны.

Схема защиты от превышения максимальной скорости 0S включает в себя компаратор на ОУ ИС46 и память на транзисторах Т76 и Т77. Защита срабатывает при превышении заданной потенциометром ПИ предельно допустимой частоты вращения, т. е. при превышении напряжения модуля \UTr\ величины смещения задаваемого делителем на сопротивлениях R276, R277.

Установкой перемычки М20 можно ограничить скорость на низком уровне при первоначальном пуске.

Формирование сигналов готовности RD и включения преобразователя ON показано на рисунке 26.

Сигнал RD- «Готовность выдается на станок контактом реле Р1 при условии отсутствия всех сигналов защит и мгновенно пропадает при срабатывании любой из них.

Сигнал ON - «Включение привода» появляется с задержкой, обусловленной зарядом конденсатора С151 (0,5-0,6 с) при отсутствии сигнала защиты СР, наличии сигнала RD и деблокировки привода от станка.

Деблокировка может осуществляться как по входу, так и по выходу транзистора Т61. .

Выключение привода происходит мгновенно, при этом блокируются регуляторы скорости и тока, а также импульсы управления тиристорами.

Транзистор Т69 формирует сигнал сброса памятей электронных защит.

Источники питания. Питание схемы управления преобразователем осуществляется двумя стабилизированными выпрямителями с выходными напряжениями ±15 В и нестабилизированными напряжениями +24 В и -30 В.

В источнике ±15 В предусмотрена внутренняя защита ограничения тока, н он не боится коротких замыканий. Предусмотрена также защита от пропадания напряжения -15 В, прн этом автоматически блокируется и выход +15 В.

Преобразователь монтируется в электрошкаф в вертикальном положении. Температура в шкафу не должна быть более 45°С.

Электродвигатель устанавливается и монтируется в соответствии с инструкцией по эксплуатации электродвигателя

При подсоединении преобразователя к сети необходимо соблюдать правильность чередования фаз.

Проверить сопротивление изоляции преобразователя, относительно корпуса мегомметром на 500В.

При монтаже электропривода следует обратить особое внимание на надежность заземления корпусов электродвигателя, тиристорного преобразователя, дросселя, согласующего трансформатора.

Подсоединение кабелей внешнего монтажа производить в полном соответствии со схемой электрической соединений.

Провода 0, 90, 91, 129, 130 - выполнить экранированным проводом, скрутить, шаг скрутки 25 мм.

Полярности указаны для правого вращения со стороны вала.

Подсоединение выводов тахогенератора проводить "скруткой". Силовые цепи и цепи управления должны быть уложены в разные жгуты исключающие наводку.

.3 Расчет статических характеристик электропривода

Расчет осуществляется на основании технических данных:

согласующего трансформатора (таблица 2);

тиристорного преобразователя (таблица3 );

двигателя (таблица 4), встроенного тахогенератора (таблица 5);

редуктора (таблица 3);

Таблица 3 - Технические данные двигателя

Наименование

Обозначения

Значение

1

2

3

полезная мощность, КВт

Р2Н

7,7

напряжение на якоре, В

220

ток якоря, А

40

напряжение возбуждения , В

10

ток возбуждения, А

1,46

номинальное число оборотов, об/мин

750

момент инерции двигателя, кгс·м²

1,3

сопротивление обмотки (при T = 20 ºC), Ом: якоря независимого возбуждения

 Rя Rнв

 0,0828 67

число витков катушек/число катушек/соединение якоря - независимого возбуждения

 Nя Nнв

 324/2/паралл. 1100/2/посл.


Сопротивления обмоток даны при T = 20 ºC. Допустимая рабочая температура составляет 75 ºC. По формуле рассчитаны сопротивления обмоток при T = 75 ºC. Результаты занесены в таблицу 7.2.

(75ºC)=R(20ºC)·(1+0.004· ΔT )                                                     (2.1)

где R(20 ºC) - величина сопротивления при температуре 20 ºC, Ом; ΔT модуль разности рабочей и справочной температуры, ºC; R(75 ºC) - величина сопротивления при температуре 75 ºC, Ом.

Таблица 4 - Величина сопротивлений обмоток при температуре 75 ºC

Сопротивление обмотки при T = 75 ºC, Ом

Обозначение

Значение

якоря независимого возбуждения

Rя Rнв

0,101 82


По данным таблиц 3 и 4 рассчитываются следующие параметры:

а) ωн = ω0 - номинальная угловая скорость равная угловой скорости холостого хода двигателя, рад/с, по формуле (2.2)

ωн=ω0= (2·π·nн)/60                                                                       (2.2)

где наименование, значение, размерность символа nн представлено в таблице 3.

ωн = ω0 = 78,5 рад/с;

б) Мн - номинальный момент на валу двигателя, Н·м, по формуле:

Мн=Р2Н/ ωн                                                                                  (2.3)

где наименование, значение, размерность символа Р2Н представлено в таблице 3.

Мн = 98,1 Н·м;

в) КФн - номинальная конструктивная постоянная двигателя, (В·рад)/с, по формуле:

КФн=(Uн-Iн·Rяц)/ωн                                                                     (2.4)

где наименование, значение, размерность символов Uн, Iн представлено в таблице 3 и 4;

КФн = 1,316(В·рад)/с;

Таблица 5 - Технические данные тахогенератора

Параметр

Обозначение

Значение

номинальное число оборотов, об/мин

750

крутизна характеристики, мин -1

S

не менее 0,02

сопротивление нагрузки, КОм

не менее 20


В настоящем проекте производится проверка выбранного запаса по напряжению в преобразователе только для статических режимов поддержания скорости. При этом учитываются приведенные в задании величина колебания напряжения сети и перегрузки электропривода. Проверка проводится после расчета параметров силового оборудования. Должно выполняться выражение

0>Ed+ΔU1+ ΔU2                                                                           (2.25)

где Еd0 - ЭДС идеального холостого хода преобразователя, В, находится по формуле (2.26); Ed - ЭДС двигателя при максимальной скорости, В, находится по формуле (2.27); ΔU1 - снижение напряжения преобразователя, вызванное колебаниями ΔUc напряжения сети Uc (ΔUc составляет 15% от Uc), В, находится по формуле (2.28); ΔU2 - падение напряжения в силовой цепи преобразователь - двигатель при протекании максимального рабочего тока нагрузки Iмакс, В, находится по формуле (2.29)

0=1,35· U2л                                                                                   (2.26)

где U2л - напряжение вторичной обмотки трансформатора, В, значение представлено в таблице 2.4.

Ed0 = 1,35 · 220 = 425,25В;

=КФн·ωн                                                                              (2.27)

Ed = 1.206 · 157 = 189,39В;

ΔU1=Ed0· 0,15                                                                              (2.28)

ΔU1= 425,25 · 0,15 = 63.787В;

ΔU2=Iмакс·Rяц, (7.45)

ΔU2= 132 · 0,101 = 50,09В;

,25 > 189,39+ 63,78 + 50,09 = 303,272.

Запас по напряжению выбран верно, что позволяет сказать об оптимальных габаритах трансформатора, высоком коэффициенте мощности электроустановки, низких пульсациях выпрямленного напряжения и тока.

В переходных процессах восстановления динамического падения скорости дополнительный запас по выпрямленному напряжению необходим для преодоления влияния индуктивности якорной цепи двигателя на процессы изменения тока якоря.

3. Организация производства

.1 Организация планово-предупредительного ремонта

Под планово-предупредительным ремонтом следует понимать восстановление работоспособности машин путем рационального технического ухода, замены и ремонта изношенных деталей и узлов, проводимых по заранее составленному графику.

Межремонтное обслуживание включает наблюдение за выполнением правил эксплуатации оборудования, указанных в технических руководствах заводов- изготовителей, особенно механизмов управления, ограждений и смазочных устройств, а также своевременное устранения мелких неисправностей и регулирование механизмов. Межремонтное обслуживание выполняется во время перерывов в работе агрегата без нарушения процесса производства. Межремонтное обслуживание выполняют рабочие, обслуживающие агрегаты, и дежурный персонал ремонтной службы (слесари, электрики, смазчики и др.).

Профилактические испытания электрооборудования и электросетей проводятся на основе Правил технической эксплуатации и безопасности обслуживания электроустановок промышленных предприятий.

Малый ремонт - вид планового ремонта , при котором заменой или восстановлением изношенных деталей и регулированием механизмов обеспечивается нормальная эксплуатация агрегата до очередного планового ремонта.

Средний ремонт- вид планового ремонта , при котором производится частичная разборка агрегата, капитальный ремонт отдельных узлов , замена и восстановление основных изношенных деталей, сборка, регулирование и испытание под нагрузкой.

Капитальный ремонт- комплекс работ , включающий полную разборку агрегата, замена всех изношенных деталей и узлов, ремонт базовых и других деталей и узлов, сборку, регулирование и испытание агрегата под нагрузкой.

Внеплановый ремонт- вид ремонта, вызванный аварией оборудования или не предусмотренный годовым планом ремонта.

Для основного производства также необходимо снабжение материалами, полуфабрикатами, энергией различных видов, инструментом, транспортом. Выполнение всех этих многообразных функций составляет задачу вспомогательных подразделений предприятия: ремонтного, инструментального, энергетического, транспортного, складского и т.д.

Во вспомогательном производстве и техническом обслуживании на предприятии может быть занято до 50% всех рабочих. Из общего объема вспомогательных и обслуживающих работ на транспортно-складские приходится приблизительно 33% , на ремонт и обслуживание основных фондов - 30, на инструментальное обслуживание - 27, на энергообслуживание - 8 и на прочие работы - 12. Таким образом, на ремонтное, энергетическое, инструментальное, транспортное и складское обслуживание приходится примерно 88% общего объема этих работ. От их правильной организации и дальнейшего совершенствования в наибольшей мере зависит повышение эффективности технического обслуживания производства в целом.

Ремонтное хозяйство создается на предприятии для того, чтобы обеспечить с минимальными затратами рациональную эксплуатацию его основных производственных фондов . Основными задачами ремонтного хозяйства являются: осуществление технического обслуживания и ремонта основных производственных фондов; монтаж вновь приобретенного или изготовленного самим предприятием оборудования; модернизация эксплуатируемого оборудования; изготовление запасных частей и узлов (в том числе для модернизации оборудования), организация их хранения; планирование всех работ по техническому обслуживанию и ремонту, а также разработка мероприятий по повышению их эффективности. В состав ремонтного хозяйства предприятия входят: отдел главного механика, ремонтно-механический цех, смазочное и эмульсионное хозяйства, склады оборудования и запасных частей. В цехах организуются цеховые ремонтные службы, возглавляемые механиками цехов. Отдел главного механика имеет в своем составе следующие подразделения: конструкторско-технологическое бюро, осуществляющее подготовку всей необходимой технической документации по ремонту, модернизации и уходу за оборудованием; планово-производственное бюро, занимающееся планированием и диспетчеризацией работы ремонтных цехов, а также материальной подготовкой ремонтных работ; бюро планово-предупредительного ремонта (ППР), осуществляющее общее руководство и контроль за соблюдением системы ППР на предприятии. Руководит ремонтным хозяйством главный механик, подчиненный главному инженеру предприятия.

В процессе работы отдельные части машин и оборудования подвергаются износу. Восстановление их работоспособности и эксплуатационных свойств достигается путем ремонта, эксплуатацией и уходом за оборудованием. Основу для этого на промышленных предприятиях составляет система технического обслуживания и ремонта основных фондов , представляющая собой совокупность взаимосвязанных положений, средств, организационных решений, направленных на поддержание и восстановление качества эксплуатируемых машин, механизмов, сооружений, зданий и других элементов основных фондов.

Ведущую форму системы технического обслуживания и ремонта техники на предприятиях промышленности составляет система планово-предупредительного ремонта оборудования (ППР). Под системой ППР понимается совокупность запланированных мероприятий по уходу, надзору и ремонту оборудования. Работы по обслуживанию и ремонту оборудования при системе ППР включают: уход за оборудованием, межремонтное обслуживание, периодические ремонтные операции. Уход за оборудованием состоит в соблюдении правил технической эксплуатации, поддержании порядка на рабочем месте, чистке и смазке рабочих поверхностей.

Осуществляется он непосредственно производственными рабочими, обслуживающих агрегаты под контролем производственных мастеров. Межремонтное обслуживание заключается в наблюдении за состоянием оборудования, за выполнением рабочими правил эксплуатации, в своевременном регулировании механизмов, устранении мелких неисправностей. Выполняется оно дежурными работниками ремонтной службы без простоя оборудования - в обеденные перерывы, нерабочие смены и т.д. Периодические ремонтные операции включают промывку оборудования, смену масла в смазочных системах, проверку оборудования на точность, осмотры и плановые ремонты - текущий, средний и капитальный. Выполняются эти операции ремонтным персоналом предприятия по заранее разработанному графику. Промывке как самостоятельной операции подвергается не все оборудование, а лишь то, которое работает в условиях большой запыленности и загрязненности, например литейное оборудование, оборудование по производству пищевых продуктов. Смена масла производится во всех смазочных системах с централизованной и другими системами смазки по специальному графику, увязанному с графиком проведения плановых ремонтов. Проверке на точность подвергается все оборудование после проведения очередного планового ремонта. Отдельно по особому графику проверяется периодически все прецизионное оборудование. Проверка на точность заключается в выявлении соответствия действительных возможностей агрегата требуемой точности его работы. Проводится эта операция контролером ОТК с помощью ремонтного слесаря.

Осмотрам периодически подвергается все оборудование. Их задача - выявление степени изношенности деталей, регулирование отдельных механизмов, устранение мелких неисправностей, замена износившихся или утерянных крепежных деталей. При осмотре оборудования уточняется также обьем предстоящего ремонта и сроки его проведения. Текущий ремонт представляет собой наименьший по объему вид планового ремонта, выполняемый для обеспечения или восстановления работоспособности агрегата. Он заключается в частичной разборке машины, замене или восстановлении отдельных ее узлов и деталей, ремонте несменяемых деталей.

Средний ремонт отличается от текущего большим объемом работ и числом изношенных деталей, подлежащих замене.

Капитальный ремонт - полное или близкое к полному восстановление ресурса агрегата с заменой (восстановлением) любых его частей, включая базовые. Следовательно, задача капитального ремонта - привести агрегат в состояние, полностью отвечающее его назначению, классу точности и производительности. Прогрессивные системы ППР исходят из осуществления за ремонтный цикл только двух видов планового ремонта - текущих и капитального, т.е. без средних ремонтов. При этом капитальный ремонт за частую сопровождается модернизацией оборудования. В зависимости от степени централизации ремонтных работ различают три формы их организации: централизованную, децентрализованную и смешанную. Централизованный ремонт предусматривает, что все виды ремонта и межремонтного обслуживания производятся силами ремонтно-механического цеха, подчиненного главному механику предприятия, децентрализованный - цеховыми ремонтными службами под руководством механика цеха. Смешанная форма организации ремонта основана на различных комбинациях централизованной и децентрализованной форм. Во многих случаях смешанная форма предусматривает осуществление всех видов ремонтных операций и межремонтного обслуживания, кроме капитального ремонта, цеховыми ремонтными службами, как это имеет место при децентрализованной системе. Капитальный -же ремонт производит ремонтно-механический цех.

Кроме различных форм внутризаводского ремонта, организован вне заводской специализированный капитальный ремонт оборудования. Наряду с планово-предупредительными ремонтами, составляющими основу технического обслуживания и ремонта основных фондов, на предприятиях могут иметь место также внеплановые (аварийные) и восстановительные ремонты. Необходимость в аварийном ремонте может возникнуть в результате непредвиденного выхода оборудования из строя. Восстановительный ремонт имеет своим объектом те элементы основных фондов, дальнейшая эксплуатация которых более невозможна.

Внедрение системы ППР требует предварительного проведения ряда подготовительных работ. К ним относятся: классификация и паспортизация оборудования; составление спецификаций сменных и запасных деталей и установление норм запаса последних; разработка альбомов чертежей по каждому типоразмеру оборудования; организация хранения запасных деталей и узлов; разработка инструкций производственному и ремонтному персоналу по техническому обслуживанию оборудования и технологической документации по его ремонту. Классификация оборудования имеет целью определенную его группировку по признакам однотипности для определения числа одноименных сменных деталей, составлению инструкций по техническому обслуживанию оборудования, разработка типовой технологии ремонтных работ и т.д.

Назначение паспортизации - иметь полную техническую характеристику всех эксплуатируемых на предприятии орудий труда. Паспорт заводится на каждую единицу заводского оборудования. В нем фиксируются его технические данные и их изменение, режимы работы, допустимые нагрузки, результаты осмотров и ремонтов. Паспорт оборудования - исходный документ при организации и планировании его ремонта и технического обслуживания. Составление спецификаций сменных и запасных деталей , альбомов чертежей необходимо для своевременного их изготовления и разработки технологии ремонтных работ. Сменными называются детали машин, подвергающиеся износу и подлежащие замене при ремонте. Срок их службы не превышает длительности ремонтного цикла. Сменные детали, которые необходимо иметь в постоянно возобновляющемся запасе, называются запасными деталями. Для хранения запасных деталей создаются общезаводской склад запасных деталей и узлов, а в необходимых случаях - и кладовые в производственных цехах.

Разработка инструкций производственному и ремонтному персоналу, а также технологии ремонтных работ имеет целью повысить организационно-технический уровень текущего обслуживания и ремонта оборудования и тем самым способствовать более эффективному его использованию на предприятии.

.2 Расчет трудоемкости затрат на выполнение ремонтных работ

Организация и планирование ремонта оборудования при системе ППР основываются на определенных нормативах, позволяющих планировать объемы ремонтных работ, их очередность, сроки проведения, как по группам однородных станков, так и в целом по предприятию и его отдельным подразделениям. Система этих нормативов включает: категории сложности ремонта, ремонтные единицы, длительность и структуру ремонтных циклов, длительность межремонтных и межсмотровых периодов, длительность ремонтного периода. К ним примыкают также нормативы межремонтного обслуживания оборудования, нормы расхода материалов, запасных частей и запасов быстроизнашивающихся деталей. Методика расчета нормативов и их конкретные величины для разных видов оборудования и условий его эксплуатации определены Единой системой ППР. Каждой единице производственного оборудования присваивается соответствующая категория сложности ремонта. Чем сложнее агрегат, тем она выше, и наоборот. В машиностроении для оценки ремонтных особенностей оборудования в качестве агрегата-эталона принят токарно-винторезный станок 1К62 с высотой центров 200 мм и расстоянием между центрами 1000 мм. Этому станку присвоена одиннадцатая категория сложности ремонта. Отнесение любого агрегата к категории сложности производится на основе его соотнесения с агрегатом-эталоном. Категория сложности ремонта обозначается буквой “R”, а ее значение, присвоенное данному агрегату, числом перед этой буквой. Например 1R обозначает агрегат первой категории сложности . В общем случае категория сложности ремонта R определяется в зависимости от конструктивных и технологических особенностей оборудования. Например, категория сложности ремонта токарных станков Rтс определяется по следующей формуле

тс=а(Kh+Kl+Kn)+C1+C2

где а - коэффициент, характеризующий конструктивные особенности станка; Kh - коэффициент, учитывающий высоту центров; Kl - коэффициент, учитывающий расстояние между центрами; Kn - коэффициент, учитывающий число ступеней скорости шпинделя; С1 - составляющая, характеризующая особенности и сложность ремонта отдельных механизмов; С2 - составляющая, характеризующая сложность ремонта гидросистемы. Категория сложности, является, таким образом, качественным критерием ремонтных особенностей оборудования. Трудоемкость ремонтных работ агрегата измеряется в ремонтных единицах. Ремонтную единицу принято обозначать буквой “r”. Значения категории сложности и ремонтной единицы для любого агрегата совпадают.

Применительно к ремонтной единице разрабатываются методами технического нормирования нормы затрат рабочего времени по видам ремонтных операций и характеру работ. В таблице 11 приведены соответствующие нормы на одну ремонтную единицу (в человеко-часах).

Таблица 11 Нормы работы с одной ремонтной единицей

Наименование

Слесарные работы

Станочные работы

Прочие работы

Всего

Промывка как самостоятельная операция

0.35

-

-

0.35

Проверка на точность как самостоятельная операция

0.4

-

-

0.4

Осмотр перед капитальным ремонтом

1.0

0.1

-

1.1

Осмотр

0.75

0.1

-

0.85

Текущий ремонт

4.0

2.0

0.1

6.1

Капитальный ремонт

10.0

2.0

35.0


Пользуясь приведенными нормативами, можно подсчитать трудоемкость ремонта оборудования по цеху, предприятию и т.д. Определение объема работ по межремонтному обслуживанию осуществляется по нормативам обслуживания. Например, для дежурных слесарей, смазочников и станочников установлены следующие нормы обслуживания на одного рабочего в смену в ремонтных единицах: слесари - 500, смазчики - 1000 и станочники 1500.

Для каждого вида оборудования устанавливается нормативная длительность ремонтного цикла. Ремонтным циклом называется наименьший повторяющийся период эксплуатации оборудования, в течении которого осуществляются в определенной последовательности все установленные виды технического обслуживания и ремонта. Поскольку все они осуществляются в период от начала эксплуатации оборудования и до его первого капитального ремонта либо между двумя последующими капитальными ремонтами, ремонтный цикл определяют также , как период эксплуатации оборудования между двумя следующими друг за другом капитальными ремонтами.

Межремонтным периодом называется период работы оборудования между двумя очередными плановыми ремонтами. Межосмотровый период - это период работы оборудования между двумя очередными осмотрами или между очередным плановым ремонтом и осмотром. Ремонтным периодом называется время простоя оборудования в ремонте. В настоящее время приняты следующие нормы простоя оборудования в ремонте на одну ремонтную единицу (см.табл.12).

Таблица 12 Нормативы ремонтных работ

Вид ремонта

в одну смену (суток)

в две смены (суток)

в три смены (суток)

Текущий

0.25

0.14

0.1

Капитальный

1.0

0.54

0.41


В общем случае время пребывания оборудования в ремонте Трем может быть определено по формуле

Трем=tремr/btсмКсмКн,

где tрем - норма времени на слесарные работы на одну ремонтную единицу данного вида ремонта; r - группа сложности ремонта оборудования; b - число одновременно работающих слесарей в смене; tсм - продолжительность смены; Ксм - коэффициент сменности работы ремонтных рабочих; Кн - коэффициент выполнения норм ремонтными рабочими.

Длительность ремонтного цикла зависит от особенностей конструкции оборудования, условий его эксплуатации и других факторов. Для различных видов оборудования она может существенно отличаться. Например, для металлорежущего оборудования она составляет 26000 ч. , для ковочных машин и кузнечно-прессовых автоматов - 11700 ч., для литейных и формовочных конвейеров - 9500 ч. , и т.д.

Количество и последовательность ремонтных операций, входящих в ремонтный цикл, образуют его структуру. Каждая группа оборудования имеет свою структуру ремонтного цикла. Например, структура ремонтного цикла для токарных, фрезерных и других металлорежущих станков с массой от 10 до 100 т. включает : один капитальный, пять текущих ремонтов и 12 осмотров, а для тех же станков с массой свыше 100 т. - один капитальный, шесть текущих ремонтов и 21 осмотр.

На основе ремонтных нормативов и результатов технического осмотра оборудования составляются годовой, квартальный и месячный планы и графики ремонтных работ. В планах определяются виды технического обслуживания и ремонтных работ, их трудоемкость, плановые простои по каждому виду оборудования, объем ремонтных работ по каждому цеху и предприятию в целом. Одновременно определяется количество и стоимость запасных частей и материалов для ремонта оборудования, численность ремонтного персонала по его категориям. Планирование ремонтных работ ведется планово-производственным бюро (ППБ) отдела главного механика. Разработка планов начинается с цеховых годовых графиков ремонта, охватывающих все оборудование каждого цеха. На основе годового и квартального планов составляются уточненные месячные планы и графики с учетом данных предшествующих осмотров и проверок. Они являются оперативным заданием цеху на производство ремонтных работ.

Основными технико-экономическими показателями, характеризующими работу ремонтной службы предприятия, являются: трудоемкость и себестоимость технического обслуживания и ремонта каждого вида оборудования, удельный вес ремонтного персонала в общей численности работающих, процент простоя оборудования в ремонте по отношению к режимному фонду времени работы, расход вспомогательных материалов на единицу оборудования.

Возрастающее значение эффективного обслуживания и ремонта оборудования для бесперебойного функционирования производства требует дальнейшего их совершенствования. Важнейшими путями этого совершенствования являются:

своевременное обеспечение предприятия запасными частями и крепежными деталями, укрепление дисциплины по соблюдению договоров поставок между предприятиями промышленности и предприятиями производящими комплектующие для их оборудования;

развитие системы филиалов по техническому обслуживанию со стороны фирм-производителей оборудования;

применение передовых методов и технологий проведения ремонтных работ;

совершенствование системы организации труда ремонтного персонала, повышение квалификации ремонтного персонала, тесное взаимодействие в области снабжения технической информацией с фирмами производителями оборудования.

4. Экономическая часть

.1 Расчет сметы затрат на модернизацию привода подачи станка 16К20Т1

В экономической части данного проекта составляется смета затрат на модернизацию привода подачи станка 16К20Т1. Смета затраты на установку и покупку электропривода включает материальные, трудовые и накладные затраты.

Таблица 1- Расчет стоимости ПКИ

Наименование

Единица измерения

Норма расхода, Н.

Отпускная цена. Цотп руб.

Стоимость ПКИ

1

Электропривод типа КЕМРОН

шт.

1

25600

25600

2

Комплект крепежа для установки привода

шт.

1

850

850

Итог суммы ПКИ полуфабрикатов Ски обo

26450


4.1 Расчет материальных затрат

Материальные затраты определяются по формуле:

МЗ = Спки + ТЗР, руб                                                                  (1)

где С пки - стоимости ПКИ

ТЗР - транспортно заготовительных расходы

Стоимость комплектующих покупных изделий Спки рассчитывается по формуле

Спки = Цотп х Hрi ,руб                                                                        (2)

где Цотп - отпускная цепа ПКИ, руб.

H р i -норма расхода, шт.

Полученные данные сводим в таблицу 1:

Транспортно - заготовительные расходы определяются в размере 6,0% от стоимости ПКИ

ТЗР = 6,0% СП СН , руб                                                                        (3)

ТЗР = 6,0% х26450=0,06х26450=1587 руб

Таким образом стоимость материальных затрат на модернизацию привода подачи станка 16К20Т1 составит:

МЗ=26450+1587=28037 руб

В результате расчетов получено, что материальные затраты на модернизацию привода подачи станка 16К20Т1 составляют 28037 руб, но если будет серийное производство модернизации привода, то следует рассчитать трудовые и накладные расходы и рассчитать отпускную цену модернизацию привода подачи станка 16К20Т1.

.2 Расчет трудовых затрат

Монтаж привода производится электромонтажником 2-го разряда, с часовой тарифной ставкой 35,50 руб. Затраты рабочего времени на модернизацию привода равны 16 часов. Т.о. тарифная заработная плата Зт.изд монтажника на модернизацию привода составит 35,50∙16=568 руб.

Определяем основную заработную плату Зосн на изделие с учетом премии и районного коэффициента по формуле :

Зосн=Зт.изд х ηпр х ηрк , руб                                                      (4)

где ηпр коэффициент, учитывающий приработок ηпр= 1,6 (60%);

ηрк районный коэффициент, ηпрк = 1,15 (15%)

Зосн=568 х1,6х1,15=1045,1 руб

Определяем облагаемую заработную плату 3обл как произведение тарифной за работной платы на районный коэффициент

обл=3т.изд х ηрк , руб                                                                  (5)

обл=568х1,15=653,2 руб

Определяем дополнительную заработную плату Здоп. В условиях действующего производства принимается в размере 16 % от 3осн:

Здоп=16%хЗосн , руб                                                                   (6)

Здоп=0,16х1045,1=167,2 руб

Определяем отчисления единого социального налога Оесн (28,8%) от суммы основной и дополнительной заработной платы

Оесн=28,8%(Зосн+Здоп) , руб                                                      (7)

Оесн=0,288 (1045,1+167,2)=349,2 руб

Трудовые затраты рассчитываем по формуле:

ТЗ= Зосн+Здоп+ Оесн , руб                                                          (8)

ТЗ=1045,1+167,2+349,2 9=1561,5 руб

В результате расчетов получено, что трудовые затраты на модернизацию привода составляют 1561,5 руб

4.3 Смета затрат на модернизацию привода подачи станка 16К20Т1

Определяем общепроизводственные расходы ОПР в размере 162 % от основной заработной платы:

ОПР = 162 % х 30СН , руб                                                           (9)

ОПР=1,62х1045,1=1693,1 руб

Цеховую себестоимость Сцех рассчитываем по формуле:

Сцех = МЗ + ТЗ + ОПР , руб                                                        (10)

Сцех=28037+1561,5+1693,1=31291,6 руб

Вывод: Материальные затраты на модернизацию привода подачи станка 16К20Т1 составили 28037 руб.

Таблица 2-Смета затрат на модернизацию привода подачи

п/п

Статья затрат

Сумма руб.

1

Покупные комплектующие изделия и полуфабрикаты

26450

2

Транспортно-заготовительные расходы

1587

3

Основная заработная плата производственных рабочих

1045,1

4

Дополнительная заработная плата производственных рабочих

167,2

5

Отчисления ЕСН и страховки от несчастных случаев

349,2

6

Общепроизводственные расходы

1693,1


5. Техника безопасности

.1 Мероприятия по технике безопасности при монтаже электрооборудования

Техника безопасности - это система организационных мероприятий и технических средств, предотвращающих воздействие на работающего опасных производственных факторов. К опасным и вредным производственным факторам можно отнести:

повышенное напряжение;

шум, вибрации;

вращающиеся части механизмов станков и обрабатываемые детали;

металлическая стружка.

Технические средства безопасности, предусмотренные в конструкции станка:

гибкие передачи, соединяющие электрический двигатель главного движения с редуктором, защищены кожухом;

зона резания защищена защитным кожухом со смотровым стеклом;

винты продольной и поперечной подачи защищены кожухом;

при нажатии “грибковой” кнопки “общий стоп” производится останов всех приводов подач и привода шпинделя;

на пульте управления станком установлена кнопка “общий стоп”;

местное освещение питается пониженным напряжением 36В;

вводной автомат сблокирован с дверцами электрошкафа. При открытых дверцах вводной автомат выключен;

на станине, электрошкафу, пульте управления, каретке предусмотрены болты заземления.

в электросхеме станка предусмотрена нулевая защита;

электроаппаратура питается напряжением 110В, 36В и расположена в защитном электрошкафу и пульте управления;

разводка по станку выполнена в металлических коробах, металлорукавах и шлангах;

на пульте управления станком имеется сигнальная лампа, которая сигнализирует о подключении станка к сети.

Для безопасной эксплуатации станка необходимо:

соблюдение всех общих правил охраны труда при работе на металлорежущих станках, а также требования настоящей инструкции;

перед включением станка убедится, что его пуск не опасен для людей, находящихся в его близости;

в первый период после пуска станка не рекомендуется работать при максимальных оборотах шпинделя;

обеспечить надежное крепление детали;

при обработке детали в патроне не допускается выступание кулачков за наружный диаметр патрона. В случае большого диаметра обрабатываемой детали необходимо применять специальный патрон;

при обработке детали с поджимомом центра, запрещено применять центр с изношенным конусом;

запрещается работать на станке с открытыми ограждениями;

запрещается прикасаться руками к вращающимся частям станка, а также к обрабатываемой детали;

запрещается производить уборку, чистку, смазку, установку и съем детали при работе станка;

станок должен быть заземлен в соответствии с “Правилами устройства электроустановок” и Межотраслевыми правилами по охране труда при эксплуатации электроустановок.

перед включением вводного автомата необходимо закрыть дверцы шкафа на замок специальным трехгранным торцевым ключом;

в случае неисправности электрооборудования станка необходимо вызвать электрика, категорически запрещается производить ремонт оборудования лицам, не имеющим допуск на право работ с электроустановками;

перед осмотром или ремонтом электрооборудования станка необходимо отключить вводной автомат и вывесить запрещающий плакат “Не включать - работают люди”;

при работе в центрах с плавающим центром в шпинделе передней бабки необходимо, во избежание вырывания детали из центра, обеспечить осевое усилие поджима детали не менее силы резания;

при работе с вращающимся центром в задней бабке усилие поджима пиноли выбирать исходя из допустимых нагрузок на вращающийся центр , при этом суммарная осевая нагрузка не должна превышать: для центра I - Б - У - 650кг.

скорость резания при установленных защитных экранах не должна превышать 5 м/с;

к работе на станке, допускаются лица, прошедшие обучение и инструктаж по ОТ;

к обслуживанию электрооборудования допускаются лица, имеющие квалификационную группу по электробезопасности не ниже второй.

До начала работ на объекте монтажный персонал необходимо подробно проинструктировать по вопросам техники безопасности.

Во всех наиболее опасных местах данного объекта необходимо вывесить соответствующие плакаты и предупреждающие знаки. Все не заделанные проёмы должны быть ограждены, а отдельные участки монтажа иметь достаточное естественное или искусственное освещение.

На месте работы необходимо иметь аптечку. Все работающие на объекте обязаны знать правила освобождения пострадавшего от действия электрического тока и уметь оказывать первую неотложную помощь.

При монтаже оборудования и аппаратуры на высоте более 1,5 м. работы следует вести только с лесов, которые должны иметь перила высотой 1 м. и бортики, предотвращающие падение инструментов. Поднимать и устанавливать на место аппаратуру массой до 20 кг. необходимо вдвоём. При большей массе аппаратов в условиях закрытого распределительного устройства используют блоки и тали, а на территории открытого распределительного устройства - передвижные стрелы и автокраны.

Прежде чем устанавливать аппаратуру и оборудование следует проверить надёжность и прочность опорных конструкций и крепёжных деталей. Ножи и ход тяг между разъединителями и их приводом регулируют. Работающие должны строго согласовывать свои действия, чтобы не травмировать руки подвижными контактами аппарата. Перемещать выключатели следует только в положении “включено”. Перед тем как производить дистанционное включение и отключение выключателя необходимо снять рукоятку ручного управления.

.2 Противопожарные мероприятия

Пожар может возникнуть при повреждении действующего оборудования и воспламенения горючих материалов , а также во время ремонтных работ при пользовании открытым огнем (пайка, сварочные работы) в случае несоблюдения мер пожарной безопасности.

Место проведения огневых работ необходимо обеспечить средствами тушения пожара (огнетушители, ящики с песком, ведро с водой), а если в близи этих работ находятся возгораемые конструкции, то они должны быть защищены от огня. Запрещается пользоваться открытым огнем при работе с лаками, красками, содержащими огнеопасные и взрывоопасные летучие растворители.

При загорании бригада должна немедленно приступить к тушению пожара всеми имеющимися средствами. Если ликвидировать пожар собственными силами не удается, то необходимо вызвать пожарную команду.

Тушение пожара электрооборудования производят при снятом напряжении, не допускается перехода огня на рядом расположенное электрооборудование. При загорании маслонаполненной аппаратуры можно пользоваться любыми средствами пожаротушения: воздушно-механической пеной, распыленной водой, огнетушителями.

При тушении кабельной линии, проводов, аппаратуры применяют углекислотные или углекислотные - бром этиловые огнетушители. Если напряжение снять невозможно, допускается тушение пожара распыленными водяными струями, при этом ствол пожарного рукава должен быть заземлен, а работать следует в диэлектрических ботах и перчатках.

За состоянием электрохозяйства объекта должен быть установлен постоянный надзор путем периодической проверки электросетей, как наружным осмотром, так и с помощью приборов по измерению сопротивления изоляции.

Все работники предприятия должны проходить противопожарный инструктаж. Электрический персонал должен проходить периодическую проверку знаний ППБ одновременно с проверкой знаний правил безопасности труда при эксплуатации электроустановок.

Заключение

В данном дипломном проекте произведена поверка двигателя постоянного тока по мощности и замена привода подач. Модернизирован электропривод подачи станка с ЧПУ модели 16К20Т1. Для замены привода выбран электропривод постоянного тока типа КЕМРОН. Проведено технико-экономическое обоснование модернизации электрооборудования.

Материальные затраты составят 28037 руб., а общепроизводственные расходы 1693,1 рублей.

Библиографический список литературы

 

1. Капунцов Ю.Д., Елисеев В.А., Ильяшенко Л.А. Электрооборудование и электропривод промышленных установок. - М.: Высшая школа, 1979.

. Белов М.П., Новиков В.А., Автоматизированный электропривод типовых производственных механизмов и технологических комплексов - М: Высшая школа, 2004.

3. Драчев Г.И. Теория электропривода. Ч. 1999

. Мелкозеров П. С. Приводы в системах автоматического управления. М.-Л., «Энергия», 1966.

. Безопасность технологических процессов и производств. Под ред. В.Л.Лапина -2-е изд. исправл.и дополн.- М. «Высшая школа», 2002

. Справочник по проектированию автоматизированного электропривода и систем управления технологическими процессами/Под ред. Н.С. Мовсесова, А.М. Храмушина. - М.: Энергоиздат, 1982

7. Межотраслевые правила по охране труда (правила безопасности) при эксплуатации электроустановок- М. «Издательство НЦ ЭНАС», 2001

. Общемашиностроительные нормативы режимов резания для технического нормирования работ на металлорежущих станках. Часть I - я. - М.: Машиностроение, 1974

Похожие работы на - Модернизация электропривода подачи станка 16К20Т1

 

Не нашли материал для своей работы?
Поможем написать уникальную работу
Без плагиата!
Без нейросетей!