Технология и машины лесосечных работ

  • Вид работы:
    Дипломная (ВКР)
  • Предмет:
    Сельское хозяйство
  • Язык:
    Русский
    ,
    Формат файла:
    MS Word
    3,32 Мб
  • Опубликовано:
    2013-08-05
Вы можете узнать стоимость помощи в написании студенческой работы.
Помощь в написании работы, которую точно примут!

Технология и машины лесосечных работ

План

Введение   

.        ОСНОВНЫЕ СВЕДЕНИЯ О ПРЕДПРИЯТИИ      

. Лесосечные работы  

.1 Общие сведения      

.2 Подготовительные работы на лесосеке      

.3 Основные лесосечные работы  

.3.1 Безопасность выполнения лесосечных работ   

.4 Механизированная валка деревьев   

.5 Технологические процессы трелевки древесины

.6 Очистка деревьев от сучьев      

.6.1 Требования охраны и безопасности труда при обрезке сучьев

.7 Погрузка древесины на верхних складах   

.8 Заключительные работы на лесосеке

.9 Техническое обслуживание машин на лесосеке   

. Транспорт леса

.1 Общие сведения      

.2 Эксплуатация дорог, тяговый и прицепной состав       

. Лесоскладские работы       

.1 Назначение нижних лесных складов 

.2 Технологические процессы лесных складов

.3 Лесоперерабатывающий цех    

. Лесовосстановление и охрана окружающей среды

.1 Общие сведения      

.2 Сбор семенного материала       

.3 Выращивание посадочного материала в питомниках

.4 Уход за насаждениями и содействие естественному возобновлению леса

.5 Охрана насаждений от вредителей леса и пожаров

. Индивидуальное задание  

.1 Конструкция челюстных погрузчиков       

.2 Хронометражное наблюдение рабочего времени         

.3 Порядок работы лесопогрузчиков ПЛ-1В и ЛТ-65Б   

.4 Предложения по улучшению конструкции погрузчиков      

СПИСОК ИСПОЛЬЗОВАННЫХ ИСТОЧНИКОВ 

Введение

лесосечный трелевка лес валка

Лесная промышленность является одной из важнейших индустриальных отраслей народного хозяйства. Она относится к добывающим отраслям промышленности. В отличие от угольной, горнорудной и других добывающих отраслей лесная промышленность имеет специфические особенности. Леса расположены на большой территории в различных природных и климатических условиях. Заготовленный лес в основном перерабатывается на пиломатериалы, фанеру, целлюлозу, бумагу, картон, древесные плиты и многое другое. Поэтому главная задача лесной промышленности заключается в комплексном использовании древесины, обеспечении древесным сырьем постоянно растущих потребностей народного хозяйства.

Растущие потребности в древесине должны удовлетворяться, главным образом, не за счёт роста объёма лесозаготовок, а за счёт комплексного использования древесины. Особое внимание надо уделять использованию значительного количества древесной массы, считавшейся ранее отходами лесозаготовительного производства.

Заготовка леса ведётся производственными лесозаготовительными объединениями, леспромхозами.

Современный леспромхоз - это крупное механизированное предприятие круглогодичного действия, оснащённое разнообразной техникой: валочными и валочно-пакетирующими машинами, сучкорезными машинами, трелевочными тракторами. Применение этой техники позволяет осуществлять комплексную механизацию и частичную автоматизацию лесозаготовок и исключить ручной труд на многих операциях. Интенсивное развитие лесозаготовок существенно изменило технологию и технику ведения рубок леса и лесовосстановления.

Лес - это одно из важнейших природных богатств. Сохранение и приумножение его - важная народнохозяйственная задача.

Работники лесной промышленности и лесного хозяйства, руководствуясь основами лесного законодательства, должны вести освоение лесов так, чтобы удовлетворить потребности народного хозяйства в древесном сырье, сохранять и усиливать водоохранные, санитарно-гигиенические и другие полезные свойства леса.

Применение высокопроизводительной техники и комплексная механизация лесоскладских работ являются актуальной задачей современного лесозаготовительного производства.

Перенесение большинства операций по первичной обработке древесины на нижние склады создают условия для более эффективного использования современной высокопроизводительной лесозаготовительной техники и оборудования в более благоприятных условиях по сравнению с лесосекой.

Создаются условия для эксплуатации стационарных поточных линий для переработки деревьев и хлыстов, применение автоматизированного оборудования для сортировки и учёта крупных лесоматериалов, полной механизации операций штабелёвки и отгрузки готовой продукции, а также широкого развития дополнительных перерабатывающих цехов и потоков для получения пиломатериалов различного назначения, шпал, рудничной стойки, строительных брёвен, балансов, технологической щепы. В системе лесозаготовок и лесопереработки в условиях РБ лесные склады своё дальнейшее развитие получают в виде бирж сырья крупных деревоперерабатывающих комплексов. Например, лесные склады, примыкающие непосредственно к комплексу деревообрабатывающих предприятий Бобруйска, Гомеля, Борисова и др., продолжают наращивать свои мощности и развиваться в отношении своей технической оснащённости. Число подобных складов-бирж сырья для РБ в перспективе будет увеличиваться.

1. Основные сведения о предприятии

Борисовский леспромхоз расположен в центральной части республики и его лесосечный фонд распределяется по территориям Борисовского, Крупского и Смолевичского районов Минской области.

Общая площадь лесосечного фонда на территории указанных лесхозов составляет 286 906 га.

Основными местами заготовки древесины являются следующие лесничества Борисовского лесхоза: Борисовское, Велятичское, Забашевичское, Зачистское, Зембинское, Жортайское, Кищино-Слободское, Гливинское, Мстижское, Неманицкое, Пруд-Баранское, Слободское, Селецкое, Пригородное, Черневское, Иканское, Печинское.

Почвенные условия характеризуются чередованием местных песчаных повышений с участками лесов различной степени заболоченности. В среднем заболоченность составляет 34% лесосечного фонда.

Имеется довольно обширная сеть автомобильных дорог с твёрдым покрытием местного и республиканского значения: Брест - Москва, Борисов - Березино и другие, а также улучшенные грунтовые и естественные дороги межхозяйственного значения.

В основном грунтовые дороги в лесных массивах, проходящие по пониженным и заболоченным местам, требуют ремонта.

Имеется довольно обширная железнодорожная сеть местного и республиканского значения

Территория лесосечного фонда значительно изрезана рекой Березина и ее притоками. Лесосырьевая база расположена в подзоне мелкоколиственно-сосновых лесов, в Центральном комплексе лесных массивов. Климат района умеренный. Средняя температура воздуха и количество осадков по месяцам: абсолютный минимум температуры воздуха падает на январь (-350С), а абсолютный максимум - на июль (+360С).

Территория Борисовского района представляет собой холмисто-равнинную поверхность с уклоном, с Запада на Восток и Юго-восток.

Основными почвами являются подзолистые и дерново-подзолистые песчаные. Почвы в Борисовском районе в основном бедные песчаные, наиболее пригодны для выращивания сосны. Низинные торфяные и торфянистые почвы заняты черноольховыми насаждениями, иногда с ясенем, дубом и берёзой

Леса Борисовского района имеют большое защитное, рекреационное и лесоэксплуатационное значение, 19,6% (25 747га) лесов относятся к I группе.

Сосновые леса произрастают главным образом в суходольных лесорастительных условиях. Еловые леса произрастают в северной и северо-западной части района. В районе наиболее распространены березняки осоковые (26,1%), папоротниковые (19,4%), черничные(17,5%). В формации черноольховых лесов преобладающим типом леса является ольс таволговый (43,8%) и ольс осоковый (32,5%).

Мягколиственные породы имеют значительный удельный вес - 33%.

Изменения температур за год выписываем из таблицы 2-5 И.И. Леоновича «Дорожная климатология» по каждому месяцу:

Месяц

1

2

3

4

5

6

7

8

9

10

11

12

Т, ºС

-6,9

-6,3

-2,0

5,5

12,8

16,4

18,3

17,3

11,6

5,8

3,0

-4,7

 

Осадки из таблицы 2-18.

Месяц

1

2

3

4

5

6

7

8

9

10

11

12

h, мм

13,0

12,0

11,7

15,0

18,7

26,3

27,3

26,0

20,7

16,7

15,3

13,3

 

Среднюю высоту снежного покрова выписываем из таблицы 2-19.

Месяц

1

2

3

11

12

h,см

14

20,3

19

2

6,7


Глубина промерзания грунта берется из карты глубины промерзания грунтов.

Среднее число дней с метелями выписываем из таблицы 2-34:

Месяц

1

2

3

11

12

N, дней

5

5

3

1

4


Цех лесозаготовок входит состав ОАО «Борисовдрев», который занимается заготовкой и вывозкой древесины на нижний склад, а затем производит разделку и отгрузку древесины потребителям.

Сведения о технической базе цеха лесозаготовок.

Вид операции

Машины и механизмы

Количество

Доставка лесозаготовителей на лесосеку

Вахтовая машина ГАЗ-66

3

Валка леса

Бензопила «Хускварна»

10

Трелевка

Трактор ТДТ-55 ТТР-401

6 4

Погрузка хлыстов

Челюстной погрузчик ПЛ-1В,  ЛТ-65Б

3 1

Вывозка хлыстов

МАЗ-509 лесовоз

9

Разгрузка хлыстов

Козловой кран ЛТ-62 Башенный кран КБ-572

2 1

Разделка хлыстов на сортименты

Раскряжевочная линия ЛО-15

2

Распиловка лесоматериалов

Лесопильная рама Р-63-46

2

Строгание пиломатериалов

4 FM-180 строгальные станки

1

Торцовка пиломатериалов

ЦМЭ-36

2

 

Лесосечные работы проводятся по составляемым на каждую лесосеку технологическим картам. Технологическую карту составляет технорук лесопункта. В этой карте приводятся указания по проведению всех лесосечных работ.

Подготовительные работы ведутся силами специализированных лесозаготовительных бригад в соответствии с планом проведения этих работ. Подготовительные работы включают в себя: лесосырьевую и технологическую подготовку лесосек, а так же подготовку лесосек к рубке, устройство погрузочных пунктов и верхних складов, выбор трасс и строительство лесовозных усов, обустройство мастерского участка.

Лесосырьевая подготовка включает в себя отвод и приемку лесосек.

Технологическая подготовка производится после тщательного изучения лесоэксплуатационных условий на лесосеках и включает выбор рациональных схем их разработки, выбор схемы транспортного освоения и составления технологической карты.

После технологической и лесосырьевой подготовки лесосеки, которые выполняются техноруком и мастером лесозаготовок, из состава лесозаготовительной бригады выделяется вальщик с помощником и трелевочный трактор. Такая временно созданная подготовительная бригада проводит подготовку лесосеки к рубке, которая заключается в уборке опасных деревьев по всей лесосеке, разбивке лесосеки на пасеки, разметке трелевочных волоков, устройство погрузочных пунктов, разрубке зоны безопасности.

Обустройство мастерского участка производится после переезда всей бригады и заключается в установке передвижной столовой, домика мастера, обогревательного помещения для рабочих, подготовке площадки для тракторов и слесарно-инструментальной мастерской.

Выполняются так же вспомогательные работы, к которым относятся техническое обслуживание и текущий ремонт машин и оборудования, материально-техническое снабжение мастерского участка, организация горячего питания рабочих в лесу, перевозка рабочих на лесосеку и обратно, уход за трелевочными волоками, охрана техники и имущества мастерского участка в нерабочее время и др.

Основные лесозаготовительные работы состоят из следующих операций: валка, трелевка, удаление сучьев (обрубка), штабелевка, погрузка.

Валка леса осуществляется бензопилами “Хускварна-268” с помощником вальщика или без него. Трелевка ведется тракторами ТДТ-55А и ТТР-401, трелевку хлыстов осуществляют за комель. Обрубка сучьев осуществляется бензопилами “Хускварна-268”, а также топорами. Обрубку сучьев ведут непосредственно на трелевочных волоках.

Штабелевка производится тракторами ТДТ-55А. Погрузка хлыстов на лесовозный автотранспорт ведется челюстным погрузчиком ПЛ-1В, ЛТ-65Б.

Недостатком технологии лесозаготовок в Борисовском ЛПХ является использование трелёвочных тракторов ТДТ-55А. Выпуск тракторов производится около 30 лет. С момента выпуска в этих моделях не произошло значимых изменений в конструкции. Они являются наиболее распространенными трелевочными тракторами используемыми на территории СНГ. Однако в условиях Белоруссии, когда объём хлыста невелик, гораздо целесообразнее использовать трелёвочный трактор производства Минского тракторного завода МЛ−127. Он экономичнее, имеет меньшую массу, более маневренный, имеет колёсное шасси и два ведущих моста. Этот трактор значительно дешевле российских. МЛ-127 предназначен для чокерной трелёвки деревьев и хлыстов как в суходольных так и в слабозаболоченных лесосеках.

Недостатком в технологии лесозаготовок следует также считать использование ручного труда вальщиков, обрезчиков сучьев и чокеровщиков, что создает риск получения производственных травм и возникновения несчастных случаев.

Для выполнения производственной деятельности на предприятии имеются оборудования и механизмы, которые исключают ручной труд на основных производственных операциях. Выбор оборудования и расположение его на рабочих местах осуществляется таким образом, чтобы его эксплуатация была безопасная при высокой производительности труда.

Годовой объем цеха составляет 60 тыс. м³ древесины. Раскряжевку на сортименты производят линиями ЛО-15. Полученные сортименты после раскряжевки подаются на сортировочные лесотранспортеры Б-22-У, где вручную осуществляется сортировка. В состав бригады каждой раскряжевочной линии входят 7 человек, их сменная выработка составляет 43 м³.

Штабелевка и отгрузка потребителям сортиментов осуществляется башенным и козловым кранами КБ-572 иЛТ-62. В состав бригад входят 3 человека, их сменная выработка -105 м³ в смену.


 На нижнем складе так же имеется деревообрабатывающий цех с годовым объемом 10 тыс. м³ в год. Доставка сырья осуществляется автомобильным транспортом. В цехе по переработке низкокачественной древесины предусмотрены две технологические линии. Первая - для распиловки бревен с установкой двух лесопильных рам. Предусматривает выпуск как обрезных, так и необрезных пиломатериалов.


Вторая технологическая линия по переработке низкокачественной древесины. Низкокачественная древесина с нижнего склада автотранспортом доставляется на питатель ЛТ-79А, с него по рольгангу подается поштучно на фрезерно-брусующий станок БРМ-1. Полученный брус или отгружается или идет на дальнейшую переработку, на тарную дощечку, на этой линии установлен торцовочный станок ЦКБ-40.

Недостатком технологии лесозаготовок в Борисовском ЛПХ является использование трелёвочных тракторов ТДТ-55А. Выпуск тракторов производится около 30 лет. С момента выпуска в этих моделях не произошло значимых изменений в конструкции. Они являются наиболее распространенными трелевочными тракторами используемыми на территории СНГ. Однако в условиях Белоруссии, когда объём хлыста невелик, гораздо целесообразнее использовать трелёвочный трактор производства Минского тракторного завода МЛ−127. Он экономичнее, имеет меньшую массу, более маневренный, имеет колёсное шасси и два ведущих моста. Этот трактор значительно дешевле российских. МЛ-127 предназначен для чокерной трелёвки деревьев и хлыстов как в суходольных так и в слабозаболоченных лесосеках.

Недостатком в технологии лесозаготовок следует также считать использование ручного труда вальщиков, обрезчиков сучьев и чокеровщиков, что создает риск получения производственных травм и возникновения несчастных случаев.

2. Лесосечные работы

.1 Общие сведения

Лесосекой называется участок лесной площади, отведенный для заготовки леса. Лесосека является местом работы мастерского участка. Здесь выполняются все работы - от валки деревьев до погрузки леса на лесовозные автомобили или на подвижной состав узкоколейной железной дороги.

Крупные лесосеки разбивают на бригадные делянки. Д е л я н к а - часть лесосеки, закрепленная на период заготовки леса за бригадой. Если лесосека невелика и в ней может работать только одна бригада, понятия делянки и лесосеки становятся равноценными. Мастерский участок в этом случае работает в нескольких лесосеках (делянках).

Пасекой называется часть бригадной делянки, с которой деревья или хлысты трелюются трактором по одному трелевочному волоку.

Пасечная лента - узкая полоса леса, вырубаемая за один проход вальщика или валочной машины.

Лесосека в процессе ее разработки имеет сеть трелевочных волоков. Пасечные волоки предназначены для трелевки леса только с пасек, по которым они проложены. Магистральный волок является собирающим, к нему примыкают пасечные волоки.
Магистральный волок примыкает к лесопогрузочному пункту (или складу), а тот к лесовозному усу (см. рис.2.1 <#"669510.files/image003.gif">

Рис. 2.1. Схема лесосырьевой базы:

- тупик железной дороги МПС; 2 - нижний лесной склад; 3 - лесосырьевая база; 4 - ветки лесовозной дороги; 5 - усы лесовозной дороги; 6 - лесопогрузочные пункты; 7 - лесосеки; 8 - лесовозная дорога

Рис. 2.2. Схемы разработки лесосек:

а - параллельная; б - то же методом широкого фронта; в - радиальная; 1 - лесовозная дорога; 2 - погрузочный пункт; 3 - зона безопасности; 4 - волоки; 5 - пасеки

На выбор схемы разработки делянок влияют природные (рельеф, почва и др.) и производственные факторы (типы механизмов на валке, трелевке и погрузке леса). Основными механизмами на валке леса являются бензиномоторные пилы, на трелевке - тракторы, на погрузке - челюстные погрузчики. В настоящее время широко внедряется и машинная валка леса. Разработка делянок производится по одной из трех широко распространенных схем (рис.2.2). <#"669510.files/image005.gif">

Рис. 2.3. Типовые схемы размещения волоков:

а - параллельная, б - веерная, в - диагональная

Схему с параллельным размещением волоков (рис.2.3,а) <#"669510.files/image006.gif">

Рис. 2.4. Схемы подпила деревьев и формы недопилов:

П- направление валки деревьев; НВ - направление ветра или наклона дерева.

Угол подпила a рекомендуется 0,35-0,70 рад. Высота пня после спиливания дерева h должна быть не более 1/3 диаметра среза, а при валке деревьев, имеющих диаметр меньше 0,3 м не более 0,1 м. Спиливание дерева производится после подпила с противоположной стороны. Плоскость реза должна быть горизонтальной и находиться на уровне верхней кромки подпила.

Спиливать полностью дерево нельзя, так как в этом случае оно может внезапно упасть в любую сторону. Чтобы исключить произвольное падение дерева, оставляется недопиленная часть D. Недопил выполняет роль шарнира при падении дерева, при этом образуется козырек, который препятствует движению комля в сторону противоположную падению дерева.

2.5 Технологические процессы трелевки древесины

Под трелевкой понимается процесс перемещения деревьев, хлыстов или сортиментов от места валки до лесопогрузочного пункта или места складирования (штабелевки в запас). Трелевка является важнейшей операцией технологического процесса. На ее долю приходится 25-30% трудозатрат по лесосечным работам и 10-12% всех трудозатрат по комплексу лесозаготовительного процесса. Трелевка относится к первичному транспорту, резко отличающемуся от других его видов. Она проводится в трудных условиях, при полном бездорожье, на любых грунтах и по снегу, с преодолением многочисленных препятствий. Машины, применяемые на трелевке, обладают высокими тяговыми усилиями, значительной проходимостью, минимальными скоростями движения.

Существуют различные средства и способы трелевки:

по виду перемещаемого груза - трелевка деревьев, хлыстов, сортиментов;

по способу трелевки - за комли, за вершины;

по положению перемещаемого груза относительно земли - волоком, в полупогруженном, в полуподвесном, в погруженном, в подвесном положениях;

по способу формирования пачки - с помощью чокеров, манипуляторов, клещевых захватов.

Наибольшее распространение получила трелевка деревьев и хлыстов в полупогруженном положении. В недалеком будущем, по мере внедрения новых машин на валке и трелевке леса, основным способом будет трелевка деревьев за комли, так как работа всех лесозаготовительных машин будет основана на этом способе. Применение трелевки деревьев позволяет перенести весьма трудоемкую операцию - очистку деревьев от сучьев - на лесопогрузочные пункты или нижние склады, где имеются условия механизации и автоматизации производства.

Трелевочные тракторы являются самыми распространенными машинами на трелевке леса. Они мобильны, маневренны, могут заезжать на лесосеку и собирать поваленные деревья (хлысты) и перемещать (трелевать) их к лесопогрузочному пункту. Применение их на трелевке ограничивается уклонами трелевочных волоков и несущей способностью грунтов.

Тракторы для трелевки леса подразделяются по типу ходовых опор, назначению и технологическому оборудованию для формирования перемещаемой пачки леса. По типу ходовых опор трелевочные тракторы бывают гусеничные и колесные, а по назначению - специальные трелевочные и общего назначения (общепромышленные). Специальные тракторы приспособлены для перемещения лесоматериалов в полупогруженном положении. Ходовая часть этих тракторов эластична и позволяет лучше преодолевать препятствия. Специальные тракторы имеют технологическое оборудование для формирования пачки.

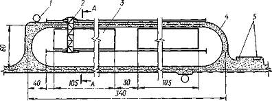
В настоящее время применяют трелевочные тракторы с канатной оснасткой (рис.2.5,а) <#"669510.files/image007.gif">

Рис. 2.5. Трелевочные тракторы:

а - гусеничный трелевочный трактор ТТ-4: -лебедка; 2 - откидной погрузочный щит; бив - трелевочные тракторы с гидроманипулятором ТБ-1 и ЛП-18А; - поворотная колонка; 2 -стрела; 3 - рукоять; 4 - клещевой захват; 5 - коник; 6 - гидроцилиндры; 7 - бульдозерный нож; 8 - цепная передача; г - гусеничный трактор с клещевым захватом ЛТ-89: - рама; 2 - лебедка; 3 - стрела (арка); 4 - клещевой захват; 5 - гидроцилиндр

На тракторах с канатной оснасткой установлены лебедка для формирования и подтягивания пачки хлыстов (деревьев) и откидной погрузочный щит, на который посредством чокеров и тягового каната, натягиваемого на барабан лебедки, затаскивается передний конец пачки. Тяговый канат длиной 40-50 м на конце имеет петлю, в которую вставляется стопорное разрезное кольцо. Чокер представляет собой отрезок каната длиной от 1,7 до 2,5 м и диаметром 12-16 мм, имеющего на одном конце кольцо, на другом - крюк. Чокер предназначен для зацепки деревьев, хлыстов или сортиментов.

Для устранения ручного труда и механизации процесса формирования пачки на тракторе вместо погрузочного щита и лебедки установили гидроманипулятор и зажимной коник. К тракторам с гидроманипуляторами относится ТДТ-55А (рис.2.5,б). Он предназначен для трелевки деревьев и хлыстов в районах с со средним объемом хлыста до 0,4 м3, а также для выполнения вспомогательных работ на лесосеке: подготовки волоков и погрузочных площадок, выравнивания комлей, окучивания хлыстов.

Колесная трелевочная машина ТТР-401 относится к числу легких трелевочных машин (выполнена на базе МТЗ-82) и предназначена для трелевки деревьев, хлыстов и сортиментов в равнинной и слабохолмистой местности, с хорошей несущей способностью грунтов, в полуподвешенном положении, в насаждениях со средним объемом хлыста до 0,3 м3.

Базовой моделью трелевочной машины ТТР-401 является сельскохозяйственный трактор МТЗ-82.1, оборудованный трелевочным приспособлением, торцевателем и специальными ограждениями. Трелевочное приспособление навешивается на заднюю навесную систему, а отвал устанавливается на раме спереди трактора. Трелевочное приспособление оснащено лебедкой с канатом и чокерными замками. Привод лебедки осуществляется от заднего вала отбора мощности через карданный вал. Для подъема (опускания) трелевочного приспособления и отвала, а также включения муфты привода лебедки используется гидросистема трактора. С целью обеспечения безопасности труда кабина трактора и трелевочное приспособление оборудованы специальными оградительными решетками.

Плавное сматывание каната без вращения по инерции достигается за счет автоматического тормоза, предотвращающего инерционное вращение барабана. Благодаря этому канат плотно лежит на барабане без перехлестов и слабины. Тормоз лебедки позволяет удерживать пачку деревьев на погрузочном щите при трелевке или груз на весу при отключенном приводе лебедки.

.6 Очистка деревьев от сучьев

Очистка деревьев от сучьев производится на пасеке, трелевочном волоке, лесопогрузочном пункте и на лесопромышленном складе. Выбор места выполнения рассматриваемой операции зависит от принятого технологического процесса и наличия машин, механизмов и установок. В свою очередь в лесозаготовительном процессе должна быть предусмотрена возможность максимального сохранения лесной среды и использования всей биомассы дерева. Сохранению лесной среды (подроста, оставляемых деревьев, почвенного покрова на волоках) способствует очистка деревьев от сучьев на пасеке и укладка сучьев на волок для его укрепления, что особенно необходимо при разработке лесосек со слабой несущей способностью грунтов.

Для очистки деревьев от сучьев на лесосеке и на лесопогрузочном пункте применяются топоры и моторные инструменты.

.6.1 Требования охраны и безопасности труда при обрезке сучьев

Очистка деревьев от сучьев осуществляется сучкорезной машиной ЛП-30Г. На сучкорезных машинах разрешается работать лицам не моложе 18 лет, прошедшим медицинское освидетельствование, обучение и инструктаж по технике безопасности и имеющим соответствующее удостоверение. Каждая сучкорезная машина должна быть укомплектована аптечкой, огнетушителем и бачком для питьевой воды не менее чем на три литра. Оператору запрещается перевозить кого-либо на машине как в кабине так и вне ее. Технический уход, ремонт машины, очистку ее от грязи и древесных остатков можно производить только при остановленном двигателе. При этом толкатель сучкорезной машины должен быть опущен на землю, стрела установлена в транспортное положение, а привод насосов гидросистемы отключен.

Запрещается курить при заправке машины топливом и маслом и пользоваться открытым огнем для подогрева двигателя и узлов гидросистемы. После прогрева двигателя оператор обязан опробовать работу всех механизмов и убедиться в их исправности.

Приступая к работе, оператор обязан подать сигнал и убедится в отсутствии в опасной зоне механизмов и посторонних лиц. Перемещение машины при протаскивании дерева запрещается. Оператору запрещается: допускать к работе на машине потусторонних лиц; выходить из кабины при протаскивании дерева через сучкорезную головку; оставлять машину без наблюдения; допускать в зону действия захвата посторонних лиц и находиться самому под стрелой или поднятым манипулятором при работающем двигателе; работать при силе ветра более 10м/с и в грозу.

Нельзя убирать срезанные сучья от сучкорезной головки вручную во время работы машины. По окончанию работы необходимо захват протаскивающего механизма переместить к сучкорезной головке, гидроманипулятор опустить на землю, а стрелу установить в транспортное положение или опустить головкой вниз.

.7 Погрузка древесины на верхних складах

Погрузка древесины на подвижной состав лесовозных дорог может производиться после валки и трелевки или из запасов, созданных вдоль усов, веток лесовозных дорог и на лесопогрузочных пунктах (верхних складах). В зависимости от принятого технологического процесса погрузку деревьев, хлыстов или сортиментов можно вести поштучно, пачками небольшого объема и крупными пакетами, равными по объему грузоподъемности единицы подвижного состава.

Более полное описание погрузчиков и методов их работы расположено в индивидуальном задании отчёта.

2.8 Заключительные работы на лесосеке

К заключительным работам на лесосеке относятся очистки лесосек от отходов лесозаготовок, а также переработка этих отходов, тонкомерных и других деревьев, непригодных для выпуска сортиментов, на щепу.

Очистка лесосек после их разработки является обязательной и проводится с целью создания благоприятных условий для выполнения работ по возобновлению леса, обеспечения пожарной безопасности и санитарных требований.

При сплошных рубках в хвойных и лиственных насаждениях на сырых и влажных почвах, где самосев леса возможен в основном на микровозвышениях, отходы лесозаготовок собирают вручную в небольшие кучи высотой до 0,5м. Кучи располагают между пнями на свободных от подроста местах. На сухих песчаных почвах и, особенно в сосновых насаждениях на каменистых почвах в твердолиственных насаждениях отходы лесозаготовок измельчают и разбрасывают по всей площади лесосеки. Это позволяет задерживать влагу в почве, обогатить ее органическими веществами и защитить самосев леса от солнцепека.

Если на лесосеках отсутствует жизнеспособный подрост или лесосеки разрабатывались без сохранения подроста, очистку лесосек рекомендуется производить механизированным способом путем сбора отходов лесозаготовок в валы, которые должны располагаться параллельно рядам будущих лесных культур. Очистка лесосеки подборщиком сучьев ЛТ-161 производиться сразу после разработки лесосеки, в том числе и зимой, если глубина снега не превышает 0,5 м. При этом необходимо соблюдать следующие основные правила. Подборщик должен совершать прямолинейные челночные ходы с разворотом на границах лесосеки. Валы отходов лесозаготовок следует располагать параллельными рядами на расстоянии 15-25 м друг от друга в зависимости от захламленности лесосеки. Причем крайние валы не должны ближе 15 м от границ лесосеки, а концы валов - ближе 8- 10 м от стены леса. Валы при тракторной трелевке следует размещать в основном на волоках и по границам пасек. Вал должен быть плотным, шириной не более 1,5-2,5 м, сотой - 0,8-1,2 м. Валы высотой более 1,2 м и рыхлые валы необходимо уплотнять гусеницами подборщика. Собранные отходы лесозаготовок затем используются населением на топливо, перерабатываются на технологическую щепу или же уплотняются гусеницами трактора и оставляются на перегнивание.

.9 Техническое обслуживание машин на лесосеке

Техническое обслуживание представляет собой комплекс операций направленных на поддержание машин и механизмов в работоспособном состоянии при использовании их по назначению, в ожидании его, при хранении и транспортировке. В комплекс этих операций входят уборочно-моечные, заправочные, смазочные, крепежные, регулировочные и контрольно-диагностические работы, выполняемые, как правило, без снятия узлов и агрегатов.

Текущий ремонт производится с целью восстановления работоспособности машин и оборудования или их составных частей.

Техническое обслуживание и текущий ремонт машин и оборудования на лесосеке желательно вьполнять с помощью передвижных ремонтных мастерских ЛВ-8А, ЛВ-193, ЛВ-176 и др., которые направляются на мастерские участки по заявкам мастеров лесозаготовок.

В состав передвижной ремонтно-обслуживающей бригады входят слесарь-механик (бригадир), водитель машины и один-два слесаря.

Для обслуживания гидросистем лесозаготовительных машин может быть применена передвижная установка ЛВ-170А, выполненная на базе трелевочных тракторов Онежского и Алтайского заводов.

Если на предприятии отсутствуют ПРМ, на мастерских участках организуются ППТО, укомплектованные ремонтно-обслуживающими бригадами из двух-трех человек: бригадира-механика и одного-двух слесарей. На зимний период состав бригады может быть увеличен. Для ППТО имеется слесарно-инструментарная мастерская ВО-63 на базе обогревательного домика ЛВ-157. Она предназначена для выполнения слесарных работ, хранения запасных частей и инструмента и размещения бригады по ТО и ТР.

Заправка бензиномоторных пил топливом и маслом для смазки пильных аппаратов должна производиться из специальных переносных двухсекционных бачков, которые поставляются вместе с бензопилами. Топливная смесь для бензопил готовится централизованно на складе ТСМ лесопункта или ЛЗП. Заправленные ТСМ бачки выдаются мотористам бензиномоторных пил перед выездом на лесосеку.

Сложные виды технических уходов, ремонта машин и оборудования, а так же ремонт бензиномоторных пил и заточка пильных цепей должны выполняться в ремонтных мастерских лесозаготовительного предприятия. Вальщики ежедневно после работы сдают пильные цепи в мастерскую для заточки и взамен получают подготовленные.

3. Транспорт леса

.1 Общие сведения

Лесной сухопутный транспорт играет важную роль не только в освоении лесосырьевой базы лесозаготовительного предприятия, но и внутрирайонных перевозках, успешно служит для выполнения лесохозяйственных, сельскохозяйственных и многих других задач и целей. Даже после освоения лесосырьевой базы автомобильные дороги остаются и служат народному хозяйству того района, где они проходят. К основным особенностям сухопутного лесовозного транспорта относятся: собирательный характер работы лесовозных путей; одностороннее направление перевозки лесных грузов; сезонность работы многих участков сети лесовозных дорог; временный характер работы.

Собирательный характер работы лесовозных путей предопределяется наличием нескольких погрузочных пунктов, размещенных в различных точках лесного массива, где ведется заготовка леса. Это все вызывает необходимость строительства в пределах лесосырьевой базы густой сети путей с различными сроками действия.

Одностороннее направление перевозки лесных грузов обусловливается вывозкой леса с лесосек на нижний склад. В обратном направлении перевозят топливо, тракторы, запасные части, рабочих предприятий, жителей поселков и деревень и т.д.

Сезонность работы многих участков сети лесовозных дорог, а часто и самой дороги, обуславливается трудностями в весенний и осенний периоды, когда происходят таяние снега весной и выпадание большого количества дождей осенью. Чтобы сохранить дорогу в хорошем состоянии, в эти периоды вывозку леса прекращают. Сезонность работы дорог или отдельных их участков зависит также и от рельефа местности, грунтов, наличия болот и т.д.

Так, из труднодоступных заболоченных массивов вывозка леса может производиться только в зимний период, когда обустраиваются временные ледяные дороги.

Временный характер работы отдельных участков дорожной сети предопределяется периодом освоения отдельных лесосек, частей лесного массива и даже периодом выращивания насаждений.

Собирательный характер лесовозной дороги и различные сроки действия ее отдельных участков вызывают по мере освоения лесного массива перенос части ответвлений с одного участка на другой. Участок дороги, строящийся на весь период работы предприятия, по которому проходит весь грузовой поток, называется магистралью. Ответвления, обслуживающие некоторую часть сырьевой базы (их протяженность обычно превышает 3 км) и эксплуатируемые не менее 5…8 лет, называются ветками. Для освоения отдельных лесосек строятся временные пути, называемые усами, протяженность их не превышает 3 км, срок эксплуатации - 1…2 года.

.2 Эксплуатация дорог, тяговый и прицепной состав

В процессе эксплуатации автомобильной дороги количество неровностей и их размеры увеличиваются. Если появившаяся выбоина не будет своевременно ликвидирована, она послужит причиной появления новых выбоин. В результате воздействия колес подвижного состава и природных факторов (осадков, ветра, колебаний температуры и др.) происходят износ и деформирование земляного полотна, водоотводных сооружений и дорожной одежды. Кроме того, на прочность сооружений влияют и такие причины, как низкое качество дорожно-строительных работ и другие природные факторы. Интенсивнее изнашивается проезжая часть дороги.

Для поддержания лесовозной дороги в исправном состоянии и проведения ее ремонтов в леспромхозах организуют дорожную службу. Содержание дороги в исправности проводят по сезонам.

Летом выполняют систематическую планировку (утюжку) поверхности (после дождей), обеспыливание, также запрещается езда по одному следу. Осенью обеспечивают водоотвод, устраняют рытвины, выбоины и колеи, делают снегощиты, закрывают отверстия мостов и труб (перед снегопадом). Зимой для борьбы со снежными заносами и гололедом дороги посыпают песком, щепой, хвоёй, для ухода за снежно-ледяными, ледяными дорогами проводят полив, подсыпку щепы, опилок. Весной обеспечивают исправную работу водоотвода, борются с пучинообразованием, закрывают движение по грунтовым, гравийным дорогам на период распутицы, раскрывают отверстия мостов и труб, пропускают ледоход под мостами, планируют проезжую часть к началу летней вывозки. В течение года необходимо проведение систематических планировок автогрейдерами или дорожными утюгами.
Тяговый и прицепной состав для транспорта леса. Вывозка леса по автомобильным лесовозным дорогам производится автомобильными поездами, состоящими из автомобиля-тягача и роспуска (рис.3.1). <#"669510.files/image008.gif"> 

Рис.3.1. Автопоезд для транспортировки хлыстов

Роспуск 2 соединяется с лесовозным автомобилем 1 при помощи дышла 3. На верхнем складе производится погрузка деревьев или хлыстов на коники автомобиля и прицепа до нормативной загрузки. Погруженная древесина транспортируется к месту переработки на нижний склад лесозаготовительного предприятия.

Основными видами лесовозных автопоездов являются: легкие, грузоподъемностью 10…11 т, на базе автомобилей ЗИЛ с двухосным роспуском ТМЗ-802; средние, грузоподъемностью 17 т, на базе МАЗ с роспуском ГКБ-9383; тяжелые, грузоподъемностью 25 т, на базе КрАЗ с роспуском ГКБ-9383. Легкие автопоезда ЗИЛ с роспуском ТМЗ-802 целесообразно применять при небольших грузооборотах (до 100 тыс. м3 в год), потому что в таких случаях не требуется больших капиталовложений в дорожное строительство и погрузочных средств большой грузоподъемности. Легкие автопоезда можно использовать на автодорогах местного значения (они по осевым нагрузкам соответствуют пропускной способности этих дорог), а также при малых расстояниях вывозки леса и при среднем объеме хлыстов до 0,25 м3. Эти автопоезда имеют низкое давление в шинах (0,35 МПа), что дает возможность значительно облегчить конструкцию дорожной одежды. Это важно для районов, где недостаточно местных каменных материалов (или они отсутствуют). При работе таких автопоездов упрощается строительство усов, так как можно использовать хворостяную выстилку или облегченные переносные типы покрытий.

Лесовозные автопоезда среднего и тяжелого типов целесообразно применять при больших грузооборотах дорог, имеющих усовершенствованные типы покрытий (гравийные смеси толщиной 35…40 см или дорожные железобетонные плиты), при больших расстояниях вывозки и в крупномерных насаждениях. Автопоезда для транспортировки сортиментов. В настоящее время на транспортировке сортиментов в России широкое применение находят автопоезда-сортиментовозы российского и зарубежного производства фирм Сису, Скания, Вольво и др.

Автопоезд представляет собой сочетание тягового модуля 1 на базе отечественного или зарубежного автомобиля с платформой, куда загружаются сортименты 2. На платформе смонтирован гидроманипулятор 3, с помощью которого осуществляется погрузка сортиментов на верхнем складе и разгрузка на пункте доставки. Для увеличения объёма транспортируемых материалов в состав автопоезда включают прицеп с платформой 4

В России и Белоруссии разработаны и освоены в производстве автопоезда-сортиментовозы на базе автомобилей Камского, Уральского, Минского и Белорусского автозаводов.

Анализ тягово-сцепных качеств показал, что эксплуатация зарубежных автопоездов затруднена на дорогах со снежноуплотненным и ледяным покрытием, особенно во влажном состоянии. На лесовозных дорогах этот недостаток усугубляется тем, что имеющие место на большинстве этих дорог ограничения видимости и скорости движения ввиду наличия кривых малого радиуса в плане и профиле и крутых уклонов не позволяют в полной мере использовать динамические и скоростные возможности автопоездов для преодоления крутых подъемов. Поэтому в тяжелых условиях эксплуатации неоспоримо преимущество автопоездов на базе автомобилей высокой проходимости с колёсной формулой 6х6 и 6х4.

4. Лесоскладские работы

.1 Назначение нижних лесных складов

Склады бывают перевалочно-разделочные и перевалочные.

Назначением перевалочно-разделочных складов является приемка деревьев, хлыстов или сортиментов, их первичная обработка и частичная переработка, хранение и отгрузка готовой продукции для дальнейшего транспортирования к потребителям или непосредственная передача в соответствующие цеха деревообрабатывающих предприятий.

На перевалочных складах никаких работ по первичной обработке и частичной переработке поступающих хлыстов или сортиментов не производят, а осуществляют только их перевалку с одного вида транспорта на другой.

Лесные склады разделяют на следующие типы (рис. 4.1):

Нижние склады лесозаготовительных предприятий. Заготовленный лес доставляют с лесосек по лесовозным дорогам. В большинстве случаев нижние склады являются перевалочно-разделочными; получаемую на них готовую продукцию отгружают на подвижной состав железных дорог МПС (прирельсовые склады) или сдают в сплав (береговые склады). Иногда нижние склады служат только как перевалочные; в этом случае поступающие на них хлысты или сортименты без всякой обработки перегружают на железнодорожный подвижной состав или сдают в сплав.

Лесоперевалочные базы. Хлысты или сортименты доставляют сплавом и на перевалочно-разделочных базах подвергают первичной обработке и частичной переработке. Готовую продукцию отгружают по железной дороге МПС. При поступлении на лесоперевалочную базу сортиментов производят только их перегрузку на железную дорогу.

Лесные порты. Круглые сортименты и пиломатериалы доставляют по железным дорогам МПС или водным путям и перегружают главным образом на морские суда, при этом круглые сортименты иногда частично подвергают первичной обработке. Лесные склады потребителей. Хлысты или сортименты доставляют по железным дорогам МПС, автотранспортом или сплавом, подвергают первичной обработке и передают непосредственно в производство. Иногда лесные склады потребителей являются одновременно и нижними складами лесозаготовительных предприятий.

Нижние склады лесозаготовительных предприятий характеризуются постоянством рабочих мест, концентрацией производства, единой устойчивой энергетической базой. В современном лесозаготовительном предприятии 55…60 % общего количества производственных трудозатрат приходится на нижние склады. Срок действия нижних складов на одном месте исчисляется десятками лет, а в непрерывно действующих предприятиях не ограничен. Через склад в течение года проходит от 100 до 300, а иногда до 500…600 тыс. м3 заготовленного леса.

Рис. 4.1. Схема территориального размещения лесных складов различных типов

Такой большой объем обрабатываемой лесопродукции и длительный срок действия позволяют возводить на нижних складах капитальные сооружения, применять высокопроизводительное специализированное оборудование. Таким образом создают благоприятные условия для комплексной механизации и частичной автоматизации производственных процессов. Еще более благоприятны условия на лесоперевалочных базах, грузооборот и срок действия которых больше, чем у нижних складов. Наряду с этим необходимо иметь в виду, что автоматизация производственных процессов на лесных складах связана с некоторыми трудностями, вытекающими из условий работы, характера сырья и вида получаемой из него продукции. На лесных складах автоматические и полуавтоматические установки должны работать на открытом воздухе или в неотапливаемых помещениях, в условиях повышенной влажности и резко изменяющихся температур, поэтому здесь средства автоматизации, применяемые в машиностроении, деревообработке и других производствах, часто оказываются малопригодными. Трудности вызываются и тем, что сырье и готовая продукция чрезвычайно разнообразны по размерам, форме и качеству. Так, объем хлыстов, поступающих на одну и ту же раскряжевочную установку, может колебаться от 0,1 до 3 м3. Получающиеся при раскряжевке хлыстов сортименты не представляют собой однообразной продукции. Продукция не получается даже отдельными партиями одного и того же сортимента, а зависит от размеров и качества хлыста.

Все операции, выполняемые на лесных складах, можно разделить на переместительные (выгрузка, сортировка, штабелевка, внутрискладской транспорт, погрузка и др.) и операции по первичной обработке и частичной переработке заготовленного леса (очистка от сучьев, поперечная и продольная распиловка, окорка, раскалывание, измельчение в щепу и др.).

На лесных складах применяют автоматизированные (автоматические и полуавтоматические), а также механизированные установки. Автоматические установки действуют без непосредственного вмешательства человека, а только под его наблюдением. Они работают по одной заданной программе либо сами выбирают (в соответствии с размерами сырья) одну из заложенных в них программ. Полуавтоматическими установками управляет оператор, который, оценивая размеры и качество каждой единицы сырья, задает программу последовательности выполнения отдельных элементов операций, а установка автоматически выполняет эту программу. В механизированных установках выполнение каждого элемента операции осуществляется отдельно непосредственным воздействием оператора на рычаги, рукоятки, педали и т. п. Иногда это воздействие осуществляется с пульта управления; установки такого типа не являются автоматизированными, их условно называют установками с дистанционным управлением.

Структурные схемы технологического процесса лесного склада.

Нижний склад представляет собой производственное подразделение лесозаготовительного предприятия, расположенное в пункте примыкания лесовозной дороги к путям общего пользования и производящее приемку и первичную обработку заготовленного леса (очистку деревьев от сучьев, раскряжевку хлыстов, разделку долготья, окорку сортиментов, раскалывание коротья и удаление гнили), сортировку круглых лесоматериалов, а также их временное хранение и отгрузку потребителям или подготовку к сплаву. На нижних складах производят переработку некоторых сортиментов (выработку шпал, пиломатериалов, технологической щепы и др.).

В ряде случаев не все перечисленные работы выполняют на нижних складах. Например, при вывозке хлыстов на нижнем складе не производят очистку деревьев от сучьев; при примыкании к сплавной реке на нижнем складе обычно отсутствует выработка шпал и пиломатериалов. Однако основные работы - выгрузку, раскряжевку хлыстов, сортировку, штабелевку, погрузку производят почти на всех нижних складах. Таким образом, современный нижний склад является не только местом хранения заготовленного леса, но и перерабатывающим комплексом лесозаготовительного предприятия.

Объем и перечень работ, выполняемых на лесных складах, зависят от назначения и типа склада, способов доставки и отгрузки лесоматериалов, наличия вблизи специализированных деревообрабатывающих предприятий и других факторов. Взаимная связь отдельных операций на лесном складе характеризуется структурной схемой технологического процесса. Приведенная на рис. 4.2 схема является типичной для прирельсового нижнего склада, расположенного вдали от специализированных деревообрабатывающих предприятий и перерабатывающего поэтому значительную часть поступающего леса.

При расположении нижнего склада в зоне действия специализированных деревообрабатывающих предприятий объем работ по переработке заготовленного леса на нижнем складе значительно сокращается (иногда даже отгружают с нижнего склада хлысты), однако общая схема технологического процесса остается такой же.

Структурная схема технологического процесса лесоперевалочной базы аналогична схеме на рис. 4.2, но вместо выгрузки заготовленного леса с подвижного состава лесовозной дороги здесь хлысты или сортименты выгружают из воды, нет обрезки сучьев, а в большинстве случаев и раскряжевки хлыстов.

Все работы на лесном складе осуществляют в отдельных взаимосвязанных цехах, участках и поточных линиях, состоящих из различных машин и установок, выполняющих в определенной последовательности ряд основных и вспомогательных операций. В каждую линию входит несколько технологических установок, связанных между собой транспортными устройствами. Объект обработки (дерево, хлыст, сортимент) проходит через все установки, причем каждая из них выполняет соответствующую операцию на данном объекте, только после того как операция, выполняемая предшествующей установкой, уже полностью закончена.

Рис. 4.2. Структурная схема технологического процесса прирельсового нижнего склада

На лесных складах также могут применяться многооперационные установки (сучкорезно-раскряжевочные, раскряжевочно-сортировочные и др.). В установках этого типа отдельные операции на одном и том же объекте выполняются одновременно либо последовательно, но со значительным перекрытием по времени.

Основными показателями работы лесного склада являются его грузооборот, вместимость, занимаемая площадь и продолжительность работы в течение года.

Грузооборотом лесного склада называют объем лесоматериалов в кубических метрах, пропускаемый через склад в единицу времени (сутки, месяц, сезон, год и т. д.).

Вместимостью лесного склада называют объем лесоматериалов в кубических метрах, который может быть единовременно размещен на территории склада.

Площадь лесного склада - это общая площадь (в квадратных метрах), занимаемая лесоскладским оборудованием и сооружениями, штабелями и разрывами между ними, внутрискладскими путями, погрузочными тупиками и т. п.

Продолжительность работы склада в течение года выражается в днях и равняется общему числу календарных дней в году за вычетом выходных дней. Лесной склад характеризуется также режимом работы, показывающим сроки и объемы поступления заготовленного леса и его обработки, выхода готовой продукции и отгрузки ее склада.

Хранение лесоматериалов на складе. Типы штабелей. Хранение лесоматериалов должно обеспечивать защиту их от возникновения и развития пороков, снижающих физико-механические свойства древесины. В процессе хранения в лесоматериалах могут появиться пороки трех групп: повреждения насекомыми, поражения грибами, образование трещин.

Способы хранения древесины зависят от стойкости различных пород, климатических зон, срока хранения, назначения лесоматериалов.

Лесоматериалы различных пород обладают неодинаковой стойкостью к указанным выше трем видам поражений.

Применяют два способа хранения лесоматериалов - влажный и сухой. Влажный способ основан на создании и поддержании влажного состояния древесины в течение всего срока хранения. Применяют дождевание бревен, т. е. периодическое смачивание водой, и водное хранение, при котором они частично или полностью погружены в воду. Сухой способ хранения основан на доведении древесины до воздушно-сухого состояния и поддержании у нее этого состояния в течение всего срока хранения.

Для защиты лесоматериалов от насекомых и поражения грибами применяются различные химические препараты. Для защиты от растрескивания и поражения грибами применяют влагозащитно-антисептические покрытия. Обработка лесоматериалов защитными препаратами производится опусканием в раствор, опрыскиванием или малярным нанесением.

Как продукция нижних складов (круглые лесоматериалы), так и сырье (хлысты и деревья) хранятся в штабелях.

Штабель круглых лесоматериалов - это параллельно и ровно уложенные в несколько рядов по высоте круглые лесоматериалы. Лесоматериалы укладывают в штабеля различных типов- плотные, рядовые, плотно-рядовые, пачковые, пакетные. Типы и размеры штабелей выбирают с учетом наилучшей сохранности древесины, безопасности работающих на складе людей, полного использования складской площади и соответствия техническим характеристикам штабелевочных механизмов.

Рис. 4.3. Штабеля лесоматериалов:

а - плотный; б - рядовой; в - плотно-рядовой; г - пачковый; д -пакетный с параллельной укладкой; е - пакетный с перпендикулярной укладкой

В плотный штабель (рис. 4.3, а) лесоматериалы укладываются плотно, без прокладок. Плотный штабель характеризуется хорошей вместимостью, для формирования его не требуется прокладок. Циркуляция воздуха в плотном штабеле очень слаба и просыхание древесины в нем затруднено.

В рядовой штабель (рис. 4.3, б) лесоматериалы укладываются плотными рядами, отделенными друг от друга горизонтальными прокладками. В рядовых штабелях хорошо циркулирует воздух, что способствует просыханию древесины. Формирование штабелей этого типа требует больших затрат ручного труда на расцепку пачек, раскатку прокладок и рядов; ручной труд требуется также на застропку пачек при разборке штабелей. Вместимость рядовых штабелей ниже, чем плотных.

Плотно-рядовым называется штабель, в который лесоматериалы укладываются многослойными рядами, отделенными друг от друга горизонтальными прокладками (рис. 4.3, в). По интенсивности циркуляции воздуха, по вместимости и по возможной степени механизации работ плотно-рядовые штабеля занимают промежуточное значение между плотными и рядовыми штабелями.

В пачковый штабель (рис. 4.3, г) лесоматериалы укладываются пачками, отделенными друг от друга горизонтальными, наклонными или вертикальными прокладками. Эти штабеля формируют и разбирают кранами или лебедками, оснащенными стропами; объемы пачек соответствуют грузоподъемности механизмов.

Пакетный штабель (рис. 4.3, д, е) формируется из пакетов установленной формы и размеров, фиксированных обвязкой, контейнером или другим устройством. Ряды пакетов могут укладываться параллельно (д) или перпендикулярно (е) друг другу. Основное преимущество таких штабелей состоит в готовности пакетов для подачи их в вагоны, плоты или на обработку с наименьшими затратами времени и ручного труда. Недостатком пакетных штабелей является очень большая потребность в обвязке или контейнерах.

.2 Технологические процессы лесных складов

На лесных складах применяют различные технологические и подъемно-транспортные машины и установки, из которых обычно формируют поточные линии. Несколько поточных линий, выполняющих одинаковые функции, а также обслуживающее их дополнительное (не входящее в состав линий) подъемно-транспортное оборудование, сооружения и запасы лесоматериалов, образуют функциональные участки лесного склада. Участки, технологический процесс которых заканчивается выпуском готовой продукции, отгружаемой со склада, называются цехами.

Нижние склады лесозаготовительных предприятий содержат:

производственный участок по выгрузке вывезенного леса, созданию запасов сырья и подаче его в первичную обработку;

основные технологические потоки по производству круглых лесоматериалов (очистке деревьев от сучьев, раскряжевке хлыстов, сортировке круглых лесоматериалов);

дополнительные технологические потоки (производство короткомерных круглых лесоматериалов);

технологические потоки по механической переработке лесоматериалов (шпалопилению, лесопилению, производству тарных дощечек, выработке технологической щепы);

вспомогательные технологические потоки по переработке сучьев, коры, древесной зелени и т. п.;

потоки по штабелевке и отгрузке готовой продукции.

Типы машин, установок и поточных линий, их число и взаимное расположение на участках и в цехах лесных складов зависят от вида и количества сырья, поступающего на участок или в цех, среднего объема хлыста или сортимента, вида продукции, выпускаемой участком или цехом и других факторов.

Выгрузка заготовленного леса. Технологический процесс на нижнем складе начинается с выгрузки заготовленного леса или с разгрузки лесотранспортных средств, прибывающих по лесовозной дороге.

Пакет снимают, сталкивают или стаскивают с автопоезда (или узкоколейного сцепа) за один прием. При укладке в запас, при групповой обработке, а также при перегрузке на другие транспортные средства пакет снимают с подвижного состава и, не расформировывая, укладывают в штабель, в бункер или на платформу МПС. Если же деревья или хлысты сразу направляются на поштучную обработку, то пакет должен быть не только разгружен, но и расформирован.

К оборудованию, применяемому для разгрузки лесовозных транспортных средств, предъявляется ряд требований. Это оборудование должно иметь грузоподъемность достаточную для разгрузки работающего на данной лесовозной дороге подвижного состава. Объем пакетов, доставляемых на автомобилях КрАЗ и узкоколейных сцепах, может достигать 28.. .30 м3. Установленное на складе оборудование должно обеспечивать разгрузку пакетов такого объема.

Оборудование, которое предназначено для выгрузки хлыстов или деревьев непосредственно на площадку, должно производить также и расформирование пакета. К разгрузочному оборудованию, предназначенному для укладки хлыстов или деревьев в запас, предъявляется другое требование - оно должно иметь достаточно большую зону действия и значительную высоту погрузки, чтобы уложить как можно больше древесины в запас. Это оборудование должно обладать значительными скоростями перемещения груза. Наконец, очень важным требованием к разгрузочному оборудованию является полная механизация всех приемов. Для выгрузки и создания запаса древесного сырья наибольшее распространение нашли краны большой грузоподъемности, к которым козловые бесконсольные краны ЛТ-62.

На рис. 4.4 приведена схема склада хлыстов на базе козлового крана типа ЛТ-62. Козловой кран ЛТ-62 перемещается на опорах по рельсам. Ферма, размещенная на опорах, несет на себе тележку с грузозахватными приспособлениями; на ферме размещена также кабина крановщика. Кран оснащен электрогидравлическим поворотным грейфером ЛТ-59 грузоподъемностью 28 т, которым можно осуществлять захват пачки хлыстов или деревьев объемом до 30 м3 и ее разворот.

Рис. 4.4. Схема склада хлыстов на базе козлового крана ЛТ-62:

-водоем; 2 - кран ЛТ-62; 3 - штабеля хлыстов;

- автолесовозная дорога; 5 - вспомогательные помещения

Очистка деревьев от сучьев. Очистка деревьев от сучьев на нижнем складе - обязательный элемент технологического процесса лесозаготовок, основанного на вывозке деревьев. В условиях нижнего склада используется стационарное сучкорезное оборудование, позволяющее получить высокую производительность, полностью исключить ручной труд на обрезке сучьев, свести выполнение этой операции к управлению машинами, применить элементы автоматики и программирования. Таким образом, эффективность и уровень механизации обрезки сучьев на нижнем складе может быть значительно выше, чем на лесосеке.

Однако, несмотря на указанные преимущества, широкого массового распространения обрезка сучьев на нижних складах не получила. Объясняется это тем, что в большинстве предприятий пока нет возможностей для рационального использования кроны. Технологическая щепа, получаемая из сучьев и вершин, может использоваться для производства древесноволокнистых и древесностружечных плит, но для этого требуются большие капиталовложения на строительство цехов и на оснащение их сложным оборудованием. Значительные капиталовложения необходимы и на установку сучкорезных машин, поскольку это связано обычно с реконструкцией складов. Преимущественное распространение имеет вывозка хлыстов и, следовательно, обрезка сучьев на фазе лесосечных работ.

Раскряжевка хлыстов. Технологические варианты раскряжевки. На большинстве нижних складов производится раскряжевка хлыстов, т. е. поперечное их деление на сортименты и на долготье. Существует несколько технологических вариантов раскряжевки хлыстов. Они различаются по количеству одновременно обрабатываемых хлыстов, по режиму работы раскряжевочных установок, направлению подачи хлыстов относительно раскряжевочных устройств, по возможности размерно-качественной оценки хлыстов.

По количеству одновременно обрабатываемых хлыстов различают поштучную и групповую раскряжевку. Поштучной называют раскряжевку отдельных хлыстов с предварительной оценкой качества каждого из них. Под групповой раскряжевкой понимают одновременную раскряжевку всей пачки хлыстов.

Режим работы раскряжевочных установок может быть цикличным и непрерывным. Цикличный режим характерен для установок периодического действия. Цикл у них состоит из перемещения хлыста на расстояние, равное длине сортимента, и остановки, во время которой выполняется рез. На установках непрерывного действия перемещение хлыста и раскрой его на сортименты совмещены во времени.

Хлысты к раскряжевочному устройству можно подавать в продольном и поперечном направлениях, возможна и комбинированная подача хлыстов.

Принцип продольного перемещения используется в раскряжевочных установках периодического действия. Хлыст перемещается в продольном направлении, его движение чередуется с остановками, во время которых включается режущий механизм и перерезает хлыст в заданном направлении. При работе по принципу продольного перемещения достигается рациональная раскряжевка с учетом размеров, пороков и породы каждого хлыста и получением наибольшего выхода ценных и наиболее нужных деловых сортиментов.

По принципу поперечного перемещения хлыстов осуществляется процесс раскряжевки на установках непрерывного действия - слешерах и триммерах. Хлысты надвигаются на систему пил «щетью», в поперечном направлении, и пилы разрезают их на сортименты сразу в нескольких сечениях. Основное преимущество этого принципа - получение наивысшей производительности. Он применим при обезличенном методе раскряжевки.

Принцип комбинированного перемещения используется в раскряжевочных установках, которые совмещают в себе продольное перемещение хлыста под пилу с последующим поперечным перемещением некоторых его отрезков к системе пил.

Оценка размерно-качественных признаков хлыстов является необходимым условием рациональной раскряжевки их. Возможность такой оценки и ее точность в современных условиях определяются не только квалификацией и быстротой реакции операторов, но и конструктивными особенностями раскряжевочных установок. Можно выделить три метода оценки: индивидуальный, программный и обезличенный.

Метод индивидуальной оценки, т. е. метод оценки размеров и качества каждого хлыста, характерен для поштучной раскряжевки. Оператор имеет возможность визуально оценивать особенности не только хлыста в целом, но и корректировать эту оценку по мере отпиливания каждого сортимента: сделав очередной рез, оператор видит торец следующего сортимента и принимает решение о том, на каком расстоянии сделать рез. Метод индивидуальной оценки используется также при раскряжевке хлыстов электропилами.

Программный метод заключается в следующем. Оператор визуально оценивает поступающий на установку хлыст и с помощью электронного устройства набирает программу его раскряжевки. Устанавливается, например, следующая программа: первое бревно - пиловочник длиной 6,5 м, второе - пиловочник 4,5 м, все последующие-балансы длиной 2 м. Оператор переключается затем на выполнение других приемов, допустим, на подачу манипулятором следующего хлыста, а раскряжевка в это время ведется автоматически по заданной программе.

Метод обезличенной раскряжевки состоит в том, что отдельные хлысты или пачки хлыстов раскряжевываются на сортименты заранее установленной длины без предварительной оценки качества каждого хлыста. Для повышения полезного выхода сортиментов рекомендуется делать подсортировку хлыстов по группам пород и размеров. Подсортировка хлыстов делается либо на лесосеке, либо в условиях нижнего склада.

Раскряжевочные установки. На нижнем складах лесозаготовительного предприятия работает раскряжевочная установка с продольной подачей хлыста ЛО-15. Некоторые крупные склады оснащены многопильными установками ЛО-65 с поперечной подачей хлыстов. Имеются также установки ЛО-67 для групповой (пачковой) раскряжевки рудничного долготья. Ведется работа над созданием целого ряда других раскряжевочных установок.

Раскряжевочная установка ЛО-15 (см. рис. 4.5, б) представляет собой усовершенствованный вариант установки ПЛХ-ЗАС.

Рис. 4.5. Схемы раскряжевочных установок с продольной подачей хлыста:

а - ПЛХ-ЗАС; б - ЛО-15; в - ЛО-68

Основные отличия ее от ПЛХ-ЗАС состоят в следующем. Для поштучной подачи хлыстов на продольный транспортер введен двухстреловой манипулятор 8 типа ЛО-13С. Приемный стол 9 выполнен в виде лотка с откидными бортами, на раме стола установлено десять выдвижных упоров. Кроме основного пильного станка, который однотипен со станком ПЛХ-ЗАС, на установках ЛО-15С монтируется пильный блок 9 из трех пил, который служит для раскряжевки вершинной части хлыстов и долготья. Расстояние между пилами 2 м, это позволяет раскряжевывать вершинные части и долготье на двухметровые отрезки и отрезки, кратные этой длине - 4; 6 и 8 м. Манипулятор ЛО-13С состоит из стрелы, рукояти, захвата, гидроцилиндров, основания, системы трубопроводов, насосной станции, органов управления. Гидроманипулятор может устанавливаться не только на линии ЛО-15С, но и на линиях ПЛХ-ЗАС.

Сортировка лесоматериалов. Сортименты, полученные при раскряжевке хлыстов, маркируют и сортируют. Кроме того, на складе производится их обмер и учет. Все эти операции неразрывно связаны и выполняются почти одновременно.

В пунктах раскряжевки хлыстов производится маркировка лесоматериалов - на их верхние торцы наносят условные знаки, по которым можно определить назначение, сорт и диаметр каждого бревна. Назначение лесоматериалов обозначается буквами. Например, буквой А обозначают лесоматериалы для авиационных кряжей и лесоматериалы для выработки авиашпона. Буквой Р обозначают рудстойку и резонансовые пиломатериалы. Букву К используют для обозначения балансов, а также шпал и переводных брусьев. Обозначение одной и той же буквой совершенно различных сортиментов возможно потому, что эти сортименты резко различаются размерами. Для обозначения сортиментов используют также буквы С, Э, Л, М.

Сорт лесоматериалов обозначают арабскими или римскими цифрами: первый сорт-1 или I, второй - 2 или II и т, д. Диаметр обозначают арабскими цифрами, при этом ставят только одну цифру - вторую, первая цифра, соответствующая десяткам, не ставится, так как десятки определяют глазомерно. Например, сортимент с цифрой 4 может иметь диаметр 14; 24; 34; 44 или 54 см.

Поштучно маркируют деловые круглые лесоматериалы диаметром 14 см и более. Лесоматериалы длиной до 2 м независимо от толщины не маркируют. Не маркируют также дрова и дровяное долготье длиной до 3 м. Поштучная маркировка может не производиться при поставке лесоматериалов плотовым или молевым сплавом.

Лесоматериалы маркируют красками и мелками, стойкими к атмосферным воздействиям, а при поставке сплавом - водостойкими красками.

Сортировкой лесоматериалов называют распределение их по качеству, породам, размерам и назначению в соответствии с требованиями нормативно-технической документации.

Лесоматериалы, предназначенные для погрузки в вагоны, на автомобили и для водных перевозок, рассортировывают на сортименты по породам (хвойные и лиственные) и по длинам. Балансы рассортировывают на группы пород: еловые и пихтовые вместе; осина; сосна; остальные породы - по соглашению сторон. Однако балансы, предназначенные для производства некоторых видов целлюлозы (сульфатной, бисульфатной) сортируют лишь на две группы - хвойные и лиственные. Рудстойки рассортировывают по длине и толщине и укладывают в штабеля так, чтобы в одном штабеле был один размер по длине и не более двух смежных размеров по толщине.

Таким образом, на прирельсовых складах дробность сортировки значительна. На береговых складах количество сорторазмеров меньше, при этом на складах, с которых древесина поступает в молевой сплав, процесс сортировки еще более упрощается: выделяются только лиственные лесоматериалы.

Круглые деловые лесоматериалы длиной более 2 м и дровяное долготье длиной более 3 м обмеряют и учитывают поштучно. Однако лесоматериалы для лущения, строгания, лыжных заготовок, а также сортименты из древесины ценных пород учитывают поштучно независимо от длины. Диаметр сортиментов до 13 см включительно измеряется с точностью до 1 см, а 14 см и более - в четных сантиметрах с соответствующими округлениями.

Сортировка бревен на нижних складах производится с помощью продольных транспортеров, т. е. устройств непрерывного действия с замкнутым тяговым органом в виде цепи или каната. Продольный транспортер состоит из эстакады, круглозвенной или разборной цепи с захватными приспособлениями (траверсами), направляющих, ведущей и ведомой звездочек с натяжными приспособлениями, электродвигателя с редуктором. Цепь транспортера состоит из звеньев с определенным шагом, шириной и диаметром закруглений. Такие цепи называются калиброванными. На транспортерах ЛТ-44 и ЛТ-86 применены разборные цепи. На цепи закрепляются траверсы, они располагаются на равных расстояниях друг от друга, выбранных с таким расчетом, чтобы сортименты любой длины ложились только на траверсы. По концам транспортера располагаются приводная и натяжная станции. Зубья на звездочках имеют размеры, соответствующие размерам звеньев цепи. Для облегчения ремонта и замены зубья делают вставными. Приводная станция транспортера состоит из электродвигателя и редуктора.

Обычный транспортер (например, Б22У-1) выполняет лишь первую часть сортировки - он перемещает бревна от разделочной площадки к штабелям. Затем бревна нужно сбросить с транспортера в накопители, причем каждое бревно должно быть сброшено в тот накопитель, который отведен для данного сортимента, сорта и размера. При ручном выполнении эта операция требует большого числа рабочих (обычно один рабочий на два соседних накопителя), она тяжела физически и опасна. Поэтому замена ручного сбрасывания механическим, а тем более автоматическим представляет собой очень важную задачу.

Вдоль сортировочного транспортера устраиваются лесонакопители, количество которых должно соответствовать числу сорторазмеров вырабатываемых на складе сортиментов с учетом некоторого резерва. Вместимость накопителей должна быть достаточной для бесперебойной работы, как сортировочного транспортера, так и раскряжевочной установки. С другой стороны, при ручной застропке пачек желательно, чтобы вместимость накопителя была примерно равна грузоподъемности штабелевочно-погрузочного механизма; при использовании механических захватов и автопогрузчиков это ограничение снимается. При полной механизации работ на сброске бревен и погрузке накопители могут иметь следующие размеры: глубина 1,8...2,5 м, ширина 2,3...2,5 м, длина - по длине сортимента. Между накопителями должны быть разрывы по 1,5…2м.

Штабеля лесоматериалов располагают как в одну, так и по обе стороны транспортера. При этом сортименты, подлежащие отгрузке потребителям в круглом виде, отсортировываются в лесонакопители, расположенные в сторону отгрузочного железнодорожного пути или в сторону берега. Сортименты, предназначенные для дополнительной разделки или переработки в цехах нижнего склада, сбрасываются в сторону цеховых транспортеров.

Штабелевка и погрузка лесоматериалов. Штабелевка и погрузка лесоматериалов консольно-козловыми кранами. Консольно-козловой кран, схема установки которого показана на рис.4.6, имеет главную двухконсольную ферму 3, на которой закреплена несущая балка - монорельс. Для перемещения грузовой каретки 5 и кабины 4, а также для подъема груза на кране установлены лебедки. Кран перемещается на четырех тележках по специальному подкрановому пути 8. Опоры крана 2 выполнены в виде портала, который необходим для пропуска пачки лесоматериалов. Одна из консолей крана перекрывает лесонакопители 9, в которые сбрасываются сортименты с транспортера 10, а вторая - отгрузочный путь. Штабель 7 располагают между опорами крана. Кран поднимает пачку 6, сформированную в лесонакопителях, и перемещает ее в штабель. В тех случаях, когда под погрузку поданы вагоны /, пачки из накопителей грузят сразу в вагоны. Поскольку лесоматериалов в накопителях недостаточно для загрузки данным сортиментом целого вагона, погрузку обычно ведут из штабелей, т.е. эти работы ведутся по схеме «накопитель - штабель, штабель - вагон» и частично по схеме «накопитель - вагон».

Рис.4.6. Схема установки консольно-козлового крана на прирельсовом нижнем складе

Рис.4.7. Схема установки башенного крана на прирельсовом нижнем складе

Для штабелевки и погрузки лесоматериалов применяют краны-лесопогрузчики КБ-572 и КБ-572А, специально созданные для работы с лесными грузами. Кран КБ-572 состоит из портала, который на четырех тележках перемещается по подкрановому пути. На портале расположена башня, а на ней - стрела с грузовой тележкой 6 и противовес. Управление краном осуществляется из кабины 7. По обе стороны пути размещают штабеля /. Конец стрелы крана совпадает с лесонакопителями 9, в которые подают лесоматериалы с сортировочного транспортера 8.

Башенные краны хорошо вписываются в технологический процесс береговых нижних складов, они выполняют здесь как штабелевку, так и сброску лесоматериалов на воду. Башенные краны удобны также для выгрузки лесоматериалов из воды или барж.

Для погрузки лесоматериалов консольно-козловые и башенные краны оборудуются строповыми захватами или грейферами. При применении строп необходим ручной труд на застропке и отцепке пачек. Лесоматериалы, сбрасываемые с сортировочного транспортера, формируются в накопителях в пачки. Объем этих пачек можно регулировать, формируя с помощью прокладок такие пачки, которые соответствовали бы грузоподъемности крана. Заблаговременное формирование пачек в накопителях, а также хранение лесоматериалов в штабеле готовыми пачками, т. е. в пачковых штабелях, облегчает труд грузчиков, делает его более производительным, ускоряет погрузку. Формирование пачек в плотных или рядовых штабелях требует дополнительных затрат труда и времени на откатывание бревен, их выравнивание и отделение пачки от штабеля. Повышению производительности способствует также применение сменных строп. Кран при ручной застропке обслуживается бригадой в составе 3 ... 5 чел., включая крановщика.

Чтобы устранить ручной труд, консольно-козловые и башенные краны оборудуют грейферами, предназначенными для захвата круглых лесоматериалов. Грейферы для лесоматериалов могут быть радиального действия и торцовые (рис. 4.8).

Рис. 4.8. Схемы грузозахватных устройств кранов:

а - радиальный грейфер с гидроприводом; б - торцевой грейфер; в - стропный комплект

Грейферы радиального типа захватывают пачку с боков, торцовые - с торцов. Наибольшее распространение получили грейферы радиального действия, к числу их относятся ЛТ-59, ЛТ-153, ВМГ-5, ВМГ-10.

Грейфер ЛТ-153 может применяться с кранами грузоподъемностью 10 т, преимущественно с башенными кранами КБ-572. Грейфер ЛТ-59 грузоподъемностью 28 т используют с козловыми кранами ЛТ-62. С консольно-козловыми кранами используют вибромоторные грейферы ВМГ-10 и ВМГ-5 и торцовые ГТБ-1М и ЛТ-77.

.3 Лесоперерабатывающий цех

Разделочные цехи являются дополнительными производственными звеньями многих лесозаготовительных предприятий. Это своего рода ответвления от основного технологического потока на нижних складах. В задачу разделочных цехов входит более углубленная обработка древесины по сравнению с основным потоком. При раскряжевке хлыстов на полуавтоматических линиях или электропилами получают не только готовые сортименты (пиловочник, строительные бревна, балансы, рудстойки и т. д.), но и долготье, т. е. отрезки хлыстов, предназначенные для разделки на сортименты и имеющие длину, кратную длине получаемых сортиментов с припуском на разделку. Разделка долготья производится на специальном оборудовании, что позволяет повысить производительность труда и рационализировать использование древесины. В таких цехах разделывают долготье и производят другие операции (раскалывание кряжей, окорку балансов, удаление гнилей и др.). Разделку и окорку балансового долготья наиболее целесообразно выполнять на биржах целлюлозно-бумажных предприятий, а рудстоечного - на центральных лесных складах в угольных бассейнах. Однако в значительных объемах эти работы выполняются пока и на нижних складах лесозаготовительных предприятий. На предприятиях широко распространено также производство так называемых колотых балансов из дров и низкокачественной древесины.

Разделочные цехи строят непосредственно на нижних складах, вписывая их в технологический поток с таким расчетом, чтобы долготье поступало в цех с наименьшими транспортными затратами. Учитывают также возможности расположения при цехах резервных штабелей сырья и складирования готовой продукции и подачи отходов на переработку или в котельную.

Расположение оборудования внутри цеха должно обеспечивать бесперебойное поступление сырья, передачу лесоматериалов от одного станка к другому с наименьшим количеством перевалок и без встречных потоков, планомерную отправку готовой продукции и отходов из цеха и безопасность работы обслуживающего персонала. Эти два общих положения - о размещении цехов на нижних складах и о расположении оборудования в них, относятся как к разделочным, так и к любым другим цехам - лесопильным, шпалорезным, тарным.

Окорка лесоматериалов. Многие сортименты перед их использованием или дальнейшей обработкой подвергаются окорке. К числу их относятся пиловочник, шпальный кряж, рудстойка, балансы, бревна для столбов линий связи и электропередач, фанерный кряж, а также сырье для производства технологической щепы. Окорка чаще всего производится на предприятиях, для которых данные сортименты являются сырьем, т. е. на лесопильно-деревообрабатывающих, целлюлозно-бумажных, горнорудных, пропиточных и т. д. Вместе с тем в значительных объемах окорка лесоматериалов производится и в лесозаготовительных предприятиях.

В тех лесозаготовительных предприятиях, где имеются лесопильные цехи, очень важное значение имеет предрамная окорка, т. е. окорка пиловочника перед распиловкой его на лесопильной раме. В этом случае используется вся древесина: из бревна получаются доски и брусья, а горбыли, рейки, срезки идут в рубительную машину и измельчаются на технологическую щепу. Предрамная окорка позволяет получить кондиционную технологическую щепу, которая используется в целлюлозно-бумажном производстве, тогда как щепа из неокоренных отходов для этой цели не годится, она используется лишь для производства древесноволокнистых и древесностружечных плит. Такое же значение имеет окорка шпального кряжа перед подачей его на шпалорезный станок. Окорке подвергают также колотые лесоматериалы, сучья, кусковые отходы перед тем, как измельчать их на технологическую щепу. В некоторых лесозаготовительных предприятиях производят окорку экспортных балансов и рудстойки.

Качество окорки существенно зависит от породы окоряемых лесоматериалов, толщины коры, ее сцепления с древесиной. Толщина коры зависит от диаметра и породы дерева и составляет 3... 20 мм. Сцепление коры с древесиной определяется в основном влажностью и температурой лесоматериалов. При увеличении влажности и температуры сцепление снижается, и процесс окорки облегчается. Окорка сухих и

Системы машин. Одной из задач проектирования нижних складов является выбор оборудования для выполнения нижнескладских операций. В предыдущих разделах было показано, что любая из операций может выполняться механизмами различного типа. Задача заключается в том, чтобы из всего многообразия техники выбрать такие технические средства, которые для данного склада являются оптимальными. Существует несколько основных принципов выбора оборудования.

Параметры оборудования, его мощность и производительность должны соответствовать грузообороту склада. Очевидно, что для каждой операции должно выбираться такое оборудование, сменная производительность которого равна или несколько больше расчетного сменного грузооборота. Часто практикуется параллельная установка двух и более механизмов для выполнения одной и той же операции, если производительность одного механизма недостаточна.

Выбор оборудования в значительной степени предопределяется типом склада. Прирельсовые склады базируются на стационарном оборудовании, береговые, особенно приречные на реках с молевым сплавом, в большинстве случаев целесообразно оснащать мобильным оборудованием.

Оборудование выбирают с учетом размерных, породных и качественных характеристик сырья. От крупномерности хлыстов зависит выбор раскряжевочных и сортировочных установок; породный состав имеет значение для выбора сучкорезных машин; породный и качественный состав учитывают при выборе сортировочного и разделочного оборудования.

Техническое оснащение складов зависит от степени переработки древесины, от наличия лесопильного, разделочного и других цехов. При наличии таких цехов в состав основных технических средств нижнего склада включают оборудование для подготовки и транспортировки сырья для этих цехов.

Обязательным условием выбора оборудования для нижних вкладов является взаимная увязка его в едином технологическом потоке. Машины и установки, размещаемые в потоке, должны соответствовать друг другу по производительности, техническому уровню, надежности, по возможности обработки сырья определенных размеров, пород и качества.

5. Лесовосстановление и охрана окружающей среды

.1 Общие сведения

Лесное хозяйство в отличие от промышленного производства имеет ту особенность, что его производственные процессы бывают рассредоточены на большой территории. Кроме того, лесные площади в большинстве своем являются трудно осваиваемыми в отношении применения машин. Более удобные для освоения земельные участки, как правило, используют под сельскохозяйственные культуры.

Вторая особенность лесохозяйственного производства та, что одним из основных средств производства является земля, на которой растет лес. Следовательно, машины, воздействующие на землю (обрабатывающие почву и т. д.), должны перемещаться по ней.

Далее необходимо отметить, что применяемые машины и орудия производства являются периодическими, связанными с почвенно-климатическими условиями, причем некоторые процессы обусловливаются строгими агротехническими сроками.

Разнообразие производственных процессов и особенности применения машин и орудий определяют как номенклатуру машин и орудий, так и их эксплуатацию в лесном хозяйстве.

Технологические процессы лесовосстановления включают следующие виды:

Сбор семенного материала.

Выращивание посадочного материала в питомниках.

Производство лесных культур.

Содействие естественному возобновлению леса.

Уход за насаждениями.

Охрана насаждений от пожаров и вредителей леса.

Каждый из процессов включает целый ряд операций, выполняемых различными машинами и орудиями.

В лесном хозяйстве реализуется два направления восстановления лесов: лесоводственное, базирующееся на содействии естественному возобновлению леса, и лесокультурное - на основе искусственного возобновления леса. Рассмотрим технологии лесокультурного воспроизводства лесов.

.2 Сбор семенного материала

Сбор семян является сложным и трудоемким процессом. В отличие от сельского хозяйства сбор семян в большинстве случаев приходится производить с растущих высоких деревьев или совмещать сбор шишек хвойных пород при заготовке древесины с поваленных деревьев. Для подъема сборщиков в кроны деревьев используют индивидуальные древолазные устройства или механические подъемники. Используют также способы вибрационного сбора, методы всасывания и др. После сбора шишек производят извлечение семян в шишкосушилках стационарного или передвижного типов, используя электрическую энергию или сжигая древесные отходы. Во время сушки семена выпадают из раскрывающихся шишек и собираются в специальные приемники.

Рис.5.1. Схема машины МОС-1А

Обескрыливание семян. При естественном возобновлении крылья необходимы семенам для их пространственного распространения, при искусственном же они являются лишним балластом, ухудшают качество посева и служат помехой при сортировке. Поэтому семена многих пород подвергаются обескрыливанию путем перетирания вороха семян во вращающихся барабанах со щетками (рис. 5.1).

Установка имеет загрузочный ковш 1, в который засыпают семена, обескрыливатель 2, осадочную камеру 3, вентилятор 4, электродвигатель 5, вертикальный воздушный канал 6, сортировочный барабан с решетами 7 и приемник семян 8.

Хранение семян. Лучшим способом хранения очищенных семян хвойных пород считается хранение их в закупоренных стеклянных бутылях или металлических сосудах при температуре от 0 до 5оС при влажности в период хранения от 9 до 12%.

5.3 Выращивание посадочного материала в питомниках

Выращивание посадочного материала в питомниках находится в прямой зависимости от объема лесопосадочных работ в каждом данном лесхозе и в целом по региону. При условии, когда питомник обеспечивает посадочным материалом ряд лесхозов, он может быть выделен в самостоятельное хозяйство с собственным парком машин и орудий. Основные работы в питомнике: обработка почвы, посев, уход за посевами и выкопка посадочного материала. Все эти работы - сезонные.

Для конкретизации выполняемых работ разрабатываются технологические схемы выращивания посадочного материала, где указываются виды работ в их последовательности с привязкой к сезону, применяемое оборудование и материалы, последовательность выполнения всех воздействий для производства посадочного материала с открытой и закрытой корневой системой.

Если рассматривать питомник как самостоятельное хозяйство, то он должен быть оснащен всеми необходимыми машинами и орудиями, а именно: почвоообрабатывающими, сеялками, поливными машинами, машинами по борьбе с вредителями и болезнями, выкопочными машинами и орудиями, а также транспортными.

В питомниках, являющихся составной частью лесхоза, работы могут выполняться машинами, применяемыми в лесхозе при производстве культур и в других процессах.

В целях улучшения структуры почвы и создания благоприятных условий для произрастания растений в питомниках проводят подготовку почвы, для чего используют различные почвообрабатывающие машины и орудия. В зависимости от характера применяемого процесса и технологических возможностей они делятся на группы: плуги; бороны и культиваторы; почвенные фрезы; катки.

Основные рабочие органы плуга следующие: корпус, ножи, предплужник, почвоуглубитель.

Рис.5.2. Рабочие органы плуга: а - общего назначения; б - лесного

Стойка болтами и скобой прикрепляется к грядилю 5 или брусу рамы. Впереди корпуса устанавливаются предплужник 6 и ножи 7, а позади у некоторых плугов - почвоуглубитель. У плугов лесного исполнения (рис. 5.2 б) лемех имеет отогнутую пятку 8.

Плуг выполняет следующие технологические операции: ноги отрезают пласт в вертикальной плоскости, лемех подрезает пласт снизу, отделяет его от дна борозды и передает его на отвал, при этом происходит деформация пласта. Отвал производит сдвиг и оборот пласта, его крошение, разрыхление и уплотнение.

Плуги марок ПН-4-3,5А; ПЛН-3-3,5; ПКС-3-3,5 служат навесными орудиями для тракторов сельскохозяйственного назначения МТЗ-82, производят вспашку почвы на глубину 25...30 см. Исполняются в одно-, двух-, трех- и четырехкорпусном вариантах, работая с производительностью 0,84...1,3 га/ч.

Назначение борон и культиваторов - это дополнительная обработка почвы (после вспашки) перед посевом и дальнейший уход за культурами. Рабочими органами служат: зубья, ножи, лапы, диски, штанги, звездочки, цилиндры. Так, зубовые бороны служат для поверхностного рыхления и перемешивания почвы перед посевом. Культиваторы предназначены для уничтожения (прополки) сорняков. Несмотря на большое разнообразие рабочих органов у борон и культиваторов, технологическими элементами у них являются клинья, как и у плугов.

Типовая марка дисковой навесной бороны БДН-3 с шириной захвата 3 м и глубиной обработки почвы до 12 см при работе с колесным трактором обеспечивает производительность 2,4 га/ч. Культиватор-плоскорез КПП-2,2 с шириной захвата 2,1 м и глубиной обработки почвы 7-16 см обеспечивает производительность 1,6 га/ч.

Почвенная фреза представляет собой горизонтально расположенный на раме барабан с насаженными на нем клиновидными рабочими органами. Фреза является навесным орудием, агрегатируемым с колесным трактором, при перемещении по площади питомника позволяет регулировать процесс фрезерования на ходу.

Фрезерная подготовка почвы осуществляется с одновременной поделкой гряд высотой до 10 см. Типовая почвенная фреза ФПШ-1,3 обеспечивает производительность 0,2 га/ч с глубиной обработки почвы до 10 см и шириной захвата 1,3 м при агрегатировании с колесным трактором Т-16М.

При посеве семян в питомнике должны соблюдаться следующие основные требования: равномерное распределение семян на единицу площади, равномерная глубина посева, тщательная заделка семян в почве на заданную глубину. Существует несколько видов посевов, из которых наиболее распространенными являются: разбросной (по площади), рядовой и широкострочный.

Для механизации посева семян применяют сеялки марок «Литва-25», СЛУ-5-20 при работе в открытых грунтах и теплицах с производительностью 0,4 га/ч. Коллективом авторов ПетрГУ разработана вибрационная сеялка СВУ-1,2.

Рис. 5.3. Сеялка вибрационная универсальная СВУ-1,2

Сеялка СВУ-1,2 предназначена для разбросного (сплошного) и широкострочного посева семян хвойных пород с целью получения крупномерного посадочного материала без перешколивания. Она за один проход выравнивает поверхность поля, рыхлит почву на глубину заделки семян, уплотняет посевное ложе, распределяет семена разбросным или широкострочным способом, заделывает семена почвой и может проводить полное или частичное ее уплотнение над семенами. Принципиальная схема сеялки СВУ-1,2 (вид сбоку) представлена на рис. 5.3.

Фрезерный сошник 1 состоит из вала с ножами, расположенными по винтовой линии. Семенной ящик имеет герметическую крышку для
исключения попадания влаги. Дозатор 8 состоит из корпуса и высевающей катушки. Вал катушки смонтирован в подшипниках корпуса с возможностью осевого перемещения для регулировки сеялки на заданную норму высева. Резиновый гофрированный семяпровод 9 соединяется с рассевающей трубкой 4, в которой имеются отверстия для высева семян. Прикатывающий каток 3 съемный, шарнирно соединен с рамой сеялки, фиксируется ограничительной цепью. Кожух 5 защищает рассевающую трубку от забивания почвой. Ряд основных отверстий 15 (см. рис. 9.3 а) выполнен в нижней части трубки, компенсационные отверстия расположены в два ряда на передней и задней ее части. Вибратор 13 кулачкового типа смонтирован в корпусе с масляной ванной, возвратная пружина 14 находится на противоположном от вибратора конце трубки. Щиток 12 выполняет функции защиты механизма сеялки от почвы, отбрасываемой фрезерным сошником. Выравнивающий каток 2 установлен в подшипниках на раме сеялки и снабжен грунтозацепами для привода дозатора. Сеялка комплектуется трубками для разбросного и широкострочного посева.

Схема разбросного посева показана на рис. 5.3 .а. Основные отверстия 15 рассеивающей трубки обеспечивают сплошной посев семян на ленте шириной 0,9 м, а компенсационные отверстия предотвращают избыточное заполнение трубки семенами. Схема трехстрочного посева (ширина посевной строки 0,1 м) представлена на рис. 5.3 б.

Механизм привода сеялки СВУ-1,2 состоит из шарнирного телескопического вала 10 для соединения с валом отбора мощности (ВОМ) трактора, конического редуктора 11 для привода фрезерного сошника и вибратора через цепную передачу.

Лесохозяйственный трактор ЛХТ-100 предназначен для выполнения комплексных работ по лесовосстановлению и уходу за лесом и борьбы с лесными пожарами (рис. 9.6.). Лесохозяйственный трактор является модификацией трелевочного лесопромышленного и предназначен для комплексной механизации работ по восстановлению леса на нераскорчеванных вырубках в районах с временными увлажненными почвами.

Рис. 5.4. Лесохозяйственный трактор ЛХТ-100

Трактор применяется для механизации лесовосстановительных работ, борьбы с лесными пожарами, болезнями и вредителями леса на дорожно-строительных работах и перевозки грузов в условиях бездорожья. Двигатель и кабина 1 расположены впереди, а задняя площадка свободна для расположения технологического оборудования: лебедка 2 используется при заготовке древесины; грузовая самоопрокидывающаяся платформа 3 приспособлена для транспортировки грузов ; навесное оборудование 4 позволяет агрегатировать трактор с лесохозяйственными машинами. На передней части рамы установлен бульдозерный отвал 5, позволяющий выполнять земляные работы. Упругая балансирная подвеска обеспечивает ровный и мягкий ход и увеличивает проходимость и маневренность трактора.

Трактор агрегатируется с лесными плугами и культиваторами, лесопосадочными машинами с активными рабочими органами, машинами для расчистки полос, лесными опрыскивателями, лункообразователями для посадки лесных культур и др.

.4 Уход за насаждениями и содействие естественному возобновлению леса

Большое место занимает при производстве культур уход за растениями. Он выполняется периодически в течение ряда лет. Особенно большое внимание приходится уделять посевам и посадкам в первые годы. В этот период главным образом требуется вести борьбу с сорной растительностью. Для этой цели в современных условиях применяют не только различного вида культиваторы и другие орудия, но и химические средства борьбы с применением опрыскивателей, опыливателей и других аппаратов. Кроме уничтожения сорной растительности рекомендуются рыхление почвы, внесение удобрений, осветление и прочистки в насаждениях.

Используется механизация ухода за культурами на вырубках, зарастающих лиственными породами. Наиболее просты по конструкции ручные мотокусторезы, рабочий орган которых - пильный диск - приводится в действие от моторной пилы. Повышенную производительность при расчистке молодняка получают при использовании кусторезов-осветлителей на базе лесохозяйственных тракторов. Применяется ряд машин и оборудования для переработки биомассы от рубок ухода на сортименты и щепу.

В местах лесозаготовок возобновление леса может происходить как искусственным, так и естественным путем. При естественном возобновлении осуществляются меры содействия, заключающиеся в оставлении и сохранении подроста при заготовках, оставлении семенников, отдельных куртин или проведение определенной системы рубок, в обнажении минерального слоя почвы при наличии грубой подстилки и другие.

Обнажение минерального слоя почвы и ее рыхление ( c целью облегчения прорастания семян с растущих деревьев или вносимых искусственно) проводится почвообрабатывающими машинами и орудиями, приспособленными для работы в условиях нераскорчеванных вырубок и под пологом леса. К их числу относятся: навесные дисковые бороны и культиваторы, лесные почвенные фрезы, покровосдиратели и другие.

5.5 Охрана насаждений от вредителей леса и пожаров

Защита леса и лесных насаждений различного назначения от вредителей, болезней и лесных пожаров является необходимой составной частью производственной деятельности лесхоза. Но объем работ по защите весьма непостоянен. Если объем профилактических мероприятий по защите растений можно планировать в определенных показателях, то непосредственная борьба с вредителями и пожарами леса связана с характером и величиной распространения этих явлений. Однако средства борьбы (машины и орудия) независимо от того, как часто их приходится применять, всегда должны быть в наличии.

Борьба с вредителями и болезнями растений ведется различными методами, основными из которых являются: химический, механический и биологический. Наиболее перспективным считается биологический метод.

Сущность химического метода противодействия вредителям леса заключается в применении ядов в жидком, порошкообразном или газообразном состоянии, действующих на вредителей непосредственно или через пищу.

По своему назначению и характеру выполняемых операций машины и аппараты можно разделить на группы: опрыскиватели, опыливатели, аэрозольные аппараты, фумигаторы для контактного нанесения жидкостей, приманкоразбрасыватели.

Для опрыскивания употребляются яды в виде растворов или суспензий. К опрыскивателям предъявляется ряд требований: равномерность распыления, хорошая маневренность и проходимость агрегата в лесных условиях, производительность и достаточная емкость баков. Опрыскиватели бывают ручные, тракторные и авиационные.

Различают пожары низовые, верховые, смешанные и подземные. При низовом пожаре горят подстилка из листьев, трава и кустарник; при верховом - стоящие деревья. Смешанный пожар представляет собой сочетание низового и верхового пожаров. Подземный пожар возникает на торфяной почве и распространяется под землей. При этом горят торф, встречающиеся в нем корни и древесные остатки.

Скорость движения низового пожара составляет около 2 км/сутки (иногда до 30 км/сутки), верхового - около 3 км/ч (иногда до 20 км/ч), подземного несколько метров в сутки, а при особых благоприятных условиях - до 5 км/сутки.

Меры борьбы с лесными пожарами можно разделить на предупредительные (профилактические) противопожарные мероприятия и непосредственные, направленные на ликвидацию лесных пожаров.

В соответствии с ППБ 2.07 - 2000 «Правила пожарной безопасности РБ для объектов лесозаготовительного, деревообрабатывающего, целлюлозно-бумажного и лесохимического производств» пожарная профилактика представляет собой комплекс организационных и технических мероприятий, направленных на обеспечение безопасности людей, на предотвращение пожара, ограничение его распространения, а также создания условий для успешного применения.

Противопожарные мероприятия намечаются в соответствии с вышеуказанными правилами. К ним относятся:

площадки для складов ГСМ окапываются минеральной полосой шириной 1,4 м, оборудуются на пониженных местах;

на участках работ оборудуются места для курения и обозначаются указателем;

машины оборудуются огнетушителями;

кабины машин поддерживаются в чистоте и освобождаются от посторонних предметов;

при заправке машины нельзя курить и пользоваться открытым огнём.

склады временного типа для хранения ГСМ в металлических бочках ёмкостью 250 л, торец бочек заглубляется в землю на 1/4-1/5 диаметра;

запрещается подносить к бочкам огонь для освещения;

склад ГСМ оборудуется противопожарным оборудованием, которое складывается в пожарный шкаф, установленный на территории склада;

устраиваются места для стоянки техники;

устраиваются минерализованные полосы шириной 1,4 м по границам защитных полос вдоль дороги, а на сухих почвах и вырубках - по 2 полосы через 5 и 10 м;

полосы отвода вдоль железных и шоссейных дорог содержатся очищенными от валежника, древесного хлама и других легковоспламеняющихся материалов.

Вдоль лесовозных дорог очищаются полосы шириной 10 м с каждой стороны.

В пожароопасный сезон запрещается:

разводить костры в хвойных молодняках, старых горельниках, на участках повреждённого леса, на торфяных лесосеках с оставленными порубочными остатками и заготовленной древесиной, в местах с подсохшей травой, а также под кронами деревьев. В остальных местах разведение костров допускается на площадках, окаймлённых минерализованной полосой шириной не менее 0,5 м.

оставлять в лесу промасленный, либо пропитанный бензином, керосином или другими горючими веществами, материал в непредусмотренных специально для этого местах;

заправлять горючим в лесу топливные баки техники при работе двигателя, использовать машины с неисправной системой питания.

Для обеспечения тушения пожара на его первоначальном этапе на участках работы находятся простейшие средства пожаротушения. Так при числе работающих от 11 до 20 человек на участке работы находиться 10 лопат, 2 топора, 2 мотыги, 5 граблей, 10 вёдер, 20 пар рукавиц, а также аптечка первой помощи.

6.Индивидуальное задание

.1 Конструкция челюстных погрузчиков

Для механизации работ по погрузке круглых лесоматериалов на лесовозный транспорт широкое применение получили челюстные лесопогрузчики.

На верхнем складе, в условиях лесосеки, для погрузки хлыстов на лесовозы используются челюстные лесопогрузчики перекидного типа, так как по сравнению с челюстными лесопогрузчиками фронтального типа они имеют более высокую продольную устойчивость, могут преодолевать большие подъёмы и спуски, выполнять погрузку без разворота трактора. Этот способ погрузки, называемый челночным, сокращает размеры погрузочной площадки, трудозатраты по подготовке и обустройству места для погрузки лесоматериалов.

Основными марками лесопогрузчиков перекидного типа являются ЛТ-65Б на базе трелёвочного трактора ТТ-4 и ПЛ-1В на базе ТДТ-55А.

Техническая характеристика лесопогрузчиков.

ПЛ-1В ЛТ-65Б

Базовая машина ТТ-4 ТДТ-55А

Мощность двигателя, КВт 61,1 84,6

Грузоподъёмность, т 3,2 3,5

Наибольшая высота

подъёма груза, мм 2800 4000

Производительность по

чистому времени, м³/ч 33 42

Привод рабочего органа Гидравлический

Рабочее давление в

гидросистеме, МПа 12,5 10

Габаритные размеры в

транспортном положении, мм

длина 5900 6800

ширина 3200 3250

высота 2900 3200

Конструктивная масса, кг 11300 16800

Лесопогрузчик ЛТ-65Б

Лесопогрузчик ЛТ-65Б представляет собой грузоподъёмную машину, состоящую из навесного оборудования, смонтированного на базе трелёвочного трактора ТТ-4, с которого сняты погрузочный щит, раздаточная коробка с лебёдкой и гидравлическая система управления щитом. Лесопогрузчик работает по принципу переноса груза над кабиной.

Навесное оборудование лесопогрузчика состоит из рамы навесного оборудования, поворотного основания, стрелы, нижней челюсти, двух стоек, механизма поворота нижней челюсти, гидросистемы, установки карданных валов, дополнительного оборудования, системы электрооборудования. Общий вид погрузчика представлен на рисунке 1.1


Рама навесного оборудования является несущей частью, на которой монтируют грузоподъёмное устройство погрузчика, представляет собой замкнутую сварную металлоконструкцию, состоящую из двух боковых рам, соединенных поперечными связями. На боковинах имеются отверстия для шарнирного соединения с поворотным основанием, отверстия для шарнирного соединения с гидроцилиндрами поворота основания и отверстия для связывающей стяжки.

Поворотное основание состоит из левой и правой боковин, левого и правого рычагов, жёстко связанных трубой. На боковинах имеются отверстия для шарнирного соединения со стрелой и шарнирного соединения с гидроцилиндрами подъёма стрелы, а на рычагах отверстия для шарнирного соединения с гидроцилиндрами поворота основания и для соединения с рамой навесного оборудования. К трубе приварены проушины для соединения с тягами защитного кожуха.

Стрела является основным органом механизма подъема и переноса груза через кабину трактора. Она представляет собой сварную металлоконструкцию и состоит из двух балок коробчатого сечения, соединённых между собой поперечной трубой.


Нижняя челюсть предназначена для набора и зажима пачки леса к стойкам при перемещении хлыстов во время погрузки. Она состоит из двух боковин соединённых поперечной связью. На концах связи имеются фланцы для соединения её с шлицевыми осями механизма поворота.

Стойки служат ограничителями. Пачка леса прижимается к ним нижней челюстью при наборе и переносе её над кабиной трактора, а при разгрузке - направляющими, по которым пачка скатывается на лесовозный транспорт.

Механизм поворота нижней челюсти состоит из специальных цепей звёздочек и шлицевых осей, которые преобразуют поступательное движение штоков гидроцилиндров во вращательное движение нижней челюсти.


Карданные валы служат для передачи крутящего момента от двигателя к заднему мосту трактора, который осуществляется малым и большим карданными валами через промежуточную опору, состоящую изкорпуса, двух шарикоподшипников и вала.

Дополнительное оборудование лесопогрузчика состоит из защитных ограждений радиатора, стёкол кабины, самой кабины, левой двери кабины трактора, защитного кожуха и упоров.

Ограждение радиатора выполнено в виде сварного каркаса из металлических полос, привариваемого к колпаку радиатора.

Ограждение стёкол кабины представляет собой сетчатые решётки, устанавливаемые на стёклах со стороны погружаемого древесного сырья.

Установка левой двери кабины предназначена для свободного доступа оператора в кабину трактора при переднем положении стрелы. Дверь кабины с закреплёнными на ней кронштейнами может перемещаться вверх и вниз, а также поворачиваться на специальной направляющей. Для облегчения перемещения двери вверх на направляющей имеется пружина.

Защитный кожух установлен для предотвращения попадания в полость рамы посторонних предметов. Он состоит из переднего подвижного и заднего щитов.

Для предохранения ходовой части трактора от перегрузок и увеличения продольной устойчивости лесопогрузчика при наборе пачки леса к лонжеронам трактора в передней части приварены упоры.

Система электрооборудования включает в себя две дополнительные фары ФГ-304, устанавливаемые на кронштейнах, расположенных на передней стенке кабины, и стеклоочиститель СЛ230-Б или СЛ230-П.

Гидросистема состоит из гидравлического оборудования представленного в таблице.

Оборудование

Тип, ОСТ, ГОСТ

Кол-во

Бак масляный

---

1

Распределитель

RS25R2 - 02

1

Насос шестерёнчатый

НШ-50А-3-Л или НШ-50У-2-Л (ГОСТ 8753 - 80)

2

Перепускной клапан

---

1

Распределитель

---

1

Гидрозамок

---

1

Фильтр магистральный

---

2

Манометр

МТП-60/1-250*4 (ГОСТ 2405 - 80)

1

Гидрораспределительная коробка

---

6


Перечень гидравлического оборудования лесопогрузчика ЛТ-65Б

Лесопогрузчик ПЛ-1В

Лесопогрузчик ПЛ-1В состоит из базового трактора ТДТ-55А и навесного технологического оборудования, в которое входят рама навески, рама стрелы с приводом захвата, гидросистема, дополнительное оборудование, челюсть захвата, электрооборудование и навесного оборудования.

Рама навески служит основной базой для размещения и крепления навесного технологического оборудования и представляет собой жёсткую сварную металлоконструкцию. Её устанавливают на лонжероны трактора ТДТ-55А. на задней балке рамы навески приварены шесть кронштейнов, из которых два средних служат для крепления дополнительного гидроцилиндра, а четыре крайних - для крепления двух основных гидроцилиндров, посредством которых производится поворот стрелы. На левой и правой балках рамы приварены корпуса подшипников скольжения, в которых закрепляется основной рабочий орган лесопогрузчика - рама стрелы. Корпус подшипника разъёмный, верхняя её крышка крепится шпильками. Внутри корпуса подшипника скольжения установлены бронзовые вкладыши, которые стопорятся от проворачивания цилиндрическими штифтами. Подшипник смазывают с помощью маслёнки, вворачиваемой в верхнюю крышку подшипника.

Рама стрелы с приводом захвата является основным рабочим органом лесопогрузчика, служащим для подъёма и переноса груза. Она выполнена в виде П - образной сварной металлоконструкции. На продольных балках рамы размещен механизм поворота захвата, состоящий из двух гидроцилиндров захвата, специальных цепей и звёздочек. Для монтажа механизма поворота захвата на раме стрелы предусмотрены крышки, служащие также для предотвращения попадания посторонних предметов в зацепление цепей и звёздочек. Крышки болтами крепятся к продольным балкам рамы стрелы. На балках рамы приварены стойки - ограничители, входящие в комплект захватного устройства. К стойкам прижимается пачка леса при захвате.

Опорное устройство предназначено для уменьшения продольного наклона лесопогрузчика при работе, особенно в момент отрыва пачки леса. Для этих целей натяжные колёса базового трактора ТДТ-55А заменены опорными катками. В специальный кронштейн, приваренный к лонжерону трактора, вворачивается упорный болт, удерживающий блок шарниров в положении, обеспечивающем предварительное сжатие амортизирующей пружины. При эксплуатации лесопогрузчика упорный болт должен быть всегда завёрнут до отказа, и при его выкручивании амортизирующее устройство выключается из работы из-за большого наклона блока шарниров вперед, вследствие чего могут поломаться детали ходовой части и рамы трактора.


Челюсть захвата представляет собой сварную металлоконструкцию, состоящую из вала и двух клыков коробчатого сечения. Между клыками приварен нож треугольной формы.

Электрооборудование лесопогрузчика состоит из двух дополнительных фар ФГ-16Е, которые защищены кожухами, стеклоочистителя с электрическим приводом, установленного на заднем стекле кабины. На лесопогрузчике имеется звуковая сигнализация, предупреждающая машиниста о запрещении движения стрелы лесопогрузчика при открытой двери.

Гидросистема управления навесным технологическим оборудованием лесопогрузчика монтируется в замен гидросистемы управления технологическим оборудованием базового трелёвочного трактора ТДТ-55А. гидрооборудование лесопогрузчика ПЛ-1В приведено в таблице.

Перечень гидравлического оборудования лесопогрузчика ПЛ-1В.

Оборудование

Тип, ОСТ, ГОСТ

Кол-во

Бак масляный

---

1

Насос шестерёнчатый

НШ-100-Л-3 (ГОСТ 8753-80)

1

Насос шестерёнчатый

НШ-10-ЕЛ (ГОСТ 8753 - 80)

1

Гидрораспределитель

РС25.16-20 - 2*01-30 (ОСТ 22-829 - 74)

1

Гидрораспределитель

Рн203-ФВ574А

1

Фильтры линейные

1.1.32-25

2

Дроссельные клапаны


3

Манометр

МТП-4/1 (ГОСТ 2405 - 80)



Дополнительное оборудование включает ограждение кабины, которое состоит из корпуса сварной конструкции, закреплённого болтами к раме навески. Для удобства обслуживания и осмотра гидроагрегатов на корпусе ограждения имеются два люка, закрытых крышкой.

Для ограждения насоса НШ-100-Л-3 от механических повреждений в передней части базового трактора приварена сварная конструкция, состоящая из силового каркаса с обшивкой из листовой стали.

6.2 Хронометражное наблюдение рабочего времени

ФОТОГРАФИЯ РАБОЧЕГО ВРЕМЕНИ № 1

Завод: ОАО « БОРИСОВДРЕВ » Цех: лесозаготовок

Фамилия, имя рабочего: Марцинкевич С.И. Квартал №: 83

Производственный стаж: 20 лет Лесничество: Кищино-Слободское

Вид работ: машинист челюстного погрузчика ЛТ-65Б Начало наблюдений: 8-00

Разряд: IV Смена: I Конец наблюдений: 17-00

Средний объём хлыста: 0,33 Дата: 15.08.05

Наблюдатель: Задруцкий С.М.

Элементы рабочего времени

Текущее время

Продолжительность

примечание


Час.

Мин.

Сек.

Мин.

Сек.


Залив солярки в а/м, налив воды в канистру




21



Выезд в лес

8

12





Приезд на лесосеку

8

47


35



Залив в ПЛ-1 солярки и воды

9

04


17



Установка а/м под погрузку

9

08


4



Погрузка первой а/м

9

42


34


24 м³

Отъезд первой а/м и установка второй а/м

9

49


7



Погрузка второй а/м

10

28


39


26 м³

Отъезд второй а/м и установка  третей а/м

10

38


10



Погрузка третей а/м

10

57


19



Поломка (замена рукава высокого давления )

11

33


36



Продолжение погрузки

11

52


19


23 м³

Отъезд третей а/м и установка четвёртой а/м

12

01


9



Погрузка четвёртой а/м

12

46


45


26 м³

Подъезд и установка погрузчика к другому штабелю

13

00


14



Обед

14

00


60



Установка пятой а/м под погрузку

14

04


4



Погрузка пятой а/м

14

48


44


24 м³

Отъезд пятой а/м и установка шестой а/м

14

52


6

15

32


4


22 м³

Отъезд шестой а/м и установка седьмой а/м

15

39


7



Погрузка седьмой а/м

16

12


33


25 м³

Отъезд седьмой а/м и установка восьмой а/м

16

20


8



Погрузка восьмой а/м

16

52


32


23 м³

 КОНЕЦ РАБОЧЕГО ДНЯ








ИТОГО: 193 м³

Норма выработки на день: 134 м³

% выполнения нормы выработки: 144,02%

№ м-ны

Параметры

Количество подходов для загрузки одного лесовоза



1

2

3

4

5

6

7

8

1

Объём пачки  Кол-во дер-в

3.3 9

3.5 10

3.6 11

3.3 10

3.4 9

3.4 10

3.5 11


2

Объём пачки  Кол-во дер-в

3.4 8

3.3 10

3.4 10

3.3 8

3.3 9

3.3 10

3.2 8

2.8 6

3

Объём пачки  Кол-во дер-в

3.2 8

3.3 10

3.4 10

3.3 8

3.3 9

3.3 10

3.1 8


4

Объём пачки  Кол-во дер-в

3.4 8

3.3 9

3.2 8

3.1 8

3.3 10

3.3 9

3.2 9

3.1 7

5

Объём пачки  Кол-во дер-в

3.5 8

3.4 10

3.6 11

3.4 10

3.3 9

3.4 10

3.4 8


6

Объём пачки  Кол-во дер-в

3.4 8

3.2 10

3.1 8

3.3 8

3.4 9

2.4 5

3.2 10


7

Объём пачки  Кол-во дер-в

3.4 8

3.3 10

3.4 12

2.3 7

3.4 9

3.3 10

3.1 8

2.8 6

8

Объём пачки  Кол-во дер-в

3.4 12

3.3 10

3.4 10

3.1 8

3.3 11

3.3 10

3.2 8



ФОТОГРАФИЯ РАБОЧЕГО ВРЕМЕНИ № 2

Завод: ОАО « БОРИСОВДРЕВ » Цех: лесозаготовок

Фамилия, имя рабочего: Азянович М.В. Квартал №: 83

Производственный стаж: 34 года Лесничество: Кищино-Слободское

Вид работ: машинист челюстного погрузчика ЛТ-65Б Начало наблюдений: 8-00

Разряд: IV Смена: I Конец наблюдений: 17-00

Средний объём хлыста: 0,31 Дата: 17.08.05

Наблюдатель: Задруцкий С.М.

Элементы рабочего времени

Текущее время

Продолжительность

примечание


Час.

Мин.

Сек.

Мин.

Сек.


Залив солярки в а/м, налив воды в канистру




26



Выезд в лес

8

22





Приезд на лесосеку

8

50


28



Залив в ПЛ-1 солярки и воды

9

13


23



Установка а/м под погрузку

9

19


6



Погрузка первой а/м

9

54


35


24

Отъезд первой а/м и установка второй а/м

9

59


5



Погрузка второй а/м

10

28


29


20

Отъезд второй а/м и установка  третей а/м

10

34


6



Погрузка третей а/м

11

02


38


25

Отъезд третей а/м и установка четвёртой а/м

11

13


11



Погрузка четвёртой а/м

11

48


35


26

Подъезд и установка погрузчика к другому штабелю

12

00


12



Обед

13

00


60



Установка пятой а/м под погрузку

13

07


7



Погрузка пятой а/м

13

25


18



Поломка (замена трака левой гусеницы )

13

59


34



Продолжение погрузки

14

14


15


23

Отъезд пятой а/м и установка шестой а/м

14

21


7



Погрузка шестой а/м

14

54


33


22

Отъезд шестой а/м и установка седьмой а/м

15

01


7



Погрузка седьмой а/м

15

36


35


25

Отъезд седьмой а/м и установка восьмой а/м

15

43


7



Погрузка восьмой а/м

16

18


35


23

Поломка (замена рукава высокого давления)

17

02


44



 КОНЕЦ РАБОЧЕГО ДНЯ







 

ИТОГО: 188 м³

Норма выработки на день: 134 м³

% выполнения нормы выработки: 140,29%

№ м-ны

Параметры

Количество подходов для загрузки одного лесовоза



1

2

3

4

5

6

7

8

1

Объём пачки  Кол-во дер-в

3.5 12

3.5 10

3.6 11

3.3 10

3.4 9

3.4 10

3.3 11

 

2

Объём пачки  Кол-во дер-в

3.4 8

3.3 10

3.4 10

3.3 8

3.3 9

3.3 10



3

Объём пачки  Кол-во дер-в

3.1 8

3.2 10

3.0 10

3.3 8

3.0 9

3.3 10

3.0 8

3.0 11

4

Объём пачки  Кол-во дер-в

3.4 8

3.4 9

3.1 8

3.1 8

3.3 10

3.2 9

3.3 9

3.1 7

5

Объём пачки  Кол-во дер-в

3.0 8

3.4 10

3.1 11

3.4 10

3.3 9

3.4 10

3.4 8


6

Объём пачки  Кол-во дер-в

3.2 8

3.2 10

3.2 8

3.3 8

3.4 9

2.7 5

3.2 10


7

Объём пачки  Кол-во дер-в

3.4 8

3.3 10

3.4 12

2.3 7

3.0 9

3.3 10

3.1 8

2.4 6

8

Объём пачки  Кол-во дер-в

3.4 12

3.3 10

3.5 10

3.2 8

3.0 11

3.3 10

3.3 8



.3 Порядок работы лесопогрузчиков ПЛ-1В и ЛТ-65Б

Работа лесопогрузчика начинается с порожнего хода. Порожний ход совмещают с перекидкой стрелы, последующим открытием челюсти и установкой захвата в положение для набора пачки. Далее начинают движение и одновременно с этим включают рычаг управления стрелой в положение «вперёд».

Лесопогрузчик должен двигаться перпендикулярно штабелю на расстоянии 1/3 длины хлыстов, считая от комлей. При погрузке деревьев продольная ось движения лесопогрузчика должна быть на расстоянии 0.36 длины деревьев, считая от комлей, т.е. ближе к вершинам. При погрузке хлыстов, уложенных в разные стороны комлями, лесопогрузчик движется посредине штабеля хлыстов.

Когда рама стрелы лесопогрузчика ПЛ-1В расположится горизонтально, отпускают рычаг управления поворотом стрелы и той же рукой включают рычаг управления захватом в положение «раскрытие» до тех пор, пока стойки челюсти не займут положение параллельное грунту. У лесопогрузчика ЛТ-65Б раскрытие челюсти захвата целесообразно проводить в зоне лучшей видимости, т.е. когда рама стрелы находится впереди под углом около 20° к горизонту. Когда расстояние между лесопогрузчиком и штабелем до окончания поворота стрелы или раскрытия челюсти станет 3..3,5 м, лесопогрузчик останавливают и заканчивают установку захвата в положение для набора пачки.

Набор пачки производится следующим образом: наездом лесопогрузчика на I передаче внедряют челюсть в штабель до тех пор, пока хлысты не заполнят его козырька. После этого выжав педаль сцепление, останавливают лесопогрузчик, не снижая частоты вращения вала. Включением рычага поворота челюсти вверх пачки отделяют и прижимают к стойкам захвата. Если отрыв пачки от штабеля затруднён, то её отделяют движением лесопогрузчика на 0,5..1 м назад с одновременным закрытием захвата.

Включением рычага управления поворотом стрелы назад поднимают и перекидывают пачку до положения, при котором стрела будет находиться под углом 70° к горизонту. В момент вертикального положения стрелы кратковременным включением рычага захвата пачку дожимают и, повернувшись вполоборота вправо, через заднее смотровое окно наблюдают за положением стрелы, пачки, пути для движения и места погрузки. После этого включают задний ход трактора.

Грузовой ход. Подав звуковой сигнал и повернувшись вполоборота вправо, плавно увеличивают частоту вращения вала двигателя до средних и на первой передаче останавливают лесопогрузчик перпендикулярно оси лесовозной дороги. Движение заканчивается выключением сцепления.

Укладка пачки. Установив захват, выключают сцепление и перемещением рычага поворота захвата вниз открывают челюсть так, чтобы хлысты плавно, без перекрещивания скатывались по стойкам. После окончания погрузки пачки и отдельные хлысты выравнивают. Приёмы выравнивания одинаковы как при погрузке хлыстов, так и при погрузке деревьев.



.4 Предложения по улучшению конструкции погрузчиков

Как говорилось ранее в пояснительной записке челюстные погрузчики ПЛ - 1В и ЛТ - 65Б за 30 лет не претерпели каких либо радикальных изменений в конструкции из чего можно сделать вывод о том, что эти погрузчики зарекомендовали себя как надёжные машины в условиях лесосеки. Однако со временем любая, даже самая надёжная машина устаревает морально, поэтому для хорошей и высокопроизводительной работы, ответственные узлы и агрегаты должны заменятся на более новые и надёжные разработки. Например явно слабым узлом погрузчиков является гидросистема, в которой и происходит основная масса всех поломок трактора. Так же стоит обратить внимание на удобство работы самого оператора, например, стоило бы поставить поворотное кресло, так как при работе часто приходится заворачивать голову для лучшего обзора, что приводит к быстрой усталости оператора. Однако не стоит забывать и о таком немаловажном факторе как человеческий фактор, свести который к минимуму, можно оборудовав, погрузчик бортовым компьютером.

СПИСОК ИСПОЛЬЗОВАННЫХ ИСТОЧНИКОВ

1. Матвейко А. П., Федоренчик А.С. Технология и машины лесосечных работ. - Мн.: Технопринт, 2004. - 480 с.

. Верхов И.Ф. , Шелгунов Ю.В. Технология и машины лесосечных и лесоскладских работ. - Москва: «Лесная промышленность», 1984. - 364 с.

. Воскобойников И.В., Жижин В.А. Лесопогрузчики: эксплуатация и ремонт. - Москва: «Лесная промышленность», 1990. - 285с.

4. Матвейко А. П., Федоренчик А. С., Завойских Г. И. Справочник мастера лесозаготовок. - М: Экология, 1993. - 286 с.

Похожие работы на - Технология и машины лесосечных работ

 

Не нашли материал для своей работы?
Поможем написать уникальную работу
Без плагиата!
Без нейросетей!