Комплексная механизация лесосечных работ
Оглавление
Введение
Механизированная заготовка древесины
.1 Состав лесосечных работ
.2 Выбор режима работы
.3 Составление календарного плана работы
.4 Определение объемов заготовки и погрузки леса
.5 Выбор системы машин
.6 Разработка технологических схем освоения лесосеки
.6.1 Определение размеров бригадной делянки
.6.2 Выбор схемы размещения трелевочных волоков
.6.3 Определение среднего расстояния трелевки
.6.4 Определение количества лесопогрузочных пунктов
.7 Разработка технологических схем
.7.1 Технологическая схема разработки зоны безопасности
.7.2 Технологическая схема разработки лесосек и трелевочных
волоков
.7.3 Обоснование технологии формирования пачки деревьев при
трелевке
.7.4 Выбор схемы разработки лесосек при валке деревьев
бензиномоторными пилами
.7.5 Разработка технологической схемы лесопогрузочного пункта
.8 Определение норм выработки и норм времени на выполнение
основных
работах
.9 Определение потребного количества машин и рабочих на
основных работах
.10 Формирование комплексных бригад и функциональных звеньев
.11 Формирование мастерских участков
.12 Расчет трудозатрат и численности рабочих на
подготовительных работах
.13 Расчет трудозатрат и численности рабочих на
вспомогательных работах
.14 Расчет списочного числа машин и оборудования на основных
работах
.15 Расчет списочного количества рабочих
.16 Расчет комплексной выработки на одного списочного
рабочего
.17 Расчет годовой выработки на одну списочную машину
.18 Технико-экономические показатели
.19 Разработка технологических карт
.20 Описание технологического процесса
Машинная заготовка древесины
.1 Выбор режима работы
.2 Определение объемов заготовки и погрузки леса
.3 Выбор системы машин
.4 Обоснование параметров лесосеки и ее элементов
.4.1 Выбор схемы размещения трелевочных волоков
.4.2 Определение среднего расстояния трелевки
.5 Разработка технологических схем
.5.1 Технологическая схема разработки зоны безопасности
.5.2 Технологическая схема разработки лесосек
.6 Определение норм выработки и норм времени на выполнение
основных
работах
.7 Определение потребного количества машин и рабочих на
основных работах
.8 Формирование комплексных бригад и функциональных звеньев
.9 Формирование мастерских участков
.10 Расчет трудозатрат и численности рабочих на
подготовительных работах
.11 Расчет трудозатрат и численности рабочих на
вспомогательных работах
.12 Расчет списочного числа машин и оборудования на основных
работах
.13 Расчет списочного количества рабочих
.14 Расчет комплексной выработки на одного списочного
рабочего
.15 Расчет годовой выработки на одну списочную машину
.16 Технико-экономические показатели
.17 Описание технологического процесса
Список использованной литературы
Введение
Общая площадь земель лесного фонда России превышает 1,2 млрд. га, в том
числе лесопокрытой площади - более 750 млн. га, с запасом леса примерно 81,9
млрд. м³.
Годичный прирост
древесины составляет 980 млн. м³. При мировом объеме лесозаготовок,
составляющем около 1,5 млрд. м³ в год, в нашей стране заготавливается
свыше 300 млн. м³. Общий ресурсный потенциал России превышает ресурсный
потенциал США в 2…2,5 раза, Германии - в 6 раз, Японии - в 18 - 20 раз.
В результате технического перевооружения лесной промышленности стало
возможным выполнение лесосечных работ без применения ручного труда. На
лесосечных работах используются валочно-пакетирующие машины, трелевочные
тракторы для бесчокерной трелевки, гусеничные и колесные трелевочные тракторы с
пачковыми захватами, валочно-трелевочные машины. На погрузке леса применяются
челюстные лесопогрузчики. Очистка деревьев от сучьев производится самоходными
машинами.
Большое внимание уделяется вопросам охраны лесов и лесовосстановлению.
Закон об охране природы запрещает рубку леса сверх установленного размера
лесопользования, а также ограничивает рубки в лесах, имеющих почвозащитное,
водоохранное и водорегулирующее значения. Закон обязывает всех
лесозаготовителей осуществлять мероприятия, направленные на возобновление
ценных древесных пород на вырубаемых площадях.
Но сегодня в нашей стране не все удачно складывается в отношении лесной
промышленности. Что касается современных технологий и машин, то в России за
последние десять лет никакого масштабного нововведения не происходило. Крупные
предприятия при возможности стараются приобрести и использовать иностранную
технику. Это, как правило, предприятия, сотрудничающие с зарубежными
лесоперерабатывающими предприятиями или мелкие частные фирмы. Огромное
количество леспромхозов не могут обеспечить себя новой техникой, поэтому
становятся не работоспособными.
Не все благополучно складывается и в отношении охраны лесов. Большое
количество древесины заготавливается нелегально: без лесорубочного билета, без
применения должной технологии, без сохранения подроста и т.д.
Еще долго можно говорить о проблемах лесоэксплуатации в России, но даже
если обратить серьезное внимание на вышеперечисленное, то с уверенностью можно
сказать, что лесная отрасль России требует серьезных и продуктивных изменений.
Повышение производительности труда на основе комплексной механизации
совершенной технологии, улучшение условий труда - основная задача, поставленная
перед работниками лесной промышленности. В решении этой задачи принимают
активное участие лесозаготовительные предприятия, проектные и
научно-исследовательские институты отрасли и высшие учебные заведения.
Характерной особенностью выполнения лесосечных работ в настоящее время
является сочетание традиционных методов лесозаготовок с новой технологией,
основанной на применении агрегатных машин. Это обусловлено современным уровнем
развития техники и влиянием природных условий на ведение работ.
Инженерно-технические работники постоянно сталкиваются с задачей поиска
оптимальных решений при выборе оборудования и технологии.
В результате технического перевооружения лесной промышленности стало
возможным выполнение лесосечных работ практически без применения ручного труда.
На лесосечных работах используются бензопилы для валки леса и трелёвочные
тракторы для чокерной трелёвки леса. На погрузке леса применяют челюстные
лесопогрузчики. Очистка деревьев от сучьев производится самоходными машинами.
В задачу курсового проекта входит: разработка технологического процесса и
методов организации производства на базе современных машин применительно к
конкретным условиям, обеспечение выполнения работ и определение основных
показателе
1 Механизированная заготовка древесины
.1 Состав лесосечных работ
Лесосечные работы - составная часть технологического процесса
лесозаготовительного предприятия. Технологический процесс лесосечных работ
определяется числом операций, выполняемых на лесосеке и на лесопогрузочном
пункте, характером этих операций и последовательностью их выполнения. Состав
лесосечных работ зависит от вида вывозимых лесоматериалов. При вывозке деревьев
лесосечные работы включают: валку, трелевку и погрузку; при вывозке хлыстов
добавляется обрезка сучьев, а сортиментов - раскряжевка, сортировка и
штабелевка.
Виды лесосечных работ следующие:
подготовительные работы;
основные работы;
вспомогательные работы;
заключительные работы.
Подготовительные работы выполняются для создания эффективных и безопасных
условий для проведения основных работ. В состав подготовительных работ входят:
лесосырьевая и технологическая подготовка, выбор трассы и строительство
лесовозного уса, подготовка территории лесосек к рубке, устройство лесопогрузочных
пунктов, обустройство мастерского участка.
Лесосырьевая подготовка заключается в приемке лесосечного фонда.
Технологическая подготовка лесосеки заключается: в изучении
лесоэксплуатационных условий, в упрощенных изысканиях трассы лесовозного уса и
выборе мест под лесопогрузочные пункты, в разработке технологического процесса
и составлении технологической карты, в выборе места и порядка размещения
оборудования мастерского участка.
Подготовка территории лесосек заключается в уборке опасных деревьев
(вдоль уса на ширине 25 метров по обе стороны). Уборка производится
заготовительной бригадой, оснащенной пилами, лебедками, трактором, иногда
бульдозером.
Подготовка лесопогрузочного пункта заключается в выборе площадке,
расчистки ее, устройство подъездных путей для перемещения погрузчиков и
сучкорезных машин. Выбор трасс состоит в отыскании и строительстве лесовозных
усов и искусственных сооружений. Под ус разрубают полосу шириной 8 метров.
Строительство уса производят дорожно-строительные бригады.
Основные работы: валка, трелевка, обрезка сучьев, погрузка хлыстов,
раскряжевка, сортировка и штабелевка.
Валка леса - процесс срезания и сталкивания деревьев на землю, приемное
устройство машины или укладки в пакет.
Трелевка леса - процесс сбора и транспортировки лесоматериалов от места
валки к месту погрузки.
Обрезка сучьев - удаление сучьев путем их обрубки, срезания или
обламывания.
Раскряжевка хлыстов - процесс поперечного деления хлыстов на сортименты
или долготье.
Сортировка лесоматериалов - процесс перемещения лесоматериалов для
распределениям по породам, качеству, размерам и назначению.
Штабелевка - процесс укладки лесоматериалов в штабель с целью временного
хранения.
Погрузка лесоматериалов - процесс захвата, перемещения и укладки
лесоматериалов на подвижной состав лесовозного транспорта.
Вспомогательные работы направлены на качественное и эффективное
выполнение основных работ и заключаются в поддержании в исправном состоянии
механизмов, а также бытовое обслуживание рабочих. Производится обустройство
мастерского участка. К работам по техническому обслуживанию и ремонту
относятся: текущие ремонты и обслуживание механизмов, доставка запасных частей
и топливно-смазочных материалов, заточка инструмента, подогрев воды и масел,
охрана механизмов.
В состав заключительных работ входит очистка лесосек от порубочных
остатков с целью создания условий для лесовозобновления и обеспечения пожарной
безопасности.
Способы очистки лесосек следующие:
сбор в кучи или валы;
измельчение и равномерное разбрасывание;
сбор в кучи для сжигания.
Процесс сбора порубочных остатков механизирован. Применяют подборщики
сучьев двух типов: грабельные и манипуляторные. ЛТ-161 - подборщик грабельного
типа на базе трактора ТТ-4. ЛТ-168, ПЛО-1, ЛП-23 - подборщики манипуляторного
типа соответственно на базе тракторов ТБ-1, ТДТ-55, ТБ-1.
Удаление пней производится или фрезерованием, или корчеванием. В качестве
корчевателей используются: ДП-25, КМ-1, МРП-2А; для фрезерования - МУП-4,
МЛФ-0,8.
Для обсеменения оставляют семенники, семенные группы, семенные куртины,
семенные полосы.
.2 Выбор режима работ
Заготовка древесины производится машинами. Принимаем шестидневную рабочую
неделю с семичасовым рабочим днем. Зимний сезон на заготовке и вывозке леса для
условий Архангельской области рекомендуется принимать с 15 ноября по 15 апреля,
а летний - на заготовке леса с 16 апреля по 14 ноября, на вывозке - с 26 апреля
по 4 ноября.[1]
Период осенней распутицы продолжительностью 10 дней принимается с 5 по 14
ноября, а весенней также 10 дней с 16 по 25 апреля. [1]
В период распутицы заготовка производится, вывозка нет. Вывозку
древесины, заготовленной за период осенней распутицы, следует относить к
зимнему, а заготовленной за период весенней распутицы - к летнему сезону.
Количество смен работы за сутки принимается:
при выполнении работ в ручную или с использованием моторного инструмента
- 1 смена;
при машинной заготовке - 2 смены.
Данные по данному разделу выполним в виде таблицы (таблица 3).
.3 Составление календарного плана работ
В календарном плане содержится информация по заготовке древесины и
погрузке ее на лесовозный транспорт на лесосеке. В таблицу заносят сведения по
количеству рабочих дней и объему заготовки древесины за каждый месяц, квартал,
сезон и год.
При расчете количества рабочих дней пользуются календарем текущего года,
вычитая из расчетного периода выходные и праздничные дни и потери рабочего
времени. Потери рабочего времени на лесосечных работах связаны с
неблагоприятными погодными условиями, аварийными ситуациями и межсезонными и
внутрисезонными перебазировками из одних лесосек в другие.
Потери рабочего времени по неблагоприятным погодным условиям и аварийным
ситуациям принимать один рабочий день за каждый рабочий месяц.
Потери рабочего времени на межсезонные перебазировки принимать по два
дня: из летних лесосек в зимние в период с 20 по 25 ноября из зимних в летние в
период с 10 по 15 апреля.
Потери рабочего времени на внутрисезонные перебазировки принимать один
день в последние дни каждого месяца.
При расчете показателей заготовки древесины учитываются потери рабочего
времени по неблагоприятным погодным условиям, аварийным ситуациям и всем видам
перебазировок.
При расчете показателей вывозки древесины учитываются потери рабочего
времени по неблагоприятным погодным условиям, аварийным ситуациям и на распутицы.
Потери рабочего времени на внутрисезонные перебазировки и по другим
причинам следует принимать 2 - 3 дня в последние рабочие дни каждого месяца.
Таблица 1 - Календарный план работ на 2007 год
|
Фаза пр-ва
|
Пок-ль
|
Об-е
|
1 квартал
|
2 квартал
|
3 квартал
|
4 квартал
|
Всего
|
|
|
|
1
|
2
|
3
|
Σ
|
4
|
5
|
6
|
Σ
|
7
|
8
|
9
|
Σ
|
10
|
11
|
12
|
Σ
|
сез
|
год
|
|
Заготовка
|
Расчет. число дней
|
Т з. з
|
19
|
21
|
21
|
64
|
11
|
-
|
-
|
11
|
-
|
-
|
-
|
-
|
-
|
11
|
24
|
35
|
110
|
275
|
|
|
Т з. л
|
-
|
-
|
-
|
-
|
11
|
23
|
23
|
57
|
24
|
25
|
23
|
72
|
25
|
11
|
-
|
36
|
165
|
|
|
Объем заготовки
|
Q з. з
|
14,3
|
15,8
|
15,8
|
48,0
|
8,3
|
-
|
-
|
8,3
|
-
|
-
|
-
|
-
|
-
|
8,2
|
18,0
|
26,2
|
82,5
|
110
|
|
|
Q з. л
|
-
|
-
|
-
|
-
|
1,8
|
3,8
|
3,8
|
9,5
|
4,0
|
4,2
|
3,8
|
12,0
|
4,2
|
1,8
|
-
|
6,0
|
27,5
|
|
|
Вывозка
|
Расчет. Число дней
|
Т в. з
|
19
|
21
|
21
|
64
|
11
|
-
|
-
|
11
|
-
|
-
|
-
|
-
|
-
|
11
|
24
|
35
|
110
|
261
|
|
|
Т в. л
|
-
|
-
|
-
|
-
|
3
|
23
|
23
|
49
|
24
|
25
|
23
|
72
|
25
|
5
|
-
|
30
|
151
|
|
|
Объем заготовки
|
Q в. з
|
14,3
|
15,8
|
15,8
|
48,0
|
8,3
|
-
|
-
|
9,5
|
-
|
-
|
-
|
-
|
-
|
8,3
|
18,0
|
26,3
|
82,5
|
110
|
|
|
Q в. л
|
|
|
|
|
0,5
|
4,2
|
4,2
|
8,9
|
4,4
|
4,6
|
4,2
|
13,1
|
4,6
|
0,9
|
-
|
5,5
|
,5 27,5
|
|
Примечание. Условные обозначения:
-
расчетное число дней на заготовке соответственно в зимний и летний сезоны;
- объем
заготовки соответственно в зимний и летний сезоны, тыс.м³;
-
расчетное число дней на погрузке (вывозке) соответственно в зимний и летний
сезоны;
- объем
отгрузки (вывозки) соответственно в зимний и летний сезоны, тыс.м³.
1.4 Определение объемов заготовки и погрузки древесины
Объем заготовки за зимний сезон, тыс.м³:
,
где
- доля заготовки за зимний сезон,
;
Qг - годовой
объем заготовки, тыс.м³.
тыс.м³.
Объем
заготовки за летний сезон, тыс.м³:
.
тыс.м³.
Суточный
объем заготовки древесины за зимний Qсут.з.з и летний Qсут.з.л
, сезоны соответственно, м³:
;
,
где
Тз.з,Тз.л - соответственно расчетное число дней заготовки древесины за зимний и
летний сезоны.
м³;
м³.
Суточный
объем погрузки (вывозки) за зимний сезон Qсут.п.з, м³:
,
где nос - продолжительность осенней
распутицы, дней;
Тп.з - расчетное число дней погрузки (вывозки) за зимний сезон, дней (из
календарного плана).
м³.
Суточный объем погрузки (вывозки) за летний сезон Qсут.п.л, м³:
,
где
nвес - продолжительность весенней распутицы, дней;
Тп.л
- расчетное число дней погрузки (вывозки) за летний сезон, дней (из
календарного плана).
м³.
Суточные
и сменные объемы работ по основным видам лесосечных работ представлены в
таблице 2.
Таблица
2 - Суточные и сменные объемы работ при механизированной заготовке древесины
|
Вид работ
|
Марка машины
|
Кол-во смен
|
Суточный объем работ, м³
|
Сменный объем работ, м³
|
|
|
|
зимний
|
летний
|
зимний
|
летний
|
|
Валка
|
МП5-Урал
|
1
|
750
|
167
|
750
|
167
|
|
Трелевка
|
ТДТ-55А
|
1
|
750
|
167
|
750
|
167
|
|
Обрезка сучьев
|
ЛП-30Б
|
750
|
167
|
375
|
83,5
|
|
Погрузка хлыстов
|
ПЛ-1В
|
2
|
764
|
172
|
382
|
86
|
Таблица 3 - Режим лесосечных работ при механизированной заготовке
древесины
|
Показатели
|
Вид работ
|
|
валка
|
трелевка
|
обрезка сучьев
|
Погрузках листов
|
|
Годовой объем производства,
тыс.м³: заготовка древесины машинами
|
110
|
110
|
110
|
110
|
|
Количество рабочих дней за
год
|
275
|
275
|
275
|
261
|
|
Количество смен за сутки
|
1
|
1
|
2
|
2
|
|
Количество часов работы в
смену
|
7
|
7
|
7
|
7
|
|
Суточный объем работ, м³: - летний сезон - зимний сезон
|
167 750
|
167 750
|
167 750
|
172 764
|
1.5 Выбор
системы машин
Выбор систем машин ведётся в соответствии с нормами технологического
проектирования. Объём хлыста в задании 0,31 м3, в соответствии с этим выбираем
систему машин на базе трактора ТДТ-55А.
На валке используем бензопилу - МП5-Урал
Техническая характеристика МП5-Урал
Мощность двигателя, кВт -3,4
Масса (сухая), кг -5,8
Скорость резанья, м/с -18
Производительность, см2/с100
Пильная цепь -шаг 10,26
На трелёвке используем трактор ТДТ-55А.
Он предназначен для трелёвки, в полупогруженном положении, деревьев
поваленных бензопилами, или пачек деревьев сформированных валочно-пакетирующими
машинами. Благодаря увеличенной опорной поверхности гусениц трактор обладает
высокой проходимостью, поперечной и продольной устойчивостью, а
рычажно-балансирная подвеска обеспечивает трактору плавность хода по
пересеченной местности. Машина отличается от предыдущих моделей повышенной
надёжностью ходовой системы и трансмиссии.
Техническая характеристика ТДТ-55А
Марка дизеляСМД-20.Т4
Эксплуатационная мощность, кВт (л.с.) -88 (120)
Максимальный объём трелюемого пакета, м3 -10
Максимальное тяговое усилие лебёдки, кН -105
Канатоёмкость барабана, м - 40
Диапазон скоростей движения, км/ч -2,84-11,10
Емкость топливного бака, л -140
На обрезке сучьев используем машину ЛП-30Б.
Она предназначена для обработки деревьев со средним объёмом хлыста от
0,06 до 0,48 м3. Базовый трактор ТДТ-55А. На раме трактора установлены передняя
и задняя опоры, соединённые между собой верхней балкой и тягой жёсткости.
Машина состоит из поворотной стрелы, на концах её установлены сучкорезная и
приёмная головки. Сучкорезная головка предназначена для захвата дерева из пачки
и обрезки с него сучьев в процессе протаскивания. Приёмная головка
предназначена для поддерживания ствола обрабатываемого дерева. Захват служит
для зажима и протаскивания дерева через ножи.
Техническая характеристика ЛП-30Б
Базовый трактор -ТДТ-55А Мощность двигателя, кВт -70
Диаметр обрабатываемых деревьев в зоне захвата, м -0.06…0.48
Максимальный диаметр срезаемых сучьев, м -0.65
Скорость протаскивания, м/с -2
Максимальное усилие протаскивания, кН -30
На погрузке используем погрузчик ПЛ-1В.
Погрузчик перекидного типа. Используется на погрузке заготовленного леса
на подвижной состав лесовозного транспорта в условиях лесосеки. Базой ПЛ-1В
является трактор ТЛТ-100. Рабочее оборудование шарнирно крепится к раме
трактора. Стрела П - образная; нижняя челюсть захвата подвижная, нижняя -
неподвижная. Привод рабочих органов и оборудования от гидроцилиндров. Поворот
осуществляется на угол близкий к 1800, груз переносится через кабину.
Техническая характеристика ПЛ-1В
Базовый трактор -ТДТ-55А Грузоподъёмность, т -3,2
Высота подъёма, м -2,8
Мощность двигателя, кВт -58,8
Полная масса трактора, т -11,3
.6 Обоснование параметров лесосеки и ее элементов
В соответствии с правилами рубок главного пользования, размеры лесосеки
должны быть не более: площадь - 50 га, ширина - 500 м. При этих размерах длина
лесосеки (вдоль уса) должна составлять не более 1000 м. Принимаем лесосеку
размером 500х500м. (рис. 1).
1 4
3 2 5
Рисунок 1. Схема разработки лесосек мастерским участком:
- бригадная делянка; 2 - ветка; 3 - магистраль; 4 - лесосека; 5 -
лесовозный ус; Lус, Lл, Lл - соответственно длина уса, лесосеки, делянки; Вл, Вд -
соответственно ширина лесосеки и делянки; Уус - расстояние между усами
.6.1 Определение размеров бригадной делянки
Лесосека делится на несколько делянок. При назначении размеров бригадной
делянки следует руководствоваться следующими требованиями:
обеспечением безопасных условий работы соседних бригад на лесосеке;
сокращением числа перебазировок мастерского участка из одной лесосеки в
другую;
бригадная делянка должна располагаться по одну сторону лесовозного уса;
расстояние трелевки должно быть не более 300 м (зимой допускается до 500
м);
бригадная делянка должна иметь минимум два лесопогрузочных пункта.
Дополнительные лесопогрузочные пункты должны устраиваться на соседних
вырубленных лесосеках.
На практике длина и ширина бригадной делянки соответствует 250…500 м.
Принимаем 250м. на 500м.
.6.2 Выбор схемы размещения трелевочных волоков
Выбираем схему, которая применяется при механизированной валке в равнинной
местности при отсутствии неэксплуатационных площадей (рис.2). Использование
этой схемы позволяет сохранять подрост.
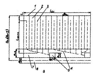
Рисунок 2. Схема размещения трелевочных волоков на бригадной делянке
перпендикулярно лесовозному усу:1 - бригадная делянка; 2 - пасека; 3 - пасечный
волок; 4 - магистральный волок; 5 - лесопогрузочный пункт; 6 - лесовозный ус; 7
- зона безопасности. L б. д
, Bб. д - длина и ширина бригадной
делянки; bуса - ширина уса; b з.б- ширина зоны безопасности. Lл.п - длина лесопогрузочного пункта; bл.п- ширина лесопогрузочного пункта; Lср.п.в - средняя длина пасечного
волока.
.6.3 Определение среднего расстояния трелевки
Среднее расстояние трелевки определяется для расчета производительности
машин при отсутствии для них норм выработки.
Определяем среднее расстояние трелевки при параллельной схеме размещения
трелевочных волоков по формуле:
где
- количество лесопогрузочных пунктов на бригадной
делянке;
-
коэффициент развития трелевочных волоков,
=1…1,2

1.6.4
Определение количества лесопогрузочных пунктов
Согласно правилам рубок главного пользования общая площадь под
лесопогрузочными пунктами, производственными и бытовыми объектами должна
составлять от общей площади лесосеки свыше 8 га не более: 5% - при сплошных
рубках с последующим возобновлением (обсеменение и посадка лесных культур); 4%
- при постепенных и сплошных рубках с предварительным возобновлением
(сохранение подроста); 3% - при выборочных рубках.
На небольших лесосеках площадью 8га и менее лесопогрузочные пункты могут
занимать площадь до 0,4 га - при сплошных рубках с последующим возобновлением;
0,3 га - с предварительным возобновлением и постепенных рубках; 0,25 га - при
выборочных рубках.
Принимаем 4% - при постепенных и сплошных рубках с предварительным
возобновлением (сохранение подроста).
Определяем
количество лесопогрузочных пунктов на лесосеке
, шт,
вычисляем по формуле:
бригадная
делянка принимается 250x500 площадь всей лесосеки 500x500м.
где
- доля суммарной площади лесопогрузочных пунктов, 4%
- площадь
лесосеки, га
- длина
погрузочного пункта, принимаем
45 м
-
ширина, принимаем
35 м
Количество
лесопогрузочных пунктов принимается равным 6, чтобы на каждой делянке было 3
лесопогрузочных пункта. Остальная площадь выделяется под обустройство
мастерского участка.
Площадь,
равная одному лесопогрузочному пункту выделяется на обустройство мастерского
участка.
Длина
участка лесосеки (секция), тяготеющая к одному лесопогрузочному пункту
=>250х167
метров
-
количество лесопогрузочных пунктов на части лесосеки по одну сторону от уса
.7
Разработка технологических схем лесосек
Для разработки лесосек могут быть применены различные схемы. Выбор схемы
зависит от: технологического процесса, системы машин, способа трелёвки,
размеров лесосек и т.д.
Размеры лесосеки - 500х500 метров, тогда площадь лесосеки составляет 25
га.
1
2
3
500
500
1- лесосека
2-зона безопасности
3- лесовозный ус
Рисунок 3. Схема лесосеки
1.7.1 Технологическая
схема разработки зон безопасности
При разработке зоны безопасности (рис. 4) валка бензопилами и трелевка
хлыстов или деревьев тракторами с чокернами может производиться по всей длине
делянки или отдельными участками, равными расстоянию между погрузочными
пунктами, включая площадку для строительства смежного погрузочного пункта.
Полоса зоны безопасности по ширине составляет 50 м., она примыкает к
каждому опорному пункту и задаётся с целью: обеспечения безопасности рабочим
при основных работах. Валка производится лентами шириной 6…12 м или поперечными
ходами по всей ширине зоны безопасности. С целью максимального сохранения
подроста трелёвку производим за вершины. Вальщик перемещается в сторону от
погрузочного пункта, а деревья валятся в сторону уса под углом 30-40о. Трелевка
производиться на участке, примыкающем к погрузочному пункту, с учетом
освобождения площадки для строительства смежного погрузочного пункта.
Рисунок 4. Схема разработки зоны безопасности при валке бензопилами и
трелевке хлыстов или деревьев тракторами с чокерами:
- лесной массив; 2 - зона безопасности; 3 - погрузочный пункт; 4 -
лесовозный ус.
1.7.2
Технологическая схема разработки лесосек и трелёвочных волоков
Лесосека разбивается на участки равные 1/6 её площади. При разработке
лесосеки бензомоторной пилой и трелёвочным трактором применим метод узких
пасек. На одной делянке (ширина делянки - 167м) - 6 пасек (ширина пасеки равна
1,5 средней высоты дерева - 28 метров). Для трелёвки применим сийский способ
(сохранение подроста) - трелёвка за вершины. Вальщик работает начиная с ближней
границы делянки. Машина работает, начиная с дальней границы лесосеки. Валка
деревьев ведётся в глубь делянки в сторону от лесовозного уса, вдоль волока.
Деревья валятся вершинами в сторону волока, таким образом, чтобы трелёвочному
трактору было удобнее собирать пачку.
Трелёвочные волоки на лесосеке необходимо располагать так, чтобы
создавались наилучшие условия для сбора леса со всей площади лесосеки и
перемещения его на погрузочный пункт, а также для сохранения подроста и
наибольшего сокращения расстояния трелёвки.
1.7.3 Обоснование технологии формирования пачки деревьев при трелевке
Сбор пачки трелевочными тракторами с чокерной оснасткой включает
следующие элементы: заезд трактора на лесосеку (волок) и установку в исходное
положение, растаскивание собирающего каната, чокеровку, сбор пачки лебедкой
(рис. 5). В исходном положении (при трелевке за вершину) ось трактора должна
быть направлена на вершину дальнего дерева. Канат оттаскивается на расстоянии
0,7…1,2 от среза вершины. Затем включается лебедка, и деревья подтаскиваются к
трактору, формируясь в пачку. При этом почти не происходит разворота деревьев;
они постепенно совмещаются с осью трактора. При таком способе формирования
лучше сохраняется подрост. Если объем пачки соответствует оптимальной нагрузке
трактора, пачка поднимается на щит и трактор следует на погрузочный пункт.
Формирование пачки в один прием возможно при большом запасе леса на 1 га, когда
длина ленты набора пачки составляет 30…40 м. При малом запасе леса на 1 га сбор
пачки производиться в 2..3 приема. На первом этапе пачка собирается аналогично
вышеизложенному, при этом собирающий канат растаскивается на 15…20 м. В
процессе подтаскивания к трактору деревья выравниваются, упираясь на щит
трактора, затем лебедка растормаживается, трактор отъезжает на 25…45 м и
производиться дополнительная чокеровка деревьев, находящихся в зоне собирающего
каната. После чего включается лебедка и к трактору подтаскивается пачка,
сформированная в первый прием, и деревья, зачокерованные на втором этапе сбора
пачки. Если объем пачки будет соответствовать рейсовой нагрузке трактора, она
поднимается на щит и трелюется на погрузочный пункт. При недостаточном объеме
пачки лебедка трактора вновь растормаживается, трактор отъезжает на 10…20 м и
вновь производиться чокеровка.
Рисунок 5. Технологическая схема набора пачки при трелевке
.7.4 Выбор схемы разработки лесосек при валке деревьев бензиномоторными
пилами
При освоении лесосек с сохранением подроста применяется метод разработки
узкими пасеками с трелевкой деревьев за вершины.
Ширина пасеки при этом равна
,
где
Н - средняя высота дерева, м: принимаю Н=21 м;
- угол
между осями дерева и волока, град:
;
- ширина
волока, м:
=5м.
м
1.7.5 Разработка технологической схемы лесопогрузочного пункта
Лесопогрузочные пункты располагаются перпендикулярно лесовозному усу.
Принимаем длину лесопогрузочного пункта (вдоль уса) - 45 м; ширину - 35 м.
Схема погрузочного пункта с обрезкой сучьев машиной ЛП-30Г и
протаскиванием деревьев вершинами вперед (рис. 6.). На погрузочном пункте
оборудуются места для штабелей деревьев. Между подштабельным местом
предусматривается проезд для сучкорезной машины. Штабель деревьев формируется
трелевочным трактором. Торцы штабеля выравниваются толкателем трактора.
Сучкорезная машина перемещается вдоль фронта штабеля, поштучно захватывая
деревья за вершину и производя обрезку сучьев. После того как вершина дерева
выходит из сучкорезной головки, хлыст выбрасывается в штабель, который
формируется с правой стороны сзади машины. Отгрузка хлыстов может производиться
в процессе работы сучкорезной машины или после переезда машины на другой
погрузочный пункт. Сучья формируются в вал в процессе работы машины и убираются
с погрузочного пункта толкателем трактора или сучкоподборщиком после окончания
работы сучкорезной машины. Сучкорезная машина и челюстной погрузчик могут
работать на двух смежных площадках.
Этот способ имеет ряд преимуществ. Так при протаскивании за вершины можно
обрабатывать более крупные деревья, чем при протаскивании за комли. Кроме того,
сокращается цикл обработки дерева и таким образом повышается производительность
машины и обеспечивается выравнивание комлей без дополнительных приемов.
Рисунок 6. Схема лесопогрузочного пункта при машинной обрезке сучьев.
1.8 Определение норм выработки и норм времени на выполнение основных
работ
Нормы выработки и времени принимаются по единым нормам выработки и
времени [6]. Для всех видов трелевочных тракторов определяется средневзвешенная
норма выработки, для чего составляется схема (рисунок 7).
Средневзвешенную
норму выработки,
, м3/маш.-см., вычисляют по формуле:
,
где
S - общая площадь участка бригадной делянки,
примыкающего к одному лесопогрузочному пункту, м2;
S1,S2,Sn -
площади части делянки, для которых расстояние трелевки составляет
соответственно до 150; 150-300 м и т.д., м2;
Н1,Н2,Нn -
норма выработки при трелевке на расстояние соответственно до 150; 151-300 м и
т.д., м3/маш.-см.
Рисунок 7 - Схема для расчета
средневзвешенной нормы выработки трелевочного трактора
Нормы
выработки на трелевке:
м³/маш.-см;
м³/маш.-см;
м³/маш.-см
Подставив
в формулу необходимые значения, получим:
м3/маш.-см.
Норм
времени
, чел.-ч/м3, определяют по формуле:
,
где
t - продолжительность смены, ч.
-
количество занятых на трелевке рабочих, чел.
В
результате получим:
,
чел.-ч/м3.
Результаты
расчетов представлены в таблице 4.
Таблица 4 - Нормы выработки и нормы времени на выполнение основных работ
|
Вид работ
|
Марка оборудования
|
Количество обслуживающих
рабочих
|
Норма
|
Выработки
/смВремени
|
/чел-день
|
|
|
|
Валка
|
МП5-Урал
|
2
|
121
|
0,116
|
|
Трелёвка
|
ТДТ-55А
|
2
|
66,0
|
0,212
|
|
Обрезка сучьев
|
ЛП-30Б
|
1
|
133
|
0,053
|
|
Погрузка хлыстов
|
ПЛ-1Б
|
1
|
174
|
0,040
|
1.9 Определение потребляемого количества машин и рабочих на основных
работах
Определение потребного количества машин и рабочих производится по летнему
и зимнему сезону работ.
Количество машин, шт.:
,
где
- объем заготовки за зимний или летний сезон, м³;
- объем
одной машины за сезон, м³.
,
где
- норма выработки (сменная производительность),
м3/маш.-см;
- число
смен в сутки;
- число
рабочих дней за сезон.
При
механизированной заготовке древесины число бензиномоторных пил принимается по
числу трелевочных тракторов.
Расчетное
количество рабочих, занятых на каждом виде работ, чел:
.
При
округлении дробных значений
согласовывается
с количеством механизмов.
Трудозатраты,
чел-дн, определяются за год
,
где
- сумма норм времени по всем операциям лесосечных работ,
чел-дн;
Результат
расчета заносим в таблицу 5.
Таблица 5 - Расчет потребного количества машин и рабочих
Наименование
работ Марка оборудования Объемы работ за сезон, м3∙10-3
Количество рабочих дней в сезоне Количество смен в
суткиНорма выработки в смену, м3/маш.- смНорма времени,
чел.-ч/м3Выработка
за сезон на одну машину, м3Количество
машинКоличество
|
рабочих
|
|
|
|
|
|
|
|
|
|
|
|
|
|
|
|
|
расчетное
|
принятое
|
расчетное
|
принятое
|
|
Зимний сезон
|
|
Валка
|
МП5Урал
|
82,5
|
110
|
1
|
121
|
0,116
|
13310
|
6,2
|
11
|
12,4
|
22
|
|
Трелевка
|
ТДТ-55А
|
82,5
|
110
|
1
|
66,0
|
0,212
|
7260
|
11,3
|
11
|
22,7
|
22
|
|
Обрезка сучьев
|
ЛП-30Б
|
82,5
|
110
|
2
|
133
|
0,053
|
29260
|
2,8
|
3
|
5,7
|
6
|
|
Погрузка
|
ПЛ-1В
|
82,5
|
110
|
2
|
174
|
0,040
|
38280
|
2,2
|
2
|
4,3
|
4
|
|
Летний сезон
|
|
Валка
|
МП5Урал
|
27,5
|
165
|
1
|
121
|
0,116
|
19965
|
1,4
|
2
|
2,8
|
4
|
|
Трелевка
|
ТДТ-55А
|
27,5
|
165
|
1
|
66,0
|
0,212
|
10890
|
2,4
|
2
|
4,9
|
4
|
|
Обрезка сучьев
|
ЛП-30Б
|
27,5
|
165
|
2
|
133
|
0,053
|
43890
|
0,7
|
2
|
1,3
|
4
|
|
Погрузка
|
ПЛ-1В
|
27,5
|
151
|
2
|
174
|
0,040
|
52548
|
0,5
|
2
|
1,0
|
4
|
Потребное количество машин и рабочих принимается по зимнему сезону.
.10 Формирование комплексных бригад и функциональных звеньев
На лесосечных работах применяется бригадный метод организации труда.
Бригада представляет собой группу рабочих, объединённых в производственный
коллектив для выполнения общего для всей бригады производственного задания.
Разработка лесосек предусматривается при механизированной валке малыми
комплексными бригадами. Количество бригад назначается по сезонам заготовки; при
валке бензомоторными пилами определяется исходя из числа трелевочных тракторов.
Определим
количество рабочих в бригаде (фактическое число рабочих не должно превышать
расчетное). Путем суммирования операционных норм времени определяем комплексную
норму времени,
, чел.-ч. на 1 м3
Количество
рабочих в бригаде
, чел, определяем по формуле:
,
где
- сменная норма выработки на ведущую машину, м³;
-
суммарная норма времени по выполняемым операциям технологического процесса,
чел-ч/м³.
Таким
образом, принимаем число рабочих в малой комплексной бригаде
nр = 4 чел.
Сменное
задание бригаде при валке бензиномоторными пилами устанавливается исходя из
нормы выработки трелевочного трактора:
,
где
nм-число тракторов в бригаде, шт.
,м3 / см.
Число
смен за зимний сезон, вычисляем по формуле по принятому режиму работы:
смен
Сезонное
задание бригаде, вычисляем по формуле:
,
м3
где
nсм.сез- количество смен работы за зимний сезон, смен.
Результаты
расчета заносим в таблицу 6.
Таблица 6 - Ведомость состава комплексных бригад и функциональных звеньев
|
Технологические операции с
учетом сезона
|
Состав оборудования в
бригаде (звене)
|
Состав рабочих в бригаде
(звене)
|
Сменное задание, м3
|
Всего смен за сезон
|
Сезонное задание, м3
|
Число бригад и их вид
|
Потребное число машин в
работе
|
Потребное число рабочих с
учетом сменности
|
|
марка машин
|
количество
|
профессия
|
количество
|
|
|
|
|
|
|
|
Зимний сезон
|
|
Валка
|
МП5-Урал
|
1
|
Вальщик леса 6-го разряда;
лесоруб 4-го разряда
|
2
|
66
|
110
|
6600
|
11 малых комплексных
бригад, включающих 1 МП5-Урал и 1 ТДТ-55А
|
11
|
22
|
|
Трелевка
|
ТДТ-55А
|
1
|
Машинист 6-го разряда
чокеровщик 4-го разряда
|
2
|
|
|
|
|
|
|
|
Обрезка сучьев
|
ЛП-30Б
|
1
|
Машинист 6-го разряда
|
1
|
133
|
220
|
29260
|
3 функциональных звена
|
3
|
6
|
|
Погрузка
|
ПЛ-1В
|
1
|
Машинист - крановщик 6-го
разряда
|
1
|
174
|
220
|
38280
|
2 функциональных звена
|
2
|
4
|
|
Летний сезон
|
|
Валка
|
МП5-Урал
|
1
|
Вальщик леса 6-го разряда;
лесоруб 4-го разряда
|
2
|
66
|
165
|
10890
|
2 малых комплексных
бригады, включающих 1 МП5-Урал и 1 ТДТ-55А
|
2
|
4
|
|
Трелевка
|
ТДТ-55А
|
1
|
Машинист 6-го разряда
чокеровщик 4-го разряда
|
2
|
|
|
|
|
|
|
|
Обрезка сучьев
|
ЛП-30Б
|
1
|
Машинист 6-го разряда
|
1
|
133
|
165
|
43890
|
2 функциональных звена
|
2
|
4
|
|
Погрузка
|
ПЛ-1В
|
1
|
Машинист - крановщик 6-го
разряда
|
1
|
174
|
151
|
52548
|
2 функциональных звена
|
2
|
4
|
.11 Формирование мастерских участков
Основной производственной единицей на ЛЗП является мастерский участок,
которым руководит мастер леса. Мастерские участки входят в состав лесопункта
или лесничества. Число мастерских участков зависит от объёма производства
лесопункта, размеров и характера размещения лесосек. На лесопункте обычно
имеется 1-2 мастерских лесозаготовительных участка. Объём производства
мастерского участка определяют в зависимости от плана лесозаготовок, установленного
лесопункту, а так же от возможности концентрации на нём бригад. На объём
производства участка оказывают влияние средний объём хлыста, характер лесосек,
тип освоенного оборудования. Мастерский участок объединяет несколько
комплексных бригад. Кроме того, он включает звено технического обслуживания
машин из 2-3 человек и подготовительное звено подготовки лесосек. За мастерским
участком закрепляют машины на базе трелёвочных волоков одного типа.
Обустройство мастерского участка зависит от типа лесовозной дороги и
сезона заготовки. При автовывозке на площадке предусматривают зону стоянки
машин на ремонте и в резерве, размещение средств ремонта, размещение бытовых и
вспомогательных помещений, заправки ГСМ. В зоне заправки предусматриваются
место стоянки машин при заправке, хранения ГСМ, пожарный щит, площадка для
бензозаправщика. В зоне стоянки машин предусматриваются места для стоянки
автобуса, сучкорезных машин, валочных машин, тракторов и челюстных погрузчиков.
В зоне ремонта размещаются машина технологического обслуживания, навес или бокс
для ремонта тракторов, передвижная ремонтная мастерская, водоём. На мастерском
участке размещаются склад запасных частей, слесарно-инструментальное помещение,
мастерская для ремонта бензопил, домик мастера, вагон столовая, пожарный щит.
Мастерский участок обносится минерализованной полосой.
Формируем 2 мастерских участка в зимний сезон и 1 мастерский участок в
летний, т.к. 2 бригады, работающие летом, можно разместить на одном участке
(таблица 7).
Таблица 7 - Ведомость состава мастерских участков
|
Номер мастерского участка
|
Число и состав бригад на
мастерском участке
|
Оборудование
|
Состав рабочих и
численность
|
Сменное задание на бригаду,
м3
|
Сменное задание на
мастерский участок, м3
|
|
|
Тип и марки механизмов
|
Количество
|
Профессия
|
На одну смену
|
|
|
|
Зима
|
|
1
|
6 малых комплексных бригады
|
МП-5 «Урал»
|
6
|
Вальщик леса 6-го разряда;
лесоруб 4-го разряда
|
12
|
66.0
|
396
|
|
|
ТДТ-55А
|
6
|
Машинист 6-го разряда
чокеровщик 4-го разряда
|
12
|
|
|
|
1звено на обрезке
|
ЛП-30Б
|
1
|
Машинист VI разряда
|
1
|
133
|
266
|
|
1звено на погрузке
|
ПЛ-1В
|
1
|
Машинист-крановщик VI разряда
|
1
|
174
|
348
|
|
2
|
5 малых комплексных бригад
|
МП-5 «Урал»
|
5
|
Вальщик леса 6-го разряда;
лесоруб 4-го разряда
|
10
|
66.0
|
330
|
|
|
ТДТ-55А
|
5
|
Машинист 6-го разряда
чокеровщик 4-го разряда
|
10
|
|
|
|
1звено на обрезке
|
ЛП-30Г
|
1
|
Машинист VI разряда
|
1
|
133
|
266
|
|
1звено на погрузке
|
ПЛ-1В
|
1
|
Машинист VI разряда
|
1
|
174
|
348
|
|
Лето
|
|
1
|
2 малых комплексны бригады
|
МП-5 «Урал»
|
2
|
Вальщик леса 6-го разряда;
лесоруб 4-го разряда
|
4
|
80.0
|
160
|
|
|
ТДТ-55А
|
2
|
Машинист 6-го разряда чокеровщик
4-го разряда
|
4
|
|
|
|
1звено на обрезке
|
ЛП-30Г
|
2
|
Машинист VI разряда
|
1
|
133
|
266
|
|
1звено на погрузке
|
ЛП-1В
|
1
|
Машинист VI разряда
|
1
|
174
|
348
|
|
|
|
|
|
|
|
|
|
|
|
|
1.12 Расчет трудозатрат и численность рабочих на подготовительных работах
К подготовительным работам относятся: приемка и подготовка лесосек;
разметка границ лесосек, делянок, волоков, пасек; подготовка магистральных
волоков, устройство лесопогрузочных пунктов, выбор трассы лесовозного уса.
Количество лесосек, шт.,
,
где
Sл - площадь лесосеки, га.
.
Количество
бригадных делянок
на одной лесосеке, шт.,
,
где
- площадь бригадной делянки, га,
.
Общее
количество бригадных делянок
, шт.,
,
.
Общее
количество лесопогрузочных пунктов, шт:
,
.
Протяженность
границ лесосек и бригадных делянок:
,
км.
Протяженность
границ пасек:
м.
Протяженность
волоков Lв:
,
км
Общая
протяженность лесовозных усов:
,
где
- коэффициент развития усов, К=1,3…1,5;
км
Общая
площадь лесосечного фонда:
.
Результаты
расчета заносим в таблицу 8.
Таблица
8 - Определение объема работ и трудозатрат для выполнения подготовительных
работ
|
Наименование работ
|
Объем работ
|
Норма выработки
|
Трудозатраты, чел.-дн
|
|
Приемка лесосечного фонда,
га
|
575
|
5,0 га/чел дн115
|
|
|
Подготовка магистральных
трелевочных волоков, км
|
206,1
|
0,06 км/ чел дн3435
|
|
|
Устройство лесопогрузочных
пунктов для обрезки сучьев сучкорезными машинами и погрузки древесины , шт
|
138
|
1 шт/ чел дн138
|
|
|
Укладка подштабельных
лежней (хлыстов) на лесопогрузочные пункты перпендекулярно оси дороги с
заготовкой
|
138
|
3шт/ чел дн46
|
|
|
Строительство лесовозных
усов: - летние лесовозные дороги - зимние лесовозные дороги
|
16,1 16,1
|
70…124 чел.-дней /км 23…82
чел.-дней /км
|
1610 1207,5
|
|
∑ = 6551,5
|
Число рабочих, занятых на подготовительных работах:
,
где
∑С - сумма трудозатрат, чел.-дн.;
Тг
- количество рабочих дней в году, дн.
Тогда,
получим:
чел.
.13
Расчет трудозатрат и численности рабочих на вспомогательных работах
В
состав вспомогательных работ входит: доставка на лесосеку ТСМ, запасных частей
и материалов; доставка и бытовое обслуживание рабочих; обслуживание и текущий
ремонт машин и механизмов; перебазирование мастерских участков; охрана
оборудования; точка и правка инструментов; содержание волоков; расчистка снега.
Расчет
трудозатрат на вспомогательных работах производится в таблице 9.
Количество
рабочих на вспомогательных работах, чел:
чел.
На
ремонтных работах:
чел.
Количество
рабочих на вспомогательных работах, чел:
.
Таблица
9 - Трудозатраты на вспомогательных работах
|
Наименование работ
|
Объем работ
|
Норма выработки
|
Трудозатраты, чел.-дн
|
|
Точка и правка инструмента
|
110000
|
2,5 чел.-дня /тыс.м3
|
275
|
|
Ремонт чокеров
|
110000
|
1,05 чел.-дня /тыс.м3
|
116
|
|
Содержание магистральных
трелевочных волоков
|
1667
|
0,5 чел.-дня /маш.-см.
|
834
|
|
Доставка ТСМ, запасных
частей и других материалов
|
110000
|
2,0 чел.-дня /тыс.м3
|
220
|
|
Прогрев тракторов в зимнее
время, подогрев воды на лесосеке и охрана машин
|
110000
|
4,0 чел.-дня /тыс.м3
|
440
|
|
Перебазирование
лесозаготовительных бригад
|
110000
|
2,0 чел.-дня /тыс.м3
|
220
|
|
|
|
Содержание и ремонт
оборудования
|
|
МП-5 «Урал»
|
909
|
0,064
|
58
|
|
ТДТ-55А
|
1667
|
0,411
|
685
|
|
ЛП-30Б
|
827
|
0,537
|
444
|
|
ПЛ-1В
|
632
|
0,361
|
228
|
|
∑ = 1415
|
.14 Расчет списочного числа машин и оборудования на основных работах
Перечень машин на мастерских участках берем согласно таблице 5.
Численность машин nм принимаем по
большей потребности в зимний сезон. Коэффициенты резервирования kp выбираем по нормативам.
Списочное число машин рассчитываем по формуле:
.
Результаты
заносим в таблицу 10.
Таблица
10 - Расчет списочного числа машин и оборудования
|
Наименования машин и
оборудования
|
Число машин в работе nм
|
Коэффициент резервирования kp
|
Списочное число машин nм.с
|
|
Зимний сезон
|
|
МП-5 «Урал»
|
11
|
2,0
|
22
|
|
ТДТ-55А
|
11
|
1,4
|
15
|
|
ЛП-30Б
|
3
|
1,4
|
4
|
|
ПЛ-1В
|
2
|
1,4
|
3
|
.15 Расчет списочного количества рабочих
Таблица 11 - Расчет списочного количества рабочих на основных работах
|
Вид работ
|
Расчетное количество
рабочих, чел.
|
Коэффициент перехода
|
Списочное количество
рабочих, чел.
|
|
Основные: - валка -
трелевка -обрезка сучьев -погрузка
|
22 22 6 4
|
1,21
|
26 26 7 5
|
|
Подготовительные
|
24
|
|
29
|
|
Вспомогательные
|
13
|
|
16
|
|
Всего
|
91 109
|
|
|
1.16 Расчет комплексной выработки на одного списочного рабочего
;
;
где
- списочное количество рабочих на основных работах,
чел;
-
списочное количество рабочих на основных, вспомогательных и подготовительных
работах, чел.
м³,
м³.
.17
Расчет годовой выработки на одну списочную машину
Годовая
выработка на одну списочную машину, м3,
.
Расчет
производим ко всем видам лесозаготовительных машин.
Зимний
сезон: на валке
м3;
на
трелевке
м3;
на
обрезке сучьев
м3;
на
погрузке
м3.
1.18
Технико-экономические показатели
Таблица
12 - Технико-экономические показатели
|
Показатели
|
Единица измерения
|
Количество
|
|
1. Годовой объем работ
|
тыс. м3
|
110
|
|
2. Списочное количество
рабочих:
|
чел.
|
109
|
|
на основных работах
|
|
64
|
|
на подготовительных работах
|
|
29
|
|
на вспомогательных работах
|
|
16
|
|
3.Годовая выработка на
одного списочного рабочего:
|
тыс. м3
|
|
|
на основных работах
|
|
1719
|
|
общая
|
|
1009
|
|
4. Годовая выработка на
одну списочную машину
|
тыс. м3
|
|
|
на валке МП-5 «Урал»
|
|
5000
|
|
на трелевке ТДТ-55А
|
|
7333
|
|
на обрезке сучьев ЛП-30Б
|
|
27500
|
|
на погрузке ПЛ-1В
|
|
36667
|
.19
Технологическая карта на разработку лесосек
Технологическая карта - это документ, на основании которого проводится
разработка лесосеки. Она должна содержать следующие данные: характеристики
лесосеки, список машин, бригад, сменность работ и другие.
Технологическая карта составляется на каждую лесосеку, она регламентирует
порядок разработки лесосеки и содержит:
технологическую схему разработки лесосеки; характеристику лесосеки;
технологические указания; количественные показатели.
Технологическая схема разработки лесосеки - схема освоения лесосеки с
изображением пасек, волоков, лесопогрузочных пунктов, зон безопасности, усов
лесовозных дорог.
Характеристика лесосеки включает в себя следующие разделы:
эксплуатационная площадь; ликвидный запас леса; состав насаждений; средний
запас леса на 1 га; средний объем хлыста; характеристика подроста.
Технологические указания содержат данные относительно техники и
технологии, применяемых при выполнении подготовительных, основных и
заключительных работ.
Количественные показатели отражают: суточное задание мастерскому участку;
число бригад; суточное задание на бригаду; число машин на мастерском участке.
1.20 Описание технологического процесса лесосечных работ
Совокупность способов, приемов и средств выполнения ряда операций на
лесосеке и погрузочном пункте или верхнем складе, начиная от валки деревьев и
кончая погрузкой заготовленной древесины на лесовозный транспорт, называется
технологическим процессом лесосечных работ.
В основе деятельности каждого лесозаготовительного предприятия лежит
определённый производственный процесс, к которому относятся работы,
непосредственно связанные с получением готовой продукции и работы по
обслуживанию производства (вспомогательные).
Технологический процесс лесозаготовительного предприятия является частью
производственного процесса и представляет собой совокупность всех операций в
неразрывной связи и последовательности.
Технологический процесс включает основные и вспомогательные работы.
В состав основных работ входят операции, связанные с обработкой и
перемещением предметов труда (деревьев, хлыстов, брёвен и др.).
Подготовительные работы обеспечивают своевременное и качественное выполнение
основных работ и ведутся до их начала. Технологический процесс каждого
лесозаготовительного предприятия является конкретным осуществлением технологии
лесозаготовок.
Технологический процесс лесозаготовительного предприятия состоит из
лесосечных работ, вывозки леса и работ на нижнем складе. В состав лесосечных
работ входят следующие операции: валка деревьев, трелёвка деревьев, очистка от
сучьев, погрузка хлыстов.
Технологический процесс лесозаготовительного предприятия должен учитывать
интересы лесного хозяйства. По окончании работ на лесосеках в обязательном
порядке должны производиться лесовосстановительные работы, содействующие
естественному возобновлению, посев или посадку хозяйственных пород деревьев.
2 Машинная заготовка древесины
.1 Выбор режима работ
Заготовка древесины производится машинами. Принимаем шестидневную рабочую
неделю с семичасовым рабочим днем. Количество смен за сутки принимаем 2.
Воспользуемся календарным планом механизированной заготовки древесины,
составленным в п.1.3 таблица 1 данной курсовой работы, т.к. они идентичны.
.2 Определение объемов заготовки и погрузки древесины
Расчет объемов заготовки и погрузки древесины приводится в п.1.4 данной
курсовой работы.
Суточные и сменные объемы работ по основным видам лесосечных работ
представлены в таблице 13.
Таблица 13 - Суточные и сменные объемы работ при машинной заготовке
древесины
|
Вид работ
|
Марка машины
|
Кол-во смен
|
Суточный объем работ, м³
|
Сменный объем работ, м³
|
|
|
|
зимний
|
летний
|
зимний
|
летний
|
|
Валка
|
ЛП-19А
|
2
|
750
|
167
|
375
|
83,5
|
|
Трелевка
|
ЛТ-187
|
2
|
750
|
167
|
375
|
83,5
|
|
Обрезка сучьев
|
ЛП-33А
|
2
|
750
|
167
|
375
|
83,5
|
|
Погрузка хлыстов
|
ЛТ-188К
|
2
|
764
|
172
|
382
|
86
|
Таблица 14 - Режим лесосечных работ при машиной заготовке древесины
|
Показатели
|
Вид работ
|
|
валка
|
трелевка
|
обрезка сучьев
|
погрузкахлыстов
|
|
Годовой объем производства,
тыс.м³: заготовка древесины машинами
|
110
|
110
|
110
|
110
|
|
Количество рабочих дней за
год
|
275
|
275
|
275
|
261
|
|
Количество смен за сутки
|
2
|
2
|
2
|
2
|
|
Количество часов работы в
смену
|
7
|
7
|
7
|
7
|
|
Суточный объем работ, м³: - летний сезон - зимний сезон
|
167 750
|
167 750
|
167 750
|
172 764
|
.3 Выбор системы машин
Использование машин на валке деревьев дает возможность избежать
применения тяжелого ручного труда, обеспечить безопасность рабочих, повысить их
квалификацию, сделать работу более престижной.
В качестве валочной машины используем - ЛП-19А:
Машина осуществляет срезание деревьев, снимает их с пней и укладывает в
пачки, объем которых зависит от запаса леса на 1га и ограничен вылетом
манипулятора.
Ходовая часть машины состоит из узлов трактора ТТ-4, рама которого
усилена и имеет большую ширину, что обеспечивает ее устойчивость, а гусеничная
ходовая часть лучшую проходимость, поворотная платформа заимствована от экскаватора
ЭО-4121.
Захватно-срезающее устройство (ЗСУ) машины обеспечивает захват и
удержание дерева во время его срезания, перенос и укладку в пачку. Во время
срезания дерева производится его натяг вверх, чтобы избежать зажима срезающего
механизма. ЗСУ состоит из следующих частей: стойки, зажимных рычагов,
гидроцилиндров привода зажимных рычагов, упоров, цепной пилы с ограждением.
Машина ЛП-19А при разработке ленты леса движется по ее оси. Подъезжая к
группе деревьев, оператор останавливает машину, последовательно захватывает и
срезает деревья, укладывая их на свой след, образуя пачки.
Техническая характеристика:
Привод рабочего оборудования…………………………………гидравлический
Максимальный вылет стрелы, м…………………………………………...8
Тип пильной цепи…………………………………………...………….ПЦУ-30
Грузоподъемность стрелы на максимальном вылете, т…………………30
Максимальный диаметр срезаемого дерева, м………………………….0,90
Время цикла на обработку одного дерева, с……………………………35-45
Максимальный объем формируемой пачки, м³…………………………...5
Масса машины, т…………………………………………………………..24,5
В качестве трелевочного трактора будет использоваться - ЛТ-187:
Трелевочный трактор с гидроманипулятором и зажимным коником ЛТ-187,
предназначенный для бесчокерной трелевки леса. Выбор данного трактора можно
обосновать, принимая во внимание то, что ВПМ ЛП-19А при данном запасе леса на
1га может сформировывать пачки, размером около 0,9-1,0м³. Этого недостаточно для полной
загрузки коника трелевочного трактора. Но трактор ЛТ-187 оснащен
гидроманипулятором и способен сам формировать пачки нужного размера.
Гидроманипулятор представляет собой рычажно-шарнирную систему с
поворотной колонной, опирающейся на опорную ферму и систему управления.
Рычажно-шарнирная система состоит из стрелы и рукояти с клещевым захватом.
Стрела шарнирно закреплена на головке поворотной колонны. Для облегчения
захвата дерева при формировании пачки механизм управления захватом имеет
механизм автоматической установки клещевин в поперечной площади относительно
стрелы при раскрытом захвате.
Зажимной коник рычажного типа с канатными вставками предназначен для
формирования пачки, надежного закрепления одного ее конца на тракторе во время
формирования пачки и ее трелевки.
Навесное оборудование, состоящее из стрелы, захвата, механизма привода
захват, гидросистемы и защитных устройств, смонтировано на базе трактора ТТ-4М.
Техническая характеристика
Номинальная мощность…………………………………………………..ЛТ-187
Конструктивная масса, т……………………………………………….. . .16,0
Максимальный объем трелюемой пачки, м³
. . . . . . . . . . . . . . . . . . . . . . . . 10
Максимальный объем трелюемой пачки,
приходящаяся на трактор ……………………………………………… . …4,2
Максимальный вылет захватного органа
от оси ведущей звездочки, мм………………………………………………1620
На обрезке сучьев используем машину ЛП-33А:
На обрезке сучьев будет использоваться сучкорезная машина ЛП-33А,
предназначенная для обработки деревьев со средним объемом хлыста от 0,3 до
0,8
м
. Сучкорезная машина представляет собой серийный
трактор с установленным на нем технологическим оборудованием для обрезки
сучьев. Технологическое оборудование включает следующие основные узлы:
сучкорезную головку, механизм подачи дерева в обработку, протаскивающий
механизм, приемную головку и стрелу.
Сучкорезная
головка одностадийного силового резания имеет захваты с боковыми сучкорезными
ножами. Захваты вместе с ножами сжимаются и разжимаются с помощью реечного
толкателя и зубчатых секторов, которые приводятся в действие гидроцилиндром.
Механизм
подачи деревьев в обработку производит захват очередного дерева с пачки и
загрузку его в сучкорезную головку. Им являются два рычага сучкорезной головки,
монтируемые на стреле головки.
Протаскивающий
механизм служит для протаскивания дерева через сучкорезную головку. Привод
протаскивающего устройства производится лебедкой, установленной на раме
трактора посредством сложной трособлочной системы.
Приемная
головка служит для поддержания ствола при протаскивании обрабатываемого дерева
и частичной доочистки от сучьев с его нижней части. При ее помощи также можно
укладывать подкладки (лаги) под штабеля хлыстов и выравнивать неправильно
уложенные в штабель хлысты. Основными частями приемной головки являются
поворотные рычаги, имеющие заточку и механизм.
Стрела
- металлическая, сварная и на ней монтируются основные узлы технологического
оборудования (вышеперечисленные). На стреле имеются направляющие, по которым
перемещается захват. Длина стрелы 9-11м. Стрела навешивается на базовой машине
шарнирно на кронштейне и при помощи гидроцилиндров может наклоняться и
поворачиваться в горизонтально плоскости для установки в рабочее или
транспортное положение.
Техническая
характеристика
Базовая
машина.............................................................................................ТТ-4
Диаметр обрабатываемых деревьев в зоне захвата, м:
наибольший....................................................................................0,48
наименьший....................................................................................0,06
Наибольший диаметр срезаемых сучьев, м................................................0,20
Скорость протаскивания дерева, м/с……………………………………….1,7
Наибольшее тяговое усилие протаскивания, кН…………………………..50
Погрузка хлыстов челюстной лесопогрузчик ЛТ-188К:
На погрузке хлыстов будет использоваться челюстной лесопогрузчик ЛТ-188
перекидного типа. Технологическое оборудование лесопогрузчика состоит из рамы,
механизмов подъема и захвата груза, гидросистемы. Рама является несущей частью
технологического оборудования и жестко крепится к раме базового трактора. На ней
смонтированы механизмы подъема и захвата груза. Механизм захвата служит для
набора и зажима погружаемых лесоматериалов. Захват состоит из поворотной
челюсти и двух неподвижных стоек. Механизм подъема состоит из стрелы,
поворотного основания и двух пар гидроцилиндров. Гидросистема обеспечивает
привод технологического оборудования. ЛТ-188 работает по принципу переноса
груза над кабиной оператора и представляет собой грузоподъемную машину.
Техническая характеристика
Базовый трактор…………………………………………………………ТТ-4М
Грузоподъемность, т……………………………………………………….4
Масса, т……………………………………………………………………18,5
Наибольшая высота переноса груза через стойки коников
лесовозного транспорта, мм……………………………………………..4800
Среднее давление на грунт, кПа…………………………………………..67
Данные по выбору машин для удобства занесем в таблицу (таблица 4).
Таблица 15 - Машины и механизмы для выполнения основных работ
|
Наименование работ
|
Марка машин и механизмов
|
|
Валка деревьев
|
ЛП - 19А
|
|
Трелевка деревьев
|
ЛТ - 187
|
|
Обрезка сучьев
|
ЛП - 33А
|
|
Погрузка хлыстов
|
ЛТ -188К
|
.4 Обоснование параметров лесосеки и ее элементов
Обоснование параметров лесосеки и размеров бригадной делянки приведены в
разделе механизированная заготовка древесины (см. п.1.6-1.6.1)
2.4.1 Выбор схемы размещения трелевочных волоков
При машинной валке в равнинной местности при грунтах, обеспечивающих
проходимость валочной машины, широкое применение получила схема с расположением
трелевочных волоков параллельно лесовозному усу (рисунок 8).
Рисунок 8 - Схема расположения трелевочных волоков на бригадной делянке:
- бригадная делянка; 2 - лента; 3 - пасечный волок; 4 - магистральный
волок;
- лесопогрузочный пункт; 6 - лесовозный ус; 7 - зона безопасности; 8 -
семенная полоса; Lб.д ,Вб.д - длина
и ширина бригадной делянки; Lл.п
,Вл.п - длина и ширина лесопогрузочного пункта; Ву - ширина лесовозного уса;
Вз.б - ширина зоны безопасности; Lп.в -
длина пасечного волока.
.4.2 Определение среднего расстояния трелевки
Среднее расстояние трелевки при параллельном усу размещении трелевочных
волоков:
,
где
R - радиус поворота трактора с пачкой, м: R =
30;
С
- расстояние между магистральными волоками, м;
-
коэффициент развития трелевочных волоков,
=1…1,2.
м.
.5 Разработка технологических схем
.5.1 Выбор и обоснование технологической схемы разработки зоны
безопасности
Зоны безопасности необходимы для безопасного выполнения работ и
осуществления маневров лесозаготовительной техники. Схема разработки зоны
безопасности выбирается с учетом принятой системы машин, способа трелевки и
погрузки. На рисунке 9 представлена схема разработки зоны безопасности ВПМ.
Рисунок 9 - Схема разработки зоны безопасности валочно-пакетирующей
машиной:
- смежный лесопогрузочный пункт; 2 - лесовозный ус; 3 - пасека; 4 -
лесопогрузочный пункт; 5 - валочно-пакетирующая машина; 6 - трелевочный трактор
При разработке зон безопасности валочно-пакетирующей машиной валку и
трелевку целесообразно начинать от уса с постепенным смещением к границе
лесного массива или от границы лесного массива для обеспечения работы трактора
с левой стороны. Трелевка деревьев производится за комли, начиная от уса лесовозной
дороги или от границы лесного массива, с учетом сбора деревьев с левой стороны
от трактора. По мере освобождения площади от леса строится смежный
лесопогрузочный пункт, на который трелюются деревья со следующего
разрабатываемого участка.
2.5.2 Технология разработки лесосек
Целесообразно просмотреть технологию разработки лесосек на примере
разработки делянки. Разработка делянки для валочно-пакетирующей машиной ЛП-19А
при трелевке трактором с гидроманипулятором показана на рисунке 10.
2 3
Рисунок 10 - Технологическая схема разработки делянки:
- валочно-пакетирующая машина ЛП-19А; 2 - трелевочный трактор с
гидроманипулятором ЛТ- 187; 3 - лента; 4 - пачка деревьев.
Машина ЛП-19А не имеет коника, пачки формируются на земле, укладываются
сзади машины, на ее след, что обеспечивает лучшее сохранение подроста.
Объем пачки равен суммарному объему деревьев, срезаемых с одной стоянки
машины. Делянка разрабатывается лентами, параллельными лесовозному усу, машина
перемещается челночным способом без холостых ходов. Ширина разрабатываемой
ленты равна двойному вылету манипулятора валочной машины.
Рабочий цикл машины включает: поворот манипулятора и подвод ЗСУ к дереву,
зажим и натяжение дерева, срезание, перенос, поворот и укладку деревьев, переезд
машины на новую позицию.
Трелевочный трактор с гидроманипулятором заходит на ленту, формирует
пачку из нескольких пачек, сформированных валочно-пакетирующей машиной,
перемещаясь к лесопогрузочному пункту. Трелевка соседних лент ведется в разных
направлениях, на разные лесопогрузочные пункты.
Площадь
S, м
,
осваиваемая с одной стоянки машины и ограниченная максимальным R и
минимальным r (рисунок 11) вылетами манипулятора, вычисляется по
формуле:
м²
Число
деревьев, обрабатываемых с одной стоянки, шт. вычисляют по формуле:
,
.
Рисунок 11 - Схема площади участка ленты, обрабатываемой с одной рабочей
позиции машиной ЛП - 19А
Объем
пачки, формируемой машиной, м
:
,
м
;
а
число пачек, которые собирает трелевочный трактор с гидроманипулятором за 1
рейс:
,
.
Длину
ленты набора пачки l
,м вычисляют по формуле:
,
м.
2.6
Определение норм выработки и норм времени на выполнение основных работ
Нормы
выработки и времени принимаются по единым нормам выработки и времени. Для всех
видов трелевочных тракторов определяется средневзвешенная норма выработки, для
чего составляется схема (рисунок 12).
Средневзвешенную
норму выработки,
, м3/маш.-см., вычисляют по формуле:
,
где
S - общая площадь участка бригадной делянки,
примыкающего к одному лесопогрузочному пункту, м2;
S1,S2,Sn -
площади части делянки, для которых расстояние трелевки составляет
соответственно до 150; 150-300 м и т.д., м2;
Н1,Н2,Нn -
норма выработки при трелевке на расстояние соответственно до 150; 151-300 м и
т.д., м3/маш.-см.
Подставив
в формулу необходимые значения, получим:
м3/маш.-см.
Норму
времени,
, чел.-ч/м3, определяют по формуле:
,
где
t - продолжительность смены, ч.
В
результате получим:
чел.-ч/м3.
Результаты
расчетов представлены в таблице 16.
Таблица
16 - Нормы выработки и нормы времени на выполнение основных работ
|
Вид работ
|
Марка оборудования
|
Количество обслуживающих
рабочих, чел
|
Норма
|
|
|
|
выработки, м3/маш.-см
|
времени, чел.-ч/м3
|
|
Валка
|
ЛП-19А
|
1
|
210
|
0,033
|
|
Трелевка
|
ЛТ - 187
|
1
|
86
|
0,081
|
|
Обрезка сучьев
|
ЛП-33А
|
1
|
152
|
0,046
|
|
Погрузка
|
ЛТ - 188К
|
1
|
192
|
0,036
|
2.7 Определение потребляемого количества машин и рабочих на основных
работах
Определение потребного количества машин и рабочих производится по летнему
и зимнему сезону работ.
Количество машин, шт.:
,
где
- объем заготовки за зимний или летний сезон, м³;
- объем
одной машины за сезон, м³,
,
где
- норма выработки (сменная производительность),
м3/маш.-см;
- число
смен в сутки;
- число
рабочих дней за сезон
Расчетное
количество рабочих, занятых на каждом виде работ, чел:
При
округлении дробных значений
согласовывается
с количеством механизмов.
Трудозатраты,
чел-дн, определяются за год
,
где
- сумма норм времени по всем операциям лесосечных
работ, чел-дн;
Результат
расчета заносим в таблицу 17.
Таблица 17 - Расчет потребного количества машин и рабочих
Наименование
работ Марка оборудования Объемы работ за сезон, м3∙10-3
Количество рабочих дней в сезоне Количество смен в
суткиНорма выработки в смену, м3/маш.- смНорма времени,
чел.-ч/м3Выработка
за сезон на одну машину, м3Количество
машинКоличество
|
рабочих
|
|
|
|
|
|
|
|
|
|
|
|
|
|
|
|
|
расчетное
|
принятое
|
расчетное
|
принятое
|
|
Зимний сезон
|
|
Валка
|
ЛП -19А
|
82,5
|
110
|
2
|
210
|
0,033
|
46200
|
1,8
|
2
|
3,5
|
4
|
|
Трелевка
|
ЛТ-187
|
82,5
|
110
|
2
|
86
|
0,081
|
18920
|
4,4
|
5
|
8,7
|
10
|
|
Обрезка сучьев
|
ЛП-33А
|
82,5
|
110
|
2
|
152
|
33440
|
2,5
|
3
|
5,0
|
6
|
|
Погрузка
|
ЛТ-188К
|
82,5
|
110
|
2
|
192
|
0,036
|
42240
|
2,0
|
2
|
3,9
|
4
|
|
Летний сезон
|
|
Валка
|
ЛП -19А
|
27,5
|
165
|
2
|
210
|
0,033
|
69300
|
0,4
|
1
|
0,8
|
2
|
|
Трелевка
|
ЛТ-187
|
27,5
|
165
|
2
|
86
|
0,081
|
28380
|
1,0
|
1
|
1,9
|
2
|
|
Обрезка сучьев
|
ЛП-33А
|
27,5
|
165
|
2
|
152
|
0,046
|
50160
|
0,5
|
1
|
1,1
|
2
|
|
Погрузка
|
ЛТ-188К
|
27,5
|
151
|
2
|
192
|
0,036
|
57984
|
0,5
|
1
|
0,9
|
2
|
2.8 Формирование комплексных бригад и функциональных звеньев
Структура комплексных бригад на лесосечных работах принимается в
соответствии с нормами технологического проектирования.
Данные о составе комплексных бригад и функциональных звеньев представлены
в таблице 18.
При машинной валке сменное задание бригаде устанавливается по норме
выработки (производительности) валочно-пакетирующей (валочной) машины.
Количество
рабочих в бригаде
, чел.,
,
где
- сменная норма выработки на ведущую машину, м³;
-
суммарная норма времени по выполняемым операциям технологического процесса,
чел-ч/м³.
Таким
образом, принимаем число рабочих комплексной бригаде
nр = 3 чел.
Сменное задание бригаде, вычисляют по формуле:
,
м3
Таблица 18 - Ведомость состава комплексных бригад и функциональных
звеньев
|
Технологические операции с
учетом сезона
|
Состав оборудования в
бригаде (звене)
|
Состав рабочих в бригаде
(звене)
|
Сменное задание, м3
|
Всего смен за сезон
|
Сезонное задание, м3
|
Число бригад и их вид
|
Потребное число машин в
работе
|
Потребное число рабочих с
учетом сменности
|
|
марка машин
|
количество
|
профессия
|
количество
|
|
|
|
|
|
|
|
Зимний сезон
|
|
Валка
|
ЛП-19А
|
1
|
Машинист 6-го разряда
|
1
|
172
|
220
|
37840
|
2 комплекса: первый-1
ЛП-19А и 2 ЛТ-187, второй-1 ЛП-19А и 3 ЛТ-187
|
2
|
4
|
|
Трелевка
|
ЛТ - 187
|
2
|
Машинист 6-го разряда
|
2
|
|
|
|
|
5
|
10
|
|
Обрезка сучьев
|
ЛП-33А
|
1
|
Машинист 6-го разряда
|
1
|
152
|
220
|
33440
|
3 функциональных звена
|
3
|
6
|
|
Погрузка
|
ЛТ-188К
|
1
|
Машинист - крановщик 6-го
разряда
|
1
|
192
|
220
|
42240
|
2 функциональных звена
|
2
|
4
|
|
Летний сезон
|
|
Валка
|
ЛП-19А
|
1
|
Машинист 6-го разряда
|
1
|
86
|
165
|
14190
|
1 комплекс: 1 ЛП-19А и 1
ЛТ-187,
|
1
|
2
|
|
Трелевка
|
ЛТ - 187
|
1
|
Машинист 6-го разряда
|
1
|
|
|
|
|
1
|
2
|
|
Обрезка сучьев
|
ЛП-33А
|
1
|
Машинист 6-го разряда
|
1
|
152
|
165
|
49856
|
1 функциональное звено
|
1
|
2
|
|
Погрузка
|
ЛТ-188К
|
1
|
Машинист - крановщик 6-го
разряда
|
1
|
192
|
151
|
57216
|
1 функциональное звено
|
1
|
2
|
Число смен за зимний сезон, вычисляем по формуле по принятому режиму
работы:
смен
Сезонное
задание бригаде, м3 , вычисляем по формуле:
,
м3
где nсм.сез - количество смен работы за
сутки, смен;
Псм.бр - сменное задание бригаде, м3/маш.-см.
Число смен за сезон, смен, вычисляют по принятому режиму работы:
.
Данные
расчеты произведены в табличной форме (таблица 18).
.9 Формирование мастерских участков
Таблица 19 - Ведомость состава мастерских участков
|
Номер мастерского участка
|
Число и состав бригад на
мастерском участке
|
Оборудование
|
Состав рабочих и
численность
|
Сменное задание на бригаду,
м3
|
Сменное задание на
мастерский участок, м3
|
|
|
|
тип и марки механизмов
|
количество
|
профессия
|
на одну смену
|
на две смены
|
|
|
|
|
|
Зимний сезон
|
|
|
|
1 комплекс
|
ВПМ ЛП-19А
|
1
|
Машинист 6-го разряда
|
1
|
2
|
172
|
172
|
|
|
|
Трелевочный трактор с
гидроманипулятором ЛТ-187
|
2
|
Машинист 6-го разряда
|
2
|
4
|
|
|
|
|
1 функц-ое звено
|
Сучкорезная машина ЛП-33А
|
1
|
Машинист 6-го разряда
|
1
|
2
|
152
|
152
|
|
|
1 функц-ое звено
|
Челюстной погрузчик ЛТ-188К
|
1
|
Машинист - крановщик 6-го
разряда
|
1
|
2
|
192
|
192
|
|
|
1 комплекса
|
ВПМ ЛП-19А
|
1
|
Машинист 6-го разряда
|
1
|
2
|
258
|
258
|
|
|
Трелевочный трактор с
гидроманипулятором ЛТ-187
|
3
|
Машинист 6-го разряда
|
3
|
6
|
|
|
|
2 функц-ых звена
|
Сучкорезная машина ЛП-33А
|
2
|
Машинист 6-го разряда
|
2
|
4
|
152
|
304
|
|
1 функц-ое звено
|
Челюстной погрузчик ЛТ-188К
|
1
|
Машинист - крановщик 6-го
разряда
|
1
|
2
|
192
|
192
|
|
Летний сезон
|
|
|
1 комплекс
|
ВПМ ЛП-19А
|
1
|
Машинист 6-го разряда
|
1
|
2
|
86
|
86
|
|
|
|
Трелевочный трактор с
гидроманипулятором ЛТ-187
|
1
|
Машинист 6-го разряда
|
1
|
2
|
|
|
|
|
1 функц-ое звено
|
Сучкорезная машина ЛП-33А
|
1
|
Машинист 6-го разряда
|
1
|
2
|
152
|
304
|
|
|
1 функц-ое звено
|
Челюстной погрузчик ЛТ-188К
|
1
|
Машинист - крановщик 6-го
разряда
|
1
|
2
|
192
|
384
|
|
|
|
|
|
|
|
|
|
|
|
|
|
|
|
|
2.10 Расчет трудозатрат и численность рабочих на подготовительных работах
К подготовительным работам относятся: приемка и подготовка лесосек;
разметка границ лесосек, делянок, волоков, пасек; подготовка магистральных
волоков, устройство лесопогрузочных пунктов, выбор трассы лесовозного уса.
Данный расчет приведен в п. 1.12 данной курсовой работы.
Протяженность границ пасек:
м.
Протяженность
волоков Lв:
,
км
Общая
протяженность лесовозных усов:
,
где
- коэффициент развития усов, К=1,3…1,5;
км
Результаты
расчета заносим в таблицу 20.
Таблица 20 - Определение объема работ и трудозатрат для выполнения
подготовительных работ
|
Наименование работ
|
Объем работ
|
Норма выработки
|
Трудозатраты, чел.-дн
|
|
Приемка лесосечного фонда,
га
|
575
|
5,0 га/чел дн115
|
|
|
Подготовка магистральных
трелевочных волоков, км
|
121
|
0,06 км/ чел дн2017
|
|
|
Устройство лесопогрузочных
пунктов для обрезки сучьев сучкорезными машинами и погрузки древесины , шт
|
138
|
1 шт/ чел дн138
|
|
|
Укладка подштабельных
лежней (хлыстов) на лесопогрузочные пункты перпендекулярно оси дороги с
заготовкой
|
138
|
3шт/ чел дн46
|
|
|
Строительство лесовозных
усов: - летние лесовозные дороги - зимние лесовозные дороги
|
16,1 16,1
|
70…124 чел.-дней /км 23…82
чел.-дней /км
|
1610 1207,5
|
|
∑ = 5133,5
|
Число рабочих, занятых на подготовительных работах:
,
чел.
Приемка лесосечного фонда производится мастерами лесозаготовок под
руководством технического руководителя данного лесопункта. Разметку границ
лесосек, бригадных делянок осуществляет мастер вместе с бригадирами. Остальные
операции выполняются машинами.
.11 Расчет трудозатрат и численности рабочих на вспомогательных работах
В состав вспомогательных работ входит: доставка на лесосеку ТСМ, запасных
частей и материалов; доставка и бытовое обслуживание рабочих; обслуживание и
текущий ремонт машин и механизмов; перебазирование мастерских участков; охрана
оборудования; точка и правка инструментов; содержание волоков; расчистка снега.
Расчет трудозатрат на вспомогательных работах производится в таблице 21.
Количество рабочих на вспомогательных работах, чел:
чел.
На
ремонтных работах:
чел.
Количество
рабочих на вспомогательных работах, чел:
.
На
доставке материалов, запчастей и ГСМ задействованы водители 3 класса, доставка
рабочих - водители 1,2 классов, точка и правка инструментов - пилаточ 4
разряда, перебазирование бригад на другую лесосеку - комплексы и функциональные
звенья, содержание трелевочных волоков - рабочие 3 разряда , охрана
оборудования - сторожа, содержание и ремонт оборудования - бригадиры механик,
слесари 3,4 разрядов.
Таблица
21 - Трудозатраты на вспомогательных работах
|
Наименование работ
|
Объем работ
|
Норма выработки
|
Трудозатраты, чел.-дн
|
|
Точка и правка инструмента
|
110000
|
2,5 чел.-дня /тыс.м3
|
275
|
|
Содержание магистральных
трелевочных волоков
|
1279
|
640
|
|
Доставка ТСМ, запасных
частей и других материалов
|
110000
|
2,0 чел.-дня /тыс.м3
|
220
|
|
Прогрев тракторов в зимнее
время, подогрев воды на лесосеке и охрана машин
|
110000
|
4,0 чел.-дня /тыс.м3
|
440
|
|
Перебазирование
лесозаготовительных бригад
|
110000
|
2,0 чел.-дня /тыс.м3
|
220
|
|
∑ = 1795
|
|
Содержание и ремонт
оборудования
|
|
ЛП-19А
|
524
|
0,683
|
358
|
|
ЛТ-187
|
1279
|
0,546
|
698
|
|
ЛП-33А
|
724
|
0,537
|
389
|
|
ЛТ-188К
|
573
|
0,407
|
233
|
|
∑ = 1678
|
2.12 Расчет списочного числа машин и оборудования на основных работах
Перечень машин на мастерских участках берем согласно таблице 15.
Численность машин nм принимаем по
большей потребности в зимний сезон. Коэффициенты резервирования kp выбираем по нормативам.
Списочное число машин рассчитываем по формуле:
.
Результаты
заносим в таблицу 22.
Таблица
22 - Расчет списочного числа машин и оборудования
|
Наименования машин и
оборудования
|
Число машин в работе nм
|
Коэффициент резервирования kp
|
Списочное число машин nм.с
|
|
Зимний сезон
|
|
ЛП-19А
|
2
|
1,4
|
3
|
|
ЛТ-187
|
5
|
1,4
|
7
|
|
ЛП-33А
|
3
|
1,4
|
4
|
|
ЛТ-188К
|
2
|
1,35
|
3
|
.13 Расчет списочного количества рабочих
Таблица 11 - Расчет списочного количества рабочих на основных работах
|
Вид работ
|
Расчетное количество
рабочих, чел.
|
Коэффициент перехода
|
Списочное количество
рабочих, чел.
|
|
Основные: - валка -
трелевка -обрезка сучьев -погрузка
|
4 10 6 4
|
1,21
|
5 12 7 5
|
|
Подготовительные
|
19
|
|
23
|
|
Вспомогательные
|
13
|
|
16
|
|
Всего
|
56 68
|
|
|
2.14 Расчет комплексной выработки на одного списочного рабочего
Комплексную выработку вычисляют на одного списочного рабочего на основных
работах Qосн., м3, и по всему комплексу
лесосечных работ Qобщ., м3, по
формулам:
;
;
где
- списочное количество рабочих на основных работах,
чел;
-
списочное количество рабочих на основных, вспомогательных и подготовительных
работах, чел.
м³,
м³.
.15
Расчет годовой выработки на одну списочную машину
Годовая
выработка на одну списочную машину, м3,
.
Расчет
производим ко всем видам лесозаготовительных машин.
Зимний
сезон: на валке
м3;
на
трелевке
м3;
на
обрезке сучьев
м3;
на
погрузке
м3.
.16
Технико-экономические показатели
Таблица
12 - Технико-экономические показатели
|
Показатели
|
Единица измерения
|
Количество
|
|
1. Годовой объем работ
|
тыс. м3
|
110
|
|
2. Списочное количество
рабочих:
|
чел.
|
68
|
|
на основных работах
|
|
29
|
|
на подготовительных работах
|
|
23
|
|
на вспомогательных работах
|
|
16
|
|
3.Годовая выработка на
одного списочного рабочего:
|
тыс. м3
|
|
|
на основных работах
|
|
3793
|
|
общая
|
|
1618
|
|
4. Годовая выработка на
одну списочную машину
|
тыс. м3
|
|
|
на валке ЛП-19А
|
|
36667
|
|
на трелевке ЛТ-187
|
|
15714
|
|
на обрезке сучьев ЛП-33А
|
|
27500
|
|
на погрузке ЛТ-188К
|
|
36667
|
2.17 Описание технологического процесса лесосечных работ
Подготовительные работы. Приемку лесосечного фонда производит технический
руководитель данного лесопункта. В процессе технологической подготовки
производится изучение лесоэксплуатационных условий, упрощенные изыскания трассы
лесовозного уса, выбор мест под лесопогрузочные пункты, разработка
технологического процесса лесосечных работ, составление технологической карты,
выбор и порядок размещения оборудования мастерского участка. Подготовка
территории лесосек к рубке не производится. При подготовке лесопогрузочных
пунктов производится расчистка зоны безопасности, грубая планировка и разработка
зоны безопасности. Обустройство мастерского участка производится рабочими
подготовительных и комплексных бригад.
Основные работы. Валка деревьев осуществляется валочно-пакетирующей
машиной ЛП-19А. Данная машина не имеет коника, поэтому пачки формируются на
земле и укладываются на след машины, что обеспечивает лучшее сохранение
подроста. Объем пачки равен суммарному объему деревьев, срезаемых с одной
стоянки машины. При выбранной схеме разработки лесосек (лентами, параллельными
лесовозному усу) машина перемещается челночным способом, без холостых ходов.
Подъезжая к группе деревьев, оператор останавливает машину,
последовательно захватывает и срезает деревья. При повороте платформы оператор
совмещает оси стрелы и дерева. Затем, манипулируя гидроцилиндрами стрелы,
рукояти и стойки ЗСУ, подводит последнее к дереву и, включив гидроцилиндры,
захватывает и срезает его. Во время срезания осуществляется натяг дерева во
избежание зажима пильной шины. После срезания дерево снимается с пня,
переносится к месту укладки и укладывается на землю.
Трелевка деревьев производится трелевочным трактором с гидроманипулятором
ЛТ-187. Трактор заходит на ленту, формирует пачку из нескольких пачек,
сформированных валочно-пакетирующей машиной, перемещаясь к лесопогрузочному
пункту. Трелевка деревьев производится за комли. Трелевка соседних лент ведется
в разных направлениях, на разные лесопогрузочные пункты.
Обрезка сучьев на лесопогрузочном пункте производится самоходной
сучкорезной машиной ЛП-33А. Сучкорезная машина перемещается вдоль фронта
штабеля, поштучно захватывает деревья за комлевую часть и производит обрезку
сучьев. После того, как вершина дерева выходит из сучкорезной головки, хлыст
выбрасывается в штабель, который формируется с правой стороны сзади машины. При
этом оператор следит, чтобы комли хлыстов были выровнены.
Погрузка хлыстов на лесовозный транспорт осуществляется челюстным
лесопогрузчиком ЛТ-188К. При работе лесопогрузчика оператор опускает на землю
поворотную челюсть, которая подводится под хлысты, при этом он производит
захват и формирование пачки. Поднимая пачку в верхнее положение, оператор
задним ходом перемещает лесопогрузчик к лесовозному усу. При разгрузке захвата
стойки стрелы наклоняются, и пачка плавно соскальзывает по ним на подвижной
состав.
Два комплекса, в составе валочной машины и трелевочных тракторов работают
на разных делянках. Сучкорезные машины и лесопогрузчики перемещаются между
отдельными лесопогрузочными пунктами в пределах делянок, в которых ведут работы
комплексы.
Вспомогательные работы. Вспомогательные работы направлены на
качественное, эффективное выполнение основных работ и заключаются в поддержании
в исправном состоянии машин, а также в бытовом обслуживании рабочих. Состав
рабочих, оборудования и техники на вспомогательных работах представлен в
п.2.11, п.2.13.
Заключительные работы. К заключительным работам относится очистка лесосек
от отходов лесозаготовок. Очистка лесосек после их разработки является
обязательной и проводится с целью создания благоприятных условий для выполнения
работ по возобновлению леса, обеспечения пожарной безопасности и санитарных
требований.
Способ очистки лесосек - сбор в валы подборщиком ПС-5А.
Подборщик ПС-5А выполнен на базе трактора ТДТ-55А. Грабельный собирающий
орган имеет 10 собирающих зубьев и ширину захвата 3,0м.
Очистка лесосек подборщиком производится сразу после разработки лесосек.
Подборщик должен совершать прямолинейные челночные ходы с разворотом на
границах лесосеки. Валы следует размещать в основном на волоках.
лесосечный древесина
заготовка
Список использованных источников
1 Общесоюзные нормы технологического проектирования
лесозаготовительных предприятий. -Л: Гипролестранс,1980 - 192с.
Общесоюзные нормы технологического проектирования
лесозаготовительных предприятий. -Л: Гипролестранс,1985 - 132с.
Лесоэксплуатация. Методические указания к курсовому
проектированию. Сост.: Н.Ф.Клименко, Ю.Г.Яковенко и др., Архангельск - 2006 г.
Межотраслевые нормы выработки и времени на
лесозаготовительных работах; Москва - 1995г.
Технология и оборудование лесопромышленного производства.
Методические указания к курсовому проектированию. Сост.: Н.Ф.Клименко,
В.И.Мигунов и др. Архангельск - 2003 г.
Виногоров Г.К. Лесосечные работы. - М.:, Лесн. пром-ость,
1981- 272с.
Кочегаров В.Г., Бит Ю.А., Меньшиков В.Н. Технология и машин
лесосечных работ. М.: Лесн. пром-ость, 1990 - 391 с.
Малых А.П., Смирнов Р.Г., Дербин В.М., Технологические схемы
разработки лесосек: Метод. указания к курсовому проектированию.- Архангельск:
РИО АЛТИ, 1987- 36с.