Линия задержки на поверхностных акустических волнах
ПОЯСНИТЕЛЬНАЯ ЗАПИСКА К
КУРСОВОМУ ПРОЕКТУ
Линия задержки на
поверхностных акустических волнах
Введение
Линии задержки представляют собой пассивные линейные
устройства, основным функциональным назначением которых является задержка
электрических сигналов во времени с минимальными искажениями их формы.
Основными параметрами линий задержки, исходя из их
назначения, считают:
·
время
задержки;
·
величина
вносимых потерь ВП;
·
средняя
частота полосы пропускания;
·
ширина
частоты пропускания, которая определяется по разности частот, при которых
выходной сигнал в 1,41 раза меньше максимального уровня;
·
уровень
подавления ложных сигналов - это отношение максимальной величины полезно
используемого сигнала к наибольшему из не основных (ложных сигналов в
интересующем диапазоне частот
·
динамический
диапазон;
·
амплитудно-частотная
характеристика;
·
фазочастотная
характеристика;
·
температурный
коэффициент задержки;
·
временная
стабильность характеристик ЛЗ.
Существуют следующие виды линий задержки:
электрические линии задержки;
электромагнитные линии задержки;
ультразвуковые линии задержки;
линии задержки на поверхностных акустических волнах;
Электрические линии задержки. Так как
электрические сигналы распространяются по проводнику с конечной скоростью
м/с, то очевидно что если взять проводник
определенной длинны то можно получить линию задержки время задержки которой
определяется следующим образом:
. Но из за больших габаритов и небольших времен задержки
электрические линии задержки, несмотря на их прекрасные характеристики, в
настоящее время практически не применяются.
Электромагнитные линии задержки. Для получения
=1..10 мкс используется электромагнитная линия задержки, она
представляет собой ряд звеньев соединенных последовательно. Каждое звено - это
индуктивность и ёмкость. Задержка электрического сигнала в этом случае
происходит за счёт зарядки и разрядки емкостей через индуктивности, на что требуется
определённое время. Время задержки одного звена определяется следующим образом:
. Для всей линии задержки время задержки равно:
, где n -
число звеньев.
Для предотвращения отражение электрического сигнала от конца линии
задержки, на ее конце ставится сопротивление, которое называется волновым,
оптимальное значение этого сопротивления
.
Обычно используют бескорпусные емкости и индуктивности, которые
обвалакиваются пластмассами.
Скорость распространения акустических волн в твёрдых телах
составляет 2…6 км/с. Отсюда следует, что если использовать вместо
электромагнитных волн акустические волны, распространяющиеся по какому-либо
материалу, мы сможем получить линию задержки, габариты которой будут в
раз меньше чем габариты электрической
линии задержки, при одном и том же времени задержки. Таким образом из
сказанного выше следует, что конструкция ЭЛЗ должна содержать преобразователи,
которые преобразуют электрический сигнал в акустический и наоборот, и
звукопровод, по которому распространяются акустические волны. Время задержки
такой ЛЗ определяется следующим образом:
- длина звукопровода;
- скорость распространения акустических волн в материале
звукопровода.
1. Теоретическая часть
Для осуществления задержек 1¸10 мкс используют ЛЗ,
которые состоят из последовательно соединённых цепочек L и C. Такие ЛЗ с
сосредоточенными параметрами называют LC - линиями. Принцип действия таких ЛЗ основан на
том, что при движении электрического импульса вдоль линии происходит последовательная
зарядка конденсаторов через индуктивности, на что затрачивается время,
составляющее задержку.
Конструкция такой линии задержки изображена на рис. 1.1.
Основными элементами ее являются катушка индуктивности и
конденсатор. Для уменьшения габаритов и массы обычно используются бескорпусные
элементы. Кроме того предусматриваются следующие элементы конструкции: выводы,
механическое крепление катушек, конденсаторов и выводов, элементы защиты от
внешних воздействий и теплоотвод. Типичной является такая конструкция, когда
все катушки, конденсаторы и выводы после электрического соединения
опрессовываются или заливаются компаундом или смолами. Конструкция
электрической линии задержки отличается простотой и компактностью,
предусматривает защиту от внешних воздействий, так как литой корпус придает
жесткость конструкции и защищает от действия влаги. Вместе с тем электрические
линии задержки обладают рядом недостатков, определяемых особенностями их
конструкции и конструкциями входящих в них элементов. В связи с высокой
плотностью монтажа и использованием «литого» корпуса из материалов с
диэлектрической проницаемостью больше единицы параметры линии задержки
определяются не только емкостью конденсаторов, но и емкостью монтажа.
Поэтому такие линии задержки применяются ограничено, не могут
удовлетворять многим требованиям, которые предъявляются к ЛЗ в РЭА. Это привело
к появлению ультразвуковых линий задержки (УЛЗ) и линий задержки на
поверхностных акустических волнах.
В УЛЗ временная задержка сигналов достигается в результате
относительно медленного распространения в упругой среде акустических сигналов,
в которые преобразуются входные электрические сигналы. На выходе УЛЗ происходит
обратное преобразование акустических сигналов в электрические. В соответствии с
этим время задержки сигналов в УЛЗ определяется длиной пути, проходимого
акустической волной между излучаемым и приёмным преобразователями, и скоростью
распространения волны в материале звукопровода.
УЛЗ обладают высококачественными электрическими и
конструктивными характеристиками, но имеют существенные недостатки:
. Имеются ограничения на частоты сигналов в основном из за
конструктивных особенностей преобразователей. УЛЗ магнитострикционные
используются на частотах до 1 МГц, УЛЗ пьезокерамические и пьезокварцевые - от
3 до 30 МГц.
. Конструкция линий предусматривает изотовление
магнитопровода из материала с высокой однородностью и стабильностью. Наиболее
существенно то, что требуется механическая обработка звукопровода с очень
высокими точностями и с жесткими требованиями к качеству обработки поверхности.
. В УЛЗ сложно получать отводы.
Значительное число отводов можно получить только в кварцевых
ЛЗ. Однако пьезокварцевые линии в связи с необходимостью использования кварцевых
кристаллов значительных размеров и сложностью конструкции отводов имеют
значительную стоимость. Поэтому целесообразно конструировать такие ЛЗ, для
изготовления которых можно использовать технологические процессы
микроэлектроники. Развитие акустоэлектроники позволило создать линии задержки
на поверхностных акустических волнах, возбуждаемых в пьезокерамических пленках,
нанесенных на подложки, или в пьезокерамических подложках. Принцип действия
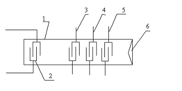
такой ЛЗ изображен на рис. 1.2
Рис.
1.2
где 1-подложка, 2 - входной преобразователь в виде напыленных
решетчатых электродов, 3,4,5 - напыленные решетчатые отводы, 6 - поглотители,
устраняющие отражении поверхностных волн от концов звукопровода. В связи с
особенностями принципа действия преобразователей акустоэлектронные ЛЗ можно
использовать на частотах не ниже 10 МГц (на более низких частотах их габариты
оказываются большими). Величина времени задержки ЛЗ на ПАВ может достигать 100
мкс, а отводов без особых затруднений можно получить 100 и более.
Принятая сегодня классификация линий задержки на ПАВ основана
на функциональном признаке рис. 1.3.
К линиям однократной задержки относят ЛЗ имеющие один входной
и один выходной преобразователи ПАВ.
В зависимости от функционального назначения линии с
однократной задержкой подразделяются на линии с фиксированной и регулируемой
задержкой сигнала.
Линии, в которых волна, возбужденная входным
преобразователем, многократно взаимодействует с рядом выходных преобразователей,
поучили название многоотводных линий задержки.
2. Анализ технического задания
линия задержка
многоотводный акустический
В предложенном выше техническом задании требуется разработать
многоотводную линию задержки на поверхностных акустических волнах с заданными
характеристиками. Основное назначение данного электронного радиоэлемента
состоит в задержке электрического сигнала заданной частоты на определенное
время с наименьшими потерями.
Основным элементом разрабатываемой МЛЗ является звукопровод из
монокристалла пьезоэлекрика, основными критериями для выбора материала
звукопровода являются тип и скорость распространения акустической волны,
температурный коэффициент задержки и коэффициент поглощения. Исходя из
вышеперечисленных условий, выбираем монокристалл
y, z среза. Данный материал имеет ТКЗ = 94 · 10-6 К-1
и коэффициент поглощения K= 0,88 дБ/мкс.
В качестве материала встречно-штыревых преобразователей возьмем
алюминий. Выбор алюминия в качестве материала для электродов определяется
следующими причинами:
ü хорошее сочетание алюминия с подслоем
ванадия и ниобата лития;
ü низким удельным сопротивлением, благодаря
чему незначительно уменьшаются потери на сопротивление электродов;
ü небольшой удельной массой по сравнению с
другими металлами, что уменьшает влияние массовой нагрузки;
ü хорошим освоением технологии нанесения
алюминия;
ü хорошей стойкостью алюминия при
воздействии окружающей среды;
ü малой стоимостью алюминия и
технологического процесса его нанесения, что особенно важно при крупносерийном
производстве.
3. Расчетная часть
Рассчитаем многоотводную линию задержки (МЛЗ) при следующих
исходных данных:
f0 = 125 МГц;
величина времени задержки
= 5 мкс;
8 мкс;
температурный коэффициент задержки ТКЗ =
;
относительная ширина пропускания
.
Так, как даны два времени задержки выбираем ЛЗ на поверхностных
акустических волнах, так как довольно просто выполнить ее многоотводной, и при
выборе поверхностных акустических волн возможно значительное уменьшение
габаритных размеров МЛЗ.
По значению ТКЗ выберем монокристалл звукопровода
. Его характеристики показаны в таблице
1.1.
Таблица 1.1 - Основные характеристики звукопровода
|
Материал
|
Скорость ПАВ,
м/с
|
ТКЗ, К-1
|
Коэффициент
поглощения, дБ/мкс
|
Коэффициент
электромеханической связи
|
|
y, z348894 ∙ 10-60,884,5
|
|
|
|
|
|
. Разрабатываем топологию встречно-штыревых преобразователей
(ВШП).
При этом рассчитываем период ВШП (Т), его шаг (h), ширину электродов (d), апертуру (W), количество электродов
(N).
Рассчитаем количество пар электродов ВШП:
(3.1)
где
=0,6-0,8 - коэффициент, который учитывает
сужение полосы пропускания ЛЗ;
(3.2)
Рассчитаем период ВШП:
где
- скорость распространения ПАВ;
Рассчитаем шаг ВШП:
(3.3)
Рассчитаем ширину электродов ВШП:
(3.4)
мкм
Рассчитаем апертуру ВШП:
(3.5)
где
- длина волны ПАВ;
(3.6)
- максимальное время задержки.
мкм
мм
Выберем
мм
. Рассчитаю расстояние между излучающим и принимающими ВШП:
(3.7)
мм
мм
. Рассчитаю габариты звукопровода:
Определим длину звукопровода:

(3.8)
Так как входной и выходной ВШП имеют одинаковую конструкцию, то:
(3.9)
где
- длина преобразователя; (3.10)
мм - расстояние между крайним электродом преобразователя и
торцевой гранью;
- расстояние между преобразователями;


мм
Определим ширину звукопровода:
(3.11)
где
(3.12)

= 5..10 мм - расстояние между общей шиной ВШП и продольной гранью
звукопровода.
мм
Толщина звукопровода
(3.13)
мм
Возьму D=0,5 мм
. Определяю потери на омическом сопротивлении электродов:
(3.14)
где
(3.15)
(3.16)
- удельное сопротивление материала
электродов;
t - толщина электродов.
В качестве материала электродов выберем алюминий.
Дб
5. Определю мощность потерь на отражение
энергии от выходного преобразователя Рот, прохождение Рпр и поглащение Рпог.
(3.17)
(3.18)
(3.19)
где
(3.20)
коэффициент рассогласования преобразователя с сопротивлением
нагрузки.
Число электродов преобразователя берем из графика зависимости
акустической и электрической добротностей преобразователя:
Дб
Дб
. Определю мощность ложного сигнала:
(3.21)
Дб
4. Конструкторская часть
Выводы изготавливают из бронзовой проволоки диаметром 0,7 мм, с
последующим лужением припоем ПОС - 61 в местах пайки, и устанавливают в
основание, изолируя их от корпуса с помощью неорганического стекла.
Основное место в корпусе занимает звукопровод. Крепление
звукопровода к основанию корпуса осуществляется путем склеивания. При этом
нижнюю поверхность платы покрывают равномерным слоем клея Д-9 толщиной около 1
мм. После установки платы на основание корпуса к плате прикладывают равномерно
распределенное усилие и удерживают в таком состоянии до тех пор, пока между
внутренними поверхностями платы и основания толщина клея достигнет примерно 0,6
мм. Данный слой выполняет три функции:
1) крепление платы;
) обеспечение амортизации;
) поглощение сигналов, обусловленных возбуждением и приемом
обьемных волн.
Электрическое соединение контактных площадок платы с выводами
выполняется золотыми проводниками Зл 999,9 диаметром около 40 мкм с применением
микросварки.
Крышку устанавливают на основание методом вакуум-плотной
герметизации с помощью электронно-лучевой сварки. Готовое изделие проверяют на
герметичность с помощью гелиевого течеискателя ПТ-7.
5. Технологическая часть
Для подавления объемных акустических волн на обратной стороне
подложки необходимо нанести алмазным диском насечку под углом к направлению
распространения ПАВ. Шаг насечки может составлять 5..15 длин волн ПАВ, глубина
равна половине шага.
Перед полировкой пластину подвергают шлифовке порошком М20 - при
этом снимается слой 0,25 мм, порошком М10 - снимается слой 0,15 мм и еще раз
порошком М10 снимается слой 0,1 мм. Полировка пластин производится в
плоскошлифовальных станках. Для полировки ниобата лития используются суспензии
на основе синтетических алмазных порошков АСН3/2 и АСН1/0. Скорость вращения
шлифовальника и давление на колодку с пластинами подбирают экспериментальным
путем, и обычно они соответственно составляют 50 … 200
, 0,5 … 2,0
. Процесс полировки пластин необходимо проводить в отдельных
технологических помещениях, имеющих низкую запыленность. Полировальняе
суспензии должны быть тщательно приготовлены и не содержать частиц, размер
которых превышает размер частиц полирующего вещества. После полировки пластина
должна иметь царапин и поверхность должна отвечать требованиям ГОСТ 11141 - 76,
классу частоты Р1.
Качество очистки подложки в значительной степени определяет
характеристики устройств на ПАВ и процент выхода годных изделий. Процесс
очистки подложек заключается в тщательной отмывке ее от органических и
механических загрязнений, а также в активации поверхности для повышения адгезии
металлической пленки.
Недостаточно качественная очистка подложек обычно приводит к
плохой адгезии металлической пленки, а механические загрязнения и пылинки - к
проколам в пленке, которые ведут к обрывам электродов ВШП.
Металлизация рабочей поверхности звукопровода осуществляется
методом термического испарения в вакууме. В качестве адгезионного подслоя
используется ванадий, выбор ванадия обусловлен достаточно хорошими адгезионными
свойствами, относительной легкостью испарения и возможностью одновременного или
раздельного травления с алюминием. Напыление проводится при скорости напыления
не меньшей 3 мм/с и рабочем вакууме не хуже
тор с обязательным применением ловушек, охлаждаемых жидким
азотом, и натеканием воздуха в систему не более
л. тор/с. В качестве материалов испарителей для ванадия пригодны
вольфрам и молибден. Для обеспечения хорошей адгезии пленки алюминия толщина
подслоя ванадия должна быть 0,2 мкм.
Оптимальная температура подложки при напылении алюминия составляет
и скорость осаждения 10 нм/с. Толщина
пленки алюминия равна 0,2 мкм.
Потом с помощью фотолитографии будут получены ВШП для
разрабатываемой МЛЗ, поскольку данный метод технически и экономически более
целесообразен.
Последовательность изготовления фотошаблона следующая:
. Вычерчивание оригинала на полимерной пленке в масштабе от
:1 до 500:1 на автоматическом
координатографе типа КПА-1200, который обеспечивает точность расположения
элементов топологии
мкм.
. Изготовление промежуточного оригинала, который получают
уменьшением оригинала на редукционных фотокамерах типа ЭМ-713. Масштаб от 1:10
до 1: 50. Промежуточный оригинал выполняется на фотопластинках с высокой
разрешающей способностью.
. Изготовление эталонного фотошаблона на фотоповторителях
типов ЭМ-552, ЭМ-652 и др. На этих установках производится съемка
промежуточного оригинала с уменьшением масштаба 1:10, 1:4, 1:5, в зависимости
от типа повторителя. Причем каждый элемент топологии устройства на ПАВ,
выполненный на отдельном промежуточном оригинале, впечатывается в
соответствующее место, т.е. производится монтаж топологии.
. Размножение эталонного фотошаблона выполняется
стандартными методами фотолитографии на установках типа ЭМ-582.
На заключительной стадии производят контроль фотошаблонов,
который включает измерение линейных размеров и оптической плотности
непрозрачных участков. При этом применяется часовые протекторы типа ЧП-2 или
измерительные микроскопы УИМ - 23 или УНЧ - 250, МИИ-4, МИИ-7. Плотность
непрозрачных участков фотошаблонов замеряется на фотоэлектрическом динамометре
ДФЭ-10 или микрофотометре MФ-4.
Для изготовления структур ЛЗ на ПАВ применяется прямой метод
контактной фотолитографии. В качестве фоторезиста применяется следующие
позитивные фоторезисты - ФП-383, ФП - РН - 7, ФП - 333, которые тщательно
фильтруются и подвергаются скоростному центрифугированию. Толщина наносимого
слоя фоторезиста должна составлять не более 0,4-0,8 мкм. После осажденные
пленки фоторезиста подвергаются сушке в термокамере типа ТК-1 или сушильном
шкафу. При совмещении фотошаблона с звукопроводом при экспонировании
применяется метод контактного совмещения, в качестве источника излучения
используются ртутнокварцевые лампы высокого и сверхвысокого давления типов
ДРШ-100, ДРШ-250, ДРШ-500. Проявление участка фоторезиста ФП-383 и ФП-РН-7
осуществляется в 2-3% водном растворе тринатрифосфата с глицерином. Щелочи
пригодны для проявления фоторезиста ФП-383.
Звукопровод с проявленным фоторезистом после тщательно
промывается водой и потом сушится на центрифуге, температура сушки при 90 єС -
15 минут, затем при 140 єС - 30 минут.
Металлостеклянный корпус имеет металлические основание и
крышку, а изоляция выводов от основания осуществляется за счет пайки стеклом. Технологичность
конструкции такого корпуса обусловлена использованием высокопроизводительных
методов холодной штамповки при изготовлении деталей корпуса и хорошо
обработанных методов сварки при герметизации. Изготовление стеклянных
изоляторов - индивидуальных в виде миниатюрных втулок-бус - легко поддается
автоматизации. Сборка основания с выводами и образование металлостеклянных
спаев осуществляется в групповых графитовых кассетах путем термической
обработки в конвейерных печах непрерывного действия. Выводы герметизируют с
помощью спая «металл-стекло». В данном случае выбрано стекло С48-2.
Вывод
В курсовом проекте был произведен расчет основных параметров линии
задержки на поверхностных акустических волнах, учитывая заданные
характеристиками были разработаны основные элементы ЛЗ: звукопровод, ВШП. На
основании этого построила сборочный чертеж. То есть, разработана конструкция ЛЗ
с определенными параметрами, размерами и материалами элементов.
Вывод: самостоятельно разработала и изучила ЛЗ на ПАВ.
Расширила свои знания по технологии материалов ЛЗ и по материаловедению.
Список используемой литературы
линия задержка
многоотводный акустический
1. Свитенко В.И. Электрорадиоэлементы. Курсовое
проектирование, М., 1987.
. Рычина Т.А. Электрорадиоэлементы, М., 1975.
. Высоцкий Б.Ф., Дмитриева В.В. Интегральные
пьезоэлектрические устройства фильтрации и обработки сигналов.