Багатоканальна кодоімпульсна схема телевимірювань

  • Вид работы:
    Курсовая работа (т)
  • Предмет:
    Информатика, ВТ, телекоммуникации
  • Язык:
    Украинский
    ,
    Формат файла:
    MS Word
    69,11 Кб
  • Опубликовано:
    2013-05-31
Вы можете узнать стоимость помощи в написании студенческой работы.
Помощь в написании работы, которую точно примут!

Багатоканальна кодоімпульсна схема телевимірювань

Зміст

Анотація

Завдання на курсовий проект

Вступ

. Огляд та аналіз інформаційних джерел

. Вибір та обґрунтування структурної схеми всієї системи

3. Розробка функціональної схеми передавального напівкомплекту

3.1 Вибір типу інтерполяції

3.2 Розрахунок параметрів та вибір аналого-цифрового перетворювача

3.3 Розрахунок параметрів завадостійкого коду

3.4 Побудова та робота функціональної схеми передавального напівкомплекту

. Розробка принципово-електричної схеми передавального напівкомплету

4.1 Вибір елементної бази

.2 Визначення повного функціонального складу схеми

.3 Розрахунок основних параметрів схеми

.4 Побудова часових діаграм роботи схеми

Висновки

Джерела

Додатки

Анотація

В даному курсовому проекті розроблений передавальний напівкомплект кодоімпульсної системи телевимірювань. Розглянута найбільш вдала структурна схема, яка цілком задовольняє умови виконання курсового проекту.

Розроблені функціональна та принципово-електрична схеми пристроїв згідно завдання курсового проекту. Побудовані часові діаграми найбільш характерних точок передавального напівкомплекту.

Завдання на курсовий проект

.Розробити кодоімпульсну систему телевимірювань.

.Вхідні данні:

.1 Кількість каналів телевимірювань 3

.2 Смуга частот (0… Fmax), Гц 0…100

.3 Діапазон зміни величини вхідного сигналу (Umin… Umax),В -5…+5

.4 Спосіб ущільнення лінії зв’язку часовий

.5 Зворотній канал відсутній

.6 Основна зведена похибка, що породжується аналого-цифровим перетворенням та відновленням сигналу за його відліками не повинна перевищувати δ, % 0,25

.7 Вимоги до завадостійкого коду:

.7.1 Код повинен забезпечувати виправлення однократних помилок;

2.7.2 Кодова комбінація для кожного відліку повинна містити: номер датчика, значення вимірюваної величини, перевірочні символи;

.7.3 Вид завадостійкого коду Бауера

2.8 Параметри двійкового каналу:

.8.1 Ймовірність помилки при прийомі двійкового символу Р 5*10-3

2.8.2 Показник групування помилок α 0,6

Вступ

Характерною особливістю сучасної технічної системи є впровадження методів і засобів телемеханіки, яке викликане переходом на автоматизоване керування. Неперервно ускладнюються функції, які виконуються системами автоматичного керування, що в свою чергу призводить до важливості цих систем. В результаті укрупнення взаємозв’язаних комплексів, підвищення складності систем, збільшення відстаней між різними частинами систем з’являються спеціалізовані пристрої збору, передачі, виконання команд керування. Комплекс таких пристроїв з передачею інформації на відстань представляє собою систему телемеханіки.

Завдання, яке вирішується в даному курсовому проекті, застосування передавального напівкомплекту кодоімпульсної системи телевимірювань для відправлення в лінію зв’язку сигналів телевимірювання, які дозволяють детально охарактеризувати стані і зміни стану об’єктів. Параметри телевимірювань отримують за допомогою первинних перетворювачів або датчиків. Для збільшення завадостійкості передаваємого сигналу використовується завадостійке кодування. В якості завадостійкого коду використовується код Бауера згідно завданню на курсовий проект.

1. Огляд та аналіз інформаційних джерел

Термін «телемеханіка», введений в 1905 р. французом Е. Бранлі, складається з двох грецьких слів: tele - далеко і mechanike - майстерність, або наука про машини.

Телемеханіка - галузь науки і техніки, що охоплює теорію і технічні засоби контролю і управління об'єктами на відстані з застосуванням спеціальних перетворювачів сигналів для ефективного використання каналів зв'язку.

Управління об'єктами забезпечується командною інформацією, яка спрямована до об'єктів і включає в себе телекерування і телерегулювання, контроль об'єктами - оповіщувальною інформацією, спрямованої від об'єктів і включає телевимірювання, телесигналізацію та статистичну інформацію.

В телемеханіці передача інформації здійснюється без участі людини або з її участю в пункті управління. Проте в деяких областях застосування телемеханіки (медицина, космос, спорт і т. п.) людина знаходиться по обидві сторони передачі, але на одній із сторін вона являється об'єктом дослідження. Розглянемо особливості телемеханіки.

Крім телемеханіки є ряд галузей техніки, що займаються передачею інформації, - телеграф, телефон, телебачення та інші. Хоча наукові основи всіх методів та засобів передачі інформації, в тому числі телемеханіки, базуються на загальній теорії зв'язку та теорії інформації, промислова телемеханіка має специфічні особливості, що відрізняють її від телеграфу, телефону, телебачення та інших засобів зв'язку. Перелічимо ці особливості:

) необхідність великої точності передачі інформації телевимірювання(до 0,05%);

) недопустимість великого запізнювання в передачі інформації при управлінні, так як тривала затримка переданих повідомлень в телемеханіки в ряді випадків може викликати аварію;

) необхідність великої надійності в передачі команд, так як помилки при передачі команд можуть призвести до аварії. Звідси - вимоги до більшої достовірності передачі інформації. Так, в телеуправлінні допустима ймовірність виникнення помилкової команди 10-10, що набагато вище вимог щодо достовірності передачі в інших видах зв'язку;

) відмінність вхідних і вихідних пристроїв від таких же пристроїв в системах зв'язку. Джерелами інформації в пристроях телемеханіки є датчики, ключі, а в системах зв'язку - мікрофон, іконоскоп і т. п. На виході в пристроях телемеханіки застосовуються сигналізатори, прилади, реле, а в системах зв'язку - телефон, гучномовець, кінескоп і т. п.;

) централізованість передачі інформації. У телемеханіки передача інформації, як правило, здійснюється від об'єктів, які можуть бути розосереджені, в якийсь один пункт управління (до диспетчера або обчислювальної машині) і, навпаки, з одного пункту управління до багатьох об'єктів.

В телемеханіці при передачі інформації виникають наступні проблеми:

) достовірності, тобто передачі інформації з малими спотвореннями, що виникають як в апаратурі, так і при передачі по лінії зв'язку через перешкоди;

) ефективності, тобто знаходження способів кращого використання апаратури та лінії зв'язку при передачі великої кількості інформації;

) економічності, тобто побудови простих і дешевих пристроїв телемеханіки, що забезпечують найбільшу кількість переданої інформації при найменшій витраті засобів.

Перш ніж перейти до класифікації систем телемеханіки, дамо ряд визначень:

Пристрій телемеханіки - сукупність технічних засобів телемеханіки, розташованих на телемеханічному пункті управління або контрольованому телемеханічному пункті.

Комплекс пристроїв телемеханіки - сукупність пристроїв пунктів управління і контрольованих пунктів, призначених для спільного застосування в телемеханічних системах.

Телемеханічних система - сукупність пристроїв пунктів управління і контрольованих пунктів, периферійного обладнання, необхідних ліній і каналів зв'язку, призначених для спільного виконання телемеханічних функцій.

Наведемо класифікацію систем телемеханіки

За виконуваними функціями:

Система телевимірювань (ТВ) - система, що здійснює передачу безперервних величин, що вимірюються. Наприклад, потрібна передача даних з великою точністю про рівень продукту (солярового масла, бензину), що знаходиться в ємності. Інформація передасться з контрольованого пункту КП на пункт управління ПУ. Прийняті дані можуть бути занесені в ЕОМ і представлятися диспетчеру для візуальних спостережень на цифрових індикаторах і стрілочних приладах, а також реєструватися спеціальними приладами.

Система телесигналізації (ТС) - система, здійснює передачу різних дискретних величин, які можуть вводитися в ЕОМ або повідомляти диспетчеру про стан контрольованих об'єктів за допомогою звукової та світлової сигналізації. На прикладі вимірювання рівня ємності можна вказати, що якщо потрібно передати інформацію про те, чи порожня ємність або її рівень максимальний (ємність наповнена), то в цьому випадку замість системи телевимірювань доцільно застосувати систему телесигналізації.

Система телеуправління (ТУ) - система, що здійснює передачу інформації у вигляді команд на включення або відключення різних механізмів. Ці команди або надсилаються диспетчером з ПУ, або подаються з ЕОМ на зміну уставок в регуляторах. При цьому якщо об'єкти управління знаходяться поблизу диспетчера, необхідність у зворотній сигналізації відпадає: диспетчер візуально спостерігає за виконанням посланих команд. Прикладом такої системи є система ТУ будівельним краном: оператор, що стоїть на землі подаючи команду, безпосередньо спостерігає за рухом крана.

Однак сфера застосування подібних систем ТУ обмежена. Зазвичай керовані об'єкти знаходяться поза полем зору диспетчера, і про те, включилися або відключилися вони після подачі команди, потрібна сигналізація. Для цього потрібно підключення системи телекерування з системою телесигналізації.

Система телеуправління і телесигналізації (ТУ - ТС) - система, що дозволяє передавати команди з ПУ на КП і отримувати сповіщувальну сигналізацію про виконання команди, що посилається з КП на ПУ, і сигналізацію про зміну стану об'єкта.

Система телевимірювань і телесигналізації (ТІ - ТЗ) - система, що передає тільки сповіщувальну інформацію з КП на ПУ. У такій системі можлива і передача виробничо-статичної інформації.

Поряд з розглянутими найпростішими системами є системи, які виконують всі або майже всі телемеханічних функції. Так, до ТВ, ТС і ТУ іноді додається і телерегулювання (ТР), яке представляє собою телекерування об'єктами з безперервним безліччю станів. Здійснюється ТР за допомогою систем телекерування і телевимірювань. Наприклад, необхідно збільшити кількість рідини в цистерні до певного рівня. Диспетчер посилає команду на включення відповідного насоса, нагнітаючого рідину в бак, і за даними телевимірювань рівня перевіряє ступінь його наповнення. Коли бажаний рівень буде досягнуто, диспетчер посилає команду на відключення насоса.

З трьох основних телемеханічних функцій (телекерування, телесигналізації і телевимірювань) телевимірювання (ТВ) є найбільш складним, що обумовлено вимогою передачі інформації з великою точністю.

Телевимірювання за викликом - телевимірювання по команді, що посилаються з пункту управління на контрольований пункт і викликає підключення на контрольованому пункті передавальних пристроїв, а на пункті управління - відповідних приймальних пристроїв.

Телевимірювання за викликом дозволяє використовувати одну лінію зв'язку (канал телевимірювань) для почергового спостереження за багатьма об'єктами телевимірювань. Диспетчер за допомогою окремої системи телеуправління може підключати до каналу телевимірювань бажаний об'єкт телевимірювань. На пункті управління показання можна спостерігати на загальному вихідному приладі. Якщо свідчення мають різні шкали, то вимірювані величини підключаються до різних приладів. При телевимірюванні за викликом можна застосовувати автоматичне опитування об'єктів телевимірювання циклічно за заданою програмою.

Телевимірювання за вибором - телевимірювань шляхом підключення до пристроїв пункту управління відповідних прийомних приладів при постійно підключених передавальних пристроях на контрольованих пунктах.

Телевимірювання поточних значень - одержання інформації про значення вимірюваного параметра в момент опитування пристроєм телемеханіки.

Телевимірювання мають особливості, що відрізняють їх від звичайних електричних вимірювань, які не можуть бути застосовані для вимірювання на відстані внаслідок виникнення похибок через зміну опору лінії зв'язку при вимірюванні параметрів навколишнього середовища - температури і вологості. Навіть якщо б зазначені похибки знаходилися в припустимих межах, передача великої кількості інформації потребувала б великого числа провідників. Крім того, в деяких випадках (передача вимірювання з рухомих об'єктів - літаків, ракет і ін) Звичайні методи вимірювання принципово не можуть бути використані. Методи телевимірювання дозволяють зменшити похибку при передачі вимірюваних величин на великі відстані, а також багатократно використовувати лінію зв'язку.

Сутність телевимірювань полягає в тому, що вимірювана величина, попередньо перетворена на струм або напруга, додатково перетворюється в сигнал, який потім передається по лінії зв'язку. Таким чином, передається не сама вимірювана величина, а еквівалентний їй сигнал, параметри якого вибирають так, щоб спотворення при передачі були мінімальними. Вимірювана величина х (наприклад, тиск газу) перетворюється за допомогою датчика (первинного перетворювача) в електричну величину z (струм, напруга, опір, індуктивність або ємність). Далі відбувається вторинне, телемеханічне перетворення: електрична величина в передавачі перетвориться в сигнал який передається в лінію зв'язку. На приймальній стороні знову проводиться перетворення прийнятого сигналу (він може дещо відрізнятися від переданого сигналу за рахунок дії перешкод в лінії зв'язку) в значення струму або напруги, яке еквівалентно вимірюваній величині і відтворює її на вихідному приладі. Сукупність технічних засобів, необхідних для здійснення телевимірювань, включаючи датчик і показуючий пристрій називають телевимірювальною системою (СТВ). Головна вимога, що висувається до СТВ, полягає в тому, що вона повинна забезпечити задану точність телевимірювань. Тому основною характеристикою СТВ є точність.

Класифікація систем телевимірювань:

Системи телевимірювань (СТВ) можна класифікувати за різними ознаками. Найбільш поширена класифікація за параметром, тобто методів, за допомогою яких передається значення вимірюваної величини. При такій класифікації системи телевимірювання діляться на імпульсні і частотні. Спільною для цих груп являється частотно-імпульсна система.

Всі ці системи можуть бути одноканальним, коли по одній лінії зв'язку передається тільки один вимір, і багатоканальними, коли по одній лінії зв'язку передається багато вимірів (класифікація за кількістю вимірюваних величин). Багатоканальність досягається тими ж методами, що і в телекерування, тобто за допомогою частотного та часового способів розділення сигналів. Багатоканальна система дозволяє вести спостереження за показаннями багатьох вимірюваних величин одночасно на відміну від систем, що використовують телевимірювання за викликом, в яких спостереження свідчень різних об'єктів телевимірювань відбувається почергово.

За методами відтворення вимірюваної величини системи телевимірювання підрозділяють на аналогові та цифрові.

У аналогових системах використовуються безперервні (аналогові) сигнали. Параметр аналогового сигналу є однозначною безперервної функцією вимірюваної величини. До аналогових відносять сигнали, модульовані за допомогою безперервних модуляцій і таких імпульсних модуляцій, як широтна, фазова і частотна. У аналогових системах може застосовуватися квантування за часом, але відсутній квантування по рівню.

У аналогових системах відтворення сигналу здійснюється в аналоговій формі, тобто у вигляді електричної величини (струму або напруги), яка вимірюється звичайним електровимірювальним приладом.

У цифрових системах використовуються дискретні, квантовані за рівнем сигнали, як правило, кодові комбінації, що представляють собою певне значення вимірюваної величини. Такими системами є кодоімпульсні системи телевимірювань. Системи з цифровим відліком вимірюваної величини одержують все більше поширення за рахунок точності показань і зручності зчитування.

Крім зазначених систем ТВ існують також системи інтенсивності. У системах інтенсивністі вимірювана величина після перетворення її в струм або напругу в подальшому в сигнал не перетворюється. Перетворювач вимірюваної величини в струм або напругу включений безпосередньо в лінію, а на приймальній стороні до цієї ж лінії підключається прилад, що вимірює струм або напругу. Похибка телевимірювань систем інтенсивності внаслідок вимірювання опору лінії зв'язку в межах 2-3%. Зазначені недоліки звузили сферу застосування цих пристроїв, і їх виробництво припиняється.

Розглянемо детальніше кодоімпульсні системи:

Особливість імпульсних систем полягає в тому, що методи передачі імпульсних сигналів, покладені в основу цих систем, роблять вимірювання амплітуди імпульсів, що виникають від зміни параметрів лінії зв'язку, які не впливають на результат телевимірювань. В імпульсних системах переносником сигналу є послідовність імпульсів, на яку наноситься інформація про вимірювану величину за допомогою різних видів імпульсної модуляції. Такі системи називаються системами далекої дії. Дальність передачі залежить від рівня сигналу та чутливості приймача.

У частотно-імпульсних системах вимірювана величина пропорційна частоті імпульсів, тобто для передачі використовується частотно-імпульсна модуляція (ЧІМ).

Сутність частотно-імпульсного методу передачі телевимірювань можна прослідкувати на прикладі: протягом одного періоду телевимірювань (циклу) вимірювана величина напруга 50 В передається п'ятьма імпульсами постійної тривалості, то напруга 47 В за цей же час буде передано 4,7 імпульсами. Зворотне перетворення частотно-модульованих імпульсів на прийомі здійснюється шляхом перетворення їх у постійний струм, середня складова якого змінюється в залежності від кількості імпульсів, які проходять за час Т. Так як тривалість імпульсів не змінюється (змінюється лише інтервал між ними), то при збільшенні значення вимірюваної величини їх число на даному інтервалі часу збільшиться, в результаті збільшиться і постійна складова струму, яка додатково відхилить стрілку приймального приладу. В якості приймачів застосовують частотоміри, функція яких полягає в перетворенні частотно-модульованих сигналів в напругу (струм), значення якого визначається частотою.

В часовоімпульсних системах в залежності від значень вимірюваної величини передаючі імпульси змінюють або тривалість, або місце розташування. У першому випадку використовується широтно-імпульсна модуляція (ШІМ) і пристрої називаються широтно-імпульснимі. В другому - фазоімпульсна модуляція (ФІМ) і пристрої називаються фазоімпульсними. Далі розглядаються тимчасові системи, в яких тривалість імпульсу пропорційна вимірюваній величині. Похибкою телевимірювань у часовоімпульсних системах утворюється за рахунок викривлення фронтів імпульсів при передачі їх по каналу зв'язку. Приймальний пристрій вимірює тривалість між моментом спрацьовування порогового пристрою і моментом його відпускання. Внаслідок непостійності параметрів лінії зв'язку, що призводять до зміни амплітуди та форми імпульсу, а також непостійності напруги спрацьовування і відпускання порогового пристрою величина змінюється. Зменшення відносної похибки досягається за рахунок розширення смуги частот, що збільшує крутизну фронтів імпульсів, і збільшення тривалості імпульсу. Тому для телевимірювань повільно змінюючихся величин раніше застосовувалися довгоперіодичні часовоімпульсні системи з періодом проходження імпульсів від 1 до 60 с. В інших випадках застосовуються короткоперіодні системи з періодом проходження імпульсів менше 1 с. Однак найбільш доцільним способом виключення похибки при передачі по каналу зв'язку у разі спотворення фронтів з різних причин є передача інформації не одним імпульсом, а двома. Однак цей метод передачі вимагає більш широкосмугового каналу. Приймачі часовоімпульсних систем здійснюють зворотне перетворення імпульсів, модульованих по тривалості в постійний струм, діляться на дві групи - електромеханічні і електричні. Перші, які представляють собою різні механічні пристрої для вимірювання тривалості імпульсів, застосовувались раніше в так званих довогоперіодичних пристроях. В електричних приймачах здійснюється середнього струму імпульса або відношення тривалості імпульса к періоду.

У кодоімпульсних системах (КІС) вимірювана величина передається у вигляді певної комбінації імпульсів (коду). Попередньо вона квантуються за рівнем і за часом. Далі здійснюється кодоімпульсна модуляція (КІМ).

Кодоімпульсні системи мають ряд переваг у порівнянні з іншими системами телевимірювань. Головними з них є:

) велика завадостійкість, можливість передачі телевимірювань на великі відстані, особливо при використанні завадостійких кодів;

) велика точність телевимірювань. Похибка в кодоімпульсних системах виникає при перетворенні вимірюваної величини в код. Точність перетворювачів, що перетворюють вимірювані величини в код, може бути менше 0,1%.

) краще використання каналу зв'язку у разі застосування спеціальних кодів, статистично узгоджених з передаючими повідомленнями;

) отримання інформації у цифровій формі, що дозволяє:

а) без складних перетворень вводити інформацію в цифрові

обчислювальні машини й пристрої обробки даних;

б) здійснювати цифрову індикацію показань, що забезпечує меншу похибку при зчитуванні і простоту цифрової реєстрації даних.

За рахунок вище перерахованих переваг ми й використовуємо даний тип імпульсних систем для побудови передавального полукомплект.

2. Вибір та обґрунтування структурної схеми всієї системи

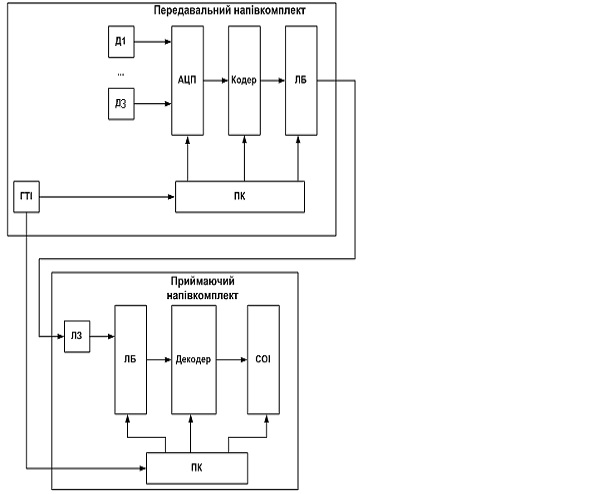
Сутність телевимірювання полягає в тому, що вимірювана величина, попередньо перетворена в струм або у даному випадку в напругу, додатково перетворюється у сигнал, який потім передається у лінію зв’язку. Таким чином, передається не сама вимірювана величина, а еквівалентний їй сигнал, параметри якого вибираються так, щоб спотворення при передачі були мінімальними. Перетворення неперервної аналогової вимірюваної величини в цифровий еквівалент - код - здійснюється за допомогою аналого-цифрового перетворювача (АЦП), а в канал зв'язку передаються імпульсно-кодові сигнали у вигляді кодових комбінацій. На приймальній стороні знову відбувається перетворення імпульсно-кодового сигналу в значення напруги, яке еквівалентне вимірюваній величині і яке відтворює цю величину на вихідному устаткуванні.

Вимірювана величина x перетворюється за допомогою аналогового датчика Д в уніфікований параметр z (зазвичай струм або напруга), якщо датчиків два і більше використовується комутатор КМ, далі сигнал підсилюється з допомогою підсилювача П і подається на аналого-цифровий перетворювач АЦП. На виході АЦП утворюється двійковий, двійково-десятковий або, рідше, який-небудь інший паралельний цифровий код. Далі здійснюється формування серії імпульсних кодових сигналів для передачі їх у канал зв'язку за допомогою кодера К. З цією метою на початку кодової комбінації додаються синхронізуючий сигнал і код адреси, а при необхідності підвищення завадостійкості до інформаційної кодової комбінації додаються контрольні розряди у відповідності з обраним завадостійким кодом. Синхронізуючий сигнал у вигляді одиночного подовженого імпульсу або спеціальної кодової комбінації розміщується перед початком кодової комбінації. Для передачі по каналу зв'язку паралельний код перетворюється в послідовний за допомогою лінійного блоку ЛБ, зазвичай шляхом послідовного зчитування кодових комбінацій з елементів пам'яті або просування регістра з заданою швидкістю з записаним кодом.

Управління послідовністю дій вузлів здійснюється пунктом керування ПК, а швидкість роботи, тобто частота послідовності імпульсів, задається генератором тактових імпульсів ГТІ.

Узагальнена структурна схема приймального кодоімпульсного напівкомплекта телевимірювань: лінійний блок ЛБ здійснює поелементний прийом імпульсів і перетворює послідовний код в паралельний. Після чого комбінація паралельного коду подається на вхід декодера Д, який перевіряє коди і забороняє проходження або видає на свій вихід прийняту інформаційну кодову комбінацію.

Послідовність дії вузлів (алгоритм) задається пунктом керування ПК, а швидкість роботи (частота імпульсів) генератором тактових імпульсів ГТІ. На відміну від передавального пристрою тут ГТІ працює неавтономно, а синхронізується і синфазуєтся тактовими імпульсами, які подаються з виходу виокремлювача тактових імпульсів ВТІ.

3. Розробка функціональної схеми передавального напівкомплекту

З.1 Вибір виду інтерполяції

Відновити квантований за часом сигнал можна за допомогою фільтра нижніх частот або за допомогою обчислювачів, які використовують один із методів інтерполяції.

Іноді відновлення функції з кроком, підрахованим по теоремі Котельникова, виконують за допомогою фільтра нижніх частот, який виділяє постійну і низькочастотну складові, які відповідають спектру переданої функції. Однак при цьому виникають похибки через те що амплітудно-частотна характеристика реального фільтра відрізняється від характеристики ідеального фільтра. Відновлення за допомогою фільтра доцільно, коли спектр переданої функції зосереджений в області нуля по осі частот.

Найбільш просто реалізується поліноміальна інтерполяція, яка базується на побудові алгебраїчного полінома, який проходить через відліки сигналу. При використанні таких поліномів розрізняють ступінчасту, лінійну, квадратичну інтерполяцію або 0,1,2 порядків.

В випадку ступінчастої інтерполяції неперервний сигнал відновлюється за допомогою відрізків горизонтальних ліній довжина яких дорівнює періоду дискретизації. В результаті сигнал змінюється ступінчасто.

При лінійній інтерполяції сигнал відновлюється за допомогою відрізків прямих, які з’єднують сусідні точки. В результаті отримаємо ламану лінію, яка характеризуватиме наш сигнал. При квадратичній інтерполяції сигнал змінюється відрізками парабол. Можна застосовувати інтерполяцію і більш високих порядків, але це вже залежить від доцільності їх використання, оскільки похибка змінюється не суттєво, а апаратні затрати зростають суттєво.

В даному проекті найбільш доцільним буде використання саме лінійної інтерполяції, оскільки ступінчаста інтерполяція не дасть нам потрібної точності, бо похибка досить вагома і визначається як різниця між миттєвими значеннями відновленого та вихідного сигналів, взятих в один і той же момент часу. А квадратична інтерполяція не задовольняє нас своїми високими апаратними затратами.

3.2 Розрахунок параметрів та вибір аналого-цифрового перетворювача

За завданням курсового проекту приведена похибка АЦП, яка з’являється під час відновлення аналогового сигналу з цифрового, не повинна перевищувати 0,25%, вона визначається по формулі:

                                                                    (3.2.1)

- похибка дискретизації(через не ідеальність відновлення сигналу по його відлікам);

 - похибка вибірки (через кінечність часу вибірки сигналу);

 - похибка квантування;

 - інструментальна похибка (через розкид параметрів елементів, неточністю напруг)

         Похибка дискретизації  для сигналів у яких спектральна густина близька до прямокутної і обмежена частотою Fmax пов’язана з періодом дискретизації наступним чином:

а) при ступінчастій інтерполяції

                                    (3.2.2)

б) при лінійній інтерполяції

                                   (3.2.3)

в) при квадратичній інтерполяції

                             (3.2.4)

Результуюча похибка розподілена порівну по всім складовим:


тоді мкс

Оскільки за період дискретизації АЦП виконує три перетворення, то його час перетворення повинен задовольняти умові:

= 56.25 мкс                                                       (3.2.5)

Похибка вибірки  пов’язана з часом вибірки наступним чином:

                                                                                  (3.2.6)

тоді час вибірки:

мкс                                      (3.2.7)       

Отже перед АЦП або в його складі повинен бути пристрій вибірки і зберігання час вибірки якого не повинен перевищувати 1.99 мкс. При відсутності такого пристрою в складі АЦП час перетворення не повинен перевищувати 56.25 мкс.

Похибка квантування визначається наступним чином:

,

де N - кількість рівнів квантування

Число розрядів АЦП знаходимо за формулою:


Зазвичай інструментальна похибка  не повинна перевищувати задану, тобто ;

На основі отриманих даних ми можемо вибрати АЦП. Найкраще наші вимоги задовольняє АЦП типу AD571S фірми Analog Devices. Він являє собою десяти розрядний аналого-цифровий перетворювач, виконаний за КМДН-технологією, з часом перетворення від 15 до 40 мкс, вхідна аналогова напруга від -5В до +5В в біполярному режимі. Живлення даного АЦП від -15В до +5В. Можуть бути схеми ввімкнення в уніполярному режимі та в біполярному режимі. Згідно з завданням на курсовий проект для вхідного діапазону сигналу будемо використовувати саме біполярний режим роботи АЦП.

3.3 Розрахунок параметрів завадостійкого коду

Для підвищення завадостійкості за завданням на курсовий проект необхідно використовувати код Бауера (інверсний). У такому коді для збільшення завадостійкості до вихідної n-розрядної комбінації за визначеним правилом додається ще n розрядів. У результаті в лінію відправляється подвоєне число символів. Правило утворення коду наступне: якщо у вихідній комбінації парне число одиниць, то комбінація, що додається, повторює вихідну, якщо непарне, то в розрядах, що додаються, усі 0 перетворюється в 1, а 1 - у 0 (тобто комбінація інвертуються по відношенню до вхідної).

Прийом інверсного коду здійснюється в два етапи. На першому етапі сумуються одиниці в першій (основній) групі символів k. Якщо прийняте число інформаційних символів k парне, то контрольні символи m приймаються без змін, якщо непарне, то символи m інвертуються. На другому етапі контрольні символи m порівнюються із символами k і при наявності хоча б однієї розбіжності вся передана комбінація n=k+m елементів бракується. Це по елементне порівняння еквівалентне підсумовуванню по модулю 2. При відсутності помилок в обох групах символів їхня сума дорівнює нулю.

Можливості виявлення помилок інверсного коду досить великі. Цьому сприяє метод його побудови. Додавання m символів приводить до збільшення мінімальної кодової відстані. Потрібно пам’ятати що висока завадостійкість інверсного коду досягається за рахунок більшої надлишковості.

Згідно умов технічного завдання, для кодування використовується завадостійкий код Бауера. Кодова комбінація має містити номер датчика, значення вимірюваної величини і перевірочні символи.

=kАЦП + j + m,

де

kАЦП=10 - кількість розрядів АЦП, необхідних для перетворення аналогового сигналу датчика у цифровий;

j=2 - кількість розрядів необхідних для відображення кількості датчиків, оскільки кількість каналів телевимірювань Nk=3;

m=12 - перевірочні символи;

k=10+2+12=24

Отже кодова комбінація буде містити 24 символи.

.4 Побудова та робота функціональної схеми передавального напівкомплекту

В даному курсовому проекті нам потрібно розробити схему передавального напівкомплекту кодо-імпульсної системи. Для реалізації даного завдання нам потрібно реалізувати наступні блоки:

комутатор каналів;

аналого-цифровий перетворювач;

кодер, який використовує код Бауера;

лінійний блок;

схему управління;

Розглянемо реалізацію і систему команд для кожного блоку.

Для вибору одного з трьох каналів, якими передаються аналогові дані (сигнали від датчиків) потрібно, щоб комутатор каналів мав не менше трьох аналогових входів та два входи управління, через які будуть задаватись номери потрібних каналів.

З виходу АЦП ми отримаємо 10 розрядний код нашого сигналу. Також ми повинні за завданням на курсовий проект включити в код номери датчиків, оскільки в нас тільки три датчика, то нам потрібно два розряди для їх задання. Отже ми отримаємо 12 розрядну інформаційну частину.

Кодер являє собою блок перевірки інформаційної частини на парність чи не парність кількості одиниць і формувач перевірочних символів, який складається із елементів „додавання по модулю два” інформаційних символі і отриманого показника парності, дана процедура і забезпечує отримання перевірочної частини коду Бауера, в залежності від отриманого сигналу перевірки на парність перевірочна частина буде повторювати інформаційну чи буде інверсною їй.

Вихідний код повинен складатися із інформаційних символів та перевірочних. В лінію зв’язку код повинен видаватися в послідовному вигляді. Це забезпечується за допомогою блоку регістрів зсуву.

Виходячи з того, які необхідно формувати сигнали керування, синтезуємо пристрій керування, який складається з двох двійкових чотирьох розрядних лічильників, які з’єднані каскадом для забезпечення необхідної кількості розрядів, за рахунок переключення шістнадцяти розрядних дешифраторів п’ятим розрядом, ми отримаємо необхідну кількість тактів

Для управління лінійним блоком, а саме регістрами зсуву, використовується сигнал V2. Для занесення інформації в регістри подається сигнал високого рівня, для зсуву і видачі інформації в лінію зв’язку подається сигнал низького рівня. Цей сигнал формується на другому такті роботи схеми (знімається з другої ніжки першого дешифратора і інвертується).

Для формування номера датчика використовується чотирьох розрядний

двійковий лічильник. Рахунок до трьох забезпечується сигналом збросу на вхід R, який формується за допомогою пропусканням через елемент «і» виходів з першої і другої ніжки лічильників.

Виходячи з вище сказаного, будуємо функціональну схему (Додаток 2).

Роботу схеми представимо у вигляді часових діаграм (Додаток 4).

4. Розробка принципової-електричної схеми передавального напівкомплекту

.1 Вибір елементної бази

Залежно від технології виготовлення логічні інтегральні мікросхеми (ІМС) поділяють на серії, що різняться набором елементів, напругою живлення, споживаною потужністю, динамічними параметрами. Розглянемо найпоширеніші технології побудови електричних схем, таких як ТТЛ, ЕЗЛ і КМДН.

ТТЛ - транзисторно-транзисторна логіка - різновид цифрових інтегральних мікросхем, побудованих на основі багатоемітерного транзистора. Транзистори використовуються як для виконання логічних операцій так і для підсилення вихідного сигналу. Такі мікросхеми мають низьку завадостійкість і не досить високу швидкодію.

ЕЗЛ - емітерно-зв’язана логіка - сімейство цифрових інтегральних мікросхем, основане на диференційних транзисторних каскадах. ЕЗЛ є найшвидшою поміж всіх типів логіки, побудованої на біполярних транзисторах. Це пояснюється тим, що транзистори в ЕЗЛ працюють в лінійному режимі, не переходячи в режим насичення, вихід з якого уповільнений. Низькі значення логічних перепадів сприяють зниженню впливу на швидкодію паразитних ємностей. Недоліки логіки: низька завадостійкість, низька степінь інтеграції (велика споживча потужність кожного елемента не дозволяє розміщувати а одному корпусі багато елементів, оскільки це може призвести до перегрівання), а як наслідок - висока ціна.

КМДН - компланарна логіка на транзисторах метал-діелетрик-напівпровідник - сімейство цифрових інтегральних мікросхем, яке використовує польові транзистори з ізольованим затвором з каналами різної провідності. Особливою перевагою КМДН схем є дуже маленьке енергоспоживання в статичному режимі (в більшості випадків можна вважати, що енергія споживається тільки під час переключення станів). Особливістю КМДН в порівнянні з іншими МДН структурами (N-МДН, Р-МДН) є наявність як n-, так і р-канальних польових транзисторів, в результаті КМДН володіють більш високою швидкодією і меншим енергоспоживанням, але при цьому характеризуються більш складним технологічним процесом виготовлення.

Отже для виконання курсового проекту було обрано КМДН елементну базу оскільки: низьке енергоспоживання, висока завадостійкість, висока надійність, широкий діапазон робочих температур, прийнятна швидкодія і помірна ціна.

.2 Визначення повного функціонального складу схеми

багатоканальний кодоімпульсний передавальний телевимірювання

В даному курсовому проекті нам потрібно розробити принципово-електричну схему передавального напівкомплекту. Для реалізації даного завдання за основу була вибрана КМДН технологія(обґрунтування вибору цієї технології розглянуто в пункті 4.1)

Розглянемо реалізацію кожного блоку.

Для реалізації комутатора каналів використовуємо аналоговий мультиплексор К590КН1.

В якості аналого-цифрового перетворювача використовуємо AD571S (обгрунтування вибору даного АЦП розглянуто в пункті 3.2).

Для реалізації кодера використовуємо елементи «виключне-або» серії К561ЛП2. За допомогою цих елементів виконуємо перевірку на парність чи не парність кількості одиниць інформаційної частини кодової комбінації та формування перевірочної.

Далі кодова комбінація потрапляє в лінійний блок, який представляє собою блок регістрів зсуву серії К561ИР6. В даний блок паралельно заноситься кодова комбінація і за рахунок зсуву виконується послідовна видача інформації в канал зв’язку.

Для керування всіма цими блоками використовується блок управління, який в свою чергу складається з двох чотирьох розрядних лічильників К561ИЕ10, з’єднаних каскадом для забезпечення необхідної кількість розрядів, за рахунок переключення десяти розрядних дешифраторів серії К564ИД1.

Для формування номера датчика використовується чотирьох розрядний двійковий лічильник серії К561ИЕ10. Рахунок до трьох забезпечується сигналом збросу на вхід R, який формується за допомогою пропусканням через елемент «і» виходів з першої і другої ніжки лічильників. На вхід C подається двадцять другий такт, це забезпечує формування і встановлення адреси датчика на комутаторі до початку роботи АЦП.

Схема принципова-електрична приведена в Додатку3.

.3 Розрахунок основних параметрів схеми:

Розрахунок ймовірності помилкового прийому кодової комбінації:

Існують різні моделі каналів з пам'яттю. Найбільш проста з них і в той же час найбільш ефективна описується двома параметрами:

середньою імовірністю р перекручування двійкового символу;

показником a групування помилок.

Імовірність Р (³ m,n) появи кодової комбінації з n символів m або більше помилок визначається вираженням:

Pпомилки (³ m,n) = ()1-a×pпомилки = (24/1)1-0,7×5×10-3 = 0,018

Розрахунок імовірності правильного прийому кодової комбінації здійснюється наступним чином:

прав. (³ m,n) = 1 - Pпомилки(m,n) = 1 - 0.018 = 0.982

.4 Побудова часових діаграм роботи схеми

Для кращого розуміння роботи принципово-електричної схеми передавального напівкомплекту в Додатку 4 приведені діаграми роботи найбільш характерних точок схеми.

Висновок

В результаті виконання курсового проекту був розроблений передавальний напівкомплект кодоімпульсної системи телевимірювань. Розроблений напівкомплект повністю відповідає всім вимогам технічного завдання на курсовий проект. Система розроблена з використанням КМДН технології, використовує завадостійке кодування з використанням коду Бауера. Розроблений напівкомплект можна застосовувати в системах телемеханіки де необхідні низьке енергоспоживання, висока завадостійкість, висока надійність, широкий діапазон робочих температур.

Були розроблені структурна, функціональна та принципово-електрична схеми передавального напівкомплекту кодоімпульсної системи телевимірювань, а також були побудовані часові діаграми роботи.

Додаток 1


Таблиця 1

Позначення

АЦП

Аналого-цифровий перетворювач

ГТІ

Генератор тактових імпульсів

Д

Датчики

ЛЗ

Лінія зв’язку

ЛБ

Лінійний блок

ПУ

Пристрій Управління

СВІ

Система відображення інформації



Додаток 2



Додаток 4


Похожие работы на - Багатоканальна кодоімпульсна схема телевимірювань

 

Не нашли материал для своей работы?
Поможем написать уникальную работу
Без плагиата!
Без нейросетей!